| Скачать .docx |
Реферат: Полупроводниковые преобразователи
Эксплуатация полупроводниковых преобразователей и устройств: недостатки полупроводниковых приборов, виды защит.[6] [4]
Для коммутации можно применить прежде всего обычный механический выключатель - только большой. Но во-первых, площадь контактов должна расти с током - что бывает при перегрузке, все мы знаем, искры и запах горелой изоляции запоминаются хорошо. Во-вторых, расстояние, на которое расходятся электроды, должно увеличиваться с ростом напряжения, чтобы зазор между ними не пробился, - молния красива, но после нее от выключателя ничего не останется, а темнота воцарится надолго. Электропрочность воздуха мала, поэтому одна линия развития высоковольтных выключателей - это выключатели, работающие в вакууме либо заполненные маслом или самым тяжелым газом - SF6, "элегазом" (от "электрический"). Другая линия развития - это газоразрядные и электровакуумные приборы: тиратроны и электронные лампы. Наконец, третья и, видимо, самая перспективная - полупроводниковые коммутаторы, или тиристоры. Чтобы разобраться в механизме их работы, надо заново учить физику для 10 класса, причем по хорошему учебнику, поэтому механизм мы описывать не будем. Но дадим "конструктивное" определение и опишем прибор с точки зрения применения - то есть приведем его характеристики.
Тиристор - это полупроводниковый прибор в отличие от транзистора, имеющий не три слоя с разными типами проводимости p-n-p или n-p-n, а четыре - p-n-p-n. От двух крайних слоев сделаны выводы, по которым проходит основной ток, а от одного из промежуточных слоев - вывод управления. Если пропустить по управляющему электроду фиксированный ток и начать увеличивать напряжение между основными электродами, измеряя через них ток, то получится зависимость, изображенная на рис. 2 слева. Если потом начать его уменьшать, получится зависимость, показанная в середине. В целом характеристику тиристора изображают так, как показано справа, при этом длина выступа (напряжение включения Uвкл) зависит от напряжения на управляющем электроде. Иначе говоря, если подать на тиристор большое напряжение, но по управляющему электроду пропускать такой ток, что выступ характеристики будет торчать вправо достаточно далеко, то ток через основные электроды будет протекать маленький. Если потом изменить ток управляющего электрода так, что выступ укоротится, то рабочая точка перескочит на верхнюю ветвь кривой, ток возрастет, тиристор "откроется", то есть включится. К сожалению, если опять увеличить выступ, то тиристор не закроется - надо ждать уменьшения основного напряжения (в сети, как вы знаете, переменное напряжение частотой 50 Гц, то есть напряжение обнуляется 100 раз в секунду), чтобы тиристор перешел в "закрытое" состояние. Таким образом, мы создали "выключатель", который включить можно всегда, а выключить - только в момент прохода основного напряжения через ноль.
Другим недостатком тиристора было ограничение по максимальному напряжению и току - несколько киловольт и несколько килоампер, при том, что мощные выключатели могли работать при сотнях кВ и сотнях кА. Но маленький приборчик, не требующий обслуживания и при правильной эксплуатации несравненно более надежный, нежели прочие, был столь привлекателен, что инженеры предпочитали создавать сложные схемы, включать сотни тиристоров последовательно и сотни таких сборок параллельно, чтобы увеличить рабочие напряжения и тока.
Прошло пять лет с момента изобретения, и в 1960 году были созданы тиристоры, которые можно было не только включать управляющим импульсом, но и выключать - то есть разрывать цепь. После этого тиристоры стали основным коммутационным элементом большой энергетики.
По сравнению с электронными лампами у полупроводниковых приборов имеются существенные достоинства:1. Малый вес и малые размеры.2. Отсутствие затраты энергии на накал.3. Большой срок службы (до десятков тысяч часов).4. Большая механическая прочность (стойкость к тряске, ударам и другим видам механических перегрузок).5. Различные устройства (выпрямители, усилители, генераторы) с полупроводниковыми приборами имеют высокий КПД, так как потери энергии в самих приборах незначительны.6. Маломощные устройства с транзисторами могут работать при очень низких питающих напряжениях.Вместе с тем полупроводниковые приборы в настоящее время обладают следующими недостатками:1. Параметры и характеристики отдельных экземпляров приборов данного типа имеют значительный разброс.2. Свойства приборов сильно зависят от температуры.3. Работа полупроводниковых приборов резко ухудшается под действием радиоактивного излучения и т.д.Транзисторы могут работать почти во всех устройствах, в которых применяются вакуумные лампы. В настоящее время транзисторы успешно применяются в усилителях, приёмниках, передатчиках, генераторах, измерительных приборах, импульсных схемах и во многих других устройствахСтатические преобразователи эл. энергии: трансформаторы. Назначение, классификация, виды, конструкция.
Трансформаторы
Конструкция трансформатора
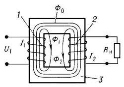
Трансформатор представляет собой электромагнитный аппарат, предназначенный для преобразования величин токов и напряжений без изменения частоты.
Трансформатор состоит из замкнутого ферромагнитного сердечника, на котором размещены две или большее число обмоток. Обмотка, подключенная к источнику энергии, называется первичной. Обмотки, подключенные к сопротивлениям нагрузки, называются вторичными.
Сердечник (магнитопровод) трансформатора изготавливают из листовой электротехнической стали, имеющей малые потери на перемагничивание и на вихревые токи. Отдельные листы стали изолируют слоем лака, после чего стягивают болтами. Такое устройство применяется для уменьшения вихревых токов, индуктируемых в стали переменным потоком.
По конструкции сердечника различают два типа трансформатора: броневые и стержневые. На рис. 10.1 изображен броневой трансформатор, или трансформатор с Ш-образным сердечником, а на рис. 10.2 - стержневой трансформатор с П-образным сердечником.

Рис. 10.1 Рис. 10.2
Работа трансформатора в режиме холостого хода
Под холостым ходом трансформатора понимается режим его работы при разомкнутой вторичной обмотке.
Первичная обмотка трансформатора подключена к источнику переменного напряжения. Ток i1х первичной обмотки создает переменное магнитное поле, намагничивающее сердечник трансформатора.
Магнитный поток в трансформаторе разделим на две части: основной магнитный поток Ф, замыкающийся в сердечнике, и поток рассеяния Ф1S , замыкающийся частично по воздуху.
На рис. 10.3 изображен трансформатор, работающий в режиме холостого хода.

Рис. 10.3
W1 - число витков первичной обмотки;
W2 - число витков вторичной обмотки;
R1 - активное сопротивление первичной обмотки.
Определим ЭДС, индуктированную в первичной обмотке трансформатора основным магнитным потоком.
.
Основной магнитный поток изменяется по синусоидальному закону
,
где Фm - максимальное или амплитудное значение основного магнит-ного потока;
ω = 2πf - угловая частота;
f - частота переменного напряжения.
Мгновенное значение ЭДС
.
Максимальное значение
.

Действующее значение ЭДС в первичной обмотке
.
Для вторичной обмотки можно получить аналогичную формулу
.
Электродвижущие силы E1 и E2 , индуктированные в обмотках трансформатора основным магнитным потоком, называются трансформаторными ЭДС. Трансформаторные ЭДС отстают по фазе от основного магнитного потока на 90°.
Магнитный поток рассеяния индуктирует в первичной обмотке ЭДС рассеяния
,
где L1s - индуктивность рассеяния в первичной обмотке.
Запишем уравнение по второму закону Кирхгофа для первичной обмотки
,
откуда
. (10.1)
Напряжение на первичной катушке имеет три слагаемых: падение напряжения, напряжение, уравновешивающее трансформаторную ЭДС, напряжение, уравновешивающее ЭДС рассеяния.
Запишем уравнение (10.1) в комплексной форме
. (10.2)
где
индуктивное сопротивление рассеяния первичной обмотки.
На рис. 10.4 изображена векторная диаграмма трансформатора, работающего в режиме холостого хода.
Векторы трансформаторных ЭДС
и
отстают на 90° от вектора основного магнитного потока
. Вектор напряжения
параллелен вектору тока
, а вектор
опережает вектор тока
на 90°. Вектор напряжения на зажимах первичной обмотки трансформатора
равен геометрической сумме векторов -
,
, Рис. 10.4
.

Рис. 10.5
На рис. 10.5 изображена схема замещения трансформатора, соответствующая уравнению (10.2).
XЭ - индуктивное сопротивление, пропорциональное реактивной мощности, затрачиваемой на создание основного магнитного потока.
В режиме холостого хода ![]()
.
Коэффициент трансформации
.
Коэффициент трансформации экспериментально определяется из опыта холостого хода.
Работа трансформатора под нагрузкой
Если к первичной обмотке трансформатора подключить напряжение U1 , а вторичную обмотку соединить с нагрузкой, в обмотках появятся токи I1 и I2 . Эти токи создадут магнитные потоки Ф1 и Ф2 , направленные навстречу друг другу. Суммарный магнитный поток в магнитопроводе уменьшается. Вследствие этого индуктированные суммарным потоком ЭДС E1 и E2 уменьшаются. Действующее значение напряжения U1 остается неизменным. Уменьшение E1 , согласно (10.2), вызывает увеличение тока токи I1 . При увеличении тока I1 поток Ф1 увеличивается ровно настолько, чтобы скомпенсировать размагничивающее действие потока Ф2 . Вновь восстанавливается равновесие при практически прежнем значении суммарного потока.
В нагруженном трансформаторе, кроме основного магнитного потока, имеются потоки рассеяния Ф1S и Ф2S , замыкающиеся частично по воздуху. Эти потоки индуктируют в первичной и вторичной обмотках ЭДС рассеяния.
,
,
где X2S - индуктивное сопротивление рассеяния вторичной обмотки.
Для первичной обмотки можно записать уравнение
. (10.3)
Для вторичной обмотки
, (10.4)
где R2 - активное сопротивление вторичной обмотки;
ZН - сопротивление нагрузки.
Основной магнитный поток трансформатора есть результат совместного действия магнитодвижущих сил первичной и вторичной обмоток.
.
Трансформаторная ЭДС E1 , пропорциональная основному магнитному потоку, приблизительно равна напряжению на первичной катушке U1 . Действующее значение напряжения постоянно. Поэтому основной магнитный поток трансформатора остается неизменным при изменении сопротивления нагрузки от нуля до бесконечности.
Если
, то и сумма магнитодвижущих сил трансформатора
. (10.5)
Уравнение (10.5) называется уравнением равновесия магнитодвижущих сил.
Уравнения (10.3), (10.4), (10.5) называются основными уравнениями трансформатора.
Из уравнения (10.5) получим формулу
. (10.6)
Согласно формуле (10.6), ток в первичной обмотке складывается из тока холостого хода, или намагничивающего тока, и тока, компенсирующего размагничивающее действие вторичной обмотки.
Умножим левую и правую части уравнения (10.4) на коэффициент трансформации KT
. (10.7)
где
приведенное активное сопротивление вторичной обмотки;
приведенное индуктивное сопротивление вторичной обмотки;
приведенное напряжение на нагрузке;
приведенное сопротивление нагрузки.
Величиной намагничивающего тока можно пренебречь, так как она мала по сравнению с током первичной обмотки трансформатора в нагрузочном режиме
, тогда
.
Подставим уравнение (10.7) в уравнение (10.3).
Получим
. (10.8)
Уравнению (10.8) соответствует упрощенная схема замещения трансформатора, изображенная на рис. 10.6.

Рис. 10.6
активное сопротивление короткого замыкания трансформатора,
индуктивное сопротивление короткого замыкания.
Параметры упрощенной схемы замещения определяются из опыта короткого замыкания. Для этого собирается схема рис. 10.7.

Рис. 10.7
Зажимы вторичной обмотки замыкаются накоротко. Измеряют напряжение, ток и мощность: U1k
, I1k
, Pk
. Опыт короткого замыкания осуществляется при пониженном напряжении на первичной обмотке.
Затем вычисляют
.
где ZK - полное сопротивление короткого замыкания.

Рис. 10.8
На рис. 10.8 изображена векторная диаграмма трансформатора, соответствующая упрощенной схеме замещения. Нагрузкой трансформатора является активное сопротивление RH .
Вектор тока
совмещен с вещественной осью комплексной плоскости.
Вектор напряжения на сопротивлении нагрузки совпадает с вектором тока по направлению. Вектор напряжения на индуктивном сопротивлении
перпендикулярен, а вектор напряжения
параллелен вектору тока. Вектор напряжения на входе трансформатора равен сумме трех векторов напряжения.
Упрощенная схема используется для расчета цепей, содержащих трансформаторы.
Специальные типы трансформаторов
Наиболее часто в электротехнических установках используются следующие специальные типы трансформаторов: автотрансформаторы, многообмоточные и трехфазные трансформаторы.
Автотрансформатором называется такой трансформатор, у которого имеется только одна обмотка, часть которой принадлежит одновременно вторичной и первичной цепям. Схема однофазного трансформатора изображена на рис. 10.9.

Рис. 10.9
Режим холостого хода автотрансформатора, когда I2 = 0, ничем не отличается от режима холостого хода обычного трансформатора.
Подводимое к трансформатору напряжение U1 = UAB равномерно распределяется между витками первичной обмотки.
Вторичное напряжение
![]()
где
коэффициент трансформации.
Автотрансформаторы выгодно использовать в тех случаях, когда коэффициент трансформации близок к единице.
Многообмоточные (одна первичная и несколько вторичных) трансформаторы используются в радиотехнических схемах для получения нескольких напряжений.
В режиме холостого хода работа таких трансформаторов не отличается от двухобмоточных.
В трехфазной сети переменного тока преобразование напряжений осуществляется с помощью трехфазного трансформатора с общим для трех фаз сердечником. В трехфазном трансформаторе с общим магнитопроводом магнитный поток любой из фаз может замыкаться через стержни, на которых расположены обмотки двух других фаз. Затраты стали на трехфазный трансформатор значительно меньше, чем на три однофазных трансформатора.
Статические преобразователи эл. энергии: трансформаторы. Назначение, классификация, виды, конструкция
Трансформатор

Статическое (не имеющее подвижных частей) устройство для преобразования переменного напряжения по величине. В основе действия трансформатора лежит явление электромагнитной индукции. Трансформатор состоит из одной первичной обмотки (ПО), одной или нескольких вторичных обмоток (ВО) и ферромагнитного сердечника (магнитопровода), обычно замкнутой формы. Все обмотки расположены на магнитопроводе и индуктивно связаны между собой. Иногда вторичной обмоткой служит часть ПО (или наоборот); такие трансформаторы называются автотрансформаторами. Концы ПО (вход трансформатора) подключают к источнику переменного напряжения, а концы ВО (его выход) - к потребителям. Переменный ток в ПО приводит к появлению в магнитопроводе переменного магнитного потока. В реальных трансформаторах часть магнитного потока замыкается вне магнитопровода, образуя так называемые потоки рассеяния; однако в высококачественные трансформаторы потоки рассеяния малы по сравнению с основным потоком (потоком в магнитопроводе).
Основной поток Ф0 создаёт в ПО и ВО эдс e1 и e2 : e1 = - w1 dФ0 /dt и e1 = - w1 dФ0 /dt, где w1 и w2 - числа витков в соответствующих обмотках. Отношение e1 /e2 = w1 /w2 = k называют коэффициентом трансформации. Напряжения, токи и эдс в обмотках (без учёта эдс, наводимых потоками рассеяния) связаны соотношениями:
u1 + e1 = ir1 и u2 + i2 r2 = e2 ,
где r1 и r2 , u1 и u2 , i1 и i2 - активные сопротивления обмоток, напряжения и токи в них. Если напряжение u1 , приложенное к ПО, синусоидальное, то магнитный поток Ф0 и эдс e1 и e2 будут также синусоидальными, поэтому при анализе работы Т. э. удобно рассматривать действующие значения эдс E1 и E2 , напряжений U1 и U2 и токов I1 и I2 . В случае режима холостого хода (ВО разомкнута), пренебрегая активным сопротивлением в ПО и учитывая, что I2 = 0, имеем U1 + E1 = 0 и U2 = E2 , то есть (без учёта знака).
Основной магнитный поток в режиме холостого хода создаётся относительно малым намагничивающим током (током холостого хода I0) в ПО. Если трансформатор нагружен (ВО подключена к нагрузке и по ней протекает ток), магнитодвижущая сила ВО (произведение I2 w2 ) компенсируется соответствующим увеличением магнитодвижущей силы ПО (I1 w1 -I0 w1 ) и величина основного магнитного потока остаётся практически такой же, как и в режиме холостого хода (то есть сохраняется условие U1 + E1 = 0). Отсюда, пренебрегая током холостого хода, имеем: I1 w1 = I2 w2 .
Трансформатор был впервые использован в 1876 П. Н. Яблочковым в цепях электрического освещения. В 1890 М. О. Доливо-Добровольский разработал трёхфазный Т. э. Дальнейшее развитие Т. э. заключалось в совершенствовании их конструкции, увеличении мощности и кпд, улучшении изоляции обмоток. В настоящее время (середина 70-х гг. 20 в.) существует множество типов трансформаторов., получивших распространение в различных областях техники.
Основной вид трансформаторов- силовые трансформаторы, среди которых наиболее представительную группу составляют двухобмоточные силовые трансформаторы, устанавливаемые на линиях электропередачи (ЛЭП). Такие трансформаторы повышают напряжение тока, вырабатываемого генераторами электростанций, с 10-15 кв до 220-750 кв, что позволяет передавать электроэнергию по воздушным ЛЭП на несколько тыс. км. В местах потребления электроэнергии при помощи силовых трансформаторов высокое напряжение преобразуют в низкое (220 в, 380 в и др.). Многократное преобразование электроэнергии требует большого количества силовых трансформаторов, поэтому их суммарная мощность в энергосистеме в несколько раз превышает мощность источников и потребителей энергии. Мощные силовые трансформаторы имеют кпд 98-99%. Их обмотки изготовляют, как правило, из меди, магнитопроводы - из листов холоднокатаной электротехнической стали толщиной 0,5-0,35 мм, имеющей высокую магнитную проницаемость и малые потери на гистерезис и вихревые токи. Магнитопровод и обмотки силового трансформатора. обычно помещают в бак, заполненный минеральным маслом, которое используется для изоляции и охлаждения обмоток. Такие трансформаторы(масляные) обычно устанавливают на открытом воздухе, что требует улучшенной изоляции выводов и герметичности бака. Трансформаторы без масляного охлаждения называются сухими. Для лучшего отвода тепла трансформаторы снабжают трубчатым радиатором, омываемым воздухом (в ряде случаев - водой). В грозоупорных трансформаторах применяют обмотки, конструкция которых устраняет появление опасных напряжений на изоляции. Иногда два или более трансформатора включают последовательно. В ряде случаев используют трансформаторы с регулированием под нагрузкой. Среди сухих силовых трансформаторов обширный класс составляют трансформаторы малой мощности с большим числом вторичных обмоток (многообмоточные); их часто применяют в радиотехнических устройствах и системах автоматики.
Помимо силовых, существуют трансформатораs различных типов, предназначенные для измерения больших напряжений и токов (Измерительный трансформатор, Трансформатор напряжения, Трансформатор тока), снижения уровня помех проводной связи (Отсасывающий трансформатор), преобразования напряжения синусоидальной формы в импульсное ( Пик-трансформатор), преобразования импульсов тока и напряжения (Импульсный трансформатор), выделения переменной составляющей тока, разделения электрических цепей на гальванически не связанные между собой части, их согласования и т.д. Радиочастотные трансформаторы служат для преобразования напряжения ВЧ; их изготовляют с магнитопроводом из магнитодиэлектрика либо без магнитопровода; в радиопередатчиках мощность таких Т. э. достигает нескольких сотен квт.
Обслуживание электроизмерительных приборов. [5] СРЕДСТВА КОНТРОЛЯ, ИЗМЕРЕНИЙ И УЧЕТА
Настоящая глава распространяется на системы контроля технологических параметров оборудования, средства измерений режимов его работы (стационарные и переносные), а также на средства учета электрической энергии (счетчики активной и реактивной энергии).
Объем оснащенности электроустановок системами контроля, техническими средствами измерений и учета электрической энергии должен соответствовать требованиям нормативно-технической документации и обеспечивать: контроль за техническим состоянием оборудования и режимами его работы; учет выработанной, отпущенной и потребленной электроэнергии; соблюдение безопасных условий труда и санитарных норм и правил; контроль за охраной окружающей среды.
Системы контроля технологических параметров оборудования, режимов его работы, учета электрической энергии и информационно-измерительные системы должны быть оснащены средствами измерений и техническими средствами, отвечающими установленным требованиям, включая метрологическое обеспечение, организованное на основе правил и норм, предусматривающих единство и требуемую точность измерений.
Допускается применение нестандартизированных средств измерений, прошедших метрологическую аттестацию в установленном порядке.
Установка и эксплуатация средств измерений и учета электрической энергии осуществляется в соответствии с требованиями правил устройства электроустановок и инструкций заводов-изготовителей.
Для периодического осмотра и профилактического обслуживания средств измерений и учета электрической энергии, надзора за их состоянием, проверки, ремонта и испытания этих средств у Потребителя в соответствии с государственными стандартами может быть создана метрологическая служба или иная структура по обеспечению единства измерений.
При наличии такой службы она должна быть оснащена поверочным и ремонтным оборудованием и образцовыми средствами измерений в соответствии с требованиями нормативно-технических документов.
Все средства измерений и учета электрической энергии, а также информационно-измерительные системы должны быть в исправном состоянии и готовыми к работе. На время ремонта средств измерений или учета при работающем технологическом энергооборудовании вместо них должны быть установлены резервные средства (за исключением случаев, оговоренных в п. 2.11.17).
До ввода в промышленную эксплуатацию основного оборудования Потребителя информационно-измерительные системы должны быть метрологически аттестованы, а в процессе эксплуатации они должны подвергаться периодической поверке.
Использование в качестве расчетных информационно-измерительных систем, не прошедших метрологическую аттестацию, не допускается.
Рабочие средства измерений, применяемые для контроля над технологическими параметрами, по которым не нормируется точность измерения, могут быть переведены в разряд индикаторов. Перечень таких средств измерений должен быть утвержден руководителем Потребителя.
Поверка расчетных средств учета электрической энергии и образцовых средств измерений проводится в сроки, устанавливаемые государственными стандартами, а также после ремонта указанных средств.
Сроки поверки встроенных в энергооборудование средств электрических измерений (трансформаторов тока и напряжения, шунтов, электропреобразователей и т.п.) должны соответствовать межремонтным интервалам работы оборудования, на котором они установлены. В объемы ремонтов оборудования должны быть включены демонтаж, поверка и установка этих средств измерений.
На средства измерений и учета электрической энергии составляются паспорта (или журналы), в которых делаются отметки обо всех ремонтах, калибровках и поверках.
Периодичность и объем поверки расчетных счетчиков должны соответствовать требованиям действующих нормативно-технических документов.
Положительные результаты поверки счетчика удостоверяются поверительным клеймом или свидетельством о поверке.
Периодичность и объем калибровки расчетных счетчиков устанавливаются местной инструкцией.
Калибровка расчетного счетчика на месте его эксплуатации, если это предусмотрено местной инструкцией, может проводиться без нарушения поверительного клейма аттестованным представителем энергоснабжающей организации в присутствии работника, ответственного за учет электроэнергии на энергообъекте. Калибровка не заменяет поверку, предусмотренную нормативно-техническими документами. Результаты калибровки оформляются актом.
На стационарные средства измерений, по которым контролируется режим работы электрооборудования и линий электропередачи, должна быть нанесена отметка, соответствующая номинальному значению измеряемой величины. Размеры и способ нанесения отметки должны соответствовать требованиям государственных стандартов на шкалы измерительных приборов. Приборы, имеющие электропитание от внешнего источника, должны быть оснащены устройством сигнализации наличия напряжения.
На каждом средстве учета электрической энергии (счетчике) должна быть выполнена надпись, указывающая наименование присоединения, на котором производится учет электроэнергии. Допускается выполнять надпись на панели рядом со счетчиком, если при этом можно однозначно определить принадлежность надписей к каждому счетчику.
Наблюдение за работой средств измерений и учета электрической энергии, в том числе регистрирующих приборов и приборов с автоматическим ускорением записи в аварийных режимах, на электрических подстанциях (в распределительных устройствах) должен вести оперативный или оперативно-ремонтный персонал подразделений, определенный решением ответственного за электрохозяйство Потребителя.
Ответственность за сохранность и чистоту внешних элементов средств измерений и учета электрической энергии несет персонал, обслуживающий оборудование, на котором они установлены. Обо всех нарушениях в работе средств измерений и учета электрической энергии персонал должен незамедлительно сообщать подразделению, выполняющему функции метрологической службы Потребителя. Вскрытие средств электрических измерений, не связанное с работами по обеспечению нормальной записи регистрирующими приборами, разрешается только персоналу подразделения, выполняющего функции метрологической службы Потребителя, а средств измерений для расчета с поставщиками или Потребителями - персоналу подразделения совместно с их представителями.
КонсультантПлюс: примечание.
Нумерация пунктов дана в соответствии с официальным текстом документа.
Установку и замену измерительных трансформаторов тока и напряжения, к вторичным цепям которых подключены расчетные счетчики, выполняет персонал эксплуатирующего их Потребителя с разрешения энергоснабжающей организации.
Замену и поверку расчетных счетчиков, по которым производится расчет между энергоснабжающими организациями и Потребителями, осуществляет собственник приборов учета по согласованию с энергоснабжающей организацией. При этом время безучетного потребления электроэнергии и средняя потребляемая мощность должны фиксироваться двусторонним актом.
Обо всех дефектах или случаях отказов в работе расчетных счетчиков электрической энергии Потребитель обязан немедленно поставить в известность энергоснабжающую организацию.
Персонал энергообъекта несет ответственность за сохранность расчетного счетчика, его пломб и за соответствие цепей учета электроэнергии установленным требованиям.
Нарушение пломбы на расчетном счетчике, если это не вызвано действием непреодолимой силы, лишает законной силы учет электроэнергии, осуществляемый данным расчетным счетчиком.
Энергоснабжающая организация должна пломбировать:
клеммники трансформаторов тока;
крышки переходных коробок, где имеются цепи к электросчетчикам;
токовые цепи расчетных счетчиков в случаях, когда к трансформаторам тока совместно со счетчиками присоединены электроизмерительные приборы и устройства защиты;
испытательные коробки с зажимами для шунтирования вторичных обмоток трансформаторов тока и места соединения цепей напряжения при отключении расчетных счетчиков для их замены или поверки;
решетки и дверцы камер, где установлены трансформаторы тока;
решетки или дверцы камер, где установлены предохранители на стороне высокого и низкого напряжения трансформаторов напряжения, к которым присоединены расчетные счетчики;
приспособления на рукоятках приводов разъединителей трансформаторов напряжения, к которым присоединены расчетные счетчики.
Во вторичных цепях трансформаторов напряжения, к которым подсоединены расчетные счетчики, установка предохранителей без контроля за их целостностью с действием на сигнал не допускается.
Поверенные расчетные счетчики должны иметь на креплении кожухов пломбы организации, производившей поверку, а на крышке колодки зажимов счетчика пломбу энергоснабжающей организации.
Для защиты от несанкционированного доступа электроизмерительных приборов, коммутационных аппаратов и разъемных соединений электрических цепей в цепях учета должно производиться их маркирование специальными знаками визуального контроля в соответствии с установленными требованиями.
Эл. схема и чертеж: их сходства и различия
ВИДЫ И ОБОЗНАЧЕНИЕ КОНСТРУКТОРСКИХ ДОКУМЕНТОВ
Документация, выполняемая в процессе проектирования, носит название проектная, проектно-конструкторская или конструкторская документация.
Проектирование — это процесс создания проекта, прототипа, прообраза предполагаемого или возможного технического решения объекта: изделия в промышленности или сооружения в строительстве.
Обычно проект состоит из комплекта документов, в которых содержится информация об устройстве, составе, принципе действия, условиях эксплуатации проектируемого объекта.
Конструкторскую документацию составляют графические и текстовые документы, которые определяют конструкцию технического предмета и содержат данные, необходимые для его разработки, изготовления, контроля, приемки, эксплуатации и ремонта.
К графическим конструкторским документам относятся чертежи и схемы. Чертеж — документ, содержащий изображение технического предмета и составной части и другие данные, поясняющие функциональное назначение предмета и позволяющие его изготовить. Схема — документ, содержащий условные графические изображения составных частей технического предмета и связей между составными частями.
Текстовые конструкторские документы содержат речевую информацию на естественном формализованном языке. Текстовые документы подразделяют на документы, содержащие в основном сплошной текст (технические условия, технические описания, расчеты, пояснительные записки паспорта, инструкции и т. д.), и документы содержащие текст, разбитый на графы (спецификации , ведомости, таблицы и т. д.).
Наиболее употребительными конструкторскими документами являются чертеж общего вида, чертеж детали, спецификация, сборочный чертеж схема, пояснительная записка, расчеты.
ТЕХНИЧЕСКИЕ МЕРОПРИЯТИЯ, ОБЕСПЕЧИВАЮЩИЕ БЕЗОПАСНОСТЬ РАБОТ СО СНЯТИЕМ НАПРЯЖЕНИЯ
При подготовке рабочего места со снятием напряжения должны быть в указанном порядке выполнены следующие технические мероприятия:
произведены необходимые отключения и приняты меры, препятствующие подаче напряжения на место работы вследствие ошибочного или самопроизвольного включения коммутационных аппаратов;
на приводах ручного и на ключах дистанционного управления коммутационных аппаратов должны быть вывешены запрещающие плакаты;
проверено отсутствие напряжения на токоведущих частях, которые должны быть заземлены для защиты людей от поражения электрическим током;
установлено заземление (включены заземляющие ножи, а там, где они отсутствуют, установлены переносные заземления);
вывешены указательные плакаты "Заземлено", ограждены при необходимости рабочие места и оставшиеся под напряжением токоведущие части, вывешены предупреждающие и предписывающие плакаты.
Отключения
При подготовке рабочего места должны быть отключены:
токоведущие части, на которых будут производиться работы;
неогражденные токоведущие части, к которым возможно случайное приближение людей, механизмов и грузоподъемных машин на расстояние менее указанного в таблице 1.1;
цепи управления и питания приводов, закрыт воздух в системах управления коммутационными аппаратами, снят завод с пружин и грузов у приводов выключателей и разъединителей.
В электроустановках напряжением выше 1000 В с каждой стороны, с которой коммутационным аппаратом на рабочее место может быть подано напряжение, должен быть видимый разрыв. Видимый разрыв может быть создан отключением разъединителей, снятием предохранителей, отключением отделителей и выключателей нагрузки, отсоединением или снятием шин и проводов.
Видимый разрыв может отсутствовать в комплектных распределительных устройствах заводского изготовления (в том числе с заполнением элегазом) с выкатными элементами, и/или при наличии надёжного механического указателя гарантирующего положения контактов, а также в элегазовых КРУЭ напряжением 110 кВ и выше.
Силовые трансформаторы и трансформаторы напряжения, связанные с выделенным для работ участком электроустановки, должны быть отключены и схемы их разобраны также со стороны других своих обмоток для исключения возможности обратной трансформации.
После отключения выключателей, разъединителей (отделителей) и выключателей нагрузки с ручным управлением необходимо визуально убедиться в их отключении и отсутствии шунтирующих перемычек.
В электроустановках напряжением выше 1000 В для предотвращения ошибочного или самопроизвольного включения коммутационных аппаратов, которыми может быть подано напряжение к месту работы, должны быть приняты следующие меры:
у разъединителей, отделителей, выключателей нагрузки ручные приводы в отключенном положении должны быть заперты на механический замок (в электроустановках напряжением 6 - 10 кВ с однополюсными разъединителями вместо механического замка допускается надевать на ножи диэлектрические колпаки);
у разъединителей, управляемых оперативной штангой, стационарные ограждения должны быть заперты на механический замок;
у приводов коммутационных аппаратов, имеющих дистанционное управление, должны быть отключены силовые цепи и цепи управления, а у пневматических приводов, кроме того, на подводящем трубопроводе сжатого воздуха должна быть закрыта и заперта на механический замок задвижка и выпущен сжатый воздух, при этом спускные клапаны должны быть оставлены в открытом положении;
у грузовых и пружинных приводов включающий груз или включающие пружины должны быть приведены в нерабочее положение;
должны быть вывешены запрещающие плакаты.
Меры по предотвращению ошибочного включения коммутационных аппаратов КРУ с выкатными тележками должны быть приняты в соответствии с п. п. 4.6.1, 4.6.2 настоящих Правил.
В электроустановках напряжением до 1000 В со всех токоведущих частей, на которых будет проводиться работа, напряжение должно быть снято отключением коммутационных аппаратов с ручным приводом, а при наличии в схеме предохранителей - снятием последних. При отсутствии в схеме предохранителей предотвращение ошибочного включения коммутационных аппаратов должно быть обеспечено такими мерами, как запирание рукояток или дверец шкафа, закрытие кнопок, установка между контактами коммутационного аппарата изолирующих накладок и др. При снятии напряжения коммутационным аппаратом с дистанционным управлением необходимо разомкнуть вторичную цепь включающей катушки.
Перечисленные меры могут быть заменены расшиновкой или отсоединением кабеля, проводов от коммутационного аппарата либо от оборудования, на котором должны проводиться работы.
Необходимо вывесить запрещающие плакаты.
Отключенное положение коммутационных аппаратов напряжением до 1000 В с недоступными для осмотра контактами определяется проверкой отсутствия напряжения на их зажимах либо на отходящих шинах, проводах или зажимах оборудования, включаемого этими коммутационными аппаратами. Проверку отсутствия напряжения в комплектных распределительных устройствах заводского изготовления допускается проводить с использованием встроенных стационарных указателей напряжения.
Вывешивание запрещающих плакатов
На приводах (рукоятках приводов) коммутационных аппаратов с ручным управлением (выключателей, отделителей, разъединителей, рубильников, автоматов) во избежание подачи напряжения на рабочее место должны быть вывешены плакаты "Не включать! Работают люди".
У однополюсных разъединителей плакаты вывешиваются на приводе каждого полюса, у разъединителей, управляемых оперативной штангой, - на ограждениях. На задвижках, закрывающих доступ воздуха в пневматические приводы разъединителей, вывешивается плакат "Не открывать! Работают люди".
На присоединениях напряжением до 1000 В, не имеющих коммутационных аппаратов, плакат "Не включать! Работают люди" должен быть вывешен у снятых предохранителей, в КРУ - в соответствии с п. 4.6.2 настоящих Правил.
Плакаты должны быть вывешены на ключах и кнопках дистанционного и местного управления, а также на автоматах или у места снятых предохранителей цепей управления и силовых цепей питания приводов коммутационных аппаратов.
3.2.2. На приводах разъединителей, которыми отключена для работ ВЛ или КЛ, независимо от числа работающих бригад, вывешивается один плакат "Не включать! Работа на линии". Этот плакат вывешивается и снимается по указанию оперативного персонала, ведущего учет числа работающих на линии бригад.
Проверка отсутствия напряжения
Проверять отсутствие напряжения необходимо указателем напряжения, исправность которого перед применением должна быть установлена с помощью предназначенных для этой цели специальных приборов или приближением к токоведущим частям, заведомо находящимся под напряжением.
В комплектных распределительных устройствах заводского изготовления (в том числе с заполнением элегазом) проверку отсутствия напряжения допускается производить с использованием встроенных стационарных указателей напряжения.
В электроустановках напряжением выше 1000 В пользоваться указателем напряжения необходимо в диэлектрических перчатках.
В электроустановках напряжением 35 кВ и выше для проверки отсутствия напряжения можно пользоваться изолирующей штангой, прикасаясь ею несколько раз к токоведущим частям. Признаком отсутствия напряжения является отсутствие искрения и потрескивания. На одноцепных ВЛ напряжением 330 кВ и выше достаточным признаком отсутствия напряжения является отсутствие коронирования.
3.3.2. В РУ проверять отсутствие напряжения разрешается одному работнику из числа оперативного персонала, имеющему группу IV, - в электроустановках напряжением выше 1000 В и имеющему группу III, - в электроустановках напряжением до 1000 В.
На ВЛ проверку отсутствия напряжения должны выполнять два работника: на ВЛ напряжением выше 1000 В - работники, имеющие группы IV и III, на ВЛ напряжением до 1000 В - работники, имеющие группу III.
Проверять отсутствие напряжения выверкой схемы в натуре разрешается:
в ОРУ, КРУ и КТП наружной установки, а также на ВЛ при тумане, дожде, снегопаде в случае отсутствия специальных указателей напряжения;
в ОРУ напряжением 330 кВ и выше и на двухцепных ВЛ напряжением 330 кВ и выше.
При выверке схемы в натуре отсутствие напряжения на вводах ВЛ и КЛ подтверждается дежурным, в оперативном управлении которого находятся линии.
Выверка ВЛ в натуре заключается в проверке направления и внешних признаков линий, а также обозначений на опорах, которые должны соответствовать диспетчерским наименованиям линий.
На ВЛ напряжением 6 - 20 кВ при проверке отсутствия напряжения, выполняемой с деревянных или железобетонных опор, а также с телескопических вышек, указателем, работающим на принципе протекания емкостного тока, за исключением импульсного, следует обеспечить требуемую чувствительность указателя. Для этого его рабочую часть необходимо заземлять.
На ВЛ при подвеске проводов на разных уровнях проверять отсутствие напряжения указателем или штангой и устанавливать заземление следует снизу вверх, начиная с нижнего провода. При горизонтальной подвеске проверку нужно начинать с ближайшего провода.
В электроустановках напряжением до 1000 В с заземленной нейтралью при применении двухполюсного указателя проверять отсутствие напряжения нужно как между фазами, так и между каждой фазой и заземленным корпусом оборудования или защитным проводником. Допускается применять предварительно проверенный вольтметр. Не допускается пользоваться контрольными лампами.
Устройства, сигнализирующие об отключенном положении аппарата, блокирующие устройства, постоянно включенные вольтметры и т.п. являются только дополнительными средствами, подтверждающими отсутствие напряжения, и на основании их показаний нельзя делать заключение об отсутствии напряжения.
Установка заземления
Устанавливать заземления на токоведущие части необходимо непосредственно после проверки отсутствия напряжения.
Переносное заземление сначала нужно присоединить к заземляющему устройству, а затем, после проверки отсутствия напряжения, установить на токоведущие части.
Снимать переносное заземление необходимо в обратной последовательности: сначала снять его с токоведущих частей, а затем отсоединить от заземляющего устройства.
Установка и снятие переносных заземлений должны выполняться в диэлектрических перчатках с применением в электроустановках напряжением выше 1000 В изолирующей штанги. Закреплять зажимы переносных заземлений следует этой же штангой или непосредственно руками в диэлектрических перчатках.
Не допускается пользоваться для заземления проводниками, не предназначенными для этой цели, кроме случаев, указанных в п. 4.4.2 настоящих Правил.
Установка заземлений в распределительных устройствах
В электроустановках напряжением выше 1000 В заземляться должны токоведущие части всех фаз (полюсов) отключенного для работ участка со всех сторон, откуда может быть подано напряжение, за исключением отключенных для работы сборных шин, на которые достаточно установить одно заземление.
При работах на отключенном линейном разъединителе на провода спусков со стороны ВЛ независимо от наличия заземляющих ножей на разъединителе должно быть установлено дополнительное заземление, не нарушаемое при манипуляциях с разъединителем.
Заземленные токоведущие части должны быть отделены от токоведущих частей, находящихся под напряжением, видимым разрывом. Видимый разрыв может отсутствовать в случаях, указанных в п.3.1.2.
Установленные заземления могут быть отделены от токоведущих частей, на которых непосредственно ведется работа, отключенными выключателями, разъединителями, отделителями или выключателями нагрузки, снятыми предохранителями, демонтированными шинами или проводами, выкатными элементами комплектных устройств.
Непосредственно на рабочем месте заземление на токоведущие части дополнительно должно быть установлено в тех случаях, когда эти части могут оказаться под наведенным напряжением (потенциалом).
Переносные заземления следует присоединять к токоведущим частям в местах, очищенных от краски.
В электроустановках напряжением до 1000 В при работах на сборных шинах РУ, щитов, сборок напряжение с шин должно быть снято и шины (за исключением шин, выполненных изолированным проводом) должны быть заземлены. Необходимость и возможность заземления присоединений этих РУ, щитов, сборок и подключенного к ним оборудования определяет выдающий наряд, распоряжение.
Допускается временное снятие заземлений, установленных при подготовке рабочего места, если это требуется по характеру выполняемых работ (измерение сопротивления изоляции и т.п.).
Временное снятие и повторную установку заземлений выполняют оперативный персонал либо по указанию выдающего наряд производитель работ.
Разрешение на временное снятие заземлений, а также на выполнение этих операций производителем работ должно быть внесено в строку наряда "Отдельные указания" (Приложение N 4 к настоящим Правилам) с записью о том, где и для какой цели должны быть сняты заземления.
В электроустановках, конструкция которых такова, что установка заземления опасна или невозможна (например, в некоторых распределительных ящиках, КРУ отдельных типов, сборках с вертикальным расположением фаз), должны быть разработаны дополнительные мероприятия по обеспечению безопасности работ, включающие установку диэлектрических колпаков на ножи разъединителей, диэлектрических накладок или отсоединение проводов, кабелей и шин. Перечень таких электроустановок утверждается работодателем и доводится до сведения персонала.
В электроустановках напряжением до 1000 В операции по установке и снятию заземлений разрешается выполнять одному работнику, имеющему группу III, из числа оперативного персонала.
В электроустановках напряжением выше 1000 В устанавливать переносные заземления должны два работника: один - имеющий группу IV (из числа оперативного персонала), другой - имеющий группу III; работник, имеющий группу III, может быть из числа ремонтного персонала, а при заземлении присоединений потребителей - из персонала потребителей. На удаленных подстанциях по разрешению административно-технического или оперативного персонала при установке заземлений в основной схеме разрешается работа второго работника, имеющего группу III, из числа персонала потребителей; включать заземляющие ножи может один работник, имеющий группу IV, из числа оперативного персонала.
Отключать заземляющие ножи и снимать переносные заземления единолично может работник из числа оперативного персонала, имеющий группу III.
Установка заземлений на ВЛ
ВЛ напряжением выше 1000 В должны быть заземлены во всех РУ и у секционирующих коммутационных аппаратов, где отключена линия. Допускается:
ВЛ напряжением 35 кВ и выше с ответвлениями не заземлять на подстанциях, подключенных к этим ответвлениям, при условии, что ВЛ заземлена с двух сторон, а на этих подстанциях заземления установлены за отключенными линейными разъединителями;
ВЛ напряжением 6 - 20 кВ заземлять только в одном РУ или у одного секционирующего аппарата либо на ближайшей к РУ или секционирующему аппарату опоре. В остальных РУ этого напряжения и у секционирующих аппаратов, где ВЛ отключена, допускается ее не заземлять при условии, что на ВЛ будут установлены заземления между рабочим местом и этим РУ или секционирующими аппаратами. На ВЛ указанные заземления следует устанавливать на опорах, имеющих заземляющие устройства.
На ВЛ напряжением до 1000 В достаточно установить заземление только на рабочем месте.
Дополнительно к заземлениям, указанным в п. 3.6.1 настоящих Правил, на рабочем месте каждой бригады должны быть заземлены провода всех фаз, а при необходимости и грозозащитные тросы.
При монтаже проводов в анкерном пролете, а также после соединения петель на анкерных опорах смонтированного участка ВЛ провода (тросы) должны быть заземлены на начальной анкерной опоре и на одной из конечных промежуточных опор (перед анкерной опорой конечной).
Не допускается заземлять провода (тросы) на конечной анкерной опоре смонтированного анкерного пролета, а также смонтированного участка ВЛ во избежание перехода потенциала от грозовых разрядов и других перенапряжений с проводов (тросов) готового участка ВЛ на следующий, монтируемый, ее участок.
На ВЛ с расщепленными проводами допускается в каждой фазе заземлять только один провод; при наличии изолирующих распорок заземлять требуется все провода фазы.
На одноцепных ВЛ заземление на рабочих местах необходимо устанавливать на опоре, на которой ведется работа, или на соседней. Допускается установка заземлений с двух сторон участка ВЛ, на котором работает бригада, при условии, что расстояние между заземлениями не превышает 2 км.
При работах на изолированном от опоры молниезащитном тросе или на конструкции опоры, когда требуется приближение к этому тросу на расстояние менее 1 м, трос должен быть заземлен. Заземление нужно устанавливать в сторону пролета, в котором трос изолирован, или в пролете на месте проведения работ.
Отсоединять и присоединять заземляющий спуск к грозозащитному тросу, изолированному от земли, следует после предварительного заземления троса.
Если на этом тросе предусмотрена плавка гололеда, перед началом работы трос должен быть отключен и заземлен с тех сторон, откуда на него может быть подано напряжение.
Переносные заземления следует присоединять на металлических опорах - к их элементам, на железобетонных и деревянных опорах с заземляющими спусками - к этим спускам после проверки их целости. На железобетонных опорах, не имеющих заземляющих спусков, можно присоединять заземления к траверсам и другим металлическим элементам опоры, имеющим контакт с заземляющим устройством.
В электросетях напряжением до 1000 В с заземленной нейтралью при наличии повторного заземления нулевого провода допускается присоединять переносные заземления к этому нулевому проводу.
Места присоединения переносных заземлений к заземляющим проводникам или к конструкциям должны быть очищены от краски.
Переносное заземление на рабочем месте можно присоединять к заземлителю, погруженному вертикально в грунт не менее чем на 0,5 м. Не допускается установка заземлителей в случайные навалы грунта.
На ВЛ напряжением до 1000 В при работах, выполняемых с опор либо с телескопической вышки без изолирующего звена, заземление должно быть установлено как на провода ремонтируемой линии, так и на все подвешенные на этих опорах провода, в том числе на неизолированные провода линий радиотрансляции и телемеханики.
На ВЛ, отключенных для ремонта, устанавливать, а затем снимать переносные заземления и включать имеющиеся на опорах заземляющие ножи должны работники из числа оперативного персонала: один, имеющий группу IV (на ВЛ напряжением выше 1000 В) или группу III (на ВЛ напряжением до 1000 В), второй - имеющий группу III. Допускается использование второго работника, имеющего группу III, из числа ремонтного персонала, а на ВЛ, питающих потребителя, из числа персонала потребителя.
Отключать заземляющие ножи разрешается одному работнику, имеющему группу III, из числа оперативного персонала.
На рабочих местах на ВЛ устанавливать переносные заземления может производитель работ с членом бригады, имеющим группу III. Снимать эти переносные заземления могут по указанию производителя работ два члена бригады, имеющие группу III.
На ВЛ при проверке отсутствия напряжения, установке и снятии заземлений один из двух работников должен находиться на земле и вести наблюдение за другим.
Требования к установке заземлений на ВЛ при работах в пролете пересечения с другими ВЛ, на одной отключенной цепи многоцепной ВЛ, на ВЛ под наведенным напряжением и при пофазном ремонте приведены в разделе 4.15 настоящих Правил.
Ограждение рабочего места, вывешивание плакатов
В электроустановках должны быть вывешены плакаты "Заземлено" на приводах разъединителей, отделителей и выключателей нагрузки, при ошибочном включении которых может быть подано напряжение на заземленный участок электроустановки, и на ключах и кнопках дистанционного управления коммутационными аппаратами.
Для временного ограждения токоведущих частей, оставшихся под напряжением, могут применяться щиты, ширмы, экраны и т.п., изготовленные из изоляционных материалов.
При установке временных ограждений без снятия напряжения расстояние от них до токоведущих частей должно быть не менее указанного в таблице 1.1. В электроустановках напряжением 6 - 10 кВ это расстояние может быть уменьшено до 0,35 м.
На временные ограждения должны быть нанесены надписи "Стой! Напряжение" или укреплены соответствующие плакаты.
В электроустановках напряжением до 20 кВ в тех случаях, когда нельзя оградить токоведущие части щитами, допускается применение изолирующих накладок, помещаемых между отключенными и находящимися под напряжением токоведущими частями (например, между контактами отключенного разъединителя). Эти накладки могут касаться токоведущих частей, находящихся под напряжением.
Устанавливать и снимать изолирующие накладки должны два работника, имеющие группы IV и III. Старший из них должен быть из числа оперативного персонала. При операциях с накладками следует использовать диэлектрические перчатки, изолирующую штангу (клещи).
На ограждениях камер, шкафах и панелях, граничащих с рабочим местом, должны быть вывешены плакаты "Стой! Напряжение".
В ОРУ при работах, проводимых с земли, и на оборудовании, установленном на фундаментах и отдельных конструкциях, рабочее место должно быть ограждено (с оставлением проезда, прохода) канатом, веревкой или шнуром из растительных либо синтетических волокон с вывешенными на них плакатами "Стой! Напряжение", обращенными внутрь огражденного пространства.
Разрешается пользоваться для подвески каната конструкциями, не включенными в зону рабочего места, при условии, что они остаются вне огражденного пространства.
При снятии напряжения со всего ОРУ, за исключением линейных разъединителей, последние должны быть ограждены канатом с плакатами "Стой! Напряжение", обращенными наружу огражденного пространства.
В ОРУ при работах во вторичных цепях по распоряжению ограждать рабочее место не требуется.
В ОРУ на участках конструкций, по которым можно пройти от рабочего места к граничащим с ним участкам, находящимся под напряжением, должны быть установлены хорошо видимые плакаты "Стой! Напряжение". Эти плакаты может устанавливать работник, имеющий группу III, из числа ремонтного персонала под руководством допускающего.
На конструкциях, граничащих с той, по которой разрешается подниматься, внизу должен быть вывешен плакат "Не влезай! Убьет".
На стационарных лестницах и конструкциях, по которым для проведения работ разрешено подниматься, должен быть вывешен плакат "Влезать здесь!".
На подготовленных рабочих местах в электроустановках должен быть вывешен плакат "Работать здесь".
Не допускается убирать или переставлять до полного окончания работы плакаты и ограждения, установленные при подготовке рабочих мест допускающим, кроме случаев, оговоренных в графе "Особые указания" наряда (Приложение N 4 к настоящим Правилам).