| Скачать .docx |
Реферат: Контроль оптических характеристик приборов
БЕЛОРУССКИЙ ГОСУДАРСТВЕННЫЙ УНИВЕРСИТЕТ ИНФОМАТИКИ И РАДИОЭЛЕКТРОНИКИ
Кафедра ЭТТ
РЕФЕРАТ
На тему:
«Контроль оптических характеристик приборов »
МИНСК, 2008
Измерение оптических характеристик телескопических систем
Телескопическая система характеризуется следующими основными параметрами: увеличением, полем зрения, размерами и расположением зрачка выхода, пропусканием и светорассеянием.
Измерение увеличения телескопических систем
В телескопической системе видимое, линейное и угловое увеличения являются постоянными величинами и связаны друг с другом следующей зависимостью:
(1)
Где Г – видимое увеличение;
- угловое увеличение;
- линейное увеличение;
- диаметр зрачка входа;
- диаметр зрачка выхода;
2
- угол поля зрения в пространстве предметов;
2
- угол поля зрения в пространстве изображения.

Рис. 1. Схема измерения видимого увеличения телескопической системы по линейному увеличению.
Существует несколько методов измерения увеличения, основанных на использовании формулы (1).
Измерение увеличения по линейному увеличению. Схема измерения представлена на рис. 1.Стеклянную масштабную шкалу 3 помещают вблизи объектива 4 испытуемой телескопической системы. Изображение этой шкалы получается недалеко от зрачка выхода системы. Для определения увеличения измеряют величину этого изображения с помощью динаметра 5, представляющего собой лупу, в фокальной плоскости которой установлена сетка.
При измерении к наружному торцу окуляра прижимают тубус динаметра и, передвигая в нем трубку с лупой и сеткой, совмещают сетку динаметра с изображением шкалы 3.Измерив величину изображения, находят видимое увеличение телескопической системы по формуле
![]()
где
— число целых делений стеклянной масштабной шкалы;
- цена одного деления масштабной шкалы в мм;
N
2
-
число делений шкалы динаметра, укладывающихсяв
делениях стеклянной шкалы;
- цена одного деления шкалы динаметра.
Стеклянная масштабная шкала может быть заменена круглой или прямоугольной диафрагмами, размеры которых заранее известны. Диафрагма или шкала должны быть освещены дневным рассеянным светом или электролампой 1 через молочное или матовое стекло 2,
При измерении линейного увеличения положительных телескопических систем используются динаметры Рамсдена или Чапского. При измерении увеличения отрицательных систем применяется динаметр Чапского.
Измерение видимого увеличения по угловому увеличению. Для определения видимого или углового увеличения можно использовать установку, состоящую из коллиматора 1 и зрительной: трубы 2с сеткой (рис.2).
Измерения на установке выполняютв следующей последовательности. Предварительно зрительную трубу 2 визируют на коллиматор 1 и замечают, сколько делений
по шкале трубы занимает изображение одного иль нескольких: делений шкалы коллиматора. Затем между коллиматором зрительной трубой помещают испытуемую систему 3 и вновь, замечают, сколько делений
пo шкале зрительной трубы занимает изображение того же деления (или нескольких делений) шкалы коллиматора.

Рис.2. Схема измерения видимого увеличения телескопической системы по угловому увеличению
Отношение
/
определяет угловое или видимое увеличение телескопической системы.
Измерение поля зрения телескопических систем
Измерение поля зрения телескопической системы можно осуществить несколькими методами.
Измерение поля зрения с помощью широкоугольного коллиматора. Схема измерений показана на рис.3. фокальной плоскости объектива коллиматора 1расположена шкалах двумя взаимно перпендикулярными рядами делений, оцифровка делений которой, выполнена в угловой мере.
За объективом широкоугольного коллиматора устанавливают контролируемую систему 2так, чтобы центр се поля зрения совпал с центром перекрестия шкалы коллиматора. Наблюдая в контролируемую систему, замечают, какие деления шкалы коллиматора еще видны на краях поля зрения контролируемой системы.

Рис.3. Измерение поля зрения телескопической системы с помощью широкоугольного коллиматора.
Расстояние между этими делениями, выраженное в угловой мере, и определяет поле зрения контролируемой системы.
При проверке отрицательной телескопической системы (труба Галилея) необходимо учесть следующее.
1. Поле зрения такой системы резко не ограничено и освещенность изображения на краю постепенно падает, поэтому определение края поля, а следовательно, и величины поля зрения такой системы несколько условно. В этом случае рекомендуется изменять специальные устройства, позволяющие определять зависимость падения освещенности от величины угла поля зрения.

Рис.4. Измерение поля зрения телескопической системы с помощью рейки.
2. В отрицательных телескопических системах полевой диафрагмой служит в большинстве случаев оправа объектива, поэтому диаметр объектива коллиматора должен быть больше диаметра контролируемой системы, в противном случае объективколлиматора ограничит поле зрения контролируемой системы.
Измерение поля зрения по рейке. Схема измерений показана на рис.9. Перед контролируемой системой 2 устанавливают рейку 1 с делениями на таком расстоянии, при котором деления рейки будут видны в системе
2 резко и без заметного на глаз параллакса.
Саму систему располагают так, чтобы ее визирная ось была примерно горизонтальна. Зная расстояние между делениями рейки, видимыми на краях поля зрения контролируемой системы, и измерив расстояние от рейки до системы 2, определяют угол поля
![]()
Где А - расстояние между делениями рейки, видимыми на краях
поля зрения;
L - расстояние между рейкой и контролируемой системой 2.
Измерение диаметра зрачка выхода телескопической системы и его удаления
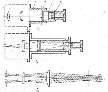
Измерения выполняют с помощью динаметров Рамсдена или Чапского. На рис. 5, а показано устройство динаметра Рамсдена. Динаметр представляет собой трубку 3, вставленную в тубус 1, В трубке 3 укреплена стеклянная шкала 2, внутри нее есть резьба, по которой передвигается лупа 4 в оправе для фокусировки ее на шкалу. На цилиндрическую поверхность трубки 3 нанесены деления с интервалом 1 мм. По э им делениям отсчитывают расстояние от опорного торца тубуса 1 до стеклянной шкалы динаметра.
Для измерения диаметра зрачка выхода телескопической системы и удаления его от наружного края окуляра предварительно фокусируют лупу динаметра на резкое изображение его шкалы. Затем, осветив объектив системы рассеянным светом и прижимая тубус динаметра к наружному краю оправы окуляра телескопической системы, передвигают трубку 3 внутри тубуса 1 до тех пор, пока не будет резко виден в лупу зрачок выхода системы.
Зрачок выхода обычно имеет вид светлого полного круга или круга, несколько срезанного с одной или двух сторон (если контролируемая система имеет призмы).
Далее по шкале динаметра измеряют диаметр зрачка выхода, а по шкале, нанесенной на трубке, отсчитывают расстояние от торца окуляра контролируемой системы до ее зрачка выхода.
В динаметре Чапского (рис. 5, б) в отличие от динаметра Рамсдена впереди шкалы помещен объектив. Этот объектив расположен так, что стеклянная шкала динаметра оказывается на двойном фокусном расстоянии от объектива. Следовательно, в плоскости стеклянной шкалы динаметра будут резко видны предметы, находящиеся на двойном фокусном расстоянии от объектива динаметра.

Рис. 5. Схема динаметров Рамсдена и Чапского.
Главное преимущество динаметра Чапского — это возможность измерений размеров зрачка выхода, находящегося внутри телескопической системы. Это имеет место, например, в трубе Галилея, если ее рассматривать независимо от глаза, где зрачком выхода-системы служит изображение ее объектива через окуляр, расположенное между окуляром и объективом телескопической системы.
В заднем фокусе лупы в обоих динаметрах располагают небольшую диафрагму, которая создает телецентрический ход цучей в пространстве изображений (рис. 5, в ). Поэтому незначительные ошибки в фокусировке динаметра на резкое изображение зрачка выхода контролируемой системы не сказываются на точности измерений.
Измерение пропускания
Измерение полезного пропускания телескопических приборов выполняют на установке, подобной универсальному фотометру типа ИФТ-15А. Схема установки представлена на рис. 6.
Во входное отверстие исследуемого телескопического прибора 3 направляется параллельно его оптической оси пучок лучей, выходящих из коллиматорного объектива фотометра. В фокальной плоскости объектива 2 коллиматора находится точечный источник света, как правило, круглое отверстие в непрозрачной диафрагме 1, освещенное лампой накаливания. За исследуемым прибором с помощью дополнительной короткофокусной линзы 4 или с помощью продольного перемещения окуляра прибора получают изображение точечного источника света.

Рис. 6. Схема установки для измерения коэффициента светопропускания телескопических систем.
Ограничительную диафрагму 5 устанавливают так, чтобы ее отверстие было концентрично изображению источника света. Диаметр отверстия выбирают так, чтобы через него свободно проходил световой поток, образующий изображение точечного источника света (в том числе лучи, образующие в изображении точечного источника дифракционные и аберрационные кольца, ореолы, каемки), а световой поток, нерегулярно прошедший через прибор и образующий фон вокруг изображения, должен быть задержан. Световой поток, прошедший через отверстие ограничительной диафрагмы, воспринимается светочувствительным приемником 6, фототок которого регистрируется гальванометром. Затем фотоприемник устанавливают перед входным отверстием контролируемого прибора и регистрируют показания гальванометра, пропорциональные световому потоку, вошедшему в контролируемый прибор. Коэффициентом полезного пропускания
телескопического прибора называют отношение выходящего из прибора светового потока
, создающего изображение малого светящегося предмета, к световому потоку
, входящему в прибор, от этого предмета:
.
Значение коэффициента полезного пропускания
, получаемое как отношение показаний гальванометра
и
,
и
вычисляют с учетом поправок
и
, учитывающих нелинейность показаний измерительной пары фотоприемник—гальванометр.
Измерение полезного пропускания телескопических наблюдательных приборов, таких, как бинокли, стереотрубы, дальномеры и другие, выполняют с помощью селенового фотоэлемента, относительное распределение спектральной чувствительности которого приведено к среднему глазу наблюдателя. Коррекция характеристики спектральной чувствительности фотоэлемента достигается с помощью двухкомпонентного светофильтра, состоящегоиз плоскопараллельной стеклянной пластины из стекла марки ЖЗС18 толщиной 2 мм и стекла марки ЗС8 толщиной 2 мм. Степень достигнутого приближения спектральной характеристики 1 селенового фотоэлемента к кривой 2 спектральной чувствительности глаза показана на рис. 7.

Рис. 7. Спектральные характеристики чувствительности глаза и корригированного селенового фотоэлемента.
Сложные телескопические системы, включающие в себя разделительные призмы, зеркала, многолинзовые объективы, неизбежно имеют некоторую избирательность в пропускании лучей различной длины волны. Избирательность полезного пропускания телескопического прибора приводит к окрашенности поля зрения, что в ряде случаев затрудняет работу наблюдателя и может явиться источником ошибок, например в дальномерных устройствах, основанных на сопоставлении изображений двух оптических каналов, а также при регистрации световых потоков, выходящих из телескопической системы, посредством фотоэлектрических приемников. Поэтому спектральную избирательность пропускания телескопических систем в ряде случаев нормируют и. в лабораторной практике возникает необходимость измерения спектрального пропускания телескопического прибора. Как правило, спектральная характеристика пропускания телескопической системы описывается достаточно плавной кривой, а потому нет необходимости предъявлять высокие требования к монохроматичности. источников излучения, применяемых при измерениях. Чистота спектра 8—10 нм вполне удовлетворительна для этих измерений. Спектральный коэффициент полезного пропускания вычисляют по формуле
![]()
Контроль качества изображения телескопических систем
Оценка качества изображения телескопических систем осуществляется более просто по сравнению с фотографическими системами. Объясняется это следующими обстоятельствами.
1. Телескопические системы лучше корригированы, чем фотографические системы.
2. Телескопические системы имеют значительно меньшее поле зрения
3. Телескопические системы обычно работают совместно с глазом, поэтому при оценке качества изображения нет необходимости применять длительные по времени и сложные по используемой аппаратуре фотографические испытания.
Качество изображения телескопических систем оценивают тремя методами: по виду дифракционного изображения точки; по величине визуальной разрешающей силы и по качеству изображения местных предметов.
По виду дифракционного изображения точки, как правило, оценивают только качество приборов, применяемых в астрономии, для основной же массы телескопических приборов определяют визуальную разрешающую силу.
Определение визуальной разрешающей силы. Проверку разрешающей силы выполняют путем рассматривания изображения стандартной штриховой миры, установленной в фокальной плоскости коллиматора.
Для большинства приборов разрешающую силу определяют только в центре поля зрения и только для широкоугольных систем нескольких точках поля зрения.
У телескопических систем высшего качества фактическая разрешающая сила должна равняться теоретической.
Для всех других телескопических систем, например для биноклей или стереотруб, необходимо, чтобы разрешающая сила после окуляра равнялась или была меньше Г, т. е. обеспечивала только возможность использования собственной разрешающей силы глаза. В этих случаях разрешающую силу прибора рассчитывают по формуле
![]()
где Г — видимое увеличение телескопической системы.
Формула действительна для телескопических систем, у которых входной зрачок больше зрачка глаза. Дальнейшее увеличение

Рис. 8. Схема измерения разрешающей силы телескопической системы.
разрешающей силы считают нецелесообразным, поскольку глаз наблюдателя все равно не сможет ее использовать.
Схема установки для проверки разрешающей силы показана на рис. 13.
Установка состоит из коллиматора 1 с мирой, контролируемой телескопической системы 2 и дополнительной зрительной трубы 3 с увеличением 2—
.
Применение дополнительной трубы приводит к тому, что лимитирующим фактором при определении разрешающей силы является сама контролируемая система, а не глаз наблюдателя, разрешающая сила которого у разных наблюдателей колеблется в некоторых пределах.
При проверке разрешающей силы необходимо окуляр вспомогательной трубки установить на резкое изображение ее сетки, а затем фокусировкой окуляра контролируемой системы добиты резкого изображения миры коллиматора. В этом случае контролируемая система будет представлять собой телескопическую систему.
Некоторые телескопические системы имеют неподвижные окуляры. Эти системы либо заранее юстированы так, что являются телескопическими, либо окуляр в них установлен так, что из него выходит заведомо расходящийся пучок в 0,5—1 диоптрию. Считается, что такая юстировка обеспечивает меньшую утомляемость наблюдателей.
Для проверки систем с неподвижными окулярами фокусировку на резкое изображение миры осуществляют толь со перефокусировкой окуляра вспомогательной зрительной трубки.
При оценке разрешающей силы обращают вниманий на качество изображения миры (наличие «хвостов», двойников, окрашенности) точно так же, как это было указано при описании метода проверки отдельных оптических деталей и узлов.
В случае широкоугольных телескопических систем аналогичную проверку проводят для нескольких точек поля зрения, при этом как контролируемую систему, так и дополнительную зрительную трубку поворачивают на углы, соответствующие углам поля зрения.
Опытные образцы телескопических систем также оценивают по качеству изображения местных предметов. При этом обращают внимание на резкость изображений в центре поля зрения, отсутствие искажения масштаба и резкость изображений по поля зрения, а также на отсутствие окрашенности изображений как в центре поля, так и по всему полю зрения.
Оценка изображения по местным предметам является качественной и в известной степени субъективной, однако она является и окончательной.
Контроль качества изображения микроскопических систем
К микроскопическим системам предъявляют весьма высокие требования по качеству изображения.
Разрешающую силу микроскопической системы определяют следующими формулами:
![]()
при освещении прозрачных предметов узким центральным пучком
света и
.
при освещении прозрачных предметов узким косым пучком с использованием всей апертуры конденсора, равной апертуре объектива микроскопа.
Здесь
— расстояние между двумя разрешаемыми объектами,
— длина волны света, при которой происходят наблюдения;
А — числовая апертура микрообъектива. Для обеспечения разрешающей силы необходим правильный подбор общего увеличения микроскопа. Увеличение микроскопа рассчитывают из условия, чтобы угловое расстояние между изображениями рассматриваемых объектов по отношению к центру зрачка глаза наблюдателя находилось в пределах 2-
.
Если принять длину волны света, при которой происходят наблюдения, К=0,00055 мм и расстояние до изображения равным 250 мм, то необходимое увеличение определяется по формуле
500А <Г <1000А,
где Г—необходимое общее увеличение микроскопа; А — числовая апертура микрообъектива.
Правильно изготовленная микроскопическая система почти автоматически обеспечивает высокую разрешающую силу, близкую к теоретической.
Исходя из этого, в практике контроля микроскопических систем определение их разрешающей силы происходит очень редко, а обычно ограничиваются проверкой качества изображения.
Определение качества изображения. Наиболее распространенным методом проверки; качества изображения микроскопической системы является оценка ее по виду дифракционного изображения светящейся точки.
В качестве объекта используют стеклянную пластинку, покрытую тонким слоем серебра. Обычно в этом слое есть многочисленные мелкие отверстия. Наблюдатель рассматривает эти отверстия с помощью микроскопа, для чего пластинку помещают на предметный столик микроскопа.
Среди имеющихся на пластинке отверстий всегда можно обнаружить отверстия таких размеров, изображения которых представляют собой четкую дифракционную картину точки.
Оценка качества дифракционного изображения точки, создаваемого микроскопической системой, осуществляется аналогично оценке других оптических систем.

Рис. 9. Схема измерения разрешающей силы микрообъективов по методу Т. И. Соколовой.
Определение разрешающей силы .
До настоящего времени не удалось получить стандартных штриховых мир, пригодных по своим размерам для проверки микроскопических систем.
Автоколлимационный метод проверки разрешающей силы микрообъективов был предложен Т. И. Соколовой. Схема измерений этим методом представлена на рис. 9. Свет от источника 1 через конденсор 2 освещает миру 3, расположенную в плоскости изображения мпкрообъектпва 5. Далее пучки света, отразившись от полупрозрачной гипотенузной грани вспомогательной призмы-куб 4, проходят через испытуемый объектив 5, отражаются от вспомогательного зеркала 6, установленного в предметной плоскости объектива 5, вновь проходят объектив 5, призму-куб 4 и образуют автоколлимационное изображение миры 3 в сопряженной плоскости изображения 7 микрообъектива. Это изображение рассматривают с помощью окуляра 8.
Размеры миры 3 определяют с учетом увеличения контролируемого микрообъектива. Таким образом, предложенный Т. И. Соколовой метод создает возможность применения стандартных штриховых мир для оценки качества изображения микрообъективов, однако следует учесть, что при такой оценке разрешающей силы свет дважды проходит через контролируемый объектив
ЛИТЕРАТУРА
1. Справочник технолога-машиностроителя в 2-х частях. Под редакцией А.М. Дальского, А.Г. Косиловой, Р.К. Мещерякова. Машиностроение 2001
2. Зубаков В.Г., Семибратов М.Н.. Штандель С.К. Технология оптических деталей. Машиностроение, 2005. - 368 с.
3. Эпштейн М.И. Измерение оптического излучения в электронике. Энергоиздат, 2000. - 265 с.