| Похожие рефераты | Скачать .zip |
Реферат: К-3600
ВВЕДЕНИЕ
Телефонная связь - это основной вид связи по объему передаваемой информации. В нынешнее время междугородная телефонная связь развивается стремительными темпами. Возрастает протяженность линий и количество каналов, внедряются современные системы многоканальной связи, вводится в эксплуатацию современное коммутационное оборудование, автоматизируются процессы установления соединения.
Внутризоновые, первичные и магистральные сети оснащены, в основном аналоговыми системами передачи. На магистральных линиях связи работают системы передач К-3600 и К-1920П, для реконструкции симметричных линий широко применяется система К-1220С, для внутризоновых и ведомственных сетей применяют систему передачи К-420, работающую на коаксиальном кабеле ВКПАШп. На местных сетях СТС широко применяется система передачи К-60П,В-12-3 и другие.
В настоящее время создается интеллектуальная сеть многоцелевого назначения на базе цифровых системы передачи, при использовании волоконно-оптических линий связи. Но, несмотря на эти новшества и усовершенствования первичной сети ВСС РФ, используются и еще долго, будут использоваться аналоговые системы передачи, которые нашли место при разработке данного кусоового проекта.
1 ВЫБОР ТИПА КАБЕЛЯ И СИСТЕМЫ
ПЕРЕДАЧИ
Выбор системы передачи и типа кабеля осуществляется на основании заданного количества каналов на проектируемой магистрали. В соответствии с исходными данными на участке проектируемой магистрали ОП1-ОПЗ требуется организовать 3600 каналов. Для организации заданного числа каналов целесообразно использовать систему передачи К-3600 каторая предназначена для организации мощных пучков каналов на магистральной первичной сети ВСС РФ.
СП К-3600 раблтает по симметричным парам коаксиального
кабеля КМ-4. КМ-4 содержит четыре коаксиальные пары 2,6/9,4 мм и пять симметричных четверок с медными жилами диаметром 0,9 мм.
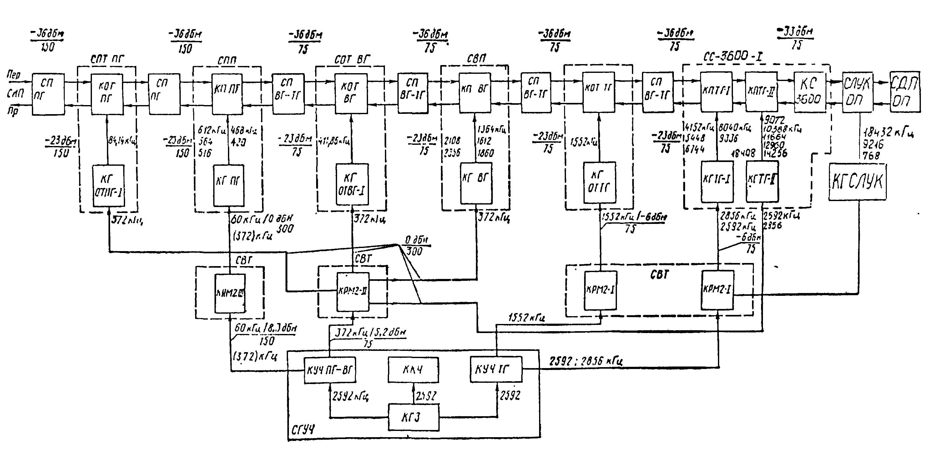
Технические данные СП К- 3600 приведены в таблице 1. Структурная схема оконечной станции СП К- 3600 приведена на рисунке 1.
1 ВЫБОР ТИПА КАБЕЛЯ И СП
Выбор СП и типа кабеля осуществляется на основании заданного количества каналов на проектируемой магистрали. В соответствии с исходными данными на участке проектируемой магистрали ОП1- ОПЗ требуется организовать 36000 каналов. Для организации заданного числа каналов целесообразно использовать систему передачи К- 3600. СП К- 3600 предназначена для организации мощных пучков каналов на магистральной первичной сети ВСС РФ.
На участке магистрали ОП1- ОУП2 (ОУП2- ОПЗ) необходимо организовать 24 канала. Для организации данного числа каналов необходимо использовать распределительную систему К- 24Р, работающую совместно с К- 3600 по симметричным парам коаксиального кабеля КМ- 4. КМ-4 содержит четыре коаксиальные пары 2,6/9,4 мм и пять симметричных четверок с медными жилами диаметром 0,9 мм.
Технические данные СП К- 3600 приведены в таблице 1. Структурная схема оконечной станции СП К- 3600 приведена на рисунке 1.
Технические данные К-24Р приведены в таблице 2.
4 КОМПЛЕКТАЦИЯ ОБОРУДОВАНИЯ
ОКОНЕЧНОЙ СТАНЦИИ
Расчет оборудования в ЛАЦ производится на основании исходных данных схемы организации связи проектируемой кабельной линии. Число требуемых стоек N рассчитывается по формуле (23).
N=E
+1,
(23)
где Е(х) - функция целой части.
n - потребляемое число каналов, групп каналов системы
передачи;
m - емкость одной стойки.
Результаты распределение каналов по группам представленны в таблице 6.
Данные расчета оборудования ЛАЦ приведены в таблице 7.
Таблица 7
|
Наименование стойки |
Тип стойки |
Ёмкость стойки |
Количество оборудования |
||||
|
ОП1 |
ОУП |
ОПЗ |
НУП |
Всего |
|||
|
Стойка индивидуального преобразования с ГО |
СИП-ГО-252 |
252 |
2 |
2 |
4 |
||
|
Стойка индивидуального преобразования |
СИП-300 |
300 |
4 |
4 |
8 |
||
|
Стойка переключения первичных групп |
СППГ |
1200 |
2 |
2 |
4 |
||
|
Стойка образования трактов ПГ |
СОТ-ПГ |
432 |
4 |
4 |
8 |
||
|
Стойка первичного преобразования |
СПП |
900 |
2 |
2 |
4 |
||
|
Стойка переключения |
СПВГ-ТГ |
4800 |
1 |
1 |
2 |
||
|
Стойка образования трактов ВГ |
СОТ-ВГ |
2160 |
1 |
1 |
2 |
||
|
Стойка вторичного преобразования |
СВП |
2400 |
1 |
1 |
2 |
||
|
Стойка образования трактов ТГ |
СОТ-ТГ |
5400 |
1 |
1 |
2 |
||
|
Стойка сопряжения |
СС |
1 сист |
1 |
1 |
2 |
||
|
Стойка линейных усилителей и корректоров |
СЛУК-ОП |
1 сист |
1 |
1 |
2 |
||
|
СЛУК-ОУП |
1 |
1 |
|||||
|
Стойка ДП |
СДП-4 |
1 сист |
1 |
1 |
|||
Продолжение таблицы 7
|
Наименование стойки |
Тип стойки |
Ёмкость стойки |
Количество оборудования |
||||
|
ОП1 |
ОУП |
ОПЗ |
НУП |
Всего |
|||
|
Комплект автоматического выключения |
КВА-5 |
1 сист |
1 |
1 |
1 |
3 |
|
|
Стойка фильтров ДП |
СФДП |
14 к.п |
1 |
1 |
2 |
||
|
Стойка вспомогательно-торцевая |
СВТ |
2 на магист |
2 |
2 |
2 |
6 |
|
|
Стойка контроля |
СК |
1 на магист |
1 |
1 |
1 |
3 |
|
|
Стойка контрольно-измерительная |
КИС |
1 на магист |
1 |
1 |
1 |
3 |
|
|
Стойка служебной связи |
ССС |
1 на магист |
1 |
1 |
1 |
3 |
|
|
Стойка телемеханики |
СТМ |
1 на магист |
1 |
1 |
1 |
3 |
|
|
Промежуточная стойка переключений |
ПСП |
600 кросс |
6 |
6 |
12 |
||
|
Стойка генератора управляющих частот |
СГУЧ |
10000 |
1 |
1 |
2 |
||
|
Испытательное оборудование |
ИС1УВ ИС-1У ИС-2У |
370 вх 160 исх 2 сист ИС-1У |
5 4 2 |
5 4 2 |
10 8 4 |
||
|
Стойка транзита |
СТТГ |
5 тр-ов |
1 |
1 |
2 |
||
|
Стойка коммутации |
СКТВ |
1 на магист |
1 |
1 |
2 |
||
|
Стойка корректоров ТВ трактов |
СККТ |
1 на магист |
1 |
1 |
2 |
||
|
Стойка контроля ТВ и ЗВ программ вещания |
СКТПВ |
1 на магист |
1 |
1 |
1 |
||
|
Основной НУП |
20 |
20 |
|||||
|
Регулирующий НУП |
6 |
6 |
|||||
Министерство Российской Федерации
по связи и информатизации
Ростовский - на - Дону Колледж связи и информатики
ОДОБРЕНО УТВЕРЖДАЮ
на заседании цикловой комиссии Зам. Директора по УР
П
редседатель
ЦК
П.П.Беленький
![]()
![]()
« » 200 г.
«![]()
» 200 г.
ЛАБОРАТОРНАЯ
РАБОТА №
п
о
дисциплине
Т
ема
Кличество часов
![]()
Для специальности
![]()
П
реподаватель
200 г.
2 ПРЕДВАРИТЕЛЬНЫЙ РАСЧЁТ МАГИСТРАЛИ
2.1 Расчёт номинальной длины УУ
Номинальная длина усилительного участка lном.уу ,км рассчитывается по формуле (1).
lном.уу = lн. • t ср.г. / t ср.расч , (1)
где lн - номинальная длина усилительного участка при
среднегодовой температуре грунта,км (lн =3км);
tср.г. - коэффициент затухания кабеля на верхней
передаваемой частоте при среднегодовой
температуре грунта,дБ;
tср.расч.- коэффициент затухания кабеля на верхней
передаваемой частоте при среднегодовой
температуре грунта в данной местности, дБ/км.
Коэффициент затухания кабеля на верхней передаваемой частоте tср, дБ/км рассчитывается по формуле (2).
tср.расч = t=+20 о [1 + (tср. – 20 оС)] , (2)
где t= +20 о - коэффициент затухания кабеля при t=20 о на
верхней частоте линейного спектра, дБ/км.
t= +20 = 10.36 дБ/км;
- температурный коэффициент затухания
кабеля, 1/град.
Расчёт:
tmax
=
+19
о
=10,36[1+1,96
10-3(19
о-20
о)]
=10,34 дБ;
tср.=
+8о
=10,36[1+1,96
10-3(8
о-20
о)]
=10,12 дБ;
tср.расч=+8,5о=10,36[1+1,96
10-3(8,5
о-20
о)]=10,13
дБ;
Lном.уу
= 3
= 2,99 км.
Разработка схемы организации связи
Проектом предлагается организовать 3600 каналов тональной частоты (ТЧ). Для организации данного числа каналов предусматривается установка одной Системы передачи К-3600. Проектируемая магистраль разбивается на две секции:
1-ая секция ОП1-ОУП2, длина секции 39 км;
2-ая секция ОУП2-ОПЗ, длина секции 45 км.
Число усилительных участков секции Nуу, рассчитывается по формуле (3).
nуу=Е
+
1,
(3)
где Е(х) - функция целой части,
Lсекц - длина секции дистанционного питания, км;
lном.уу - номинальная длина усилительного участка, км.
Число НУП в секции ДП Nнуп, расcчитывается по формуле (4).
Nнуп=nyy -1, (4)
где nуу – число НУП в усилительном участке.
Pасчёт:
N
уу=E
+
1=13;
Nнyп 1 секц =13 - 1=12;
45
2,99
Nнyп 2 секц =15 - 1=14.
Схема организации связи представлена на рисунке 2.
Таблица 6
|
Вид каналов |
ТТ |
Ф |
ПД |
ЗВ |
Газета |
Транзит |
ТЛВ |
ТЛФ |
||
|
Приведенное число каналов |
1 |
1 |
1 |
2(6) |
5 |
3 |
1 |
591 |
||
|
ТГ1- ТГ6 |
ВГ 4 ВГ 8 |
ПГ-1 ПГ-2 ПГ-3 ПГ-4 ПГ-5 |
||||||||
|
Итого по ТГ |
300 |
|||||||||
|
ТГ 7 |
ВГ 4 |
ПГ-1 ПГ-2 ПГ-3 ПГ-4 ПГ-5 |
1 |
1 |
1 |
1(3) 1(3) |
8 11 11 9 12 |
|||
|
Итого |
1 |
1 |
1 |
2(6) |
51 |
|||||
ВГ 5 ВГ 8 |
ПГ-1 ПГ-2 ПГ-3 ПГ-4 ПГ-5 |
12 12 12 12 12 |
||||||||
|
Итого |
60 |
|||||||||
|
Итого по ТГ |
1 |
1 |
1 |
2(6) |
300 |
291 |
||||
|
ТГ 8 |
ВГ 4 ВГ 8 |
ПГ-1 ПГ-2 ПГ-3 ПГ-4 ПГ-5 |
12 12 12 12 12 |
|||||||
|
Итого |
60 |
|||||||||
|
Итого по ТГ |
300 |
|||||||||
|
ТГ 9 |
ВГ 4 ВГ 8 |
ПГ-1 ПГ-2 ПГ-3 ПГ-4 ПГ-5 |
12 12 12 12 12 |
|||||||
|
Итого |
60 |
|||||||||
|
Итого по ТГ |
300 |
|||||||||
|
ТГ10 ТГ 12 |
ВГ 4 ВГ 8 |
ПГ-1 ПГ-2 ПГ-3 ПГ-4 ПГ-5 |
12 12 12 12 12 |
|||||||
|
Итого |
60 |
|||||||||
|
Итого по ТГ |
300 |
|||||||||
3.3 Расчет и построение диаграммы уровней
Расчет диаграммы уровней заключается в определении уровней передачи. Приема на входе и выходе усилений для верхнего по частоте канала, при наиболее тяжелых условиях работы. Уровень передачи ОП-1 равен номинальному для данной системы передачи - 13 дБ.
Уровень на входе усилителя, Lвх, необходимо рассчитывать по формуле (10).
Lвх=Lвых - Ауутах , (10)
где Lвых - уровень на выходе предшествующего ОП, ОУП или
НУП, дБ;
Ауутах - затухание предшествующего участка при тах
температуре грунта,дБ.
Уровень на выходе усилителя рассчитывается по формуле (11).
Lвых=Lвх +S, (11)
где Lвх - уровень на входе данного усилителя, дБ;
S - усиление данного усилителя, дБ.
Рассчитаем уровень на входе НУП 1/1:
Lвх = Lвых - Ауутах;
Lвх = -13 – 31,52 = -44,52 дБ;
Lвых = Lвх +S;
Lвых = -44,52 +31,31 = -12,14 дБ.
Результаты расчета диаграммы уровней для двух направлений приведены в таблицах 4, 4а.
3.2 Расчёт рабочего усиления усилителя
Система передачи К-3600 имеет следующие типы НУП:
НУП-0 - основной не регулирующий, оборудован
установочной регулировкой;
НУП-Р - регулирующий, оборудован АРУ по КЧ и АРУ по
температуре грунта.
Усиление не регулирующих НУП SНУП-0, дБ рассчитывается по формуле (7).
SНУП-0 = Sуст , (7)
где Sуст - установочное усиление усилителя, выбирается
по затуханию УУ при среднегодовой
температуре грунта с учетом ступенчатой
регулировки, дБ; Sуст=31 ± 1,5 дБ.
Усиление
регулирующих
НУП
Sнул-р,
дБ
рассчитывается
по формуле (8).
S НУП-Р = Sуст +ΔSКЧ +ΔSТРУ, (8)
где ΔSкч - усиление усилителя за счет АРУ по КЧ, дБ.
Рассчитывается по формуле (9).
ΔS КЧ =Δ • lсекции1 /2, (9)
где Δ - изменение коэффициента затухания кабеля, дБ.
Рассчитывается по формуле (10).
Δ= tтах - tср.расч. (10)
где lсекции1 /2 - половина расстояния от предыдущего
НУП-Р до данного, км.
SТРУ - изменение усиления усилителя за счет АРУ по
температуре грунта, дБ.
Рассчитывается по формуле (11).
ΔSтру =Δ - lсекции2 / 2 (11)
где lсекции2 / 2 - половина расстояния от данного НУП-Р
до следующего, км.
Результаты расчёта усиления усилителя двух направлений приведены в таблице 3, 3а.
3.4 Расчёт мощности шумов линейного тракта
3.4.1 Расчет допустимой мощности шумов линейного
тракта
Допустимая мощность шумов линейного тракта в точке относительного нулевого уровня Рш.лт. доп (О), пВт псоф, рассчитывается по формуле (14).
Рш.лт. доп (О) = 1 L , (14)
где L - длина магистрали, км.
1пВт псоф./км.- это норма шума на 1 км. линейного
тракта.
Напряжение допустимого псофометрического шума в канале ТЧ в точке относительного уровня (ТОУ) -7дБ, Uшлтдоп(-7), мВпсоф рассчитывается по формуле (15).
Uшлтдоп(-7)=10
2,65
(15)
где 600(Ом)-это входное сопротивление канала ТЧ.
3.4.2 Расчет ожидаемой мощности шумов линейного
тракта.
Ожидаемая мощность шумов линейного тракта, Ршлтож(0) , пВт псоф., рассчитывается по формуле (16).
Ршлтож(0)=Рсшож(0)+Рнпож(0)+Рлпож(0) , (16)
где Рсшож(0) - мощность собственных шумов в ТОНУ, пВт псоф;
Величина собственных шумов в ТОНУ Рсшож(0) , пВт псоф, рассчитывается по формуле (17).
n
Рсшож(0)=К2ΣРсшожууi (0) , (17)
i=1
где К – псофометрическая коэффициент, К=0,75;
Рсшожууi (0) - ожидаемая мощность собственных шумов
каждого УУ в ТОНУ, пВт псоф;
Рсшожууi (0) , пВт , определяется по формуле (18).
Рсшожууi (0)=100,1(Lсшус-Lвх)+9 (18)
где Lсшус - уровень собственных шумов приведенных ко входу
усилителя в ТОНУ,дБ. Lсшус =-132 дБ ;
Lвх – уровень на входе усилителя, дБ.
Данные расчеты ожидаемой мощности собственных шумов каждого усилительного участка приведены в таблице 5.
Ожидаемая мощность шума от нелинейных переходов в ТОНУ, Рнпож(0) , пВт, определяется по формуле (19).
Рнпож(0) = Рсшож(0) , (19)
Ожидаемая мощность шумов от нелинейных переходов в ТОНУ, Рлпож(0) , пВт, определяется по формуле (20).
Рлпож(0)=0, (20)
Напряжние ожидаемого псофометрического шума в точке относительного шума (-7дБ), Uшлтож(-7,0),мВ псоф, определяется по формуле (21).
Uшлтож(-7,0)=102,65
(21)
Напряжение
ожидаемого
псофометрического
шума в точке
относительного
уровня -7дБ
Uшлтож(-7,0) < Uшлтдоп(-7,0) (22)
Расчёт:
Р
ш.лт.
доп (О)
= 1
L =1
84
=84
пВт псоф.
;
Uшлтдоп(-7)=10
2,65
=
446,7 8410
-12
600 = 0,1 мВ;
Ршлтож(0)=Рсшож(0)+Рнпож(0)+Рлпож(0)= 34,99 + 34,99+0 = 69,98 пВт псоф;
n
Рсшож(0)=К2ΣРсшожууi(0) = 0,75 2 62,21=34,99 пВт псоф.;
i=1
Рнпож(0) = Рсшож(0) = 34,99 пВт псоф.;
Рлпож(0)=0 пВт псоф.;
U
шлтдоп(-7)=102,65
=446,7
69,98
10–12
600=0,092 мВ;
Uшлтож(-7,0) < Uшлтдоп(-7,0) ;
0,092 мВ < 0,1 мВ.
СОДЕРЖАНИЕ
Введение 3
1 Выбор системы передачи и типа кабеля 4
2 Предварительный расчёт магистрали 7
2.1 Расчёт номинальной длины усилительных
участков 7
2.2 Разработка схемы организации связи 9
3 Электрический расчёт каналов 12
3.1 Расчёт рабочего затухания усилительных
участков 12
3.2 Расчёт усиления усилителей 14
3.3 Расчёт и построение диаграммы уровней
передачи 18
3.4 Расчет мощности шумов линейного тракта 22
3.4.1 Расчёт допустимой мощности шумов линейного
тракта 22
3.4.2 Расчёт ожидаемой мощности шумов линейного
тракта 22
4 Комплектация оборудования оконечной станции 26
Список литературы

Рисунок 1-Структурная схема станции СП К-3600.
СПИСОК ЛИТЕРАТУРЫ
1 Справочник. – Коаксиальные и В.Ч. симметричные
кабели связи. – М.: Связь, 1987
2 Шляхтер М.С. Справочник аппаратуры сетей
связи. – М.: Связь, 1980
3 Система передачи К-3600. – М.: Радиосвязь, 1986
Таблица 4
|
Участок |
Аyy.ср.расч.,дБ |
Sуст, дБ |
ΔSкч, дБ |
ΔSтру, дБ |
S, дБ |
|
НУП1/1-Р |
31,09 | 31,0 | 0,78 | 1,95 | 33,73 |
|
НУП2/1 |
31,19 | 31,5 | - | - | 31,5 |
|
НУПЗ/1 |
30,38 | 30,5 | - | - | 30,5 |
|
НУП4/1 НУП4/1 |
30,59 | 30,5 | - | - | 30,5 |
|
НУП5/1 |
31,4 | 31,5 | - | - | 31,5 |
|
НУП6/1-Р |
30,89 | 31,0 | 1,95 | 1,95 | 34,9 |
|
НУП7/1 |
31,19 | 31,0 | - | - | 31,0 |
|
НУП8/1 |
30,38 | 30,5 | - | - | 30,5 |
|
НУП9/1 |
30,59 | 31,0 | - | - | 31,0 |
|
НУП10/1 |
31,4 | 31,5 | - | - | 31,5 |
|
НУП11/1-Р |
30,89 | 31,0 | 1,95 | 0,77 | 33,72 |
|
НУП12/1 |
31,19 | 31,5 | - | - | 31,5 |
|
ОУП-2 |
30,38 | 30,5 | 0,77 | - | 31,27 |
|
НУП1/2-Р |
30,59 | 31,0 | 0,77 | 1,95 | 33,72 |
|
НУП2/2 |
31,4 | 31,5 | - | - | 31,5 |
|
НУПЗ/2 |
30,89 | 31,0 | - | - | 31,0 |
|
НУП4/2 |
31,19 | 31,0 | - | - | 31,0 |
|
НУП5/2 |
30,38 | 30,5 | - | - | 30,5 |
|
НУП 6/2-Р |
30,59 | 30,5 | 1,95 | 0,39 | 32,84 |
|
ОП-3 |
31,19 | 31,0 | 0,39 | - | 31,39 |
Таблица 4а
|
Участок |
Аyy.ср.расч.,дБ |
Sуст, дБ |
ΔSкч, дБ |
ΔSтру, дБ |
S, дБ |
|
НУП6/2-Р |
31,19 | 31,0 | 0,78 | 1,95 | 33,73 |
|
НУП5/2 |
30,59 | 30,5 | - | - | 30,5 |
|
НУП4/2 |
30,38 | 30,5 | - | - | 30,5 |
|
НУП3/2 НУП4/1 |
31,19 | 31,0 | - | - | 31,0 |
|
НУП2/2 |
30,89 | 31,0 | - | - | 31,0 |
|
НУП1/2-Р |
31,4 | 31,5 | 1,95 | 0,39 | 33,84 |
|
ОУП-2 |
30,59 | 30,5 | 0,39 | - | 30,89 |
|
НУП12/1 |
30,38 | 30,5 | - | - | 30,5 |
|
НУП11/1-Р |
31,19 | 31,0 | 0,77 | 1,95 | 33,72 |
|
НУП10/1 |
30,89 | 31,0 | - | - | 31,0 |
|
НУП9/1 |
31,4 | 31,5 | - | - | 31,5 |
|
НУП8/1 |
30,59 | 30,5 | - | - | 30,5 |
|
НУП7/1 |
30,38 | 30,5 | - | - | 30,5 |
|
НУП6/1-Р |
31,19 | 31,0 | 1,95 | 1,95 | 34,9 |
|
НУП5/1 |
30,89 | 31,0 | - | - | 31,0 |
|
НУП4/1 |
31,4 | 31,5 | - | - | 31,5 |
|
НУП3/1 |
30,59 | 30,5 | - | - | 30,5 |
|
НУП2/1 |
30,38 | 30,5 | - | - | 30,5 |
|
НУП 1/1-Р |
31,19 | 31,0 | 1,95 | 0,39 | 33,34 |
|
ОП-1 |
31,09 | 31,0 | 0,39 | - | 31,39 |
Таблица 4а
|
Участок |
Lвых , дБ |
Ауу.max, дБ |
Lвх , дБ |
S, дБ |
Sуточн.факт, дБ |
| ОП3-НУП14/2 | -13,55 | 32,55 | -45,55 | 32 | |
|
НУП14/2-НУП13/2 |
-11,84 | 30,49 | -44,04 | 32,2 | |
| НУП13/2-НУП12/2 | -12,57 | 31,23 | -43,07 | 30,5 | |
|
НУП12/2-НУП11/2 |
-13,4 | 31,83 | -44,4 | 31 | |
| НУП11/2-НУП10/2 | -13,94 | 32,04 | -45,44 | 31,5 | |
|
НУП10/2-НУП9/2 |
-14,44 | 31 | -44,94 | 30,5 | |
| НУП9/2-НУП8/2 | -12,1 | 31,31 | -45,75 | 33,65 | |
|
НУП8/2-НУП7/2 |
-12,83 | 31,73 | -43,83 | 31 | |
| НУП7/2-НУП6/2 | -13,68 | 32,35 | -45,18 | 31,5 | |
|
НУП6/2-НУП5/2 |
-14,42 | 32,24 | -45,92 | 31,5 | |
|
НУП5/2-НУП4/2 |
-14,91 | 30,49 | -44,91 | 30 | |
|
НУП4/2-НУП3/2 |
-12,91 | 31,52 | -46,43 | 33,52 | |
|
НУП3/2-НУП2/2 |
-13,4 | 30,49 | -43,4 | 30 | |
|
НУП2/2-НУП1/2 |
-13,95 | 32,55 | -45,95 | 32 | |
|
НУП1/2-ОУП2 |
-13 | 31 | -44,95 | 31,44 | -31,95 |
|
ОУП2-НУП12/1 |
-13,54 | 32,04 | -45,04 | 31,5 | |
|
НУП12/1-НУП11/1 |
-11,84 | 31,52 | -45,06 | 33,22 | |
|
НУП11/1-НУП10/1 |
-12,57 | 31,73 | -43,57 | 31 | |
|
НУП10/1-НУП9/1 |
-13,38 | 31,31 | -43,88 | 30,5 | |
| НУП9/1-НУП8/1 | -13,9 | 31,52 | -44,9 | 31 | |
| НУП8/1-НУП7/1 | -14,45 | 32,55 | -46,46 | 32 | |
| НУП7/1-НУП6/1 | -11,79 | 30,49 | -44,94 | 33,15 | |
| НУП6/1-НУП5/1 | -12,79 | 31,51 | -43,3 | 30,5 | |
| НУП5/1- НУП4/1 | -13,63 | 31,83 | -44,63 | 31 | |
| НУП4/1-НУП3/1 | -14,36 | 31,73 | -45,36 | 31 | |
| НУП3/1/НУП2/1 | -114,86 | 31 | -45,36 | 30,5 | |
| НУП2/1-НУП1/1 | -14,48 | 31,31 | -45,86 | 32,39 | |
| НУП1/1-ОП1 | -13 | 31,52 | -45 | 31,32 | -32 |
Таблица 5.
-
Участок
Lвых ,дБ
Ауу.max,дБ
Lвх ,дБ
S ,дБ
S уточн.факт, дБ
ОП-1-НУП1/1
-11,14 31,87 -44,87 33,73 - НУП1/1-НУП2/1
-11,62 31,98 -43,12 31,5 - НУП2/1-НУП3/1
-12,27 31,15 -42,77 30,5 - НУПЗ/1-НУП4/1
-13,13 31,36 -43,63 30,5 - НУП4/1-НУП5/1
-13,82 32,19 -45,32 31,5 - НУП5/1-НУП6/1
-10,59 31,67 -45,49 34,9 - НУП6/1-НУП7/1
-11,57 31,98 -42,57 31,0 - НУП7/1-НУП8/1
-12,22 31,15 -42,72 30,5 - НУП8/1-НУП9/1
-12,58 31,36 -43,58 31,0 - НУП9/1-НУП10/1
-13,27 32,19 -44,77 31,5 - НУП10/1-НУП11/1
-11,22 31,67 -44,94 33,72 - НУП11/1-НУП12/1
-11,7 31,98 -43,2 31,5 - НУП12/1-ОУП-2
-13 31,15 -42,85 31,27 29,85 ОУП-2- НУП1/2
-10,64 31,36 -44,36 33,72 - НУП1/2-НУП2/2
-11,33 32,19 -42,83 31,5 - НУП2/2-НУП3/2
-12 31,67 -43 31,0 - НУПЗ/2-НУП4/2
-12,98 31,98 -43,98 31,0 - НУП4/2-НУП5/2
-13,63 31,15 -44,13 30,5 - НУП5/2-НУП6/2
-12,15 31,36 -44,99 32,84 - НУП6/2-ОП3
-13 31,98 -44,13 31,39 31,13
Таблица 5а
Участок |
Lвых , дБ |
Ауу.max, дБ |
Lвх , дБ |
S, дБ |
Sуточн.факт, дБ |
|
ОП3-НУП6/2 |
-11,25 |
31,98 |
-44,98 |
33,73 |
|
|
НУП6/2-НУП5/2 |
-12,11 |
31,36 |
-42,61 |
30,5 |
|
|
НУП5/2-НУП4/2 |
-12,76 |
31,15 |
-43,24 |
30,5 |
|
|
НУП4/2-НУП3/2 |
-13,74 |
31,98 |
-44,74 |
31,0 |
|
|
НУП3/2-НУП2/2 |
-14,41 |
31,67 |
-45,4 |
31,0 |
|
|
НУП2/2-НУП1/2 |
-12,76 |
32,19 |
-46,6 |
33,84 |
|
|
НУП1/2-ОУП2 |
-13 |
31,36 |
-44,12 |
31,27 |
-31,12 |
|
ОУП2-НУП12/1 |
-13,65 |
31,15 |
-44,15 |
30,5 |
|
|
НУП12/1-НУП11/1 |
-11,91 |
31,98 |
-45,63 |
33,72 |
|
|
НУП11/1-НУП10/1 |
-12,58 |
31,67 |
-43,58 |
31,0 |
|
|
НУП10/1-НУП9/1 |
-13,27 |
32,19 |
-44,77 |
31,5 |
|
|
НУП9/1-НУП8/1 |
-14,13 |
31,36 |
-44,93 |
30,5 |
|
|
НУП8/1-НУП7/1 |
-14,78 |
31,15 |
-45,28 |
30,5 |
|
|
НУП7/1-НУП6/1 |
-11,86 |
31,98 |
-46,76 |
34,9 |
|
|
НУП6/1-НУП5/1 |
-12,53 |
31,67 |
-43,53 |
31,0 |
|
|
НУП5/1- НУП4/1 |
-13,22 |
32,19 |
-44,72 |
31,5 |
|
|
НУП4/1-НУП3/1 |
-14,08 |
31,36 |
-44,58 |
30,5 |
|
|
НУП3/1/НУП2/1 |
-14,73 |
31,15 |
-45,23 |
30,5 |
|
|
НУП2/1-НУП1/1 |
-13,37 |
31,98 |
-46,71 |
33,34 |
|
|
НУП1/1-ОП1 |
-13 |
31,87 |
-45,04 |
31,39 |
-32,04 |
Таблица 2.
|
Участок |
Lyy,км |
Актах,дБ |
Ак ср рас,дБ |
Аст,дБ |
Ауутах,дБ |
Ауусррас,дБ |
|
ОП-1-НУП1/1 |
3,02 | 31,37 | 30,59 | 0,5 | 31,87 | 31,09 |
|
НУП1/1-НУП2/1 |
3,03 | 31,48 | 30,69 | 0,5 | 31,98 | 31,19 |
|
НУП2/1-НУПЗ/1 |
2,95 | 30,65 | 29,88 | 0,5 | 31,15 | 30,38 |
|
НУПЗ/1-НУП4/1 НУП4/1 |
2,97 | 30,86 | 30,09 | 0,5 | 31,36 | 30,59 |
|
НУП4/1-НУП5/1 |
3,05 | 31,69 | 30,9 | 0,5 | 32,19 | 31,4 |
|
НУП5/1-НУП6/1 |
3 | 31,17 | 30,39 | 0,5 | 31,67 | 30,89 |
|
НУП6/1-НУП7/1 |
3,03 | 31,48 | 30,69 | 0,5 | 31,98 | 31,19 |
|
НУП7/1-НУП8/1 |
2,95 | 30,65 | 29,88 | 0,5 | 31,15 | 30,38 |
|
НУП8/1-НУП9/1 |
2,97 | 30,86 | 30,09 | 0,5 | 31,36 | 30,59 |
|
НУП9/1-НУП10/1 |
3,05 | 31,69 | 30,9 | 0,5 | 32,19 | 31,4 |
|
НУП10/1-НУП11/1 |
3 | 31,17 | 30,39 | 0,5 | 31,67 | 30,89 |
|
НУП11/1-НУП12/1 |
3,03 | 31,48 | 30,69 | 0,5 | 31,98 | 31,19 |
|
НУП12/1-ОУП-2 |
2,95 | 30,65 | 29,88 | 0,5 | 31,15 | 30,38 |
|
ОУП-2-НУП1/2 |
2,97 | 30,86 | 30,09 | 0,5 | 31,36 | 30,59 |
|
НУП1/2-НУП2/2 |
3,05 | 31,69 | 30,9 | 0,5 | 32,19 | 31,4 |
|
НУП2/2-НУПЗ/2 |
3 | 31,17 | 30,39 | 0,5 | 31,67 | 30,89 |
|
НУП3/2-НУП4/2 |
3,03 | 31,48 | 30,69 | 0,5 | 31,98 | 31,19 |
|
НУП4/2-НУП5/2 |
2,95 | 30,65 | 29,88 | 0,5 | 31,15 | 30,38 |
|
НУП5/2-НУП 6/2 |
2,97 | 30,86 | 30,09 | 0,5 | 31,36 | 30,59 |
|
НУП6/2-ОП3 |
3,03 | 31,48 | 30,9 | 0,5 | 31,98 | 31,19 |
Таблица 6
|
Участок |
Lсшуy,дБ |
Lвх,дБ |
0,1(Lсшуу Lвх)+9 , |
100,1(Lсшуу Lвх)+9 |
|
НУП1/1 |
-132 | -44,52 | 0,25 | 1,78 |
|
НУП2/1 |
-132 | -42,64 | 0,06 | 1,15 |
|
НУПЗ/1 |
-132 | -43,14 | 0,11 | 1,3 |
|
НУП4/1 |
-132 | -44,37 | 0,23 | 1,7 |
|
НУП5/1 |
-132 | -45,2 | 0,32 | 2,09 |
|
НУП6/1 |
-132 | -45,71 | 0,37 | 2,34 |
|
НУП7/1 |
-132 | -42,56 | 0,05 | 1,12 |
|
НУП8/1 |
-132 | -45,11 | 0,31 | 2,04 |
|
НУП9/1 |
-132 | -44,63 | 0,26 | 1,82 |
|
НУП10/1 |
-132 | -44,94 | 0,29 | 1,86 |
|
НУП11/1 |
-132 | -46,17 | 0,41 | 1,95 |
| Нуп12/1 | -132 | -44,47 | 0,24 | 1,74 |
|
ОУП-2 |
-132 | -45,51 | 0,35 | 2,24 |
|
НУП1/2 |
-132 | -44 | 0,2 | 1,58 |
|
НУП2/2 |
-132 | -46,05 | 0,40 | 2,51 |
|
НУПЗ/2 |
-132 | -44,54 | 0,25 | 1,78 |
|
НУП4/2 |
-132 | -44,48 | 0,22 | 1,66 |
|
НУП5/2 |
-132 | -43,97 | 0,19 | 1,55 |
|
НУП6/2 |
-132 | -46,21 | 0,42 | 2,63 |
|
НУП7/2 |
-132 | -47,06 | 0,50 | 3,16 |
|
НУП8/2 |
-132 | -47,29 | 0,52 | 3,31 |
|
НУП9/2 |
-132 | -45,08 | 0,30 | 2,00 |
|
НУП10/2 |
-132 | -45,58 | 0,34 | 2,18 |
|
НУП11/2 |
-132 | -47,12 | 0,51 | 3,24 |
|
НУП12/2 |
-132 | -47,45 | 0,55 | 3,55 |
| НУП13/2 | -132 | -47,68 | 0,57 | 3,72 |
| НУП14/2 | -132 | -45,46 | 0,35 | 2,24 |
| ОП3 | -132 | -48,01 | 0,60 | 3,98 |
|
Итого: |
= 62,21 | |||
3 ЭЛЕКТРИЧЕСКИЙ РАСЧЕТ КАНАЛОВ ТЧ
3.1 Расчет рабочего затухания УУ
Рабочее затухание УУ Ауу, дБ, рассчитывается по формуле (5).
Ауу=Ак+Аст , (5)
где Ак - затухание участка кабеля при заданной температуре грунта. Ак,дБ.
Затухание участка кабеля рассчитывается по формуле (6).
Ак= t • lyy , (6)
где t - коэффициент затухания кабеля при заданной температуре грунта на верхней частоте СП, дБ;
lуу - длина усилительного участка, км;
Аст - затухание станционных устройств,дБ
(Аст=2 Афп=0,5 дБ).
Рассчитаем рабочее затухание на участке кабельной линии ОП1 - НУП1/1.
Ак
max =
tmax
lyy1,
дБ
Ak
max = 10,34
3
= 31,02 дБ
Ayy max = Ak max+ Аст ,дБ
Ayy max = 31,02+0,5 =31,52 дБ
Ак
ср расч =
tср.расч
lyy1
дБ
Ак
ср расч =
10,13
3
= 30,39 дБ
Aуу ср расч = Ак ср + Аст, дБ
Aуу ср расч = 30,39+0,5=30,89 дБ
Результаты расчетов рабочего затухания остальных участков приведены в таблице 2.
Похожие рефераты:
Проект высокоскоростной локальной вычислительной сети предприятия
Локальная сеть Ethernet в жилом микрорайоне
Проектирование локальной сети для рабочих мест на базе сети Ethernet
Анализ методики проведения санитарно-экологического состояния объекта
Измеритель отношения сигнал/шум ТВ канала
Разработка систем передачи информации нового поколения
Электронный документооборот страхового общества
Проект структурированной кабельной системы
Расширение филиала "Шахта "Осинниковская" за счет ввода в отработку запасов филиала "Шахта "Тайжина"
Реконструкция волоконно-оптической линии связи
Проектирование первичной сети связи на участке железной дороги