| Скачать .docx |
Реферат: Испытания РЭСИ на воздействие повышенной влаги и на воздействие инея с последующим его оттаиванием
Министерство образования Республики Беларусь
Белорусский государственный университет информатики и
радиоэлектроники
кафедра РЭС
РЕФЕРАТ
на тему:
«Испытания РЭСИ на воздействие повышенной влаги и на воздействие инея с последующим его оттаиванием»
МИНСК, 2008
Испытания на воздействие повышенной влаги
Характер воздействия влаги на РЭСИ и ее элементы определяется свойствами воды в жидком, твердом и газообразном состояниях, наличием растворенных примесей и их свойствами. Возможны две основные формы взаимодействия воды с материалами. При первой влага проникает в трещины, зазоры, капилляры или находится на поверхности, удерживаясь на его мелкодисперсных частицах. Это ухудшает физико-химические, электрические и тепловые свойства, ускоряет процессы старения.
При второй форме вода оказывается химически связанной с элементами вещества, что приводит к ускорению процессов коррозии металлов, к гидролизу и способствует распаду некоторых материалов, что нередко приводит к выходу из строя различных ЭРЭ.
При ненадежной влагозащите в различных типах конденсаторов с твердым диэлектриком резко снижается сопротивление изоляции, растут емкость и потери, уменьшается допустимая величина рабочего напряжения. В керамических и герметизированных конденсаторах влага, хотя и не проникает внутрь, но, конденсируясь на поверхности, уменьшает поверхностное сопротивление изоляции. Наличие паров воды в воздухе вызывает изменение его диэлектрической проницаемости, что в свою очередь приводит к изменению емкости конденсаторов с воздушным диэлектриком и нарушению стабильности РЭА. Тем не менее, конденсаторы с воздушным диэлектриком и большими зазорами наиболее устойчивы против действия влажной атмосферы. На емкость конденсаторов с воздушным диэлектриком оказывает влияние также коррозия его металлических обкладок.
Влага интенсивно влияет на сопротивление резисторов различных типов и конструкций. Периодическое действие влаги на тонкослойные пленочные резисторы типа ВС или МЛТ приводит к набуханию лакового покрытия и частичным отрывам проводящего слоя от основания, следствием чего является уменьшение сопротивления и поверхностный пробой, уменьшение надежности контактов. В проволочных резисторах наличие влаги приводит к коррозии и интенсивному окислению проводников и особенно поверхностей подвижных контактов, что способствует уменьшению фактического сечения проводников, росту их сопротивления и снижению надежности контактов.
При воздействии влаги на высокочастотные катушки и дроссели увеличиваются собственные емкости, потери и соответственно снижается добротность. Более чувствительны к действию влаги катушки с каркасами из гигроскопических материалов, намотанные проводами в шелковой и хлопчатобумажной изоляции. Действие влаги снижает добротность таких катушек до 40 %. В трансформаторах и дросселях низкой частоты происходит не только рост потерь, но и увеличивается местный тепловой перегрев, что ухудшает коэффициент полезного действия трансформатора и изменяет индуктивность дросселя. Влага, проникая через трещины в заливке, уменьшает сопротивление межвитковой и межслойной изоляции, способствует развитию электрохимических процессов между витками, что увеличивает вероятность коротких замыканий.
Различают два вида испытаний на влагоустойчивость: длительные и ускоренные. Ускоренные испытания проводят с целью оперативного выявления грубых технологических дефектов, которые могут возникнуть из-за нарушения технологии производства изделий и низкого качества применяемых в производстве материалов, а также с целью выявления дефектов, которые могут возникнуть в изделиях при других видах испытаний.
Степени жесткости испытаний в зависимости от условий эксплуатации изделий в течение года приведены в таблице 1.
Таблица 1 - Степени жесткости испытаний
| Степень жесткости | Режим испытаний | Условия эксплуатации | ||||
Относительная влажность, % |
Температура испытаний, ºС |
Наличие конден сации | Относительна я влажность, (среднемесячное значение), % |
Температура окруж. среды, ºС |
Продолжительность воздействия в течение года, мес. | |
| I | 80 | 25 | -- | 65 | 20 | 12 |
| II, III | 98 | 25 | -- | 80 | 20 | 2 |
| IV | 100 | 25 | -- | 80 | 20 | 6 |
| V | 100 | 25 | + | 90 | 20 | 12 |
| VI, VII | 98 | 35 | -- | 80 | 27 | 3 |
| VIII | 100 | 35 | + | 90 | 27 | 12 |
Связь между степенями жесткости по влажности воздуха и исполнением изделий приведена в таблице 2.
В зависимости от условий эксплуатации, в которых должны работать испытываемые изделия, их подвергают циклическим или непрерывным испытаниям с выпадением и без выпадения росы. Циклическим испытаниям подвергают изделия, предназначенные для работы на открытом воздухе и в открытых производственных помещениях, под навесами, а также в крытых транспортных средствах. Непрерывным испытаниям на влагоустойчивость подвергают изделия, предназначенные для работы в помещениях, где нет резких изменений температуры воздуха, солнечной радиации и осадков.
Любому виду испытаний предшествует визуальный осмотр и измерение параметров изделия. Далее изделия помещают в камеру влажности, повышают температуру до 40±2 ºС и выдерживают при этой температуре в течение времени, указанного в стандартах, ТУ на изделия и ПИ, но не менее 1ч. Затем, в зависимости от заданного режима испытаний устанавливают требуемую температуру и относительную влажность (обычно 95-98 %). При непрерывных испытаниях температуру и влажность в камере поддерживают постоянными в течение всего времени испытаний (от 2 до 10 суток при ускоренном и от 10 до 56 суток при длительном воздействии).
Таблица 2 - Связь между степенями жесткости и исполнением изделий
| Степень жесткости по влажности воздуха | Климатическое исполнение и категория размещения изделий | |
| Исполнение | Категория | |
| I | УХЛ, ТС | 4; 4.1; 4.2 1;1.1;2;3;3.1;4;4.1;4.2 |
| II | ТВ, О, В, ТМ, М У, УХЛ М |
4.1 1.1 4.2 |
| III | У, УХЛ М |
2.1; 3; 3.1 3;3.1;4;4.1 |
| IV | У, УХЛ | 1;2 |
| V | У, УХЛ, ТС, М | 5 |
| VI | У, УХЛ, ТС, М | 5.1 |
| VII | ТВ, О, В, ТМ, ОМ | 4.2 |
| VIII | ТВ, О, В, ТМ, ОМ ТВ, В, ТМ, ОМ, Т | 4 3;3.1 |
| IX | ТВ, Т, О, В, ТМ, ОМ | 1;2 |
| X | ТВ, Т, О, В, ТМ, ОМ | 2.1; 5.1 |
| XI | ТВ, Т, О, В, ТМ, ОМ | 1.1 |
| XII | М | 2.1 |
| XIII | М | 1;2 |
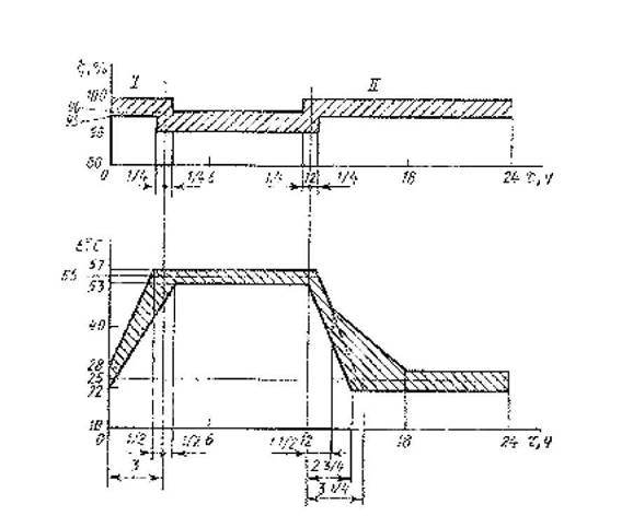
Циклический режим испытания характеризуется воздействием повышенной влажности при циклическом изменении температуры воздуха в камере. В результате создаются условия для выпадения росы на наружных поверхностях изделий (при быстром снижении температуры) и последующего ее испарения, что способствует интенсивному развитию коррозии. В случае длительного испытания на влагоустойчивость при циклическом режиме общая продолжительность испытания в зависимости от степени жесткости условий эксплуатации выбирается из ряда 4, 9, 21 или 42 суточных цикла, а при ускоренном испытании - 4 или 9 циклов. Каждый цикл продолжительностью в 24 часа состоит из этапов, показанных на рисунке 10. Повышение температуры и влажности при проведении каждого цикла должно быть достаточно быстрым, чтобы обеспечить выпадение росы на изделиях.
В случае длительного испытания на влагоустойчивость при циклическом режиме общую продолжительность испытаний в зависимости от степени жесткости выбирают по таблице 3. Рекомендуемая температура длительных испытаний 40±2 ºС, при ускоренных 55±2 ºС.
Таблица 3 - Продолжительность испытаний (сут.) на влагоустойчивость при циклическом режиме в зависимости от степени жесткости
Температура воздуха, ºС |
Длительные испытания для степеней жесткости | Ускоренные испытания для степеней жесткости | |||
| III, IVXII, XIII, VII, | V, VI, VIII, XI | IX, X | V, VII, VIII, XI | IX, X | |
| 40±2 | 4 | 9 | 21 | -- | -- |
| 55±2 | -- | -- | -- | 4 | 9 |
В непрерывном режиме испытаний не предусматривается конденсация влаги на изделиях, поэтому непрерывное испытание проводят при постоянных значениях температуры и влажности камеры. Изделия помещают в камеру тепла и влаги и выдерживают при температуре, указанной в таблице 4 Время выдержки при заданной температуре определяется временем достижения изделиями теплового равновесия. Затем относительную влажность воздуха в камере повышают до 95±3 % и далее поддерживают это значение постоянным в течение всего времени испытаний.
Методики проведения ускоренных испытаний изделий в непрерывном и циклическом режимах аналогичны. По окончании ускоренного режима испытаний изделия выдерживают в нормальных условиях в течение 1...2 ч, в то время как по окончании длительных испытаний - не менее 24 ч.
Испытания изделий под электрической нагрузкой предусматривают в том случае, если в условиях эксплуатации у этих изделий при увлажнении под напряжением возможно проявление разрушающих действий электролиза или электрохимической коррозии.
| Таблица 4 непрерывном | - Продолжительность испытаний (сут.) на влагоустойчивость в режиме в зависимости от степени жесткости | ||||||
| Температура воздуха, ºС | Длительные испытания для степеней жесткости | Ускоренные испытания для степеней жесткости | |||||
| II | III, IV, VII, XII, XIII | V,VI, VIII, XI | IX, X | III, IV, VII, XII, XIII | V,VI, VIII, XI | IX, X | |
| 25±2 | 4 | -- | -- | -- | -- | -- | -- |
| 40±2 | -- | 10 | 21 | 56 | -- | -- | -- |
| 55±2 | -- | -- | -- | -- | 4 | 7 | 14 |
В процессе испытания рекомендуется периодически проверять параметры изделий, оговоренные в ПИ и ТУ. Перед измерением параметров изделия прогревают (выдерживают во включенном состоянии) в течение времени, указанного в ПИ или ТУ, но не более 15 мин. Длительность измерений не должна превышать 10-15 мин. При измерениях в камере в процессе испытаний необходимо учитывать тепловое излучение изделий, которое не должно вносить изменений в режим работы камеры. Измерение параметров следует производить при отсутствии росы на поверхности РЭСИ.
Испытательное оборудование
Для испытания РЭСИ и их элементов на воздействие влаги используют камеры влажности или комбинированные термовлагокамеры. Камеры должны обеспечивать получение воздуха с определенной температурой, влажностью и скоростью движения. При этом должен воспроизводиться постоянный или циклический режим испытаний.
Испытательная камера, как правило, состоит из рабочего отсека, в котором размещают испытываемые изделия, осушительно-увлажнительного устройства, вентиляторов, измерителя влажности, вспомогательных устройств и электрооборудования. Для получения в камере заданного режима необходимо достаточно точно регулировать влаго- и теплосодержание воздуха, поскольку незначительные изменения температуры сопровождаются значительными колебаниями относительной влажности около точки росы. Для поддержания относительной влажности 95±3 % в диапазоне температур 40-70 ºС требуется точность регулирования по сухому термометру ±0,3ºС, а по мокрому до ±0,2ºС.
Для обеспечения требуемой влажности воздуха в испытательных камерах применяется ряд способов (рисунок 1). Наиболее простым является открытый способ, воспроизводящий природные условия увлажнения. Его недостатком является трудность поддержания необходимого режима. Характерной особенностью закрытых способов увлажнения является рециркуляция воздуха из рабочего объема камеры через увлажнительное устройство. В увлажнителе воздух либо продувается через слой подогретой воды, либо смешивается с распыленной водой (рисунок 2). Иногда для имитации быстрых суточных изменений температуры и влажности воздуха в испытательный объем вводится водяной пар.

Рисунок 1 - Этапы изменения относительной влажности С, и температуры t окружающей среды в циклическом режиме ускоренного испытания изделий:
I - конец подъема температуры; II - начало падения температуры; т - 1/4 ч. - время, в течения которого не допускается конденсация влаги в изделиях

Рисунок 2 - Способы увлажнения воздуха:
Управление, сигнализация и контроль режима испытания выполняются вручную или автоматически. Автоматическое поддержание режима работы тепловлагокамеры основано на совместном действии датчиков температуры и влажности с программными устройствами и исполнительными механизмами.
Для измерения влажности воздуха в испытательных камерах применяют гигрометры, в которых используется психрометрический или сорбционный метод измерения влажности. Психрометрический метод основан на принципе сравнения температуры воздуха и температуры тела, с поверхности которого происходит испарение воды. Сорбционный метод основан на использовании гигроскопических тел, свойства которых изменяются в зависимости от количества поглощенной влаги. В зависимости от свойства материала, использованного для измерения, различают деформационные, весовые, цветовые и другие сорбционные гигрометры.
В системах автоматического регулирования температуры и влажности в качестве датчиков наиболее часто используются ртутные контактные термометры, терморезисторы, термопары и деформационные гигрометры. Внешний вид и схема камеры тепла и влаги КВТ-0,4-155 приведены на рисунке 3.

Рисунок 3 - Внешний вид и схема камеры тепла и влаги КВТ-0,4-155: 1 - сухой термометр; 2 - мокрый термометр; 3 - чехол; 4,10 - вентиляторы; 5,6,18,25 - платиновые термометры сопротивления; 7,15 - нагреватели; 8 - змеевик; 9 - заслонка; 11,12,19 - соленоидные вентили; 13,14 - датчики уровня воды; 16 - паровой увлажнитель; 17,20,27,28 - электронные мосты; 21 - полезный объем камеры; 22 - пространство для циркуляции воздуха; 23 - пароотвод; 24 - стакан подпитки; 26 - емкость с дистиллированной водой.
Испытания на воздействие инея с последующим его оттаиванием
Испытания проводят с целью проверки способности изделий допускать включение под электрическое напряжение при выпадении на них инея с последующим его оттаиванием.
Испытание проводят следующим образом: изделия помещают в камеру холода и выдерживают при температуре минус 15-25 °С в течение 2 ч, если другие условия не оговорены в ПИ и стандартах. Далее изделия извлекают из камеры холода, помещают в нормальные климатические условия испытаний, после чего на изделия подают электрическое напряжение, характер, величина, время выдержки и места приложения должны устанавливаться в стандартах и ПИ. Изделия считают выдержавшими испытания, если при подаче напряжения не произошло пробоя или поверхностного перекрытия.
ЛИТЕРАТУРА
Глудкин О.П. Методы и устройства испытания РЭС и ЭВС. – М.: Высш. школа., 2001 – 335 с 2001
Испытания радиоэлектронной, электронно-вычислительной аппаратуры и испытательное оборудование/ под ред. А.И.Коробова М.: Радио и связь, 2002 – 272 с. 2002
Млицкий В.Д., Беглария В.Х., Дубицкий Л.Г. Испытание аппаратуры и средства измерений на воздействие внешних факторов. М.: Машиностроение, 2003 – 567 с 2003
Национальная система сертификации Республики Беларусь. Мн.: Госстандарт, 2007 2007
Федоров В., Сергеев Н., Кондрашин А. Контроль и испытания в проектировании и производстве радиоэлектронных средств – Техносфера, 2005. – 504с. 2005