| Скачать .docx |
Реферат: Разработка конструкции и технологии изготовления устройства Контроллер напряжения аккумул
ФОРМА ЗАДАНИЯ НА КУРСОВОЕ ПРОЕКТИРОВАНИЕ
КАФЕДРА КОНСТРУИРОВАНИЯ
И ТЕХНОЛОГИИ ПРОИЗВОДСТВА РЭА
ЗАДАНИЕ
на курсовое проектирование по дисциплине
"Основы конструирование и технологии РЭС"
Студент___Завершинский Сергей Николаевич _ группа__________04-307 _______
Руководитель_____Мухин Андрей Александрович___________________________
Срок представления проекта____26 мая 2006 г. __________________________
1. Тема проекта: Разработка конструкции и технологии изготовления
____Устройства: «Контроллер напряжения аккумуляторной батареи»______________
2. Исходные данные
2.1. Наименование и область применения
____Контроль напряжения аккумуляторной батареи. Устройство предназначено для своевременного обнаружения неполадок в работе электрооборудования автомобиля (то есть оповещение при изменении напряжения за пределы установленного порога 10,8…14В)_________________________________________________________________
2.2. Схема электрическая принципиальная (прилагается к заданию)
2.3. Условия эксплуатации_ Устройство должно, хранится в упаковке, в закрытом помещении при температуре воздуха
от + 5
до +40
при относительной влажности воздуха 80 % при температуре
+25
.
Объект установки ___Автомобиль _____________________________________________________________
3. Требования, предъявляемые к конструкции:
Функциональные параметры ___ Значение напряжения питания – от 10.8 до 14В _
Габариты и масса __пластиковый_блок 64 x 44 x 23мм;_масса не более 150г________
Показатели надёжности
__ Время наработки на отказ изделия – 100000 часов. Срок службы не менее 5 лет_____
Технологические требования _ в устройстве должны использоваться стандартные входные, выходные разъемы и разъемы питания______
Программа выпуска ___400_единиц_в_месяц ________________________________________________________
4. Объём курсового проекта
4.1. Пояснительная записка(20...30 стр.), содержащая:
Задание на курсовое проектирование, введение, техническое задание на разработку РЭС, анализ технического задания, разработку конструкции микросборки (МСБ), разработку конструкции функциональной ячейки РЭС, оценочные расчеты показателей качества конструкции, разработку технологии изготовления устройства, заключение, библиографию, содержание
4.2. Перечень графического материала ____схема электрическая принципиальная, топологический чертёж, послойный топологический чертёж, функциональная ячейка, сборочный чертёж блока, технологическая схема сборки.___________
5. Рекомендуемая литература
Основы конструирования и технологии РЭС: Учебное пособие для курсового проектирования. /Авт.: В.Ф. Борисов, А.А. Мухин, В.В. Чермошенский и др. - М.: Изд-во МАИ, 2000.
Конструирование и технология микросхем. Курсовое проектирование: Учеб. пособие для вузов. / Авт.: Коледов Л. А., Волков В.А., Докучаев Н.И. и др.; под ред. Л. А. Коледова. М.: Высшая школа 1984.
Задание выдано "___" _____февраля__ ____ 2006 г.
Подпись руководителя ____________Подпись студента ________________
1. Введение.
Одним из ускорителей научно-технического прогресса на современном этапе является микроэлектроника, на базе которой разрабатываются приборы и устройства радиоэлектронной аппаратуры (РЭА). Развитие РЭА сопровождается непрерывным расширением функциональной значимости аппаратуры, круга выполняемых ею задач и повышением информативности, что ведет к росту сложности РЭА. В этих условиях важнейшей народно-хозяйственной задачей является всемерное улучшение качества и надежности РЭА, повышение эффективности ее проектирования и производства.
Успешное решение указанных задач возможно лишь при автоматизации проектирования и производства РЭА на базе использования электронных вычислительных машин (ЭВМ), а их решение по силам только высокообразованным; высококвалифицированным, творчески думающим инженерам.
Отсюда высокие требования, предъявляемые к качеству подготовки студентов в высшем учебном заведении, итоги которой подводит дипломное проектирование.
Предлагаемые методические указания призваны помочь студентам радиотехнических специальностей при выполнении и оформлении ими графической части и пояснительной записки дипломного проекта в соответствии с требованиями стандартов. В пособии даны рекомендации по разработке конструкций микроэлектронных устройств, обеспечению теплового режима их работы, выбору элементной базы и материалов.
2. Техническое задание
на разработку конструкции изделия.
1. Наименование и область применения
Контроль напряжения аккумуляторной батареи. Устройство предназначено для своевременного обнаружения неполадок в работе электрооборудования автомобиля (то есть оповещение при изменении напряжения за пределы установленного порога 10,8…14В). Особенность установки прибора в автомобиль в качестве бортового прибора, предполагает подключение к тем цепям, где напряжение появляется после включения зажигания.
2. Основание для разработки
Основанием для разработки служит задание на курсовой проект.
3. Цель и задачи проектирования
Целью является КД (конструкторская документация) на стадии эскизного проектирования.
Задачей является получение наиболее выгодного экономического эффекта за счёт улучшения и простоты использования изделия по сравнению с существующими аналогами.
4. Источник разработки
4.1. Журнал «Радио» № 4, 2005
4.2. Конструкторские аналоги
Разрабатывается впервые.
5. Технические (тактико-технические) требования
5.1. Состав изделия и требования к его конструкции
Изделие состоит из тонкоплёночных и навесных элементов, нанесённых на печатную плату. Конкретных требований к массе и габаритам устройства не имеется. Изделие помещено в герметичный корпус, во избежание попадания влаги и маслосодержащих веществ.
5.2. Показатели назначения
Значение напряжения питания – от 10.8 до 14В
5.3. Требования к надёжности
Время наработки на отказ изделия – 100000 часов. Срок службы не менее 5 лет
5.4. Требования к уровню унификации и стандартизации
В конструкторском изделии должны быть использованы стандартные, унифицированные, заимствованные сборочные детали
5.5. Требования к безопасности
Необходимо выполнение требований по обеспечению электробезопасности при эксплуатации изделия ГОСТ 12.2.025-76 и выполнять по классу защиты
5.6. Эстетические, эргономические требования
По эстетическим и эргономическим показателям изделие должно отвечать требованиям, предъявляемым к классу электроаппаратуры, устанавливаемой в автомобиль
5.7. Условия эксплуатации (использования)
Устройство должно, хранится в упаковке, в закрытом помещении при температуре воздуха от + 5
до +40
при относительной влажности воздуха 80 % при температуре +25
.
5.8. Дополнительные требования
Специфических и других специальных требований к изделию нет
5.9. Требование к транспортировке и хранению
Так как изделие является составной частью электроаппаратуры автомобиля, то и требования к транспортированию аналогичны требованиям к электроаппаратуре. Транспортировка изделия должна, производится всеми видами транспорта в крытых транспортных средствах ГОСТ 20790-82.
6. Стадии разработки
Эскизное проектирование
7. Комплектность документации, порядок приёмки, сроки
Пояснительная записка, чертежи (топологический чертёж, топологический чертёж – резистивный слой, функциональная ячейка, сборочный чертёж блока, ТСС, Э3).
Срок защиты 26 мая 2006 года.
8. Приложения
8.1. Схема электрическая принципиальная.
8.2. Прототип изделия и его описание
Схема электрическая принципиальная Э3
8.3. Специальная литература, необходимая для разработки.
1. Методические указания по разработке и оформлению конструкторской части дипломного проекта для студентов радиотехнических специальностей./Под ред. Б.Ф.Высоцкого.- М.: /МАИ ,1987.
2. Методические указания по оформлению курсовых и дипломных проектов для радиотехнических специальностей / Авт.-сост.: В.Ф.Борисов, А.А.Мухин, Ю.Н. Корниенко и др.- М.: Изд-во МАИ, 1992.
3. Конструирование РЭС: Учебное пособие по курсовому и дипломному проектированию/ Авт.-сост.: В.Ф.Борисов, А.А.Мухин, А.С.Назаров и др.- М.: Изд-во МАИ, 1991.
4. Чермошенский В.В. Конструирование и технология производства МЭА: Тексты лекций. - М.: Изд-во МАИ, 1988.
5. Конструирование и технологии интегральных схем. Курсовое
проектирование./Под ред. Коледова. М.: Изд-во В.Ш.
6. Конструирование и расчёт БГИС, МСБ и аппаратуры на их основе.
М.: Изд-во Радио и связь.
3. Анализ технического задания.
На основе данных ТЗ делаем вывод, что данное устройство относится к классу бытовой радиоаппаратуры. Этот факт значительно снижает требования в его разработке. Изделие будет помещено в пластиковый корпус, к нему не будет необходимости применять специальные средства защиты от агрессивных сред, так как его установка будет производиться в салоне автомобиля под приборную панель.
Низкие напряжения в цепях устройства не вызывают необходимости в дополнительных мерах электрической защиты. Требования к стандартизации рекомендуют использовать в конструкторском изделии стандартные, унифицированные, заимствованные сборочные детали, унифицированные разъемы и корпус, что позволит повысить ремонтопригодность устройства для массового пользователя.
В соответствии с требованиями к транспортировке и хранению изделия оно является составной частью электроаппаратуры автомобиля, поэтому и требования к транспортировке аналогичны требованиям к электроаппаратуре транспорта, в том числе и в герметизации. Способом запайки корпуса устройства служит пластиковая пленка. Это позволяет смягчить требования к условиям хранения и транспортировки.
Устройство следует изготавливать на МСБ, с целью минимизации занимаемого объема, повышению надежности изделия в целом, посредством исполнения резисторов и конденсаторов в тонкоплёночном (интегральном) варианте, нежели выполнении всех элементов в виде навесного монтажа на печатную плату. В процессе проектирования используем бескорпусную МСБ, так как ФЯ изделия помещается в пластиковый корпус, для последующего повышения ремонтопригодности изделия для массового пользователя.
4. Конструкторский анализ схемы электрической принципиальной.
Схема электрическая принципиальная:

Анализ принципиальной схемы проводится с целью:
- уточнения принципа работы и функций отдельных каскадов и цепей;
- классификации элементов принципиальной схемы на элементы и компоненты микросборки;
- формулировки общих требований к взаимному размещению элементов и компонентов МСБ;
- оценочного расчета по постоянному току электрических режимов элементов и компонентов, выбор компонентов.
4.1. Подразделение элементов принципиальной схемы на элементы и компоненты микросборки.
В соответствии с принятой терминологией к элементам микросборки следует отнести элементы электрической принципиальной схемы, которые могут быть выполнены в интегральном (тонкопленочном) варианте.
К ним относят соединительные проводники, контактные площадки, резисторы R1(33кОм), R3(5,6кОм), R4(1кОм), R5(1кОм), R6(33кОм), R8(5,6кОм), так как их номиналы попадают в пределы от 10...50 Ом до 0,5...1,0 мОм, конденсаторы C2(0,01мкФ), C3(0,01мкФ), так как их номиналы попадают в пределы от 10...50 пФ до 0,01 мкФ.
К навесным компонентам МСБ и печатной платы следует отнести подстроечные резисторы R2(10кОм), R7(10кОм), конденсатор С1(100мкФ), полупроводниковые диоды VD1(КД522А), стабилитроны DA1 и DA2 КР142ЕН19А, а также светодиоды HL1 и HL2 АЛ307АМ.
4.2. Расчёт схемы по постоянному току.
Напряжение питания возьмём равным 14В (U=14В).
Определим ток через резисторы R1, R2, R3 и R6, R7, R8. Для этого:
а также
Тогда ток через вышеперечисленные резисторы будет равен:
при этом
![]()
Аналогичным образом, учитывая, что номиналы резисторов R4, R5 равны следует, что:
![]()
![]()
4.3. Определение рабочего напряжения между обкладками конденсаторов С1, С2, С3.
С1: исходя из напряжения питания
.
С2 и С3: определим как разность потенциалов между их обкладками (соответственно разность напряжений на резисторах R1 и R4, а также R6 и R5)
таким образом
Пусть ![]()
Определение мощности, рассеиваемой на резисторах:
![]()
![]()
![]()
![]()
![]()
![]()
![]()
![]()
5. Разработка конструкции микросборки (МСБ).
Разработка топологии плат микросборок состоит в определении конфигурации и размеров тонкопленочных элементов и их рациональном размещения на подложке.
5.1. Расчёт тонкоплёночных резисторов.
Методика расчёта:
Расчет резисторов начинают с выбора резистивного материала. Для этого определяют оптимальное значение сопротивления квадрата резистивной пленки, минимизирующее площадь резисторов,
, где Ri
- номинальное значение сопротивления i-го резистора. По табличным значениям выбирают материал с сопротивлением квадрата резистивной пленки
»
и тем самым определяют другие параметры материала: удельную мощность рассеивания P0
, температурный коэффициент сопротивления (ТКС) aR
.
Далее находят допустимую относительную погрешность коэффициента формы
gk = gR - gr кв - gRt - gR t - gR к .
Резистивный материал выбран верно, если gk > 0.
По заданной относительной погрешности gR выбирается метод формирования конфигурации резистора: масочный (gR = 10...15%) или фотолитографический (gR = 5...10%).
Находят коэффициент формы резистора k = R/rкв . При масочном методе, если 1 £ k £ 10, резистор выполняется в виде прямоугольной полоски
если k >10, то резистор выполняется в виде составного или меандра,
если k<1, то резистор тоже прямоугольной формы, длина которого меньше ширины. Тонкопленочные резисторы в виде прямоугольной полоски при фотолитографическом методе могут иметь коэффициент формы 1 < k < 50, при коэффициенте формы k < 1 – резистор тоже прямоугольной формы, длина которого меньше ширины, при k >50 – меандр. Далее индивидуально для каждого метода и коэффициента формы проводят расчёт размеров тонкоплёночных резисторов.
Определение оптимального значения сопротивления квадрата резистивной плёнки:

По таблице , приведенной в пособии к курсовой работе, выбираем материал и представляем результат в виде (табл. 1):
Табл. 1
| Резистивный материал |
rкв , Ом/кв |
P0 , Вт/см2 |
aR ×104 , 1/o C |
ТУ на резистивный материал |
Материал контактных площадок и проводников |
| Сплав РС-3710 |
2000 |
2 |
2.0 |
ГОСТ2205-76 |
Au,Cu,Al* |
Находим допустимую относительную погрешность коэффициента формы
.
Для этого зададимся следующими параметрами:
Относительная погрешность сопротивления резистора
;
Относительная погрешность квадрата резистивной плёнки
;
Относительная температурная погрешность
;
Относительная погрешность резистора, обусловленная старением
;
Относительная погрешность контактных переходов резистора
.
![]()
Находим коэффициент формы резисторов:
![]()
![]()
![]()
1) Расчёт резистора R 1 с коэффициентом формы К1=16,5:
Положим, что необходимое перекрытие резистивного и проводящего слоёв, а также припуск на совмещение слоёв МСБ соответственно равны значениям:
Находим расчетную ширину резистора b = max{bmin Т , bmin П , bmin Р }.
Минимальная технологически реализуемая ширина
;
Минимальная ширина резистора, обеспечивающая допустимую относительную погрешность коэффициента формы
м;
Минимально допустимая ширина резистора, обеспечивающая заданную мощность рассеяния
.
Таким образом, расчётная ширина резистора равна
.
Определение длины резистора по известной ширине:
Полная длина резистора: ![]()
Ширина контактной площадки: ![]()
Тогда площадь тонкопленочного резистора равна: ![]()
Проверка результатов:
Определение фактического значения удельной мощности, рассеиваемой резистором. ![]()
Определение фактической относительной погрешности коэффициента формы. ![]()
Определение фактической относительной погрешности резистора.
![]()
Каждое из условий выполняется.
2) Расчёт резистора R 4 с коэффициентом формы К1=0,5:
Положим, что необходимое перекрытие резистивного и проводящего слоёв, а также припуск на совмещение слоёв МСБ соответственно равны значениям:
Находим расчетную длину резистора l = max{lmin Т , lmin П , lmin Р }.
Минимальная технологически реализуемая длина
;
Минимальная длина резистора, обеспечивающая допустимую относительную погрешность коэффициента формы
м;
Минимально допустимая длина резистора, обеспечивающая заданную мощность рассеяния
.
Таким образом, расчётная длина резистора равна
м.
Определение ширины резистора по известной длине:
м;
Полная длина резистора:
м;
Ширина контактной площадки:
м;
Тогда площадь тонкопленочного резистора равна: ![]()
Проверка результатов:
Определение фактического значения удельной мощности, рассеиваемой резистором. ![]()
Определение фактической относительной погрешности коэффициента формы. ![]()
Определение фактической относительной погрешности резистора.
![]()
Каждое из условий выполняется.
Результаты расчётов резисторов оформим в виде таблицы (табл. 2)
Табл. 2
| Позиционное обозначение |
Номинал , допуск , мощность |
Материал |
rкв , Ом/кв |
k |
gRt , % |
gR t , % |
b , мм |
l , мм |
|
n |
| R1 |
33 кОм+10% -2.737 мВт |
Сплав РС-3710 |
2000 |
16,5 |
0.004 |
2.0 |
0.68 |
5.0 |
0.9 |
__ |
| R3 |
5.6 кОм+10% -0.484 мВт |
Сплав РС-3710 |
2000 |
2.8 |
0.004 |
2.0 |
0.76 |
1.4 |
0.9 |
_ |
| R4 |
1 кОм+10% -196мВт |
Сплав РС-3710 |
2000 |
0.5 |
0.004 |
2.0 |
4.82 |
2.61 |
0.9 |
_ |
| R5 |
1 кОм+10% -196мВт |
Сплав РС-3710 |
2000 |
0.5 |
0.004 |
2.0 |
4.82 |
2.61 |
0.9 |
_ |
| R6 |
33 кОм+10% - 2.737 мВт |
Сплав РС-3710 |
2000 |
16.5 |
0.004 |
2.0 |
0.68 |
5.0 |
0.9 |
_ |
| R8 |
5.6 кОм+10% -0.484 мВт |
Сплав РС-3710 |
2000 |
2.8 |
0.004 |
2.0 |
0.76 |
1.4 |
0.9 |
_ |
5.2. Расчёт тонкоплёночных конденсаторов.
Методика расчёта:
Расчет тонкопленочного конденсатора производится в следующем порядке. По значению C0 и Uр из табличных данных выбирают материал диэлектрика.
Находят толщину диэлектрического слоя, обеспечивающую электрическую прочность конденсатора d = (2...4)Uр /E, где E - диэлектрическая прочность диэлектрика (табл. 2.3 «Методические указания к выполнению курсовой работы»). Обычно d = 0,3...0,5 мкм.
Определяют удельную емкость диэлектрика, при которой выполняется требование к электрической прочности конденсатора C0 E = 0,0885e/d, где d выражается в см, C0 E - в пФ/см2 .
Находят составляющие относительной эксплуатационной погрешности емкости gC 0 , gCt , gC t и допустимую относительную погрешность площади верхней обкладки:
gS = gC - gC 0 - gCt - gC t .
Определяют удельную емкость материала диэлектрика, обусловленную требованием точности номинала емкости конденсатора Co П = C(gS / DL)2 [KC / (1 + KC )2 ], где KC = L/B - коэффициент формы конденсатора. Если нет особых требований к форме конденсатора, полагаем KC = 1.
Принимают расчетное значение удельной емкости материала диэлектрика C0 P £ min{C0 E , C0 П }, которое должно отвечать технически реализуемым уровням C0 из табл.2.3 (Методические указания к выполнению курсовой работы).
Расчёт тонкоплёночных конденсаторов С1(0.01мкФ) и С2(0.01мкФ).
Из табл. 2.3 (Методические указания к выполнению курсовой работы) по значению Uр – рабочее напряжение конденсатора выбираем материал диэлектрика.
Выбранный материал - Моноокись германия (Табл. 3).
Табл. 3
| Наименование материала диэлектрика |
C0
×10-3
, пФ/см |
Uр , В |
Е×10-6 , В/cм |
e |
ac ×104 , 1 /o С |
ТУ на материал |
| Моноокись германия |
15 |
5 |
1.0 |
11...12 |
3 |
ЕТО.021.014 ТУ |
Находим толщину диэлектрического слоя, обеспечивающую электрическую прочность конденсатора:
![]()
Определим удельную ёмкость диэлектрика, при которой выполняется требование к электрической прочности конденсатора:
![]()
Находим составляющие относительной эксплуатационной погрешности ёмкости:
Относительная погрешность ёмкости –
;
Относительная погрешность удельной ёмкости диэлектрика –
;
Относительная температурная погрешность ёмкости – ![]()
;
Относительная погрешность старения ёмкости –
;
Тогда допустимая погрешность площади верхней обкладки, равна:
![]()
Так как нет особых требований к форме конденсатора, полагаем KC = 1;
Абсолютные погрешности выполнения размера, характерные метода фотолитографии DB = DL = 0.01;
Определим удельную емкость материала диэлектрика, обусловленную требованием точности номинала емкости конденсатора:
;
Примем расчётное значение удельной ёмкости материала диэлектрика, исходя из
, тогда
;
Найдём фактическое значение толщины диэлектрического слоя:
;
Найдем площадь верхней обкладки конденсатора:
;
Определим размеры верхней обкладки тонкопленочного конденсатора:
Длина –
;
Ширина –
;
Далее положим, что припуски на совмещение слоёв
;
Находим размеры нижней обкладки:
;
;
Находим размеры диэлектрического слоя:
;
;
Проверка расчёта:
Находим фактические значения относительной погрешности площади верхней обкладки:
;
Находим фактическое значение напряженности электрического поля в конденсаторе:
.
Каждое из условий выполняется.
Обкладки конденсатора будут выполняются из алюминия А99 (ГОСТ 11069-64) при толщине 0,5 мкм. Для повышения адгезии пленки к поверхности подложки нижняя обкладка конденсатора напыляется с подслоем из титана или ванадия.
5.3. Выбор навесных компонентов МСБ (подложки) и печатной платы.
Выбор подстроечных бескорпусных резисторов R 2, R 7. (Табл. 4).
Табл. 4
| Тип резистора |
Классификация. Вариант исполнения. Назначение |
Диапазон номинальных сопротивлений, Ом |
Номи-наль-ная мощ-ность, Вт |
Предель-ное напря-жение, В |
Допускае-мые отклонения сопротивления, % |
Диапазон температур, |
Груп-па ТКС, 10-6 , 1/о С |
Габаритный чертеж корпуса |
| СП3-28 |
Керметные композиционные бескорпусные одинарные однооборотные, с круговым перемещением подвижной системы, для печатного монтажа. Предназначены для работы в цепях переменного, постоянного и импульсного токов. ТКС =(250...500) * 10-6 , 1/o C |
10...1* 106 |
1 |
1000 |
10;20 |
-60…+70 |
А |
|
Выбор бескорпусного конденсатора С1, как компонента МСБ (подложки)
(оформим результат в виде табл. 5).
Табл. 5
| Тип конден-сатора |
Классификация. Вариант исполнения. Назначение |
Диапазон номинальных емкостей |
Номиналь-ное напряже-ние, В |
Допус-каемые откло-нения емкости, % |
Диапа-зон температур, о С |
Группа ТКЕ, 10-6 , 1/о С |
Габаритный чертеж корпуса |
| К53-22 |
Оксидно - полупроводниковые танталовые незащищенные Предназначены для работы в составе герметизированных узлов аппаратуры в цепях постоянного и пульсирующего токов. |
1.5...100 мкФ |
3.2 |
20;30 |
-60+155 |
- |
|
Выбор полупроводникового диода VD 1 КД522А (его бескорпусный аналог 2Д125Б-5):

5.4. Выбор типоразмера подложки.
Для выбора типоразмера подложки необходимо найти ее площадь
Sп = qs (SR + SC + SН +SK ), где qs = 1,5...2,5 - коэффициент дезинтеграции площади, SR , SC , SН , SK - соответственно площади, занимаемые тонкопленочными резисторами, тонкопленочными конденсаторами, навесными компонентами и контактными площадками. Площади SR и SC находят в результате расчета тонкопленочных элементов, SН - по справочным данным на выбранные компоненты. При расчете площади контактных площадок необходимо учитывать, что внешние контактные площадки выполняются размером 1 ´ 1 мм и более. Размеры внутренних контактных площадок определяются видом монтажного соединения (пайка, сварка), типом применяемого монтажного инструмента, конструкцией выводов навесного компонента (металлизированная поверхность, гибкие проволочные и ленточные выводы и т. д.). При сварке гибких выводов средние размеры контактных площадок 0,2 ´ 0,3 мм, при пайке 0,3 ´ 0,4 мм.
Расчёт площади, занимаемой тонкоплёночными резисторами:
![]()
Расчёт площади, занимаемой тонкоплёночными конденсаторами:
;
Расчёт площади, занимаемой навесными компонентами МСБ (по справочным данным):
Площадь навесных резисторов R2, R7:
;
Площадь навесного полупроводникового диода
;
Площадь навесного конденсатора С1:
;
Тогда
;
Расчёт площади контактных площадок:
.
Таким образом, площадь подложки равна:
,
где qs – коэффициент дезинтеграции.
Тогда типоразмер подложки, исходя из
выберем:
| N типоразмера |
6 |
| Ширина, мм |
20 |
| Длина, мм |
24 |
6. Разработка конструкции РЭС.
Разработка конструкции РЭС будет произведена по заданным параметрам РЭС, т.е. по определённым параметрам входящих в РЭС конструктивно-технологической единицы (функциональной ячейки).
6.1. Выбор типа конструкции компоновочной схемы блока.
Будем использовать разъёмный тип конструкции.
Конструкция обеспечивает высокую ремонтопригодность: неисправная функциональная ячейка легко вынимается из блока и заменяется на исправную. Конструкция находит применение в автомобильной электроаппаратуре.
В качестве варианта компоновочной схемы блока выберем следущую:

Хотя в полной мере она не обеспечивает необходимые условия для эффективного отвода тепла в случае естественного воздушного охлаждения блока.
На рисунке:
- пакет ФЯ;
- электрические соединители и межъячеечный монтаж;
- элементы лицевой панели и монтаж установочных элементов;
- элементы задней панели, внешние электрические соединители и монтаж;
Полный объём блока Vбл =V1 +V2 +V3 +V4 .
6.2. Выбор системы охлаждения.
При выборе системы охлаждения используются следующие исходные данные: тепловой поток, рассеиваемый поверхностью теплообмена (корпуса) конструкции Р, Вт; площадь поверхности теплообмена (корпуса)
; допустимая рабочая температура наименее теплостойкого элемента
,
; максимальная температура окружающей среды
,
; минимальное давление окружающей среды
, мм рт.ст.
Определение значения теплового потока Р через потребляемую от источников питания мощность ![]()
;
и коэффициент полезного действия изделия
;
;
Площадь поверхности теплообмена
найдем, используя коэффициенты дезинтеграции объема
:
Учтём, что
=2,
а
- суммарный установочный объем элементов
![]()
Тогда ![]()
Найдём поверхностную плотность теплового потока:
![]()
Учитывая, что поправочный коэффициент на давление окружающей среды
,
где
- минимальное давление окружающей среды
H – нормальное давление.
Допустимый перегрев конструкции определим как:
![]()
Значения
и
являются координатами точки, положение которой на представленной диаграмме определяет систему охлаждения конструкции.

На основе положения координаты точки на диаграмме делаем вывод, что способ охлаждения корпуса блока – естественно воздушный.
6.3. Разработка конструкции функциональной ячейки РЭС.
Конструкция функциональной ячейки должна соответствовать выбранному типу конструкции блока. Для нашего устройства используем конструкцию ФЯ блока разъемного типа.
В виду отсутствия значительного уровня механических воздействий на аппаратуру функциональную ячейку реализуем в безрамочном исполнении.
Особенности элементной базы (МСБ, ряд навесных компонентов, разъём) позволяют применить в конструкции ФЯ одностороннее расположение элементов.
Несущим элементом конструкции ФЯ на бескорпусных МСБ является печатная плата.
6.3.1. Расчёт площади печатной платы.
Определим площадь печатной платы, необходимую для одностороннего размещения радиоэлементов:
![]()
Таким образом выбранный типоразмер печатной платы 40 x 60 (табличные данные), исходя из условия
, где
,
- линейные размеры платы.
6.4. Выбор навесных компонентов печатной платы.
Помимо МСБ, на печатную плату устанавливаются 2 регулируемых стабилитрона, 2 светодиода, разъём (вилка).
1) Выбор светодиодов HL1, HL2 (АЛ307АМ):
Габаритный чертёж корпуса светодиодов HL 1 и HL 2 изображён на рисунке:

Цвет свечения красный.
2) Выбор регулируемых стабилитронов DA1, DA2 (КР142ЕН19А):
В качестве габаритного чертежа корпуса регулируемого стабилитрона КР142ЕН19А, в виду недостатка информации, выберем корпус кубической формы с размерами 15 x 15 x 15мм, имеющий следующую функциональную схему (рис.1) и цоколёвку выводов (рис. 2):

Рис.1. Функциональная схема КР142ЕН19А

Рис.2. а) Условное обозначение, б) Цоколевка выводов
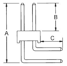
3) Выбор разъёма на плату:
Для обеспечения подачи питания с цепь выберем однорядные разъёмы серии PLS - R , с изогнутыми выводами под углом 90 градусов.
ТЕХНИЧЕСКИЕ ХАРАКТЕРИСТИКИ:
Материал контактов: фосф. бронза, золото поверх никеля
Материал изолятора: полистирол усиленный стекловолокном
Предельный ток: 1А
Предельное напряжение: 500 В в течении 1 мин
Сопротивление изолятора: не менее 1000 МОм
Сопротивление контактов: не более 0.2 Ом
Допустимые температуры: -40°С - +105°С
Габаритные размеры:
| ТИП |
ШАГ, ММ |
рАЗМЕРЫ, ММ |
||
| A |
B |
C |
||
| PLD-R, тип1, двухрядные |
2.54 |
9.50 |
3.00 |
6.00 |

6.5. Выбор корпуса.
Версия корпуса
- закрытый
Конструкция
Корпус состоит из основания (с пазом) и крышки (со шпунтом), соединённых саморезами с нижней стороны корпуса. В основании и крышке имеются монтажные колонки.
Крепление плат и компонентов
- в основании и крышке монтажных колонок не имеется (для крепления плат используются выносные колонки – «бобышки»)
Степень защиты
IP 65 (закрытые версии)
Производитель: OKW
Размеры: 64 х 44 х 23
Материал: АБС

7. Оценочные расчеты показателей качества конструкции.
7.1. Оценочные расчеты тепловых режимов конструкций РЭС.
Схематическое изображение конструкции представлено в виде:

где 1 – корпус; 2 – блок функциональных ячеек (нагретая зона);
3 – установочные элементы.
Тепловая модель для нашего конкретного случая имеет вид:

где P - тепловой поток, рассеиваемый конструкцией;
- конвективно-кондуктивная тепловая проводимость между нагретой зоной и внутренней стенкой корпуса;
- тепловая проводимость теплопередачи от нагретой зоны к внутренней стенке корпуса излучением;
- тепловая проводимость установочных элементов;
- тепловая проводимость стенок кожуха;
- тепловая проводимость от наружной поверхности корпуса к среде для конвективной теплопередачи,
- коэффициент теплопередачи;
- тепловая проводимость от наружной стенки корпуса к среде для теплопередачи излучением;
,
и
- температуры поверхности нагретой зоны и корпуса;
– температура внутренней окружающей среды.
Для определения
- коэффициента конвективной теплопередачи и
- коэффициент теплопередачи излучением воспользуемся номограммами.
А для этого зададим значение температурного перегрева
, температуру окружающей среды
.
Определим температуру корпуса в первом приближении:
;
Определим среднюю температуру между корпусом и средой в первом приближении:
;
Найдем определяющий размер нагретой конструкции: ![]()

Таким образом ![]()
;
при
.
Пересчёт при
,
.
Рассчитаем площади наружной и внутренней поверхности корпуса:
![]()
![]()
Определим тепловую проводимость от наружной поверхности корпуса к среде для конвективной теплопередачи:
![]()
где
- площади наружной поверхности корпуса.
Определим тепловую проводимость от наружной стенки корпуса к среде для теплопередачи излучением:
![]()
где
- площади наружной поверхности корпуса.
Найдем тепловую проводимость стенок кожуха:
![]()
где
- коэффициент теплопроводности материала корпуса (АБС),
- толщина стенки,
,
- площади внутренней и наружной поверхностей корпуса.
Определим тепловая проводимость установочных элементов:
где n - число элементов, l - коэффициент теплопроводности материала, l
- длина установочных элементов по направлению теплового потока,
- площадь средней изотермической поверхности, перпендикулярной направлению теплового потока.
Определим тепловая проводимость теплопередачи от нагретой зоны к внутренней стенке корпуса излучением:
![]()
где
- коэффициент теплопередачи излучением;
-площадь поверхности нагретой зоны.
Найдём конвективно-кондуктивная тепловую проводимость между нагретой зоной и внутренней стенкой корпуса:
![]()
где k - поправочный коэффициент на конвективный теплообмен в условиях ограниченного пространства,
- коэффициент теплопроводности воздуха для среднего значения температуры воздуха в прослойке,
- среднее расстояние между нагретой зоной и кожухом,
-площадь поверхности нагретой зоны,
- площадь внутренней поверхности корпуса.
Найдем температуру наружной стенки корпуса:
;
Найдем температуру внутренней стенки корпуса:
;
Найдем температуру нагретой зоны:
.
На основе полученных данных принимаем решение о естественном воздушном охлаждении устройства, что подтверждает оценочный расчёт системы охлаждения конструкции.
7.2. Оценка вибропрочности планарных конструкций.
Конструкция считается вибропрочной, если в ней отсутствуют механические резонансы, а допустимая виброперегрузка на резонансной частоте превышает перегрузку, указанную в техническом задании на изделие.
Отсутствие в конструкциях механических резонансов характеризуется следующим соотношением частоты свободных колебаний
любого элемента конструкции и верхней частоты
диапазона внешних вибрационных воздействий:
.
Для оценки вибропрочности конструкции произведем расчёт частоты свободных колебаний
и допустимой величины виброперегрузки.
Выберем функциональную ячейку на печатной плате, закрепляемую в четырех точках по углам (рис. а ), представленную расчетной моделью пластины, равномерно нагруженной радиоэлементами, со свободным опиранием всех сторон (рис. б ).
|
|
Определим частоту свободных колебаний основного тона прямоугольной пластины
по формуле:
, где
частотная постоянная
;
толщина пластины
;
большая сторона пластины
;
,
- модуль упругости материала пластины и стали;
,
- плотность материала пластины и стали;
поправочный коэффициент на материал пластины
;
масса пластины
;
выберем массу элементов
из расчёта, что
;
поправочный коэффициент на нагружение пластины равномерно размещенными на ней элементами
.
Определим допустимую величину вибрационной перегрузки
.
7.3. Расчет надежности невосстанавливаемых РЭС
по внезапным отказам.
Расчет надежности заключается в определении показателей надежности изделия по известным характеристикам надежности элементов и условиям эксплуатации.
Основными количественными характеристиками надежности являются вероятность безотказной работы РЭС
и среднее время наработки на отказ
, где t - время непрерывной работы изделия,
- эксплуатационное значение интенсивности отказов РЭС.
Рассчитаем для последовательной логической схемы надежности эксплуатационное значение интенсивности отказов РЭС.
![]()
,
для этого надо знать
- эксплуатационное значение интенсивности отказов i-го элемента, учитывающее внешние воздействия, влияние тепловых и электрических нагрузок элементов.
Определим, пользуясь справочными данными для каждого элемента:
- интенсивность отказов элемента в номинальном режиме работы;
- поправочный коэффициент на температуру и электрическую нагрузку элемента;
- коэффициент, учитывающий влияние механических воздействий;
- поправочный коэффициент на воздействие климатических факторов (температура, влажность);
- коэффициент, отражающий условия работы при пониженном атмосферном давлении.
Плёночный резистор:
,
;
Диод, стабилитроны, светодиоды:
,
;
Конденсатор плёночный:
,
;
Резисторы навесные:
,
;
Пайка печатного монтажа:
,
;
Пайка навесного монтажа:
,
;
Конденсатор навесной:
,
;
Значения показателя
выбираем, исходя из коэффициента нагрузки
, данные о котором получены из П 10.2 (учебное пособие для курсового проектирования «Основы конструирования и технологии РЭС» стр. 118)
Определим значения k1, k2, k3 (исходя из наихудшего варианта):
k1=1.35 (условия эксплуатации автомобильные, при вибрации);
k2=2.5 (влажность 90-98%, температура 30-40
);
k3=1.0 (высота от 0 до 1 км).
Тогда
;
;
;
;
;
;
.
Таким образом, эксплуатационное значение интенсивности отказов РЭС, равно:
.
Определим среднее время наработки на отказ:
(что удовлетворяет требованиям, указанным в техническом задании 100000ч).
Вероятность безотказной работы проиллюстрируем в виде графика в зависимости от времени наработки (в часах).
![]()

8. Разработка технологии изготовления РЭС.
8.1. Оценка технологичности изделия.
Радиоэлектронное средство технологично, если при производстве и эксплуатации (ремонте) его потребительские качества обеспечиваются при оптимальном (рациональном) расходовании привлекаемых ресурсов (материальных, трудовых. финансовых и т.д.).
Рассмотрим методику оценки показателей качества, принятую при дипломном проектировании РЭС в МАИ.
8.1.1. Расчёт конструкторских показателей технологичности
1. Коэффициент повторяемости компонентов и МСБ.
, где
N - общее количество дискретных компонентов, ИМС широкого применения и МСБ;
nтр - число типоразмеров компонентов, ИМС и МСБ.
2. Коэффициент повторяемости материалов
, где
nм - количество марок материалов , применяемых для изготовления составных частей (деталей) конструкции;
nдет - количество нестандартных (оригинальных) деталей, изготовленных из этих материалов.
3. Коэффициент стандартизации конструкции
, где
- количество нестандартных (оригинальных) электрорадиокомпонентов, включая МСБ.
4. Коэффициент использования площади коммутационной платы
, где
Sп - площадь коммутационной платы (печатной);
Sзан - суммарная площадь платы, занятая печатным монтажом, а также навесными компонентами, размещенными на свободных от печатного или пленочного монтажа участках платы.
8.1.2. Расчет производственных показателей технологичности
1. Коэффициент ограничения числа видов сборочно-монтажных соединений
, где
nпар.с - число пар механически и (или) электрически соединяемых любым способом элементов, деталей и составных частей изделия;
nвид - число конкретных технологических способов, используемых для образования механических и (или) электрических соединений в паре соединяемых элементов, деталей, частей.
2. Коэффициент использования групповых методов
, где
nтп - общее количество операций и (или) групп операций, предусмотренных в структуре ТП;
nгр - количество операций и (или) групп операций из nтп , основанных на групповых методах (обработки, монтажа, сборки, регулировки и т.д.).
3. Коэффициент автоматизации и механизации установки и монтажа изделия
, где
nмон - общее количество электрических и (или) механических монтажных и силовых (закрепляющих) соединений;
nа.м - число соединений из nмон , выполняемых автоматизированным и механизированным способом.
4. Коэффициент применения типовых ТП
, где
nттп - число операций и (или) групп операций из nтп , выполняемых по типовым технологиям, установленным в ОСТ, стандарте предприятия или ином нормативно - технологическом документе отрасли или группы кооперирующихся предприятий.
8.1.3. Комплексная оценка технологичности.
Оценка частных показателей технологичности в баллах
производится по формуле:
, где
- нормативный уровень показателя, действующий на данный момент в отрасли (на предприятии);
- эквивалент "одного балла", отражающий значимость данного показателя технологичности;
- расчетное значение частных показателей технологичности.
| Частные показатели технологичности |
Нормативное значение Кн i |
Эквивалент одного балла DКi |
Расчетный показатель Кpi |
Расчетный показатель в баллах Бi |
| Конструкторские показатели |
||||
| Коэффициент повторяемости компонентов и МСБ |
0.95 |
0.2 |
0.167 |
0.915 |
| Коэффициент повторяемости материалов |
0.7 |
0.25 |
0.231 |
1.32 |
| Коэффициент стандартизации |
0.85 |
0.25 |
0.263 |
1.238 |
| Коэффициент использования площади коммутационных плат |
0.6 |
0.1 |
0.5 |
3 |
| Производственные показатели |
||||
| Коэффициент ограничения числа видов сборочно-монтажных соединений |
0.9 |
0.1 |
0.706 |
2.06 |
| Коэффициент использования групповых методов |
0.4 |
0.25 |
0.182 |
3.128 |
| Коэффициент автоматизации и механизации |
0.87 |
0.3 |
0.529 |
2.863 |
| Коэффициент применения типовых ТП |
0.6 |
0.15 |
0.273 |
3.033 |
Определим комплексную оценку технологичности по среднебальному показателю:

Вывод по расчёту оценки технологичности изделия:
так как среднебальный показатель
, то уровень технологичности низок, поэтому следует указать пути улучшения показателей технологичности, которые приблизили бы показатель к желаемому значению в 4 балла.
Необходимо улучшение качества сборки (максимизация автоматизации и механизации установки и монтажа изделия); уменьшение числа сборочно-монтажных соединений, а именно мест пайки, клейки, сварки; использование иных методов обработки, монтажа, регулировки изделия и его компонентов сборки.
9. Заключение.
В ходе курсового проекта была разработана конструкция радиоэлектронного устройства, с оформленной на него конструкторской документацией. На основе ТЗ был выбран вариант исполнения устройства в виде пластикового корпуса. После анализа принципиальной электрической схемы, было принято решение о реализации его изготовления на основе МСБ. Была разработана топология МСБ, топология резистивного слоя, а также конструкция функциональной ячейки и блока в целом. По результатам оценочного расчета теплового режима было выбрано естественное охлаждение конструкции устройства. Были проделаны оценочные расчеты функциональных параметров конструкции РЭС: тепловых режимов, вибропрочности планарных конструкций, надежности невосстанавливаемых РЭС по внезапным отказам, а также была произведена оценка технологичности конструкции изделия, которая показала, что устройство имеет недостаточно высокий уровень технологичности.
Таким образом, конструкция радиоэлектронного устройства, представленная на разработку полностью отвечает требованиям, изложенным в техническом задании.
10. Библиография.
1. Методические указания по разработке и оформлению конструкторской части дипломного проекта для студентов радиотехнических специальностей./Под ред. Б.Ф.Высоцкого.- М.: /МАИ ,1987.
2. Методические указания по оформлению курсовых и дипломных проектов для радиотехнических специальностей / Авт.-сост.: В.Ф.Борисов, А.А.Мухин, Ю.Н. Корниенко и др.- М.: Изд-во МАИ, 1992.
3. Конструирование РЭС: Учебное пособие по курсовому и дипломному проектированию/ Авт.-сост.: В.Ф.Борисов, А.А.Мухин, А.С.Назаров и др.- М.: Изд-во МАИ, 1991.
4. Чермошенский В.В. Конструирование и технология производства МЭА: Тексты лекций. - М.: Изд-во МАИ, 1988.
5. Конструирование и технологии интегральных схем. Курсовое
проектирование./Под ред. Коледова. М.: Изд-во В.Ш.
6. Конструирование и расчёт БГИС, МСБ и аппаратуры на их основе.
М.: Изд-во Радио и связь.


