| Скачать .docx |
Реферат: Способы подавления гармоник тока в системах электропитания
Способы подавления гармоник тока в системах электропитания
Гармоники тока, создаваемые нелинейными нагрузками, могут представлять собой серьезные проблемы для систем электропитания. Гармонические составляющие представляют собой токи с частотами, кратными основной частоте источника питания. Высшие гармоники тока, накладываемые на основную гармонику, приводят к искажению формы тока. В свою очередь искажения тока влияют на форму напряжения в системе электропитания, вызывая недопустимые воздействия на нагрузки системы.
Наиболее распространенным оборудованием, генерирующим высшие гармоники тока в сеть, являются:
· статические преобразователи (выпрямители, системы бесперебойного питания, тиристорные регуляторы, импульсные источники питания и т.д.);
· газоразрядные осветительные устройства и электронные балласты;
· электродуговые печи постоянного и переменного тока;
· сварочные аппараты;
· устройства с насыщающимися электромагнитными элементами;
· электродвигатели переменного тока с регулируемой скоростью вращения;
· специальные медицинские приборы и т.д.
Указанные устройства являются генераторами высших гармоник тока в системе электропитания. В зависимости от места своего подключения и процентного соотношения с линейными нагрузками в этой системе они тем или иным образом будут оказывать влияние на другие нагрузки. Увеличение общего действующего значения тока при наличие высших гармонических в системе приводит к перегреву всего оборудования распределенной сети электропитания, снижению коэффициента мощности, снижению электрического и механического КПД нагрузок, ухудшению характеристик защитных автоматов и завышению требуемой мощности автономных электроэнергетических установок.
Рассмотрим основные способы подавления высших гармоник тока путем применения:
· линейных дросселей,
· пассивных фильтров,
· разделительных трансформаторов,
· магнитных синтезаторов,
· активных кондиционеров гармоник.
1. Включение линейных дросселей.
Простейшим способом снижения уровня генерируемых нелинейными нагрузками высших гармоник тока во внешнюю сеть является последовательное включение линейных дросселей (рис. 1). Такой дроссель имеет малое значение индуктивного сопротивления на основной частоте 50 Гц и значительные величины сопротивлений для высших гармоник, что приводит к их ослаблению. При этом снижается коэффициент амплитуды (крест-фактор) Ka и коэффициент искажения Kи входного тока.

Рис 1. Кривые токов нелинейных нагрузок:
а) без дросселя, б) при последовательном включении дросселя.
В таблице № 1 приведены значения коэффициента искажения тока на входе трехфазного мостового выпрямителя при различных значениях относительного индуктивного сопротивления дросселя на основной частоте (Хдр ) [ 2 ].
Taблица 1.
| Хдр , о.е. | 1 | 2 | 3 | 4 | 5 | 8 |
| Ки , % | 75 | 52 | 45 | 40 | 35 | 28 |
2. Применение пассивных фильтров.
Применение последовательно включенных линейных дросселей в ряде случаев не позволяет уменьшить гармонические искажения тока до желаемых пределов. В этом случае целесообразно применение пассивных LC-фильтров, настроенных на определенный порядок гармоник. Для улучшения гармонического состава потребляемого тока такие фильтры нашли широкое применение в системах с источниками бесперебойного питания (UPS). Подключение фильтра на входе шестиполупериодного выпрямителя при 100% нагрузке UPS обеспечивает снижение коэффициента искажения тока до величины 8-10% . Значения этого коэффициента в системе без фильтра может достигать 30% и более. На рис. 2г приведена реализация трехфазного LC-фильтра, применяемого как опциональное устройство в 3-х фазных UPS.
Различают следующие разновидности пассивных фильтров [ 4 ]:
· нескомпенсированный LC-фильтр;
· скомпенсированный LC-фильтр;
· нескомпенсированный LC-фильтр с коммутатором.


Рис 2. Пассивные фильтры:
| a) | некомпенсированный LC-фильтр; |
| б) | компенсированный LC-фильтр; |
| в) | некомпенсированный LC-фильтр с коммутатором; |
| г) | трехфазный вариант LC фильтра. |
Нескомпенсированный фильтр содержит продольную индуктивность Др1 и поперечную цепь, состоящую из последовательно включенных индуктивности Др2 и емкости С, настроенных на определенную гармонику (рис. 2а). Если фильтр настроен на 5-ую гармонику, то сопротивление поперечной цепи близко к нулю и ток, потребляемый от источника, не будет содержать эту гармонику. Недостатком такого фильтра является следующее. При использовании в качестве первичного источника питания дизель-генераторную установку (ДГУ) с ограниченной установочной мощностью, последний может обеспечить относительно низкое значение емкостной составляющей тока нагрузки (10-30%).
При включении UPS на ДГУ, когда осуществляется "мягкий" старт выпрямителя, активная мощность, потребляемая нагрузкой, равна нулю и генератор ДГУ оказывается нагруженным только на емкостное сопротивление фильтра. Значительная емкостная составляющая потребляемого от генератора тока может привести к нарушению нормальной работы генераторной системы и отключению ДГУ. Следовательно, возможность использования нескомпенсированных LC-фильтров должна быть проанализирована с точки зрения согласования характеристик генератора и параметров фильтра.
Скомпенсированный фильтр содержит дополнительную поперечную индуктивность Др3, способствующую тому, что фильтр по отношению к генератору имеет индуктивный характер (рис. 2б). Это снижает емкостную составляющую потребляемого тока и облегчает работу генератора в пусковом и установившемся режимах. Однако наличие Др3 приводит к снижению коэффициента мощности системы в целом.
Нескомпенсированный фильтр с коммутатором удобен при использовании ДГУ ограниченной мощности, соизмеримой с мощностью UPS. Поперечная цепь фильтра подключается автоматически только после выхода UPS на номинальный режим (рис. 2в).
Таким образом, не требуется применение ДГУ завышенной мощности и не снижается коэффициент мощности системы.
3. Применение специальных разделительных трансформаторов.
Разделительный трансформатор с обмотками "треугольник-звезда" позволяет эффективно бороться с гармониками, кратными третьей, при сбалансированной нагрузке. Для ослабления влияния несимметрии нагрузки и уменьшения тока нейтрали применяют зигзагообразную систему обмоток, где вторичная обмотка каждой фазы разбита на две части и размещена на разных стержнях магнитопровода трансформатора.
4. Применение магнитных синтезаторов.
Магнитный синтезатор обеспечивает защиту нагрузки от различных искажений электропитания, в частности, от провалов и выбросов напряжения, импульсных и высокочастотных помех, наличия высших гармоник, вызывающих искажения синусоидальной формы входного напряжения. Выходное напряжение магнитного синтезатора на каждом полупериоде основной частоты генерируется путем объединения шести прямоугольных импульсов от связанных между собой трансформаторов с насыщением, аналогично инверторам со ступенчатым (пошаговым) принципом управления. Однако магнитный синтезатор не содержит каких-либо силовых полупроводниковых элементов, выполняя функцию стабилизатора напряжения.

Рис. 3. Блок-схема магнитного синтезатора.
Блок-схема магнитного синтезатора представлена на рис. 3. Линейные дроссели преобразуют входной источник напряжения в источник тока. В этом случае ток блока трансформаторов не зависит от меняющихся в широких пределах (± 40%) значений входного напряжения. Такой способ передачи энергии практически полностью исключает помехи и возможные колебания входного напряжения. Через блок гальванической развязки энергия передается в блок импульсных трансформаторов и блок конденсаторов. Шесть соединенных друг с другом импульсных трансформаторов с насыщением создают форму синтезированного напряжения. Каждый трансформатор генерирует на полупериоде один из шести импульсов с определенной вольт-секундной площадью (рис. 4), обеспечиваемой специальной конструкцией трансформаторов и блоком конденсаторов. Непрерывный обмен энергией, накопленной в блоке импульсных трансформаторов и в блоке конденсаторов, обеспечивает глубокое насыщение сердечников трансформаторов и точную регулировку формируемых импульсов по амплитуде и длительности.

Рис. 4. Процесс формирования выходного напряжения магнитного синтезатора.
Рассмотрим принцип работы магнитного синтезатора. В любой момент времени пять из шести сердечников блока трансформаторов находятся в режиме насыщения и представляют собой короткозамкнутые контуры. Когда сердечник шестого трансформатора насыщается, напряжение на этом трансформаторе падает практически до нуля, при этом изменяется полярность напряжения на очередном трансформаторе на обратную, вызывая переход его сердечника в ненасыщенное состояние и формирование первого импульса в синтезируемом напряжении следующего полупериода. Такое последовательное переключение импульсных трансформаторов производит серию определенных импульсов напряжения, используемых как блоки для формирования синтезированного напряжения (рис. 4). Это напряжение поступает на нагрузку через фильтры, настроенные на вторую и третью гармоники, что обеспечивает коэффициент искажения выходного напряжения не выше 4% независимо от степени искажения напряжения на входе магнитного синтезатора. Трехфазное выходное напряжение подается к нагрузке через Zig-Zag трансформатор, формирующий нейтраль выходной цепи и обеспечивающий снижение влияния асимметрии нагрузки на работу синтезатора. Даже полностью несогласованная но фазам нагрузка (100% асимметрия) не приводит к изменениям выходного напряжения более чем + 5%, ( 2%. При этом выходная цепь, включая нейтраль, полностью изолирована от входной цепи электропитания.
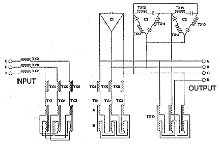
Вариант реализации принципиальной схемы магнитного синтезатора приведен на рис. 5.

Рис. 5. Вариант реализации схемы магнитного синтезатора.
.
Некоторые технические характеристики магнитных синтезаторов модели Datawave приведены в таблице № 3.
Taблица 3.
| Диапазон мощностей (кВА) | 15 - 200 |
| КПД (%) | 93 при нагрузке100%, 89 при нагрузке 50% |
| Входной коэффициент мощности | 0,95 при нагрузке 25-100% |
| Перегрузочные способности | 150% в течение 20 мин. |
| Ток короткого замыкания | 250% от Iном . |
| Пределы изменения входного напряжения | ±40% |
| Точность стабилизации выходного напряжения | не более ±5% при нагрузке 0-100% |
| Коэффициент искажения выходного напряжения | не более 4% |
| Коэффициент искажения входного тока | не более 8% |
5. Применение активного кондиционера гармоник
Активный кондиционер гармоник (Active Harmonic Conditioner - AHC) [ 8, 9, 10 ] в отличие от магнитного синтезатора подключается не последовательно с нелинейной нагрузкой, а параллельно ей (рис.7).

Рис. 7. Схема включения активного кондиционера гармоник (АКГ).
Принцип действия активного кондиционера гармоник (АКГ) основан на анализе гармоник тока нелинейной нагрузки и генерировании в распределительную сеть таких же гармоник тока, но с противоположной фазой. Как результат этого, высшие гармонические составляющие тока нейтрализуются в точке подключения АКГ. Это означает, что они не распространяются от нелинейной нагрузки в сеть и не искажают напряжения первичного источника энергии.
Ток нелинейной нагрузки содержит основную ( i1 ) и высшие ( in ) гармоники:
| (6) |
Ток АКГ содержит противофазные току нагрузки высшие гармоники:
| (7) |
В результате ток, потребляемый от источника, практически синусоидален, так как содержит только основную (первую) гармонику:
| (8) |
Таким образом, источник обеспечивает только основную гармонику тока нагрузки, а АКГ покрывает практически весь спектр высших гармоник от 2-ой до 25-ой. АКГ может быть установлен в любой точке распределительной сети и способен компенсировать высшие гармоники от одной или нескольких нелинейных нагрузок.
Некоторые модели АКГ могут обеспечить компенсацию действующих значений высших гармоник от 20 до 120 А.
Связь между действующими значениями токов нагрузки и источника устанавливается следующим выражением:
![]() |
(9) |
В первом приближении можно считать, что действующие значение тока АКГ, необходимое для компенсации высших гармоник, генерируемых нелинейной нагрузкой в распределительную систему определяется следующим соотношением:
| (10) |
Повышенное значение тока, получаемое из выражения (10), объясняется тем, что АКГ обеспечивает компенсацию гармоник не выше 25-ой и может быть настроен на компенсацию гармоник ниже указанного порядка, тогда как в составе тока нагрузки могут присутствовать гармоники более высокого порядка.
Блок-схема АКГ "SineWave" приведена на рис. 9. В состав АКГ входят следующие узлы: IGBT-преобразователь, устройство управления и контроля, блок защиты и мягкого пуска и токовые датчики. Преобразователь АКГ содержит трехфазный инвертор на IGBT транзисторах, коммутируемых с тактовой частотой 16 КГц, два конденсатора С1, С2 и линейные дроссели в каждой фазе (Др1). Устройство управления и контроля состоит из блока анализа гармоник тока, блока установки номеров компенсируемых гармоник, блока управления преобразователем и мониторинга.

Рис. 9. Блок-схема АКГ "SineWave" (условно изображена силовая цепь одной фазы).
На анализатор гармоник поступают сигналы с быстродействующих датчиков тока нагрузки (ДТ1) и тока АКГ (ДТ2). Блок защиты и мягкого пуска содержит быстродействующие предохранители и с помощью контактора и балластного сопротивления обеспечивает плавный заряд конденсаторов С1, С2 в период включения АКГ.
Различают следующие способы компенсации гармоник с использованием АКГ:
· локальный (индивидуальный);
· глобальный (общий);
· многоуровневый (распределенный);
· каскадный (последовательное включение);
· мультикомпенсационный.
При локальном способе обеспечивается защита критичных нагрузок, подключенных в распределительную сеть, от повышенного уровня гармоник, генерируемых одной из нелинейных нагрузок. В этом случае АКГ подключается как можно ближе к наиболее мощной нелинейной нагрузке (рис. 10 а).
Для увеличения номинального значения тока компенсации и (или) повышения надежности системы возможно параллельное включение АКГ на одну нелинейную нагрузку (рис.10 б). SineWave допускает работу в параллель до 4-х модулей. При этом, если один из модулей выходит из строя или отключается, то остальные остаются в работе.
При глобальном способе обеспечивается компенсация гармоник, генерируемых нелинейными нагрузками, которые подключены к силовому фидеру электропитания и расположены в других зданиях, цехах или зонах технологического процесса. В этом случае АКГ должно подключаться к главному распределительному щиту (рис. 10 в).
В случае группы нелинейных нагрузок целесообразен мультикомпенсационный способ, при котором один модуль АКГ способен компенсировать гармоники от трех нелинейных нагрузок (рис. 10г).
Каскадный способ включения АКГ позволяет избежать взаимовлияние различных кондиционеров в системе (рис. 10 д). Первый кондиционер (АКГ1) обеспечивает защиту от гармоник мощной нелинейной нагрузки, а второй кондиционер малой мощности (АКГ2) осуществляет компенсацию гармоник от других маломощных нелинейных нагрузок. Каскадное включение увеличивает степень компенсации гармоник тока при изменении нагрузки при использовании АКГ с меньшими номинальными значениями тока компенсации.
Многоуровневый способ предусматривает подключение АКГ на нескольких уровнях распределительной сети (рис. 10 е), что может быть сведено к каскадному способу включения АКГ.
![]() |
![]() |
| а) Локальное включение АКГ. | б) Параллельное включение АКГ. |
![]() |
![]() |
| в) Глобальное включение АКГ. | г) Мультикомпенсационное включение АКГ. |
![]() |
![]() |
| д) Каскадное включение АКГ. | е) Многоуровневое включение АКГ. |
Рис. 10. Способы компенсации гармоник.
Заключение
Следует отметить, что для точного решения задачи по кондиционированию гармоник требуется:
· знание условий эксплуатации и технические характеристики источников энергии, распределительной системы и автоматов защиты;
· точного знания характеристик нагрузок (гармонического состава токов, потребляемой мощности, места их подключения в системе электропитания);
· использование специальных измерительных приборов для экспериментального определения гармонического состава тока в различных участках распределительной системы электропитания;
· проведение анализа и моделирования изучаемой системы электропитания.
Комплекс этих мероприятий необходим для правильного проектирования системы электропитания и выбора требуемой спецификации оборудования, способной обеспечить электромагнитную совместимость (ЭМС), соответствующую современным международным стандартам.






