| Скачать .docx |
Реферат: Передающая система РЛС Канал подсвета передатчик подсвета
Передающая система РЛС. Канал подсвета (передатчик подсвета)
Передатчик "П" предназначен для подсвета цели и ракеты в непрерывном режиме, в режиме передачи команд радиокоррекции (ЛРК) и в режиме квазинепрерывного излучения (КНИ).
СОСТАВ.
1. Р-2КНМ1 (Р-20К-2) оконечный усилитель мощности (с прибором питания).
2. Р-20К-1 - блок питания 10кВ.
3. Устройство ВЧ - 2 шт.
4. Р-18ГМ - 2 шт. (блоки питания).
5. Р-12ГПА - 2 шт. (блоки питания).
6. Фильтр.
ОБЩИЕ ЭЛЕМЕНТЫ.
1. Р-2ПК - пульт управления.
2. Р-2УО - устройство охлаждения.
3. Р-2РЩП - распределительный щит питания.
ОСНОВНЫЕ ТЕХНИЧЕСКИЕ ХАРАКТЕРИСТИКИ.
1. Мощность передатчика подсвета (кВт) - 1,9
2. Количество литерных частот - 32
3. Время готовности с момента включения (мин) - 3
Передатчик "П" построен на усилительно - умножительной цепочке и обеспечивает работу канала "П" на любой из 32 литерных частот.
В качестве задающих генераторов для такой цепочки использованы кварцевые генераторы. При этом доведение частоты до номинальной f (п) обеспечивается умножительной цепочкой на полупроводниковых приборах, коаксиальных линиях и варакторном диоде. Для обеспечения номинальной выходной мощности передатчика "П" и широкой полосы рабочих частот в оконечном каскаде использован мощный широкополосный усилительный клистрон.
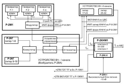
Передатчик "П" (Рис.1) имеет два идентичных каналов, каждый из которых обеспечивает работу на любом из 16 литеров и отличается друг от друга по частоте задающих генераторов Р-2КГ (Р-2КГМ1). Переключение литеров производится по командам" +27В ЛИТЕР 1-8" и "+27В БАРАБ.1-4" с блока Р-19КМ1. Переход с канала на канал осуществляется в ручную в приборе Р-20К-II блока Р-2КНМ1 переключением питания выходного усилителя мощности.

Рис. 1 Структурно-функциональная схема передатчика ПОДСВЕТА
РЕЖИМЫ РАБОТЫ:
непрерывный;
передачи команд радиокоррекции (режим ЛРК);
квазинепрерывного излучения (КНИ-К).
В непрерывном режиме колебания высокой частоты формируются на любом из 16 литеров задающим генератором (Р-2ГК), соответствующего канала. Каждый ЗГ обеспечивает работу передатчика подсвета на одном из 8 литеров. Совместно с умножителем частоты и устройством управления объединенные в возбудитель (Р-2ВА), осуществляется увеличение частоты сигнала до f (п). Этот сигнал проходит предварительное усиление в устройстве ВЧ и подается на выходной усилитель мощности.
Режим КНИ-К - предназначен для защиты РГС ракеты от маскирующих помех внешнего прикрытия по скорости типа "Смальта". В режиме КНИ передатчик "П" работает также, как и в непрерывном режиме, за исключением - выходной умножитель частоты на варакторном диоде осуществляет импульсную модуляцию сигнала, при чем длительность и период повторения задается из ЦВС через систему синхронизации блока Р-8-3М1. Синхронизатор также обеспечивает формирование формы огибающей колоколообразного вида. Включение этого режима осуществляется, при включенном тумблере СпТ на блоке Р-52КА, по команде +27В ВКЛ. КНИ-К из ЦВС, при пролете ракетой 0,6 упрежденной дальности.
Режим ЛРК, при включенном тумблере СпТ на блоке Р-53КА, после старта ракеты, в течение до 20 секунд обеспечивает по командам ЦВС выдачу на борт ракеты по каналу "П" команд коррекции траектории полета ракеты. Команды управления оцениваются и преобразуются на рули ракеты бортовым вычислителем ракеты. Бортовой вычислитель решает также задачу расчета взаимного сближения цели и ракеты. В составе алгоритмов ЦВС имеется модель ракеты, которая в своем составе содержит модель бортового вычислителя. С момента старта ракеты ЦВС начинает решать задачу наведения в соответствии с параметрами полета цели в момент пуска ракеты. Коррекция сигналов на рули в режиме ЛРК обеспечивает достаточно высокую точность наведения.
В данном режиме для управления каналами "П" используется модуля тор, на который из ЦВС по 3 каналам подаются сигналы t (k),t (1) и t (0) с соответствующей временной расстановкой. Каждый из сигналов обеспечивает во время своего действия формирование частот f1,f2,f3. После суммирования, в общей цепи, эти сигналы подаются на модулятор, обеспечивая модуляцию выходного сигнала. Всего формируется 8 команд радиокоррекции.
Переключение режимов работы передатчика "П" осуществляется устройством управления по сигналам ЦВС и командам с блока Р-19М1.
Все три режима работы передатчика "П" во времени не накладываются друг на друга.
Включение передатчика "П" производится по команде "+27В ВКЛ. ИЗЛ. П". Предварительным условием включения передатчика"П" является наличие команды "+27В ПРЕДВ. ВКЛ." с блока Р-19М1" и "+27В ЗАД.3мин" с РЩП и наличие "+27В ГОТ. П".
УСТРОЙСТВО ВЧ передатчика "П"
Устройство ВЧ является задающим генератором передатчика "П" и предназначено для формирования сигналов СВЧ в режиме передачи команд радиокоррекции в режиме КНИ-К и в непрерывном режиме на любом из 16 литеров.
СОСТАВ:
возбудитель Р-2ВА (Р-2ВМ1) - 1 шт;
усилитель - 1 шт;
прибор ОМ - 9М - 1 шт;
детекторная секция - 3 шт;
аттенюатор - 2 шт.
Задающим элементом возбудителя является один из 8 кварцевых генераторов Р-2ГК. **
**По принципу работы стабилизированные кварцевые автогенераторы различают на генераторы с самовозбуждением (автогенераторы) и на генераторы с внешним возбуждением.
Основными причинами нестабильности частоты является:
изменение температуры окружающей среды, приводящее к изменению электрических свойств деталей системы;
изменение напряжения источника питания;
механическая вибрация и деформация деталей;
паразитные индуктивности и емкости схемы, изменяющиеся с изменением режима работы;
индуктивности выводов электродов.
Наиболее эффективной мерой повышения стабильности частоты является кварцевая стабилизация. Она основана на применении в схеме автогенератора кварцевых пластинок, с сильно выраженными (в схеме автогенератора) пьезоэлектрическим эффектом превращающим механические колебания в электрические, что дает возможность использовать кварц для стабилизации частоты автогенератора.
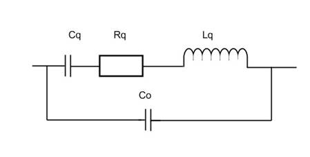
Эквивалентная схема кварцевого генератора представлена на Рис. 1:

Рис.1
Lq - индуктивность кварцевого генератора, соответствует сотым, тысячным долям Гн.
Rq - сопротивление потерь 10...100 Ом.
Cq -емкость кварца, характеризует упругие свойства кварца (десятые доли Пф для СВЧ).
Co - емкость кварцедержателя (десятые доли Пф).
r=
- сотни Ком
Qq=
- сотни тысяч
P =
- коэффициент включения
Фиксирующая способность кварцевой колебательной системы очень высока. Основными требованиями к такому автогенератору является - генерирование колебаний только на частоте fквар , определяемой кварцем.
Это означает, что в автогенераторе не должны возникать колебания на других частотах и его генерация должна срываться при удалении кварца из схемы.
Другими словами, на всех частотах, кроме частоты последовательного резонанса кварца, общее сопротивление потерь R такое, что условие самовозбуждения не выполняется. На частоте же последовательного резонанса кварца, его активное сопротивление уменьшается на столько, что начнет выполняется условие самовозбуждения и схема начинает генерировать колебания. Таким образом, генерация возможна лишь при одной фиксированной частоте, равной частоте собственных колебаний кварца. Очевидно, что стабилизация частоты с помощью кварца затрудняется, если приходится перестраивать частоту генерируемых колебаний, для этого необходимо иметь несколько кварцев. **
С выхода генератора соответствующего литера поступает на вход усилителя - сумматора и далее на выходной умножитель частоты. Выходной умножитель частоты одновременно осуществляет и кодово-импульсную и частотную модуляцию несущей частоты f (п) тремя модулирующими частотами f1,f2,f3 в соответствии с параметрами модулирующего сигнала с модулятора Р-2М для режима ЛРК.
Промодулированный по частоте сигнал с выхода умножителя через аттенюатор поступает на вход усилителя (клистрон типа КУ-143). Усиленный сигнал через второй аттенюатор поступает на блок Р-2КНМ1.
В режиме КНИ-К выходной умножитель осуществляет импульсную модуляцию несущей частоты f (п). Длительность и частота следования им пульсов определяется импульсами запирания КНИ-К с блока Р-8-3М прошедшими устройство управления.
В непрерывном режиме работы выходной умножитель выдает непрерывный сигнал, который через аттенюатор подается на умножитель и аттенюатор ВЧ устройства и далее на вход блока Р-2КНМ1.
Переключение режимов работы устройства ВЧ осуществляется сигналами, поступающими на устройство управления с модулятора Р-2М.
Модулятор Р-2М предназначен для формирования модулирующего сигнала режима ЛРК. В составе модулятора имеется:
устройство согласующее;
генератор поднесущей - 3 шт;
модулятор.
С ЦВС на устройство согласующее по трем каналам в виде токовых посылок двоичного кода поступают кодовые группы импульсов радиокоррекции t (k). t (1), t (0). Расстановка кодовых групп импульсов радиокоррекции определяется программой работы ЦВС. Устройство согласующее преобразует токовые посылки в импульсы напряжения t (k),t (1),t (0), которые поступают на устройства ключевые генератора поднесущей (1,2,3). Генераторы поднесущей (1,2,3) генерируют соответственно частоты f1,f2,f3. Каждая кодовая группа обеспечивает прохождение на вход модулятора частоты только своего генератора поднесущей.
Модулятор осуществляет амплитудную модуляцию сигналов генераторов по закону изменения импульсов формирования ЛРК приходящих с блока Р-8-3М.
С выхода модулятора модулирующий сигнал поступает на возбудитель Р-2ВА только при наличии стробирующего импульса радиокоррекции.
Блок Р-2КМ1 предназначен для усиления СВЧ сигнала передатчика "П" и подачи его в антенну Р-1А.
Блок осуществляет усиление СВЧ сигнала в непрерывном режиме по одному из 2 каналов. СВЧ сигнал поступает с выхода 1 (2) шкафа Р-2ГПМ1 на соответствующий вход блока. Через pin-аттенюатор, соответствующего канала, сигнал поступает вход соответствующего комплекта СВЧ прибора КУ-139.
Усиленный СВЧ сигнал с выхода усилителя через направленный ответвитель и УЗП поступает на вход 1 (2) коммутатора КР-3. С выхода коммутатора мощный выходной сигнал канала "П" поступает на блок Р-1А.
Для переключения каналов на коммутаторы КР-3 и К-1 приходит команда +27В БАР II 2К"П" 0с блока Р-2РЩП, а переключение питания комплекта СВЧ приборов производится в блоке Р-20К-II.
Коммутатор К-1 переключает сигналы управления pin-аттенюаторов, а коммутатор КР-3 переключает выходы усилителей 1 (2) комплекта СВЧ приборов на блок Р-1А.
Команда с блока Р-1А +27В БЛОКИРОВКА в. н. П, пройдя через блокировки прибора Р-20К-II и коммутаторов КР-3 и К-1 (при исправности УЗП) поступает на блок Р-19М1 как команда +27В ГОТ к ИЗЛ П.
С детекторной секции снимается сигнал в блок Р-36 для контроля наличия на выходе РПДУ мощности СВЧ сигнала.
ФОРМИРОВАНИЕ КОМАНДЫ ГОТОВНОСТЬ к ИЗЛ пер П
Команда "+27В БЛОКИР ВНП " с выхода электромеханического коммутатора КР-3 поступает в бл. Р-2ПК (табло "БЛОКИР ВНП") и через бл. Р-2КРМ1 выдается в бл. Р-2КНМ1. "+ 27 В БЛОКИР ВНП" через НЗК выключателя прибора питания Р-20К-II (крышка), НЗК микровыключателей электромеханического коммутатора КР-3 (коммутатор выходов I и II каналов КУ-339) поступает на реле Р1коммутатора.
Реле срабатывает (при условии исправности устройств защиты приборов У3, У4, установленных в последовательной цепи) и "+27 В БС" через сработанные контакты реле, НЗК микровыключателей высоковольтных разъемов В1, В2 в виде команды "+27 В ГОТ к ИЗЛ П" выдается в бл. Р-2ПК, Р-19М1 (табло "ГОТ П") и на контакты тумблера "ИЗЛ П".
ФОРМИРОВАНИЕ КОМАНДЫ ВЫСОКОЕ ВКЛ пер П
При включении тумблера "ИЗЛ П" на бл. Р-19М1 (Р-2ПК)"+ 27В ГОТ к ИЗЛ П" через контакты тумблера в виде команды "+27В ВКЛ ИЗЛ П" выдается:
на контакты тумблера "ЗГП " бл. Р-2РЩП. При включенном тумблере команда через его контакты в виде "+ 27 В ВКЛ ЗГП" поступает на фильтр шк. Р-2ГПМ и через НЗК реле Р5 поступает в бл. Р-18ГМ в виде команды "+27В ВКЛ РЕЛЕ". При этом бл. Р-18ГМ вырабатывает напряжение РЕЗОНАТОРА 650÷800 В РЕГУЛ для питания усилительного клистрона КУ-143Р (Iк) или КУ-143Т (IIк).
в бл. Р-20К-I и далее через НЗК реле Р5 поступает на реле Р4, которое срабатывает и подключает схему защиты бл. к первичному источнику питания.
через НЗК реле Р3 схемы защиты бл. Р-20К-I поступает на контакты реле Р1 и дежурит там до поступления команды " +27В ЕСТЬ ИМП МОД".
выдается в виде команды "+27В ВКЛ КАН П" на бл. Р-2КНМ1. Через перемычку в разъеме Ш3 бл. Р-2КНМ1 эта команда в виде "+27В ЕСТЬ ИМП МОД П" поступает в бл. Р-2ПК и в бл. Р-20К-I (У7).
В бл. Р-20К-I по команде "ЕСТЬ ИМП МОД " срабатывает реле Р1 и дежурившая на его контактах команда " +27В ВКЛ ИЗЛ П" через НЗК микровыключателей высоковольтных разъемов В1, В2 и В3 (кожух) поступает на контактор Р1.
Контактор Р1 подключает первичное питание три фазы 220 В 400 Гц к ВУ +12 кВ, для питания оконечного усилителя мощности КУ-339. Сигнал о включении высокого напряжения в виде команды "+27 В ВЫС П ВКЛ" поступает на табло "ИЗЛ П" блоков Р-2ПК, Р-19М1.