| Скачать .docx |
Реферат: Измерительные трансформаторы
Оглавление
ЗАДАНИЕ №1 «Измерительные преобразователи». 3
1.1.Назначение измерительных преобразователей.3
1.4. Принципиальная схема трансформатора тока.9
ЗАДАНИЕ №2 «Обозначения условные приборов и средств автоматизации в схемах». 9
ЗАДАНИЕ №3 «Расчет функции системы автоматического управления »9
ЗАДАНИЕ №1 «Измерительные преобразователи»
1.1.Назначение измерительных преобразователей.
Измерительный преобразователь тока (ИПТ) это – устройство предназначенное для преобразования первичного тока в такой выходной сигнал, информативные параметры которого функционально связаны с информативными параметрами первичного тока. Для создания ИПТ можно использовать различные физические явления. В настоящее время ИПТ обычно создаются на основе широко применяемого в электротехнике трансформаторного эффекта — в виде трансформатора.
Трансформатором тока (ТТ), являющимся наиболее широко применяемым ИПТ, называется такой трансформатор, в котором при нормальных условиях работы выходной сигнал является током, практически пропорциональным первичному току и при правильном включении сдвинутым относительно него по фазе на угол, близкий к нулю.
Первичная обмотка трансформатора тока включается в цепь последовательно (в рассечку токопровода), а вторичная замыкается на некоторую нагрузку (измерительные приборы и реле), обеспечивая в ней ток, пропорциональный току в первичной обмотке.
В трансформаторах тока высокого напряжения первичная обмотка изолирована от вторичной (земля) на полное рабочее напряжение. Один конец вторичной обмотки обычно заземляется. Поэтому она имеет потенциал, близкий к потенциалу земли.
Трансформаторы тока по назначению разделяются на трансформаторы тока для измерений и трансформаторы тока для защиты. В некоторых случаях эти функции совмещаются в одном ТТ.
Трансформаторы тока для измерений предназначаются для передачи информации измерительным приборам. Они устанавливаются в цепях высокого напряжения или в цепях с большим током, т. е. в цепях, в которых невозможно непосредственное включение измерительных приборов. Ко вторичной обмотке ТТ для измерений подключаются амперметры, токовые обмотки ваттметров, счетчиков и аналогичных приборов. Таким образом, трансформатор тока для измерений обеспечивает:
1) преобразование переменного тока любого значения в переменный, ток, приемлемый для непосредственного измерения с помощью стандартных измерительных приборов;
2) изолирование измерительных приборов, к которым имеет доступ обслуживающий персонал, от цепи высокого напряжения.
Трансформаторы тока для защиты предназначаются для передачи измерительной информации в устройства защиты и управления. Соответственно этому трансформатор тока для защиты обеспечивает:
1) преобразование переменного тока любого значения в переменный ток, приемлемый для питания устройств релейной защиты;
2) изолирование реле, к которым имеет доступ обслуживающий персонал, от цепи высокого напряжения.
Трансформаторы тока в установках высокого напряжения необходимы даже в тех случаях, когда уменьшения тока для измерительных приборов или реле не требуется.
1.2.Классификация ИПТ.
В зависимости от рода тока ИПТ разделяются на ИП переменного и ИП постоянного тока. В работе будут рассматриваться ИПТ переменного тока для установок и сетей с номинальной частотой тока 50 Гц.
По назначению ИПТ разделяются на ИПТ для измерений и ИПТ для защиты. Последние могут предназначаться для работы только в установившихся (статических) режимах либо в установившихся и переходных (динамических) режимах.
В зависимости от вида преобразования ИПТ делятся на преобразователи тока в ток, тока в напряжение (например, трансреакторы, магнитные трансформаторы тока), тока в неэлектрическую величину (например, в световой поток). При этом по способу представления выходной информации ИПТ подразделяются на аналоговые и дискретные.
Одновитковые ТТ (рис. 1) имеют две разновидности: без собственной первичной обмотки; с собственной первичной обмоткой. Одновитковые ТТ, не имеющие собственной первичной обмотки, выполняются встроенными, шинными или разъемными.
Встроенный трансформатор тока 1 представляет собой магнитопровод с намотанной на него вторичной обмоткой. Он не имеет, собственной первичной обмотки. Ее роль выполняет токоведущий стержень проходного изолятора. Этот трансформатор тока не имеет изоляционных элементов между первичной и вторичной обмотками. Их роль выполняет изоляция проходного изолятора.

Рис. 1. Схема трансформатора тока;
______ собственная первичная обмотка ТТ;
----- токоведущий стержень проходного изолятора (шина)
В шинном трансформаторе тока роль первичной обмотки выполняют одна или несколько шин распределительного устройства, пропускаемые при монтаже сквозь полость проходного изолятора. Последний изолирует такую первичную обмотку от вторичной.
Многовитковые трансформаторы тока (рис. 1) изготовляются с катушечной первичной обмоткой надеваемой на магнитопровод; с петлевой первичной обмоткой 5, состоящей из нескольких витков; со звеньевой первичной обмоткой, выполненной таким образом, что внутренняя изоляция трансформатора тока конструктивно распределена между первичной и вторичной обмотками, а взаимное расположение обмоток напоминает звенья цепи; с рымовидной первичной обмоткой, выполненной таким образом, что внутренняя изоляция трансформатора тока нанесена в основном только на первичную обмотку, имеющую форму рыма.
1.3. Основные параметры и характеристики трансформатора тока.
Основными параметрами и характеристиками трансформатора тока в соответствии с ГОСТ 7746—78 «Трансформаторы тока. Общие технические требования» являются:
1. Номинальное напряжение — действующее значение линейного напряжения, при котором предназначен работать ТТ, указываемое в паспортной таблице трансформатора тока. Для отечественных ТТ принята следующая шкала номинальных напряжений, кВ:
0,66; 6; 10; 16; 20; 24; 27; 35; 110; 150; 220; 330; 500; 750; 1150
2. Номинальный первичный ток I1 H - указываемый в паспортной таблице ТТ ток, проходящий по первичной обмотке, при котором предусмотрена продолжительная работа ТТ. Для отечественных ТТ принята следующая шкала номинальных первичных токов:
1; 5; 10; 15; 20; 30; 40; 50; 75; 80; 400; 150; 200; 300; 400; 500; 600; 750; 800; 1000; 1200; 1500; 2000; 3000; 4000; 5000; 6000; 8000; 10000; 12000;
14 000; 16 000; 18 000; 20 000; 25 000; 28 000; 32 000; 35 000; 40 000.
В трансформаторах тока, предназначенных для комплектования турбо- и гидрогенераторов, значения номинального тока свыше 10 000 А могут отличаться от приведенных в данной шкале значений.
Трансформаторы тока, рассчитанные на номинальный первичный ток 15; 30; 75; 150; 300; 600; 750; 1200; 1500; 3000 и 6000 А, должны допускать неограниченно длительное время наибольший рабочий первичный ток, равный соответственно 16; 32; 80; 160; 320; 630; 800; 1250; 1600; 3200 и 6300 А. В остальных случаях наибольший первичный ток равен номинальному первичному току.
3. Номинальный вторичный ток I2 H — указываемый в паспортной таблице ТТ ток, проходящий по вторичной обмотке. Номинальный вторичный ток принимается равным 1 или 5 А, причем ток 1 А допускается только для ТТ с номинальным первичным током до 4000 А. По согласованию с заказчиком допускается изготовление ТТ с номинальным вторичным током 2 или 2,5 А.
4. Вторичная нагрузка ТТ z2 H соответствует полному сопротивлению его внешней вторичной цепи, выраженному в Омах, с указанием коэффициента мощности. Вторичная нагрузка может также характеризоваться полной мощностью в вольт-амперах, потребляемой ею при данном коэффициенте мощности и номинальном вторичном токе.
Вторичная нагрузка с коэффициентом мощности cos(φ2 ) = 0,8, при которой гарантируется установленный класс точности ТТ или предельная кратность первичного тока относительно его номинального значения, называется номинальной вторичной нагрузкой ТТ z2 H . ном
Для отечественных трансформаторов тока установлены следующие значения номинальной вторичной нагрузки S2 H .ном выраженной в вольт-амперах, при коэффициенте мощности cos(φ2 ) = 0,8:
1; 2; 2,5; 3; 5; 7,5; 10; 15; 20; 25; 30; 40; 50; 60; 75; 90; 100; 120.
Соответствующие значения номинальной вторичной нагрузки (в Омах) определяются выражением:
z2H. ном = S2H. ном / I2 2H
5. Коэффициент трансформации ТТ равен отношению первичного тока ко вторичному току.
В расчетах трансформаторов тока применяются две величины: действительный коэффициент трансформации n и номинальный коэффициент трансформации nH . Под действительным коэффициентом трансформации понимается отношение действительного первичного тока к действительному вторичному току. Под номинальным коэффициентом трансформации nH понимается отношение номинального первичного тока к номинальному вторичному току.
6. Стойкость ТТ к механическим и тепловым воздействиям характеризуется током электродинамической стойкости и током термической стойкости.
Ток электродинамической стойкости Iд равен наибольшей амплитуде тока короткого замыкания за все время его протекания, которую ТТ выдерживает без повреждений, препятствующих его дальнейшей исправной работе. Ток Iд характеризует способность ТТ противостоять механическим (электродинамическим) воздействиям тока короткого замыкания. Электродинамическая стойкость может характеризоваться также кратностью Kд , представляющей собой отношение тока электродинамической стойкости к амплитуде номинального первичного тока. Требования электродинамической стойкости не распространяются на шинные, встроенные и разъемные ТТ.
Термическая стойкость может характеризоваться кратностью Kт тока термической стойкости, представляющей собой отношение тока термической стойкости к действующему значению номинального первичного тока.
В соответствии с ГОСТ 7746—78 для отечественных ТТ установлены следующие токи термической стойкости:
а) односекундный I1Т или двухсекундный I2т (или кратность их К1 T и K2Т по отношению к номинальному первичному току) для трансформаторов тока на номинальные напряжения 330 кВ и выше;
б) односекундный I1Т или трехсекундный; I3Т (или кратность их K1 T и K3 T по отношению к номинальному первичному току) для трансформаторов тока на номинальные напряжения до 220 кВ включительно.
Между токами электродинамической и термической стойкости должны быть следующие соотношения:
для ТТ на номинальные напряжения 330 кВ и выше
IД ≥ 1,8 √2 I1 T или IД ≥ 1,8 √2 I2 T
для ТТ на номинальные напряжения до 220 кВ
IД ≥ 1,8 √2 I1 T или IД ≥ 1,8 √2 I3 T
Температура токоведущих частей ТТ при токе термической стойкости не должна превышать: 200 °С для токоведущих частей из алюминия; 250 °С для токоведущих частей из меди и ее сплавов, соприкасающихся с органической изоляцией или маслом, и 300 °С для токоведущих частей из меди и ее сплавов, не соприкасающихся с органической изоляцией или маслом. При определении указанных значений температуры следует исходить из начальных ее значений, соответствующих длительной работе трансформатора тока при номинальном токе.
Значения токов электродинамической и термической стойкости ТТ государственным стандартом не нормируются. Однако они должны соответствовать электродинамической и термической стойкости других аппаратов высокого напряжения, устанавливаемых в одной цепи с трансформатором тока.
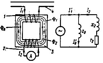
1.4. Принципиальная схема трансформатора тока.
Принципиальная схема одноступенчатого электромагнитного трансформатора тока и его схема замещения приведены на рис. 2. Как видно из схемы, основными элементами трансформатора тока участвующими в преобразовании тока, являются первичная 1 и вторичная 2 обмотки, намотанные на один и тот же магнитопровод 3. Первичная обмотка включается последовательно (в рассечку токопровода высокого напряжения 4, т. е. обтекается током линии Ij . Ко вторичной обмотке подключаются измерительные приборы (амперметр, токовая обмотка счетчика) или реле. При работе трансформатора тока вторичная обмотка всегда замкнута на нагрузку.

Рис. 2. Принципиальная схема
трансформатора тока и его схема замещения.
Первичную обмотку совместно с цепью высокого напряжения называют первичной цепью , а внешнюю цепь, получающую измерительную информацию от вторичной обмотки трансформатора тока (т. е. нагрузку и соединительные провода), называют вторичной цепью . Цепь, образуемую вторичной обмоткой и присоединенной к ней вторичной цепью, называют ветвью вторичного тока .
ЗАДАНИЕ №2 «Обозначения условные приборов и средств автоматизации в схемах»
Задание: расшифровать условное обозначение прибора.
Дано:

Расшифровка:
1. Графические обозначения прибора «круг» по ГОСТу 21.404-85 – обозначает прибор, устанавливаемый вне щита (по месту)
2. Символ Fпо ГОСТу 21.404-85–основное обозначение измеряемой величины - расход.
3. Символ Iпо ГОСТу 21.404-85–отображение информации – показания.
Вывод: Прибор для измерения расхода показывающий, установленный по месту.
Например: дифманометр (ротаметр), показывающий.
Дифманометр - это дифференциальный манометр, прибор для измерения разности (перепада) давлений; применяется также для измерений уровня жидкостей и расхода жидкости, пара или газа по методу перепада давлений.
ЗАДАНИЕ №3 «Расчет функции системы автоматического управления »
СПИСОК ЛИТЕРАТУРЫ:
1. Трансформаторы тока. Под ред. В.В. Афанасьев и.др. М: Энергия 1989
2. Бачурин Н.И. Трансформаторы тока. М.: Энергия, 1964
3. Вовин В.Н. Трансформаторы тока. М.: Энергия, 1966
4. Кибель В.М. Трансформаторы напряжения. М.: Энергия 1975
5. Грановский В.А. Системная метрология: метрологические системы и метрология систем. - СПб.: ГНЦ РФ ЦНИИ "Электроприбор", 1999
6. ГОСТ 21.404-85 АВТОМАТИЗАЦИЯ ТЕХНОЛОГИЧЕСКИХ ПРОЦЕССОВ «Обозначения условные приборов и средств автоматизации в схемах».