| Скачать .docx |
Дипломная работа: Программно-аппаратный комплекс для проведения специальных комплексных проверок электронных устройств
Реферат
Целью данного дипломного проекта является разработка программно-аппаратного комплекса для проведения специальных комплексных проверок электронных устройств (ПАК), который в дальнейшем будет использован для проведения специальных измерений и тестирования электронных приборов, функционирующих в составе комплексов специального назначения. Разработанный комплекс позволяет проводить испытания и подготовку объектов исследований в полевых условиях.
В процессе проведения исследований были разработаны структурная и функциональная схемы адаптера, входящего в состав ПАК. На их основе создана электрическая принципиальная схема. Путем сравнения между собой характеристик элементов, используемых в схеме, были выбраны конкретные элементы и, используя методы теории цепей, рассчитаны их номиналы. Был разработан алгоритм работы прибора и соответствующее программное обеспечение. Проектирование устройства выполнялась с соблюдением соответствующих ГОСТов. Экономический эффект данной разработки относительно существующих аналогов заключается в виде экономии средств от снижения затрат на производство и использование, и повышении производительности труда, за счёт привлечения технического персонала. К характеристикам и параметрам спроектированного устройства относится: малые габаритные размеры, узконаправленные функции (контроль сопротивления коммутируемых цепей) относительно низкая потребляемая мощность, надёжность.
В процессе работы программно-аппаратный комплекс не оказывает никаких вредных воздействий на окружающую среду (не происходит выделения вредных веществ, отсутствуют вибрация, шумы и вредные поля), то есть является экологически чистым устройством.
Содержание
Введение
1. Технические требования к программно-аппаратному комплексу
2. Теоретическая часть
2.1 Описание структурной схемы комплекса
2.2 Описание функциональной схемы комплекса
2.3 Описание алгоритма работы комплекса
3. Практическая часть
3.1 Описание электрической принципиальной схемы комплекса
3.2 Выбор элементной базы
3.3 Выбор кода обмена между адаптером и персональным компьютером
3.4 Общее программное обеспечение
3.5 Расчетная часть
4. Экономическая часть
5. Охрана труда
Заключение
Список условных обозначений и сокращений
Список используемых источников
Приложение А. Блок-схемы алгоритма работы комплекса
Введение
В настоящее время важным показателем качества является надёжность изделия, аппаратуры, устройства. Выбирая, ту или иную технику руководствуются именно этим параметром. Чем надёжнее изделие, тем с большей уверенностью можно гарантировать его бесперебойную работу. А это очень важно для любой сферы использования устройства.
Деятельность в области электроники, автоматики и вычислительной техники предполагает решение задачи управления разнообразными объектами и процессами и связанной с ней задачи обработки сигналов. Использование микроконтроллеров при инженерном проектировании решает эту задачу наиболее оптимально. Так как приводит к улучшению технико-экономических показателей изделия (стоимости, надёжности, потребляемой мощности, габаритных размеров).
При практическом применении изделий необходима их коммутация с другими устройствами для получения связи между составными частями комплекса, который выполняет различные задачи. Так же существуют устройства, которые осуществляют автоматическое соединение различной аппаратуры. Для подобных устройств необходима проверка режима функционирования (режим определяет коммутацию тех или иных цепей для гарантированного подключения технических устройств). Правильность и точность функционирования устройств коммутации являются определяющими качествами для создания надёжных автоматизированных комплексов и систем.
Целью данной работы является создание программно-аппаратного комплекса (ПАК) для проведения специальных комплексных проверок электронных устройств. Использование ПАК даст возможность исследовать и проверять различные по своему назначению устройства. Основываясь на результатах контроля можно составить технические характеристики определяющие надёжность и точность работы тестируемого устройства. Этот комплекс универсален и способен тестировать различные цепи соединений и специальные устройства гарантированного коммутирования, которые включают в себя дублирующие цепи. Программно-аппаратный комплекс можно рассматривать как систему автоматизированного управления техническими устройствами и как устройство, осуществляющее связь вычислительной техники (персональный компьютер ПК) с управляемыми внешними устройствами. Благодаря этой связи существует возможность анализа данных, полученных от программно-аппаратного комплекса, о состоянии и работе исследуемого устройства.
Программно-аппаратного комплекс на основе микроконтроллера универсален, так как он позволяет повысить технико-экономические показатели, даёт возможность модификации и расширения функциональный возможностей. Перспективным является то, что непрерывное развитие техники приводит к появлению принципиально новых устройств, тестирование которых можно осуществлять разработанным программно-аппаратным комплексом.
1. Технические требования к программно-аппаратному комплексу
1.1 Цель разработки и назначение комплекса
1.1.1 Целью настоящей работы является разработка структуры программно-аппаратного комплекса и принципиальной электрической схемы адаптера, входящего в состав комплекса, предназначенного для проведения специальных комплексных проверок коммутирующих элементов.
1.1.2 Комплекс должен тестировать (проверять) отсутствие или наличие электрической цепи с заданными параметрами и иметь возможность включения/выключения питания тестируемого устройства по заданному алгоритму.
1.2 Требования к техническим характеристикам адаптера:
1.2.1 Количество каналов включения питания – 8
1.2.2 Количество каналов для тестирования – 16
1.2.3 Напряжение питания +5В с возможностью коммутации устройств с питанием +27В и током до 1.5А.
1.2.4 Ток потребления должен быть не более 500мА.
1.2.5 В режиме тестирования адаптер должен контролировать:
- наличие цепи с сопротивлением < 0,5Ом
- отсутствие цепи с сопротивлением > 106 Ом.
1.2.6 В комплексе должна быть предусмотрена индикация неисправных цепей.
1.2.7 Управление режимом работы адаптера должно осуществляться программно через интерфейсный порт RS-232 с возможностью выбора требуемого алгоритма работы.
1.2.8 При индикации в процессе работы должна отображаться следующая информация:
- алгоритм (режим работы);
- этапы проведения тестирования;
- цепи, не прошедшие проверку.
1.2.9 Комплекс должен обеспечивать групповую и выборочную проверку заданных цепей, а также последовательное включение питания в требуемых каналах.
2. Теоретическая часть
2.1 Описание структурной схемы устройства
2.1.1 Структурная схема программно-аппаратного комплекса, позволяющая реализовать заданные функции, представлена на рисунке 2.1.

Рисунок 2.1 – Структурная схема работы программно-аппаратного комплекса.
2.1.2 Структурная схема включает в себя следующие основные блоки:
– персональный компьютер (ПК);
– адаптер для связи с внешними устройствами (А);
– внешнее устройство (ВУ).
Персональный компьютер осуществляет программное управление адаптером и обработку полученных данных.
Адаптер включает в себя:
а) канал управления внешними устройствами (формирователи команд управления на ВУ);
б) канал приема данных от внешних устройств (приемники сигналов контроля состояния ВУ и измерения параметров цепей);
в) канал управления (формирователь внутренних команд управления и обработки сигналов от ВУ).
Внешнее устройство (ВУ) – исследуемый объект (электронное устройство) подлежащий тестированию.
2.2 Описание функциональной схемы устройства
2.2.1 Функциональная схема адаптера представлена на рисунке 2.2.
2.2.2 Адаптер состоит из трех каналов и схемы сопряжения с ПК:
– канал управления внешними устройствами (формирователи команд управления на ВУ);
– канал приема данных от внешних устройств (приемники сигналов контроля состояния ВУ и измерения параметров цепей);
– канал управления (формирователь внутренних команд управления и обработки сигналов от ВУ);
– схемы сопряжения с ПК.
Канал управления внешними устройствами включает в себя:
– модуль управления включением (дешифратор);
– модуль подключения питания.
Канал управления внешними устройствами предназначен для формирования команд управления на ВУ по программе с ПК.
Модуль управления включением представляет собой дешифратор, в котором в зависимости от выходного кода осуществляется подача питания на заданные цепи. Для того чтобы сформировать команду управления необходимо программно с ПК включить (выключить) одно (несколько) реле (ключей) в требуемой последовательности.
Модуль подключения питания предназначен для коммутации определённых цепей ВУ в зависимости от программы с ПК. Представляет собой набор ключевых элементов с гальванически развязанными «сухими» контактами реле (ключами), через которые осуществляется подача напряжения питания на соединители.
Канал приема данных от ВУ включает в себя:
– модуль измерений и контроля;
– модуль управления и опроса (мультиплексоры и регистры);
– модуль включения питания.
Канал приема данных от ВУ предназначен для приема сигналов контроля состояния ВУ и измерения параметров цепей.
Модуль измерений и контроля предназначен для проверки сопротивления тестируемых цепей путем сравнения напряжений на контактах ключей, и передачи сигнала для последующего анализа.
Модуль управления и опроса представляет собой блок мультиплексоров и регистров, осуществляющих выбор цепей, предназначенных для тестирования.
Модуль включения питания предназначен для подачи питания на определённые цепи ВУ, которые подлежат проверке подключения и контроля сопротивления, осуществляемой измерением напряжения на соответствующих контактах.
Канал управления включает в себя:
– микроконтроллер;
– ОЗУ;
– ПЗУ;
– блок регистров;
– генератор импульсов;
– схему сброса.
Канал управления предназначен для формирования внутренних сигналов управления по командам с ПК и обеспечивает:
– адресный доступ ко всем функциональным элементам адаптера;
– запись (считывание) информации во все (со всех) программно-доступные функциональные элементы адаптера.
Кроме этого, канал управления также предназначен для обработки электрических сигналов приходящих от ВУ, характеризующих наличие напряжения на контактах ВУ с уровнями – логический «0» или логическая «1».
Микроконтроллер (МК) предназначен для формирования управляющих сигналов и приема/передачи данных. Выполняют функции логического анализа и управления.
ОЗУ (память данных) предназначена для хранения переменных в процессе выполнения прикладной программы, адресуется одним байтом и имеет емкость 128 байт.
ПЗУ (память программ) предназначена для хранения команд, констант, управляющих слов инициализации, таблиц перекодировки входных и выходных переменных и т.п.
Блок регистров (регистр-защелка) предназначен для хранения адресов А0-А7 при обмене данными.
Генератор импульсов предусмотрен для формирования тактовых импульсов для МК. Тактовый сигнал необходим для выполнения инструкций микроконтроллера и работы периферийных модулей (например, универсальные порты ввода/вывода). Внутренний машинный цикл микроконтроллера состоит из нескольких периодов тактового сигнала.
Схема сброса предназначена для перевода МК в исходное состояние с заведомо известными параметрами работы. Что осуществляется подачей сигнала RST на соответствующий вход, который производит следующие действия: сбрасывает счетчик команд и указатель стека; устанавливает порт BUS в высокоимпедансное состояние, а порты P1 и P2 – в режим ввода, выбирает банк регистров 0 и банк памяти 0, запрещает прерывания, останавливает таймер и выдачу синхросигнала на вывод Т0; сбрасывает флаг переполнения таймера TF и флаги пользователя F0 и F1, приводит к началу исполнения программ с нулевого адреса.

Рисунок 2.2 – Функциональная схема адаптера
Программное управление от ПК всеми функциональными элементами осуществляется через схему сопряжения, которая обеспечивает передачу сигналов в канал управления. Схема основана на формирователе сигналов (микросхема преобразователей уровней: логические «0» и «1» в +15 В и в -15В, и обратно), который отвечает за обмен информацией по последовательному каналу типа RS-232. А так же на диодном ограничители, обеспечивающий размах входного сигнала МК в пределах -0,6…+5,6В. Основное предназначение схемы сопряжения – согласование уровней входных и выходных сигналов с МК и ПК.
ВУ представляют собой объекты исследования – электронные устройства.
2.3 Описание алгоритма работы программно-аппаратного комплекса
2.3.1 Выбранный алгоритм работы ПАК приведен в Приложении А.
2.3.2 Разрабатываемый ПАК может функционировать в одном из следующих режимов:
– самоконтроль;
– формирование необходимого алгоритма тестирования;
– тестирование;
– выдача результатов тестирования и их визуализация.
В режиме самоконтроля происходит проверка функционирования ПАК, ПЭВМ в автоматическом режиме формирует группу управляющих команд с признаком самоконтроля, которые полностью имитируют все возможные варианты включения элементов тестируемого устройства. Команды передаются в адаптер тем самым, тестируя линии связи между ПЭВМ и адаптером. Адаптер, получив информационную посылку с признаком самоконтроль, проверяет работоспособность ОЗУ и начинает проверку своих функциональных элементов посредством полученных управляющих команд. Для корректного функционирования адаптера на его выходной разъём ставится специальная соединитель, имитирующая тестируемые цепи. После завершения контроля адаптер выдаёт в ПЭВМ информацию о результатах контроля. При положительном результате ПАК готов к дальнейшему функционированию. К нему подсоединяется тестируемое устройство и возможен один из трёх режимов.
В режиме формирования параметров проверки пользователь выбирает необходимые цепи для включения питания, алгоритм включения (параллельный, последовательный, выборочный), проверяемые цепи и их состояние. Пример выбора цепей и их состояния показан в таблице 2.1.
Таблица 2.1 Выбора цепей и их состояния
| Цепи состояния |
Цепи |
Состояние |
| Пит. К1 |
А1: В10 |
Разомкнуто → Замкнуто |
| А2: В3 |
Разомкнуто → Разомкнуто |
|
| Пит. К2 |
А3: В15 |
Замкнуто → Разомкнуто |
| А4: В7 |
Замкнуто → Замкнуто |
Загрузка параметров возможна из предварительно сформированного файла. При этом возможна визуализация упрощённой структуры проверки устройства, которая помогает избежать ошибок пользователя при тестировании. Сформированные параметры передаются в адаптер с признаком тестирования для инициирования процесса тестирования.
В процессе тестирования адаптер в соответствии с заданным алгоритмом включает питание соответствующих цепей и проверяет состояние контролируемых цепей.
Результаты корректной и некорректной проверки сохраняются в ОЗУ. После контроля адаптер осуществляется подачу питания на выбранные цепи и осуществляет повторный контроль их состояния, для проверки функционирования коммутирующих элементов (до срабатывания, после срабатывания и после отключения). Процесс тестирования повторяется необходимое количество раз в зависимости от алгоритма проверки, при этом возможно лишь частичное задействование имеющихся цепей или расширение функциональных возможностей схемы путём незначительного усложнения схемы адаптера. После обработки алгоритма проверки, сохранённые результаты передаются в ПЭВМ для окончательной обработки.
В случае некорректной проверки для пользователя, в режиме визуализации результатов проверки, предлагается несколько вариантов получения информации:
Формализованный – в виде списка цепей, не прошедших тестирование, с указанием некорректного состояния цепи и режима в котором это состояние имело место. Формализованный способ представления информации показан в таблице 2.2.
Таблица 2.2 Формализованный способ представления информации
| Цепь |
Состояние |
Режим |
| А1: В10 |
Замкнута |
Срабатывание реле К5 |
Графический – в виде упрощённой структуры проверяемого устройства, в которой разными цветами изображаются режимы тестирования и цепи, состояние которых не соответствует заданному. Графический способ представления информации изображён рисунке 2.3.

Рисунок 2.3 – Графический способ получения информации
3. Практическая часть
3.1 Описание электрической принципиальной схемы устройства
3.1.1 По результатам анализа структурной и функциональной схем была разработана электрическая принципиальная схема адаптера из состава ПАК, приведенная в Приложении Б. Рассмотрим основные элементы схемы электрической принципиальной более подробно.
3.1.2 Канал управления состоит из микроконтроллера, ПЗУ, ОЗУ, блока регистров, схемы сброса и генератора тактовых импульсов.
Микроконтроллер реализован на микросхеме типа 1880ВЕ31У (D1).
3.1.3 Микроконтроллер 1880ВЕ31 [12] может работать в следующих режимах:
– только с внешней памятью программ, так как он не имеет внутренней резидентной памяти программ (ПЗУ);
– с внутренней и внешней памятью данных.
ПЗУ, ОЗУ и блок регистров образуют внешнюю память микроконтроллера.
ПЗУ выполнено на микросхеме 1623 РТ2А (D9) [6], в ней хранится программа функционирования устройства.
В качестве регистра используется микросхема 1554 ИР22 (D5). Используется в качестве регистра-защелки для хранения адресов А0-А7 при обмене данными.
ОЗУ выполнено на микросхеме 537 РУ9 (D8) [6] и предназначено для хранения переменной информации: программ и промежуточных результатов обработки данных. Работает в режимах хранения, записи и считывания информации. В адаптере используется для хранения информации о состоянии цепей (напряжение на коммутирующем устройстве, сопротивление цепи, точность режима работы). Управление памятью осуществляется с помощью сигналов WR и RD, их объединение с помощью микросхемы D1.1 (логический элемент выполняющий функцию И) даёт сигнал RW, определяющий характер обращения чтение/запис,ь поступающий на вход OE микросхемы ОЗУ и включающий выходные буферы микросхемы памяти для прохождения информации по шинам данных.
Выбор микросхемы осуществляется сигналом OZU поступающим на вход CE и сформированный при помощи логического элемента И (D1.2), сигнала RW и сигнала поданного с А12.
3.1.4 Схема сброса построена на микросхеме 1554ТЛ2 (D3.1) [8], конденсаторе С2 и резисторе R3. Схема вырабатывает сигнал RST. По включению питания схема сброса сигналом RST переводит микроконтроллер в исходное состояние. Сброс обязателен при подаче напряжения питания на микроконтроллер. С этой целью вход RESET соединяют с шиной питания через конденсатор С2 емкостью 10 мкФ и с общим проводом через резистор R1 сопротивлением 4,3 кОм, обеспечивая тем самым корректный запуск МК.
3.1.5 Генератор тактовых импульсов для работы микроконтроллера реализован с использованием кварцевого резонатора ZQ1 и конденсаторов C1, C3. Рабочая частота резонатора составляет 12 МГц. Кварцевый резонатор определяет частоту работы микроконтроллера. Для более стабильного запуска выводы резонатора соединены с общим проводом через конденсаторы C1 и С3 емкостью 22 пФ [1].
3.1.6 Канал управления внешними устройствами состоит из модуля управления включением и модуля подключения питания.
3.1.7 Модуль управления включением построен на микросхеме 1554 ИД7 (D9) [8]. Микросхема предназначена для выбора цепей, которые необходимо протестировать. В зависимости от выходного кода осуществляется подача питания на эти цепи. Для того чтобы сформировать команду управления необходимо программно с ПК включить (выключить) одно (несколько) реле (ключей) в требуемой последовательности.
3.1.8 Модуль подключения питания представляет собой транзисторные каскады, построенные на транзисторах VT1…VT8, транзисторных матрицах 1HT251 (DA1…DA2), резисторах R4…R35 и управляющие ключевыми элементами с гальванически развязанными «сухими» контактами реле (ключами) РЭС80 (К1…К8). Параллельно подключенные к реле диоды 2Д522б (VD3…VD10) предохраняют транзисторы от индуктивных переходных процессов, возникающих при отключении реле. Модуль предназначен для коммутации определённых цепей ВУ в зависимости от программы с ПК. При этом через него происходит подача напряжения питания на соединители.
3.1.9 Канал приема данных от ВУ включает в себя: модуль измерений и контроля, модуль управления и опроса, модуль включения питания.
3.1.10 Модуль измерений и контроля состоит из 16 блоков, основу которых составляют операционные усилители K140УД1701A (DA7…DA54) [2]. Операционные усилители (DA23… DA30, DA47…DA54) используется в дифференциальном включении и при выполнении условия R 4 /R 5 =R 6 /R 7 усиление дифференциального сигнала намного больше усиления синфазного сигнала и коэффициент ослабления синфазного сигнала (КОСС) максимальный. В качестве резисторов, задающих параметры операционных усилителей, используются резисторы R5 (R148…R155; R204…R211), R6 (R124…R131; R180…R187), R4, R7(R132…R147; R188…R203) [7]. Операционные усилители (DA7…DA22, DA31…DA46) включены как неинвертирующие повторители. Эти повторители будут служить буферами, в результате чего входное сопротивление измерительного усилителя повысится, а влияние выходного сопротивления источников сигнала на дифференциальный коэффициент усиления и КОСС практически будет устранено. Резисторы С2-33-0,125 (R100…R123; R162…R179) используются для создания высокого КОСС в схеме и задания коэффициента усиления всей схемы.
3.1.11 Модуль управления и опроса построен на микросхемах 1554ИР23 (D6,D7) – восьмиразрядных управляемых по фронту регистрах с параллельным вводом-выводом данных с тремя состояниями на выходе и селекторах-мультиплексорах из 8 в 1 1554КП7 (D9,D10).
Микросхемы D9 и D10 [8] представляют схему опроса 16 цепей, осуществляющих измерение напряжения на контактах ключей. Каждый выход схемы измерения подключен на свой вход мультиплексора. Напряжения на выходе схемы приблизительно равное 0,5В соответствует «нулевому» значению соответствующего бита информации, а напряжение находящееся в пределах напряжения питания соответствует «единичному» значению соответствующего бита информации. Для получения доступа к цепям контроля ВУ необходимо записать адрес на входах SED1 – SED3 мультиплексора.
Микросхемы D6 и D7 представляют собой ячейки оперативной памяти. Каждой ячейке оперативной памяти соответствует одно реле (один ключ), отвечающий за подключения питания на тестируемые цепи.
3.1.12 Модуль подключения питания представляет собой транзисторные каскады построенные на транзисторах VT9…VT24, транзисторных матрицах 1HT251 (DA3…DA6), резисторах R36…R99 управляющие ключевыми элементами с гальванически развязанными «сухими» контактами реле (ключами) РЭС80 (К1…К8). Параллельно подключенные к реле диоды 2Д522б (VD11…VD26) [11] предохраняют транзисторы от индуктивных переходных процессов, возникающих при отключении реле. Модуль включения питания предназначен для подачи питания на определённые цепи ВУ, которые подлежат проверке подключения и контроля сопротивления на его контактах, осуществляемый измерением напряжения на соответствующих контактах.
3.1.13 Схема сопряжения основана на диодном ограничителе и формирователе сигналов.
Диодный ограничитель [10] состоит из резисторов R2, R1, двух диодов VD1, VD2 и микросхемы 1554 ТЛ2 (D4.2). Резисторы в сочетании с диодами ограничивает размах входного сигнала значениями -0,6…+5,6В. Наличие на входах микросхемы D4.2 элементов гистерезиса позволяет применять её для более точного переключения логических уровней.
Микросхема 169 АП2 (D7) выполняет функцию формирователя сигналов для линии связи аппаратуры передачи данных (ПК и МК).
3.2 Выбор элементной базы
3.2.1 Выбор элементной базы для адаптера из состава программно-аппаратного комплекса (ПАК) производился с условием технического задания – элементная база должна удовлетворять повышенным производственным требованиям, то есть, требованиям, соответствующим отечественным ГОСТ и ТУ.
3.2.2 В результате сравнения параметров микроконтроллеров отечественного производства для использования в адаптере, с учетом предъявленных технических требований, выбран микроконтроллер типа 1880ВЕ31У [12], обладающий следующими характеристиками:
– интегральная микросхема 1880BE31У предназначена для использования в высокопроизводительных системах обработки информации и устройствах управления специального применения. Для разрабатываемого устройства необходимо не только решение задач управления и регулирования, но обработка данных. Так как перед нами стоит задача сравнения отправленного на ВУ сигнала и принятого, что даёт нам возможность осуществить проверку режима работы ВУ. А так же необходимо передать в память или порты ввода/вывода информации обработанные данные о состоянии цепей.
– имеет асинхронный приемопередатчик с последовательным кодом в полном дуплексном режиме обмена.
– имеет достаточную для использования в ПАК тактовую частоту (12 МГц);
– в отличие от микроконтроллеров некоторых других типов не имеет внутренней памяти программ, что позволяет самостоятельно осуществлять программирование МК и повысить помехоустойчивость;
– обладает достаточным для использования в ПАК набором команд для реализации технического задания;
Микроконтроллер 1880ВЕ31У изготавливается по высокоуровневой n-МОП технологии и выпускается в стандартном корпусе, имеющем 40 выводов. Для работы микроконтроллер требует один источник электропитания +5В. Через четыре программируемых порта ввода-вывода МК взаимодействует с внешними устройствами в стандарте ТТЛ-схем.
1880ВЕ31У имеет два вывода для подключения кварцевого резонатора, четыре вывода для сигналов, управляющих режимом работы МК, и восемь линий порта 3, которые могут быть запрограммированы пользователем на выполнение специализированных (альтернативных) функций обмена информацией со средой.
Микросхема включает в себя следующие основные блоки:
– блок управления;
– арифметическо-логическое устройство;
– блок таймеров/счетчиков;
– блок последовательного интерфейса и прерываний;
– программный счетчик;
– память данных;
Двусторонний обмен информацией между функциональными блоками осуществляется с помощью внутренней восьмиразрядной шины данных.
Система команд микросхем включает 111 команд.
Микросхемы могут работать в следующих режимах:
- только с внешней памятью программ;
- с внутренней и внешней памятью данных.
Режим работы устанавливается комбинацией входных и выходных сигналов.
Инициализация (сброс) микросхемы осуществляется сигналом RST (активный высокий уровень напряжения) при условии подачи на микросхему сигнала синхронизации или при подключенном кварцевом резонаторе.
Режим работы с внешней памятью устанавливается при подаче низкого уровня напряжения на вывод EA и применяется при отладке программ и контроле процессора. При работе с внешней памятью программ выдача младших разрядов адреса А7-А0 на внешнюю память и прием кода команд из внешней памяти осуществляется через порт Р0 (выводы Р0.7-Р0.0). При этом адрес фиксируется по сигналу ALE, а команды принимаются по сигналу PSEN. Старшие разряды адреса А15-А8 выдаются через порт Р2 (выводы Р2.7-Р2.0).
Память программ, в качестве которой выступает внешняя память, предназначена для хранения команд, констант, управляющих слов инициализации, таблиц перекодировки входных и выходных переменных и т.п. Память программ, так же как и память данных, может быть расширена до 64 Кбайт путем подключения внешних БИС.
Регистр памяти данных (РПД) предназначен для хранения переменных в процессе выполнения прикладной программы, адресуется одним байтом и имеет емкость 128 байт. Кроме того, к адресному пространству РПД примыкают адреса РСФ.
РСФ состоит из нескольких регистров, используемых для фиксации и программного изменения управляющих битов и битов состояния схемы прерывания, таймера-счетчика, приемопередатчика последовательного порта и для управления мощностью электропитания микроконтроллера.
Кварцевый резонатор, подключаемый к выводам корпуса МК 1880ВЕ31У, обеспечивает стабильность частоты внутреннего генератора, который, в свою очередь, формирует сигналы синхронизации. Устройство управления (УУ) на основе сигналов синхронизации формирует машинный цикл фиксированной длительности, равной 12 периодам резонатора или шести состояниям первичного управляющего автомата (каждое состояние управляющего автомата содержит две фазы сигналов резонатора).
Большинство команд микроконтроллера выполняется за один машинный цикл. Некоторые команды, оперирующие с двухбайтными словами или связанные с обращением к внешней памяти, выполняются за два машинных цикла. Только команды деления и умножения требуют четырех машинных циклов.
Восьмибитное АЛУ может выполнять арифметические операции сложения, вычитания, умножения и деления; логические операции И, ИЛИ, исключающее ИЛИ, а также операции циклического сдвига, сброса, инвертирования и т.п. В АЛУ имеются программно недоступные регистры Т1 и Т2, предназначенные для временного хранения операндов, схема десятичной коррекции и схема формирования признаков.
АЛУ может оперировать четырьмя типами информационных объектов: булевскими (1 бит), цифровыми (4 бита), байтными (8 бит) и адресными (16 бит). В АЛУ выполняется 51 различная операция пересылки или преобразования этих данных. Так как используется 11 режимов адресации (семь для данных и четыре для адресов), то путем комбинирования «операция-режим адресации» базовое число команд 111 (50 из которых однобайтные, 45-двубайтные, 16-трехбайтные) расширяется до 255 из 256 возможных при однобайтном коде операции.
Блок таймеров/счетчиков предназначен для подсчета внешних событий, получения программно-управляемых временных задержек, выполнения времязадающих функций.
Блок последовательного интерфейса и прерываний предназначен для организации ввода-вывода последовательных потоков информации и организации системы прерывания программ.
Программный счетчик предназначен для формирования текущего 16-ти разрядного адреса внешней памяти программ.
Порты ввода-вывода предназначены для ввода или вывода информации побайтно. Каждый порт содержит управляемый регистр-защелку, входной буфер и выходной драйвер.
Двунаправленный порт Р0 и квазидвунаправленные порты Р1, Р2, Р3 являются портами ввода/вывода и предназначены для обмена информацией МК с внешними устройствами, образуя 32 линии ввода/вывода.
Память данных предназначена для приема, хранения информации, используется в процессе выполнения программ.
3.2.3 Электрическая принципиальная схема ПАК разработана с использованием микросхем серии 1554 отечественного производства [8]. Она была выбрана по результатам сравнительной характеристики серий микросхем, представленной на рис.1.Так, в сочетании с высоким быстродействием, микросхемы серии КР1554 обладают низкой потребляемой мощностью и большой нагрузочной способностью. Что позволяет разработчикам аппаратуры существенно улучшить технические и технико-экономические характеристики разрабатываемых изделий.
Микросхемы серии КР1554 изготавливаются по 1.4 мкм КМОП технологии с окисной изоляцией, поликремневым затвором. Используется двухуровневая металлизация, которая позволяет наряду с уменьшением размеров кристалла получить уменьшение амплитуды помех по шинам земли и питания. Серия 1554 микросхем обладает следующими характеристиками:
– низкая потребляемая мощность - 0,0025 мВт/вентиль при частоте переключения 1 МГц (характерно для микросхем, изготовленных по КМОП технологии, в отличие от ТТЛШ, которые имеют ток потребления в статическом режиме на три порядка больше - 1,2 мВт/вентиль на этой частоте)
– высокое быстродействие время задержки распространения 4 нс;
– работоспособность в широком диапазоне напряжений питания от 3,3 до 5,5 В, чем не обладают биполярные микросхемы (4,5 – 5,5 В);
– относятся к помехоустойчивым сериям микросхем, что снижает стоимость оборудования, т.к. позволяет снизить затраты на обеспечение необходимых гальванических развязок, и других мер защиты от помех, а также облегчает требования к топологии печатных плат;
– низкие значения входных токов (доли микроампер) и мощные выходные каскады, обеспечивающие выходные токи в десятки миллиампер, что позволяет подключать к ним нагрузки и без дополнительного усилителя сигнала. Это повышает надежность систем, т.к. не требуются дорогостоящие стабилизированные источники питания большой мощности, теплоотводы и т.д.

Микросхема 1554 ИР22 – восьмиразрядный регистр на D-триггерах с потенциальным входом C. Выходные буферные каскады микросхемы устанавливаются в третье состояние, если на вход разрешения состояния высокого импеданса EZ подано напряжение высокого уровня. Используется в качестве регистра-защелки для того чтобы было возможно использовать адреса А0-А7, которые убираются с линий порта Р0, давая возможность вести обмен данными. Третье состояние используется для отключения устройства, что необходимо для нормальной работы шины, так как только одно устройство может выставлять данные на магистраль.
Микросхема 1554 ИР23 – восьмиразрядный управляемый по фронту регистр с параллельным вводом-выводом данных с тремя состояниями на выходе. Регистр на D-триггерах с динамическим входом С. Выходные буферные каскады микросхемы устанавливаются в третье состояние, если на вход разрешения состояния высокого импеданса EZ подано напряжение высокого уровня. Два регистра с асинхронной записью информации 1554ИР23 представляют собой ячейки оперативной памяти. Каждой ячейке оперативной памяти соответствует одно реле (один ключ), отвечающий за подключения питания на тестируемые цепи.
Микросхема 1554 ТЛ2 содержит шесть идентичных логических элементов со стандартными активными выходами, выполняющих Булеву функцию
.
Наличие на входах элементов гистерезиса позволяет использовать микросхему в качестве формирователя сигналов.
Микросхема 1554ЛИ1 состоит из четырех независимых логических вентилей в одном корпусе, выполняющих функцию 2И.
Микросхема 1554 КП7 представляет собой селектор-мультиплексор из 8 в 1 и в зависимости от установленного на входах SED1 – SED3 кода разрешает прохождение сигнала на выходы Y и не Y только от одного из восьми информационных входов D0 – D7, при этом на входе разрешения выбора данных должно быть установлено напряжение низкого уровня. Выбор этой микросхемы основывается именно на количестве и назначении выводов (из 8 в 1), так как нам необходимо получить сигнал от одной из 8 цепей. Так как общее количество тестируемых цепей 16, то используем две микросхемы и задействуем два порта МК.
Микросхема 1554 ИД7 представляет собой дешифратор/демультиплексор 3 на 8. Используем микросхему в качестве дешифратора, тогда входы D0, D1, D2 являются информационными, а входы ST1, ST2, ST3 – входы разрешения. На входы подаётся адрес от МК (в виде двоичного кода), который возбуждает один из 8 выходов, при этом входы разрешения должны быть активными. Выбор этой микросхемы основывается именно на количестве и назначении выводов (8 выходов), так как необходимо управлять подключением восьми цепей внешнего устройства.
3.2.4 В качестве ПЗУ микроконтроллера 1830ВЕ31У целесообразно использовать микросхему памяти матричного типа 1623РТ2А, с возможностью однократного программирования информационной емкостью (8Кх8 бит). Программирование осуществляется электрически посредством пережигания поликремниевых перемычек. Микросхема памяти 1623РТ2А устойчива к воздействиям спец факторов и обладает достаточным объемом памяти. Использование микросхем с электрическим и ультрафиолетовым стиранием нецелесообразно из-за возможности потери информации при прохождении высоковольтных помех по цепям питания и воздействии ярких вспышек света. Потеря информации с микросхем матричного типа возможна только при физическом разрушении самого кристалла.
3.2.5 Микросхема 537 РУ9 используется в качестве ОЗУ микроконтроллера 1830ВЕ31У. Статическая память с байтовой организацией объёмом 2К×8 бит (1К=1024). Относится к серии КМДП-микросхемам статических ОЗУ. Для них характерно сравнительно невысокое быстродействие, высокая помехоустойчивость, малая потребляемая мощность, способность сохранять записанную информацию при напряжении питания 1,5…3В, по входу и выходу совместимы с ТТЛ уровнями. Достоинства таких микросхем: большая емкость, специфика энергопотребления (нет сквозного тока), ток утечки мал. Существуют динамические ОЗУ запоминающая ячейка – конденсатор, который способен разряжаться, что является отрицательным качеством, так как теряется хранящаяся информация.
3.2.6 Кварцевый резонатор, подключаемые к выводам корпусов микроконтроллера 1880ВЕ31У, обеспечивает стабильность частот внутренних генераторов, которые, в свою очередь, формируют сигналы синхронизации. Для подключения к микроконтроллеру 1880ВЕ31У выбран кварцевый резонатор РК386ММ с частотой импульсов 11.059 МГц.
3.2.7 Микросхема 169 АП2 основное функциональное назначение которой – формирования сигналов для линии связи аппаратуры передачи данных. Микросхема преобразовывает уровни логических «1» и «0» в +12 и -12В, и обратно, для обмена на информацией по последовательному каналу связи RS-232.
3.2.8 Микросхемы 1НТ251 - транзисторные сборки, состоящие из четырёх кремниевых n-p-n переключательных высокочастотных маломощных транзисторов. Выбраны в качестве переключающих систем, именно в этом заключается их основное применение.
3.2.9 Микросхема K140УД1701A – прецизионный (высокочастотный) операционный усилитель [2]. Используется для усиления малых электрических сигналов, сопровождаемых высоким уровнем помех. Характеризуется малым значением напряжения смещения и его температурным дрейфом, большими коэффициентами усиления и подавления синфазного сигнала, большим входным сопротивлением и низким уровнем шумов. В ПАК операционные усилители используются в семе измерения напряжения на контактах ключей. Так как наша задача сравнить два значения сигналов поступающих на входы ОУ, то необходимо что бы усиление дифференциального сигнала было намного больше усиления синфазного сигнала и коэффициент ослабления синфазного сигнала (КОСС) был максимальным. Именно этими свойствами обладает данный тип усилителей.
3.2.10 В качестве дискретных ЭРИ были выбраны:
– диод 2Д522Б [5];
– конденсаторы К10- 17 и К10- 47;
– резисторы С2-33Н [7];
– транзистор КТ3107 (кремниевые p-n-p), обладающий необходимыми параметрами для усиления, генерирования и переключения сигналов низкой и высокой частот [4];
– реле РЭС80А – слаботочное низкочастотное электромагнитное реле, основное назначение – коммутация электрических сигналов с частотами до 10 – 1000 КГц при соответствующем уменьшении нагрузки;
– соединители 2РМД и ГРПМ1-45ШУ2-В, отличающиеся достаточной надежностью и малыми габаритами.
3.3 Выбор кода обмена между адаптером и персональным компьютером
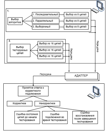
3.3.1 В режиме формирования параметров проверки задача пользователя выбрать алгоритм включения (параллельный, последовательный, выборочный) цепей, необходимые цепи для включения питания (из 8) и проверки (из 16). Передать выбранные параметры в адаптер, получив ответ (корректное подключение, не корректное подключение) отобразить формат ошибки. Структура действий показана на рисунке 3.1.
3.3.2 Обмен информацией между ПЭВМ и адаптером происходит по последовательному каналу связи согласно протоколу RS-232. Согласно выбранной последовательности кодограмма обмена ПЭВМ и адаптера имеет вид представленный на рисунке 3.2.
Управляющее слово состоит из четырёх байт:
– 1 байт – номер режима;
– 1 байт – выбор цепей, к которым подключается питание;
–-2 байта – выбор цепей, подлежащих тестированию.

Рисунок 3.1 – Последовательность действий пользователя ПЭВМ
Размер поля «Выбор цепей подключения питания» определяется количеством цепей, на которые необходимо подавать питание (в нашем случае, количество цепей подачи питания – 8, поэтому выбирается 1 байт, каждый бит которого соответствует срабатыванию одного из восьми реле. Состояние логической «1» – подача питания на соответствующий ключ, состояние логического «0» – ключ остаётся в исходном состоянии). Размер поля «Выбор цепей тестирования» определяется количеством проверяемых цепей (в нашем случае, количество цепей – 16, поэтому выбирается 2 байта, каждый бит которых соответствует состоянию одной из цепей. Состояние логической «1» – осуществляется проверка, состояние логического «0» – не проверяется.

Рисунок 3.2 – Кодограмма обмена ПЭВМ и адаптера
3.3.3 Сформированная посылка размером 4 байта и содержащая параметры проверки состояния цепей передаётся в адаптер, который осуществляет подключение и проверку цепей в соответствии с заданным режимом и отправляет ответ о корректности работы проверяемого устройства в виде трёх слов состояния.
Каждое слово содержит информацию об ошибках в тестируемых цепях. Размер слова 3 байта. Первый байт отвечает за вид (форму ошибки). Возможно три варианта: ошибка состояния цепей до начала тестирования, ошибка подключения во время тестирования, ошибка восстановления после окончания тестирования. В каждом слове фиксированное значение режима. Первое слово значение первого байта 0000 0001 – ошибка состояния цепей до начала тестирования. Второе слово значение первого байта 0000 0010 – ошибка подключения во время тестирования. Третье слово значение первого байта 0000 0011 – ошибка восстановления после окончания тестирования. В каждом слове фиксированное значение режима. Второй и третий байт отвечают за номер цепи, в которых обнаружена ошибка. Один бит соответствует одной из 16 цепей. В результате ответа адаптера в ПЭВМ должно придти три слова, в которых указано номер и вид ошибки. Заданные параметры и результаты тестирования анализируются и отображаются на мониторе ПЭВМ.
3.4 Общее программное обеспечение
3.4.1 В устройствах управления физической установкой (контроллерах) на основе микро-ЭВМ аппаратурные средства и программное обеспечение существуют в форме неделимого аппаратно-программного комплекса. При проектировании контроллеров приходится решать одну из самых сложных задач разработки, а именно задачу оптимального распределения функций контроллера между аппаратурными средствами и программным обеспечением. Решение этой задачи осложняется тем, что взаимосвязь и взаимовлияние аппаратных средств и программного обеспечения в микропроцессорной технике претерпевают динамичные изменения. Если в начале развития МП-техники определяющим было правило, в соответствии с которым аппаратные средства обеспечивают производительность, а программное обеспечение – дешевизну изделия, то в настоящее время это правило нуждается в серьезной корректировке.
Так как МК представляет собой стандартный массовый (относительно недорогой) логический блок, конкретное назначение которого определяет пользователь с помощью программного обеспечения, то с ростом степени интеграции и, следовательно, функционально-логических возможностей МК резко понижается стоимость изделия в пересчете на выполняемую функцию, что в конечном итоге и обеспечивает достижение высоких технико-экономических показателей изделий на МК. При этом затраты на разработку программного обеспечения изделия в 2 – 10 раз превышают (за время жизни изделия) затраты на приобретение и изготовление аппаратных средств.
Структурная схема программного обеспечения ПАК приведена на рисунке 3.3. Общее программное обеспечение ПАК состоит из программного обеспечения ПК и программного обеспечения адаптера. Более подробное описание этих блоков приводится ниже.
3.4.2 Программное обеспечение адаптера.
Программное обеспечение (ПО) адаптера включает в себя:
– ПО обмена данными;
– ПО обработки информации;
– тестовое ПО.
ПО обмена данными выполняет следующие функции:
– обеспечивает прием/передачу данных от персонального компьютера по последовательному порту;
– обеспечивает обмен данными с объектом тестирования по параллельно-последовательному интерфейсу;
– выполняет функцию согласования скоростей приема/передачи данных между ПК, адаптером и объектом тестирования.

Рисунок 3.3 – Структурная схема программного обеспечения программно-аппаратного комплекса
ПО обработки информации выполняет действия над данными (чтение/запись в ОЗУ, математическая и логическая обработка), необходимые для согласования персонального компьютера и объекта тестирования.
Тестовое программное обеспечение выполняет проверку работоспособности системы, в частности обеспечивает тестирование ОЗУ, проверку отдельных каналов параллельно-последовательного интерфейса связи с объектом тестирования, проверку последовательного порта связи с персональным компьютером. Все программное обеспечение адаптера написано на языке ASM MK-51.
3.4.4 Программное обеспечение персонального компьютера.
ПО ПК включает в себя:
– стандартное ПО;
– интерфейс пользователя;
– ПО обмена и обработки данных.
Стандартное ПО персонального компьютера должно содержать: BIOS, DOS версии 6.22. Для обеспечения удобства использования интерфейса пользователя, в составе стандартного ПО могут использоваться Norton Commander версии 5.00 и Windows версии 3.11.
Программа-интерфейс пользователя выполняет следующие функции:
– обеспечивает ввод/вывод данных, необходимых для управления процессом проверки;
– выполняет обработку данных, вводимых пользователем и получаемых от адаптера в соответствии с задачами управления.
3.5 Расчетная часть
3.5.1 Произведем расчет функционального узла адаптера – измерительной схемы [1] на трех операционных усилителях [2], которая показана на рисунке 3.4.
Схема, представленная на рисунке 3.4, построена так, что она усиливает только разность напряжений, поданных на её входы, и не реагируют на синфазное напряжение. Представляет собой дифференциальный усилитель на каждый вход, которого поступает сигнал с операционных усилителей, включенных как неинвертирующие повторители. Данная схема предназначена для измерения разности потенциалов между двумя точками электрической цепи (контакты ключей ВУ). Для измерения напряжения на контактах ключа необходимо чтобы усиление дифференциального сигнала было намного больше усиления синфазного сигнала, в этом случае коэффициент ослабления синфазного сигнала (КОСС) будет максимальным.

Рисунок 3.4 – Измерительная схема на трех операционных усилителях
При выполнении соотношения R4 R7 = R5 R6 , достигается оптимальный КОСС и Uвых = (U/ 1 – U/ 2 )R5 / R4. . Напряжение на резисторе R 1 составляет
U 1 – U 2 . Отсюда следует, что U/ 1 – U/ 2 = (1+(R2 +R3 /R1 ))(U1 – U2 ), тогда
Так как необходимо проверить сопротивление цепи при замкнутом или разомкнутом ключе (разомкнут – R > 106 Ом, замкнут – R < 0,5 Ом) и обеспечить согласование с логикой КМОП (так как сигнал с выхода операционного усилителя поступает на входы микросхемы 1554 КП7 – мультиплексор), то с помощью подбора резисторов определяем нужный коэффициент усиления. Необходимо обеспечить R < 0,5 Ом при токе в 1А, входной уровень нуля для КМОП < 0,3 Uпит, то есть 0,3 · 5 = 1,5 В, следовательно Кд = 1,5 В / 0,5 Ом · 1 А = 3. Входной уровень единицы для КМОП > 0,7 Uпит, то есть 0,7 · 5 В = 3,5 В, если измеренное напряжение ≥ 3,5 В, то ключ разомкнут и сопротивление можно считать достаточно высоким.
Итак,
(3.1)
Обычно выбирается R 2 = R 3 и R 4 = R 5 = R 6 = R 7 .
Типичное значение сопротивления R1 не менее 1 кОм, чтобы исключить перегрузку источника сигналов (потребление от него чрезмерно большого тока). Для соблюдения равенства в формуле (3.1) необходимо чтобы выполнялось соотношение R2 + R3 = R1, следовательно, выбираем в качестве резисторов R1, R2, R3 резисторы типа C2-33H-0,125-1 кОм +5%-А-Д-В.
Типичное значение сопротивлений R4 и R6 составляет около 10 кОм. Выбираем в качестве резисторов R4 = R6 = R5 = R7 резисторы типа C2-33H.
3.5.2 Произведем расчет функционального узла адаптера [3] – схемы подачи питания на ВУ, приведенной на рисунке 3.5.

Рисунок 3.5 – Транзисторный каскад для управления реле
Основу схемы составляют транзистор VT1 (КТ3107А) и транзисторная матрица DA1 (1HT251) работающие в режиме насыщения как переключающие элементы и управляющие реле. Микросхемами 1554ИР23 (регистры) осуществляющие выбор одного из 16 таких каскадов. Для того чтобы замкнуть контакт реле, необходимо записать в соответствующую ячейку регистра логический «0» (уровень напряжения логического нуля – 1,5 В). Тогда входное напряжение или потенциал точки 1 равен 1,5 В, а входной ток равен 2 мА (I R1 =2 мА). Напряжение в точке 2 (на базе VT1) при открытом переходе база-эмиттер составляет 4,4 В.
Тогда падение напряжения на резисторе R1:
UR1 = U2 – U1 = 4,4 – 1,5 = 2,9 В.
Находим сопротивление резистора R1:
R1 = U R1 / I R1 = 2,9 /2 × 10-3 = 1,45 кОм.
Принимаем в качестве резистора R1 резистор типа
C2-33H-0,125-1,5 кОм +5%-А-Д-В [7].
Резисторы R2 и R4 создают путь для токов I1, I2 рассасывания неосновных носителей при переключении из логического состояния «1» в «0». Типичное значение сопротивления составляет от нескольких до 10 кОм [11]. Выбираем в качестве резисторов R2 и R4 резисторы типа C2-33H-0,125-5.1 кОм+5%-А-Д-В [7].
Резистор R3 обеспечивает протекание тока через базу транзистора VT2. Рассчитаем значение сопротивления резистора R3 исходя из параметров схемы. Входной ток (отрицательной полярности) Iвх = 2 мА, является током базы. Iк = β × Iб, β – коэффициент усиления по току, для VT1 составляет
70-120, берём среднее значение β = 100. Iк = 100 × 2 × 10-3 = 0,2 мА = I R3 . Ток коллектора для VT1 является током базы для VT2 (Так как резистор R4 является достаточно большим и ток через него можно считать незначительным). Напряжение на резисторе R3 равно UR3 = U4 – U3 .
При открытом транзисторе на переходе эмиттер-коллектор падает напряжение 0,1 В, тогда напряжение в точке 3 определяется:
U3 = Uп – Uкэ = 5 – 0,1 = 4,9 В.
Напряжение в точке 4 (на базе VT2) при открытом переходе база-эмиттер составляет 0,6 В. Соответственно падение напряжение на резисторе R3: UR3 = U4 – U3 = 4,9 – 0,6 = 4,3 В [10].
Находим сопротивление резистора R3:
R3 = UR3 / IR3 = 4,3/ 0,2 = 21,5 Ом
Принимаем в качестве резистора R3 резистор типа C2-33H-0,125-22 Ом +5%-А-Д-В.
Выключение выходов регистров производится путем перевода выходов регистров в Z-состояние. При этом все реле выключаются (закрываются транзисторные ключи).
Время включенного состояния реле будет равно времени между записью в регистр логической «1» и логического «0».
Реле должно управлять подключение питания к выбранным цепям ВУ. Для этого на разъем через ключевой элемент реле подаётся питание +5В, при этом обеспечивая протекание тока величиной 1А через резистор R типа C2-33H-0,125-4,7 Ом +5%-А-Д-В [7].

Рисунок 3.6 – Схема подачи питания через ключевой элемент реле
4. Экономическая часть
В экономической части дипломного проекта составлена калькуляция затрат на разработку устройства. При этом, затраты на научно-исследовательскую разработку (НИР) определяются суммированием затрат на заработанную плату рабочим, принимающим участие в разработке и изготовлении устройства, а также затраты на закупку ЭРИ и материалов для изготовления устройства. Для создания программного обеспечения (ПО) использовался персональный компьютер.
Для составления калькуляции приняты следующие исходные данные: продолжительность работы – 4 месяца, количество рабочих дней в месяце – 21 дней.
Трудоёмкость разработки устройства и расчёт затрат на основные материалы показаны в таблице 4.1.
Таблица 4.1 Трудоёмкость разработки ПАК
| № |
Этапы разработки |
Затраты труда по этапам, ч/дн |
Затраты труда по этапам, % |
| 1 |
Изучение и анализ задачи |
4 |
7 |
| 2 |
Изучение и анализ научно-технической литературы |
6 |
11 |
| 3 |
Выбор методов и средств |
3 |
6 |
| 4 |
Разработка структурной схемы устройства |
4 |
7 |
| 5 |
Разработка электрической принципиальной схемы устройства |
15 |
16 |
| 6 |
Расчет электрической принципиальной схемы |
15 |
16 |
| 7 |
Разработка и отладка ПО устройства |
8 |
12 |
| 8 |
Оформление пояснительной записки |
20 |
17 |
| 9 |
Внесение необходимых исправлений в текст пояснительной записки |
5 |
8 |
| ИТОГО: |
80 |
100 |
4.1 Разработка программно-аппаратного комплекса для проведения специальных проверок электронных устройств (ПАК)
4.1.1 Зарплата основного производственного персонала:
Оклад лаборанта составляет 3225 рублей + 20% – зональные + 20% – премия. Полная зарплата составляет 3225×1.4 = 4515 руб. При 21 рабочем дне в месяц стоимость одного человеко/дня составляет 215 рублей. На разработку устройства исполнителю потребовалось 80 человеко/дней. Исходя из этого, основная зарплата исполнителя: 215×80 = 17200 руб.
Оклад руководителя (начальник группы) составляет 7955 рублей +
+ 20% – зональные, + 35% –премия. Полная зарплата составляет 7955×1.55 = 12330.25 руб. При 21 дне в месяц стоимость одного человеко/дня составляет 587.15 рублей. На разработку устройства руководителю потребовалось 20 человеко/дней. Исходя из этого, основная зарплата руководителя: 587.15×20= 11743.10руб.
Итого, основная заработная плата основного производственного персонала: 17200+11743.10 = 28943.10руб.
Таблица 4.2 Расчёт заработной платы
| Оклад, руб. |
Стоимость одного чел./дня, руб. |
Основная З/П, руб. |
|
| Руководитель |
7955 |
587.15 |
11743.10 |
| Лаборант |
3225 |
215.00 |
17200 |
| ИТОГО |
11180 |
802.15 |
28943.10 |
4.2. Изготовление макета адаптера
4.2.1 Компоненты для устройства.
Все компоненты, требуемые для изготовления устройства, их количество и стоимость приведены в таблице 4.3.
Таблица 4.3 Компоненты для изготовления адаптера
| Компонент |
Наименование |
Количество |
Стоимость одного компонента, руб. |
Итого, руб. |
| Конденсаторы |
К10-17А-М47- 22пФ ± 5% |
2 |
18 |
36 |
| К52-1БМ1-32В-10мкФ± 20% |
1 |
350 |
350 |
|
| Резисторы |
С2-33Н-0.125- 10 кОм ± 5% |
48 |
0.5 |
24 |
| С2-33Н-0.125- 1 кОм ± 5% |
48 |
0.6 |
28.8 |
|
| С2-33Н-0.125- 4.3 кОм ± 5% |
2 |
0.6 |
1.2 |
|
| С2-33Н-0.125- 22 Ом ± 5% |
24 |
0.6 |
14.4 |
|
| С2-33Н-0.125- 5.1 кОм ± 5% |
24 |
0.6 |
14.4 |
|
| С2-33Н-0.125- 1.5 кОм ± 5% |
24 |
0.6 |
14.4 |
|
| С2-33Н-0.125- 680 Ом ± 5% |
1 |
0.6 |
0.6 |
|
| Резонаторы |
РК386ММ-6ДС-12 МГц |
1 |
20 |
20 |
| Транзисторная матрица |
1НТ251А |
6 |
110 |
660 |
| Соединители |
2РМД |
1 |
100 |
100 |
| ГРПМ1-45ШУ2-В |
1 |
45 |
45 |
|
| Транзисторы |
КТ3107 |
24 |
1.5 |
36 |
| Диоды |
2Д522Б |
26 |
4 |
104 |
| Реле |
РЭС80 |
24 |
100 |
240 |
| Микросхемы |
М1623РТ2 |
1 |
2490 |
2490 |
| 1880ВЕ31У |
1 |
69 |
69 |
|
| 1554ИР23 |
2 |
20 |
40 |
|
| 1554ИР22 |
1 |
20 |
20 |
|
| 1554ЛИ1 |
2 |
17 |
34 |
|
| 1554ТЛ2 |
2 |
19 |
38 |
|
| 1554КП7 |
2 |
20 |
40 |
|
| 1554ИД7 |
1 |
20 |
20 |
|
| 537РУ9 |
1 |
230 |
230 |
|
| 169АП2 |
1 |
70 |
70 |
|
| К140УД1701А |
5 |
50 |
250 |
|
| Материалы (S) |
4989.8 |
Итого, затраты на основные материалы, требуемые для изготовления устройства, составляют 4989.8 рублей.
4.2.2 Расчет основной заработной платы производственного персонала участвующего в изготовление платы адаптера.
а) Изготовление печатной платы.
Исходя из того, что изготовление двухсторонней печатной платы размером 1 дм2 стоит 260 руб., а размеры платы адаптера 2.4 × 1.5 дм, ее стоимость составляет: Спп =260 × 2.4 × 1.5 = 936 руб.
б) Монтаж электронных компонентов выполняет монтажник РЭА 6 разряда, оклад которого 4190 руб. в месяц. Для выполнения работы ему потребовалось 5 рабочих дней.
Основная заработная плата за 5 рабочих дней составляет:
Смэк
=
руб.
в) Настройку печатных плат выполняет инженер-регулировщик РЭА 3 категории, оклад которого 5300 р. в месяц. Для выполнения работы ему потребовалось 5 рабочих дней.
Основная заработная плата за 5 рабочих дней составляет:
Сн пп
=
руб.
г) Технический контроль качества платы выполняет контроллер ОТК 7 разряда, оклад которого 4560 р. в месяц. Для выполнения работы ему потребовалось 2 рабочих дня.
Основная заработная плата за 2 рабочих дня =
руб.
Итого, основная заработная плата производственного персонала участвующего в изготовление платы ПАК составляет 3629.81 рублей.
4.2.3 Данные, используемые при расчете основной заработной платы работников отделения, были получены из документа: «Единая тарифная сетка для оплаты труда промышленно-производственного персонала института» (введена в действие приказом директора ФГУП РФЯЦ – ВНИИЭФ № 170/п от 24.10.2007г.)
4.3 Плановая калькуляция
Расчет полной себестоимости ПАК с учетом затрат на разработку и производство платы адаптера приведен в таблице 4.4.
Калькуляционная единица – одна штука.
Таблица 4.4 Расчет производственной себестоимости комплекса
| №. |
Статьи калькуляции |
Разработка, руб. |
Изготовление, руб. |
Примечания |
| 1 |
Стоимость компонентов |
– |
4989.80 |
|
| 2 |
Зарплата основная |
28943.10 |
3629.81 |
|
| 3 |
Зарплата дополнительная |
2894.31 |
362.98 |
10 % от п.2 |
| 4 |
Отчисления в фонды социального страхования |
8277.73 |
1038.13 |
26% от п.(2+3) |
| 5 |
Накладные расходы отделения |
578.86 |
1088.94 |
30 % от п.2 |
| 6 |
Общезаводские расходы |
22286.18 |
3883.90 |
70 % от п.(2+3) |
| 7 |
Производственная себестоимость |
62980.18 |
14993.56 |
Сумма п.(1+…+6) |
Таким образом, производственная себестоимость разработки и изготовления ПАК составляет 77973.75 рублей.
4.4. Оценка эффективности разработки.
Сферой расчета экономического эффекта является военная отрасль, в которой предполагается использовать данную разработку.
Экономический эффект данной разработки относительно существующих аналогов заключается в виде экономии средств затрачиваемых на производство и применение. Существующие аналоги обладают избыточными функциями, которые затрудняют их применение в данной отрасли (выполняют избыточные измерения, не требуемые для заданного класса приборов). В результате создания нового упрощённого устройства, отвечающего заданным техническим требованиям, повышается производительность труда, так как базовый прибор является универсальным и требует высококвалифицированных специалистов, а проектируемое устройство позволяет проводить испытания и подготовку аппаратуры, предназначенной для тестирования, в полевых условиях без привлечения специалистов высокой квалификации (достаточно квалификации монтажника РЭП 6 разряда). Так же повышается экономичность, так как цена проектируемого устройства примерно в 10 раз меньше базового.
Спроектированное устройство выполнено на элементной базе отечественного производства (ограничение наложено «Межотраслевым ограничительным перечнем» применяемом в Росатоме). Применение элементов с приёмкой «5» обусловлено использованием разрабатываемого устройства в военной отрасли. На ИВП с приёмкой «5» изготовитель даёт более высокий срок службы элементов (до 15…25 лет).
В связи с тем, что разработанное устройство должно применяться в специальных отраслях промышленности, маркетинговый анализ не приводится.
5. Охрана труда
Охрана труда – это система законодательных актов, социально-экономических, организационных, технических, гигиенических и лечебно-профилактических мероприятий и средств, обеспечивающих безопасность, сохранение здоровья и работоспособности в процессе труда.
Полностью безопасных и безвредных производств не существует.
Задача охраны труда – свести к минимуму вероятности поражения или заболевания работника, с одновременным обеспечением комфорта при максимальной производительности труда.
Однако состояние условий труда и его безопасности в большинстве случаев не удовлетворяют современным требованиям. Реальные производственные условия характеризуются, как правило, наличием некоторых опасных и вредных производственных факторов.
Имеющийся в настоящее время комплекс разработанных организационных мероприятий и технических средств защиты позволяет значительно уменьшить воздействие на работников опасных и вредных производственных факторов. К самым опасным и вредным факторам относятся:
– электрический ток;
– низкоэнергетические рентгеновские и УФ излучения;
– электромагнитные излучения высоких и низких частот;
– статическое электричество;
– неудовлетворительное освещение;
– дискомфортный микроклимат;
– изнуряющая монотонность;
– шумы и вибрации;
– скованность;
– неудобство позы в течение всей рабочей смены.
Воздействие этих факторов приводит к снижению работоспособности, связанному с развивающимся утомлением.
Общие требования.
В связи с автоматизацией процессов производства и
управления, разработкой систем автоматизации проектных, исследовательских и технологических работ широкое применение получили вычислительная техника и видеотерминальные устройства.
Создание и широкое внедрение быстродействующих электронно-вычислительных машин на основе микропроцессоров обусловило значительное увеличение в нашей стране количества вычислительных центров и соответственно численности работников, обеспечивающих функционирование вычислительной техники. Одновременно с этим изменился характер труда, его содержание и условия, в которых он осуществляется.
Труд работников ВЦ (математиков-программистов, операторов ЭВМ, операторов ВТ, инженерно-технических работников) при решении производственных задач сопровождается необходимостью активизации внимания и других высших психических функций.
Условия труда математиков-программистов и операторов ВТ характеризуются высокой интенсивностью труда, монотонностью производственного процесса, гипокинезией и гиподинамией, психоэмоциональным напряжением, возможностью воздействия на них комплекса вредных и опасных производственных факторов: шума, тепловыделений, вредных веществ, ионизирующих и неионизирующих излучений, электромагнитных полей, статического электричества, недостаточно удовлетворительных метеорологических условиях, недостаточной освещенности, специфических условий зрительной работы, параметров технологического оборудования и рабочего места, возможностью поражения электрическим током.
Санитарно-гигиенические и эргономические требования к условиям труда математика-программиста.
Все работы, связанные с выполнением проекта, проводились строго с соблюдением санитарно-гигиенических и эргономических требований, а также требований техники безопасности.
Рабочее место для выполнения работ полностью соответствует требованиям (“Гигиенические требования к видеодисплейным терминалам, электронно-вычислительным машинам и организации работ”. Санитарные правила и нормы. СанПиН 222/2.4.1.340-03). и требованиям технической эстетики. Благодаря точному выполнению “Гигиенических требований к видеодисплейным терминалам, электронно-вычислительным машинам и организации работ” воздействие вредных и опасных факторов в ВЦ не превышает норм, установленных данными правилами.
Требования к размещению помещений и аппаратуры.
В целях оптимизации условий труда работников ВЦ размещение помещений должно быть осуществлено по принципу однородности видов выполняемых работ: видеотерминалы должны быть установлены в помещении, смежном и изолированном от помещения, где расположена электронно-вычислительная техника, печатающие устройства (для вывода информации), графопостроители и дисковые накопители, а дверные проходы должны быть выполнены без порогов, что исключает проникновение шума и избытков тепла от работающей техники в зал, где расположены рабочие места математиков-программистов и операторов ЭВМ.
Вычислительные машины должны быть установлены и размещены в соответствии с требованиями технических условий завода-изготовителя в один ряд с минимальной шириной прохода с передней стороны пультов и панелей управления оборудованием более 1 метра. Площадь помещения для работников ВЦ предусмотрена не менее 6 м2 , на одного человека, а кубатура не менее 20 м3 с учетом максимального числа одновременно работающих в смену.
Требования к микроклимату помещений.
Для отвода избытков тепла, подачи свежего воздуха и поддержания нормативных параметров микроклимата в ВЦ должна быть предусмотрена автоматическая система вентиляции, отопления и кондиционирования воздуха, которая должна быть выполнена в соответствии с главой “Санитарные нормы микроклимата” № 4088-86 данная система обеспечивает автоматическое поддержание параметров микроклимата в необходимых пределах в течении всех сезонов года, очистку воздуха от вредных веществ и пыли, создание небольшого избыточного давления в чистых помещениях для исключения поступления неочищенного воздуха. Требования к микроклимату в помещениях в разные периоды года приведены в таблице 5.1.
Таблица 5.1.
| Период года |
Категория работ |
Температура, С0 |
Относительная влажность |
Скорость движения воздуха, м/с |
| Холодный |
легкая 1б |
21-23 |
40-60 |
0.1 |
| Теплый |
легкая 1б |
22-24 |
40-60 |
0.2 |
Требования к источникам шума.
Основные источники шума: печатающие устройства, графопостроители, дисковые накопители ЭВМ, вентиляторы, трансформаторы, а также оборудование для кондиционирования воздуха установленные в изолированных помещениях, потолки, и стены которых облицованы специальными перфорированными и минераловатными плитами. Таким же звукопоглотителем облицованы стены и потолки в помещении, где расположены рабочие места операторов и программистов. Согласно: “Санитарных норм допустимых уровней шума на рабочих местах” № 3223-03 уровень шума не должен превышать 50 дБ.
Требования к освещению помещений.
В помещениях ВЦ предпринят комплекс мер по созданию оптимальной световой среды и организации рационального естественного и искусственного (смешанного) освещения. Естественное освещение должно быть односторонним. Для общего освещения используются потолочные светильники рассеянного светораспределения с люминесцентными лампами “теплого” белого света. Светильники должны быть расположены сбоку от рабочих мест, что исключает засветку экранов прямыми световыми потоками. Во второй половине дня, при ярком солнце, в помещение может попадать световой поток прямых солнечных лучей повышенной яркости и, чтобы ограничить слепящее воздействие светопроёмов, на окнах должны быть предусмотрены шторы.
Искусственное освещение в помещении и на рабочих местах создает хорошую видимость информации на экране, машинописного и рукописного текста и других рабочих материалов. При этом в поле зрения работающих должны быть обеспечены соотношения яркости рабочих и окружающих поверхностей, максимально ограничена отраженная блёскость от экрана и функциональной клавиатуры в результате отражения в них световых потоков от светильников и источников света. Для лучшего восприятия информации на экране и повышения чувствительности глаз, стены должны быть окрашены в оливково-зеленый цвет и имеют матовую фактуру. Уровень освещенности при работе операторов и программистов с дисплеями негативного изображения, одновременно с документацией должен составлять не ниже 500 лк, что соответствует нормативным величинам по СанПиН 222/2.4.1.340-03. В ВЦ должно быть предусмотрено также и аварийное освещение.
Требования к излучению в рабочих помещениях.
Видеотерминальные устройства генерируют несколько типов излучения, в том числе рентгеновское, радиочастотное, видимое и ультразвуковое. Однако уровни этих излучений достаточно низки и не превышают действующих норм. На расстоянии 30 см от экрана интенсивность электромагнитного излучения снижается до 0.3¸2.4 В/м, интенсивность ультрафиолетового и инфракрасного излучения составляет 10¸100 мВт/м2 , мощность рентгеновского излучения 40 мкР/ч. Напряженность электрического поля между терминалом и оператором составляет 5¸15 кВ/м, что приводит к уменьшению отрицательных ионов в воздухе помещения, поэтому персонал обязан проводит регулярное проветривание помещения.
Для предотвращения образования статического электричества в помещении ВЦ используют увлажнители, а полы должны имеют антистатическое покрытие. Уровни электростатических полей не превышают 20 кВ в течение 1 часа (СанПиН 222/2.4.1.340-03).
Требования к оборудованию рабочего места.
Одними из самых важных требований, предъявляемых к рабочему месту программиста, являются эргономические и антропометрические требования к конструкции рабочей мебели. В помещении ВЦ используются нерегулируемые столы высотой 720 мм и размерами столешницы 1600Х900 мм, а размеры под столешницей соответствуют требованиям “Гигиенические требования к видеодисплейным терминалам, электронно-вычислительным машинам и организации работ”. Санитарные правила и нормы. СанПиН 222/2.4.1.340-03. Рабочие стулья должны быть снабжены подъемно-поворотным устройством, обеспечивающим регуляцию высоты сиденья и спинки, а также устройством, регулирующим изменение угла наклона спинки. Размеры рабочей мебели приведены на рисунке 5.1.
Рисунок 5.1 – Рабочее место пользователя компьютером
Требования техники безопасности при работе с ЭВМ.
При работе с ЭВМ существует вероятность поражения персонала электрическим током. Во избежание этого корпуса ЭВМ, дисплеев, печатающих устройств должны надежно заземлятся, токоведущие части надежно изолироваться и быть недоступными для прикосновения. Заземление выполняется согласно требованиям техники безопасности при работе с электротехническими установками.
Требования безопасности перед началом работы.
Перед началом работы пользователь ПЭВМ и ВДТ обязан:
– осмотреть и привести в порядок рабочее место;
отрегулировать освещённость на рабочем месте, убедиться в достаточности освещённости, отсутствии отражений на экране, отсутствии встречного светового потока;
– проверить правильность подключения оборудования в электросеть;
– убедиться в наличии защитного заземления и подключении экранного проводника к корпусу системного блока ПЭВМ;
– протереть салфеткой поверхность экрана и защитного фильтра;
– убедиться в отсутствии дискет в дисководах системного блока ПЭВМ.
Пользователь ПЭВМ и ВДТ обязан соблюдать следующую последовательность включения оборудования:
– включить системный блок;
– включить периферийные устройства, имеющие отдельное питание (принтер, монитор, сканер и др.).
Запрещается приступать к работе при:
– отключенном заземляющем проводнике защитного фильтра;
– обнаружении неисправности оборудования;
– отсутствии защитного заземления устройств ПЭВМ и ВДТ;
– отсутствии углекислого или порошкового огнетушителя и аптечки первой помощи;
– производить доработку розеток под другой конструктив вилки, пользоваться неучтёнными и неисправными размножителями.
Требования безопасности во время работы.
Пользователь ПЭВМ и ВДТ во время работы обязан:
– выполнять только работу, которая ему была поручена и по которой он был проинструктирован;
– в течение всего рабочего дня содержать в порядке и чистоте рабочее место;
– держать открытыми все вентиляционные отверстия устройств;
– внешнее устройство – манипулятор типа «мышь» применять только при наличии специального коврика;
– при необходимости прекращения работы корректно закрывать все активные задачи (правильно «парковаться»);
– отключать питание только в том случае, если пользователь во время перерыва в работе ПЭВМ вынужден находиться в непосредственной близости от ВДТ (менее 2 метров), в противном случае питание разрешается не отключать;
– соблюдать режимы работы и отдыха;
– соблюдать инструкцию по эксплуатации ПЭВМ и ВДТ;
– при работе с текстовой информацией выбирать наиболее физиологический режим представления чёрных символов на светлом фоне;
– соблюдать расстояние от глаз до экрана в пределах 60-80 см.
Во время работы запрещается:
– оставлять без присмотра ПЭВМ и ВДТ во включенном состоянии;
– касаться одновременно экрана ВДТ и клавиатуры;
– прикасаться к задней панели системного блока при включенном питании;
– производить переключение разъёмов интерфейсных кабелей периферийных устройств при включенном питании;
– загромождать верхние панели устройств бумагой и другими посторонними предметами;
– производить выключение питания во время выполнения задачи;
– производить частые переключения питания;
– допускать попадание влаги на поверхность системного блока и периферийных устройств;
– включать оборудование, внесённое в производственное помещение, если температура и влажность за его пределами отличаются от условий эксплуатации;
Требования безопасности в аварийных ситуациях.
Пользователь ПЭВМ и ВДТ обязан:
– во всех случаях обнаружения обрыва проводов питания, неисправности заземления и других повреждений электрооборудования, появления запаха гари немедленно отключить электропитание и сообщить об аварийной ситуации руководителю;
– при обнаружении человека, попавшего под напряжение, немедленно освободить его от действия тока путём отключения электропитания и до прибытия медработника оказать потерпевшему, при необходимости, первую доврачебную помощь, сообщить о случившемся непосредственному руководителю;
– при любых случаях сбоя в работе оборудования немедленно вызвать представителя инженерно-технической службы по техническому обслуживанию и ремонту средств вычислительной техники;
– в случае появления рези в глазах, резком ухудшении видимости, невозможно сфокусировать взгляд или навести его резкость, появлении боли в пальцах и кистях рук, усилении сердцебиения немедленно покинуть рабочее место, сообщить о происшедшем руководителю работ и обратиться к врачу;
– при возгорании оборудования, отключить электропитание, вызвать пожарную службу, принять меры к тушению очага пожара при помощи углекислотного или порошкового огнетушителя, сообщить о происшедшем руководителю работ.
Требования безопасности после окончания работы.
В помещениях (независимо от назначения), которые по окончании работ закрываются и не контролируются дежурным персоналом, все электроустановки и электроприборы, в том числе ПЭВМ и ВДТ, должны быть обесточены, вилки электропотребителей вынуты из розеток.
При наличии в помещении общего коммутационного аппарата (рубильника) в электросети потребителей, допускается отключение ПЭВМ и ВДТ с помощью указанного аппарата без вынимания вилки из розетки.
В подразделениях с круглосуточным режимом работы ПЭВМ и ВДТ без постоянного контроля дежурным персоналом должна быть разработана специальная инструкция по охране труда.
Пользователь ПЭВМ и ВДТ обязан соблюдать следующую последовательность выключения ПЭВМ и ВДТ:
– произвести закрытие всех активных задач;
– выполнить парковку ПЭВМ в соответствии с инструкцией по эксплуатации;
– убедиться, что в дисководах нет дискет;
– выключить электропитание системного блока;
– выключить электропитание всех периферийных устройств.
– осмотреть и привести в порядок рабочее место.
Общие требования безопасности при пайке припоями, содержащими свинец
Требования безопасности перед началом работы .
Перед началом работ с электропаяльником необходимо:
– привести в порядок рабочую одежду;
– убедиться внешним осмотром в исправности состояния паяльника, шнура, вилки, розетки, заземляющих устройств, при использовании понижающих или разделяющих трансформаторов;
– проверить, не истек ли срок их очередной проверки;
– проверить наличие огнетушителя или других средств пожаротушения;
– включить местную вытяжную вентиляцию и убедиться в ее нормальной работе, при необходимости включить местное освещение;
– приготовить промывочные материалы, клеи, лаки и растворители в количествах, не превышающих сменной потребности, разместить их на рабочем столе так, чтобы они не находились в непосредственной близости от нагретых поверхностей паяльника;
– убрать с рабочего места детали, сборки и схемы, не относящиеся к выполнению порученной работы;
– обо всех обнаруженных недостатках и неисправностях доложить руководителю работ и до их устранения к работе не приступать.
Требования безопасности во время выполнения работы :
Во время работы с электропаяльником необходимо:
– выполнять только ту работу, которая поручена руководителем, а также не допускать на рабочее место лиц, не имеющих отношение к порученной работе;
– зачистку деталей под лужение, прогрев паяльника и пайку производить только при включенной местной вытяжной вентиляции;
– паяльник на рабочем месте необходимо устанавливать на огнезащитные подставки, исключающие его падение;
– пайку пружинящих контактов и малогабаритных изделий в виде штепсельных разъемов, клеммных наконечников и других аналогичных узлов производить с закреплением, деталей в специальных приспособлениях (зажимы, струбцины и т.п.) и не снимать их до полного остывания припоя в месте пайки;
– снятие изоляции с проводов с помощью электроножей производить только в зоне действия местной вытяжной вентиляции;
– доставку на рабочее место и хранение свинцовых припоев и изделий, покрытых свинцом, производить в специально предназначенной для этого таре;
– с целью исключения случайного прикосновения к нагретым местам пайки и паяльника, а также при перемещении нагретых изделий необходимо использовать специальные инструменты (пинцеты, клещи, и т.п.);
– при откусывании кусачками концов провода и их зачистке, не допускать, попадания кусков провода или припоя в вас или рядом работающих людей;
– излишки припоя и флюса с жала паяльника снимать с применением хлопчатобумажных салфеток, асбеста и др. материалов;
– при обнаружении неисправности электропаяльника, немедленно прекратить работу и сдать неисправный паяльник для проверки и ремонта.
ЗАПРЕЩАЕТСЯ:
– промывать неостывшие места пайки легковоспламеняющимися жидкостями;
– оставлять электроинструмент включенным при уходе с рабочего места, а также передавать его лицам, не имеющим права с ним работать;
– продолжать работу при обнаружении неисправности электроинструмента или вентиляционной системы;
– подключать к разделяющему трансформатору более одного паяльника;
– заземлять вторичную обмотку разделяющего трансформатора;
– включать паяльник через автотрансформатор;
– производить пайку на электротехническом, радиотехническом и т. п. оборудовании без его отключения от сети;
– удалять излишки припоя или флюса путем встряхивания паяльника;
– принимать пищу на рабочем месте;
– допускать на рабочее место посторонних лиц.
При выполнении работы, не заниматься посторонними делами и не отвлекать других.
Требования безопасности по окончании работы
При завершении работы необходимо:
– отключить и остудить электропаяльник;
– привести в порядок рабочее место: убрать инструмент и приспособления в ящики стола, а припой, флюс и промывочные материалы в специальную тару;
– отключите местную вытяжную вентиляцию и местное освещение;
– произвести влажную уборку рабочего стола;
– выполнить правила личной гигиены:
– вымыть руки с обязательным использованием 1% раствора уксусной кислоты и мыла;
– тщательно прополоскать рот водой;
– убрать спецодежду в отведенное для ее хранения место;
– обо всех неполадках, обнаруженных во время работы, сообщить непосредственному руководителю.
Действия при несчастных случаях
– при несчастном случае необходимо оказать доврачебную помощь пострадавшему, при необходимости вызвать скорую помощь и доложить о случившемся руководителю;
– сохранить обстановку на месте происшествия без изменений до прибытия
– комиссии по расследованию, если это не создает угрозу для окружающих.
Противопожарная безопасность.
Контроль противопожарной безопасности осуществляется в соответствии с инструкцией по пожарной безопасности для сотрудников отделения 11, которая составлена на основе следующих правил и стандартов:
– “Правил пожарной безопасности Российской Федерации ППБ-01-93”;
– Стандарта СТПА 4429-93;
– Сборника инструкций по ПБ Инв.№ 447 от 15.02.96.
– Общая инструкция по пожарной безопасности по отделению 11 №11/57 от 23.03.03.
Сотрудники отделения должны строго соблюдать установленный противопожарный режим, знать правила и инструкции о мерах пожарной безопасности на своем рабочем месте, номера телефонов пожарной части, пути эвакуации, расположение средств тушения пожара и уметь применять их в случае возникновения пожаров.
Заключение.
В процессе выполнения дипломной работы выполнялись все требования по охране труда. В связи с тем, что никаких вредных воздействий на человека и окружающую среду свыше норм не происходит, разрабатываемое в данном дипломном проекте УК является экологически чистым.
В результате дипломной работы была проведена разработка программно-аппаратного комплекса, предназначенного для проведения специальных комплексных проверок электронных устройств (коммутирующих элементов) на основе заданного алгоритма работы.
Разработанное устройство удовлетворяет требованиям технического задания, а именно:
– комплекс осуществляет тестирование (проверку) отсутствия или наличия электрической цепи с заданными параметрами и имеет возможность включения/выключения питания тестируемого устройства по заданному алгоритму.
– количество каналов включения питания – 8, количество каналов для тестирования – 16
– напряжение питания +5 В с возможностью коммутации устройств с питанием +27 В и током до 1,5 А.
– ток потребления – не более 500 мА.
– в режиме тестирования адаптер контролирует: наличие цепи с сопротивлением < 0,5 мА; отсутствие цепи с сопротивлением > 106 Ом.
– в комплексе предусмотрена индикация неисправных цепей.
– комплекс обеспечивает групповую и выборочную проверку заданных цепей, а также последовательное включение питания в требуемых каналах.
В процессе выполнения дипломного проекта решены вопросы проектирования блока адаптера на базе микроконтроллера и разработана схема адаптера, отвечающая поставленным техническим требованиям и включающая в себя следующие узлы:
– канал управления внешними устройствами (формирователи команд управления на ВУ);
– канал приема данных от внешних устройств (приемники сигналов контроля состояния ВУ и измерения параметров цепей);
– канал управления (формирователь внутренних команд управления и обработки сигналов от ВУ).
Обмен информацией между ПЭВМ и адаптером происходит по последовательному каналу связи согласно протоколу RS-232.Согласно алгоритму работы ПАК выбрана кодограмма обмена ПЭВМ и адаптера.
В процессе работы над дипломным проектом разработано соответствующее программное обеспечение и изготовлен лабораторный макет программно-аппаратного комплекса, на котором проходит отладка необходимых функций. По завершении отладочных работ на макете может быть проведена плановая разработка данного изделия.
В дипломе приведен расчет производственной себестоимости устройства и указаны факторы, которые могут оказать неблагоприятное воздействие на окружающую среду в ходе выполнения работы, и произведена экологическая оценка проекта.
Разработанное устройство удовлетворяет требованиям, представленным в техническом задании, является экономически выгодным и экологически чистым.
Список условных обозначений и сокращений
МК – микроконтроллер
ПЗУ – постоянное запоминающее устройство
РПД – регистр памяти данных
РСФ – регистр специальных функций
ША/ШД – шина адреса-данных
ПК – персональный компьютер
ПАК – программно-аппаратный комплекс
ВУ – внешнее устройство
ЭРИ – электрорадиоэлементы
ОИ – объект исследований
БИС – большие интегральные схемы
АЛУ – арифметико-логическое устройство
КОСС – коэффициент ослабления синфазного сигнала
УУ – устройство управления
Список используемых источников
1. Хоровиц П., Хилл У. Искусство схемотехники. В двух томах. Т.1. Пер. с англ. – Изд. 3-е, стереотип. – М.: Мир, 1986.
2. Рутковски Дж.Б. Интегральные операционные усилители: Пер. с англ. – М.: Мир, 1978.
3. Меркулова К. Г., Придорогина В. М., Рувиновой Э. И. Расчёт схем на транзисторах. – М.: Энергия, 1969.
4. Справочник: Полупроводниковые приборы: транзисторы. Грюнов Н. Н. – М.:Энергоатомиздат, 1986.
5. Справочник: Диоды. Григорьев О. П., Замятин В. Я., Кондратьев Б. В. – М.: Радио и связь, 1990.
6. Лебедев О. Н. Применение микросхем памяти в электронных устройствах. – М.: Радио и связь, 1994.
7. Справочник: Резисторы. Дубровский В. В., Иванов Д. М., Пратусевич Н. Я. и др. – М.: Радио и связь, 1991.
8. Справочник: Логические ИС КР1533, КР1554. В двух частях. Петровский И. И., Прибыльский А. В., Троян А. А., Чувелев В. С. – М.: БИНОМ, 1993.
9. Алексенко А. Г. Современная микросхемотехника. – М.: Энергия, 1979.
10. Степаненко И.П. Основы теории транзисторов и транзисторных схем, изд. 3-е, перераб. и доп. – М.: Энергия, 1973.
11. Сташин В.В., Урусов А.В., Мологонцева О.Ф. Проектирование цифровых устройств на однокристальных микроконтроллерах. – М.: Энергоатомиздат, 1990.
12. Киреева Е.С., Писецкий В.В., Филиппов В.К. Методические указания по работе над дипломным проектом. – Саров, СарФТИ, 2007.
Приложение А
Блок-схемы алгоритма работы комплекса
А.1 Общая блок-схема функционирования комплекса


А.2 Блок-схема алгоритма работы адаптера
