| Скачать .docx |
Курсовая работа: Плоская антенная решетка с дискретным фазованием
Министерство образования Российской Федерации
УРАЛЬСКИЙ ГОСУДАРСТВЕННЫЙ ТЕХНИЧЕСКИЙ УНИВЕРСИТЕТ
КАФЕДРА ВЫСОКОЧАСТОТНЫХ СРЕДСТВ
РАДИОСВЯЗИ И ТЕЛЕВИДЕНИЯ
Оценка работы
Члены комиссии
ПЛОСКАЯ АНТЕННАЯ РЕШЕТКА С ДИСКРЕТНЫМ ФАЗИРОВАНИЕМ
КУРСОВАЯ РАБОТА
ПОЯСНИТЕЛЬНАЯ ЗАПИСКА
Руководитель
Наймушин М.П.
Студент
Подкорытов А.П.
Группа Р-406
Екатеринбург 2006
содержание
Введение
задание на курсовую работу
1Расчет основных конструктивных элементов антенны и линий передач
1.1Выбор типа линий передач, расчет конструктивных и электрических параметров
1.2Расчет геометрических размеров решетки и числа излучателей
1.3Расчет параметров одиночного излучателя
1.4Выбор структуры и расчет геометрических размеров фазовращателя
1.5Расчет схемы питания
2Электрические характеристики антенны
2.1ДН одиночного элемента
2.2ДН ФАР
Заключение
Список литературы
Приложение 1. ДН одиночного излучателя
Приложение 2. ДН ФАР при нормальном положении луча
Приложение 3. ДН ФАР при максимальном отклонении луча
Приложение 4. Конструкция модуля фазовращателей
Фазированные антенные решетки – наиболее эффективные и перспективные антенные системы, позволяющие осуществлять быстрый обзор пространства в заданной области сканирования, многофункциональный режим работы, комплексирование радиосредств, адаптацию к конкретной радиообстановке, предварительную обработку СВЧ-сигналов, обеспечение электромагнитной совместимости и т.д. Такие антенны, представляют собой систему большого числа отдельных излучателей, фазы высокочастотного возбуждения которых регулируются независимо с помощью быстродействующих полупроводниковых или ферритовых фазовращателей. Управление фазовращателями осуществляется с помощью ЭВМ. Антенны типа ФАР позволяют получить узкую диаграмму направленности, произвести быстрое сканирование пространства, при этом не требуется ее механического поворота.
В диапазоне СВЧ АР обеспечивают остронаправленное излучение с шириной луча в единицы и доли градусов и коэффициент усиления, достигающий десятки и сотни тысяч. Эти направленные свойства позволили использовать антенну не только для излучения и приема радиоволн, но и для пеленгации (в радиолокации, навигации, радиоастрономии), борьбы с помехами, обеспечения скрытности работы и для других целей.
Широкое распространение получили остронаправленные сканирующие АР. Сканирование позволяет осуществлять обзор окружающего пространства, сопровождение движущихся объектов и определение их угловых координат. При механическом сканировании, которое выполняется вращением всей антенны, максимальная скорость движения луча в пространстве ограничена и при существующих в настоящее время скоростях летательных аппаратов оказывается недостаточной. Поэтому возникла необходимость в разработке новых типов антенн, удовлетворяющих более высоким требованиям. Однако, следует упомянуть о том, что переход от механического сканирования к электрическому приводит к усложнению конструкции антенны, связанному с применением ФАР. Например, одна зеркальная антенна замещается решеткой излучателей с фазовращателями и устройством управления. Наличие большого числа фазовращателей, увеличение протяженности тракта, использование делителей мощности и других элементов увеличивают тепловые потери в антенне и фазовые ошибки в ее раскрыве, что приводит к уменьшению коэффициента усиления антенны и росту стоимости. Поэтому переход к АР с электрическим сканированием целесообразен только в тех строго аргументированных случаях, когда механический способ сканирования не обеспечивает требуемых характеристик управления или необходимо одновременно сопровождать несколько целей в пространстве, или требуется адаптация к помеховой обстановке при наличии нескольких прицельных помех, а так же в ряде других случаев, требующих замены апертурной антенны решеткой излучателей.
ФАР классифицируются по расположению составляющих ее излучателей в пространстве (выпуклые – конические, сферические; плоские), размещения их в решетке (эквидистантные и неэквидистантные), способу возбуждения (пространственный и фидерный), а также типу применяемых излучателей (полосковый резонатор, круглый резонатор, полуволновый вибратор и др).
В данной курсовой работе производится расчет плоской эквидистантной ФАР с излучателями типа симметричный полуволновый вибратор, которая возбуждается коаксиальной линией питания (фидером). Принцип действия основан на синфазном сложении диаграмм направленности входящих в систему излучателей в направлении главного максимума ДН (полезное действие), а также в направлениях, которым соответствует пространственный фазовый сдвиг, компенсирующий сдвиг фазы между излучателями за счет возбуждения (паразитное действие). При этом ДН ФАР может быть определена как произведение ДН одиночного излучателя и множителя решетки.
Отклонение главного максимума ДН ФАР для сканирования пространства производится путем введения дополнительного сдвига фаз между антенными элементами при помощи фазовращателей.
задание на курсовую работу
Исходные данные:
Рабочая частота f, ГГц 8
Ширина диаграммы направленности в главных плоскостях по уровню –3дБ, град.:
Dqxz 12
Dqyz 6
Уровень боковых лепестков, d дБ 20
Максимальный угол отклонения Dqm, град. 25
Мощность передатчика в импульсе Р, кВт
Тип излучателя полосковый резонатор
Область сканирования конус
Выбрать и рассчитать:
· Параметр одиночного излучателя;
· Количество элементов и шаг решетки;
· Распределение возбуждения по элементам решетки;
· Схема питания и фазирования решетки;
· Линия передачи;
· Схема фазовращателя, тип диодов, основные конструктивные размеры фазовращателя;
· Диаграммы направленности в главных плоскостях для нормального и отклоненного луча;
· Алгоритм управления фазовращателями при заданной ориентации луча.
Вычертить:
· Топология или конструкция используемых фазовращателей с установленными диодами.
1 Расчет основных конструктивных элементов антенны и линий передач
1.1 Выбор типа линий передач, расчет конструктивных и электрических параметров
В качестве линии передачи (далее ЛП), отводящей энергию от источника СВЧ-энергии и непосредственно питающей излучатель, выберем гибкую коаксиальную линию (кабель) т.к. она удовлетворяет требованиям по рабочей частоте и пропускаемой мощности, имеет малые габариты и высокую технологичность изготовления, обеспечивает более простой переход от линии передачи к антенному элементу. Однако участок ЛП, содержащий схему питания типа "елочка", состоящую из тройниковых делителей мощности, и модули фазовращателей, выполним на полосковой несимметричной ЛП. Это сделано для увеличения технологичности исполнения вышеупомянутых устройств.

Рисунок 1 - Конструкция перехода
Соединения ЛП будут производиться при помощи перпендикулярного коаксиально-полоскового перехода. Конструкция перехода изображена на рисунке 1.
Согласование такого перехода осуществляется подбором диаметра соединительного штыря 1, проходящего через диэлектрическое основание 2, а также подбором размеров коаксиальной диафрагмы на выходе коаксиального волновода и короткого разомкнутого шлейфа из отрезка полоскового проводника.

Выбранные (ЛП) имеют следующие конструктивные параметры:
· Коаксиальный кабель:
Используется стандартный кабель с волновым сопротивлением 75 Ом, в качестве заполняющего диэлектрика – полиэтилен, имеющий e=2,3, tgd=4*10-4 .
Волновое сопротивление коаксиального кабеля:
![]()
Предельная пропускаемая мощность у коаксиального волновода с такими параметрами, с учетом того, что пробивная напряженность в полиэтилене составляет порядка 40 кВ/мм и что пропускаемая мощность пропорциональна квадрату пробивной напряженности, будет равна:

Как видим, ЛП с такими параметрами обеспечивает огромный запас по пропускаемой мощности. Длина волны в такой ЛП будет равна:
![]()
· Полосковая несимметричная ЛП
![]()
![]()
![]()
![]()
![]()
![]()
![]()
![]()

![]()
![]()
![]()
b
D
d
В качестве диэлектрика возьмем вещество ЦМ-4, имеющее e=6,5, tgd=6*104 . Размеры выберем исходя из условия пропускания заданной мощности. Для учета неоднородностей необходим запас по мощности, который можно обеспечить путем выбора конструктивных размеров и подбором диэлектрика подложки. Для полосковых ЛП с воздушным заполнением, максимальная передаваемая мощность определяется по графикам в [4]:
(Pmax /d2 )10-8 , Вт/м2
Выберем D/d=0.1, b/d=2, b=4мм, тогда d=2мм и D=0,2мм. Максимальная мощность может быть определена по формуле:
![]()
где PГР – значение, определенное по приведенному графику: Рmax = 17 кВт.
С учетом того, что пробивное напряжение в воздухе составляет порядка 30 кВ/см, а в ЦМ-4 250 кВ/см, и что пропускаемая мощность пропорциональна квадрату пробивной напряженности, то максимальная пропускаемая мощность данной ЛП будет больше примерно в 7 раз больше, т.е. около 120 кВт.
Волновое сопротивление и длина волны в такой ЛП определится по формуле[4]:
,
,
.
1.2 Расчет геометрических размеров решетки и числа излучателей
Введем систему координат:
Выбор размера антенны производится исходя из уровня боковых лепестков. Согласно табл. 3.1 в [3] по уровню боковых лепестков определим размер антенны по оси Х и оси Y:

Число излучателей и расстояние между ними будем выбирать исходя из следующих условий (для излучателей вдоль оси Х):
| - число излучателей n равно 2p , | где p-целое число, p=1,2,3…,т.к. в схеме питания используются двоичные делители мощности |
| - |
где 2Q0 –ширина по нулям ДН одиночного элемента, Q0 =900 |
Последнее условие обеспечивает не вхождение побочного главного максимума решетки в главный лепесток одиночного излучателя при максимально отклоненном луче.
Минимальным n, удовлетворяющим заданным условиям будет n=8. Тогда по следующей формуле можно определить расстояние между излучателями:
![]()
Проверка условия:
![]()
Расчет для оси Y абсолютно аналогичен. Получим: m=8, ![]()
Таким образом, проектируемая плоская эквидистантная ФАР имеет квадратную форму и состоит из 8х8=64 элементов.
1.3 Расчет параметров одиночного излучателя
В качестве излучателя в данной работе используется прямоугольный полосковый резонатор. Материалом подложки служит ФЛАН-10, имеющий
и
.
Резонансная длина антенны
. Размер а определяет излучение торца резонатора и входное сопротивление, изменяя его можно добиться требуемого распределения по мощности. Определение размера а можно найти в разделе расчета схемы питания. Для упрощения конструкции резонатора смещение от края
примем равным 0.
Рис. 3 Полосковый излучатель |
1.4 Выбор структуры и расчет геометрических размеров фазовращателя
Обычно фазовращатель выбирают исходя из нескольких условий:
· возможность реализации сдвига фазы с требуемым дискретом и простого управления фазовращателями;
· простота реализации и малая стоимость фазовращателя;
· простота коммутации с линией питания и излучающими элементами.
Исходя из данных требований, выберем проходные фазовращатели на полосковой линии. Проходные фазовращатели – это согласованные четырехполюсники, в идеале реактивные, обладающие переменной фазой коэффициента передачи. Проходные фазовращатели бывают плавными (с непрерывным изменением фазы) и ступенчатыми, в которых фаза принимает ряд фиксированных значений, различающихся на величину Dj – дискрет фазы. Дискретные фазовращатели обычно состоят из нескольких каскадов, каждый из которых может создавать при подаче управляющего сигнала изменение фазы волны на величину Dj=2p/М, где М=2р , р=1, 2, 3… Фазовращатели состоят из отрезков линий передачи и электронных ключей на p–i–n диодах. Чаще всего такие фазовращатели строятся на основе полосковых и волноводных линий передачи. В качестве параллельных ключей в полосковых линиях передачи используют корпусные p–i–n диоды типа 2А507, 2А509, 2А511, а в качестве последовательных ключей – бескорпусные диоды 2А517, 2А522. В волноводных резонансных диафрагмах применяют двойные диоды 2А505, 2А508, 2А513. Т.к. применение дискретных фазовращателей приводит к ухудшению направленных свойств антенны, то необходимый дискрет фазирования определяется с учетом трех основных факторов:

- роста боковых лепестков:
- дискретности перемещения луча при сканировании:
![]()
- снижения коэффициента направленного действия

Необходимо так выбрать дискрет фазирования DФ, чтобы:
![]()
![]()
Таким образом, дискрет фазирования, удовлетворяющий ранее указанным условиям равен 22,5 градуса и при нем:
dmax = -23,5дБ, dQmin =6,44×10-3 град.
Снижение КНД при этом: ![]()
Так как для управления фазированием антенны используются фазовращатели, имеющие два состояния: "0" и "1" (“включено” и “выключено”), то для перекрытия диапазона изменения фазы [0;2p] c дискретом 22,5 градуса необходимо 4 фазовращателя для каждого излучателя соединенных последовательно, которые могут осуществлять следующие сдвиги фаз: (0; p),
(0; p/2), (0; p/4), (0; p/8).
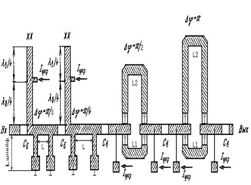
В качестве фазовращателей осуществляющих сдвиги (0; p), (0; p/2) лучше всего использовать фазовращатели на коммутируемых линиях. Потери в линии мало зависят от дискрета фазы и примерно одинаковы в каждом фазовом состоянии. Недостатком является большое число p-i-n-диодов – 4, по сравнению с двумя в других типах ФВ. Для сдвига (0; p/4) (0; p/8) используем ФВ типа «нагруженная линия». Возможный вариант конструкции блока фазовращателей приведен в приложении 4.
Устройство управления сканированием ФАР должно выполнять следующие функции:
· прием необходимого углового положения ДН ФАР от другого устройства, например ЭВМ;
· расчет фазы для каждого излучателя ФАР, который выполняется в несколько этапов:
1) расчет фазы элемента ФАР.
В антеннах с непрерывными фазовращателями фазирование излучающих элементов осуществляется таким образом, чтобы поля от всех излучателей в дальней зоне в заданном направлении складывались синфазно. Для плоской решётки излучателей требуемое фазовое распределение имеет вид:
,
где хn , yn – координаты n-го излучателя в решётке; qгл , jгл – углы, определяющие направление максимума диаграммы направленности в пространстве; F0 –постоянный фазовый сдвиг, величина которого зависит от выбора начала отсчёта фазы.
В нашей решётке, в силу дискретного характера изменения фазы токов в излучающих элементах, требуемое фазовое распределение не может быть реализовано точно, вследствие чего возникают специфические фазовые ошибки ( коммутационные ошибки).
Фазовое распределение реализуемое в решётке, определяется следующим образом:
Fреал (хn )=Fнач (хn )+qn DF, qn =0, ±1, ±2, ¼,
в котором Fнач –так называемое начальное фазовое распределение в решетке, которое имеет место в том случае, когда все коммутационные фазовращатели находятся в одной и той же позиции; DF–дискрет изменения фазы, обеспечиваемый коммутационным фазовращателем; qn –число последовательных переключений коммутационного фазовращателя от исходной позиции с дискретом изменения фазы DF.
В качестве начального фазового распределения Fнач может быть выбрано фазовое распределение на выходе распределительного устройства.
Коммутационные фазовые ошибки определяются как:
dF=Fреал -Fтр .
Дискретный характер работы фазовращателей приводит к увеличению уровня бокового излучения и к скачкообразному движению луча. Фазирование антенной решётки осуществляется различными способами в зависимости от требуемой точности установки луча или уровня бокового излучения в заданном секторе углов. Одним из распространённых способов является фазирование по наименьшей фазовой ошибке, когда для любого излучателя в решётке выполняется условие ![]()
При фазировании решётки в заданном направлении необходимо определить число последовательных переключений каждого фазовращателя от исходной позиции. Эта величина определяется следующим неравенством:
![]()
В реальных решётках это неравенство решается электронным вычислителем, и результат передаётся в устройство, управляющее фазовращателями [6].
2) отбрасывание от полученного фазового сдвига частей кратных 2p, так как фазовращатели не могут давать фазовый сдвиг более 360 градусов. Реализацию данного преобразования можно представить в виде:
,
где Е – операция взятия целой части
3) учет существующего дискрета фазирования, что осуществляется путем дискретизации рассчитанного значения по следующей формуле:
,
где DF=22,5 градуса - дискрет фазы определенный ранее.
При определении размеров модуля ФВ необходимо учитывать следующие условия:
- обеспечение развязки управляющих линий ФВ от проходящей через ФВ СВЧ мощности, что увеличивает размеры каждого ФВ;
- расположение ФВ в модуле ФВ таким образом, чтобы его размер по одной из осей (х или y) был меньше, чем шаг решетки (dx или dy), для возможности беспрепятственного размещения модулей.
Так как габариты проектируемого модуля определяется размерами используемых ФВ, проведем оценку их геометрических размеров.
Для ФВ на коммутируемых линиях, реализующего сдвиг (0,p) из формулы в [3] задавшись дискретом DФ=p и l1 =lлинии /5=3 мм получим:
,
Для ФВ типа коммутируемая линия, реализующего сдвиг (0,p/2) из формулы в [3] задавшись дискретом DФ=p/2 и l1 =lлинии /5=3 мм получим:
.
Для ФВ типа «нагруженная линия», которые используются для сдвига фазы на p/4, p/8 расстояние между шлейфами рассчитывается по формуле [3]:
.
А нормированная проводимость реактивных нагрузок там же:
.
Зная проводимость шлейфов и приняв, что для их реализации используется линия с такой же толщиной диэлектрика и металлизированной полоски (т.е. Zш = Zл ) длину шлейфов определим по формуле:
.
Тогда все данные можно обобщить в следующей таблице:
| Сдвиг фазы | Расстояние между шлейфами l, мм | Нормированная проводимость |
Длина шлейфов, мм |
| p/4 | 4.7 | -0,840 | 2.14 |
| p/8 | 4.2 | -0,381 | 6.55 |
Следует упомянуть, что для развязки линии питания и управляющей линии диодов по постоянной составляющей надо ставить разделительные емкости. Места установки емкостей указаны на чертеже конструкции фазовращателя. В качестве разделительных емкостей используются емкости, образованные трехслойной конструкцией. Емкость (пФ) определяется при этом по формуле в [5] (все размеры в миллиметрах):
![]()

Конструкция емкости на ПЛП:
Материал диэлектрика – брокерит 9 (керамика); e:=6,6; tgб=(2..4)*10-4 ;
Епроб =10кВ/мм ;
Ориентировочные размеры для нашей линии передач (w=4мм) для получения С=90 пФ (для развязки в нашем случае достаточно): L=3мм, t=880 мкм.
Конструкции модуля ФВ приведена в приложении 4.
1.5 Расчет схемы питания
К схеме питания ФАР предъявляются следующие требования:
· обеспечение требуемого амплитудного распределения по элементам антенной решетки;
· обеспечение согласования для передачи требуемой мощности в антенные элементы.
Требуемое амплитудное распределение можно обеспечить с помощью двухмерной елочки, подводящей мощность к каждому элементу решетки в соответствии с амплитудным распределением типа "косинус квадрат на пьедестале", определяемым требуемым уровнем боковых лепестков. Вход первого делителя мощности подключен к линии передач, к выходам последних делителей, подводящих мощность к элементам, подключены модули фазовращателей. Распределение амплитуды тока по ФАР будет задаваться с помощью тройниковых делителей мощности с различными коэффициентами деления в схеме елочки.
Графически распределение амплитуды тока по элементам ФАР можно представить следующим образом. Ток элемента с индексом p,q определяется формулой в [3]:
где
![]() |
Таким образом, распределение амплитуды тока постоянно во времени и не зависит от углового положения ДН ФАР.
Рассчитаем коэффициенты деления делителей мощности, обеспечивающих требуемое распределение амплитуды тока по элементам. Так как используется схема деления типа елочки с двоичными делителями, то мощности на элементах пропорциональны квадрату амплитуды тока на элементах. Алгоритм расчета состоит в определении для каждого делителя мощностей, подключенных к каждому из его выходов и вычислении их отношения.
Схема питания типа "елочка" на 64 элемента включает в себя 63 двоичных тройниковых делителя, но, поскольку решетка симметрична, достаточно рассчитать четверть решетки. Первые три делителя имеют коэффициент деления равный 1 (К=1). Кроме них в схеме питания еще восемь делителей мощности с неравными между собой коэффициентами деления.
Вычислим их, зная амплитудное распределение по элементам решетки.
Амплитудное распределение тока по элементам:

Распределение мощностей пропорционально квадрату распределения амплитуд. Для каждого из делителей определяются мощности, подключенные к каждому из его выходов. Отношение этих мощностей и будет коэффициентом деления. Зная коэффициенты деления и волновое сопротивление полосковой линии, рассчитаем электрические и конструктивные параметры двоичных тройниковых делителей, реализованных на ПЛП по формулам в [3]:


Примем![]()
Выше приведена схема реактивного параллельного тройникового делителя мощности. Все входные линии имеют одинаковые волновые сопротивления r. К точке разветвления подключены четвертьволновые трансформаторы с волновыми сопротивлениями r1 , r2 , r3 . При заданном коэффициенте деления такой делитель может быть согласован с одного из входов (в нашем случае с первого). На несимметричных полосковых ЛП конструктивно такой делитель реализуется изменением ширины полоски b – область четвертьволновых трансформаторов.
В результате получаем:
| К | r2 , Ом | r3 , Ом |
| 1 | 90,382 | 118,411 |
| 0,846 | 83,729 | 129,601 |
| 0,865 | 110,702 | 198,117 |
| 0,593 | 161,091 | 254,121 |
| 0,856 | 110,195 | 199,348 |
| 0,808 | 107,656 | 206,182 |
| 0,801 | 107,279 | 207,302 |
| 0,612 | 98,144 | 248,418 |
| 0,608 | 98,008 | 249,347 |
Проводимость излучателей определяется следующим образом
, где j- номер элемента в столбце.
,
.
| Излучатели | 1 | 2 | 3 | 4 | 5 | 6 | 7 | 8 |
| Gвх,мСм | 0,22 | 1,77 | 6,5 | 12 | 12 | 6,5 | 1,77 | 0,22 |
| a, мм | 2,1 | 17 | 61 | 109 | 109 | 61 | 17 | 2,1 |
2 Электрические характеристики антенны
2.1 ДН одиночного элемента
ДН одиночного антенного элемента применяемого в данной антенне описывается формулой в [3]:

Для выбранного параметра одиночного излучателя графики ДН в главных плоскостях приведены в приложении 1. По приведенным графикам видно, что ДН данного излучателя удовлетворяет требованию по ширине ДН по уровню –3дБ в главной плоскости.
2.2 ДН ФАР
ДН ФАР в общем виде может быть рассчитана по следующий формуле в [3]:

![]() |
![]() |
где:
Графики ДН ФАР при нормальном и максимально отклоненном положении луча приведены в приложениях 2 и 3. Видно, что при фазировании происходит рост боковых лепестков и расширение ДН.
Заключение
В результате выполнения данной курсовой работы были рассчитаны параметры одиночного излучателя ФАР, схема питания и фазирования антенной решетки, получены диаграммы направленности ФАР при нормальном положении луча, удовлетворяющие заданным параметрам по уровню боковых лепестков. Выбранный дискрет фазирования оказывает небольшое паразитное влияние на ДН в виде расширения луча и роста уровня боковых лепестков.
По итогам расчета и приведенным графикам ДН ФАР можно сказать, что требуемое техническое задание выполнено, т.е антенная решетка обеспечивает характеристики, соответствующие заданным. Расширение луча и рост боковых лепестков при сканировании можно было бы уменьшить, либо увеличив число излучателей в ФАР, либо уменьшив дискрет фазирования. Однако, на мой взгляд, идеальной ДН добиться бы не удалось, а полученный выигрыш в характеристиках решетки будет несравним с экономическими затратами на его реализацию. Спроектированная решетка в этом отношении наиболее оптимальна.
Список литературы
1. Фельдштейн А.Л., "Справочник по элементам волноводной техники", 1967 г.
2. Чернушенко А.М., "Конструкции СВЧ устройств и экранов", М.: Радио и связь, 1990 г.
3. "Проектирование антенных устройств СВЧ", методические указания к курсовому проекту, под ред. Наймушина М.П., Панченко Б.А., Екатеринбург, УГТУ-УПИ, 1993 г.
4. "Справочник конструктора РЭА: компоненты, механизмы надежность", Под ред. Р.Г. Варламова, М., Радио и связь, 1985 г.
5. "Микроэлектронные устройства СВЧ" под ред. проф. Г.И. Веселова; М.: В.ш. 1988 г.
6. "Антенны и устройства СВЧ" под. ред. проф. Д. И. Воскресенского; М.: "Сов. Радио", 1972 г.
7. А. З. Фрадин. "Антенно-фидерные устройства". М.: "Связь", 1977 г.
8. Сазонов Д.М. и др., "Устройства СВЧ", М.: Высш. школа, 1981 г.
9. Марков Г.Т., Сазонов Д.М., "Антенны", М.: Энергия, 1975 г.
Приложение 1
ДН одиночного излучателя
в плоскости XZ

в плоскости YZ

ДН ФАР при нормальном положении луча



Приложение 3
ДН ФАР при максимальном отклонении луча



Приложение 4
Конструкция модуля фазовращателей





