| Скачать .docx |
Реферат: Магистраль с использованием симметричного кабеля
Вариант № 5
Магистраль с использованием симметричного кабеля.
Исходные данные:
длина трассы:
;
уровень передатчика:
;
уровень приемника:
;
спектр передаваемых частот:
от
до
;
волновое сопротивление:
;
материал и тип изоляции – "кордельно-полистирольная";
относительная диэлектрическая проницаемость изоляции:
;
тангенс угла диэлектрических потерь на максимальной частоте:
;
Расcчитать: Емкость;Проводимость изоляции на максимальной частоте;Затухание кабеля на максимальной частоте;Сопротивление кабеля на максимальной частоте;Диаметр жилы без изоляции;Расстояние между центрами жил и толщину изоляции;Построить графики и определить первичные и вторичные параметры передачи на частотах: 0;
;
;
. Нарисовать эскиз конструкции кабеля.
Абсолютная диэлектрическая проницаемость:
;
1. емкость кабеля:
;
2. Проводимость изоляции на максимальной частоте:
;
;
;
3. Затухание кабеля на максимальной частоте:
![]()
;
5. Сопротивление кабеля на максимальной частоте:

![]()
удельное сопротивление меди:
;
коэффициент учитывающий эффект скрутки:
;
;
.
6. Из графика определим диаметр жилы без изоляции.

Диаметр жилы без изоляции равен:
![]()
7. Расстояние между центрами жил и толщина изоляции

толщина изоляции при парной скрутке
![]()
радиус жилы без изоляции
![]()
сопротивления кабеля
при ![]()
![]()
8.1. частотные зависимости первичных параметров
Частотная зависимость сопротивления кабеля ![]()


Частотная зависимость индуктивности кабеля ![]()
![]()

Частотная зависимость тангенса угла диэлектрических потерь ![]()

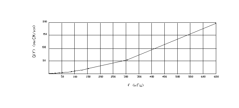
Частотная зависимость проводимости кабеля ![]()
![]()
![]()

Таблица частотных зависимостей первичных параметров
|
|
|
|
|
|
|
|
|
|
| 0 |
0 |
0 |
0 |
0.0417 |
1 |
31,5588 |
0,7305 |
1*10-4 |
| 1,57 |
0,5 |
9.75-10-4 |
3.26-10-4 |
0.042 |
0.9998 |
31,573 |
0,73048 |
0,05804 |
| 6,3 |
1 |
0.0152 |
5.19-10-3 |
0.053 |
0.997 |
31,7834 |
0.7302 |
0.2504 |
| 14,2 |
1.5 |
0.0691 |
0.0258 |
0.092 |
0.9871 |
32,6538 |
0.729 |
0,6652 |
| 25,2 |
2 |
0.1724 |
0.0782 |
0.169 |
0.961 |
34,7474 |
0.727 |
1,252 |
| 39,4 |
2.5 |
0.295 |
0.1756 |
0.263 |
0.913 |
38,3789 |
0.722 |
2,4775 |
| 56,7 |
3 |
0.405 |
0.318 |
0.348 |
0.845 |
43,4096 |
0.715 |
4,024 |
| 77,2 |
3.5 |
0.499 |
0.492 |
0.416 |
0.766 |
49,385 |
0.707 |
6,5746 |
| 100,8 |
4 |
0.584 |
0.678 |
0.466 |
0.686 |
55,7034 |
0.698 |
10,587 |
| 127,6 |
4.5 |
0.669 |
0.862 |
0.503 |
0.616 |
61,9601 |
0.691 |
13,5835 |
| 157,5 |
5 |
0.755 |
1.042 |
0.53 |
0.556 |
68,094 |
0.685 |
20,9021 |
| 308,7 |
7 |
1.109 |
1.743 |
0.596 |
0.4 |
92,0869 |
0.669 |
57,3991 |
| 629,9 |
10 |
1.641 |
2.799 |
0.643 |
0.286 |
128,2368 |
0.657 |
196,6938 |
8.2. частотные зависимости вторичных параметров
Частотная зависимость волнового сопротивления кабеля ![]()
![]()
![]() |
Частотная зависимость коэффициента затухания и фазы кабеля
и
.
Коэффициент распространения:
![]()
Коэффициент затухания:
![]()
Коэффициент фазы:

![]()
Частотная зависимость скорости распространения электромагнитной энергии ![]()
![]()

Таблица частотных зависимостей вторичных параметров
|
|
|
|
|
|
| 0 |
5,62*105 |
4,88*10-4 |
0 |
0 |
| 1,57 |
381,14 |
0,46 |
0,066 |
1,49*105 |
| 6,3 |
219,19 |
0689 |
0,179 |
2,2*105 |
| 14,2 |
190,02 |
0,768 |
0,3725 |
2,39*105 |
| 25,2 |
183,33 |
0,828 |
0,649 |
2,44*105 |
| 39,4 |
180,8 |
0,930 |
1,0056 |
2,46*105 |
| 56,7 |
179,16 |
1,074 |
1,440 |
2,47*105 |
| 77,2 |
177,82 |
1,197 |
1,943 |
2,496*105 |
| 100,8 |
176,47 |
1,336 |
2,530 |
2,503*105 |
| 127,6 |
175,18 |
1,541 |
3,175 |
2,525*105 |
| 157,5 |
174,57 |
1,720 |
3,895 |
2,540*105 |
| 308,7 |
172,75 |
2,345 |
7,525 |
2,578*105 |
| 629,9 |
170,66 |
3,418 |
15,240 |
2,597*105 |
8.3. Первичные или вторичные параметры на частотах
;
;
; ![]()
|
|
|
|
|
|
| 0 |
0 |
31,5588 |
0,7305 |
1*10-4 |
| 0.1 |
55 |
41,340 |
0,714 |
3,903 |
| 0.5 |
275 |
82,141 |
0,672 |
49,571 |
| 1 |
550 |
95,671 |
0,660 |
156,131 |
|
|
|
|
|
|
|
| 0 |
0 |
5,62*105 |
0,000488 |
0 |
0 |
| 0.1 |
55 |
179,230 |
1,04 |
1,39 |
2,47*105 |
| 0.5 |
275 |
172,790 |
2,10 |
6,73 |
2,56*105 |
| 1 |
550 |
171,058 |
2,54 |
13,34 |
2,59*105 |
Эскиз конструкции кабеля

Рис 1 Возможные варианты конструкции кабеля
1- полиэтиленовый шланг;
2- поливинилхлоридная лента;
3- битумный состав;
4- бронепроволока;
5- пряжа;
6- две бронеленты;
7- подушка;
8- подклеивающий слой;
9- алюминиевая оболочка;
10- поясная изоляция;
11- четверка;
12- лента;
13- кордель;
14- жила;
15- заполнитель.
Список литературы:
1. Гроднев И.И., Верник С.М. Линии связи. – М.: Радио и связь, 1988;
2. Ионов А.Д., Попов Б.В., Линии связи. – М.: Радио и связь, 1990;
3. Марков С.Ю., Меліщук І.С. Дослідження первинних параметрів передачі кабельних кіл. Київ: видання КІЗ, 1999;
4. Марков С.Ю., Дослідження вторинних параметрів передачі кабельних кіл. Київ: видання КІЗ, 1999.
