| Скачать .docx |
Курсовая работа: Расчет и проектирование диода Ганна
СОДЕРЖАНИЕ
Введение
I. Анализ конструктивных особенностей полупроводниковых диодов
1.1 Полупроводниковые диоды
1.1.1 Выпрямительные диоды
1.1.2 Диодные матрицы и сборки. Стабилитроны и стабистроны
1.1.3 Ограничители напряжения
1.1.4 Варикапы. Излучающие диоды
1.2 СВЧ-диоды
1.2.1. Детекторные диоды
1.2.2. Смесительные СВЧ-диоды
1.2.3. Переключательные СВЧ-диоды
1.2.4. Туннельные диоды
1.2.5. Обращенные диоды
1.2.6. Лавинно-пролетные диоды
1.3 Диод Ганна
II. Расчет параметров и характеристик диода Ганна
Вывод
Список используемой литературы
Введение
Научно-технический прогресс немыслим без электроники. Интенсивное развитие электроники связано с появлением новых разнообразных полупроводниковых приборов и интегральных микросхем, которые находят применение в вычислительной технике, автоматике, радиотехники.
Полупроводниковые приборы в виде точечных диодов, или, как их раньше называли, кристаллических детекторов, применяли еще в первых электронных установках. Выпрямительные свойства контактов между металлами и некоторыми сернистыми соединениями были обнаружены в 1874 г. А.С.Поповым (впервые был использован полупроводниковый диод-детектор в его радиотелеграфном приёмнике) в 1895 г при изобретении радио был применен порошковый когерер, в котором использовались нелинейные свойства зернистых систем. В 1922г О.В.Лосев (открыл способность полупроводникового диода генерировать и усиливать электрические сигналы) использовал отрицательное дифференциальное сопротивление, возникающее при определенных условиях на точечных контактах металла с полупроводником, для генерации и усиления высокочастотных электромагнитных колебаний. Кроме того, им было обнаружено свечение кристаллов карбида кремния при прохождении тока через точечный контакт.
Однако в этот период успешно развивается техника электровакуумных приборов и из-за недостаточного знания строения полупроводников и происходящих в них электрофизических процессов полупроводниковые приборы тогда не получили существенного развития и применения.
В годы Великой Отечественной войны были разработаны точечные высокочастотные и сверхвысокочастотные германиевые и кремниевые диоды. В 1942г в СССР был начат выпуск полупроводниковых термоэлектрических генераторов для непосредственного преобразования тепловой энергии в электрическую. Термогенераторы использовались для питания переносных радиостанций партизанских отрядов. Создание и производство этих и многих других приборов стало возможно благодаря фундаментальным теоретическим и экспериментальным исследованиям свойств полупроводников, проведенным группой ученых под руководством академика А.Ф. Йоффе.
С 1948г с моментов создания американскими учеными Дж. Бардиным, В. Браттейном, и В. Шокли точечного транзистора начался новый этап полупроводниковой электроники. В пятидесятых годах были разработаны различные типы транзисторов, мощных германиевых и кремниевых выпрямительных диодов, тиристоров, туннельных диодов и других полупроводниковых приборов.[1]
Большая работа по изучению процессов выпрямления выполнена немецким ученым В.Шоттки и американским ученым Н.Моттом. Но наиболее крупным достижением в области полупроводниковых приборов явилось изобретение в 1984 г американскими учеными Д.Б.Бардиным, В.Браттейном и У.Шокли полупроводникового усилительного элемента - транзистора. Обладая практически неограниченным сроком службы, транзисторы позволили существенно повысить надежность радиоэлектронных систем, во много раз уменьшить их размеры и сократить потребления ими электрического тока.
В СССР первые образцы точечных транзисторов были изготовлены в 1949 г А.В. Красиловым и С.Г. Мадоян.
Открытие транзистора послужило началом нового этапа в развитии полупроводниковой электроники. В период с 1948 по 1985г было создано более 60 различных типов твердотельных приборов, из которых в настоящее время отечественной и зарубежной промышленностью освоено производство более 30.
Параллельно с разработкой полупроводниковых выпрямителей и усилителей были разработаны приборы, принцип действия которых основан на свойствах полупроводниковых материалов изменять свое сопротивление под действием различных внешних факторов.
Нелинейные полупроводниковые резисторы –терморезисторы, фоторезисторы и варисторы - нашли широкое применение в электронной и радиоэлектронной аппаратуре, автоматике и электротехнике. Первые работы, посвященные вопросам конструирования и применения нелинейных резисторов, были опубликованы в конце 50-х годов. Создание новых типов нелинейных резисторов связано с именами советских ученых Б.Т.Коломийца, И.Т.Шефтеля, В.В Пасынкова.
Большим событием в радиотехнике и технике связи было появление туннельного диода. Его изобретение принадлежит японскому ученому Л.Есаки. В 1957г изучая p-n –переходы, изготовленные в сильнолегированном германии, он обнаружил аномальный ход вольт- амперных характеристик, обусловленный туннельным эффектом.
В последующие годы наблюдается быстрое продвижение полупроводниковых приборов в область сверхвысоких частот. Прогресс в этом направлении был достигнут в результате значительного усовершенствования технологии изготовления СВЧ- транзисторов, туннельных диодов и варикапов. В 1959 г советским ученым А.С. Тагером и его сотрудниками была обнаружена генерация когерентных колебаний СВЧ в p-n –переходе при ударной ионизации. Этот эффект стал основной лавинно-пролетного диода, на котором создан класс СВЧ- устройств: генераторы, усилители и преобразователи частоты.
Несмотря на достигнутые успехи в полупроводниковой электронике, нельзя считать знания в этой области достаточными. Предстоят исследования новых свойств полупроводников и создание принципиально новых приборов.
Полупроводниковая электроника дала возможность развернуть работы по миниатюризации и микроминиатюризации электронного оборудования.[2]
I. АНАЛИЗ КОНСТРУКТИВНЫХ ХАРАКТЕРИСТИК ПОЛУПРОВОДНИКОВЫХ ДИОДОВ
1.1 Полупроводниковый диод
Полупроводниковый диод- это полупроводниковый прибор с одним выпрямляющим электрическим переходом и двумя внешними выводами, в котором используется то или иное свойство выпрямляющего перехода.
В качестве выпрямляющего электрического перехода в полупроводниковых приборах может быть электронно-дырочный переход, гетеропереход или контакт металл-полупроводник.
В диоде с электронно-дырочным переходом кроме выпрямляющего электрического перехода должно быть два невыпрямляющих перехода, через которые p- и n-области диода соединены с выводами. В диоде с выпрямляющим электрическим переходом в виде контакта металл- полупроводник всего один невыпрямляющий переход.
а)
Н В Н
а) с электронно-дырочным переходом; В - выпрямляющие контакты;
Н - невыпрямляющие контакты
Рисунок 1.1 Структура полупроводниковых диодов
Обычно полупроводниковые диоды имеют несимметричные электронно-дырочные переходы. Поэтому при прямом включении диода количество неосновных носителей, инжектированных из сильнолегированной области в слаболегированную область, значительно больше, чем количество неосновных носителей, проходящих в противоположном направлении. В соответствии с общим определением область полупроводникового диода, в которую происходит инжекция неосновных носителей, называют базой диода. Таким образом, в диоде базовой областью является слаболегированная область.
В зависимости от соотношения линейных размеров выпрямляющего перехода и характеристической длины различают плоскостные и точечные диоды. Характеристической длиной для диода является наименьшая из двух величин, определяющая свойства и характеристики диода: диффузионная длина неосновных носителей в базе или толщина баз.
Плоскостным называют диод, у которого линейные размеры, определяющие площадь выпрямляющего электрического перехода, значительно больше характеристической длины.
Точечным называют диод, у которого линейные размеры, определяющие площадь выпрямляющего электрического перехода, значительно меньше характеристической длины.
Выпрямляющий переход кроме эффекта выпрямления обладает и другими свойствами: нелинейностью вольт- амперной характеристики; явлением ударной ионизации атомов полупроводника при относительно больших для данного перехода напряжениях; явлением туннелирования носителей сквозь потенциальный барьер перехода как при обратном, так в определенных условиях и при прямом напряжении; барьерной емкостью. Эти свойства выпрямляющего перехода используют для создания различных видов полупроводниковых диодов: выпрямительных диодов, смесителей, умножителей, модуляторов, стабисторов, стабилитронов, лавинно-пролетных диодов, туннельных и обращенных диодов, варикапов.[1]
1.1.1 Выпрямительные диоды
Диоды, используемые в электрических устройствах для преобразования переменного тока в ток одной полярности, называют выпрямительными.
Разновидностью выпрямительных диодов являются лавинные диоды. Эти приборы на обратной ветви ВАХ имеют лавинную характеристику, подобную стабилитронам. Наличие лавинной характеристики позволяет применять их в качестве элементов защиты цепей от импульсных перенапряжений, в том числе непосредственно в схемах выпрямителей.
1.1.2 Диодные матрицы и сборки
Диодные матрицы и сборки предназначены для использования в многоступенчатых диодно-резистивных логических устройствах, выполняющих операции И, ИЛИ, диодных функциональных дешифраторах, различных коммутаторов тока и других импульсных устройствах. Конструктивно они выполнены в одном корпусе и могут быть электрически соединены в отдельные группы или в одну группу (общий анод и раздельные катоды, общий катод и раздельные аноды), последовательно соединены или электрически изолированы.
1.1.3 Стабилитрон и стабистрон
Стабилитроном называют полупроводниковый диод, напряжение на обратной ветви ВАХ которого в области электрического пробоя слабо зависит от значения проходящего тока.
1.1.4 Ограничители напряжения
Ограничитель напряжения - это полупроводниковый диод, работающий на обратной ветви ВАХ с лавинным пробоем и (или) на прямой ветви характеристики, и предназначен для защиты от перенапряжений электрических цепей интегральных и гибридных схем, радиоэлектронных компонентов и многих других цепей аппаратуры.
Ограничители напряжения могут быть несимметричны и симметричны. Приборы первой группы в основном предназначены для защиты цепей постоянного тока, второй - переменного тока.
1.1.5 Варикапы
Варикап – это полупроводниковый диод, в котором используются зависимость емкости p-n перехода от обратного напряжения.
Варикапы удобны тем, что, подавая на них постоянное напряжение смещения, можно дистанционно и практически безинерционно менять их емкость и тем самым резонансную частоту контура, в который включен варикап. Варикапы применяют для усиления и генерации СВЧ сигналов, перестройки частоты колебательных контуров или автоподстройки частоты.
1.1.6 Излучающие диоды
Излучающим диодом называют полупроводниковый прибор, излучающий кванты света при протекании через него прямого тока.
По характеристике излучения излучающие диоды можно разделить на две группы: с излучением в видимой части спектра (светодиоды) и инфракрасной – диоды ИК-излучения.
1.2 Сверхвысокочастотные диоды
Большинство сверхвысокочастотных (СВЧ) диодов представляют собой точечные диоды, выпрямление в которых происходит на контакте металл - полупроводник. Особенностью таких контактов является возможность выпрямления без инжекции неосновных носителей в кристалл полупроводника. Поэтому в базе диода не происходит накопления и рассасывания носителей, что свойственно плоскостным диодам, ограничивающих их частотный диапазон.
В зависимости от выполняемой функции и применения СВЧ диоды подразделяются на детекторные, смесительные, умножительные, переключательные, ограничительные, параметрические и генераторные.[3]
1.2.1 Детекторные СВЧ – диоды
Полупроводниковые диоды, предназначенные для детектирования сигнала, называют детекторными. В качестве детекторов используют, как правило, плоскостные или точечные диоды с переходом Шоттки.
Детекторные диоды выпускают в различных корпусах: в керамическом патроне, в коаксиальном патроне, в керамическом патроне в форме таблетки.

Рисунок 1.2 –Эквивалентная схема детекторного диода
1.2.2 Смесительные СВЧ-диоды
Смесительным называют полупроводниковый диод, предназначенный для преобразования высокочастотных сигналов в сигнал промежуточной частоты.
Потери преобразования смесительного диода выражают отношением
L прб = PСВЧ / P п.ч (1.1)
где Рсвч - номинальная мощность подводимого СВЧ – сигнала; Р п. ч – номинальная мощность сигнала промежуточной частоты.
Обычно Ⅼпрб выражают в децибелах (дБ).
Ⅼпрб = 10lg P СВЧ / P п. ч (1.2)
Качество смесительного диода в значительной степени определяется свойствами полупроводника, из которого он изготовлен.
Κ=α /μ
εε₀/n (1.3)
α – радиус контакта, μ – подвижность основных носителей заряда; n - концентрация основных носителей заряда.
Чем меньше значение К, тем лучшими свойствами обладает смесительный диод.
1.2.3 Переключательные СВЧ-диоды
Переключательным называют полупроводниковый диод, предназначенный для применения в устройствах управления уровнем сверхвысокочастотной мощности.
Использование полупроводниковых диодов в качестве переключающих устройств позволяет создавать быстродействующие фазовые модуляторы в миллиметровом диапазоне волн. На рис1.3представлены эквивалентные схемы диодов, используемых в качестве переключателей: диода с p-n –переходом или переходом Шоттки (а) и диода с p-i-n-структурой (б).

Рисунок 1.3 –Эквивалентные схемы переключательного диода.
Полная эквивалентная схема переключательного СВЧ- диода помимо сопротивления p-n –перехода содержит емкость корпуса, и индуктивность контактной проволоки (в). В переключательных диодах Lк и Cп являются элементами резонансныхконтуров, образуемых диодом, и, таким образом, их значенияне могут быть произвольными.
Важным параметром выключателей является критическая частота fкр.п. д., характеризующая эффективность переключательного диода и определяемая по формуле :
fкр.п.д, = 1/2πCстр √rпр.п.д r обр.п.д (1.4)
где Cстр -емкость структуры.
1.2.4 Туннельные диоды
Туннельным называют полупроводниковый диод на основе вырожденного полупроводника, в котором туннельный эффект приводит к появлению на вольт- амперной характеристике при прямом напряжении участка отрицательной дифференциальной проводимости.
Эквивалентная схема туннельного диода состоит из емкости перехода Cp - n , сопротивления потерь rп - суммарного активного сопротивления кристалла, омических контактов и выводов; дифференциального сопротивления rдиф - величины, обратной крутизне вольт- амперной характеристики; индуктивности диода- полной последовательной индуктивности диода при заданных условиях и емкости корпуса Скор . Емкость между выводами диода Сд = Cp - n + Скор.
Рисунок 1.3- Эквивалентная схема туннельного диода
Частотныесвойства туннельных диодов характеризуются: резонансной частотой f₀- частотой, на которой общее реактивное сопротивление диода обращается в нуль; предельной резистивной частотой fR ,на которой активная составляющая полного сопротивления последовательной цепи, состоящей из p-n –перехода и сопротивления потерь, обращается в нуль:
fR = 1/2π |rдифmin | Cд √rдифmin / rn -1 (1.5)
1.2.5 Обращенные диоды
Разновидностью туннельных диодов являются обращенные диоды. Обращенным называют полупроводниковый диод на основе полупроводника с критической концентрацией примеси, в котором проводимость при обратном напряжении значительно больше, чем при прямом вследствие туннельного эффекта. Большой обратный ток и нелинейность вблизи нулевой точки позволяют использовать такие туннельные диоды в качестве пассивного элемента радиотехнических устройств, детекторов и смесителей для работы при малом сигнале и как ключевые устройства для импульсных сигналов малой амплитуды.Вольт- амперную характеристику обращенных диодов для напряжения U< Umax можно аппроксимировать формулой
I ≈U / rдиф eβU (1.6)
гдеrдиф – дифференциальное сопротивление диода при U=0; β можно определить экспериментально по наклону кривой зависимости логарифма проводимости от напряжения:
ln l/U (U) = -ln rдиф – βU (1.7)
Эквивалентная схема обращенного диода не отличается от эквивалентной схемы туннельного диода
1.2.6 Лавинно-пролетные диоды
Лавинно-пролетным (ЛПД) называют полупроводниковый диод, работающий в режиме лавинного размножения носителей заряда при обратном смещении электрического перехода и предназначенный для генерации сверхвысокочастотных колебаний.
Лавинно-пролетный диод обладает отрицательным дифференциальным сопротивлением в режиме лавинного пробоя. Недостатком ЛПД является очень низкий к.п.д. Это объясняется тем, что амплитуда колебательного напряжения на диоде намного меньше постоянного напряжения, приложенного к диоду для обеспечения режима лавинного умножения.[2]
1.3 Диод Ганна
В 1963 г. Дж. Ганн ( J.Gunn) установил, что если в монокристаллическом образце из арсенида галлия ( GaAs) или фосфида индия n-типа создать постоянное электрическое поле с напряженностью выше некоторого порогового значения, то в цепи возникают спонтанные колебания силы тока СВЧ- диапазона. Позднее Ганн установил, что при напряженности поля выше пороговой у катода формируется домен сильного электрического поля, который движется к аноду со скоростью примерно равной 105 м/с и исчезает у анода. Когда домен формируется, сила тока в цепи уменьшается, при исчезновении домена сила тока возрастает. Таким образом, в цепи возникают периодические колебания силы тока. В этом же году Б.К. Ридли высказал идею о том, что доменная неустойчивость должна появляться в полупроводниковом образце, если на его вольт- амперной характеристике имеется участок с отрицательной дифференциальной проводимостью N-типа. Такой вид вольт- амперная характеристика будет иметь, если при увеличении напряженности поля скорость носителей либо их концентрация уменьшаются. Б.К. Ридли, Т.Б. Уоткинс и С. Хилсум показали, что в GaAs и InP n-типа скорость электронов должна уменьшаться с ростом напряженности электрического поля, когда она превысит некоторое пороговое значение, достаточное для того, чтобы обусловить междолинный переход электронов из нижней долины, где их подвижность велика, в более высоколежащие долины зоны проводимости, в которых подвижность электронов резко снижается. В 1964 г. Н. Кремер указал, что все основные закономерности эффекта Ганна могут быть объяснены на основе механизма Ридли – Уоткинса – Хилсума.
В основе действия диодов на эффекте Ганна (диоды на эффекте Ганна сокращенно называются диодами Ганна) лежит эффект междолинного переноса электронов (эффект Ганна). На основе эффекта Ганна созданы генераторные и усилительные диоды, применяемые в качестве генераторов накачки в параметрических усилителях, гетеродинов в супергетеродинных приемниках, генераторов в маломощных передатчиках и в измерительной технике. Выходная мощность GaAs диодов достигает 1 Вт в непрерывном режиме на частоте до 10 ГГц, 220 МВт на частотах 50…60 ГГц, 160 мВт на 65 ГГц, 10 мВт на частоте 100 ГГц и 4 мВт на 110 ГГц. Импульсная мощность достигает 100 Вт на частоте 10 ГГц, а в режиме ограниченного накопления объемного заряда имеет порядок 1 кВт. Для InP диодов в непрерывном режиме выходная мощность – до 1,5 Вт, а максимальная рабочая частота – до 200 ГГц.
Диоды Ганна- это полупроводниковые приборы с отрицательным динамическим сопротивлением, возникающим под воздействием сильного электрического поля, предназначенные для генерирования и усиления сверхвысокочастотных колебаний.[4];полупроводниковый диод, действие которого основано на появление отрицательного объемного сопротивления под влиянием сильного электрического поля, предназначенный для генерации и усиления СВЧ- колебаний.[2];
Несмотря на принципиальную простоту конструкции диода Ганна, представляющего собой пластину однородного кристалла арсенида галлия с электропроводностью n-типа с невыпрямляющими контактами, нанесенными на его противолежащие стороны, в производстве таких приборов встречаются трудности, связанные, прежде всего с воспроизводимостью однородного легирования арсенида галлия.
Удельное сопротивление исходного арсенида галлия выбирают от 1 до 10 Ом* см. Время диэлектрической релаксации, ограничивающее скорость образования доменов, в этом случае 10-12 - 10-11 с.
В диодах Ганна, имеющих толщину кристалла между электродами более 200 мкм, колебания, как правило, некогерентны. Это связано с наличием в каждом из кристаллов нескольких дефектов, на которых могут зарождаться домены. Путь, пробегаемый доменом от места его зарождения до анода, определяет период колебаний. Поэтому если домены зарождаются на различных неоднородностях кристалла, т. е на различных расстояниях от анода, то колебания имеют шумовой характер. Применение диодов Ганна практически оправдано в диапазоне частот более 1 ГГц, что соответствует толщине кристаллов полупроводника между электродами l ≤100 мкм.
В свою очередь наименьшая толщина кристаллов полупроводника для диодов Ганна ограничивается технологическими трудностями. Так, при использовании традиционных методов изготовления тонких пластинок из арсенида галлия (шлифовки, полировки и травления) удается получить диод Ганна с l≈2 мкм, величиной порогового напряжения 1В и частотой генерации около 30 ГГц. Однако такой метод производства диодов Ганна малой длины чрезвычайно труден и слишком трудоемок.
Более приемлем метод фотолитографии, который позволяет уменьшить расстояние между контактами до 1 мкм. Перспективным в изготовлении тонких пленок арсенида галлия является метод эпитаксиального наращивания.
При создании низкоомных омических контактов, необходимых для работы диодов Ганна, существуют два подхода.
Первый из них заключается в поисках приемлемой технологии нанесения таких контактов непосредственно на высокоомный арсенид галлия.
Второй подход заключается в изготовлении многослойной конструкции генератора (типа «сэндвич»). В диодах такой структуры на слой сравнительно высокоомного арсенида галлия, служащего рабочей частью генератора, наращивают с двух сторон эпитаксиальные слои относительно низкоомного арсенида галлия с электропроводностью n-типа. Эти высоколегированные слои служат переходными прослойками от рабочей части прибора к металлическим электродам.
Такие многослойные генераторы имеют два преимущества по сравнению с обычной конструкцией диодов Ганна. Во-первых, нанесение металлических контактов на сильнолегированный материал является сравнительно простой и хорошо освоенной в серийном производстве операцией. Во-вторых, при весьма тонкой рабочей части диода может иметь сравнительно большую общую толщину, что упрощает обращение с ним при напайке внешних выводов, монтаже в СВЧ- патрон.
Проводились эксперименты по изготовлению диодов Ганна на основе таких материалов, как теллурид кадмия, арсенид и фосфид индия. Однако техника получения этих материалов отработана хуже, чем техника получения арсенида галлия и эксперименты имели чисто научное значение. Арсенид галлия является пока единственным материалом, практически применяемым для изготовления диодов Ганна.
Структура диода Ганна представляет собой в принципе однородную пленку из высокоомного полупроводника с омическими контактами с обеих сторон пленки. Активная область – высокоомная пленка полупроводника n- типа. Содержание легирующей примеси в GaAs-пленке выбирается исходя из ее толщины. Толщина пленки связана с рабочей частотой соотношением (T≈ω/v). Практически концентрация примесей в пленке имеет порядок 1015 см-3. Один из контактов называют катодом (К), противоположный контакт – анодом (А). Электроны движутся от катода к аноду. Структуры диодов Ганна не содержат выпрямляющих переходов.
Пленка выращена на высоколегированной подложке из GaAs. Концентрация легирующей примеси в подложке – около 1018 см-3 .Толщина подложки 100…200 мкм. Поверх пленки выращен еще один слой высоколегированного GaAs n- типа. Концентрация легирующих примесей в этом слое примерно такая же, как в подложке. Высоколегированные слой и подложка необходимы, чтобы улучшить качество омических контактов. Получается слоистая структура n+ -n-n+ - типа. После этого большая часть толщины подложки сошлифовывается для улучшения условий отвода тепла от активного слоя диода. На обе стороны образованной структуры наносят металлические пленки, служащие омическими контактами. Наиболее распространены омические контакты из эвтектического сплава Ge с Au и серебряно- оловянистые контакты.
Слоистую структуру большой площади ( пластину) разделяют на отдельные диодные структуры (кристаллы). Диаметр исходной пластины равен диаметру слитка (около 10 мм). Размер кристалла для одного диода составляет доли миллиметра. Разделение пластины на кристаллы производят чаще всего химическим травлением с применением техники фотолитографии. В результате разделения образуются мезаструктуры.
Практически слоистая (трехслойная) структура n+ -n-n+ - типа может работать только при определенной полярности приложенного напряжения - когда анодом является подложка. Причина состоит в том, что уровни легирования подложки и эпитаксиального n+ - слоя неодинаковы, n+ - n-переход между эпитаксиальным n+ - слоем и активным n-слоем более резок, чем переход между подложкой и тем же n-слоем. Условия для образования домена на резком n+ -n- переходе оказываются более удовлетворительными, поэтому когда в качестве катода используется эпитаксиальный n+ - слой, то диод Ганна работает эффективнее. Чтобы диоды работали одинаково при обеих полярностях приложенного напряжения, иногда прибегают к созданию дополнительного (буферного) эпитаксиального n+ - слоя между подложкой и n-слоем (четырехслойные n++ - n+ - n-n+ -структуры)
Характерной особенностью диодов Ганна является очень высокая рассеиваемая мощность в диоде, приходящаяся на единицу объема структуры (высокая плотность рассеиваемой мощности). Плотность рассеиваемой мощности достигает в некоторых участках структуры диода 104 Вт/мм3 .Это связано с тем, что для образования доменов необходимы электрические поля высокой напряженности при малых размерах структуры и больших значениях тока.
Столь высокая плотность мощности приводит к интенсивному тепловыделению, что серьезно осложняет вопросы конструирования диодов Ганна. Уменьшить плотность тепловыделения увеличением поперечной площади структуры диода (т.е. увеличить объем структуры) не удается, так как при этом ухудшаются условия охлаждения ее внутренних частей. Дело осложняется также низкой теплопроводностью GaAs. Для разрешения этой задачи найдено несколько достаточно сложных путей.
Прежде всего, для улучшения теплоотвода сошлифовывают большую часть подложки, чтобы довести толщину слоя до значения менее 10 мкм. Металлические контакты к обеим сторонам структуры создают напылением металла в вакууме с последующим химическим наращиванием. Такой контакт улучшает условия теплоотвода. Для улучшения теплоотвода структура диода присоединяется к кристаллодержателю со стороны n+ - слоя, выращенного на активном слое диода. Преимущество заключается в меньшей толщине n+ - слоя с этой стороны. Для диодов с таким «перевернутым» монтажом характерно тепловое сопротивление 10… 20 град/Вт, в то время как для прямого монтажа 30… 60 град/Вт. Поэтому перевернутый монтаж применяется в основном для изготовления мощных диодов с Рвых >1 Вт.
Поскольку увеличивать площадь структуры не удается, то применяют многомезную площадь структуры, содержащую несколько мезаструктур (3-5) в одном диоде. Если отдельные структуры достаточно удалены друг от друга, то удается заметно снизить температуру горячей области диода. Может быть использована также кольцевая структура. Заметный положительный эффект в виде уменьшения температуры структуры диода достигается, когда внутренний диаметр кольца составляет более чем 70…80% наружного диаметра.
Чтобы улучшить условия теплопередачи от структуры диода к кристаллодержателю, предлагалось впрессовывать в кристаллодержатель алмазную пластинку для присоединения к ней диодной структуры. Теплопроводность алмаза очень велика, однако высокая стоимость и трудность обработки и металлизации осложняют его использование
Наиболее распространенным конструктивным оформлением диода Ганна является миниатюрный корпус, представляющий собой кварцевое или керамическое колечко, металлизированное с торцевых поверхностей. Внутри корпуса монтируется структура диода, сидящая на массивном теплоотводе.
Технология InP- диодов в принципе близка к технологии арсенид-галлиевых приборов, но содержит важное отличие – сложный профиль легирующей примеси у катода фосфид - индиевых диодов. Такой профиль необходим в связи с особенностями движения электронов в фосфиде индия. Технология InP-приборов находится пока еще в стадии развития.

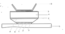
К-катод, А-анод, 1-активный n-слой, 2-промежуточный n+ -слой, 3-металлические контакты, 4- подложка n+ -типа, 5 - теплоотвод, 6-ленточный вывод.
Рисунок 1.5- Структура диода Ганна с перевернутым монтажом
При экспериментальном исследовании в диодах Ганна обнаружена своеобразная движущаяся неоднородность напряженности электрического поля в рабочем режиме. При малом приложенном к диоду напряжении электрическое поле в структуре равномерно. При увеличении приложенного напряжения растет напряженность электрического поля в диоде и, достигнув критического значения, распределение электрического поля в диоде перестает быть однородным. При этом образуются области слабого и сильного полей. Область сильного поля получила название домен сильного поля, домен движется в структуре диода от катода к аноду со скоростью, близкой к скорости дрейфа электронов. В GaAs скорость дрейфа электронов при напряженности электрического поля, близкой к критической, равна приблизительно 107 см/с. Домен доходит до анода и исчезает в нем. Как только домен исчезнет, у катода образуется новый домен и начинает двигаться к аноду.
Рассмотренное явление называется доменной неустойчивостью. Напряженность электрического поля в домене очень высока - от 40 до 200 кВ/см, а вне домена только 1…..2 кВ/см. Размеры домена составляют обычно 1/10…1/30 толщины структуры диода.
В основе явления доменной неустойчивости лежит особая зависимость скорости дрейфа электронов в таких полупроводниках как GaAs и InP от Е.Особенность этой зависимости состоит в том, что существует такой интервал напряженностей электрического поля, когда при росте Е скорость дрейфа электронов поля, уменьшается.
На движение электронов в кристалле действуют приложенные извне электрические поля и внутреннее, созданное атомами, образующими кристалл. Условно считают, что при движении в кристалле электрон подвергается только влиянию приложенного электрического поля, но при этом его масса отличается от массы, которую он имеет при движении вне кристалла. Эту условную массу, как бы измененную под действием внутренних полей, называют эффективной массой электрона в кристалле полупроводника.
В GaAs и InP на высоких уровнях энергии эффективная масса электрона столь велика, что скорость дрейфа при более высоких энергиях оказывается ниже, чем при меньших энергиях. В этом и заключается причина появления падающего участка. Уменьшение скорости дрейфа приводит к образованию сгустков дрейфующих электронов.
Распределение напряженности электрического поля Е по толще структуры диода никогда не может быть идеально однородным. Особенно неоднородно это распределение у катода и у анода из-за неоднородности состава и удельного сопротивления полупроводника в этих областях. Пусть между анодом и катодом приложено постоянное напряжение, создающее в структуре диода напряженность электрического поля. Из-за неоднородности сопротивления полупроводника у катода напряженность электрического поля в некоторых точках ниже, чем в соседних. Но понижение Е ниже критического значения ведет к повышению скорости дрейфа, а повышение Е ведет к понижению скорости электронов в этом месте структуры. К замедлившимся электронам начнут подходить электроны, находившиеся ближе к катоду, образуя в месте неоднородности избыток, «сгусток» электронов. Электроны, находящиеся ближе к аноду, будут уходить от замедлившихся электронов. В результате в структуре диода возникает домен сильного поля. Фронт домена, обращенный к аноду, обеднен электронами. Фронт, обращенный к катоду, представляет собой сгусток электронов.
Домен может возникнуть и на неоднородности структуры вблизи анода. Но в этом случае он будет почти сразу поглощен анодом и не успеет вырасти. При своем движении от катода к аноду домен захватывает все новые электроны, но его росту мешают силы взаимного отталкивания этих заряженных частиц. Теоретически доказано и проверено экспериментально, что условием роста домена является соотношение
n0 ω>1012 1/см2 (1.8)
гдеn0 - концентрация подвижных электроновв полупроводнике, ω-расстояние между катодом и анодом. Если это условие соблюдено, то домен увеличивается, двигаясь к аноду.
Процессом образования, движения и исчезновения доменов сильного поля вполне объясняется явление пульсации тока в цепи с диодом Ганна. Пока домен движется, электрическое поле вне его очень мало. Скорости дрейфа носителей заряда вне домена также относительно малы и соответственно мал ток в цепи диода. Когда домен исчезнет, достигнув анода, а новый домен еще не успеет образоваться, то распределение напряженности поля в толще диодной структуры станет почти однородным. Тогда все электроны диода в полной мере участвуют в переносе тока, и последний в этот промежуток времени достигает пикового значения.
Imax = Sen0 vmax (1.9)
Практически диоды Ганна могут иметь значение ω от единиц до нескольких сотен микрометров, при этом длительность периода колебаний лежит в диапазоне СВЧ.
Такой режим работы диода Ганна называют пролетным режимом. В пролетном режиме ток через диод представляет собой импульсы, следующие с периодом T= tпр = l/vдом . Диод генерирует СВЧ- колебания с пролетной частотой fпр = 1/ tпр = vдом /l, определяемой в основном длиной образца и слабо зависящей от нагрузки ( именно такие колебания наблюдал Ганн при исследовании образцов из GaAs и InP).[4]
Электронные процессы в диоде Ганна должны рассматриваться с учетом уравнений Пуассона, непрерывности и полной плотности тока, имеющих для одномерного случая следующий вид:
e dn/dt+ e d/dx [nv (E) – D dn/dx]=0 (1.10)
Jполн = I/S =env (E) – eD dn/dx+εε0 dE/dt (1.11)
Мгновенное напряжение на диоде U =
Edx.Полный ток не зависит от координат и является функцией времени. Часто коэффициент диффузии D считают не зависящим от электрического поля.
В зависимости от параметров диода (степени и профиля легирования материала, длины и площади сечения образца и его температуры), а также от напряжения питания и свойств нагрузки диод Ганна, как генератор и усилитель СВЧ- диапазона, может работать в различных режимах: доменных, ограничения накопления объемного заряда (ОНОЗ), гибридном, бегущих волн объемного заряда, отрицательной проводимости.
Для доменных режимов работы диода Ганна характерно наличие в образце сформировавшегося дипольного домена в течение значительной части периода колебаний. Скорость домена vдом и максимальная напряженность поля в нем Едом связаны правилом равных площадей
∫ [v (E) – vдом ] dx=0 (1.12)
В соответствии с этим правилом площади, v(E), vдом = const ,Eдом = const, являются одинаковыми. Максимальная напряженность поля Eдом в домене значительно превышает поле Ев вне домена и может достигать десятков кВ/см.
Длина домена зависит от концентрации донорной примеси, а также от напряжения на диоде и при n0 ≈ 1015 см -3 составляет 5- 10 мкм. Уменьшение концентрации примеси приводит к расширению домена за счет увеличения обедненного слоя. Формирование домена происходит за конечное время τф и связано с установлением отрицательной дифференциальной проводимости и с нарастанием объемного заряда. Постоянная времени нарастания объемного заряда в режиме малого возмущения равна постоянной диэлектрической релаксации τд и определяется отрицательной дифференциальной подвижностью μдиф и концентрацией электронов n0 . При максимальном значении μ2диф ≈ 2000 см2 *(В *с)-1 τд. ≈ 3 *10-12 c, тогда как время установления ОДП менее 10-12 с. Таким образом, время формирования домена определяется в значительной степени процессом перераспределения объемного заряда. Оно зависит от начальной неоднородности поля, уровня легирования и приложенного напряжения. Приближенно считают, что домен успеет полностью сформироваться за время:
τф ≈ ( 10÷20 ) τд ≈ 5 * 104 / n0 (1.13)
гдеn0 выражено в см -3 . Говорить о доменных режимах имеет смысл только в том случае, если домен успеет сформироваться за время пролета электронов в образце tпр = l / vнас Отсюда условием существования дипольного домена является tпр > τф , или n0 >5*1011 см-2
Значение произведения концентрации электронов на длину образца n0 l = 5*1011 называют критическим и обозначают (n0 l)кр. Это значение является границей доменных режимов диода Ганна и режимов с устойчивым распределением электрического поля в однородно легированном образце. При n0 l < (n0 l)кр домен сильного поля не образуется, и образец называют стабильным. При n0 l>(n0 l)кр возможны различные доменные режимы. Критерий типа n0 l < (n0 l)кр справедлив, строго говоря, только для структур, у которых длина активного слоя между катодом и анодом много меньше поперечных размеров: l<<d, что соответствует одномерной задаче и характерно для планарных и мезаструктур. У тонкопленочных структур эпитаксиальный активный слой GaAs длиной l может быть расположен между высокоомной подложкой и изолирующей диэлектрической пленкой, выполненной из SiO2 . Омические анодные и катодные контакты изготовляют методами фотолитографии. Поперечный размер диода d может быть сравним с его длиной l. В этом случае образующиеся при формировании домена объемные заряды создают внутренние электрические поля, имеющее не только продольную компоненту Ех , но и поперечную компоненту Еу . Это приводит к уменьшению поля по сравнению с одномерной задачей. При малой толщине активной пленки, когда d<<l ,критерий отсутствия доменной неустойчивости n0 l < (n0 l)кр заменяется на условие n0 d<(n0 d)кр . Для таких структур n0 l при устойчивом распределении электрического поля может быть больше 5*1011 см-2 .
Время формирования домена не должно превышать полупериода СВЧ - колебаний. Поэтому имеется и второе условие существования движущегося домена τф <T/2, из которого получаем n0 / f >105 см -3 *c.
В зависимости от соотношения времени пролета и периода СВЧ - колебаний, а также от значений постоянного напряжения U0 и амплитуды высокочастотного напряжения Um могут быть реализованы следующие доменные режимы: пролетный, режим с задержкой домена, режим с подавлением (гашением) домена. Процессы, происходящие в этих режимах, рассмотрим для случая работы диода Ганна на нагрузку в виде параллельного колебательного контура с активным сопротивлением Rн на резонансной частоте и питанием диода от генератора напряжения с малым внутренним сопротивлением. При этом напряжение на диоде изменяются по синусоидальному закону. Генерация возможна при U0 > Uпор..
При малом сопротивлении нагрузки, когда Rн ≃ R0 , где R0 = l /(en0 µ1 S)-сопротивление диода Ганна в слабых полях, амплитуда высокочастотного напряжения Um невелика и мгновенное напряжение на диоде превышает пороговое значение. Здесь имеет место рассмотренный ранее пролетный режим, когда после формирования домена ток через диод остается постоянным и равным Iнас = Sen0 vнас .При исчезновении домена ток возрастает до Imax .Для GaAs Imax / Iнас ≃ vmax / vнас ≃ 2. Частота колебания в пролетном режиме равна fпр . Так как отношение Um / U0 мало, к.п.д. генераторов на диоде Ганна, работающих в пролетном режиме, невелик и этот режим обычно не имеет практического применения.
При работе диода на контур с высоким сопротивлением , когда Rн >R0 , амплитуда переменного напряжения Um может быть достаточно большой, так что в течение некоторой части периода мгновенное напряжение на диоде становится меньше порогового. В этом случае говорят о режиме с задержкой формирования домена. Домен образуется, когда напряжение на диоде превышает пороговое, т.е в момент времени t1 . После образования домена ток диода уменьшается до Iнас и остается таким в течение времени пролета tпр домена. При исчезновении домена на аноде в момент времени t2 напряжение на диоде меньше порогового и диод представляет собой активное сопротивление R0 .Изменение тока пропорционально напряжению на диоде до момента t3 , когда ток достигает максимального значения Imax ,а напряжение на диоде равно пороговому. Начинается образование нового домена, и весь процесс повторяется. Длительность импульса тока равна времени запаздывания образования нового домена τ3 = t3 - t2 .Время формирования домена считается малым по сравнению с tпр и Т. Очевидно, что такой режим возможен, если время пролета находится в пределах Т/2 < tпр < T и частота генерируемых колебаний составляет fпр /2 < f < fпр.
При еще большей амплитуде высокочастотного напряжения, минимальное напряжение диода может оказаться меньше напряжения гашения диода Uгаш. В этом случае имеет место режим с гашением домена. Домен образуется в момент времени t1 и рассасывается в момент времени t2 ,когда U = Uгаш . Новый домен начинает формироваться после того, как напряжение превысит пороговое значение. Поскольку исчезновение домена не связано с достижением им анода, время пролета электронов между катодом и анодом в режиме гашения домена может превышать период колебаний: tпр T/2. Таким образом, в режиме гашения f>fпр /2. Верхний предел генерируемых частот ограничен условием T/2>τф и может составлять (2÷3)fпр
Электронный к.п.д. генераторов на диодах Ганна, работающих в доменных режимах, можно определить, раскладывая в ряд Фурье функцию тока I(t)для нахождения амплитуды первой гармоники и постоянной составляющей тока. Значение к.п.д зависит от отношений U0 /Uпор , Rн /R0 , f/fпр , vнас /vmax и при оптимальном значении n0 ≈(1÷ 2)*1015 см-3 не превышает для диодов из GaAs 6% в режиме с задержкой домена. Электронный к.п.д. в режиме с гашением домена меньше, чем режиме с задержкой домена.
Режим ОНОЗ.
Несколько позднее доменных режимов был предложен и осуществлен для диодов Ганна режим ограничения накопления объемного заряда. Он существует при постоянных напряжениях на диоде, в несколько раз превышающих пороговое значение, и больших амплитудах напряжения на частотах, в несколько раз больших пролетной частоты. Для реализации режима ОНОЗ требуются диоды с очень однородным профилем легирования. Однородное распределение электрического поля и концентрации электронов по длине образца обеспечивается за счет большой скорости изменения напряжения на диоде. Если промежуток времени, в течение которого напряженность электрического поля проходит область ОДП характеристики v (E), много меньше времени формирования домена τф ,то не происходит заметного перераспределения поля и объемного заряда по длине диода. Скорость электронов во всем образце «следует» за изменением электрического поля, а ток через диод определяется зависимостью скорости от поля..
Таким образом в режиме ОНОЗ для преобразования энергии источника питания в энергию СВЧ- колебаний используется отрицательная проводимость диода. В этом режиме в течение части периода колебаний длительностью τ1 напряжение на диоде остается меньше порогового и образец находится в состоянии, характеризуемом положительной подвижностью электронов, т.е. происходит рассасывание объемного заряда, который успел образоваться за время, когда электрическое поле в диоде было выше порогового.

Рисунок 1.6- Временная зависимость тока диода Ганна в режиме ОНОЗ
Условие слабого нарастания заряда за время Т- τ1 можно записать в виде τф ≈3τд.ср >T, где τд.ср =ɛɛ0 /(en0 |µдиф.ср |); µдиф.ср - среднее значение отрицательной дифференциальной подвижности электронов в области E>Eпор .Рассасывание объемного заряда за время τ1 будет эффективным, если τ1 >τд1 и T>> τд1 , где τд1 =ɛɛ0 /(en0 µ1 ); τд1 и µ1 –постоянная времени диэлектрической релаксации и подвижность электронов в слабом поле.
Электронный к.п.д. генератора на диоде Ганна в режиме ОНОЗ можно рассчитать по форме тока .При U0 / Uпор = 3÷4 максимальный к.п.д. составляет 17%.
В доменных режимах частота генерируемых колебаний примерно равна пролетной частоте. Поэтому длина диодов Ганна, работающих в доменных режимах, связана с рабочим диапазоном частот выражением:
l ≈ 100/f, (1.14)
где f выражена в ГГц, а l- в мкм. В режиме ОНОЗ длина диода не зависит от рабочей частоты и может во много раз превышать длину диодов, работающих на тех же частотах в доменных режимах. Это позволяет значительно увеличивать мощность генераторов в режиме ОНОЗ по сравнению с генераторами, работающими в доменных режимах.
Рассмотренные процессы в диоде Ганна в доменных режимах являются, по существу, идеализированными, так как реализуются на сравнительно низких частотах ( 1-3 ГГц),где период колебаний значительно меньше времени формирования домена, а длина диода много больше длины домена при обычных уровнях легирования (1014 - 5*1015 см-3 ).Чаще всего диоды Ганна в непрерывном режиме используют на более высоких частотах в так называемых гибридных режимах. Гибридные режимы работы диодов Ганна являются промежуточными между режимами ОНОЗ и доменным. Для гибридных режимов характерно, что образование домена занимает большую часть периода колебаний. Не полностью сформировавшийся домен рассасывается, когда мгновенное напряжение на диоде снижается до значений, меньших порогового. Напряженность электрического поля вне области нарастающего объемного заряда остается в основном больше порогового. Процессы, происходящие в диоде в гибридном режиме, анализируют с применением ЭВМ при использовании формул
dE/dx = e/εε0 [n(x) – n0 ], (1.15)
Гибридные режимы занимают широкую область значений n0 / f и не столь чувствительны к параметрам схемы, как режим ОНОЗ.
Режим ОНОЗ и гибридные режимы работы диода Ганна относят к режимам с «жестким» самовозбуждением, для которых характерна зависимость отрицательной электронной проводимости от амплитуды высокочастотного напряжения. Ввод генератора в гибридный режим (как и в режиме ОНОЗ) представляет сложную задачу и обычно осуществляется последовательным переходом диода из пролетного режима в гибридные.
Следует иметь в виду, что электронный к.п.д. генераторов на диодах Ганна уменьшается на высоких частотах, когда период колебаний становится соизмеримым с временем установления ОДП ( это проявляется уже на частотах ∼30 ГГц).Инерционность процессов, определяющих зависимость средней дрейфовой скорости электронов от поля, приводит к уменьшению противофазной составляющей тока диода. Предельные частоты диодов Ганна, связанные с этим явлением, оцениваются значениями ∼ 100 ГГц для приборов из GaAs и 150-300 ГГц для приборов из InP .
Выходная мощность диодов Ганна ограничена электрическими и тепловыми процессами. Влияние последних приводит к зависимости максимальной мощности от частоты в виде Pвых f =A ,где постоянная А определяется допустимым перегревом структуры, тепловыми характеристиками материала, электронным к.п.д. и емкостью диода. Ограничения по электрическому режиму связаны с тем, что при большой выходной мощности амплитуда колебаний Um оказывается соизмеримой с постоянным напряжением U0 на диоде: Um ≈ U0 = E0 l.
В доменных режимах имеем Pвых f2 = 0,5 E2 0доп v2 нас / Rэ . Максимальная напряженность электрического поля в домене Eдом значительно превышает среднее значение поля в диоде E0 ,в то же время она должна быть меньше пробивной напряженности, при которой возникает лавинный пробой материала ( для GaAs Епроб ≈ 200 кВ/см).Обычно допустимым значением электрического поля E0доп считают 15 кВ/см.
Как и для ЛПД, на относительно низких частотах ( в сантиметровом диапазоне длин волн) максимальное значение выходной мощности диодов Ганна определяется тепловыми эффектами. В миллиметровом диапазоне толщина активной области диодов, работающих в доменных режимах, становится малой и преобладают ограничения электрического характера. В непрерывном режиме в трехсантиметровом диапазоне от одного диода можно получить мощность 1-2 Вт при к.п.д. до 14% ; на частотах 60-100 ГГц- до 100 вВт при к.п.д. в единицы процентов. Генераторы на диодах Ганна характеризуются значительно меньшими частотными шумами, чем генераторы на ЛПД.
Режим ОНОЗ отличается значительно более равномерным распределением электрического поля. Кроме того, длина диода, работающего в этом режиме, может быть значительной. Поэтому амплитуда СВЧ- напряжения на диоде в режиме ОНОЗ может на 1-2 порядка превышать напряжение в доменных режимах. Таким образом, выходная мощность диодов Ганна в режиме ОНОЗ может быть повышена на несколько порядков по сравнению с доменными режимами. Для режима ОНОЗ на первый план выступают тепловые ограничения. Диоды Ганна в режиме ОНОЗ работают чаще всего в импульсном режиме с большой скважностью и генерируют в сантиметровом диапазоне длин волн мощность до единиц киловатт.
Частота генераторов на диоде Ганна определяется в основном резонансной частотой колебательной системы с учетом емкостной проводимости диода и может перестраиваться в широких пределах механическими и электрическими методами.
В волноводном генераторе диод Ганна установлен между широкими стенками прямоугольного волновода в конце металлического стержня. Напряжение смещения подается через дроссельный ввод, который выполнен в виде отрезков четвертьволновых коаксиальных линий и служит для предотвращения проникновения СВЧ- колебаний в цепь источника питания. Низкодобротный резонатор образован элементами крепления диода в волноводе. Частота генератора перестраивается с помощью варакторного диода, расположенного на полуволновом расстоянии λв /2 и установленного в волноводе аналогично диоду Ганна. Часто диоды включают в волновод с уменьшенной высотой b1 ,который соединен с выходным волноводом стандартного сечения четвертьволновым трансформатором.
В микрополосковой конструкции диод включен между основанием и полосковым проводником. Для стабилизации частоты используется высокодобротный диэлектрический резонатор в виде диска из диэлектрика с малыми потерями и высоким значением ɛ, расположенного вблизи полоскового проводника МПЛ шириной w. Конденсатор служит для разделения цепей питания и СВЧ- тракта. Напряжение питания подается через дроссельную цепь, состоящую из двух четвертьволновых отрезков МПЛ с различными волновыми сопротивлениями, причем линия с малым сопротивлением разомкнута.Использование диэлектрических резонаторов с положительным температурным коэффициентом частоты позволяет создавать генераторы с малыми уходами частоты при изменении температуры ( ∼40 кГц/0 C ).
Перестраиваемые по частоте генераторы на диодах Ганна могут быть сконструированы с применением монокристаллов железоиттриевого граната. Частота генератора в этом случае изменяется за счет перестройки резонансной частоты высокодобротного резонатора, имеющего вид ЖИГ- сферы малого диаметра, при изменении магнитного поля Н0 .Максимальная перестройка достигается при бескорпусных диодах, имеющих минимальные реактивные параметры. Высокочастотный контур диода состоит из короткого витка, охватывающие ЖИГ- сферу. Связь контура диода с контуром нагрузки осуществляется за счет взаимной индуктивности, обеспечиваемой ЖИГ-сферой и ортогонально расположенными витками связи. Диапазон электрической перестройки таких генераторов, широко используемых в автоматических измерительных устройствах, достигает октавы при выходной мощности 10-20 мВт.
Следует отметить, что расчет генераторов на диодах Ганна затруднен приблизительным характером данных как о параметрах эквивалентной схемы диода, так и о параметрах эквивалентной схемы колебательной системы, а также узла крепления диода ( особенно на высоких частотах).Обобщенную эквивалентную схему диода Ганна обычно задают в виде рис.3. Активную область диода представляют в виде параллельного соединения отрицательной проводимости ( -Gд ) и емкости С, значение которой в различных режимах работы могут существенно отличаться от «холодной» емкости диодной структуры C0 = ɛɛ0 S/l. Величины Gд и С зависят как от постоянного напряжения U0 ,так и от амплитуды СВЧ- напряжения Um ,а также частоты. Поэтому весьма актуальной является проблема непосредственных измерений параметров эквивалентной схемы диодов в реальных режимах работы. Конструкции корпусов диодов Ганна и значения их паразитных параметров не отличаются от конструкции и параметров других диодов.
Срок службы генераторов Ганна относительно мал ,что связано с одновременным воздействием на кристалл полупроводника таких факторов, как сильное электрическое поле и перегрев кристалла из-за выделяющейся в нем мощности.
Диоды Ганна имеют различные области применения, что объясняется различием в уровнях выходной мощности и шумов на выходе ( у диодов Ганна уровень шумов на 20…30 дБ ниже, чем у ЛПД ),а также различием требований к источникам электрического питания. Диоды Ганна применяются в маломощных источниках СВЧ сигналов некоторых типах линий связи, измерительной технике, гетеродинах, генераторах накачки. Электрическое питание для них – низковольтные сравнительно простые генераторы напряжения.
Схема стабилизированного питания диодов Ганна в непрерывном режиме показана на рис.1.7

Рисунок 1.7- Схема стабилизации напряжения для питания диодов Ганна
Цепочка RC служит для предотвращения возникновения паразитных колебаний в цепи питания, что могло бы привести к выгоранию диода. Цепь питания должна также содержать устройство для стабилизации тока диода и осуществлять защиту от включения диода Ганна на напряжение противоположной полярности, что также привело бы к повреждению диода.
Генераторные диоды эксплуатируются в резонансных камерах, выполненных либо в виде полых резонаторов, либо в виде микросхем на диэлектрических подложках с резонирующими емкостными и индуктивными элементами, либо в виде комбинации резонаторов с микросхемами. Для уменьшения температурного изменения частоты резонаторы изготовляют из металла с низким коэффициентом линейного расширения. Микрополосковые резонаторы имеют относительно низкую добротность, что ведет к меньшей стабильности частоты и мощности и увеличивает шумы.
В микрополосковой камере для диодов Ганна этот недостаток устранен в результате использования высокодобротного диэлектрического резонатора.
Для прецизионной стабилизации частоты используют маломощные опорные высокостабильные генераторы СВЧ. Для подстройки и перестройки частоты генераторов может применяться механическая перестройка резонаторов. Частота диодов Ганна в определенных пределах может подстраиваться регулированием тока.
Эффективно применение на диодах Ганна высокодобротных настроечных диодов. Для увеличения отдаваемой мощности применяются камеры, в которых одновременно работает несколько однотипных генераторных диодов. При конструировании генераторных камер должны учитываться вопросы согласования выходного полного сопротивления генераторного диода со входным сопротивлением нагрузки
II. РАСЧЕТ ПАРАМЕТРОВ И ХАРАКТЕРИСТИК ДИОДА ГАННА
Расчет параметров диода выполняем при условии, что он является арсенид галлиевым.
-собственная концентрация ni =1,7∙1016 см-3
-температура Т0 =300 К
-постоянная Больцмана k= 1,38∙10-23 Дж/К
-диффузионная длина Ln = 1,8∙10-19 м
-концентрация акцепторной примеси Na = 2∙1016 см-3
-концентрация донорной примеси Nд = 1016 см-3
-диэлектрическая постоянная ε0 = 8,85∙10-12 Ф/м
-диэлектрическая проницаемость ε= 12 Ф/м
-площадь барьера S= 10-5 м2
-длина волны λ= 50 мкм
-максимально допустимая температура Tn max = 500 K
-ток обратный Iобр = 0,2 мА
- заряд электрона q= 1,6·10-19 Кл
Контактная разница потенциалов φк , Β:
(2.1)
где к- постоянная Больцмана; Т-температура;
Ln –диффузионная длина;
Na –концентрация акцепторной примеси;
Nд -концентрация донорной примеси;
ni –собственная концентрация.
Ширина p-n перехода l0 , м:

где ε-диэлектрическая постоянная;
ε0 –диэлектрическая проницаемость.
Ширина p-n перехода при напряжении 1,2 В l, м:

где U –данное напряжение.
Барьерная емкость Сб , Ф:

где S- площадь барьера.
Граничная частота ,
Гц:
![]()
где π=3,14.
Тепловое сопротивление Rт , Ом :
![]()
где λ- длина волны.
Расчет теплового сопротивления Rт по формуле произведем в программе TurboPascal (Program 1) :
Program 1;
Var l: integer;
l1,S,: real;
Begin
Readln (l,l1,S);
R:=l/(l1*S);
Writeln (‘R:=’,R);
Readln;
End.
Максимальное напряжение Umax , В:
![]()
где Tnmax –максимально допустимая температура;
Iобр –ток обратный.
Программа по которой производилися расчет максимального напряжения Umax по формуле представлена ниже (Program 2):
Program 2;
Var T1,T2,R: integer;
U,I: real;
Begin
Readln (I,T1,T2,R);
U:=(T1-T2)/(R*I);
Writeln ( ‘U:=’,U);
Readln;
End.
ВЫВОД
Диоды Ганна, как твердотельные генераторы токов в диапазоне СВЧ находят очень широкое применение в разнообразнейших устройствах благодаря своим несомненным преимуществам: легкости, компактности, надежности, эффективности и др.Со времен своего появления диоды Ганна неоднократно совершенствовались. Шло повышение рабочих частот, приводящее к соответственному уменьшению размеров кристалла; принимались различные меры по увеличению КПД диодов и их выходной мощности. Все это время рассчет диодов Ганна представлял собой очень длительный и трудоемкий процесс, даже с использованием компьютеров первых поколений. Однако, в наше время, в век стремительного роста материально-научной базы компьютерной техники становится возможным построить программное обеспечение, позволяющее произвести рассчет диода Ганна легко и просто.В расчетной части курсового проекта с использование исходных данных рассчитали такие параметры диода Ганна на арсениде галлия: контактную разницу потенциалов, ширину p-n перехода, ширину p-n перехода при напряжении 1,2 В, барьерную емкость, граничную частоту, тепловое сопротивление ,а также максимальное напряжение.
СПИСОК ИСПОЛЬЗУЕМОЙ ЛИТЕРАТУРЫ
1. В.В.Пасынков, Л.К. Чиркин, А.Д.Шинков. « Полупроводниковые приборы », Москва: «Высшая школа», 1981г, 430 стр.
2. Ю.А.Овечкин «Полупроводниковые приборы», Москва: «Высшая школа, 1986г, 303 стр.
3. Справочник «Диоды »,Москва: «Радио и связь», 1990г, 335стр.
4. М.С.Гусятинер, А.И.Горбачев « Полупроводниковые сверхвысокочастотные диоды», Москва: «Радио и связь», 1983г, 223 стр
5. Справочник под ред.Н.Н.Горюнова «Полупроводниковые приборы: диоды, тиристоры, оптоэлектронные приборы», Москва: «Энергоатомиздат», 1987г, 742 стр.
6. З.А.Никонова, О.Ю.Небеснюк, «Твердотельная электроника» конспект лекцій, 2002г , 99 стр.
7. В.М.Березин, В.С.Буряк «Электронные приборы СВЧ»,Москва: «Высшая школа»1985г, 293 стр.
8. Ф.И.Вайсбурд «Полупроводниковые приборы» Москва: издательство «Связь», 1966г, 131 стр.
9. Ю.Е.Веревкин «Основы электронной и полупроводниковой техники»,Ленинград: издательство «Судостроение», 1969г, 603стр.
10. Справочник радиолюбителя: полупроводниковые приємно-усилительные устройства под ред Р.М.Терещук,С.А.Седов.- М.: «Наукова думка», 1984г, 675 стр.
11. Н.А.Шибаев Н.А. « Электровакуумные и полупроводниковые приборы» М.: «Воениздат», 1967г, 423стр.
12. В.Ю.Лавриненко « Справочник по полупроводниковым приборам»,Киев.: «Техника», 1964г,325стр.
13. А.В.Дыкин. «Электронные и полупроводниковые приборы» М.: «Энегрия»,1965г,257 стр..
14. А.Згут, О.Я.Язгур «Полупроводниковые диоды и триоды»,М.: «Москва»,1960г, 345стр.
15. В.Ф.Власов «Электронные и ионные приборы»,М.: «Связьиздат», 1960, 367стр.