| Скачать .docx |
Реферат: Сферы применения автоматических устройств
Содержание
1. Введение. Общие вопросы автоматики (обеспечение качества, управление качеством, НТП)
2. Общая характеристика объекта проектирования и автоматического устройства
3. ведомость проектной документации
4. Электроснабжение объекта (рабочий резервный)
5. Таблица расчета электрических нагрузок. Проверка условия срабатывания защитной аппаратуры
6. Места размещения коммутационных элементов, средств автоматизации, электрических и трубных проводок
7. Структурная схема автоматического устройства
8. Мероприятия по охране труда, техники безопасности
9. Расчет защитного заземления
10. Заключение
11. Список литературы
1 Введение
Устройства, с помощью которых осуществляется контроль, измерение, регулирование, управление и сигнализация различных параметров технологических процессов получили название «Приборы и средства автоматизации».
Под системой автоматизации следует понимать совокупность приборов и средств автоматизации (измерительной, преобразующей, передающей, исполнительной и другой аппаратуры, а также вычислительной техники), связанных между собой каналами связи в единые системы.
Надежность объекта характеризуется его безотказностью, долговечностью, ремонтопригодностью, сохраняемостью.
Любой объект всегда находится в одном из двух состояний-работоспособном или неработоспособном.
Работоспособное состояние – это такое состояние объекта, при котором способность выполнять заданные функции соответствует требованиям, установленным конструкцией или нормативно-технической документацией.
Неработоспособным состоянием называется состояние объекта, при котором значение хотя бы одного параметра, характеризующего способность выполнять заданные функции, не соответствует требованиям, установленным нормативно-технической или конструкторской документацией.
Повреждение - это событие, заключающееся в нарушении исправного состояния объекта при сохраняемости работоспособности.
Отказ – это событие, заключающееся в нарушении работоспособного состояния объекта.
Техническим ресурсом называют наработку объекта от начала эксплуатации или её возобновления после среднего или капитального ремонта до наступления предельного состояния.
В существовании любой системы автоматизации можно выделить четыре основных периода: проектирование, монтаж, наладка и эксплуатация. Каждый из этих периодов по-разному влияет на надёжность системы автоматизации, причём это влияние проявляется только на последнем этапе – эксплуатации.
Проектирование – это непрерывный процесс, в котором научная и техническая информация используется для создания новой системы, устройства или процесса.
Монтаж систем автоматизации – это комплекс работ, включающий
транспортировку, установку приборов и средств автоматизации, аппаратов и других устройств, а также прокладку электрических и трубных соединительных линий между ними.
Наладка – это комплекс работ по пуску, испытанию и доведению оборудования, машин, систем и средств автоматизации, аппаратов и других устройств до режима нормальной работы.
Эксплуатация оценивается двумя основными показателями:
1-условия работы;
2-режим работы
2 Общая характеристика объекта проектирования и автоматического устройства
В качестве объекта проектирования взят производственный цех. На предприятиях с большим количеством производственных цехов своевременное применение противопожарной системы является залогом обеспечения безопасности.
Для тушения пожаров распыленной водой применяют спринкерные установки. Спринклерная водопенная система (аналогична спринклерной водяной системе) применяется в тех случаях, когда по технологическим или нормативным требованиям применение воды запрещено.
Автоматическое включение установки производится в результате срабатывания спринклерных оросителей 10 или разрушения тепловых замков 7, падает давление в побудительном трубопроводе 16 и узле гидропривода УУ 13. Клапан УУ 13 открывается под давлением воды в подводящем трубопроводе 17. Вода поступает к дренчерным оросителям и орошает помещение, защищаемое секцией установки. Ручной пуск дренчерной установки производится с помощью шарового крана 15.
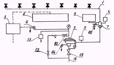
Несанкционированное (ложное) срабатывание спринклерных и дренчерных установок может привести к подаче воды и нанесению ущерба защищаемому объекту при отсутствии пожара. На рис. 3 приведена упрощенная принципиальная схема спринклерной АУП, которая позволяет практически исключить опасность такой подачи воды.

Рис. 1 Принципиальная схема спринклерной установки пожаротушения
Установка содержит спринклерные оросители на распределительном трубопроводе 1, который в условиях эксплуатации заполнен сжатым воздухом до давления около 0,7 кгс/см2
с помощью компрессора 3. Давление воздуха контролирует сигнализатор 4, который установлен перед обратным клапаном 7 с дренажным вентилем 10. УУ установки содержит к
лапан 8 с запорным органом мембранного типа, сигнализатор давления или потока
жидкости 9, а также задвижку 15. В условиях эксплуатации клапан 8 закрыт давлением воды, которая поступает в пусковой трубопровод клапана 8 от водоисточника 16 через открытый вентиль 13 и дроссель 12. Пусковой трубопровод соединен с краном ручного пуска 11 и с дренажным клапаном 6, оборудованным электрическим приводом. Установка содержит также технические средства (ТС) автоматической пожарной сигнализации (АПС) - пожарные извещатели и приемно-контрольный прибор 2, а также пусковой прибор 5.
Трубопровод между клапанами 7 и 8 заполнен воздухом с давлением, близким к атмосферному, что обеспечивает работоспособность запорного клапана 8.
Нарушение герметичности распределительного трубопровода установки, например, вследствие механического повреждения трубопровода или теплового замка оросителя, не приведет к подаче воды, т. к. клапан 8 закрыт. При снижении давления в трубопроводе 1 до 0,35 кгс/см2 сигнализатор 4 вырабатывает тревожный сигнал о неисправности (разгерметизации) распределительного трубопровода 1 установки.
Ложное срабатывание АПС также не приведет к подаче воды в защищаемое помещение. Управляющий сигнал от АПС с помощью электропривода откроет дренажный клапан 6 на пусковом трубопроводе запорного клапана 8, в результате чего последний откроется. Вода поступит в распределительный трубопровод 1, где остановится перед закрытыми тепловыми замками спринклерных оросителей.
При проектировании АУВП выбирают ТС АПС таким образом, чтобы они обладали меньшей инерционностью, чем спринклерные оросители. Поэтому в случае пожара ТС АПС срабатывают первыми и открывают запорный клапан 8. Вода поступает в трубопровод 1 и заполняет его. Поэтому к моменту открытия оросителя вследствие пожара вода находится перед оросителем, т. е. инерционность принятой схемы установки соответствует водозаполненной спринклерной УВП.
Следует отметить, что подача первого тревожного сигнала от АПС позволяет оперативно ликвидировать небольшие пожары первичными средствами пожаротушения (ручными огнетушителями и т. п.). При этом подачи воды также не произойдет, что является достоинством принятой схемы АУВП.
Узел управления (УУ) - это совокупность запорных и сигнальных устройств с ускорителями (замедлителями) их срабатывания, трубопроводной арматуры и измерительных приборов, расположенных между подводящим и питающим трубопроводами установок водяного (пенного) пожаротушения и предназначенных для их пуска и контроля за работоспособностью.
Узлы управления обеспечивают:
- подачу воды (пенных растворов) на тушение пожаров;
- заполнение питающих и распределительных трубопроводов водой;
- слив воды из питающих и распределительных трубопроводов;
- компенсацию утечек из гидравлической системы АУП;
- проверку сигнализации об их срабатывании;
- сигнализацию при срабатывании сигнального клапана;
- измерение давления до и после узла управления.
Спринклерные головки — специальные насадки (рис.2) — ввертывают в трубы на расстоянии около 3—4 м одна от другой. Отверстия спринклеров закрыты стеклянными клапанами 5, удерживаемыми замком из медных или латунных пластинок 6—8. Последние спаяны легкоплавким сплавом (припоем) с температурой плавления 72, 93, 141 и 182°. При повышении температуры, вызываемой пожаром, припой распаивается и замок 6—8 падает, открывая при этом отверстие спринклера. Вода, вытекающая под напором через отверстие, разбрызгивается при помощи розетки 3.


Рис. 2. Спринклерная головка:
1 — бронзовый корпус; 2 —рама; 3— розетка; 4 — афрагма; 5 — стеклянный клапан; б—8 — замок; медная шайба
На магистрали спринклерной сети имеется контрольно-сигнальный клапан с электрическим сигнализатором расхода жидкости , который при движении через него воды дает сигнал о пожаре.
Спринклерная сеть состоит из следующих трубопроводов: магистрального (питательного), подводящего воду от водопитателя к контрольно-сигнальному клапану;
подводящего трубопровода и соединяющего питательные трубопроводы с водоисточником; распределительных трубопроводов, на которых устанавливают спринклеры.
Все трубопроводы монтируют из стальных труб с конической резьбой, с уклоном в сторону стояков от 0,01 до 0,005 в зависимости от диаметров.
Диаметры трубопроводов спринклерных установок определяют расчетом; для предварительных подсчетов рекомендуется подбирать эти диаметры по таблице 1.
Таблица 1Диаметры трубопроводов спринклерной сети
| Диаметр труб, мм .... |
25 |
32 |
40 |
50 |
70 |
80 |
100 |
150 |
| Число питаемых спринклеров |
3 |
5 |
9 |
18 |
28 |
46 |
86 |
150 |
Контрольно-сигнальный клапан (рис. 3) служит для подачи воды в спринклерную сеть через главную задвижку 1 с одновременной сигнализацией о пожаре при помощи водяной турбины 2 и колокола 3. Как только открывается хотя бы один спринклер в помещении, давление в сети над контрольным клапаном 4 падает. Более высокое давление воды снизу выводит тарельчатый клапан 5 из равновесия, приподнимает его; поступающая снизу вода попадает к водяной турбине по трубопроводу 6.

Рис. 3. Контрольно-сигнальный клапан: а — общая схема; б — деталь
водяной турбины
Спринклерные установки в зданиях разделяют на секции, обслуживаемые отдельными контрольно-сигнальными клапанами. В одной -секции спринклерной установки должно быть не более 800 спринклеров с учетом диаметра контрольно-сигнального клапана.
В качестве автоматического водопитателя можно применять водонапорные баки, пневматические установки, хозяйственно-противопожарные или производственные водопроводы, обеспечивающие в любое время подачу расчетного количества воды под необходимым напором. Для определения расчетных расходов воды на тушение пожаров следует учитывать одновременное действие пожарных кранов со спринклерными или дренчерными установками.
Нормы расхода воды на спринклерные установки необходимо принимать следующие:
а) при автоматическом включении пожарных насосов в течение 1 ч с момента возникновения пожара от основного водопитателя (хозяйственно-противопожарные или производственные водопроводы, запасные резервуары) в зданиях категорий А, Б, В при объеме здания: до 100 тыс. м3— 30 л/сек; при объеме от 100 тыс. до 200 тыс. м3 — 35 л/сек; от 200 тыс. до 300 тыс. м3 — 40 л/сек; более 300 тыс. м3 — 50 л/сек.
В остальных зданиях, подлежащих оборудованию спринклерными установками, расход воды определяют гидравлическим расчетом, но не более 30 л/сек;
б) при ручном включении пожарных насосов во всех зданиях, подлежащих оборудованию спринклерными установками, расход воды принимают в течение первых 10 мин от автоматического водопитателя (водонапорные баки, пневматические установки, хозяйственно-противопожарные и производственные водопроводы, обеспечивающие потребный расход и напор) в количестве 10 л/сек и в течение последующего часа от основного водопитателя расход воды принимается в соответствии с указанием п. «а»;
в) при питании спринклеров непосредственно от наружной сети без установки пожарных насосов расход воды на спринклерные установки принима
ют в течение 1 ч с момента возникновения пожара в соответствии с указанием п. «а».
Гидравлический расчет спринклерных водопроводов производят на два случая питания сети: от автоматического водопитателя и от основного водопитателя.
3 Ведомость проектной документации
| ОБОЗНАЧЕНИЕ |
НАИМЕНОВАНИЕ |
| ССЫЛОЧНЫЕ ДОКУМЕНТЫ |
|
| НПБ 88-2001 |
Нормы и правила проектирования установок пожаротушения и сигнализации |
| ПБ 10-115-96 |
«Правила устройства и безопасной эксплуатации сосудов, работающих под давлением |
| ГОСТ 12.4.009 |
Правил технической эксплуатации электроустановок потребителей |
| ГОСТ 12.1.019 |
Правил техники безопасности при эксплуатации электроустановок потребителей |
| СНиП 2.04.09—84 |
Пожарная автоматика зданий и сооружений |
| ПУЭ-2000 |
Правила устройства электроустановок |
| ПРИЛАГАЕМЫЕ ДОКУМЕНТЫ |
|
| А 0203.СС.СО |
Спецификация оборудования |
4 Электроснабжение объекта (рабочий, резервный)

Рисунок 4 Электроснабжение объекта
5 Таблица расчета электрических нагрузок
Проверка условия срабатывания защитной аппаратуры
| Наименование |
P у , Вт |
Количество |
P р , Вт |
I p , А |
| Розеточная сеть |
200 |
20 |
4000 |
18.18 |
| Освещение |
200 |
10 |
2000 |
9.09 |
| 100 |
100 |
10000 |
45.4 |
|
| Автоматическое устройство |
1000 |
1 |
1000 |
4.54 |
| 77.21 |
Защитная аппаратура срабатывает
6 Места размещения коммутационных элементов, средств автоматизации, электрических и трубных проводок
Системой автоматизации предусматривается:
1. Включение пожарной сигнализации и отключение ее после истечения времени в зависимости от типа до 1 часа
2. Оповещение пожарной станции о проишествии
Щит
Для размещения аппаратуры осветительной сети используется щит ЩО MINI PRAGMA. Щит изготавливается заказчиком на монтажных участках.
Для размещения аппаратуры розеточной сети используется щит ШМ РУХЛ 4 ГОСТ 22789-94. Щит изготавливается заказчиком на монтажных участках.
Источник питания
Питание систем автоматики проектируется на напряжение 220 В переменного тока от сети 380/220 В с глухо заземленной нейтралью.
Электрическая проводка
Разводки контрольных измерительных цепей и цепей управления выполняются кабелями ВВГ применение кабелей в оболочке из несгораемого материала. Прокладка проводов и кабелей через перекрытия перегородки и стены в несгораемых трубах с соответствующей их гернесгораемыми материалами.метизацией
Розетки
Розетки в данном помещении устанавливают на уровне 50-80см от пола. Используются розетки ГОСТ 7396.0-89.
Выключатели
В данном помещении используются два типа выключателей одноклавишных ГОСТ 7397.0 и двухклавишных ГОСТ Р 5124.1-99 они устанавливаются на уровне 120 см от пола.
7 Структурная схема автоматического устройства

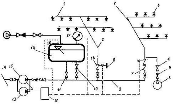
Рисунок 3 Принципиальная схема спринклерной системы.
Установка содержит водоисточник 14 (внешний водопровод), основной водопитетель (рабочий насос 15) и автоматический водопитатель 16.
Последний представляет собой гидропневматический бак (гидропневмобак), который заполнен водой через трубопровод с задвижкой 11.
Для примера схема установки содержит две различные секции: водозаполненную секцию с узлом управления (УУ) 18 под давлением водопитателя 16 и воздушную секцию с УУ 7, трубопроводы питающий 2 и распределительный 1 которой заполнены сжатым воздухом. Воздух нагнетается компрессором 6 через обратный клапан 5 и клапан 4.
Включение спринклерной установки происходит автоматически при повышении температуры в защищаемом помещении до заданного предела. Пожарным извещателем является тепловой замок спринклерного оросителя (спринклера). Наличие замка обеспечивает герметизацию выходного отверстия оросителя. В первую очередь срабатывают спринклеры, расположенные над очагом пожара. При этом падает давление в распределительном 1 и питающем 2 трубопроводах, срабатывает соответствующий УУ и вода из автоматического водопитателя 16 по подводящему трубопроводу 9 подается на тушение через открывшиеся спринклеры.
Ручное включение спринклерной установки не осуществляется.
Сигнал о пожаре вырабатывается сигнальным прибором 8 УУ. Прибор управления 12 при получении сигнала включает рабочий насос 15, а при его отказе резервный насос 13. При выходе насоса на заданный режим работы автоматический водопитатель 16 отключается с помощью обратного клапана 10.
8. Мероприятия по охране труда, технике безопасности
Электропроводку следует прокладывать согласно разработанному плану.
В основу положим два принципа: электробезопасность и удобство использования.
При разработке плана следует учитывать:
1. Электрические счетчики, разветвительные коробки, розетки и выключатели должны располагаться в доступных для обслуживания и ремонта местах, а токоведущие части должны быть закрыты;
2. Розетки устанавливают в местах предполагаемой установки электрического оборудования на высоте 50-80 см от пола. По противопожарным нормам количество розеток должно быть не менее одной на каждые полные и неполные 6 м2 площади помещения. Трансформатор монтируется в специальном блоке за пределами этих помещений. Запрещается также устанавливать розетки ближе, чем 50 см от заземлённых металлических устройств (трубы, батареи, раковины). Розетки на стене, разделяющей две комнаты, удобно устанавливать с каждой стороны стены, включая их параллельно через отверстие в стене;
3. Провода прокладываются только по вертикальным и горизонтальным линиям, а их расположение должно быть точно известно во избежание повреждений при сверлении отверстий, забивании гвоздей и т.д. Горизонтальная прокладка проводится на расстоянии 50-100 мм от карниза и балок, на 150 мм от потолка и на 150-200 мм от пола. Вертикально проложенные участки проводов должны быть удалены от углов помещения, оконных и дверных проемов не менее чем на 100 мм. Необходимо проследить, чтобы провод не соприкасался с металлическими конструкциями здания. Параллельная прокладка вблизи трубопроводов (отопление и горячая вода): проводка должна быть защищена от воздействия высокой температуры асбестовыми прокладками или необходимо применить провод с защитным покрытием. Запрещается прокладывать провода пучками, а также с расстоянием между ними менее 3 мм.
4. В помещениях соединения и ответвления проводов при всех видах электропроводок выполняются в соединительных и ответвительных коробках.
5. Жилы заземляющих и нулевых защитных проводов соединяются между собой посредством сварки. Присоединение этих проводников к электроприборам, подлежащих заземлению или занулению, выполняются болтовыми соединениями. Металлические корпуса электроплит (стационарных) заземляются, для чего от квартирного щитка прокладывается отдельный проводник сечением, равным сечению фазного провода, и присоединяются к нулевому защитному проводнику питающей сети перед счетчиком.
В проводниках, обеспечивающих защитное заземление или зануление, не должно быть предохранителей и выключателей. В противном случае при срабатывании защиты все приборы, включенные в данную линию, окажутся под опасным потенциалом сети.
Ежедневно перед началом работы персонал обязан проверить исправность заземления; при его нарушении включение соответствующих устройств не разрешается.
9 Расчет защитного заземления
![]() |
Опасность поражения электрическим током при прикосновении к корпусу и другим нетоковедущим металлическим частям электрооборудования, оказавшимся под напряжением вследствие замыкания на корпус и по другим причинам, может быть устранена быстрым отключением поврежденной электроустановки от питающей сети, и кроме того, снижением напряжения корпуса в случае пробоя фазы на землю. Для этой цели служит заземление, принципиальная схема которого в сети 3-х фазного тока приведена ниже.

Рисунок 4
Заземление – это преднамеренное электрическое соединение с нулевым проводом металлических нетоковедущих частей, которые могут оказаться под напряжением.
Нулевым защитным проводом называется проводник, соединяющий заземленные с глухо заземленной нейтральной точкой источника электрической энергии или её эквивалентом.
Принцип действия заземления - превращение замыкания на корпус в короткое однофазное замыкание (т.е. между фазным и нулевым защитным проводом) с целью вызвать большой ток, способный обеспечить срабатывание защиты и тем самым автоматически отключить поврежденную установку от питающей сети. Такой защитой в данном случае является автоматический выключатель.
Кроме того, поскольку корпус (или другие нетоковедущие металлические части) оказываются под напряжением, заземление через нулевой защитный проводник, то в автоматический период, т.е. с момента возникновения замыкания на корпус и до автоматического
отключения поврежденной электроустановки от сети, появляется защитное устройство заземления, подобно тому, как это имеет место при заземлении. Иначе говоря, заземление корпусов через нулевой защитный проводник снизит в аварийный период их напряжение относительно земли. Область применения – трёхфазные, четырёхфазные проводные сети до 1 кВ с заземленной нейтралью.
Произведем расчет заземления, которое сводится к определению сечения нулевого провода и времени срабатывания защиты в соответствии с ГОСТ 12.1038-82.
Определим сечение нулевого и фазного провода. Согласно ПЭУ проводимость провода должна быть не менее 50% фазного, поэтому определим сечение фазного провода, а затем нулевого.
Пусть фазный и нулевой провод – алюминиевые, тогда согласно ПЭУ плотность тока составляет J=1,9 А/мм2 .
Sф=I / J=77,21/ 1,9=40,63мм2
Стандартное ближайшее значение Sф=45 мм2
Сечение нулевого провода примем Sо=80мм2
10 Заключение
В данном курсовом проекте мною были изучены сферы практического применения автоматического устройства, а именно автоматической системы спринклерой установки, применение которой рассмотрено в электросиловом цехе.
Были приведены расчеты электрических нагрузок, проверка условий срабатывания защитной аппаратуры и представлены разделы, в которых описаны правила прокладывания электрических проводок, техника безопасности, общие характеристики объекта, электроснабжение объекта и т.д.
Сделав анализ проделанной работы, я сделал вывод, что перед началом монтажа электрической проводки необходимо составить план предстоящих работ, и только после этого, соблюдая технику безопасности, приступать к работе.
11 Литература
1 Котов К.И., Шершнев М.А. Монтаж, эксплуатация и ремонт автоматических устройств. Учебник для техникумов. 2-е издание переработанное и дополненное – М.: Металлургия, 1999. стр. 215-220
2 Верховцев А.В. Охрана труда. 6-е издание, дополненное – М.: ИНФРАМ, 2000.стр. 10-25
3 Павлов Е.Х. Техника безопасности. Организация работы: Сборник нормативных документов и комментариев. – М.: Книжный мир, 1998. стр. 48-50
