| Скачать .docx |
Реферат: Эйнштейн: изобретения и эксперимент
В. Я. Френкель, Б. Е. Явелов
Магнитострикционный громкоговоритель
10 января 1934 г. Германское патентное ведомство по заявке, поданной 25 апреля 1929 г., выдало патент № 590783 на "Устройство, в частности, для звуковоспроизводящей системы, в котором изменения электрического тока вследствие магнитострикции вызывают движение магнитного тела". Одним из двух авторов изобретения значился доктор Рудольф Гольдшмидт из Берлина, а другой был записан так: "доктор Альберт Эйнштейн, ранее проживавший в Берлине; теперешнее местожительство неизвестно".
Магнитострикцией, как известно, называют эффект сокращения размеров магнитных тел (обычно имеются в виду ферромагнетики) при их намагничивании. В преамбуле к патентному описанию изобретатели пишут, что силам магнитного сжатия препятствует жесткость ферромагнетика. Чтобы магнитострикцию "заставить работать" (в данном случае привести в колебательное движение диффузор громкоговорителя), эту жесткость нужно как-то нейтрализовать, скомпенсировать. Эйнштейн и Гольдшмидт предлагают три варианта такой, казалось бы, неразрешимой задачи.

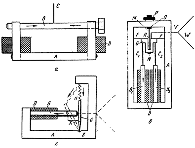
Рис. Три варианта магпитострикционного громкоговорителя
Первый вариант проиллюстрирован на рис. a. Несущий иглу С с диффузором ферромагнитный (железный) стержень В ввинчен в прочное U-образное магнитное ярмо А таким образом, что сжимающие стержень осевые усилия очень близки к критической величине, при которой имеет место эйлеровская потеря устойчивости - выгиб стержня в ту или другую сторону. На ярмо надеты обмотки D, по которым проходит электрический ток, модулированный звуковым сигналом. Таким образом, чем сильнее звук, тем сильнее намагничивается и, следовательно, сжимается железный стержень В. Поскольку стержень поставлен на самую грань неустойчивости, эти малые вариации его длины приводят к сильным колебаниям в вертикальном направлении; при этом прикрепленный к середине стержня диффузор генерирует звук.
Во втором варианте (рис. б) используется неустойчивость системы сжатая пружина Н - шток G, упирающийся острием в лунку S. Модулированный звуковым сигналом ток проходит по обмотке D. Переменная во времени намагниченность железного стержня приводит к небольшим колебаниям его длины, которые усиливаются за счет энергии теряющей устойчивость мощной пружины.
В третьем варианте магнитострикционного громкоговорителя (рис. в) применена схема с двумя железными стержнями B1 и B2, обмотки D которых подключены таким образом, что, когда намагниченность одного стержня увеличивается, намагниченность другого уменьшается. Тягами C1 и С2 стержни соединены с коромыслом G, подвешенным на штанге М и прикрепленным растяжками F к боковинам магнитного ярма А. Коромысло жестко связано с диффузором W. Завинчивая гайку Р на штанге М, систему переводят в состояние неустойчивого равновесия. Благодаря противофазному намагничиванию стержней B1 и B2 током звуковой частоты их деформации также совершаются в противофазе - один сжимается, другой удлиняется (сжатие ослабляется), и коромысло в соответствии со звуковым сигналом перекашивается, поворачиваясь относительно точки R. В этом случае также за счет использования "скрытой" неустойчивости происходит усиление амплитуды магнитострикционных колебаний.
X. Мельхер, знакомившийся с документами семьи Р. Гольдшмидта и беседовавший с его сыном, излагает историю появления этого изобретения следующим образом.
Р. Гольдшмидт (1876-1950) был хорошим знакомым Эйнштейна. Известный специалист в области электротехники, он на заре эры радио руководил работами по установке первой линии беспроволочной телеграфной связи между Европой и Америкой (1914 г.). Им в 1910 г. была сконструирована и построена первая в мире пригодная для целей радиотехники высокочастотная машина на 30 кгц мощностью 12 кВт. Машина для трансатлантических передач имела уже мощность 150 кВт. Гольдшмидт был также автором множества изобретений, направленных на усовершенствование звуковоспроизводящих устройств (главным образом для телефонных аппаратов), высокочастотных резонаторов и т.д.
Общими друзьями Эйнштейна и Гольдшмидта были супруги Ольга и Бруно Айзнер - известная певица и знаменитый в то время пианист. Ольга Айзнер плохо слышала - недостаток особенно досадный, если учесть ее профессию. Гольдшмидт как специалист по звуковоспроизводящей аппаратуре взялся ей помочь. Он решил сконструировать слуховой аппарат (работы по созданию таких аппаратов в то время только начинались). В этой деятельности принял участие и Эйнштейн.
Был ли в конечном счете сконструирован действующий слуховой аппарат, неизвестно. Как видно из патентного описания, изобретателей увлекла идея использования не находившего ранее применения эффекта магнитострикции, и они разработали описанные нами базирующиеся на этом эффекте громкоговорители. Насколько нам известно, это был первый звуковоспроизводящий магнитострикционный прибор. Хотя магнитострикционные слуховые аппараты распространения не получили и их нынешние собратья работают на иных принципах, магнитострикция с большим успехом используется в ультразвуковых излучателях, находящих применение во многих отраслях промышленности и техники.
Для фрау Ольги, как сообщает Мельхер, планировали создать магнитострикционный слуховой аппарат, использующий явление так называемой костной проводимости, т.е. возбуждающий звуковые колебания не воздушного столба в ухе, а непосредственно черепных костей, для чего требовалась большая мощность. Представляется, что устройство Эйнштейна-Гольдшмидта вполне отвечало этому требованию. Возможно, совместная с Гольдшмидтом деятельность не так уж и случайна и, занимаясь ею, Эйнштейн руководствовался не только желанием облегчить судьбу фрау Айзнер. Думается, что его не могла не заинтересовать и сама техническая задача - ведь мы знаем, что он имел определенный опыт в конструировании звуковоспроизводящих устройств.
Автоматическая фотокамера
Беседуя в начале 30-х годов с Рабиндранатом Тагором, Эйнштейн припомнил свои "счастливые бернские годы" и рассказал, что, работая в патентном бюро, придумал несколько технических устройств, в том числе чувствительный электрометр (о нем уже шла речь выше) и прибор, определяющий время экспозиции при фотосъемке. Теперь такое устройство называется фотоэкспонометром.
Почти нет сомнения, что принцип действия эйнштейновского фотоэкспонометра был основан на фотоэлектрическом эффекте. И как знать, может быть, это изобретение было побочным продуктом размышлений, завершившихся знаменитой статьей 1905 г. "Об одной эвристической точке зрения...", в которой было введено представление о световых квантах и с их помощью объяснены закономерности фотоэлектрического эффекта.
Любопытно, что интерес к устройствам подобного рода сохранился у Эйнштейна надолго, хотя, насколько известно, фотолюбителем он никогда не был. Так, его авторитетный биограф Ф. Франк сообщает, что где-то во второй половине 40-х годов Эйнштейн и один из его ближайших друзей, доктор медицины Г. Букки, "изобрели механизм для автоматической регулировки времени экспозиции в зависимости от освещенности" [4, с. 241.

Рис. Схема фотокамеры Букки-Эйнштейна
а, в - камера; б - сегмент переменной прозрачности
Кроме того, оказывается, что 27 октября 1936 г. Букки и Эйнштейн получили американский патент №2058562 на фотокамеру, автоматически подстраивающуюся под уровень освещенности. Устроена эта автоматическая камера довольно просто (рис. а). В ее передней стенке 1, помимо объектива 2, имеется еще окно 3, через которое свет попадает на фотоэлемент 4. Электрический ток, вырабатываемый фотоэлементом, поворачивает находящийся между линзами объектива легкий (например, целлулоидный) кольцевой сегмент 5, зачерненный так, что прозрачность его плавно изменяется от максимальной на одном конце до минимальной на другом (рис. б). Как указывают в описании своего изобретения Букки и Эйнштейн, блок с фотоэлементом аналогичен известным конструкциям фотоэкспонометров, с тем отличием, что в данном случае поворачивается кольцевой сегмент 5, а не указывающая экспозицию стрелка. Поворот сегмента тем больше, а, следовательно, затемнение объектива тем сильнее, чем ярче освещен объект. Таким образом, будучи раз отъюстированным, устройство при любой освещенности само регулирует количество света, падающего на фотопленку или пластинку, находящуюся в фокальной плоскости объектива 2.
Но что делать, если фотографу захочется изменить диафрагму? Для этого изобретатели предлагают несколько усложненный вариант своей фотокамеры. В этом варианте на ее передней стенке 1 устанавливается поворотный диск 6 с набором отверстий 7-12 нескольких диаметров. При поворотах диска одно из таких отверстий приходится на объектив, а диаметрально противоположное - на окно фотоэлемента. Поворачивая диск за рычажок 13 на фиксированные углы, фотограф одновременно диафрагмирует и объектив и окно. Таким образом, для различных диафрагм достигается одинаковое пропускание света для объектива и для окна фотоэлемента.
Достоинства изобретения очевидны: 1) автоматически регулируется световой поток, достигающий фотопленки или фотопластинки; 2) поскольку используется фотоэлемент, отсутствует опасность, что по истечении некоторого, пусть длительного, времени регулировочное устройство перестанет работать, как было бы, если бы для его питания использовалась батарейка (впрочем, авторы не исключают возможности использования в качестве светочувствительного элемента селенового фоторезистора, присоединенного к внешнему источнику тока).
Мы не располагаем точными сведениями о дальнейшей судьбе магнитострикционного аппарата Эйнштейна- Гольдшмидта. Зато определенно известно, что экспонометр Букки-Эйнштейна одно время был весьма популярен и даже использовался кинооператорами в Голливуде.
Здесь стоит, наверное, сказать несколько слов о друге Эйнштейна докторе Букки (1880-1965). Он родился в Лейпциге, там же закончил медицинский факультет университета. Сначала в Германии, а потом в США он приобрел известность как крупный рентгенолог. Букки был членом многих национальных и международных обществ, написал ряд книг по медицине. Помимо рентгеновских лучей, Букки проявлял живой интерес к терапевтическому использованию новых достижений физики и техники (он один из пионеров УВЧ-прогрева).
Букки активно трудился и как изобретатель. Еще в 1912 г. им была предложена и сконструирована так называемая диафрагма Букки, повышающая контраст рентгеновских снимков. Это устройство получило распространение во всем мире. На счету Букки множество других изобретений, относящихся к рентгеновской технике, фотоаппаратам, электроизмерительным приборам и звуковоспроизводящим устройствам. Интересно, что многие патенты Букки получены им совместно с женой и сыновьями.
Имеются сведения о том, что Эйнштейн и Букки размышляли над конструкцией высотомера, а также изобретали нечто вроде магнитофона. К сожалению, более детальные сведения об этих работах отсутствуют.
Букки, как писал Эйнштейн Г. Мюзаму в 1942 г, был его самым лучшим другом в США. Они часто проводили вместе летний отпуск и плавали на эйнштейновской яхте, причем Букки приходилось довольствоваться не слишком престижной ролью матроса. Но он был матросом - хотя и единственным - на корабле капитана Эйнштейна!
В последние дни жизни Эйнштейна в апреле 1955 г. Букки ежедневно приходил в больницу, где лежал его друг. Он был у него и вечером за несколько часов до смерти великого физика. По воспоминаниям Букки, последнее, что он слышал от Эйнштейна, была грустная шутка. "Почему Вы уже уходите?" - спросил его Эйнштейн. Букки ответил, что не хочет его беспокоить, что он должен отдохнуть и поспать. На это Эйнштейн с улыбкой возразил: "Но ведь в таком случае Ваше присутствие мне не помешает".
Гирокомпасы и индукционная электромагнитная подвеска
Из переписки Эйнштейна с Бессо, Зоммерфельдом и Планком видно, что в течение 1920-1926 гг. Эйнштейн часто наезжал в Киль. Дел, связанных с теоретическими исследованиями, у творца теории относительности в Киле - этой столице германского судостроения, - казалось бы, не было. Чем же он там занимался?
Первое приближение к ответу на этот вопрос дает письмо Эйнштейна М. Бессо, отправленное в мае 1925 г.: "...веду тихую жизнь без внешних событий. Единственные перерывы - мои поездки в Киль, где понемногу освежаю свои технические навыки". В Ноймюлене, близ Киля, находилась фирма "Аншютц и Књ" - ведущее предприятие по разработке и производству морских гирокомпасов и других гироприборов. Имя ее основателя, владельца и руководителя Г. Аншютца (1872-1931) часто встречается в переписке Эйнштейна с Зоммерфельдом. Имеет смысл рассказать об этом интересном человеке, который на протяжении многих лет находился в тесных деловых и дружеских отношениях с Эйнштейном (тем более что речь о нем пойдет еще и в следующем разделе этой главы).
Герман Аншютц родился в известной мюнхенской семье; "искусство и наука стояли у его колыбели": его дед был видным художником, профессором Мюнхенской академии искусств, а отец - профессором физики и математики. Аншютц начал свою деятельность как гуманитарий - степень доктора философии он получил в 1896 г. за исследование, посвященное творчеству венецианских художников эпохи Возрождения. Увлекшись затем идеей о достижении Северного полюса, он участвует в двух полярных экспедициях и в начале 1901 г. высказывает мысль о том, что добраться до полюса можно на подводной лодке. Возникает проблема: как проложить курс - ведь внутри стальной лодки магнитный компас не действует, да и вблизи полюса - тоже. И гуманитарий Аншютц берется за решение фантастически сложной задачи - за создание гирокомпаса.
Эта работа, чуждая его прежним склонностям и в какой-то мере случайно встретившаяся на пути увлекающегося Аншютца, становится основной в его жизни. От дальнейших полярных путешествий он отказывается (вскоре Северный полюс был покорен Р. Пири), но упорно занимается проблемой гирокомпаса. Уже в октябре 1902 г. он создает первую модель. О дальнейших успехах в этом направлении и о первых испытаниях гирокомпаса на кораблях Аншютц докладывает в Морской академии в Киле в 1904 г., а в следующем году, будучи человеком не только энергичным, но и состоятельным, основывает в Киле фирму "Аншютц и Књ". Процветание фирмы во многом определялось исключительной одаренностью ее создателя, которого К. Магнус (крупный немецкий механик, специалист по гирокомпасам) называет гениальным изобретателем.
Интересно, что успеха в создании гирокомпаса достиг человек, начинавший работу как дилетант. Это находится и прекрасном соответствии с замечанием Эйнштейна о том, как делаются открытия: все знают, что реализация некоей идеи невозможна, но вот находится человек, который этого не знает, и у него все получается!
В результате энергичных усилий Аншютца - организатора и изобретателя - в середине 10-х годов германский флот, в том числе и подводный, был оснащен гирокомпасами, получившими его имя. Гироприборы Аншютца нашли себе и другие применения, например при прокладке буровых скважин, строительстве шахт; его гирокомпас был установлен на знаменитом дирижабле "Граф Цеппелин". Во время одного из рейсов дирижабль сделал круг почета над домом Аншютца в Мюнхене в знак признания заслуг его хозяина. Кстати сказать, этот дом Зоммерфельд называл "бесподобным храмом искусства": Аншютц был известным коллекционером.
Работы Аншютца и его гирокомпасы получили широкую известность не только на его родине, но и за рубежом, в частности в нашей стране. О них с высокой похвалой отзывался академик А. Н. Крылов.
Фирма Аншютца приносила ее основателю значительный доход, который он использовал для создания многочисленных фондов, призванных оказывать содействие ученым и деятелям искусства. На его средства организовывались выставки, лекции, поездки ученых. В трудные инфляционные времена Германии начала 20-х годов средствами фонда Аншютца пользовался и Эйнштейн.
К 1926 г. после многолетних упорных трудов фирмой Аншютца был разработан и запущен в серийное производство весьма сложный и совершенный гироскопический прибор - прецизионный артиллерийско-навигационный гирокомпас, за которым закрепилось название "Новый Аншютц" (поскольку на флоте до этого был популярен другой гирокомпас той же фирмы). Это был поистине замечательный прибор, значительно превосходивший по точности, надежности, устойчивости при качке и сроку службы все другие модели гирокомпасов. Конструкция его была высоко оценена специалистами; он имел и чисто коммерческий успех.
В статьях и книгах по гирокомпасам, хоть сколько-нибудь касающихся истории создания этих замечательных приборов, непременино отмечается тот факт, что в разработке "Нового Аншютца" принял участие Эйнштейн. Пожалуй, с наибольшей определенностью высказался по этому поводу один из основоположников гирокомпасного дела в нашей стране - инженер-контр-адмирал профессор Б. И. Кудревич *, отметивший, что "Новый Аншютц" - "результат десятилетней совместной работы (Г. Аншютца. - Авт.) с профессором Эйнштейном". Как рассказал одному из авторов этой книги профессор И. И. Гуревич, в 30-х годах на флоте новый навигационный прибор даже называли компасом Эйнштейна-Аншютца (именно в этом порядке).
* Кудревич располагал информацией "из первых рук": в начале 1928 г. он был командирован в Германию, в частности для ознакомления с деятельностью фирмы "Аншютц и Књ".
Таким образом, причина частых визитов Эйнштейна в Киль как будто не вызывает сомнений - он сотрудничал с Аншютцем в разработке чудо-компаса. Но каков был конкретный вклад Эйнштейна в эту работу? К сожалению, об этом мало что известно. Нам встретилось лишь одно прямое указание, исходящее от уже упоминавшегося выше К. Магнуса *: "Центрирование шара, по совету А. Эйнштейна, с которым Аншютц был дружен, осуществлялось магнитным способом с помощью катушки, расположенной внутри гиросферы".
* Особую достоверность придает этому указанию тот факт, что Магнус был учеником М. Шулера, одного из основоположников гирокомпасного дела, который в период с 1908 по 1922 г. занимал руководящие посты в фирме Апшютца.
О чем тут идет речь, что это за гиросфера? Здесь нужно хоть немного рассказать о конструкции "Нового Аншютца".
Этот гироскопический прибор двухроторный - в нем механически связаны взаимно перпендикулярные оси двух вращающихся со скоростью 20 000 об./мин роторов, по 2,3 кг каждый (эти гироскопные роторы являются также роторами двух-, трехфазных асинхронных двигателей переменного тока). Оба гироскопа (ротора) помещены внутрь полой герметичной сферы (поэтому она и называется гиросферой), в которой, помимо них, находится ряд других конструкционных элементов.
При слове "гироскоп" большинству из нас наверняка рисуется известное устройство с быстровращающпмся ротором, ось которого закреплена в кольцах карданова подвеса. Конечно, карданов подвес, обеспечивающий ротору полную свободу поворотов вокруг трех взаимно перпендикулярных осей, - находка необычайно остроумная. Но для мореходного гирокомпаса такой подвес не годится: компас должен месяцами указывать строго па север, не сбиваться ни при штормах, ни при ускорениях и переменах курса судна. Однако точно сбалансировать карданову подвеску ротора невозможно; на гироскоп всегда будут действовать вращательные моменты, под влиянием которых ось ротора будет поворачиваться вокруг оси, перпендикулярной вектору действующего вращательного момента. Одна из особенностей гироскопа заключается в том, что он интегрирует, накапливает такие толчковые отклонения.

Рис. Гироскоп с тремя степенями свободы
В результате с течением временя ось ротора (а именно она-то и является в гирокомпасе аналогом стрелки магнитного компаса) будет поворачиваться, или, как говорят моряки, "уходить". Недаром гироскописты любят рассказывать анекдот о том, как па заре гирокомпасного дела один такой прибор был установлен на самолете. Когда вылетевший из Берлина самолет приземлился в Голландии, пилот, исходя из показаний гирокомпаса, был уверен, что он прилетел в Швейцарию.
В "Новом Аншютце" кардановых колец нет - гиросфepa диаметром 25 см с двумя гироскопами (двухгироскопная система в отношении качки несравненно устойчивее одногироскопной) свободно плавает в жидкости, трение о которую практически нулевое; снаружи она не касается никаких подпорок, стенок и т.д. К ней даже не подходят электрические провода: они ведь способны передавать какие-то механические усилия и моменты. Естественно, у читателя может возникнуть законный вопрос: от чего же в таком случае "питаются" электродвигатели гироскопов? Найденному решению этой проблемы никак не откажешь в остроумии: у гиросферы имеются выполненные из электропроводного материала "полярные шапки" и "экваториальный пояс". Против этих электродов в жидкости находятся аналогичные, но неподвижные электроды, к которым подключены фазы электропитания. Жидкость, в которой плавает сфера, - это вода, в которую добавлено немного глицерина для придания ей антифризных свойств и кислоты, делающей воду электропроводящей. Таким образом, трехфазный ток "подается" в гиросферу прямо через поддерживающую ее жидкость, а затем уже изнутри (по проводам) разводится к статорным обмоткам гироскопных двигателей. При этом, конечно, приходится смириться с некоторым "перемешиванием" фаз в электропроводной жидкости.
Свободно плавающая в жидкости гиросфера, если бы мы не знали, что она начинена гироскопами, могла бы показаться просто чудом: она упорно и с огромной точностью устанавливается одним из своих диаметров в направлении север-юг (по нанесенным на нее делениям моряки и определяют это направление). Впрочем, это чудо сродни чуду "самопроизвольной" ориентации магнитной стрелки, столь глубоко поразившему Эйнштейна, по его признанию, еще в раннем детстве.
Но как же гиросфера может плавать в поддерживающей жидкости в полностью погруженном и безразличном состоянии? Для этого ведь, согласно закону Архимеда, должен соблюдаться совершенно точный баланс между ее весом и весом вытесненного раствора. Соблюсти такой баланс очень нелегко, но, даже если он и достигнут, неизбежные в этом случае температурные колебания (а следовательно, и изменения удельных весов) обязательно его нарушат. В результате шар либо вынырнет, либо пойдет ко дну. Кроме того, необходимо еще как-то сцентрировать гиросферу в горизонтальном направлении, не то она приткнется к одной из стенок окружающего сосуда и, таким образом, окажется уязвимой для толчков и ускорений, столь пагубных для точности показаний.
Именно на этом этапе объяснения устройства "Нового Аншютца" нам наконец становится понятной приведенная выше фраза Магнуса о конструкторском вкладе Эйнштейна в создание гирокомпаса. Эйнштейн придумал, как осуществить центровку гиросферы в вертикальном и горизонтальном направлениях. Его идея достаточно проста.

Рис. Схема индукционной подвески Эйнштейна
Вблизи дна внутрь гиросферы помещается кольцевая обмотка, подключаемая к одной из фаз поданного в шар переменного тока, сама же гиросфера окружается еще одной полой металлической сферой (с прорезями для наблюдения за делениями шкалы и для уменьшения ее закорачивающего действия по отношению к токам, проходящим через жидкость).
Создаваемое внутренней обмоткой гиросферы переменное магнитное поле наводит в окружающей ее, например алюминиевой, сфере вихревые токи. Согласно закону Ленца, эти токи стремятся воспрепятствовать изменению магнитного потока, которое произошло бы при любом смещении внутренней сферы относительно внешней. При этом происходит автоматическая стабилизация гиросферы. Если она, например, в результате повышения температуры стала тонуть (ведь удельный вес жидкости при нагревании вследствие ее расширения уменьшается), зазор между донными частями сфер сократится, отталкивающие силы возрастут (они обратно пропорциональны квадрату ширины зазора), так что гиросфера по высоте не сместится, а останется на старом месте. Аналогичным образом стабилизируется гиросфера и в горизонтальном направлении.
Мы видим, что переменное электромагнитное поле эйнштейновской обмотки центрирует и поддерживает гиросферу; оно принимает на себя ту часть ее веса, которая не скомпенсирована архимедовой выталкивающей силой. Недаром эту обмотку конструкторы назвали обмоткой "электромагнитного дутья": подобно тому как воздушная подушка создается воздухом, нагнетаемым вентилятором, так и электромагнитное поддерживание можно образно представить себе "выдуванием" обмоткой магнитных силовых линий.
В различных отраслях современной техники все болев широкое применение находят сейчас исключающие трение и касание способы подвески, при которых подвешиваемый объект парит, или, как теперь часто говорят, левитирует. Существуют магнитные, электростатические подвески; большое внимание привлекает в наши дни сверхпроводящая магнитная подвеска (ее действие основано на том, что сверхпроводник "не пускает в себя" магнитное поле), которую уже в недалеком будущем планируется использовать в системах скоростного наземного транспорта.
Странно было бы, если бы современная техника обошла стороной подвеску на вихревых токах. И действительно, такая подвеска - ее теперь принято называть индукционной электромагнитной - используется. Все шире применяют сейчас так называемую бестигельную плавку металлов и полупроводников, основанную на том, что переплавляемую массу удерживает переменное электромагнитное поле находящейся под ней катушки (индуктора), по которой проходит переменный ток высокой частоты. Это же переменное магнитное поле, наводя мощные вихревые токи, расплавляет вещество. Таким способом получают высокочистые (ведь плавка идет в вакууме и раскаленный тигель - обычный источник загрязнений - отсутствует) кремний, германий, алюминий, олово, а также такие тугоплавкие металлы и сплавы, тигли для плавки которых создать невозможно.
С проникновением левитации в технику возник и интерес к систематизации соответствующих устройств, к сбору имеющейся по этому вопросу литературы (пока еще не слишком обширной). В 1964 г. в Англии в серии библиографических обзоров по узлам приборов и устройств вышел один специально посвященный магнитным и электрическим подвескам, в котором собрана, видимо, вся имевшаяся на то время информация по подобным системам, начиная с доклада, прочитанного в 1839 г. в Кембридже С. Ирншоу, "О природе молекулярных сил, управляющих состоянием светоносного эфира", - доклада, в котором была сформулирована знаменитая теорема Ирншоу о невозможности стационарной подвески тел в постоянном электрическом или магнитном поле.
Что же говорит нам этот солидный библиографический обзор относительно истории индукционной электромагнитной подвески? Кого следует считать ее изобретателем? Ответа на последний вопрос обзор не дает. Дело в том, что впервые такая подвеска была описана в поступившей 2 февраля 1922 г. в Германское патентное ведомство заявке, исходившей, как это часто бывает, не от частного лица, а от фирмы. Однако название этой фирмы представляет для нас немалый интерес - это известная нам нильская фирма "Аншютц и Књ" [17, с. 61].
У нас нет никаких оснований сомневаться в достоверности сообщенных Магнусом сведений об участии Эйнштейна в создании "Нового Аншютца", а это значит, что великого теоретика, творца "обеих относительностей" без всяких натяжек можно считать изобретателем индукционной электромагнитной подвески.
Думается, что в гироскопических устройствах Аншютца перепробовано и воплощено немало конструкторских идей Эйнштейна (ведь не зря же он так часто и в течение многих лет посещал Киль!). Было бы, конечно, интересно узнать, в чем еще выразилось его участие. Но проходит время, свидетелей его работы в Киле, видимо, не осталось, и восстановить ход событий становится все труднее.
В тяжелые для Германии 20-е годы с их безудержной инфляцией и нестабильностью Эйнштейн был заинтересован в работах по гироскопическим приборам еще и просто из материальных соображений. Представляется, однако, несомненным, что он получал удовольствие от этой деятельности. Идей, причем самых оригинальных, у него всегда было предостаточно, а возможностей для их реализации Аншютц мог предоставить больше, чем кто-либо другой. Пламенный энтузиаст гироскопа располагал достаточными денежными средствами, прекрасным оборудованием и высококвалифицированными инженерами, чтобы попытаться осуществить совершенно неожиданные и нешаблонные конструктивные решения.