| Скачать .docx |
Реферат: Замки эпохи бронзы
Анна Лаврус, Александр Лаврус
С развитием общества и ростом количества добытого метала, в употреблении все чаще стали появляться металлические изделия и орудия. Первыми были изделия из самородной меди, которая встречается в виде достаточно больших самородков, а затем медь стали выплавлять из руд. Температура плавления позволяет восстановить металлическую медь из руды, поместив последнюю в горшок и нагрев на костре. Кто и где первым начал сплавлять медь и олово неизвестно. Полученный сплав – бронза, превосходно льется в форму и прочнее чем медь.
Ученые «Лаборатории первобытной техники» Ленинградского института археологии АНСССР проводили сравнительный анализ эффективности различного инструмента: сосну диаметром 25см каменным топором свалили за 75 минут, а медным за 25. Медным ножом строгать в 10 раз быстрее, чем каменным, медным сверлом просверлить дерево в 22 раза быстрее, а преимущество медных пил составляет 15...20 раз.
Классический пример эпохи бронзы – Древняя Греция – первый высокоразвитый центр на территории Европы.
Как герои Гомера потрясали бронзовыми мечами, так и во времена Перикла бронза была основным металлом. Помимо оружия, широкое распространение получают бронзовые орудия труда и бытовые изделия из бронзы. Греция богата медными рудами, а кузнеца здесь называли «chalkeus» – мастер по меди и бронзе (рис.1).

Рис.1. Изображения на греческой керамике: а) рудокопов; б) кузнецов
Это не означает, что греки не знали железа, которое они называли «сидерос». Железные кайла, клинья и кувалды применялись при добыче руд. Позднее, греческие архитекторы применяли железные дюбели для крепления отдельных деталей мраморных колонн при строительстве храма Артемиды в Магнезии, работы Гермогена (около 200г. до н.э.). Одна из греческих легенд гласит, что секрет неуязвимости Ахилла был в его железных доспехах.
Первоначально греки использовали металлы как деньги. Отсюда название драхма – дословно «горсть», с зажатыми шестью стержнями.
«...пышнокудрые дети ахейцев
Все покупали, платя кто железом, кто яркою медью,
Кто же бычачьими шкурами, кто и самими быками
Или рабами – людьми».
«Илиада». Гомер.
Ценности хранили под замком. В «Одиссее», описано, как Пенелопа открывала кладовку, где хранился лук Одиссея:
«Мягкоотдутлой рукой искусно выгнутый медный
Ключ с рукоятью из кости слоновой доставши, царица
В дальнюю ту кладовую пошла (и рабыни за нею)
Где Одиссеев все драгоценности были хранимы:
Золото, медь и железная утварь чудесной работы.
С скважины снявши замочной ее покрывавшую кожу,
Ключ свой царица вложила в замок; отодвинув задвижку,
дверь отперла...»
Судя по описанию Гомера, замки в городском доме Одиссея были многочисленны. Например, упоминается ключница Евринома, которая выдавала пищу из кладовых. Старая кормилица Одиссея Евриклея также имела ключи:
«Кликнул усердную няню его Евриклею, сказал ей:
Слушай, тебе повелел Телемах, чтоб рабыни немедля
Заперли в женские комнаты двери на ключ...
Ты же Филойтий, возьми ворота на свое попеченье
Крепко запри их на ключ и ремнем затяни их задвижку».
Выполняя распоряжение, Филойтий:
«Вышел во двор, обнесенный оградой, и запер ворота;
Был там в сенях корабельный пеньковый канат; им связал он
Крепко затвор у ворот...»
Следовательно, замки были на воротах, кладовках, спальне хозяев и даже дверях спален служанок. Какова конструкция замка из отрывка непонятно, но ясно, что в основе горизонтальный засов.
Но вернемся к «Одиссее». В другом месте читаем:
«Вышла из спальни; серебряной ручкой дверь затворила,
Крепко задвижку ремнем затянула...»
В этом отрывке описаны манипуляции с Античным замком, который по преданию изобрел Феодор с острова Самос. Этот факт отмечен римским историком Плинием Старшим (23/24 – 79г.г.), упоминавшем его, как талантливого скульптора, в «Naturalis historia».
Конструкция Античного замка представляла собой горизонтальный засов с двумя различными системами привода для запирания и отпирания рис.2.

Рис.2. Античный замок
Запирание производилось снаружи с помощью ременной (веревочной) тяги, пропущенной через нижнее отверстие в дверном полотне. После этого, для большей надежности, веревку завязывали узлом.
Отпирание (возврат засова) производился с помощью S-образного ключа. Ключ просовывали через относительно большое верхнее отверстие (замочную скважину) и хозяин, нащупав выступ на засове, толкал его. Поскольку дверь должна была запираться плотно, то ключ, был большого размера, достаточно толстым и изготавливался из бронзы.
Самым древним из сохранившихся ключей этого типа является ключ 6в. до н.э. от храма Артемиды в Лузах (Аркадия) длинной около 50см., который сейчас находиться в «Музее изящных искусств» в г.Бостон, США. Встречались ключи длиной до 75см. Такие ключи носили на плече.
В Риме по сей день два здания запираются античными замками: один в Пантеоне, в церкви св.Космы и Дамиана, другой – в храме Максенция.
Естественно, носить такой груз достаточно обременительно. Мастера стремились уменьшить его вес, и на рубеже 5...6вв. до н.э. греческим мастерам это удалось – был изобретен Лакедемонский замок-желудь (Лакедемония – область в Греции неподалеку от г.Спарта).

Рис. 3. Устройство Лакедемонского замка-желудя
В таком замке (см. рис.3) засов блокировался С-образными колодками, с головками в форме желудя, которые размещали в пазах внутри направляющей. Колодки отводились в сторону ключом, чем разблокировали засов. Важно, что ключ совершал вращательное движение. Количество колодок, их размер и шаг между ними определяли секретность замка.
В замке такой системы также разделены функции разблокирования и перемещения засова. Как и в случае «Египетского» замка, при использовании таких замков необходимо не только вставить и повернуть ключ одной рукой, но и отвести ригель. Не зависимо от того, снаружи или изнутри крепили замок, это можно было сделать только с помощью обеих рук.
Показанная на рисунке конструкция замка – цельнодеревянная, поэтому достоверных находок не сохранилось, но Иоханес Ирмшер в «Lexicon der antike» считает, что ключ такого замка имел бронзовые вставки – обоймы, которые как шляпки желудей надевались на головки блокирующих колодок.
Описания Гомера относятся к дому царя, а история Греции в первую очередь – история городов-полисов. В качестве примера приведем крупный и густонаселенный древнегреческий город Афины. Во время Фемистокла он имел площадь в 550 акров и был равен среднему месопотамскому городу. Кульминацией расцвета Афин были 40...30-е годы V века до н.э. Население достигало 180тыс. человек. Это был по тем временам большой город, насчитывающий болеет 10тыс. домов. Основное количество зданий были глинобитными, по конструкции похожими на восточные дома, с небольшим окошками и крышами террасами, где летом спали рис.4а. В таких домах была одна большая комната – «мегатрон».

Рис.4. Постройки Греции: а) изображения дома на греческой вазе; б) сокровищница афинян в Дельфах; в) Парфенон в Афинах
Каменными были общественные здания и храмы, которые были не только местом для молитв, но и местом, где хранили ценности и архивы. Здесь же хранили каменные плиты с высеченными на них текстами законов. Наказание за посягательство на имущество в храме было жестоким: вспомните судьбу Эзопа. Поэтому Афиняне имели свою сокровищницу в Дельфах – святом для всех греков месте рис.4б.
Греческая культура дала миру новые, необычайно изящные типы храмовых построек рис.4в. Для их возведения было необходимо перекрывать большие проемы, и греки изобрели «армированный мрамор» – в мраморной заготовке долбили отверстие, куда затем помещали металлический стержень – арматуру. Такое новшество дало возможность перекрывать балками даже шестиметровые проемы.
Именно в городах-полисах возникла потребность в замках. Жизнь грека-горожанина была тесно связана с общественной. В нерабочее время она протекала на акрополе, стадионе, термах или под портиками храмов. Жилище было скорее пристанищем на ночь, местом для питания и хранения вещей.
Другое дело, для женщин. В период полисов в Греции уже установился патриархат, и положение женщин стало зависимым от мужчин. Женщины не имели права не только участвовать в управлении государством, но даже просто присутствовать на собраниях и стадионах. Эту сторону жизни древних греков отразил в одной из сцен в своей комедии древнегреческий комедиограф Аристофан (около 446...385г. до н.э.) в комедии «Женщины на празднике Фесмории» (Гинекей [гр. gynaikeien] – женская половина в древнегреческом доме):
«...ныне дверь гинекея сторожит печать, наложенная мужем и засов. Но мало этого: любовникам на страх заводит муж молосских псов. И можно было и это простить. Но вот чего не в силах мы снести. Бывало, прежде мы хозяйничали сами, могли из кладовой брать потихоньку и муки, иль масла, иль вина... теперь и этого нельзя. Ключи с секретами мужья уж носят, проклятые лаконские ключи о трех зубцах...».
Какой тип замка имел в виду Аристофан сказать сложно. Некоторые исследователи отождествляют лаконский ключ с представленным на рис.5а. К сожалению, при этом не даны описания самих замков.
Можно предположить, что эти замки имели игольчатые задержки, являлись модификацией Египетского замка и прототипами римских замков на два движения, которые будут описаны позже.
Если исходить из длины зубцов ключа, можно оценить толщину засова и высоту обоймы, в которой располагались задержки. Обойма – все, что осталось от деревянной направляющей, нижняя часть которой исчезла, так как мешала ключу. Следовательно, засов должен был перемещаться в боковых направляющих, расположенных по бокам обоймы.

Рис.5. Лаконский замок: а) ключ; б) принцип действия замка
В литературе встречаются также ссылки на ключ-серп. Название определила форма – ключ напоминает современный серп. Но у исследователей нет однозначного мнения, к какому механизму следует их относить.
Первый вариант: в основе конструкции поворотный засов рис.6а. Особенностью такой конструкции следует признать необходимость дверной накладки с отверстием для ключа. Помимо того, что зауженное отверстие препятствовало вскрытию, накладка играла роль точки опоры для ключа и предохраняла древесину от износа. Секретность замка основана на малой толщине канала ключа и совпадении кривизны ключа и канала.
Замки такого этого типа использовали долгий период. На рис.6б показан цельнометаллический замок такой конструкции. Форма наружной накладки и укрепленной на ней ручки дают возможность датировать его концом XVIIIв.
Следует обратить внимание на изменение формы рукоятки ключа-серпа. На рис.6а она мощная и круглая, так как для поднятия тяжелого засова требовались большие усилия. На рис.6б рукоятка ключа выполнена в виде небольшой плоской площадки, поскольку для открывания требовалось малое усилие. Достаточно было установить ключ и нажать на него одним пальцем.
Запирание замка осуществлялось автоматически, под действием силы тяжести.

Рис.6. Замок с ключом-серпом и поворотным засовом: а) схема работы; б) цельнометаллический замок
Второй вариант замка с ключом-серпом показан на рис.7. В основе конструкции – горизонтальный засов. Ключ просовывали в отверстие над засовом и его загнутым «клювом» нащупывали отверстие на боковой поверхности засова. После этого ключом совершали колебательные движения. Если для открывания одного движения было мало, ключ переставляли в соседнее отверстие. Запирание замка осуществлялось в обратном порядке.

Рис.7. Замок с ключом-серпом и сдвижным засовом: а) принцип работы; б) ключ
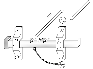
Среди замков-засовов следует отметить замок, изображенный на рис.8. Зауженная замочная скважина в нем была расположена над выступающими зубцами засова, а ключ производил колебательные движения. Ключом и запирали и отпирали замок. Но для операций с таким замком использовать S-образный ключ с параллельными плечами не удобно – изгиб рукоятки ключа не удобен для приложения больших усилий (косточки пальцев будут тереться о дверь).

Рис.8. Замок-засов: а) Г-образный ключ; б) современный замок
Для замков такого типа применяли Г-образные ключи. На рис.8а показан найденный в Греции железный ключ. Такие ключи изготавливались цельными, но они могли иметь на конце подвижный (шарнирно закрепленный) сегмент (подробнее эта система будет описана в главе «Замки восточных славян»). Длина такого элемента должна была совпадать с расстоянием от замочной скважины до выступов на засове, что определяло секретность конструкции. Как видно на рисунке, в расклепанной рукояти ключа выполнены два отверстия. Это говорит о том, что на рукояти были укреплены две накладки. Зная высокие требования греков к красоте, можно предположить, что это были пластины из кости или ценного дерева украшенные резьбой.
До наших дней такие замки используют в разных странах, преимущественно в сельской местности. Представленный на рис.8б замок охраняет вход в церковь румынского села Леуд (Leud). Деревянная церковь построена в 1717г. после последнего татарского нашествия на этот регион.