| Скачать .docx |
Реферат: Классификация оперативной памяти
П Л А Н
Память.
Классификация оперативной памяти (ОЗУ)
Введение
1. Энергозависимая и энергонезависимая память
2. SRAM и DRAM.
2.1. Триггеры.
2.2. Элементная база логики.
2.3. SRAM. Замечания.
2.4. DRAM. Что это такое?
3. Динамическое ОЗУ.
3.1. Устаревшие модификации.
3.1.1. DIP.
3.1.2. SIPP (SIP) —модули памяти.
3.2. SIMM-модули.
3.2.1. Сравнение SIMM-модулей.
3.2.2. Причины повышения скорости работы EDO RAM.
3.3.DIMM
3.3.1. SDRAM.
3.3.2. ESDRAM.
3.3.3. SDRAM II.
3.3.4. SLDRAM.
3.3.5. Память от Rambus (RDRAM, RIMM).
4. Оперативная кэш-память.
5. Постоянное запоминающее устройство.
6. Флэш-память.
7. CMOS-память.
8. Недостатки перезаписываемой памяти.
8.1. Потеря данных в CMOS.
8.2. Потеря данных в flash-памяти.
Память.
Одним из важнейших устройств компьютера является память, или запоминающее устройство (ОЗУ). По определению, данном в книге "Информатика в понятиях и терминах", ОЗУ - "функциональная часть цифровой вычислительной машины, предназначенной для записи, хранения и выдачи информации, представленных в цифровом виде." Однако под это определение попадает как собственно память, так и внешние запоминающие устройства (типа накопителей на жестких и гибких дисках, магнитной ленты, CD-ROM), которые лучше отнести к устройствам ввода/вывода информации. Таким образом под компьютерной памятью в дальнейшем будет пониматься только "внутренняя память компьютера: ОЗУ, ПЗУ, кэш память и флэш-память". Итак, рассмотрим классификацию внутренней памяти компьютера.
Классификация оперативной памяти (ОЗУ)
Введение
Оперативное запоминающее устройство является, пожалуй, одним из самых первых устройств вычислительной машины. Она присутствовала уже в первом поколении ЭВМ по архитектуре (“Информатика в понятиях и терминах”), созданных в сороковых — в начале пятидесятых годов двадцатого века. За эти пятьдесят лет сменилось не одно поколение элементной базы, на которых была построена память. Поэтому автор приводит некоторую классификацию ОЗУ по элементной базе и конструктивным особенностям.
1. Энергозависимая и энергонезависимая память
ЭВМ первого поколения по элементной базе были крайне ненадежными. Так, среднее врем работы до отказа для ЭВМ “ENIAC” составляла 30 минут. Скорость счета при этом была не сравнима со скоростью счета современных компьютеров. Поэтому требования к сохранению данных в памяти компьютера при отказе ЭВМ были строже, чем требования к быстродействию оперативной памяти. Вследствие этого в этих ЭВМ использовалась энергонезависимая память.
![]() |
Энергонезависимая память позволяла хранить введенные в нее данные продолжительное время (до одного месяца) при отключении питания. Чаще всего в качестве энергонезависимой памяти использовались ферритовые сердечники. Они представляют собой тор, изготовленных из специальных материалов — ферритов. Ферриты характеризуются тем, что петля гистерезиса зависимости их намагниченности от внешнего магнитного пол носит практически прямоугольный характер.
Рис. B.1. Диаграмма намагниченности ферритов.
![]() |
Вследствие этого намагниченность этого сердечника меняется скачками (положение двоичного 0 или 1, смотри рисунок B.1.) Поэтому, собрав схему, показанную на рисунке B.2, практически собран простейший элемент памяти емкостью в 1 бит. Память на ферритовых сердечниках работала медленно и неэффективно: ведь на перемагничивание сердечника требовалось время и затрачивалось много электрической энергии. Поэтому с улучшением надежности элементной базы ЭВМ энергонезависимая память стала вытеснятьс энергозависимой — более быстрой, экономной и дешевой. Тем не менее, ученые разных стран по-прежнему ведут работы по поиску быстрой энергозависимой памяти, которая могла бы работать в ЭВМ для критически важных приложений, прежде всего военных.
Рис. B.2. Схема элемента памяти на ферритовых сердечниках.
Полупроводниковая память.
В отличие от памяти на ферритовых сердечниках полупроводниковая память энергозависимая. Это значит, что
при выключении питания ее содержимое теряется.
Преимуществами же полупроводниковой памяти перед ее заменителями являются:
· малая рассеиваемая мощность;
· высокое быстродействие;
· компактность.
Эти преимущества намного перекрывают недостатки полупроводниковой памяти, что делают ее незаменимой в ОЗУ современных компьютеров.
2. SRAM и DRAM.
Полупроводниковая оперативная память в настоящее время делится на статическое ОЗУ (SRAM) и динамическое ОЗУ (DRAM). Прежде, чем объяснять разницу между ними, рассмотрим эволюцию полупроводниковой памяти за последние сорок лет.
2.1. Триггеры.
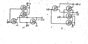
Триггером называют элемент на транзисторах, который может находиться в одном из двух устойчивых состояний (0 и 1), а по внешнему сигналу он способен менять состояние [Информатика в понятиях и терминах/М., Просвещение, 1991 г. — 208 с.: ил. — стр. 91]. Таким образом, триггер может служить ячейкой памяти, хранящей один бит информации. Любой триггер можно создать из трех основных логических элементов: И, ИЛИ, НЕ. Поэтому все, что относится к элементной базе логики, относится и к триггерам. Сама же память, основанная на триггерах, называется статической (SRAM) .
2.2. Элементная база логики.
1. 
РТЛ —резистивно-транзисторна логика. Исторически является первой элеентной базой логики, работающей на ЭВМ второго поколения. Обладает большой рассеивающей мощностью (свыше 100 мВт на логический элемент). Не применялась уже в ЭВМ третьего поколения.
2. ТТЛ, или Т2 Л —транзисторно-транзисторна логика. Реализована на биполярных транзисторах. Использовалась в интегральных схемах малой и средней степени интеграции. Обладает временем задержки сигнала в логическом элементе 10— нс, а потребляемая мощность на элемент —10 мВт.
3. 
ТТЛ-Шотки —это модификация ТТЛ с использованием диода Шотки. Обладает меньшим временем задержки (3 нс) и высокой рассеиваемой мощностью (20 мВт).
4.
![]() |
ИИЛ, или И2 Л —интегральная инжекторна логика. Это разновидность ТТЛ, базовым элементом которой являются не биполярные транзисторы одного рода (pnp или npn), а горизонтально расположенного p+n+p транзистора и вертикально расположенного npn транзистора. Это позволяет создать высокую плотность элементов на БИС и СБИС. При этом потребляемая мощность равна 50 мкВт на элемент и время задержки сигнала – 10 нс.
5. ЭСЛ —логические элементы с эмиттерными связями. Эта логика также построена на биполярных транзисторах. Время задержки в них —0,5 —2 нс, потребляема мощность —25 —50 мВт.
6. 
Элементы на МДП (МОП) —транзисторах. Это схемы, в которых биполярные транзисторы заменены на полевые. Время задержки таких элементов составляет от 1 до 10 нс, потребляемая мощность — от 0,1 до 1,0 мВт
7. CMOS) КМОП —логика (комплементарная логика.) В этой логике используются симметрично включенные n-МОП и p-МОП транзисторы. Потребляема мощность в статическом режиме —50 мкВт, задержка —10 —50 нс.
Как видно из этого обзора, логика на биполярных транзисторах самая быстрая, но одновременно самая дорогая и обладает высокой мощностью рассеяния (и значит —лучше “греется”.) При прочих равных условиях логика на полевых транзисторах более медленная, но обладает меньшим электропотреблением и меньшей стоимостью.
2.3. SRAM. Замечания.
Из предыдущего раздела Вы узнали, что является элементной базой статического ОЗУ. Как Вы уже поняли, статическое ОЗУ —дорогой и неэкономичный вид ОЗУ. Поэтому его используют в основном для кэш-памяти, регистрах микропроцессорах и системах управления RDRAM (смотри раздел B.3.3.5).
2.4. DRAM. Что это такое?
Для того, чтобы удешевить оперативную память, в 90-х годах XX века вместо дорогого статического ОЗУ на триггерах стали использовать динамическое ОЗУ (DRAM). Принцип устройства DRAM следующий: система металл-диэлектрик-полупроводник способна работать как конденсатор. Как известно, конденсатор способен некоторое время “держать” на себе электрический заряд. Обозначив “заряженное” состояние как 1 и “незаряженное” как 0, мы получим ячейку памяти емкостью 1 бит. Поскольку заряд на конденсаторе рассеивается через некоторый промежуток времени (который зависит от качества материала и технологии его изготовления), то его необходимо периодически “подзаряжать” (регенерировать ), считывая и вновь записывая в него данные. Из-за этого и возникло понятие “динамическая” дл этого вида памяти.
За 10 лет, прошедших со времени создания первых микросхем DRAM, их развитие шло “семимильными" шагами по сравнению с SRAM. Эволюция DRAM рассматривается в следующем подразделе.
3. Динамическое ОЗУ.
Конструктивные особенности.
Динамическое ОЗУ со времени своего появления прошло несколько стадий роста, и процесс ее совершенствования не останавливается. За свою десятилетнюю историю DRAM меняла свой вид несколько раз. Вначале микросхемы динамического ОЗУ производились в DIP-корпусах. Затем их сменили модули, состоящие из нескольких микросхем: SIPP, SIMM и, наконец, DIMM и RIMM. Рассмотрим эти разновидности поподробнее.
3.1. Устаревшие модификации.
![]() |
3.1.1. DIP.
Рис. B.3.1. Модуль памяти DIP
DIP- корпус —это исторически сама древняя реализация DRAM. DIP-корпус соответствует стандарту IC. Обычно это маленький черный корпус из пластмассы, по обеим сторонам которого располагаются металлические контакты (см. рисунок B.3.1.).
![]() |
Рис. B.3.2. Банк модулей памяти DIP
Микросхемы (по-другому, чипы) динамического ОЗУ устанавливаются так называемыми банками . Банки бывают на 64, 256 Кбайт, 1 и 4 Мбайт. Каждый банк состоит из девяти отдельных одинаковых чипов. Из них восемь чипов предназначены для хранени информации, а девятый чип служит для проверки четности остальных восьми микросхем этого банка.
Чипы памяти бывают одно и четырехразрядными, и иметь емкость 64 Кбит, 256 Кбит, 1 и 4 Мбит. Обозначение разновидностей микросхем памяти в DIP-корпусах показано в таблице [Р. Вебер, стр. 46—].
![]() |
Следует отметить, что памятью с DIP-корпусами комплектовались персональные компьютеры с микропроцессорами i8086/88, i80286 и, частично, i80386SX/DX. Установка и замена этого вида памяти была нетривиальной задачей. Мало того, что приходилось подбирать чипы для банков памяти одинаковой разрядности и емкости.Приходилось прилагать усилия и смекалку, чтобы чипы правильно устанавливались в разъемы. К тому же необходимо было не разрушить контакты механически, не повредить их инструментом, статическим электричеством, грязью и т.п. Поэтому уже в компьютерах с процессором i80386DX эти микросхемы стали заменять памяти SIPP и SIMM.
3.1.2. SIPP (SIP) —модули памяти.
Рис. B.3.3. Модуль памяти SIPP
Одной из незаслуженно забытых конструкций модулей памяти являются SIPP-модули. Эти модули представляют собой маленькие платы с несколькими напаянными микросхемами DRAM.
SIPP является сокращением слов Single Inline Package. SIPP-модули соединяются с системной платой с помощью контактных штырьков. Под контактной колодкой находятся 30 маленьких штырьков (смотри рисунок B.3.3.), которые вставляются в соответствующую панель системной платы ([Вебер,] стр. 49—).
Модули SIPP имели определенные вырезы, которые не позволяли вставить их в разъемы неправильным образом. По мнению автора, этот вид модулей лидировал по простоте их установки на системную плату.
![]() |
3.2. SIMM-модули.
Рис. B.3.4. Модуль памяти SIMM
Аббревиатура SIMM расшифровывается как Single Inline Memory Module (Модуль памяти с однорядным расположением выводов.) Он включает в себя все то, что для DIP называлось банком (смотри подраздел B.3.1.1.)
![]() |
Модули SIMM могут иметь объем 256 Кбайт, 1, 2, 4, 8, 16 и 32 Мбайт. Соединение SIMM-модулей с системной платой осуществляется с помощью колодок (см. рисунок B.3.5.)
Рис. B.3.5. Установка модуля памяти SIMM
Модуль вставляется в пластмассовую колодку под углом 70 — градусов, а потом зажимается пластмассовым держателем. При этом плата встает вертикально. Специальные вырезы на модуле памяти не позволит поставить их неправильным образом ([Вебер,] стр. 47—.)
Модули SIMM для соединения с системной платой имеют не штырьки, а позолоченные полоски (так называемые pin, пины).
3.2.1. Сравнение SIMM-модулей.
SIMM-модули в своем развитии прошли два этапа. Первыми представителями SIMM-модулей были 30-пиновые SIMM FPM DRAM. Их максимальная частота работы — 29 МГц. Стандартным же временем доступа к памяти считалось 70 нс. Эти модули уже с трудом работали на компьютерах с микропроцессорами i80486DX2, и были вытеснены сначала 72-пиновыми FPM DRAM, а затем EDO RAM.
SIMM EDO RAM имеют только 72 пина и могут работать на частоте до 50 МГц. Этими модулями памяти оснащались компьютеры с процессорами Intel 80486DX2/DX4, Intel Pentium, Pentium Pro и Pentium MMX, а также AMD 80586 и K5. Эти модули устанавливались на платах с чипсетом Intel 440TX, 440EX, 440LX, 450NX; VIA Apollo MVP 3/4, Pro/Pro+; ALI Alladin 4/4+/V/PRO II, ALI Alladin TNT2.
В настоящее время SIMM-модули, как 30-pin, так и 72-pin не удовлетворяют по своим характеристикам требованиям новых шин и процессоров. Поэтому они все активнее заменяютс модулями DIMM [Евгений Калугин Типы памяти.//”Подводная лодка”, январь 2000 —стр. 166—.]
3.2.2. Причины повышения скорости работы EDO RAM.
Не смотря на небольшие конструктивные различия, и FPM, и EDO RAM делаютс по одной и той же технологии, поэтому скорость работы должна быть одна и та же. Действительно, и FPM, и EDO RAM имеют одинаковое время считывания первой ячейки — 60 —70 нс. Однако в EDO RAM применен метод считывани последовательных ячеек. При обращении к EDO RAM активизируется не только первая, но и последующие ячейки в цепочке. Поэтому, имея то же время при обращении к одной ячейке, EDO RAM обращается к следующим ячейкам в цепочке значительно быстрее. Поскольку обращение к последовательно следующим друг за другом областям памяти происходит чаще, чем к ее различным участкам (если отсутствует фрагментация памяти), то выигрыш в суммарной скорости обращения к памяти значителен. Однако даже для EDO RAM существует предел частоты, на которой она может работать. Несмотря ни на какие ухищрения, модули SIMM не могут работать на частоте локальной шины PCI, превышающей 66 МГц. С появлением в 1996 году процессора Intel Pentium II и чипсета Intel 440BX частота локальной шины возросла до 100 МГц, что заставило производителей динамического ОЗУ перейти на другие технологии, прежде всего DIMM SDRAM.
3.3.DIMM
Аббревиатура DIMM расшифровывается как Dual Inline Memory Module (Модуль памяти с двойным расположением выводов). В модуле DIMM имеетс 168 контактов, которые расположены с двух сторон платы и разделены изолятором. Также изменились и разъемы для DIMM-модулей.
Следует отметить, что разъем DIMM имеют много разновидностей DRAM. К тому же вплоть до последнего времени модули DIMM не имели средств самоконфигурирования (в отличие от SIMM-модулей). Поэтому для облегчения выбора нужного модул пользователям на материнских платах разные типы DIMM имеют от одного до трех вырезов на модуле памяти. Они предотвращают от неправильного выбора и неправильной установки модулей памяти.
В следующих подразделах рассмотрим типы DRAM, имеющие разъем DIMM.
![]() |
3.3.1. SDRAM.
Рис. B.3.6. Модуль памяти SDRAM
Аббревиатура SDRAM расшифровывается как Synchronic DRAM (динамическое ОЗУ с синхронным интерфейсом). Этим они отличаются от FPM и EDO DRAM, работающих по асинхронному интерфейсу.
С асинхронным интерфейсом процессор должен ожидать, пока DRAM закончит выполнение своих внутренних операций. Они обычно занимают 60 нс. В DRAM с синхронным управлением происходит защелкивание информации от процессора под управлением системных часов. Триггеры запоминают адреса, сигналы управления и данных. Это позволяет процессору выполнять другие задачи. После определенного количества циклов данные становятся доступными, и процессор может их считывать. Таким образом, уменьшается время просто процессора во время регенерации памяти.
Другое преимущество синхронного интерфейса —это то, что системные часы задают временные границы, необходимые DRAM. Это исключает необходимость наличия множества стробирующих импульсов, обязательных дл асинхронного интерфейса. Это, во-первых, уменьшает трафик по локальной шине (нет “лишних”сигналов), а во-вторых, позволяет упростить операции ввода-вывода (в операциях пересылки центральный процессор либо контроллер DMA уже не должен выделять полезную информацию среди служебных стробирующих импульсов и битов четности). В-третьих, все операции ввода/вывода на локальной шине стали управляться одними и теми же синхроимпульсами, что само по себе хорошо.
Хотя SDRAM появилась уже давно, использование ее тормозилось высокой (на 33%) ценой по сравнению с EDO RAM. “Звездный час”SDRAM настал в 1997 году, после появления чипсета 440BX, работающего на частоте 100 МГц. Вследствие этого доля рынка SDRAM за год выросла в два раза (с 25% в 1997 году до 50% в 1998 году.)
В настоящее время выпускаютс модули SDRAM, работающие на частотах 100 и 133 МГц. Также разработаны SDRAM на частоты 143 МГц и выше.
3.3.2. ESDRAM.
Следующим оригинальным решением, увеличившим частоту работы SDRAM, явилось создание кэша SRAM на самом модуле динамического ОЗУ. Так появилась спецификация Enhanced SDRAM
(ESDRAM). Это позволило поднять частоту работы модуля до 200 МГц. Назначение кэша на модуле точно такое же, что и кэш второго уровн процессора —хранение наиболее часто используемых данных.
![]() |
3.3.3. SDRAM II.
Рис. B.3.7. Модуль памяти DDR DRAM (SDRAM II)
Спецификация SDRAM II (или DDR SDRAM) не имеет полной совместимости с SDRAM. Эта спецификаци позволяет увеличить частоту работы SDRAM за счет работы на обеих границах тактового сигнала, то есть на подъеме и спаде. Однако SDRAM
II использует тот же 168-ми контактный разъем DIMM.
3.3.4. SLDRAM.
Как и SDRAM II, эта спецификаци использует обе границы тактового сигнала и имеет в себе SRAM. Однако благодаря протоколу SynchLink Interface эта память способна работать на частоте до 400 МГц.
![]() |
3.3.5. Память от Rambus (RDRAM, RIMM).
Рис. B.3.8. Модуль памяти RDRAM (RIMM)
RDRAM представляет собой спецификацию, созданную и запатентованную фирмой Rambus, Inc. За счет использования обоих границ сигнала достигается частота работы памяти в 800 МГц.
Подсистема памяти Direct Rambus включает в себя следующие компоненты [Евгений Калугин. Типы памяти.//”Подводная лодка”, январь 2000 г., стр. 166—.]:
8. Direct Rambus Controller.
9. Direct Rambus Channel.
10. Direct Rambus Connector.
11. Direct Rambus RIMM(tm).
12. Direct Rambus DRAMs.
Рассмотрим эти компоненты поподробнее:
1. Контроллер Direct Rambus —это главна шина подсистемы памяти. Он помещается на чипе логики, как и PC-чипсет, микропроцессор, графический контроллер. Физически можно поместить до четырех Direct Rambus —контроллеров на одном чипе логики. Контроллер —это интерфейс между чипом логики и памятью Rambus, и в его обязанности входит генерация запросов, управление потоком данных, и ряд других функций.
2. Direct Rambus Channel создает электрические соединения между Rambus Controller и чипами Direct RIMM. Работа канала основана на 30-ти сигналах, составляющих высокоскоростную шину. Эта шина работает на частоте 400 МГц и, за счет передачи данных на обеих границах тактового сигнала, позволяет передавать данные на 800 МГц. Два канала данных (шириной в байт каждый) позволяет получать пиковую пропускную способность в 1,6 Гбайт/с. Канал соответствует форм-фактору SDRAM.
3. Разъем Direct Rambus —это разъем со 168 контактами. Контакты расположены на двух сторонах модуля, по 84 с каждой стороны. Разъем представляет собой низкоиндуктивный интерфейс между каналом на модуле RIMM и каналом на материнской плате.
4. Модуль RIMM — это модуль памяти, который включает в
себя один или более чипов и организует непрерывность канала. По существу, RIMM образует непрерывный канал на пути от одного разъема к другому. Поэтому оставлять свободные разъемы недопустимо
Существуют специальные модули только с каналом, называемые continuity modules. Они не содержат чипов памяти и предназначены для заполнени свободных посадочных мест.
Модули RIMM имеют размеры, сходные с геометрическими размерами SDRAM DIMMs. Модули RIMM поддерживают SPD, которые используются на DIMM'ах SDRAM. В отличие от SDRAM DIMM, Direct Rambus может содержать любое целое число чипов Direct RDRAM (до максимально возможного).
Один канал Direct Rambus максимум может поддерживать 32 чипа DRDRAM. На материнской плате может использоваться до трех RIMM модулей. Используются 64 Мбит, 128 Мбит и 256 Мбит устройства.
Чтобы расширить память сверх 32-х устройств, могут использоваться два чипа повторителя. С одним повторителем канал может поддерживать 64 устройства с 6-ю RIMM модулями, а с двумя —128 устройств на 12 модулях.
5. Чипы DRDRAM. Чипы DRDRAM составляют часть подсистемы Rambus, запоминающие данные. Все устройства в системе электрически расположены в канале между контроллером и терминатором. Устройства Direct Rambus могут только отвечать на запросы контроллера, который делает их шину подчиненной или отвечающей. Устройства включают в себя статическое и динамическое ОЗУ.
4. Оперативная кэш-память.
Как уже отмечалось, для динамической оперативной памяти необходима периодическая ее регенерация. В компьютере это осуществляетс централизовано: организуется цикл прямого чтения/записи содержимого динамического ОЗУ. Эта операция осуществляется с помощью специальной микросхемы. В процессе регенерации микропроцессор переходит в режим ожидания, что снижает производительность системы не менее чем на 5%.
Минимальный цикл обращени микропроцессора к оперативной памяти состоит из двух состояний шины. Подсчитано, что около 70% всех обращений процессора к шине компьютера составляет чтение команд, 20% — чтение и запись данных, и только оставшиеся 10% составляют обращения к устройствам ввода-вывода. Поэтому введение даже одного состояния ожидания при обращении к памяти значительно снижает производительность компьютера. Таким образом, существенный рост быстродействия системы может быть достигнут только при сбалансированной работе подсистемы памяти.
![]() |
Для старых персональных компьютеров (на основе микропроцессоров Intel i8088, i8086, i80286 и процессоре i80386/20 МГц) была характерна одноуровневая система организации памяти. По этой системе разработчики были вынуждены устанавливать дешевые DRAM с быстродействием 80 —120 нс, либо применять дорогостоящие SRAM с быстродействием 40 —60 нс. Для сокращени среднего времени ожидания при обращении к операционной системе использовались (и используются в настоящее время) методы интерливинга и страничной организации.
Рис. B.4.1. Система с интерливингом памяти.
В системе с интерливингом —расслоением адресов ячеек памяти —весь объем памяти делится на два или несколько банков. Двойные слова с последовательными адресами располагаются в разных банках. Во время считывания информации из оперативной памяти за один цикл можно организовать параллельное извлечение информации из разных блоков, что уменьшает количество циклов ожидания.
![]() |
Преимущество систем с интерливингом проявляется при обращении к последовательным ячейкам и считывании сразу 32-х бит информации. В противном случае интерливинг не дает никаких преимуществ.
Рис. B.4.2. Система со страничной организации памяти.
В системах со страничной организацией памяти вся память делится на фиксированные по размеру зоны адресов —страницы. Обращение к памяти в пределах страницы происходит без ожидания, а при смене страницы —как обычно, с состояниями ожидания.
При страничной организации память делится на строки и столбцы. Адрес обращения к двойному слову содержит 9-ти разрядный номер строки и 9-ти разрядный номер столбца. При обращении к странице сигнал выбора номера строки поддерживается неизменным, а сигнал выбора столбца переставляется на столбец, откуда нужно прочитать данные.
Страничная организация памяти требует для своей реализации особые микросхемы. Они имеют специальный режим – страничный доступ со статической выборкой столбцов (static column decode).
Для полной реализации потенциальных скоростных возможностей микропроцессоров используется многоуровневая иерархическа память. Она включает в себя быстродействующую кэш-память – SRAM. Кэш-память состоит из памяти данных, построенная на микросхемах SRAM, и контроллера кэша. В кэш-памяти хранитс информация, копируемая из основной оперативной памяти. Каждый раз при обращении микропроцессора к памяти контроллер кэш-памяти проверяет наличие данных в кэше. Если эти данные в кэше есть (“попадание”), то микропроцессор получает данные из кэша. Если этих данных нет (“промах”), выполняется обычный цикл обращения к оперативной памяти DRAM.
Основным фактором, определяющим вероятность попадания, является емкость кэш-памяти. Как правило, при объеме кэша в 2 Кбайта вероятность попадания составляет от 50 до 60%. Поскольку размер кэш-памяти на современных компьютерах превышает 256 Кбайт, то вероятность попадания будет выше 90% (дл компьютеров с объемом памяти ~ 16 Мбайт.)
Для реализации кэш-памяти в настоящее время разработаны эффективные однокристальные контроллеры. Наиболее широкое распространени получили контроллеры i82385 фирмы Intel и A38152 фирмы Asustec Microsystems.
Контроллер i82385 поддерживает 32 Кбайта кэш-памяти, и может работать в двух конфигурациях:
13. Кэш-память с прямым отображением.
14. Двухканальная модульно-ассоциативна кэш-память.
![]() |
Первая конфигурация характеризуетс простотой реализации, однако она оказываетс неэффективной при работе в мультизадачных системах. В двухканальной реализации кэш-память разбивает все 4 Гбайтное адресное пространство на 262144 страницы по 16 Кбайт. 32-х разрядный физический адрес состоит из четырнадцатиразрядного адреса, определяющего информацию в кэш-памяти, и восемнадцатиразрядного тега, определяющего номер страницы. Каждый адрес оперативной памяти может быть отображен в одну из двух ячеек кэш-памяти. На рисунке B.4.3 рассматриваетс образование физического адреса в двухканальной модульно-ассоциативной памяти.
Рис. B.4.3. Двухканальна модульно-ассоциативная кэш-память.
Особенность контроллера кэш-памяти – обеспечение возможности параллельной работы микропроцессора с кэш-памятью и периферийных устройств с оперативной памятью в режиме прямого доступа. При записи данных по адресам, находящихся в кэше, контроллер ликвидирует копии этих блоков в кэше. Всю работу по синхронизации данных в DRAM и кэше берет на себя этот контроллер.
Однокристальный контроллер кэш-памяти фирмы ASUSTEC, совместно с памятью данных 32 Кбайта обеспечивает вероятность попадания более 95%. Это достигается благодаря использованию четырехканального модульно-ассоциативного обращения, который отображает адрес оперативной памяти в одну из четырех ячеек кэш-памяти. При этом, вследствие организации последовательного обращения к памяти данных, требуется подключени всего одного банка памяти данных.
Контроллер A38152 фирмы Asustec имеет аппаратные и программные средства, обеспечивающие связанность информации: логика слежения за шиной, которая обеспечивает ликвидацию копий блоков в кэш-памяти, задани области адресов, не отображаемой в кэш-память (например, для сопроцессора фирмы Weitec и устройств ввода/вывода).
На многих материнских платах можно выбирать между одноуровневой или многоуровневой системами организации памяти. По умолчанию устанавливается ражим многоуровневой памяти. Если Вы установите режим одноуровневой памяти, то кэш-память SRAM просто добавляется к адресному пространству основной оперативной памяти. Одноуровневую память лучше использовать, когда внутренний кэш процессора по объему превосходит емкость кэш-памяти на материнской плате.
...Уже до появления микропроцессора i80486 фирмы Intel стало ясно, что скорость обмена данных процессор-память по системной шине происходит очень медленно даже при использовании внешней кэш-памяти. Поэтому уже в микропроцессоре i80486 фирма Intel стала использовать кэш-память, находящейся в самом процессоре. В процессоре i80486 осуществляется кэширование системных регистров —путем введения “теневых" регистров. Когда программа загружает селектор в системный регистр, процессор автоматически считывает (“кэширует”) нужный системный регистр в теневом регистре. После этого обращения к памяти достаточно сложить эффективный адрес с базовым адресом сегмента в теневом реестре, и получить линейный адрес. Это так называемый кэш первого уровня. В микропроцессоре Pentium кэшированию стали подвергать не только системные регистры, но и регистры данных и предвыборки команд.
Логическим продолжением явилось размещение кэш-памяти и ее контроллера не на материнской плате, а на самом процессоре. При этом решаются две задачи:
15. Упрощение шины передачи данных.
16. Появилась возможность работы кэш-памяти не на частоте шины, а на частоте процессора. При этом скорость работы кэш-памяти увеличивается.
Исходя из всего этого, в микропроцессоре Pentium стала использоватьс встроенная в него кэш-память второго уровня. Благодаря ней скорость работы процессора на тех же системных платах возросла. Необходимо, однако, отметить, что изготовление кэш-памяти второго уровня на кристалле процессора намного усложняет стоимость самого микропроцессора. Именно для недорогих моделей компьютеров фирма Intel стала изготовлять процессоры без кэша второго уровня или с кэш-памятью меньшего размера. Примером такого процессора являетс процессор Intel Celeron. Он аналогичен процессору Intel Pentium II, однако либо не содержит кэш второго уровня (в первых моделях), либо он небольшой (в новых версиях этого процессора.) Благодаря этому упала его цена и производительность.
Примечание: в связи с выходом микропроцессора Intel Pentium 4 корпорация Intel снимает с производства в 2001 году микропроцессора Intel Celeron.
5. Постоянное запоминающее устройство.
Кроме оперативной памяти, под термином "память" мы будем подразумевать постоянную и CMOS - память.
К постоянной памяти относят постоянное запоминающее устройство, ПЗУ (в англоязычной литературе - Read Only Memory, ROM, что дословно перводится как "память только для чтения"), перепрограммируемое ПЗУ, ППЗУ (в англоязычной литературе – Programmable Read Only Memory, PROM), и флэш-память (flash memory). Название ПЗУ говорит само за себя. Информация в ПЗУ записывается на заводе-изготовителе микросхем памяти, и в дальнейшем изменить ее значение нельзя. В ПЗУ хранится критически важная для компьютера информация, которая не зависит от выбора операционной системы. Программируемое ПЗУ отличается от обычного тем, что информация на этой микросхеме может стираться специальными методами (например, лучами ультрафиолета), после чего пользователь может повторно записать на нее информацию. Эту информацию будетневозможно удалить до следующей операции стирания информации.
6. Флэш-память.
Особо следует рассказать о флэш-памяти. Flash по-английски – это "вспышка, проблеск". Флэш-память является энергонезависимой памятью, (как и ПЗУ и ППЗУ). При выключении компьютера ее содержимое сохраняется. Однако содержимое flash-памяти можнр многократно перезаписывать, не вынимая ее из компьютера (в отличие от ППЗУ). Запись происходит медленнее, чем считывание, и осуществляется импульсами повышенного напряжения. Вследcтвие этого, а также из-за ее стоимости, флэш память не заменит микросхемы ОЗУ.
7. CMOS-память.
CMOS-память – энергозависимая, перезаписываемая память, которая при своей работе , однако, почти не потребляет энергии. CMOS переводится как complementary metal oxode semiconductor – "комплиментарный металл - оксид - полупроводниковый". Достоинства этой памяти – низкое потребление энергии, высокое быстродействие. В CMOS - памяти компьютера находятся важные для его работы настройки, которые пользователь может менять для оптимизации работы компьютера. Питается эта память от небольшого аккумулятора, встроенного в материнскую плату.
8. Недостатки перезаписываемой памяти.
Основной недостаток ПЗУ – невозможность обновить информацию в этом виде памяти, – одновременно является и его преимуществом: данные невозможно потерять случайно и умышленно. Особенно это стало актуальным на рубехе XX – XXI веков, с вытеснением микросхем ПЗУ на CMOS и flash-память. Рассмотрим возникающие проблемы.
8.1. Потеря данных в CMOS.
Компьютеры с ISA шиной (содержащие процессоры вплоть до i80286), имели минимум настроек. Часто они вполне нормально работали в своей основной конфигурации.
Ситуация изменилась после появления на компьютерах памяти более чем 16 Мбайт, ШВУ контроллеров и PCI-шины. Как выяснилось, в большинстве случаев стандартная настройка материнской платы стала неприменимой. Для сохранения настроек пользователя их стали хранить в CMOS-памяти.
Иногда содержимое CMOS-памяти разрушается. Это возможно в следующих случаях:
17. Воздействие вируса. При своей работе вирус может специально внедряться в CMOS-память, чтобы обеспечиватиь лучшие условия для его распространения либо специально вывести компьютер из строя.
18. Неисправность аккумулятора. В некоторых случаях аккумулятор CMOS-памяти может разряжаться (от времени или короткого замыкания на плате.) В этом случаесодержимое CMOS может разрушиться не сразу, а по прошествии двух - трех суток.
19. Скачок напряжения при работе с CMOS. В этом случае последствия непредсказуемы.
20. Установка пароля на загрузку. Иногда пользователь для защиты от несанкционированного доступа устанавливает "пароль на загрузку". Если он потом забудет пароль, то для запуска компьютера будет необходим сброс параметров CMOS-памяти путем короткого замыкания ее аккумулятора.
Для восстановления параметров CMOS-памяти после ее сброса существуют опции "стандартной" и безопасной" настройки этой памяти на материнской плате. Пользователю в этом случае придется восстанавливать не все, а только часть параметров. Опции "стандартной" и "безопасной" настройки хранятся в ПЗУ и изменить их невозможно!
8.2. Потеря данных в flash-памяти.
Потеря данных в flash-памяти возможна по тем же причинам, что и в CMOS-памяти. Однако для флэш-памяти нет возможности вернуться к первоначальным установкам! В связи с этим потеря информации в флэш-памяти может быть непоправимой.
... В 1998 году автор узнал о новом черезвычайно опасном вирусе –"Чернобыль". Опасность заключалась в его действии – ровно в годовщину аварии на Чернобыльской АЭС этот вирус портил содержимое флэш-памяти и наиболее важной ее части – BIOS. В результате компьютер не мог вообще осуществлять операции ввода-вывода, в том числе и загрузку операционных систем. CMOS-память же оставалась в полном порядке! Поскольку микросхема с BIOS обычно была припаяна к материнской плате, приходилось выкидывать всю материнскую плату.
Автору известен только один способ 100% гарантии избежать действия этого вируса – аппаратно запретить перзапись флэш-памяти. Дело в том, что новые версии этого вируса размножаются лавинообразно, и нет гарантии, что он сработает именно в эту дату.













