| Скачать .docx |
Реферат: Исследование работы РПЗУ
ЛАБОРАТОРНАЯ РАБОТА № 4
ИССЛЕДОВАНИЕ РАБОТЫ РЕПРОГРАММИРУЕМ0ГО ПОСТОЯННОГО
ЗАПОМИНАЮЩЕГО УСТР0ЙСТВА
1. ЦЕЛЬ РАБОТЫ
Целью настоящей работы является исследование особенностей функционирования больших интегральных схем ( БИС ) репрограмируемых постоянных запоминающих устройств ( РПЗУ ) в режиме записи и считывания информации.
2. ОСНОВНЫЕ ТЕОРЕТИЧЕСКИЕ ПОЛ0ЖЕНИЯ
2.1. Устройства хранения информации занимают значительное место в структуре современных цифровых вычислительных систем. Особую роль при этом играют полупроводниковые запоминающие устройства, предназначенные для построения внутренней памяти ЭВМ. К устройствам данного класса относятся оперативные запоминающие устройства ( ОЗУ ), постоянные запоминающие устройства ( ПЗУ ), программируемые постоянные запоминающие устройства ( ППЗУ ) и репрограммируемыв постоянные запоминающие устройства ( РПЗУ ).
2.2. Полупроводниковые ОЗУ обеспечивают запись, хранение и считывание информации, поступающей из центрального процессора или устройств внешней памяти ЭВМ. Они характеризуются высоким быстродействием, однако при отключении питания информация, записанная в 0ЗУ данного типа, стирается.
П3У предназначены для длительного хранения информации многократного использования ( константы, таблицы данных, стандартные программы и т.д. ). Запись информации в ПЗУ производится в процессе их изготовления. ПЗУ функционируют только в режиме считывания и сохраняет информацию при отключении питания.
В отличии от ПЗУ программируемые ПЗУ позволяют пользователю производить однократную запись ( программирование ) информации по каждому адресу. Основным режимом работы ППЗУ также является режим считывания информации.
Исследуемые в настоящей работе РПЗУ сохраняют информацию при отключении источников питания, а также допускают возможность ее многократной перезаписи электрическими сигналами непосредственно самим пользователем, что имеет принципиальное значение при отладке тех или иных систем. В отличие от ОЗУ быстродействие этих устройств в режиме записи информации значительно ниже, чем в режиме считывания информации. В связи с этим можно считать, что основным режимом работы РПЗУ является режим считывания информации.
2.3. Основными определяющими параметрами запоминающих устройств являются информационная емкость и быстродействие. В качестве единицы измерения информационной емкости используются бит, представляющий собой один ( любой ) разряд двоичного числа. Часто используются производные единицы:
байт ( 1 байт = 8 бит );
Кбайт ( 1 Кбайт = 210 байт );
Мбайт ( 1 Мбайт = 220 байт ) и др.
Информационная емкость записывается, как правило, в виде произведения
Синф = n x m, где
n - число двоичных слов;
m - разрядность слова.
Например, емкость ОЗУ типа К155РУ1 составляет
Синф = 16 х 1 бит = 16 бит.
Емкость ППЗУ типа К155РЕЗ равна
Синф = 32 х 8 бит = 256 бит = 32 байта.
Такая форма записи характеризует также и организацию памяти. Так, в приведенном примере ОЗУ типа К155РУ1 содержит 16 слов с разрядностью 1, а ППЗУ типа К155РЕЗ содержит 32 слова с разрядностьв 8.
Быстродействие запоминающего устройства характеризуется величиной времени обращения. Время обращения - это интервал времени от момента подачи сигнала записи или считывания информации до момента завершения операции, т.е. минимальный интервал времени между двумя последовательными сигналами обращения к запоминающему устройству. Это время может составлять от долей до единиц микросекунд в зависимости от типа устройства.
2.4. В качестве примера запоминающего устройства рассмотрим БИС РПЗУ типа КР1601РР1 информационной емкостью
Синф 1К х 4 = 4 Кбит (1К = 210 =1024 ).
Условно-графическое обозначение микросхемы приведено на рис.1.

Рис.1
На рис.1 использованы следующие обозначения:
A0 ¸ A9 - входы адреса
D0 ¸ D3 - входы / выходы данных
CS - выбор кристалла
RD - вход сигнала считывания
PR - вход сигнала программирования
ER - вход сигнала стирания
UPR -вход напряжения программирования
Режимы работы микросхемы представлены в таблице 1.
Таблица 1
| CS |
ER |
PR |
RD |
A0¸A9 |
UPR |
D1/0 |
Режим |
| 0 |
X |
X |
X |
X |
X |
Roff |
Хранение |
| 1 |
0 |
1 |
0 |
X |
-33¸-31 B |
X |
Общее стирание |
| 1 |
0 |
0 |
0 |
A |
—//— |
X |
Избирательное стирание |
| 1 |
1 |
0 |
0 |
A |
—//— |
D1 |
Запись данных |
| 1 |
1 |
1 |
1 |
A |
-33¸5 B |
D0 |
Считывание |
2.4.1. В режиме хранения на вход С подается логический "0", при этом независимо от характера сигналов на других управляющих и адресных входах на выходах данных устанавливается высокоомное состояние ( Roff ).
2.4.2. При подаче CS = 1, ER = 0, PR = 1 и RD = 0 происходит стирание информации во всех ячейках памяти микросхемы, что соответствует для данной микросхемы установление всех ячеек в состояние логической "1".
2.4.3. При подаче сигналов CS = 1, ER = RD = 0 происходит избирательное стирание информации только по одному адресу А, установленному на входах AО ¸ А9 .
2.4.4. Для программирования РПЗУ на вход подается сигналы СS = 1 и PR = 0. При этом обеспечивается запись по заданному адресу А информации, поступившей на входы DО ¸ D3.
2.4.5. Для считывания информации по адресу А на вход микросхемы подаются сигналы СS = RD = 1. Считываемая информация поступает на выходы D0 ¸ DЗ микросхемы.
2.4.6. В режиме стирания и программирования на вход UPR подается повышенное напряжение -33 ¸ -31 В. В режиме считывания это напряжение может иметь любое значение в интервале от -33 В до 5 В.
3. ОПИСАНИЕ ОБЪЕКТА И СРЕДСТВ ИССЛЕДОВАНИЯ
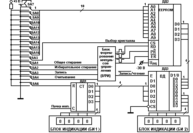
Функциональная схема исследуемого устройства представлена на рис.2.
3.1. Исследуемая микросхема запоминающего устройства ДД2 представляет собой РПЗУ с электрическим стиранием информации типа КР1601РР1, рассмотренное выше.
3.2. Для задания кода адреса РП3У используются десять кнопок с фиксацией SA7 ¸ SA16. Отжатому состоянию кнопки соответствует сигнал логического "0", нажатому состоянию - сигнал логической "1" ( при этом загорается соответствующий светодиод ).
3.3. Данные для записи в РПЗУ формируются с помощью генератора пачки импульсов и счетчика СТ ( ДД1 ). Число импульсов задается с помощью четырех кнопок с фиксацией на блоке К32 под надписью "Программатор СИ". Генератор запускается путем нажатия поочередно кнопок "Устан.О" и “Пуск". Число импульсов подсчитывается счетчиком, собранном на микросхеме типа К155ИЕ5, и в двоичном коде через шинный формирователь ВД подается на вход данных РПЗУ. При необходимости счетчик СТ может быть обнулен с помощью кнопки SA6.
3.4. Шинный формирователь ДДЗ выполняет функцию коммутатора, обеспечивающего заданную пересылку четырехразрядных слов данных. С этой целью в микросхеме ДДЗ предусмотрены три различные группы входов / выходов.
3.4.1. Входы D1 предназначены для приема данных от внешних устройств ( например, счетчика импульсов ) и пересылки их в РП3У.
3.4.2. Выходы D0 предназначены для передачи считываемых данных на блок индикации БИ2.
3.4.3. Выводы D1/0 представляют собой входы или выходы микросхемы в зависимости от направления передачи данных.
3.4.4. При подаче на управляющий вход шинного формирователя Е сигнала логического "0" данные с входов D1 подаются на выходы D 1/0. При подаче на вход Е сигнала логической "1" данные с входов D 1/0 передаются на выход DО.
3.5. Блок формирования импульсов управления представляет собой устройство, формирующее сигнал управления работой РПЗУ.
3.5.1. В режиме "0бщее стирание" БФИ формирует на входе ER РПЗУ сигнал логического "0". Сигнал формируется с помощью кнопки SА1 на блоке К32 путем перевода ее в нажатое состояние и обратно.
3.5.2. В режиме "Избирательное стирание" БФИ формирует на входах ЕР и РР РПЗУ сигналы логического "0". Сигналы формируются с помощью кнопки SА2 путем перевода ее в нажатое состояние и обратно.
3.5.3. В режиме "Запись информации" БФИ формирует сигналы логического "0" на входе PR РПЗУ и на входе Е шинного формирователя. Сигналы формируются с помощью кнопки SАЗ путем перевода ее в нажатое состояние и обратно. Указанные сигналы формируются при условии, что одна из кнопок SА1 или SA2 находится в отжатом состоянии.
3.5.4. В режиме "Считывание информации" БФИ формирует сигнал логической "1" на входе RD РПЗУ и на входе Е шинного формирователя. Сигналы формируются с помощью кнопки SА4 путем перевода ее в нажатое состояние и обратно. Считывание информации производится из ячейки памяти с заданным адресом А. После считывания данные через шинный формирователь поступают на блок индикации БИ2.
3.6. Блок индикации БИ1, расположенньй слева на передней панели блока К32, регистрирует число, находящееся в счетчике СТ2 ( ДД1 ). Число представляется в десятичной форме с помощью двух семисегментных индикаторов ( третьего и четвертого ). Кнопка " IO |_ 2”, расположенная под индикатором, должна находиться в отжатом состоянии.
Блок индикации БИ2, расположенный на панели справа, регистрирует данные, считываемые из РПЗУ. Информация на блоке индикации может быть представлена как в двоичной, так и в десятичной форме,
3.7. Вышеуказанный ряд питающих напряжений, необходимый для функционирования исследуемого устройства, формируется с помощью блоков пи-

Рис.2
тания стенда. Для подачи необходимых напряжений соответствующие кнопки питания должны находиться в нажатом состоянии, что сопровождается свечением индикаторов "+5" , "+15" , "-15" , "-30".
4. ПОРЯДОК ВЫПОЛНЕНИЯ РАБОТЫ
Для исследования режимов работы РПЗУ подготовить исходную информацию в виде блока данных в двоичном коде и занести эти данные в таблицу (табл.2 ). Значения данных в десятичном коде предварительно согласовать с преподавателем.
4.1. Исследовать работу РПЗУ в режиме общего стирания информации.
4.1.1. Выполнить операции, указанные в п.3.5.1. с учетом п.2.4., и провести общее стирание информации в РПЗУ.
4.1.2. Провести считывание информации из РПЗУ по 8 последовательно расположенным адресам, начиная с адреса А = 1. Результаты измерений занести в таблицу ( табл.2 ). Сделать выводы о работе РПЗУ в данном режиме.
4.2. Исследовать работу РПЗУ в режиме записи информации.
4.2.1. Выполнить операции, указанные в п.3.5.3., и провести запись исходных данных по 8 последовательно расположенным адресам, начиная о адреса А 1 в соответствии с табл.2
Таблица 2
| № п/п |
Адрес |
Исходные данные |
Общее стир. |
Запись |
Избир. стир. |
Общее стир. |
| 1 2 3 4 5 6 7 8 |
0001 0010 0011 0100 0101 0110 0111 1000 |
4.2.2. Выполнить операции, указанные в п.4.1.2., и провести считывание записанной в РПЗУ информации. Результаты измерений занести в таблицу (табл.2). Провести сравнение результатов записи с исходной информацией.
4.3. Исследовать работу РПЗУ в режиме избирательного стирания.
4.3.1. Выполнить операции, указанные в п.3.5.2. для первых 4-х адресов, начиная с адреса А = 1, проведя избирательное стирание информации по указанным адресам.
4.3.2. Провести считывание всего блока из 8-ми данных. Результаты считывания занести в таблицу ( табл.2 ). Сделать выводы о работе РПЗУ в режиме избирательного стирания информации.
4.4. Провести общее стирание информации в РПЗУ, а затем повторное считывание исходного блока данных, начиная с адреса А = 1. Убедитесь, что информация в заданном массиве соответствует исходному состоянию и РПЗУ подготовлено к повторному программированию.
5. СОДЕРЖАНИЕ ОТЧЕТА
1. Название и цель работы.
2. Основные характеристики исследуемого РПЗУ.
3. Функциональная схема исследуемого устройства.
4. Таблица по п.4 и выводы о работе РПЗУ.
6. КОНТРОЛЬНЫЕ ВОПРОСЫ
1. Дайте определение основных видов запоминающих устройств.
2. Назовите отличительные особенности ОЗУ,ПЗУ, ППЗУ и РПЗУ.
3. Приведите основные параметры запоминающих устройств и единицы их измерения.
4. Объясните основные режимы работы РПЗУ.
7. СПИСОК ИСПОЛЬЗОВАННОЙ ЛИТЕРАТУРЫ
Щеголева Л.И., Давыдов А.Ф. Основы вычислительной техники и программирования. - М.: Энергоиздат, 1981.
ОГЛАВЛЕНИЕ
| 1. Цель работы |
1 |
| 2. Основные теоретические положения |
1 |
| 3. Описание объекта и средств исследования |
3 |
| 4. Порядок выполнения работы |
6 |
| 5. Содержание отчета |
7 |
| 6. Контрольные вопросы |
7 |
| 7. Список использованной литературы |
7 |