| Похожие рефераты | Скачать .zip |
Реферат: АСУ целевыми программами в некоммерческой организации
Доклад
Уважаемые члены комиссии, представленный вашему вниманию дипломный проект посвящен разработке автоматизированной системы управления процессом формирования и реализации целевых программ в некоммерческой региональной общественной организации инвалидов «СОРАТНИК». Которая функционирует как добровольное самоуправляемое объединение граждан, являющихся инвалидами, на основе совместной деятельности.
Предпроектное обследование этой организации показало, что на сегодняшний день в ней отсутствуют какие-либо средства автоматизированного управления, а вся имеющаяся вычислительная техника используется только для набора текстов, оформления и печати отдельных документов.
Поэтому в целях разработки АСУ для РООИ «Соратник» потребовалось провести, прежде всего, тщательный и всесторонний анализ специфики ее деятельности, четко определить структуру ее руководящих органов и исполнительного аппарата, а также выявить и классифицировать информационные потоки, как между отдельными подразделениями внутри организации, так и ее внешние связи с бизнес-средой.
Основные результаты этого анализа представлены на плакатах 1, 2, 3 и 4.
Согласно Уставу РООИ «Соратник» главной ее целью является содействие удовлетворению экономических, медико-социальных и культурных интересов и потребностей инвалидов - ликвидаторов аварии на Чернобыльской АЭС. Это достигается за счет планирования и осуществления целевых программ, направленных на оказание инвалидам необходимой медико-социальной помощи, способствующих их возвращению к полноценной жизнедеятельности в обществе.
Высшим руководящим органом РООИ «СОРАТНИК» является Общее Собрание ее членов, в исключительной компетенции которого находится принятие устава, избрание Совета организации и его Председателя. Председатель Совета РООИ «СОРАТНИК» является одновременно и Генеральным директором организации, возглавляющим структуру ее исполнительного аппарата, представленную на плакате 1.
Как видно, организационная структура исполнительного аппарата реализует функциональное делегирование полномочий в соответствии с основными направлениями деятельности организации. Ведущие направления деятельности, возглавляемые заместителями Генерального директора, обеспечиваются несколькими структурными подразделениями, выделяемыми опять же по функциональному принципу. В рамках непосредственного управления структура носит линейный характер. Все выше сказанное позволяет отнести структуру исполнительного аппарата РООИ «СОРАТНИК» к линейно-функциональному типу.
Основными законами, которыми РООИ «СОРАТНИК» руководствуется в своей деятельности являются Федеральный Закон N 7-ФЗ «О некоммерческих организациях» от 12 января 1996 г. и Закон города Москвы N 35 от 29 ноября 2000г. "О ставках и льготах по налогу на прибыль". Эти два закона определяют схему движения финансовых потоков при осуществлении ее основной уставной непредпринимательской деятельности, которая показана на плакате 2.
Поскольку целью РООИ «СОРАТНИК» не является извлечение прибыли, то все средства организации, независимо от источника их формирования, направляются на финансирование проектов и программ организации, связанных с ее уставной деятельностью.
На основании анализа оргструктуры РООИ «СОРАТНИК» и выявлении специфических функций управления процессом формирования и реализации целевых программ в дипломном проекте была спроектирована система управления данным объектом. Структурная схема этой АСУ с выделением в ее составе подсистем и функционально-управляющих блоков показана на плакате 5.
В соответствии с темой дипломного проекта был подробно проработан ФУБ процессом разработки и реализации целевых программ, разработанная модель которого представлена на плакате 6. Кроме того, как уже отмечалось, были проанализированы информационные потоки и каналы информационного взаимодействия структурных подразделений РООИ «Соратник» между собой и внешними организациями в процессе разработки целевых программ. Результаты этого анализа, определяющие предпроектную информационную модель процесса разработки и реализации целевых программ в РООИ «СОРАТНИК» представлены в виде схем документооборота на плакате 3 и схемы взаимодействия по финансовым вопросам – на плакате 4.
Одной из основных целей автоматизации управления является переход от традиционной бумажной технологии делопроизводства к использованию современных электронных средств получения, учета, хранения и обработки информации с целью наиболее эффективного и быстрого решения целевых задач. Для этого в первую очередь необходимо решить вопросы, связанные с разработкой структур данных, а также с организацией процесса управления ими, включая способы их рационального представления и определение прав доступа пользователей к информации. Схематично архитектура этого процесса представлена на плакате 7.
Эта схема подразумевает использование технологии «клиент-сервер» при структуировании программного обеспечения в виде «сервера баз данных». Внесение информации и получение ответов на запросы к базе данных осуществляется с локальных рабочих мест в соответствии с установленными администратором правами доступа.
Применительно к автоматизированному процессу управления целевыми программами в РООИ «СОРАТНИК» сказанное выше конкретизировано в виде информационной модели, показанной на плакате 8.
Теория проектирования базы данных предполагает необходимость разработки ее концептуальной модели, отражающей структурирование данных путем разбиения всей предметной области на отдельные сущности и установление отношений между ними. Спроектированная концептуальная модель базы данных для РООИ «Соратник» показана на плакате 9 в виде диаграммы «сущность-связь».
Дальнейшая ее детализация в виде логической модели, представляющей собой полную атрибутивную модель с обозначением всех сущностей, ключей, атрибутов и связей, а также ее отображение в физическую модель базы данных, определяемую ядром СУБД Access, выбранной для реализации в данном проекте, подробно описаны в пояснительной записке.
В дипломном проекте был также осуществлен выбор комплекса технических средств для внедрения разработанной АСУ в РООИ «Соратник». Выбор был осуществлен по критерию минимизации затрат и было предложено в максимальной степени использовать существующий в организации парк из четырех компьютеров, осуществив его объединение в локальную сеть. А также предлагается приобрести один дополнительный компьютер для сетевого сервера.
ПРИЛОЖЕНИЕ
Форма С-3
РЕГИОНАЛЬНАЯ ОБЩЕСТВЕННАЯ ОРГАНИЗАЦИЯ ИНВАЛИДОВ
«СОРАТНИК»
Смета доходов и расходов на целевую программу
«создания и функционирования патронажной службы» 2001 - 2002 гг.
| Номер строки |
Наименование статей доходов и расходов |
Планируется на | ||
| 2001 – 2001 гг. | в том числе | |||
| 2001 г. | 2002 г. | |||
|
РАЗДЕЛ I. Доходы некоммерческой организации |
||||
| 1.1 | Вступительные взносы | 33 000 | 15 000 | 18 000 |
| 1.2 | Членские взносы | 220 000 | 100 000 | 120 000 |
| 1.3 |
Добровольные целевые взносы физических лиц |
880 000 | 400 000 | 480 000 |
| 1.4 |
Добровольные целевые взносы юридических лиц |
3 540 200 | 1 611 000 | 1 929 200 |
|
ИТОГО по разделу I |
4 673 200 | 2 126 000 | 2 547 200 | |
|
РАЗДЕЛ II. Расходы некоммерческой организации |
||||
| 2.1 |
Заработная плата исполнителей программы |
1 320 000 | 600 000 | 720 000 |
| 2.2 | Отчисления во внебюджетные фонды | 508 200 | 231 000 | 277 200 |
| 2.3 | Командировочные расходы | 363 000 | 165 000 | 198 000 |
| 2.4 |
Канцелярские и хозяйственные расходы |
66 000 | 30 000 | 36 000 |
| 2.5 | Приобретения основных средств | 95 000 | 45 000 | 50 000 |
| 2.6 |
Расходы на аренду и содержание зданий и помещений |
1 650 000 | 750 000 | 900 000 |
| 2.7 | Административные расходы | 660 000 | 300 000 | 360 000 |
| 2.8 | Непредвиденные расходы | 11 000 | 5 000 | 6 000 |
|
ИТОГО по разделу II |
4 673 200 | 2 162 000 | 2 547 200 | |
«___» ____________ 2000__ г.
Ген. Директор РООИ «Соратник» _____________
Главный бухгалтер _____________
ПРЕДСЕДАТЕЛЮ
СОВЕТА РЕГИОНАЛЬНОЙ ОБЩЕСТВЕННОЙ
ОРГАНИЗАЦИИ ИНВАЛИДОВ
«СОРАТНИК»
Закревкому Сергею Леонидовичу
От инвалида ____ гр. ____________________________________________
(Ф. И. О.)
Проживающего по адресу: ____________________________________
____________________________________
Телефон: ____________________________________
Инвалидное удостоверение № ____________________________________
ЗАЯВЛЕНИЕ
Прошу Вас включить меня на патронажное обслуживание для обеспечения лечения на дому. Обязуюсь данный вид помощи получать только в Вашей организации.
«___» ____________ 2000__ г. Подпись:_____________
Форма С-1
РЕГИОНАЛЬНАЯ ОБЩЕСТВЕННАЯ ОРГАНИЗАЦИЯ ИНВАЛИДОВ
«СОРАТНИК»
В инспекцию МНС РФ № ___
В инспекцию МНС РФ № ___
СПРАВКА
о величине налоговой льготы, заявленной
_____________________________________________________________________
(наименование организации инвестора)
по фактическому взносу
_____________________________________________________________________
(наименование организации получателя)
В соответствии с Законом города Москвы от 29.11.2000 г. №35 "О ставках и льготах по налогу на прибыль" (подпункт «б» пункта 2 статьи 3)
за ____________________________________________________________200__ г.
(месяц, квартал, полугодие, 9 месяцев, год)
| № п/п | Показатели | Сумма, руб. |
| 1. | Сумма фактических взносов, используемых получателем за _____ квартал 200__ г. | |
| 2. | Величина налоговой льготы, заявленная инвестором по строке ______ за отчетный период ______ квартала 200__ г. |
Инвестор:
Руководитель ___________________
Главный бухгалтер_______________
«___» ______________ 200__ г.
М. П.
Получатель:
Руководитель ___________________
Главный бухгалтер_______________
«___» ______________ 200__ г.
М. П.
Министерство здравоохранения РФ
Центральная врачебно-трудовая экспертная комиссия (втэк) № ____
«___» ______________ 200__ г.
СПРАВКА № _____________
Гражданин ___________________________________________________________
(Ф. И. О.)
год рождения 199__ акт № _______________
освидетельствован «___» _________________ 200__ г.,
признан инвалидом ___ группы ________________________,
инвалидность установлена до __________________________.
Причина инвалидности «Увечье связано с аварией на ЧАЭС».
Очередное переосвидетельствование _____________________
Подпись ______________
М. П.
Форма С-2
РЕГИОНАЛЬНАЯ ОБЩЕСТВЕННАЯ ОРГАНИЗАЦИЯ ИНВАЛИДОВ
«СОРАТНИК»
ОТЧЕТ
об использовании средств по договору № ___________ в ____ квартале 200__ г. согласно Закону города Москвы от 29.11.2000 г. №35 "О ставках и льготах по налогу на прибыль" (подпункт «б» пункта 2 статьи 3).
Уважаемый __________________________________________________________,
(Ф. И. О.)
полученные от Вас ____________________ рублей израсходованы следующим образом:
20% от перечисленной суммы (_____________ руб.) находятся на р/с РООИ «СОРАТНИК» и предназначены для оплаты расходов, связанных организацией работы РООИ «СОРАТНИК»;
80% от перечисленной суммы (_____________ руб.), в числе прочих перечислены на р/с ______________________________
Договор № ____________________
п/п № ________________________
ПРИМЕЧАНИЕ:
перечисленные документы находятся в делопроизводстве РООИ «СОРАТНИК».
«___» ____________ 2000__ г.
Ген. Директор РООИ «Соратник» _____________
Министерство здравоохранения РФ
Московский ордена трудового Красного Знамени научно-исследовательский институт Диагностики и Хирургии
«___» ____________ 2000__ г.
СПРАВКА
о направлении на санаторно-курортное лечение
Гражданин _________________________________________________ 19___ г. р.
(Ф. И. О.)
участник ликвидации последствий аварии на ЧАЭС и других технологичных аварий, удостоверение № 111111 серия А год 19___ . Справка ВТЭК об инвалидности серия _____ № __________
Находился (лась) на обследовании: ______________________________________
Основное заболевание: ________________________________________________
Сопутствующие заболевания: ___________________________________________
Тип курорта: _________________________________________________________
Время (сезон): ________________________________________________________
Необходимость в сопровождении: _______________________________________
Врач радиолог __________________________
Руководитель отдела __________________________
Договор № ________
благотворительного пожертвования
![]()
г. Москва
"______"______________ 200___ г.
__________________________________________________________________________,
именуемая в дальнейшем Инвестор, в лице _____________________________________,
действующего на основании Устава с одной стороны, и некоммерческая организация
РООИ «СОРАТНИК», именуемая в дальнейшем Благополучатель, в лице Генерального директора Закревского С. Л., действующего на основании Устава, с другой стороны, заключили настоящий договор о нижеследующем:
Общие положения
Благотворитель передает Благополучателю денежные средства (благотворительное пожертвование) для реализации ______________________________________________
________________________________________________________________________________________________________________________________________________________________________________________________________________________________________________________________________________________________________________________
В соответствии с подпунктом "б" пункта 2 статьи 3 Закона города Москвы № 35 от 29 ноября 2000 г. "О ставках и льготах по налогу на прибыль" сумма налога на прибыль, зачисляемого в бюджет города Москвы, уменьшается на сумму средств, направленных на реализацию благотворительных программ.
Программа прилагается к договору и являются неотъемлемой частью настоящего договора.
Настоящий договор начинает действовать с ________________________________.
Датой окончания договора является ______________________________. (Настоящий договор вступает в силу с момента заключения и заканчивается после выполнения принятых сторонами на себя обязательств в соответствии с условиями договора).
Порядок предоставления и расходования пожертвований
Средства, предоставляемые по настоящему договору, должны расходоваться в соответствии с бюджетом и в сроки, предусмотренные программой.
Благополучатель должен вести бухгалтерскую документацию в соответствии с требованиями, предъявляемыми российским законодательством. Благополучатель обеспечивает доступ представителя Инвестора ко всей документации, связанной с реализацией прилагаемой программы.
Перевод денежных средств на счет Благополучателя осуществляется на основании программы с учетом текущих потребностей по выплатам.
В случае не предоставления отчетов Благополучателем в установленные сроки или предоставления отчетов не по установленной форме, с недостоверной информацией или с арифметическими ошибками, Инвестор имеет право приостановить последующий перевод денежных средств до предоставления необходимых отчетов или проведения/исправления отчетов в соответствие. Приостановление последующего перевода денежных средств производится на срок, равный просрочке предоставления отчетов, или, соответственно, на срок, который потребовался для приведения отчетов в соответствие с установленными формами отчетности или исправления ошибок до их повторной сдачи.
Средства, полученные Благополучателем и неиспользованные на реализацию прилагаемой программы в оговоренные сроки, должны быть возвращены Инвестору (либо могут быть использованы на другие цели с письменного согласия Благотворителя).
3. Отчетность
3.1.Благополучатель представляет Инвестору квартальные и годовые отчеты о достигнутых результатах в течение 20 дней после окончания периода, за который составляется отчет.
3.2. В течение 30 дней после даты завершения программы Благополучатель представляет итоговый отчет Инвестору.
4. Порядок изменения и расторжения договора
4.1. Изменение и расторжение договора возможны по соглашению сторон. Соглашение об изменении или расторжении договора совершается в письменной форме.
4.2. Благополучатель вправе в любое время до передачи ему пожертвования от него отказаться. В этом случае договор считается расторгнутым.
4.3. Использование целевых средств не в соответствии с программой и бюджетом дает право Инвестору расторгнуть договор в одностороннем порядке.
Настоящий договор составлен в двух экземплярах, по одному для каждой стороны.
Форма С-4
РЕГИОНАЛЬНАЯ ОБЩЕСТВЕННАЯ ОРГАНИЗАЦИЯ ИНВАЛИДОВ
«СОРАТНИК»
ОТЧЕТ
о привлечении средств по ______________________________этапу целевой
(наименование этапа )
программы ________________________________________________________
(название целевой программы)
| № п/п |
Сметные показатели |
Плановые значения |
Фактические значения |
| 1 |
Доходы на этап |
||
| 2 |
Прямые расходы |
||
| 3 |
Косвенные расходы |
||
| 4 |
Косвенные расходы / Прямые расходы |
||
| 5 |
Доходы – Расходы |
«___» ____________ 2000__ г.
Заместитель Ген. Директора
РООИ «Соратник» по финансовым вопросам _____________ _______________
Форма С-5
РЕГИОНАЛЬНАЯ ОБЩЕСТВЕННАЯ ОРГАНИЗАЦИЯ ИНВАЛИДОВ
«СОРАТНИК»
Отчет
о расходовании средств на административно - хозяйственную
деятельность по ________________________________________этапу целевой
(наименование этапа )
программы ________________________________________________________
(название целевой программы)
| № п/п |
Наименование статьи |
Планируемая сумма, руб. |
Фактическая сумма, руб. |
«___» ____________ 2000__ г.
Заместитель Ген. Директора
РООИ «Соратник» по финансовым вопросам _____________ _______________
Форма С-6
РЕГИОНАЛЬНАЯ ОБЩЕСТВЕННАЯ ОРГАНИЗАЦИЯ ИНВАЛИДОВ
«СОРАТНИК»
Отчет
о расходовании средств на уставную непредпринимательскую
деятельность по ________________________________________этапу целевой
(наименование этапа )
программы ________________________________________________________
(название целевой программы)
| № п/п |
Наименование статьи |
Планируемая сумма, руб. |
Фактическая сумма, руб. |
«___» ____________ 2000__ г.
Заместитель Ген. Директора
РООИ «Соратник» по финансовым вопросам _____________ _______________
Форма С-7
РЕГИОНАЛЬНАЯ ОБЩЕСТВЕННАЯ ОРГАНИЗАЦИЯ ИНВАЛИДОВ
«СОРАТНИК»
Отчет
о расходовании средств по ______________________________этапу целевой
(наименование этапа )
программы ________________________________________________________
(название целевой программы)
| № п/п |
Наименование статьи |
Планируемая сумма, руб. |
Фактическая сумма, руб. |
«___» ____________ 2000__ г.
Заместитель Ген. Директора
РООИ «Соратник» по финансовым вопросам _____________ _______________
Форма С-8
РЕГИОНАЛЬНАЯ ОБЩЕСТВЕННАЯ ОРГАНИЗАЦИЯ ИНВАЛИДОВ
«СОРАТНИК»
ОТЧЕТ
Выбор оптимальной целевой программы
На «___» ____________ 2000__ г. оптимальной целевой программой является:
| № п/п | Наименование целевой программы |
«___» ____________ 2000__ г.
Заместитель Ген. Директора
РООИ «Соратник» по финансовым вопросам _____________ _______________
Содержание
| ВВЕДЕНИЕ | 8 |
|
1. АНАЛИТИЧЕСКИЙ РАЗДЕЛ |
11 |
| 1.1. Характеристика объекта управления | 11 |
|
1.1.1. Назначение организации и содержание ее деятельности |
11 |
| 1.1.2. Структура РООИ «СОРАТНИК» | 14 |
| 1.1.2.1. Состав руководящих органов РООИ «СОРАТНИК» | 14 |
| 1.1.2.2. Организационная структура исполнительного аппарата РООИ «СОРАТНИК» | 16 |
|
1.2. Структура автоматизированной системы управления РООИ «СОРАТНИК» |
20 |
|
1.3. Анализ функциональных подсистем АСУ РООИ «СОРАТНИК» |
23 |
| 1.3.1. Модели функционально-управляющих блоков АСУ | 25 |
|
1.3.2. Механизм учета доходов и расходов РООИ «СОРАТНИК» |
28 |
|
1.3.3. Функциональная модель процесса разработки и реализации целевых программ в РООИ «СОРАТНИК» |
31 |
| 1.3.3.1. Бизнес-процесс «Организация целевых программ» | 32 |
| 1.3.3.1.1. Бизнес-процесс «Разработка целевой программы» | 33 |
|
1.3.3.1.1.1. Способы выявления возможных вариантов целевой программы |
33 |
|
1.3.3.1.1.1.1. Бизнес-процесс «Выявление возможных вариантов целевой программы Рисунок 8 отделом работы с инвалидами» |
34 |
|
1.3.3.1.1.1.2. Бизнес-процесс «Выявление возможных вариантов целевой программы Рисунок 9 отделом маркетинга и рекламы» |
35 |
| 1.3.3.1.1.1.3. Бизнес-процесс «Выявление возможных вариантов целевых программ экспертно-медицинским отделом» | 36 |
|
1.3.3.1.1.2. Бизнес-процесс «Составление сметы на целевую программу» |
37 |
|
1.3.3.1.2. Бизнес-процесс «Выбор оптимальной целевой программы» |
37 |
| 1.3.3.1.3. Бизнес-процесс «Выполнение этапа целевой программы» | 38 |
| 1.3.3.1.3.1. Бизнес-процесс «Контроль за расходованием средств» | 39 |
|
1.3.3.1.4. Бизнес-процесс «Составление отчета о выполнении целевой программы» |
40 |
|
1.3.3.1.5. Бизнес-процесс «Анализ выполнения целевой программы» |
40 |
| 1.3.3.2. Бизнес-процесс «Финансирование целевых программ» | 41 |
| 1.3.3.2.1. Бизнес-процесс «Финансирование этапа целевых программ» | 42 |
|
1.3.3.2.1.1. Бизнес-процесс «Контроль за финансированием этапа целевой программы» |
42 |
|
1.3.4. Информационная модель процесса разработки и реализации целевых программ в РООИ «СОРАТНИК» |
43 |
| 1.4. Характеристика обеспечивающих подсистем АСУ | 46 |
| 1.4.1. Информационно-аналитическое обеспечение АСУ | 47 |
| 1.4.2. Комплекс технических средств РООИ «СОРАТНИК» | 52 |
|
2. ПРОЕКТНЫЙ РАЗДЕЛ |
53 |
| 2.1. Организационно-экономическая сущность задачи | 53 |
| 2.1.1. Цель автоматизации | 53 |
|
2.1.2. Описание решения задачи в базовом варианте 2.1.2. Описание решения задачи в базовом варианте |
55 |
|
2.2. Модель решения задачи автоматизированного учета и электронного документооборота в процессе разработки и реализации целевых программ в РООИ «СОРАТНИК» |
56 |
|
2.2.1. Схема автоматизированного учета и электронного документооборота |
58 |
|
2.2.2. Информационная модель учета и электронного документооборота в процессе управления разработкой и реализацией целевых программ в РООИ «СОРАТНИК» |
59 |
|
2.2.3. Функциональная модель процесса разработки и реализации целевых программ в РООИ «СОРАТНИК» |
61 |
| 2.2.3.1. Бизнес-процесс «Организация целевых программ» | 61 |
| 2.2.3.1.1. Бизнес-процесс «Разработка целевой программы» | 62 |
|
2.2.3.1.1.1. Способы выявления возможных вариантов целевой программы |
62 |
|
2.2.3.1.1.1.1. Бизнес-процесс «Выявление возможных вариантов целевой программы отделом работы с инвалидами» |
63 |
|
2.2.3.1.1.1.2. Бизнес-процесс «Выявление возможных вариантов целевой программы отделом маркетинга и рекламы» |
64 |
|
2.2.3.1.1.1.3. Бизнес-процесс «Выявление возможных вариантов целевых программ экспертно-медицинским отделом» |
65 |
|
2.2.3.1.1.2. Бизнес-процесс «Составление сметы на целевую программу» |
66 |
|
2.2.3.1.2. Бизнес-процесс «Выбор оптимальной целевой программы» |
66 |
| 2.2.3.1.3. Бизнес-процесс «Выполнение этапа целевой программы» | 67 |
|
2.2.3.1.3.1. Бизнес-процесс «Контроль за финансированием целевой программы» |
68 |
|
2.2.3.1.4. Бизнес-процесс «Составление отчета о выполнении целевой программы» |
69 |
|
2.2.3.1.5. Бизнес-процесс «Анализ выполнения целевой программы» |
69 |
|
2.3. Разработка информационного обеспечения автоматизированного учета и электронного документооборота процесса разработки и реализации целевых программ в РООИ «СОРАТНИК» |
70 |
| 2.3.1. Внутреннее информационное обеспечение | 70 |
| 2.3.1.1. Концептуальная модель БД | 72 |
| 2.3.1.2. Логическая модель БД | 75 |
| 2.3.1.3. Физическая модель БД | 84 |
| 2.4. Выбор комплекса технических средств | 84 |
| 2.5. Выбор программно-математического обеспечения | 89 |
| 2.5.1. Выбор операционной системы | 90 |
| 2.5.2. Выбор СУБД | 91 |
| 2.5.3. Структура разработанного приложения | 94 |
| 2.5.3.1. Таблицы | 94 |
| 2.5.3.2. Формы | 96 |
| 2.5.3.3. Запросы | 98 |
| 2.5.3.4. Отчеты | 103 |
|
3. Оценка экономической эффективности |
104 |
| 4. ОХРАНА ТРУДА И ОКРУЖАЮЩЕЙ СРЕДЫ | 113 |
| 4.1. Введение | 113 |
| 4.2. Общие понятия и определения | 113 |
|
4.3. Основные санитарно-технические требования к организации рабочего места в офисе |
115 |
| 4.3.1. Эргономические факторы | 115 |
| 4.3.2. Метеорологические условия | 118 |
| 4.3.3. Освещенность | 120 |
| 4.3.4. Электромагнитные излучения | 122 |
| 4.3.5. Шум | 123 |
| 4.3.6. Электробезопасность | 125 |
| 4.3.7. Пожарная безопасность | 126 |
|
4.4. Обеспечение оптимальных условий труда в помещении отдела работы с инвалидами в РООИ «СОРАТНИК» |
127 |
| 4.5. Выводы | 134 |
| ЗАКЛЮЧЕНИЕ | 136 |
| Список использованной литературы | 138 |
| ПРИЛОЖЕНИЯ 1 - 13 | |
ВВЕДЕНИЕ
Представленный дипломный проект является частью комплексного проекта по разработке автоматизированной системы управления процессом формирования и реализации целевых программ в некоммерческой организации. И содержит предложения по решению задачи автоматизации учета и документооборота в рамках разрабатываемой темы.
Обратим внимание на актуальность автоматизации именно общей системы учета и документооборота в организации. Собственно говоря, речь идет не просто о множестве бумажных потоков как таковых, а об информации в них содержащейся. Различные указания, информационные сообщения, контрольные листы и прочее, прочее, прочее. Документооборот (не имеет значения, какой он: бумажный или электронный) объективно связан с организацией эффективной работы больших коллективов людей. Документооборот - это всего лишь упорядоченный обмен информацией. И чем более упорядочена эта система информационных связей, тем эффективнее работа предприятия как целостного организма.
Поскольку данный проект выполнен по результатам и материалам преддипломной практики, проходившей в некоммерческой организации РООИ «СОРАТНИК», то решение поставленной задачи непосредственным образом связано с рассмотрением специфики функционирования указанной организации.
Некоммерческие организации в целом имеют ряд специфических особенностей в плане формирования их структур и осуществления различных видов деятельности. Поэтому в первом разделе представленной работы значительное место отведено рассмотрению сферы деятельности РООИ «СОРАТНИК» и способам формирования ее основного членского состава и руководящих органов, а также произведен подробный анализ организационной структуры исполнительного аппарата организации. На основании проведенного анализа организационная структура исполнительного аппарата РООИ «СОРАТНИК» причисляется к линейно-функциональным организационным структурам. Аналитический раздел настоящего проекта содержит рассмотрение достоинств и недостатков структур такого типа.
В процессе анализа организационной структуры РООИ «СОРАТНИК» и направлений ее деятельности были выделены основные структурные единицы автоматизированной системы управления объектом - функциональные и обеспечивающие подсистемы АСУ организацией, представленные в разделе 1.2.
Так как рассматриваемая в проекте задача достаточно объемна, то в разделе 1.3, посвященном рассмотрению функциональных подсистем АСУ РООИ «СОРАТНИК», приведена подробная детализация основного процесса управления целевыми программами в РООИ «СОРАТНИК», на более мелкие подпроцессы, составляющие единую функциональную модель автоматизируемого процесса. А также отдельно рассматривается модель функционально-управляющего блока данным процессом.
Поскольку до разработки предложений данного проекта в РООИ «СОРАТНИК» не применялись средства автоматизированного управления, то в разделе 1.4, описывающем состав обеспечивающих подсистем АСУ, основное место уделено рассмотрению внешнего информационного обеспечения процесса управления целевыми программами, сложившемуся в РООИ «СОРАТНИК в ходе применения традиционной технологии «бумажного» документооборота.
Как показал анализ предметной области, разрабатываемую систему отличает большое количество условно-постоянной информации (справочные данные по предприятиям-инвесторам и поставщикам медицинских услуг, членам организации, планируемым и фактическим доходам и расходам и т. д.) и необходимость ее строгого упорядочивания для жесткого контроля и обеспечения централизованного доступа. Исходя из этих особенностей в разделе 2.2. была предложена модель автоматизированного учета и документооборота процесса управления целевыми программами в РООИ «СОРАТНИК». Также эти особенности учитывались при создании концептуальной, логической, а затем и физической моделей базы данных системы, представленных в разделе 2.3.1.
В качестве концептуальной и логической моделей используется модель сущность-связь. Данная модель является нормализованной и легко расширяемой. Первая из выделенных ранее особенностей системы получила в ней свое отражение в виде большого количества сущностей-справочников. При создании физической модели использовались средства СУБД MS Access. К достоинствам данной СУБД можно отнести удобный интерфейс администратора и разработчика, доступность применения данной системы на объекте управления и сравнительно низкую стоимость внедрения и обслуживания, что может быть важно для дальнейшего развития системы.
Кроме разработки внутримашинного информационного обеспечения проектный раздел представленной работы содержит подробные обоснования по выбору комплекса технических средств и программно-математического обеспечения для реализации поставленной задачи, изложенных соответственно в разделах 2.4 и 2.5.
В качестве примера, наглядно иллюстрирующего возможности разрабатываемой системы приводится описание формирования расчетного запроса по итогам эффективности влияния целевой программы на медицинские показатели ее участников, а также формирование на его основании документальной отчетности с выводом на бумажные носители информации.
В 3-ем оценочном разделе дипломного проекта была проведена оценка экономической эффективности предлагаемой автоматизированной системы управления процессом разработки и реализации целевых программ в РООИ «СОРАТНИК» по сравнению с ручной технологией обработки данных.
В разделе охрана труда и окружающей среды (раздел 4) рассматривалась проблема создания оптимальных условий труда оператора ПК и компенсации воздействия различных неблагоприятных факторов на организм человека. В этом разделе перечислены основные неблагоприятные факторы на рабочем месте оператора ПК, приведены предельные величины их воздействия в соответствии с принятыми санитарными нормами. Для каждой группы неблагоприятных факторов даны общие рекомендации по составу мероприятий, позволяющих минимизировать воздействие каждого из них. Далее приводится расчет необходимых затрат на внедрение предлагаемой системы автоматизации в РООИ «СОРАТНИК», непосредственно учитывающих безопасность здоровья человека на рабочем месте в связи с новым технологическим решением.
АНАЛИТИЧЕСКИЙ РАЗДЕЛ
Характеристика объекта управления
Назначение организации и содержание ее деятельности
Региональная общественная организация инвалидов (РООИ) «СОРАТНИК» является добровольным самоуправляемым объединением граждан, являющихся инвалидами, созданное на основе совместной деятельности для защиты общих интересов и достижения уставных целей.
Деятельность РООИ «СОРАТНИК» осуществляется в соответствии с Конституцией Российской Федерации, Гражданским кодексом, Федеральным законом «Об общественных объединениях», иным действующим законодательством РФ и Уставом организации. Целью РООИ «СОРАТНИК» не является извлечение прибыли. Средства организации, независимо от источника их формирования, целиком направляются на финансирование проектов и программ организации связанных с ее уставной деятельностью, которая осуществляется в тесном контакте с заинтересованными государственными, региональными и городскими законодательными и исполнительными органами власти и не преследует политических или националистических целей. Регионом деятельности РООИ «Соратник» и местом нахождения ее Совета является г. Москва.
Согласно Уставу РООИ «Соратник» главной ее целью является содействие удовлетворению экономических, медико-социальных и культурных интересов и потребностей инвалидов, ветеранов, ликвидаторов, пенсионеров и членов их семей, содействие созданию инвалидам условий, способствующих защите их прав и обеспечению равных с другими гражданами возможностей участия во всех сферах жизни общества; содействие в оказании необходимой помощи инвалидам с целью возвращения их к полноценной социальной жизнедеятельности, а также содействие интеграции инвалидов в общество.
Для достижения поставленной цели Уставом РООИ «Соратник» предписано осуществление следующих задач:
содействие в оказании медицинской, патронажной, психиатрической, психотерапевтической, психологической и социальной помощи инвалидам;
оказание материальной помощи инвалидам;
содействие инвалидам в организации их обучения и переобучения, реабилитации и адаптации к существующим условиям жизни, подготовке к самостоятельному решению жизненных проблем;
содействие улучшению материального и социального положения инвалидов, пенсионеров, членов их семей и иных лиц, которые в силу своих физических или интеллектуальных особенностей и иных обстоятельств ограничены в реализации своих прав и законных интересов;
содействие членам организации в оказании юридической помощи, в получении льгот, предусмотренных законодательством;
содействие в реализации государственных программ по социальной защите инвалидов;
изучение социальных и психологических проблем инвалидов;
содействие в создании и содержании оздоровительных, реабилитационно-восстановительных, учебных, спортивных и иных учреждений и комплексов;
содействие в организации отдыха и туризма, санаторно-курортного лечения инвалидов;
оказание помощи членам организации в поддержании их здоровья и здоровья членов их семей.
С целью реализации вышеперечисленных целей и задач РООИ «Соратник» в установленном законном порядке:
самостоятельно владеет, пользуется и распоряжается принадлежащим ей основными фондами и оборотными средствами, материальными и денежными ресурсами, имеет счета в банках, в том числе и валютные;
привлекает к участию в работе различные заинтересованные предприятия, учреждения, иные организации и отдельных физических лиц как на территории России, так и за рубежом;
командирует членов (сотрудников) организации за границу и принимает российских и иностранных партнеров и специалистов;
осуществляет внешнеэкономическую деятельность в соответствии с действующим законодательством лишь постольку, поскольку это служит достижению уставных целей;
осуществляет предпринимательскую деятельность в соответствии с действующим законодательством РФ;
заключает договоры, совершает сделки и иные юридические акты с российскими и иностранными юридическими и физическими лицами;
получает кредиты банков;
создает хозяйственные общества и иные хозяйственные организации со статусом юридического лица;
свободно распространяет информацию о своей деятельности;
участвует в выработке решений органов государственной власти и органов местного самоуправления в порядке и объеме, предусмотренных Федеральным законом «Об общественных объединениях» и другими законами;
проводит собрания, митинги, демонстрации, шествия и пикетирования;
учреждает средства массовой информации и осуществляет издательскую деятельность в порядке, установленном действующим законодательством РФ;
представляет и защищает свои права, законные интересы своих членов, а так же других граждан в органах государственной власти, органах местного самоуправления и общественных объединениях;
осуществляет в полном объеме полномочия, предусмотренные законом об общественных объединениях;
выступает с инициативами по различным вопросам общественной жизни, в установленном законом порядке вносит предложения в органы государственной власти;
взаимодействует с заинтересованными научно-восстановительными, диагностическими, лечебными, реабилитационно-восстановительными и оздоровительными центрами и организациями здравоохранения в России и за рубежом;
привлекает добровольные денежные и иные средства, материально-технические возможности отечественных и зарубежных фондов, банков, предприятий, фирм, учреждений, организаций, объединений (в том числе общественных), а также отдельных граждан для решения целевых задач РООИ «СОРАТНИК»;
Также РООИ «СОРАТНИК» осуществляет иную деятельность, не запрещенную действующим законодательством и направленную на достижение уставных целей и задач.
Средства РООИ «СОРАТНИК» образуется из:
взносов членов организации;
добровольных взносов и пожертвований;
доходов от проведения в соответствии с Уставом аукционов, просветительских и спортивных мероприятий, лотерей, выставок и иных и иных поступлений, не запрещенных законом.
Доходы от предпринимательской деятельности организации не могут перераспределяться между членами и используются только для достижения уставных целей и задач.
Деятельность организации может быть прекращена решением Общего Собрания ее членов, принятым двумя третями голосов присутствующих членов организации. Прекращение деятельности организации осуществляется путем реорганизации (слияния, присоединения, выделения, разделения, преобразования) или ликвидации.
1.1.2. Структура РООИ «СОРАТНИК»
Членство в РООИ «СОРАТНИК» является добровольным. Ее членами, согласно уставу, могут быть достигшие возраста 18 лет граждане Российской Федерации, иностранные граждане, лица без гражданства, являющиеся инвалидами. Все члены организации имеют равные права и несут равные обязанности. Вступление в организацию осуществляется на основании личного заявления. Прием в организацию осуществляется решением Совета РООИ «СОРАТНИК» и принимается простым большинством голосов членов Совета с последующим утверждением данного решения Общим собранием членов организации. Каждый член организации имеет определенные права и обязанности, предписанные Уставом РООИ «СОРАТНИК». За нарушение Устава члены организации могут быть исключены из ее состава по решению Совета РООИ «СОРАТНИК».
1.1.2.1. Состав руководящих органов РООИ «СОРАТНИК»
Высшим руководящим органом организации является Общее Собрание ее членов, проводимое не реже одного раза в год. Общее Собрание считается правомочным при условии присутствия на нем более половины число членов организации. Внеочередное Общее Собрание созывается по решению Совета РООИ «СОРАТНИК», по требованию Ревизора или по инициативе не менее чем одной трети числа членов организации. Общее Собрание правомочно решать любые вопросы деятельности организации.
Исключительной компетенцией Общего Собрания является:
принятие Устава организации, внесение в него изменений и дополнений с последующей государственной регистрацией в установленном законом порядке;
избрание Совета организации, Председателя Совета, Ревизора организации;
утверждение программы деятельности организации, годового бюджета, ежегодных отчетов Совета и Ревизора;
утверждение символики организации;
утверждение структуры исполнительных органов организации;
принятие решения о реорганизации и ликвидации организации, назначение ликвидационной комиссии;
Решение о внесении изменений и дополнений в Устав организации, о прекращении ее деятельности принимаются двумя третями голосов присутствующих на Общем Собрании членов организации. Остальные решения принимаются простым большинством голосов присутствующих.
В период между общими собраниями работой организации руководит Совет организации, состоящий из Председателя Совета и двух членов Совета, избираемый Общим Собранием сроком на пять лет и собирающийся не реже одного раза в квартал. Заседания Совета правомочны при участии более половины членов Совета. Решения принимаются большим голосов присутствующих.
Совет организации:
определяет основные направления деятельности организации;
осуществляет прием новых членов организации и исключение из организации;
определяет размер вступительных членских взносов;
ежегодно информирует регистрирующий орган о продолжении своей деятельности с указанием действительного места нахождения постоянного действующего органа, его названия и данных о руководителях организации;
осуществляет контроль за выполнением решений Общего Собрания;
решает вопросы создания филиалов, представительств, отделений в регионе деятельности организации;
принимает решения о приобретении и продаже акций и других ценных бумаг;
координирует деятельность организации с заинтересованными государственными органами власти и управления, ведомствами и министерствами, общественными, кооперативными и другими организациями;
принимает решение о поощрении активных членов организации;
совместно с дирекцией определяет размеры оплаты представительских и командировочных расходов, образование фондов и использование прибыли.
Совет организации возглавляет Председатель Совета, являющийся одновременно Генеральным директором организации.
Председатель Совета
без доверенности выступает от имени организации, подписывает финансовые документы, принимает обязательства, открывает счета организации в банковских учреждениях, выдает доверенности;
имеет право первой подписи финансовых документов;
утверждает штатное расписание;
руководит текущей хозяйственной и экономической деятельностью организации;
распоряжается имуществом и средствами организации в пределах своих полномочий;
принимает на работу и увольняет с работы штатных работников, применяет к ним меры поощрения и взыскания;
издает распоряжения, приказы, инструкции и другие внутренние акты;
осуществляет иные полномочия, не отнесенные к компетенции других органов организации.
Дирекция организации:
является исполнительным органом организации;
состоит из Заместителей Генерального директора и директоров, курирующих основные направления деятельности организации;
сотрудники Дирекции назначаются Генеральным Директором организации;
отчитывается перед Советом организации и Общим Собранием.
Распределение обязанностей между заместителями Генерального директора и директорами определяется Положениями, утвержденными Советом организации.
Контроль за деятельностью организации осуществляет Ревизор, который избирается на два года. Члены Совета и сотрудники исполнительного аппарата не могут быть Ревизорами. Ревизор проверяет финансовую деятельность организации, контролирует соответствие ее деятельности положениям устава, рассматривает заявления и жалобы членов организации. Ревизии деятельности организации проводятся не реже 1 раза в год.
1.1.2.2. Организационная структура исполнительного аппарата
РООИ «СОРАТНИК»
Под структурой понимается совокупность элементов системы и организация взаимосвязей между ними. Так как функциональные элементы во всех системах во многом схожи, то основным критерием отличия структур считают организацию взаимосвязей. Исходя из этого, сейчас обычно выделяют:
линейную;
функциональную,
линейно-функциональную,
дивизиональную,
матричную системы.
Каждое из подразделений организационной структуры исполнительного аппарата РООИ «СОРАТНИК», представленной на рис.1 отвечает за определенное направление деятельности, имея при этом общий предмет по отношению к которому осуществляется эта деятельность (культурно-просветительская и медико-психологическая реабилитация инвалидов). Следовательно, управленческий уровень, представленный Генеральным директором РООИ «СОРАТНИК» и его заместителями по ведущим направлениям деятельности, реализует функциональное делегирование полномочий. В рамках управления структура носит линейный характер. Выделение структурных подразделений РООИ «СОРАТНИК» по функциональному назначению позволяет причислить организационную структуру ее исполнительного аппарата к линейно-функциональному типу.
Этот тип организационной структуры обладает следующими преимуществами:
единая политика и централизация управления;
четкая система единоначалия – один руководитель сосредотачивает в своих руках руководство всей совокупностью процессов, имеющих общую цель;
четкая система взаимных связей функций и подразделений;
ясно выраженная ответственность;
стимулирование профессиональной специализации.
Недостатками таких структур являются:
тенденция к волоките и перекладыванию ответственности при решении проблем, требующих участия нескольких подразделений;
разные критерии эффективности и качества работы подразделений и организации в целом;
большое число «этажей управления» между работниками и лицами, принимающими решения;
перегрузка управленцев верхнего звена.
Организационную структуру выделенного типа целесообразно использовать для организаций имеющих небольшую номенклатуру продукции, действующих в стабильных внешних условиях.
Данная организационная структура соответствует задачам и целям РООИ «СОРАТНИК». Используя все преимущества линейно-функциональных структур, она обеспечивает функционирование РООИ «СОРАТНИК» на основании Федерального Закона «О некоммерческих организациях» от 12 января 1996 г. N 7-ФЗ и Федерального закона "Об общественных объединениях" в редакции Федеральных законов от 17.05.97 г. N 78-ФЗ и от 19.07.98 г. N 112-ФЗ.;

Рисунок 1
- Структура автоматизированной системы
управления РООИ «СОРАТНИК»
В настоящее время актуальность вопросов автоматизации всех сфер социально-экономической жизни вполне очевидна. Потребность в разработке и применении эффективных и адекватных реальной действительности компьютерных технологий сегодня все более возрастает. Традиционная технология обработки возрастающих объемов информации во всех сферах общественной деятельности требует вовлечение в область управления все увеличивающегося числа специалистов, выполняющих большой объем трудоемкой, рутинной работы по поддержанию документооборота и подготовке значительного количества аналитических справок и отчетов. Зачастую эта работа оказывается малоэффективной, отстающей от реальных процессов в жизни общества. В результате чего принимаемые управленческие решения запаздывают и неадекватно отображают реально складывающуюся ситуацию. Современный уровень средств вычислительной техники и тенденции их развития в значительной мере позволяют автоматизировать обработку информационных потоков и перейти к «безбумажной» технологии информации. В результате создаются предпосылки для существенного сокращения сроков ее обработки, повышения достоверности информации, необходимой для принятия управленческих решений. К достоинствам «безбумажной» технологии относится и возможность получения разнообразных справок на различные запросы. Разумеется, для перевода на машинную «безбумажную» технологию обработки информации необходимо создание соответствующей базы данных и программных средств их обработки.
Компьютерная техника не заменима, поскольку она дает возможность оптимизировать и рационализировать управленческую функцию за счет применения новых средств сбора, передачи и преобразования информации. Реформы методов управления экономическими объектами повлекли за собой не только перестройку процесса автоматизации, но и распространение новых форм ее реализации. Создание вычислительных комплексов способствует повышению качества управления социально-экономическими объектами. Наибольшая эффективность вычислительных комплексов достигается при условии оптимизации решаемых управленческих задач, быстрой выработке оперативных решений, четком маневрировании располагаемыми ресурсами.
Вследствие этого в условиях функционирования вычислительных комплексов процесс управления основывается на моделях, адекватно отражающих характерные свойства объекта управления.
Основным направлением в совершенствовании процесса управления является создание автоматизированной системы управления (АСУ) объектом. Под АСУ следует понимать единый административный, технический и экономический комплекс, осуществляющий рациональную обработку информации и выдачу ЭВМ административно-управленческих команд и заданий.
АСУ представляет собой систему управления с применением современных автоматических средств обработки данных и экономико-математических методов для регулярного решения основных задач управления производственно-хозяйственной деятельностью объекта. АСУ включает разнообразные элементы, играющие различную роль в решении задач управления. Выделение отдельных элементов осуществляется в соответствии с их специфическими чертами и вытекающими из этого особенностями разработки и включения в АСУ. Выделение подсистем осуществляется в соответствии с ролью составляющих их элементов в решении собственно задач управления предприятием и обусловливает двух типов подсистем: функциональных и обеспечивающих.
Учитывая вышеизложенные характеристики автоматизированной системы управления, на основании проведенного анализа организационной структуры РООИ «СОРАТНИК» представим систему управления данным объектом с точки зрения автоматизации основных функций управления и наличия взаимосвязей между ними.
Так как назначением любой АСУ является улучшение функционирования объекта через автоматизацию процесса управления, в основе структуризации автоматизированной системы управления заложен принцип выделения функциональных подсистем.
Функциональные подсистемы являются ядром АСУ. Под функциональной подсистемой АСУ понимается часть системы, выделенная по принципу реализации задач, которые необходимо автоматизировать при проектировании АСУ.
Структура АСУ РООИ «СОРАТНИК» представлена на рис.2.
Рисунок 2

1.3. Анализ функциональных подсистем АСУ
РООИ «СОРАТНИК»
В общем виде АСУ включает в себя функциональную и обеспечивающую составляющие.
В результате рассмотрения организационной структуры РООИ «СОРАТНИК» в рамках реализации ее деятельности были выявлены следующие основные функциональные направления:
разработка, управление и реализация благотворительных целевых программ и социальных проектов;
развитие и внедрение в практику квалифицированными специалистами новых методик реабилитационно-медицинской помощи инвалидам;
привлечение инвестиций и создание спонсорского поля для эффективного выполнения благотворительных программ и проектов;
культурно-просветительская деятельность;
формирование и постоянное обновление собственной базы данных нуждающихся в адресной благотворительной помощи.
Таким образом, для реализации каждой из составляющих функциональной части АСУ должны быть реализованы одна или несколько подсистем.
В рамках подсистемы управления работой с инвалидами проводятся учетно-регистрационные работы по формированию базы данных инвалидов, получивших увечья в связи с аварией на ЧАЭС, осуществляются внешние контакты (прием заявок, анкетирования и опросы, уведомления в получении помощи), ведется оформление всех сопутствующих данному процессу документов.
Подсистема управления НИР и ОКР выделяется в ведомстве заместителя директора по научной работе для реализации следующих задач:
проведение медико-профилактических обследований инвалидов;
экспертная оценка медицинских приборов и лекарственных препаратов внешних поставщиков;
оформление аналитической документации и экспертно-медицинских заключений;
разработка собственных проектов реабилитационных методик и реабилитационно-восстановительного оборудования индивидуального и коллективного пользования
выпуск опытных образцов реабилитационно-медицинского оснащения;
подготовка проектной и технической документации для передачи разработанных технологий в серийное производство.
Подсистема управления работой с инвесторами выделяется для непосредственного сотрудничества с коммерческими организациями по привлечению инвестиций и созданию спонсорского поля, направленных на реализацию целевых благотворительных программ и проектов. В рамках этой подсистемы решаются такие задачи, как:
заключение договоров на передачу средств для реализации благотворительных целевых программ;
ведение учетно-регистрационных работ по формированию базы данных инвесторов;
поддержание установленных контактов;
составление и предоставление инвесторам периодической отчетности о расходовании целевых пожертвований;
Подсистема управления работой с поставщиками-подрядчиками и производственными предприятиями выполняет функции по привлечению к сотрудничеству ведущих отечественных специалистов – реабилитологов и производителей реабилитационно-восстановительного оборудования. В рамках данной подсистемы заключаются договора на поставку оборудования, медикаментов и выполнения работ по медицинской и культурно-просветительской реабилитации инвалидов, ведется оформление всех сопутствующих данному процессу документов, а также заключаются договора по передаче собственных технологий производства реабилитационно-восстановительного оборудования в серийное производство.
Подсистема управления маркетинговой деятельностью формируется для проведения предварительной аналитической работы в сфере формирования возможных вариантов целевых благотворительных программ реабилитации инвалидов и источников их финансирования. Для обеспечения этого процесса в подсистеме решаются следующие задачи:
изучение рынка по предложению медицинского оборудования, медикаментов, услуг комплексной реабилитации инвалидов с использованием передовых современных медицинских технологий;
отслеживание публикаций СМИ, Internet и других информационных каналов на предмет выявления успешно функционирующих коммерческих предприятий и объединений с целью установления дальнейшего сотрудничества в области инвестиционной поддержки РООИ «СОРАТНИК»;
организация рекламных проектов;
поиск потенциальных партнеров для запуска собственных конструкторских разработок РООИ «СОРАТНИК» в производство;
составление наглядной графической и аналитической отчетности по проведенным исследованиям в качестве базовой основы функционирования других структурных подразделения РООИ «СОРАТНИК».
Подсистема управления административно-хозяйственной деятельностью решает задачи складского учета внутри организации, транспортные задачи, а также задачи внутреннего хозяйственного обеспечения, необходимого для функционирования исполнительного аппарата РООИ «СОРАТНИК».
Экономическое и ресурсное обеспечение реализуются соответственно подсистемой бухгалтерского учета и подсистемой управления кадрами.
1.3.1. Модели функционально-управляющих блоков АСУ
Следующим уровнем структуризации АСУ является выделение в составе подсистем функционально-управляющих блоков (ФУБов).
Под ФУБом понимают комплекс задач целевой направленности с каналами прямых и обратных связей, образующих замкнутый контур управления локальным процессом или объектом в составе функциональных подсистем. Процесс выделения ФУБов в рамках подсистем базируется на вычленении локальных процессов управления внутри процесса, который является объектом управления для подсистем. В соответствии с темой дипломного проекта, рассматриваются ФУБ разработкой и реализацией целевых программ в РООИ «СОРАТНИК» (рис. 3) и ФУБ финансированием целевых программ (рис. 4).
Ф
Рисунок 3
УБ
разработкой
и реализацией
целевых программ
Ф
Рисунок 4
УБ
финансированием
целевых программ
1.3.2. Механизм учета доходов и расходов РООИ «СОРАТНИК»
В основе управления процессом разработки и реализации целевых программ лежит процесс учета доходов и расходов в РООИ «СОРАТНИК» путем сметного планирования. Рассмотрим более подробно механизм этого учета в некоммерческих организациях.
Статьей 26 Федерального закона «О некоммерческих организациях» определены следующие источники формирования средств некоммерческой организации:
регулярные и единовременные поступления от учредителей (участников, членов);
добровольные имущественные взносы и пожертвования;
выручка от реализации товаров, работ, услуг;
дивиденды (доходы, проценты), получаемые по акциям, облигациям, другим ценным бумагам и вкладам;
доходы, получаемые от собственности некоммерческой организации;
другие не запрещенные законом поступления.
В том же законе сказано, что «законами могут устанавливаться ограничения на источники доходов некоммерческих организаций отдельных видов».
Другими законодательными актами, в частности Федеральными законами «Об общественных объединениях» (статья 31) и «О благотворительной деятельности и благотворительных организациях» (статья 15) этот перечень существенно расширен и дополнен.
Все источники формирования имущества НКО можно разделить на две группы:
Целевые поступления в денежной и натуральной форме;
Доходы от предпринимательской и иной, приносящей доходы, деятельности.
К целевым поступлениям, в частности, относятся:
взносы учредителей НКО;
членские взносы (для организаций, основанных на членстве);
пожертвования, в том числе носящие целевой характер, предоставляемые гражданами и юридическими лицами в денежной или натуральной форме;
труд добровольцев;
поступления из федерального бюджета, бюджетов субъектов Российской Федерации, местных бюджетов и внебюджетных фондов.
К доходам от предпринимательской деятельности, в частности, относятся:
доходы от разрешенной законом предпринимательской деятельности по реализации продукции, выполнению работ и оказанию услуг;
доходы от внереализационных операций, включая доходы от ценных бумаг;
доходы от деятельности хозяйственных обществ, учрежденных НКО;
другие не запрещенные законом поступления.
В деятельности НКО могут возникать затраты, связанные только с предпринимательской деятельностью, затраты однозначно связанные с уставной непредпринимательской деятельностью, и административные расходы, связанные с функционированием организации в целом, которые не всегда представляется возможным отнести к той или иной деятельности.
Расходы, прямо и непосредственно связанные с предпринимательской деятельностью, а также с оказанием платных образовательных услуг и услуг в сфере культуры, учитываются по экономическим элементам на основе следующих нормативных актов:
Положение о составе затрат по производству и реализации продукции (работ, услуг), включаемых в себестоимость продукции (работ, услуг), и о порядке формирования финансовых результатов, учитываемых при налогообложении прибыли, утвержденное постановлением Правительства Российской Федерации от 5 августа 1992 г. №552 (с изменениями и дополнениями);
Положение по бухгалтерскому учету «Расходы организации» (ПБУ 10/99).
Такие расходы признаются расходами по обычным видам деятельности.
Расходы, возникающие в рамках основной уставной непредпринимательской деятельности, учитываются не по экономическим элементам, а по статьям сметы (бюджета). Перечень этих статей организация определяет самостоятельно, а направления использования целевых поступлений может согласовывать только со своими донорами, жертвователями, гарантодателями, членами.
Каждая некоммерческая организация несет расходы, которые непосредственно не связаны с потребителем результатов ее работы. Однако без этих расходов организация не может быть организованной, управляемой и финансируемой. Это расходы, необходимые некоммерческой организации для ее развития и поддержания жизнедеятельности в период отсутствия финансирования проектов. К непрямым (косвенным) расходам относятся заработная плата с начислениями (или ее часть) исполнительного директора, бухгалтера, сотрудников, занимающихся развитием организации, сбором средств, маркетингом, менеджеров по финансовым и кадровым вопросам, офис-менеджера, вспомогательного персонала, консультантов, а так же расходы по аренде помещения, оплате коммунальных услуг, копировальных работ, телефонной связи т. п.
В случае если некоммерческая организация осуществляет несколько проектов, возникает вопрос о распределении административных расходов. Существует несколько способов распределения административных расходов. В РООИ «СОРАТНИК» распределение непрямых расходов между целевыми программами осуществляется поочередно.
Таким образом, движение финансовых потоков в рамках уставной непредпринимательской деятельности некоммерческой организации РООИ «СОРАТНИК» может быть наглядно представлено в виде схемы, изображенной на рис. 5.

Рисунок 5
1.3.3. Функциональная модель процесса разработки и реализации целевых программ в РООИ «СОРАТНИК»
Как видно из структурной схемы АСУ РООИ «СОРАТНИК», представленной на рис. 2, последним уровнем структуризации, является задача. Под задачей принято понимать комплекс вычислительных и логических процедур обработки информации, используемых для реализации конкретных фаз управления в составе отдельного ФУБа.
Проведенный, согласно теме дипломного проекта, анализ процесса управления разработкой и реализацией целевых программ в РООИ «СОРАТНИК» позволяет описать функциональную модель управления данным процессом. Для проектирования и описания вышеуказанной модели в представленном дипломном проекте была использована методология бизнес-процессов GRADE 14 фирмы Infologistik GmbH. Которая предписывает построение иерархической системы диаграмм, основанных на двух фундаментальных концепциях: задачи и события. Сначала производится представление процесса в целом (головной бизнес-процесс «Организация целевых программ»), после чего проводится функциональная декомпозиция – процесс разбивается на подпроцессы и каждый подпроцесс описывается отдельно. Затем каждый подпроцесс разбивается на более мелкие и так далее до достижения нужной степени подробности описания выделяемых задач.
1
Рисунок 6

.3.3.1. Бизнес-процесс «Организация целевых программ»
1
Рисунок 7
.3.3.1.1. Бизнес-процесс «Разработка целевой программы»
1
Рисунок 8
.3.3.1.1.1. Способы выявления возможных вариантов целевой программы
1.3.3.1.1.1.1.
Бизнес-процесс
«Выявление
возможных
вариантов
целевой программы
о
Рисунок 9
тделом работы с инвалидами»
1.3.3.1.1.1.2.
Бизнес-процесс
«Выявление
возможных
вариантов
целевой программы

Рисунок 10
отделом маркетинга и рекламы»
1
Рисунок 11
.3.3.1.1.1.3. Бизнес-процесс «Выявление возможных вариантов целевых программ экспертно-медицинским отделом»
1
Рисунок 12
.3.3.1.1.2. Бизнес-процесс «Составление сметы на целевую программу»

1
Рисунок 13

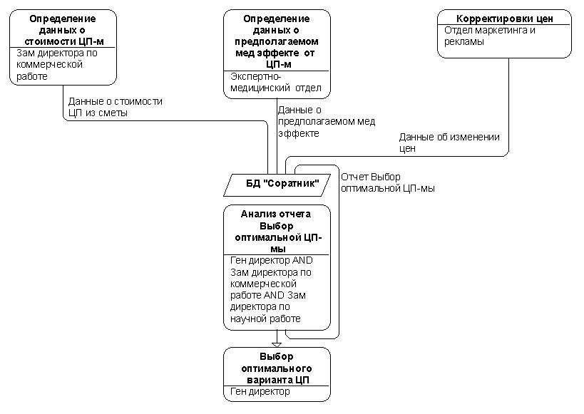
.3.3.1.2. Бизнес-процесс «Выбор оптимальной целевой программы»
1
Рисунок 14

.3.3.1.3. Бизнес-процесс «Выполнение этапа целевой программы»
1
Рисунок 15

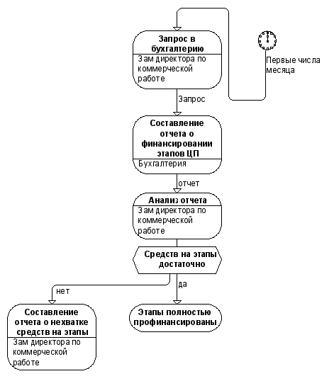
.3.3.1.3.1. Бизнес-процесс «Контроль за расходованием средств»
1
Рисунок 16
.3.3.1.4. Бизнес-процесс «Составление отчета о выполнении целевой программы»
1
Рисунок 17
.3.3.1.5. Бизнес-процесс «Анализ выполнения целевой программы»
1
Рисунок 18
.3.3.2. Бизнес-процесс «Финансирование целевых программ»
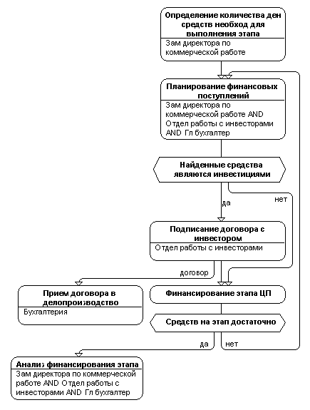
1
Рисунок 19
.3.3.2.1. Бизнес-процесс «Финансирование этапа целевых программ»
1.3.3.2.1.1. Бизнес-процесс «Контроль за финансированием
э
Рисунок 20
тапа целевой программы»
1.3.4. Информационная модель процесса разработки и реализации целевых программ в РООИ «СОРАТНИК»
На основании обследования и анализа структурных подразделений РООИ «СОРАТНИК», определения функциональных задач исследуемого процесса разработки и реализации целевых программ и функционального взаимодействия структурных подразделений в рамках этого процесса были определены основные информационные потоки и каналы информационного взаимодействия элементов системы, выявлены и уточнены локальные маршруты движения документов в системе единого документооборота. В результате возможно определить информационную модель процесса разработки и организации целевых программ в РООИ «СОРАТНИК». В общем случае информационная модель исследуемого процесса или подсистемы определяет следующую структуру информации:
состав входных и выходных документов;
источники и потребители информации;
обработка информации на магнитных носителях.
В данном случае на обследуемом объекте компьютерная электронно-вычислительная техника применяется исключительно как средство производства (при наборе текстов) и не является средством обеспечения производственных информационно-управляющих процессов организации. Поэтому предпроектная информационная модель исследуемого процесса определяется лишь двумя первыми составляющими (Рис. 20).
Поскольку в процессе разработки и организации целевых программ в РООИ «СОРАТНИК» первостепенную роль имеет информация по определению финансовых потоков и финансовой отчетности организации, в рамках данного подраздела дипломного проекта уместно представить общую схему информационно-финансового взаимодействия организации с внешней деловой средой (Рис. 21).
И
нформационная
модель процесса
разработки
и реализации
целевых программ
в РООИ «СОРАТНИК»
Рисунок 20
Потоки информационного взаимодействия в РООИ «СОРАТНИК»
по финансовым вопросам
Рисунок 21
- Характеристика обеспечивающих подсистем АСУ
К числу обеспечивающих подсистем АСУ относятся:
техническое обеспечение АСУ – комплекс технических средств для сбора, передачи и переработки информации, используемой при функционировании АСУ. К таким техническим средствам относится вычислительное и вспомогательное оборудование, аппаратура и средства связи для передачи информации, а также периферийное оборудование;
информационное обеспечение АСУ – совокупность первичных и производственных данных, а также методов и технологических приемов их рациональной организации, формирования и преобразования в условиях функционирования АСУ. В состав информационного обеспечения включаются:
нормативные и справочные данные, составляющие информационный базис системы – условно-постоянная информация;
текущие данные, поступающие в систему извне и требующие ответной реакции системы – переменная информация;
накапливаемые учетные и архивные сведения, необходимые для развития системы.
Поскольку любая информация должна быть отражена на соответствующем носителе, разработка информационного обеспечения состоит не только в определении смыслового содержания информации, но и в определении материальных носителей информации, в создании систем ведения документации, классификации, кодирования и хранения информации на машинных носителях (магнитные диски, лазерные диски и т.д.). Суммируя все вышесказанное, информационное обеспечение АСУ представляет собой совокупность единой системы классификации и кодирования технико-экономической информации. Основной целью информационного обеспечения АСУ является своевременная выдача необходимой, достоверной и удобной для использования информации для принятия управленческих решений.
ПМО АСУ – совокупность языковых и программных средств, а также методов и алгоритмов решения задач АСУ. ПМО АСУ реализуется тремя аспектами: математическим, лингвистическим и программным обеспечением.
организационное обеспечение АСУ. В его состав входят:
разработка организационной структуры аппарата управления;
определение основных задач и функций отдельных структурных подразделений аппарата управления;
определение комплекса входной и выходной документации по каждому структурному подразделению;
разработка схемы регламентации взаимодействия между собой всех структурных подразделений аппарата управления;
определение места и функций вновь вводимых подразделений в аппарат управления;
разработка должностных инструкций.
Рассмотрим отдельно информационно-аналитическое обеспечение АСУ.
1.4.1. Информационно-аналитическое обеспечение АСУ
Предпроектный анализ деятельности РООИ «СОРАТНИК» показал, что информационно-аналитическое обеспечение процесса разработки и реализации целевых программ в организации представляет собой типовой по методологии ведения документопоток общего делопроизводства организации, основанный на бумажном документационном обеспечении без использования современных информационно-управляющих технологий. Процесс управления предприятием в условиях рыночной экономики требует интенсификации и четкой организации всего предприятия, вплоть до каждого сотрудника. Поэтому при наличии регламентации деятельности организации, прежде всего в отношении делопроизводства, необходимо применение информационных технологий как доступного и эффективного инструмента автоматизации на основе безбумажного («малобумажного») делопроизводства и документооборота.
Для любой организации можно выделить три основных потока документов: входящие, внутренние и исходящие, которые определяют документопоток. По форме оформления они подразделяются на электронные документы (сообщения электронной почты, факсимильная информация, сообщения в корпоративной сети) и бумажные документы. В частности в деятельности РООИ «СОРАТНИК» можно выделить следующие типы бумажных документов, согласно вышеизложенной классификации:
Входящая информация:
Письма;
Договора и контракты;
Законодательные акты;
Нормативные документы;
Периодические издания;
Книги;
Реклама;
Анкеты;
Внутренние документы:
Приказы;
Инструкции;
Отчеты;
Служебные записки;
Бухгалтерские документы;
Исходящая информация:
Письма;
Договоры и контракты;
Справки и медзаключения;
Отчеты.
Функции ведения делопроизводства состоят из обработки входящих документов, пересылки их внутри фирмы, отправки исходящих документов, учета регистрации, контроля за исполнением, формирования дел, организации хранения и т. д.
В административно-управленческой сфере общественной практики используется понятие служебный документ (деловая бумага). Язык деловых бумаг должен соответствовать традициям официально-делового стиля литературного языка. Основные его особенности - это:
точность, исключающая возможность каких бы то ни было инотолкований и неясностей;
языковой стандарт - стремление к выражению мысли единообразным способом, использование для этого готовых языковых формул-клише.
Эти особенности отражаются в оформлении деловых бумаг и документов: их типологии, композиции, расположении частей текста, рубрикации, шрифта и т.д. Стандартизация официально-делового стиля влечет за собой употребление специальных языковых средств, образующих относительно замкнутую систему деловой речи.
Служебные документы делятся на несколько больших групп по своему функциональному значению:
личные,
директивные и распорядительные,
административно-организационные,
информационно-справочные,
деловые письма,
финансовые документы,
учетные документы.
Каждый документ имеет определенную текстовую форму. Различаются пять типов записи текстов:
линейная запись (автобиография, заявление, доверенность и др.),
трафарет (справки, контракты, договоры и др.),
таблица (финансовые ведомости и др.),
анкета (личный листок по учету кадров и др.),
тексты-аналоги (приказы, решения, постановления и др.).
Типология, языковое и композиционное представление деловых бумаг закреплены:
1. Государственным стандартом ГОСТ Р 6.30-97 "Унифицированные системы документации. Унифицированная система организационно - распорядительной документации. Требования к оформлению документов", принятым Постановлением Госстандарта России от 21 января 2000 г. N 9-ст. Стандарт распространяется на организационно - распорядительные документы, относящиеся к Унифицированной системе организационно - распорядительной документации (УСОРД), - постановления, распоряжения, приказы, решения, протоколы, акты, письма и др., включенные в Общероссийский классификатор управленческой документации (ОКУД) (класс 0200000) и используемые в деятельности органов государственной власти, органов местного самоуправления, предприятий, организаций и их объединений независимо от формы собственности и организационно - правовой формы.
2. Типовой инструкцией по делопроизводству в федеральных органах исполнительной власти (Утверждена Приказом Федеральной архивной службы России от 27.11.2000 N 68). Положения Типовой инструкции распространяются на организацию работы с документами независимо от вида носителя, включая их подготовку, регистрацию, учет и контроль исполнения, осуществляемые с помощью автоматизированных технологий.
3. Постановлением Государственного комитета Российской Федерации по статистике от 6 апреля 2001 г. N 26 "Об утверждении унифицированных форм первичной учетной документации по учету труда и его оплаты".
Кроме того, различными министерствами, ведомствами и другими руководящими организациями применительно к различным сферам деятельности определена конкретизированная типология частных документов.
Система ведения делопроизводства в организациях в советские времена регламентировалась Единой государственной системой документационного обеспечения управления (ЕГСДОУ). Созданная схема хорошо структурирована и до сегодняшнего дня хорошо поддается автоматизации. Указанный стандарт регламентирует принципы работы с документами. Но в то же время сегодня желательна детальная регламентация работы по исполнителям (выполняемым им ролям), доведенная до регламентации в виде положений о подразделениях и должностных инструкциях специалистов.
Автоматизация делопроизводства на этом уровне требует предварительного обследования документопотоков на предприятии с последующей фиксацией модифицированного регламента делопроизводства в инструкциях и положениях.
Результаты такого исследования документопотоков процесса разработки и реализации целевых программ в РООИ «СОРАТНИК» были представлены в п. 1.3.4. настоящего дипломного проекта в виде информационной модели процесса.
Документационное информационно-аналитическое обеспечение процесса разработки и реализации целевых программ в РООИ «СОРАТНИК», непосредственно формирующее нормативно-правовую документальную основу для всех правоотношений, возникающих в указанном процессе можно разделить на несколько функциональных групп:
Нормативно-правовое документационное обеспечение - законодательные и нормативные акты Российской Федерации и Москвы, в частности
Федеральный закон «О некоммерческих организациях» от 12 января 1996 г. N 7-ФЗ;
Федеральный закон "Об общественных объединениях" в редакции Федеральных законов от 17.05.97 г. N 78-ФЗ и от 19.07.98 г. N 112-ФЗ;
Закон города Москвы от 05.07.1995 г. № 11-46 «О благотворительной деятельности» (в редакции от 10.06.1998 г.);
Закона города Москвы от 29.11.2000 г. №35 "О ставках и льготах по налогу на прибыль";
Уставы и Положения, прочее.
Организационно-распорядительное документационное обеспечение - документы-запросы, распорядительные документы, инициативные документы, отчеты для внутреннего контроля деятельности организации, справки, прочее.
Научно-исследовательское и методическое документационное обеспечение - материалы экспертно-медицинских комиссий, тематических советов и рабочих групп, медицинская экспертиза, аналитические материалы проведенных исследований научных и маркетинговых исследований.
Учетное документационное обеспечение – заявления членов организации, справки внешних медико-профилактических организаций, учетные документы, прочее.
Проектное документационное обеспечение - проекты целевых программ, проекты получения инвестиций, проекты распределения средств, сметы, прочее.
Финансово-договорное документационное обеспечение – договора инвестирования, договора подряда, договора поставки, справки в налоговые органы, отчеты об использовании средств.
Примеры форм некоторых документов представлены в Приложениях 1-12.
1.4.2. Комплекс технических средств РООИ «СОРАТНИК»
Для автоматизации бизнеса и систем управления необходим большой спектр программно-аппаратных средств прикладной информатики, вычислительной техники и устройств связи. Различные технические средства обеспечивают прием и выдачу трех основных видов информации – речь, данные, изображения в статике и динамике – на физическом уровне с максимальным использованием трех чувств восприятия (слух, осязание, зрение). Напрямую с человеком связаны относительно громоздкие устройства информационных систем, обеспечивающие согласование разнообразных человеко-машинных входных и выходных потоков информации (дисплеи, клавиатуры, печатающие устройства, сканеры, «мыши», джойстики и иные манипуляторы и многое другое, включая электронные планшеты и электронные табло). На предприятии, в зависимости от масштаба и особенностей предпринимательского дела, может использоваться от одного до тысяч компьютеров для хранения и обработки информации. Выбор комплекса технических средств зависит от объема информационных потоков и частоты переработки информации в системе.
Комплекс технических и программных средств, размещенный в РООИ «СОРАТНИК», включает средства обработки информации, обеспечивающие накопление, хранение и обработку актуальной и архивной информации. И обеспечивает лишь локальный режим работы. То есть, возможна работа с локальными данными и программным обеспечением (ПО) без организации независимого централизованного доступа всех пользователей к единым программно-информационным ресурсам организации.
Существующий в РООИ «СОРАТНИК» комплекс технических средств состоит из 4-х локальных рабочих (HDD 5 Гб, 64 RAM, Pentium II).
ПРОЕКТНЫЙ РАЗДЕЛ
- Организационно-экономическая сущность задачи
Целью данного проекта является разработка и реализация системы автоматизации управления в процессе разработки и реализации целевых программ в РООИ «СОРАТНИК». А именно реализуются задачи единого учета, контроля и хранения информации в системе и обеспечения регламентированного электронного документооборота.
При этом должны обеспечиваться:
Организация работы с различной архивной информацией (приказами, контрактами, договорами, медицинскими заключениями, различного вида отчетами по результатам целевых программ и др.);
Гибкость документооборота, включая перенастраиваемость шаблонов документов в соответствии с требованиями постоянно меняющегося законодательства, требованиями партнеров по бизнесу и возможным совершенствованием системы делопроизводства организации;
Учет структуры организации, взаимодействие между собой структурных подразделений;
Централизованный регламентированный учет данных системы и доступ к ним;
Контроль за движением денежных средств в рамках реализации целевых программ;
Оперативность, четкость и простота эксплуатации.
2.1.1. Цель автоматизации
Система человек-машина облегчает и упрощает деятельность человека на рабочем месте. С ее помощью достигается более эффективное и быстрое решение поставленной задачи, по сравнению с не автоматизированным ручным трудом. С помощью АСУ целесообразнее и легче проследить за объектом управления, сбором, хранением, переработкой информации и принять наилучшее решение. Также с помощью вычислительной техники гораздо проще и точнее производить расчеты по необходимым параметрам, можно использовать экономико-математические методы для решения задач производственно-хозяйственной деятельности.
Если в ходе деятельности РООИ «СОРАТНИК» при разработке и реализации целевых программ вместо ручного труда будет использоваться труд машины, то его производительность увеличится. Кроме того, практически все данные будут храниться не на бумаге, а будут помещены на магнитных носителях. Это позволит вести более точный учет членов организации, поставщиков, инвесторов, результатов целевых программ, медико-аналитической и прочей информации.
Учитывая все вышесказанное, а также исходя из результатов предпроектного обследования РООИ «СОРАТНИК», представленных в аналитическом разделе данного проекта можно выделить следующие причины для автоматизации деятельности организации в рамках процесса разработки и реализации целевых программ:
Недостатки "бумажной" технологии, а именно большие затраты времени на обработку информации, затруднение в получении оперативных сводок по работе организации и др. Электронное делопроизводство предусматривает применение компьютера в управленческой деятельности для хранения, поиска и отображения информации, позволяя повысить эффективность традиционного делопроизводства при снижении его стоимости.
Повышение требований со стороны конечных пользователей к информации, как к базе для формирования управленческих решений:
а) получение различных типов выборок и представление информации в различных разрезах,
б) повышение степени детализации учета,
в) требования минимальных затрат времени на решение задач учета.
Целью автоматизации обработки и анализа информации в РООИ «СОРАТНИК» является рост эффективности работы, улучшение контроля ее финансовых потоков в ходе реализации целевых программ на основе повышения качества внутриорганизационного учета, обоснованности и своевременности управленческих решений, которые в свою очередь достигается за счет обеспечения лиц, принимающих решения, достоверной, своевременной и пригодной для использования информацией.
2.1.2. Описание решения задачи в базовом варианте
В РООИ «СОРАТНИК» учет всей функционально используемой информации по членам организации, результатам целевых программ, поставщикам, инвесторам, медицинским показателям и т. п., ведется на бумажных носителях и лишь в отдельных случаях с помощью табличного приложения Excel 97 без применения каких-либо средств автоматизации (например, языка Visual Basic), позволяющих сократить затраты времени и трудоемкость обработки данных.
Несовершенные базы данных в Excel 97 были разработаны неквалифицированными сотрудниками без соблюдения основных принципов проектирования баз данных, в результате чего обнаруживаются следующие недостатки:
частое дублирование информации;
большое количество полей в базе данных, вследствие чего неудобен просмотр и ориентировка по записям;
хранение той информации в базе данных, которую можно легко получить в результате расчетов.
Используемый способ хранения и обработки информации не позволяет быстро и оперативно получать различные отчеты и выборки. Отбор исходных данных и составление требуемых отчетов производится практически в ручную, что занимает непозволительно много времени и тормозит основную работу организации. Разрабатываемая программная система должна устранить все эти недостатки путем нормализации базы данных и применения автоматизированных средств учета информации.
Модель решения задачи автоматизированного учета и электронного документооборота в процессе разработки и реализации целевых программ в РООИ «СОРАТНИК»
Проектируемая система автоматизированного учета управления электронным документооборотом в процессе разработки и реализации целевых программ в РООИ «СОРАТНИК» предназначена для следующих целей:
Интеграция процессов документарного обеспечения организации в рамках единой информационной системы;
Повышения информированности руководства и специалистов за счет увеличения объемов информационного хранения, централизованной обработки информации, уменьшении времени поиска документов и соответственно подготовки отчетов и докладов, а также за счет повышения полноты и достоверности отчетов;
Уменьшения стоимости документационного обеспечения управления организацией за счет перехода от бумажного делопроизводства к электронному, снижения стоимости копирования и передачи бумажных документов;
Уменьшения стоимости и сокращения времени поиска бумажных оригиналов документов в архивном хранении за счет получения точной адресации в электронном виде;
Создания качественно новой информационной базы для последующего совершенствования процессов документационного обеспечения управления и технологии работы с документами.
При этом реализуются следующие функциональные задачи:
Организация доступа к базам данных систем учета функциональной информации в частности по процессам подготовки и реализации целевых программ с целью получения всей необходимой информации для выполнения отчетов и выборок;
Решение вопросов импорта и эффективной обработки данных с помощью возможностей табличного процессора Access;
Подготовка отчетности с возможностью предварительного просмотра и выводом на печать;
Организация возможности настройки пользователем выходных форм документов;
Построение дружественного интерфейса для возможности работы с системой неквалифицированных пользователей;
Организация защиты информации (например, использование паролей при работе с системой, создание резервных копий баз данных, защита таблиц Access и др.);
Обеспечение контроля правильности вводимой информации.
2.2.1. Схема автоматизированного учета и электронного документооборота
Таким образом, исходя из всего вышеизложенного, функциональная схема автоматизированной системы учета и управления электронным документооборотом в рамках процесса подготовки и реализации целевых программ в РООИ «СОРАТНИК» может быть представлена следующим образом (рис. 22).
Рисунок 22

2.2.2. Информационная модель учета и электронного документооборота в процессе управления разработкой и реализацией целевых программ в РООИ «СОРАТНИК»
В связи с организацией единого централизованного хранения и использования функциональной информации в ходе основной деятельности РООИ «СОРАТНИК» существенно сокращается цепочка функционального взаимодействия структурных подразделений организации. Это осуществляется путем устранения промежуточных посреднических звеньев в ходе формирования информационных потоков в деятельности организации, за счет непосредственного доступа конечных пользователей информации к информационному банку данных с учетом целесообразно предоставленных прав доступа. Таким образом, информационная модель решения задачи учета и управления документооборотом в ходе процесса разработки и реализации целевых программ в РООИ «СОРАТНИК» существенно упрощается и может быть представлена следующим образом (рис. 23).
Рисунок 23
2.2.3. Функциональная модель процесса разработки и реализации целевых программ в РООИ «СОРАТНИК»
Функциональная модель процесса управления разработкой и реализацией целевых программ в РООИ «СОРАТНИК» в ходе автоматизации учета и документооборота также подвергается корректировке по сравнению с данными представленными в аналитическом разделе данного дипломного проекта. Доработанные с учетом автоматизации бизнес-процессы задач рассматриваемого процесса управления представлены следующими диаграммами.
2
Рисунок 24

.2.3.1. Бизнес-процесс «Организация целевых программ»
2
Рисунок 25
.2.3.1.1. Бизнес-процесс «Разработка целевой программы»
2
Рисунок 26
.2.3.1.1.1. Способы выявления возможных вариантов целевой программы
2.2.3.1.1.1.1.
Бизнес-процесс
«Выявление
возможных
вариантов
целевой программы
о
Рисунок 27
тделом работы с инвалидами»
2.2.3.1.1.1.2.
Бизнес-процесс
«Выявление
возможных
вариантов
целевой программы

Рисунок 28
отделом маркетинга и рекламы»
2
Рисунок 29

.2.3.1.1.1.3. Бизнес-процесс «Выявление возможных вариантов целевых программ экспертно-медицинским отделом»
2
.2.3.1.1.2.
Бизнес-процесс
«Составление
сметы на целевую
программу»
Рисунок 30
2
Рисунок 31

.2.3.1.2. Бизнес-процесс «Выбор оптимальной целевой программы»
2
Рисунок 32

.2.3.1.3. Бизнес-процесс «Выполнение этапа целевой программы»
2
.2.3.1.3.1.
Бизнес-процесс
«Контроль
за финансированием
целевой программы»
Рисунок 33
2
.2.3.1.4.
Бизнес-процесс
«Составление
отчета о выполнении
целевой программы»
Рисунок 34
2
Рисунок 35

.2.3.1.5. Бизнес-процесс «Анализ выполнения целевой программы»
2.3. Разработка информационного обеспечения автоматизированного учета и электронного документооборота процесса разработки и реализации целевых программ в РООИ «СОРАТНИК»
В системах управления важное место занимают вопросы, связанные с организацией информационного обеспечения. При его разработке необходимо систематизировать как внешние, так и внутренние источники информации. Организация внешнего информационного обеспечения была рассмотрена в разделе 1.4.1. В приложениях 1 -12 приводятся формы документов, разработанные в соответствии с установленными требованиями и стандартами делопроизводства в РООИ «СОРАТНИК», обеспечивающие поддержание единой системы внутриорганизационного документооборота.
В данном разделе дипломного проекта будет рассматриваться внутреннее информационное обеспечение, которое включает в себя разработку концептуальной, логической и физической моделей БД.
2.3.1. Внутреннее информационное обеспечение
К разработке внутреннего информационного обеспечения относятся работы, связанные с разработкой структур данных, а также с организацией процесса управления данными.
Как уже отмечалось выше, процесс создания информационной модели включает в себя три уровня описания моделей базы данных:
Концептуальная модель,
Логическая модель,
Физическая модель.
Создание базы данных, которая удовлетворяла бы текущим информационным потребностям объекта управления связано с необходимостью разработки концептуальной и логической моделей предметной области. Понятие предметной области является одним из ключевых при проектировании автоматизированных систем управления. В общем случае под ней понимается часть реального мира, подлежащая изучению с целью организации управления, а в конечном итоге - его автоматизации.
Для создания концептуальной и логической моделей была использована реляционная модель представления данных. К основным преимуществам реляционной модели можно отнести:
простоту модели и ясность взаимосвязей;
высокую точность модели. Отношения по своей природе поддаются математически точным методам манипулирования данными с использованием таких средств, как алгебра отношений и исчисление отношений;
простоту обеспечения контроля доступа. В реляционной модели для каждой таблицы и каждого отношения задается правомерность доступа, а специфические с точки зрения прав доступа показатели можно выделять в отдельные отношения с требованием проверки прав доступа к ним;
расширяемость. Структура базы данных реляционной модели допускает возможность ее развития, то есть добавление новых атрибутов и отношений;
простоту языка манипулирования данными. С помощью алгебры отношений или исчисления отношений можно построить простой и гибкий язык манипулирования данными;
теоретическую обоснованность реляционных моделей. Такие модели основываются на хорошо отработанной теории отношений.
Проектирование и описание вышеуказанных моделей в данном проекте было выполнено при помощи ER-диаграмм (“сущность-связь” диаграммы).
Основные компоненты ER-диаграмм - это сущности, атрибуты и связи. Каждая сущность является множеством подобных индивидуальных объектов, называемых экземплярами. Каждый экземпляр индивидуален и должен отличаться от всех остальных экземпляров. Атрибут выражает определенное свойство объекта. С точки зрения БД (физическая модель) сущности соответствует таблица, экземпляру сущности - строка в таблице, а атрибуту - колонка таблицы.
Построение модели данных предполагает определение сущностей и атрибутов, т. е. необходимо определить, какая информация будет храниться в конкретной сущности или атрибуте. Сущность можно определить, как объект, событие или концепцию, информация о которых должна сохраняться. Сущности должны иметь наименование с четким смысловым значением, именоваться существительным в единственном числе, не носить "технических" наименований и быть достаточно важными для того, чтобы их моделировать. Именование сущности в единственном числе облегчает дальнейшее чтение модели. Фактически имя сущности дается по имени ее экземпляра.
2.3.1.1. Концептуальная модель БД
Процесс создания информационной модели начинается с определения концептуальных требований пользователей системы. Требования отдельных пользователей интегрируются в едином обобщенном представлении, которое называют концептуальной моделью.
Концептуальная модель представляет объекты и их взаимосвязи без указания способов их физического хранения. Таким образом, концептуальная модель является представлением предметной области.
Но, в то же время концептуальная модель базы данных должна адекватно отображать состав данных в системе управления объектом, в нашем случае - управлением процессом разработки и реализации целевых программ в РООИ «СОРАТНИК». Она должна отображать взаимосвязь между данными и их структуру, обеспечивать достаточность информации и в то же время - исключать ее избыточность. Разработанная концептуальная модель базы данных не зависит от методов и средств дальнейшей ее реализации и использования базы в системе управления, то есть она не зависит от выбора системы управления базами данных, средств вычислительной техники, используемых на ее основе для решения управленческих задач.
При концептуальном проектировании БД основным моментом является формирование модели "сущность – связь". Диаграмма "сущность - связь" (Entity Relationship Diagram, ER) предназначена для разработки модели данных и обеспечивает стандартный способ определения данных и отношения между ними. Она представляет собой модель данных верхнего уровня, и включает сущности и взаимосвязи, отражающие основные правила предметной области. Такая диаграмма не слишком детализирована, в нее включаются основные сущности и связи между ними, которые удовлетворяют основным требованиям, предъявляемым к ИС. Диаграмма "сущность - связь" может включать связи многие ко многим и не включать описание ключей. Как правило, ER используется для презентации и обсуждения структуры данных с экспертами предметной области.
Проведенный на основании данных аналитического раздела и результатов преддипломной практики, анализ предметной области показал, что целесообразно всю предметную область процесса разработки и реализации целевых программ в РООИ «СОРАТНИК», в соответствии с вышеизложенными требованиями к концептуальному моделированию баз данных, детализировать на отдельные сущности следующим образом (рис. 36)
Р
исунок
36
2.3.1.2. Логическая модель БД
Логический уровень - это абстрактный взгляд на данные, на нем они представляются так, как выглядят в реальном мире, и могут называться так, как они называются в реальном мире. Логическая модель является отображением концептуальной модели базы данных, реализация которой возможна в выбранной СУБД. Она отражает логические связи между элементами данных вне зависимости от их содержания и среды хранения.
Логическая модель данных может быть реляционной, иерархической или сетевой. В реляционной модели данных объекты и взаимосвязи между ними представляются с помощью таблиц - отношений. Взаимосвязи также рассматриваются в качестве объектов. Каждая таблица состоит из строк и столбцов и должна иметь первичный ключ - поле или комбинацию полей, которые единственным образом идентифицируют каждую строку в таблице.
Логическая модель базы данных рассматриваемой задачи, созданная под СУБД Access 97, представляет собой реляционную структуру и отображается диаграммой "сущность - связь", дополненной первичными и внешними, ключами (рис.37) и таблицами описания данных.
Это более подробное представление данных, чем на этапе концептуальной модели. На этом этапе диаграмма "сущность - связь" включает описание всех сущностей с указанием первичных и внешних ключей. Она дополняется диаграммой описания данных, которая определяет каждое поле в базе данных, т. е. отражает имя поля, его тип и ширину.
Таким образом, логическая модель базы данных представляет собой полную атрибутивную модель, которая дает наиболее детальное представление структуры данных: представляет данные в третьей нормальной форме и включает все сущности, атрибуты и связи.
Рисунок 37
Сущность «Вид инвестиций» |
|||
|
Поле |
Тип |
Длина |
Назначение |
| Код_инвестиц | Счетчик |
Длинное целое |
Идентификатор вида инвестиций PRIMARY KEY |
| Вид_инвестиц | Текстовый | 50 | Наименование |
Сущность «Заболевание» |
|||
|
Поле |
Тип |
Длина |
Назначение |
| Код_заб | Счетчик |
Длинное целое |
Идентификатор заболевания PRIMARY KEY |
| Вид_заб | Текстовый | 50 | Наименование заболевания |
Сущность «Инвалид» |
|||
|
Поле |
Тип |
Длина |
Назначение |
| Код_инвд | Счетчик |
Длинное целое |
Идентификатор инвалида PRIMARY KEY |
| ФИО_инвд | Текстовый | 50 | Фамилия, имя, отчество |
| Дата_рожд | Дата/время | Дата рождения | |
| Гр_инвд | Текстовый | 1 | Группа инвалидности |
| Пасп_серия | Текстовый | 10 | Паспорт, серия |
| Пасп_ном | Текстовый | 10 | Паспорт, номер |
| Пасп_выдан | Текстовый | 50 | Кем выдан паспорт |
| Пасп_дата | Дата/время | Дата выдачи паспорта | |
| Ном_удост | Текстовый | 10 | Номер удостоверения |
| Индекс | Текстовый | 10 | Индекс |
| Адрес_инвд | Текстовый | 150 | Домашний адрес |
| Тел_инвд | Текстовый | 10 | Телефон |
| Ном_медкарт | Текстовый | 10 | Номер медицинской карты |
|
Сущность «Инвалид-Расходы» |
|||
|
Поле |
Тип |
Длина |
Назначение |
| Код_инвд | Числовой |
Длинное целое |
Идентификатор инвалида FORING KEY |
| Код_расхпр | Числовой |
Длинное целое |
Идентификатор прямых расходов FORING KEY |
Сущность «Инвестор» |
|||
|
Поле |
Тип |
Длина |
Назначение |
| Код_инвест | Счетчик |
Длинное целое |
Идентификатор инвестора PRIMARY KEY |
|
Код_статус |
Числовой |
Длинное целое |
Идентификатор юридического статуса FORING KEY |
| Наим_инвест | Текстовый | 50 | Наименование организации или ФИО физ. лица |
| Гдир_инвест | Текстовый | 50 | ФИО генерального директора |
| Глб_инвест | Текстовый | 50 | ФИО главного бухгалтера |
| Деят_инвест | Текстовый | 150 | Описание вида деятельность |
| Адрес_инвест | Текстовый | 150 |
Адрес |
| Тел_инвест | Текстовый | 10 | Телефон |
Сущность «Медицинские показатели» |
|||
|
Поле |
Тип |
Длина |
Назначение |
| Код_МП | Числовой |
Длинное целое |
Идентификатор медицинского показателя FORING KEY |
| Код_инвд | Числовой |
Длинное целое |
Идентификатор инвалида FORING KEY |
|
Код_ЦП |
Числовой |
Длинное целое |
Идентификатор целевой программы FORING KEY |
| Знач_доЦП | Числовой |
Длинное целое |
Значение показателя до проведения целевой программы |
| Знач_послеЦП | Числовой |
Длинное целое |
Значение показателя после проведения целевой программы |
Сущность «Нормы медицинских показателей» |
|||
|
Поле |
Тип |
Длина |
Назначение |
| Код_МП | Счетчик |
Длинное целое |
Идентификатор медицинского показателя PRIMARY KEY |
| Назв_МП | Текстовый | 50 | Наименование медицинского показателя |
| Мин_МП | Числовой |
Длинное целое |
Минимальное значение медицинского показателя |
| Макс_МП | Числовой |
Длинное целое |
Максимальное значение медицинского показателя |
Сущность «Планируемые доходы по этапам ЦП» |
|||
|
Поле |
Тип |
Длина |
Назначение |
| Код_стад | Счетчик |
Длинное целое |
Идентификатор статьи дохода PRIMARY KEY |
| Код_этап | Числовой |
Длинное целое |
Идентификатор этапа целевой программы FORING KEY |
| Назв_стад | Текстовый | 50 | Наименование статьи дохода |
| Сумм_стад | Числовой |
Длинное целое |
Сумма по статье дохода |
Сущность «Планируемые косвенные расходы» |
|||
|
Поле |
Тип |
Длина |
Назначение |
| Код_статкр | Счетчик |
Длинное целое |
Идентификатор статьи косв. расходов PRIMARY KEY |
| Код_этап | Числовой |
Длинное целое |
Идентификатор этапа целевой программы FORING KEY |
| Назв_статкр | Текстовый | 50 |
Наименование статьи косвенных расходов |
| Сумм_статкр | Числовой |
Длинное целое |
Сумма по статье косвенных расходов |
Сущность «Планируемые прямые расходы» |
|||
|
Поле |
Тип |
Длина |
Назначение |
| Код_статпр | Счетчик |
Длинное целое |
Идентификатор статьи прямых расходов PRIMARY KEY |
| Код_этап | Числовой |
Длинное целое |
Идентификатор этапа целевой программы FORING KEY |
| Назв_статпр | Текстовый | 50 |
Наименование статьи прямых расходов |
| Сумм_статпр | Числовой |
Длинное целое |
Сумма по статье прямых расходов |
Сущность «Поставщик-исполнитель» |
|||
|
Поле |
Тип |
Длина |
Назначение |
| Код_пост | Счетчик |
Длинное целое |
Идентификатор поставщика PRIMARY KEY |
| Код_статус | Числовой |
Длинное целое |
Идентификатор юридического статуса FORING KEY |
| Наим_пост | Текстовый | 50 | Наименование организации |
| Адрес_пост | Текстовый | 150 | Адрес |
| Тел_пост | Текстовый | 10 | Телефон |
| Гдир_пост | Текстовый | 50 | ФИО генерального директора |
| Гбух_пост | Текстовый | 50 | ФИО главного бухгалтера |
| Деят_пост | Текстовый | 150 | Описание вида деятельности |
Сущность «Прибыль от предпринимательской деятельности» |
|||
|
Поле |
Тип |
Длина |
Назначение |
| Код_приб | Счетчик |
Длинное целое |
Идентификатор прибыли PRIMARY KEY |
| Вид_приб | Текстовый | 50 | Наименование вида прибыли |
Сущность «Распределение целевых средств» |
|||
|
Поле |
Тип |
Длина |
Назначение |
| Код_распред | Счетчик |
Длинное целое |
Идентификатор распределения PRIMARY KEY |
| Код_цср | Числовой |
Длинное целое |
Идентификатор целевых средств FORING KEY |
| Код_стад | Счетчик |
Длинное целое |
Идентификатор статьи дохода FORING KEY |
| Сумм_распред | Числовой |
Длинное целое |
Сумма распределения |
Сущность «Статус» |
|||
|
Поле |
Тип |
Длина |
Назначение |
| Код_статус | Счетчик |
Длинное целое |
Идентификатор юридического статуса PRIMARY KEY |
| Вид_статус | Текстовый | 50 | Наименование |
Сущность «Фактические косвенные расходы» |
|||
|
Поле |
Тип |
Длина |
Назначение |
| Код_расхкосв | Счетчик |
Длинное целое |
Идентификатор косвенных расходов PRIMARY KEY |
| Код_статкр | Числовой |
Длинное целое |
Идентификатор статьи косв. расходов FORING KEY |
| Дата_расхкосв | Дата/время | Дата | |
| Вид_расхкосв | Текстовый | 50 | Вид косвенных расходов |
| Сумм_расхкосв | Числовой |
Длинное целое |
Сумма косвенных расходов |
Сущность «Фактические прямые расходы» |
|||
|
Поле |
Тип |
Длина |
Назначение |
| Код_расхпр | Счетчик |
Длинное целое |
Идентификатор косвенных расходов PRIMARY KEY |
| Код_статпр | Числовой |
Длинное целое |
Идентификатор статьи прямых расходов FORING KEY |
| Код_пост | Числовой |
Длинное целое |
Идентификатор поставщика FORING KEY |
| Дата_расхпр | Дата/время | Дата | |
| Вид_расхпр | Текстовый | 50 | Вид прямых расходов |
| Сумм_расхпр | Числовой |
Длинное целое |
Сумма прямых расходов |
| Ном_дог | Текстовый | 50 | Номер договора |
Сущность «Целевые средства» |
|||
|
Поле |
Тип |
Длина |
Назначение |
| Код_цср | Счетчик |
Длинное целое |
Идентификатор целевых средств PRIMARY KEY |
| Код_инвест | Числовой |
Длинное целое |
Идентификатор инвестора FORING KEY |
| Код_приб | Числовой |
Длинное целое |
Идентификатор прибыли FORING KEY |
| Код_инвестиц | Числовой |
Длинное целое |
Идентификатор вида инвестиций FORING KEY |
| Дата_цср | Дата/время | Дата поступления | |
| Сумм_цср | Числовой |
Длинное целое |
Сумма целевых средств |
| Оправд_докум | Текстовый | 50 | Номер договора, платежного поручения, приходного ордера |
Сущность «ЦП» |
|||
|
Поле |
Тип |
Длина |
Назначение |
| Код_ЦП | Счетчик |
Длинное целое |
Идентификатор целевой программы PRIMARY KEY |
| Код_МП | Числовой |
Длинное целое |
Идентификатор медицинского показателя FORING KEY |
| Кол_инвд | Числовой |
Длинное целое |
Количество инвалидов, участвующих в ЦП |
| Назв_ЦП | Текстовый | 50 | Наименование ЦП |
| Мед_эф | Числовой |
Длинное целое |
Медицинский эффект от ЦП |
| Стоим_ЦП | Числовой |
Длинное целое |
Стоимость ЦП |
Сущность «Этапы ЦП» |
|||
|
Поле |
Тип |
Длина |
Назначение |
| Код_этап | Счетчик |
Длинное целое |
Идентификатор этапа целевой программы PRIMARY KEY |
| Код_ЦП | Числовой |
Длинное целое |
Идентификатор целевой программы FORING KEY |
| Назв_этап | Текстовый | 50 | Наименование этапа |
| Датан_этап | Дата/время | Дата начала этапа | |
| Датак_этап | Дата/время | Дата окончания этапа | |
2.3.1.3. Физическая модель БД
Логическая модель отображается в физическую модель базы данных, которая определяет размещение данных (диск, лента, или другой носитель информации), методы доступа к данным и технику индексирования.
Физическая модель данных зависит от конкретной СУБД, фактически являясь отображением системного каталога. В физической модели содержится информация о всех объектах БД. Поскольку стандартов на объекты БД не существует (например, нет стандарта на типы данных), физическая модель зависит от конкретной реализации СУБД. Способ физического представления данных зависит от вида носителя информации конкретной реализации СУБД, операционной системы и архитектуры ЭВМ. Физическая структура базы данных прозрачна для конкретного пользователя системы и определяется ядром СУБД.
СУБД Access хранит информацию на магнитных носителях в виде файлов с расширением mdb. Физическая структура базы данных была создана на основании логической модели, в режиме конструктора объектов, позволяющем задавать типы данных и способы их хранения.
2.4. Выбор комплекса технических средств
Выбирая комплекс технических средств, на котором будет решаться задача, необходимо руководствоваться следующими требованиями:
Минимальное время решения, простота обслуживания задачи;
Максимальная надежность комплекса технических средств;
Гибкость, которая позволяет варьировать мощность различных типов устройств в зависимости от информационных потоков для данной задачи;
Техническая совместимость комплекса технических средств задачи с комплексом технических средств системы;
Минимальная стоимость комплекса технических средств;
Возможность наращивания вычислительной мощности путем совместимости комплекса технических средств задачи с комплексом технических средств системы;
Объем информационного потока для решения задачи.
Для минимизации затрат на решение задачи автоматизации деятельности РООИ «СОРАТНИК» в данном дипломном проекте предлагается полностью задействовать имеющийся в организации комплекс технических средств, но для более эффективной работы создаваемой АСУ в существующую архитектуру аппаратного обеспечения предлагается внести некоторые изменения и дополнения. В дополнение к локальному целесообразно предусмотреть сетевой режим работы системы, при котором все режимы функционирования доступны пользователям для работы с информацией, а администраторами системы проводится контроль работоспособности и текущее обслуживание сети.
На сегодняшний день одноранговые ЛВС являются наиболее экономичным и простым в установке способом построения небольших сетей на предприятии. Однако, если предполагается установить ЛВС на 5 рабочих мест для коллективной работы организации с базой данных, текстово-графическими приложениями, и другой информацией общего использования, рациональнее будет использовать вариант ЛВС с выделенным файл-сервером. У ЛВС с выделенным файл-сервером имеется несколько преимуществ. Поскольку все общие файлы хранятся в одном месте, их легче обновлять и архивировать. В роли сервера обычно выступает высокопроизводительный компьютер, обеспечивающий быстрый доступ к данным и их доставку к пользователю.
Поскольку необходимо приобретение дополнительного ПК для технического оснащения отдела по работе с инвалидами, его и предлагается использовать в качестве сетевого файл-сервера.
В качестве технического оборудования создаваемой ЛВС в данном дипломном проекте предлагается использовать аппаратуру локальных сетей 10BASE2 (тонкий кабель) по стандарту Ethernet. Это самый распространенный на сегодняшний день стандарт локальных сетей. Общее количество сетей, работающих по протоколу Ethernet в настоящее время, оценивается в 5 миллионов, а количество компьютеров с установленными сетевыми адаптерами Ethernet - в 50 миллионов. Этот стандарт основан на экспериментальной сети Ethernet Network, которую фирма Xerox разработала и реализовала в 1975 году. Сеть оказалась довольно удачной, и поэтому в 1980 году ее поддержали крупнейшие фирмы - DEC и Intel. Их стараниями в 1985 году сеть Ethernet стала международным стандартом, ее приняли крупнейшие международные организации по стандартам: комитет 802 IEEE (Institute of Electrical and Electronic Engineers) и ECMA (European Computer Manufacturers Assotiation). Стандарт получил название IEEE 802.3. Он определяет множественный доступ к моноканалу типа "шина" с обнаружением конфликтов и контролем передачи, т. е. с методом доступа CSMA/CD. Этому стандарту удовлетворяют и некоторые другие сети, так как он не очень сильно детализирован.
В зависимости от типа физической среды стандарт IEEE 802.3 включает следующие модификации:
10BASE5 (толстый коаксиальный кабель);
10BASE2 (тонкий коаксиальный кабель);
10BASE-Т (витая пара);
10BASE-F (оптоволоконный кабель).
Обозначение среды передачи включает в себя три элемента. Цифра "10" означает скорость передачи 10 Мбит/с, слово BASE означает передачу в основной полосе частот (т. е. без модуляции высокочастотного сигнала), последний элемент означает допустимую длину сегмента: "5" - 500 метров, "2" - 200 метров (точнее, 185 метров) или тип линии связи: "Т" - витая пара, "F" - оптоволокно.
Выбранная нами модификация 10BASE2 имеет следующие основные характеристики:
передающая среда - коаксиальный кабель,
диаметр центрального медного провода - 0,89 мм,
внешний диаметр - около 5мм,
волновое сопротивление - 50 Ом,
сходные характеристики - кабели марок RG-58/U, RG-58A/U (наиболее распространенный тип кабеля), RG-58C/U,
максимальная длина сегмента без повторителей - 185 м,
сегмент должен иметь на концах согласующие терминаторы 50 Ом.
По сравнению с толстым кабелем тонкий коаксиальный кабель имеет ряд преимуществ. Это - простота решения для кабельных сетей, минимум потребного оборудования, большая гибкость, большее удобство монтажа, меньшая стоимость (он примерно в три раза дешевле толстого, из-за чего сети 10BASE2 иногда называют сетями Cheapernet). Тонкий кабель вполне может быть проложен навесным монтажом, что позволяет перемещать компьютер в пределах помещения. Однако, также следует помнить и о некоторых недостатках тонкого кабеля. Он подвержен авариям и сбоям, поскольку используется большое количество механических соединений в моноканале (каждый Т-коннектор дает три механических соединения, два из которых имеют жизненно важное значение для всей сети). При такой конфигурации ЛВС пользователи имеют доступ к разъемам и могут нарушить целостность моноканала. Общий недостаток 10BASE5 и 10BASE2 - отсутствие оперативной информации о состоянии моноканала (для поиска отказавшего отрезка кабеля необходим специальный прибор - кабельный тестер).
Для реализации выбранной модификации 10BASE2 необходим набор следующего оборудования (рис. 38):
сетевые адаптеры (по числу объединяемых в сеть компьютеров),
отрезки кабеля с BNC-разъемами на двух концах, общая длина которых достаточна для объединения всех компьютеров,
BNC T-коннекторы (по числу сетевых адаптеров),
один BNC-терминатор без заземления,
о

Рисунок 38
дин BNC-терминатор с заземлением.
Рассмотрим подробнее требования к приобретаемой персональной ЭВМ.
Для эффективной работы по требованиям, предъявляемым на сегодняшний день к аппаратному обеспечению, необходим процессор не меньше Intel Pentium II (для быстрой и эффективной работы основных программных приложений и обработки данных);
Объем свободного дискового пространства (на винчестере) не менее 10 Мб. Объем оперативной памяти не менее 64 Мб (для быстрой и эффективной обработки данных и работы в MS Office и Windows вообще);
сетевая карта;
дисковод для дискет размером 3,5 дюйма;
монитор, исходя из современных требований, следует выбирать цветной, размером не менее (14-15") с адаптером Super-VGA, так как он обеспечивает высокую разрешающую способность.
Характеристики периферийной техники:
Для вывода на бумажные носители отчетов с обеспечением наилучшего качества и скорости печати желательно использовать лазерный принтер (со скоростью печати не менее шести страниц в минуту), но для экономии средств возможно использование струйного принтера со скоростью печати не менее трех страниц в минуту;
Для ввода информации необходимы клавиатура и "мышь".
Для подключения периферийных устройств желательно использовать локальная шина PCI (стандартная скорость обмена - 33 Мб/с), системная шина - ISA.
Конкретные предложения по выбору КТС для решения задачи автоматизации процесса разработки и реализации целевых программ в РООИ «СОРАТНИК» представлены в нижеследующей таблице.
| Наименование | Цена, $ | Количество |
|
Системный блок: Intel Pentium III 1000EB MHz / DIMM 128 MB SDRAM / 133 MHz / 20 Gb WD Caviar 200BB / FDD 3,5" 1'44 MB / 52x CD-ROM |
550 | 1 |
|
Монитор: 15" Samsung Sync Master 550S |
350 | 1 |
|
Клавиатура: Microsoft Internet PS/2 |
25 | 1 |
|
Мышь: Easy Genius + / PS/2 / Seria |
6 | 1 |
|
Лазерный принтер Canon LBP-810 |
275 | 1 |
|
Сетевой адаптер Intel Pro/100 |
15 | 5 |
|
Тонкий коаксиальный кабель RG-58 (1m) 0.4 |
0,4/м | 50 |
|
BNC T-коннектор X-Com |
0,45 | 5 |
|
Терминатор 50 Ом с заземлением и без ABN |
0,58 | 2 |
|
Сетевая карта Genius (PCI, 10Mbit, Realtek 8029) Bulk, STP + BNC |
10 | 1 |
| Итого стоимость, $ | 1324,85 | |
2.5. Выбор программно-математического обеспечения
Персональные электронные вычислительные машины выполняют операции по обработке информации только на основе различных программ, комплексов программ – программных средств. В комплекс программных средств входит несколько групп программ или программных средств, выполняющих общесистемные, прикладные, сервисные и другие функции.
Программно-математическое обеспечение – это совокупность программ, средств разработки и методов математического моделирования для реализации всего комплекса задач АСУ на основе применения средств вычислительной техники.
2.5.1. Выбор операционной системы
Выполнение общесистемных и сервисных функций обеспечивает операционная система. Для решения задачи на PC возможно использование следующих операционных систем: MS-DOS, Windows 3.11, Windows 95/98/МЕ, Windows NT/2000.
В данном проекте предлагается использовать в качестве ОС семейства Windows 2000 (NT). Windows 2000 (NT) является 32-ух разрядной операционной системой с приоритетной многозадачностью. В качестве фундаментальных компонентов в состав операционной системы входят средства обеспечения безопасности и развитый сетевой сервис .Windows 2000 (NT) также обеспечивает совместимость со многими другими операционными и файловыми системами, а также с сетями.
Являясь высокопроизводительной платформой серверных приложений, Windows 2000 (NT) Server обладает следующими возможностями:
поддержка симметричной мультипроцессорной обработки на машинах, имеющих до 32 процессоров;
переносимость на основные высокопроизводительные процессоры (Intel, DEC Alpha, MIPS, PowerPC);
В Windows NT Server 4.0 включены следующие улучшения, дополнительно повышающие производительность серверных приложений:
оптимизация для процессоров класса Intel Pentium и Pentium Pro;
новый протокол взаимодействия между процессорами;
улучшенная техника кэширования;
настройка алгоритмов, исключающая блокировку исполнения процессов;
в Windows NT Server 4.0 также введены новые интерфейсы программирования (API - Application Programming Interface), помогающие разработчикам приложений создавать высокопроизводительные программы.
2.5.2. Выбор СУБД
Одним из основных критериев выбора СУБД является оценка того, насколько эффективно внутренняя модель данных, поддерживаемая системой, способна описать концептуальную схему. Системы управления базами данных, ориентированные на персональные компьютеры, как правило, поддерживают реляционную или сетевую модель данных. Подавляющее большинство современных СУБД – реляционные.
К преимуществам реляционной модели данных, изложенным в п. 2.3.1. следует добавить также следующие:
Независимость логической структуры от физического и пользовательского представления.
Гибкость структуры базы данных – конструктивные решения не ограничивают возможности разработчика БД выполнять в будущем самые разнообразные запросы.
Так как реляционная модель не требует описания всех возможных связей между данными, впоследствии разработчик может задавать запросы о любых логических взаимосвязях, содержащихся в базе, а не только о тех, которые планировались первоначально.
СУБД Microsoft Access 97 является системой управления базами данных реляционного типа. Данные хранятся в такой базе в виде таблиц, строки (записи) которых состоят из наборов полей определенных типов. С каждой таблицей могут быть связаны индексы (ключи), задающие нужные пользователю порядки на множестве строк. Таблицы могут иметь однотипные поля (столбцы), и это позволяет устанавливать между ними связи, выполнять операции реляционной алгебры. Типичными операциями над базами данных являются определение, создание и удаление таблиц, модификация определений (структур, схем) существующих таблиц, поиск данных в таблицах по определенным критериям (выполнение запросов), создание отчетов о содержимом базы данных.
СУБД позволяет задавать типы данных и способы их хранения. Можно также задать критерии (условия), которые СУБД будет в дальнейшем использовать для обеспечения правильности ввода данных. В самом простом случае условие на значение должно гарантировать, что не будет введен случайно в числовое поле буквенный символ. Другие условия могут определять область или диапазоны допустимых значений вводимых данных.
Microsoft Access предоставляет максимальную свободу в задании типа данных (текст, числовые данные, даты, время, денежные значения, рисунки, звук, электронные таблицы). Можно задавать также форматы хранения представления этих данных при выводе на экран или печать. Для уверенности, что в базе хранятся только корректные значения, можно задать условия на значения различной степени сложности.
Так как Microsoft Access является современным приложением Windows, можно использовать в работе все возможности DDE (динамический обмен данными) и OLE (связь и внедрение объектов). DDE позволяет осуществлять обмен данными между Access и любым другим поддерживающим DDE приложением Windows. В Microsoft Access можно при помощи макросов или Access Basic осуществлять динамический обмен данными с другими приложениями.
OLE является более изощренным средством Windows, которое позволяет установить связь с объектами другого приложения или внедрить какие-либо объекты в базу данных Access. Такими объектами могут быть картинки, диаграммы, электронные таблицы или документы из других поддерживающих OLE приложений Windows.
В Microsoft Access для обработки данных базовых таблиц используется мощный язык SQL (структурированный язык запросов). Используя SQL можно выделить из одной или нескольких таблиц необходимую для решения конкретной задачи информацию. Access значительно упрощает задачу обработки данных. Совсем не обязательно знать язык SQL. При любой обработке данных из нескольких таблиц Access использует однажды заданные связи между таблицами.
В Microsoft Access имеется также простое и в то же время богатое возможностями средство графического задания запроса – так называемый «запрос по образцу» (query by example), которое используется для задания данных, необходимых для решения некоторой задачи. Используя для выделения и перемещения элементов на экране стандартные приемы работы с мышью в Windows и несколько клавиш на клавиатуре, можно буквально за секунды построить довольно сложный запрос.
Microsoft Access спроектирован таким образом, что он может быть использован как в качестве самостоятельной СУБД на отдельной рабочей станции, так и в сети – в режиме «клиент-сервер». Поскольку в Microsoft Access к данным могут иметь доступ одновременно несколько пользователей, в нем предусмотрены надежные средства защиты и обеспечения целостности данных. Можно заранее указать, какие пользователи или группы пользователей могут иметь доступ к объектам (таблицам, формам, запросам) базы данных. Microsoft Access автоматически обеспечивает защиту данных от одновременной их корректировки разными пользователями. Access также опознает и учитывает защитные средства других подсоединенных к базе данных структур (таких, как базы данных Paradox, dBASE и SQL).
Практически все существующие СУБД имеют средства разработки приложений, которые могут использованы программистами или квалифицированными пользователями при создании процедур для автоматизации управления и обработки данных.
Microsoft Access предоставляет дополнительные средства разработки приложений, которые могут работать не только с собственными форматами данных, но и с форматами других наиболее распространенных СУБД. Возможно, наиболее сильной стороной Access является его способность обрабатывать данные электронных таблиц, текстовых файлов, файлов dBASE, Paradox, Btrieve, FoxPro и любой другой базы данных SQL, поддерживающей стандарт ODBE. Это означает, что можно использовать Access для создания такого приложения Windows, которое может обрабатывать данные, поступающие с сетевого сервера SQL или базы данных SQL на главной ЭВМ.
Все выше сказанное позволило остановить выбор на СУБД Access для постановки и решения задачи автоматизации учета и документооборота в процессе разработки и реализации целевых программ в РООИ «СОРАТНИК».
2.5.3. Структура разработанного приложения
2.5.3.1. Таблицы
Работа в Access начинается с определения реляционных таблиц и их полей, которые будут содержать данные. Таблица хранит сведения по конкретному вопросу, соответствующему определенной сущности логической модели БД. Данные в таблице организованы в столбцы ("поля") и в строки ("записи").
В Access существует два режима работы с таблицей - режим конструктор или режим таблицы. В режиме конструктора таблицы можно создать целую таблицу, добавляя новые поля или удаляя и настраивая существующие поля таблицы. Чтобы добавить поле, в верхней части окна таблицы следует ввести имя поля и определить его тип. Чтобы переименовать поле, достаточно изменить его имя в столбце "Имя поля". Каждое поле имеет свойства, изменяя которые, можно управлять сохранением, обработкой и отображением данных поля. Набор доступных свойств определяется типом данных поля. Для определения записей таблицы необходимо задание уникальных меток - первичных ключей, согласно логической модели БД. Ключевые поля в таблицах используются для создания межтабличных связей. Чтобы определить ключ, достаточно выделить строку с описанием нужного поля и нажать кнопку «Ключ» на панели инструментов.
Входящие в базу данных «РООИ «СОРАТНИК» таблицы, содержащие необходимые сведения, используемые в процессе подготовки и реализации целевых программ, были созданы на основании логической модели БД, приведенной в пункте 2.3.1.2., с использованием режима конструктора таблиц. Ниже на рис. 39 представлено окно создания таблицы "Инвалид" в режиме конструктора.
Рисунок 39
Для просмотра, добавления, изменения или удаления данных можно воспользоваться режимом таблицы. Это простейший способ просмотра и редактирования данных по строкам и столбцам. Также можно проверить орфографию и напечатать табличные данные, отфильтровать и отсортировать записи, изменить внешний вид таблицы или изменить структуру таблицы, добавив или удалив столбцы.
Конечным результатом этапа определения таблиц БД является таблица реляционных связей БД «РООИ «СОРАТНИК», приведенная на рис.40.
Рисунок 40
2.5.3.2. Формы
Таблица - полезное средство для просмотра и изменения, но работать с ними не всегда удобно, а данные представлены в них не очень наглядно. Формы – одно из основных средств для работы с базами данных в Access - используются для ввода новых записей (строк таблиц), просмотра и редактирования уже имеющихся данных, задания параметров запросов и вывода ответов на них и др. Формы представляют собой прямоугольные окна с размещенными в них элементами управления. Существует возможность создания форм динамически при исполнении программы, однако естественным режимом их создания является режим визуального конструирования. Выбор команды Форма в меню «Вставка» выводит на экран окно Новая Форма, позволяющее задать таблицу или запрос, для которых создается новая форма, и указать режим ее создания. Кроме создания формы «вручную», создание формы можно автоматизировать, используя Мастер форм (FormWizard). Кроме того, можно создать специальные формы, в том числе с листами данных (Autoform: Datasheet), диаграммами (Chart Wizard) и сводными таблицами (PivotTable Wizard) в формате Excel.
Элементами управления могут быть графические примитивы, надписи, рисунки и другие статические объекты, которые не изменяются при переходе между записями. Сюда же следует отнести текстовые поля, содержимое которых модифицируется при передвижении по записям. Элементы управления могут использоваться для ввода и отображения дат, а также для выполнения вычислений и вывода результата. Элементами управления являются кнопки команд, которые активизируют исполнение различных операций; объекты типа подчиненные формы (бланк таблицы, дочерней по отношению к форме); объекты, облегчающие восприятие данных, такие как календарь или счетчик; а также элементы пользователя. В большинстве случаев для создания элемента управления достаточно перетащить его на форму из панели инструментов. Каждый элемент помещается в определенный раздел формы. В зависимости от типа раздела (Заголовок формы, Область данных и др.) элемент управления будет появляться однажды, отображаться на каждой странице, в каждой группе записей или для каждой записи.
В качестве примера на рис. 41 представлена форма созданная для упрощения заполнения и редактирования записей базы данных «РООИ «СОРАТНИК» по членам организации.
Рисунок 41
2.5.3.3. Запросы
Одним из основных инструментом выборки и обработки данных в СУБД являются запросы. В Microsoft Access имеется удобное для пользователя диалоговое графическое средство формирования запроса по примеру (Query By Example, QBE), с помощью которого легко может быть построен сложный запрос.
Запрос строится на основе одной или нескольких взаимосвязанных таблиц. При этом могут использоваться таблицы базы данных, а также сохраненные таблицы, полученные в результате выполнения других запросов. Кроме того, запрос может строиться непосредственно на другом запросе с использованием его временной таблицы с результатами. Запрос QBE содержит схему данных, включающую используемые таблицы и бланк запроса. При конструировании запроса достаточно, работая мышью, выделить и перетащить необходимые поля из таблиц, представленных в схеме данных запроса, в бланк запроса и ввести условия отбора записей.
В качестве примера, наглядно иллюстрирующего выборку и обработку данных при помощи инструментария запросов в разработанном приложении по автоматизации процесса управления целевыми программами в РООИ «СОРАТНИК», в данном подразделе дипломного проекта приводится механизм определения общих медико-статистических результатов от внедренной целевой программы экспертно-медицинским отделом организации.
Экспертно-медицинский отдел РООИ «СОРАТНИК» периодически проводит оценку функциональных показателей состояния здоровья инвалидов с выявлением возможной роли 14-и экотоксичных факторов в формировании функциональных нарушений.
Эти работы основываются на применении метода термоэлектропунктурной диагностики и медикаментозного тестирования по Р. Фоллю. Согласно этому методу, критерием функционального неблагополучия является сдвиг равновесного электропотенциала кожи в биологически активных точках представительства ряда основных функциональных систем. Этот показатель измеряется электрометрическим способом и в норме составляет от 50 до 58 условных единиц – ЕФ (единиц Фолля).
Результаты измерений исходных показателей в этих точках интерпретируются как отклонения от нормы в сторону «гипо»- или «гиперфункции». При этом, значения показателей ниже 48 ЕФ и неустойчивость показателей с быстрым их уменьшением более чем на 2 ЕФ, а также – превышение показателей уровня 70 ЕФ, квалифицируются как признаки явного патологического состояния. Если значения показателей, выходя за пределы «нормы», все же не достигают вышеописанных отклонений, то это состояние расценивается как «предпатологическое». На рис.42 изображена шкала оценки состояния обследуемого в зависимости от значения медицинских показателей. Наибольшие функциональные отклонения от «нормы» указывают на ту систему, которая наиболее вероятна в отношении патогенеза заболевания, что служит основанием для соответствующих выводов и рекомендаций.
Предъявление того или иного фактора экотоксичного типа в форме гомеопатического аналога (нозода) проявляет реактивность обследуемых. При этом, любой из нозодов может «ухудшить», «улучшит» или не повлиять на исходные показатели. Позитивные результаты реакции, демонстрирующие «улучшение» показателей, трактуются как свидетельство вовлеченности данного фактора в патогенез выявленных нарушений.

Рисунок 42
В разработанной базе данных РООИ «СОРАТНИК» необходимая для дальнейших манипуляций информация хранится в таблицах «Нормы МП» и «Медицинские показатели» (см п.п. 2.3.1.2.).
Для того чтобы выявить влияние конкретной целевой программы на состояние здоровья инвалидов, принявших в ней участие, необходимо произвести фиксирование значений отдельных медицинских показателей каждого из обследуемых инвалидов до и после внедренной целевой программы. Таким образом, нам остается определить каким образом повлияла целевая программа на смещение априорных результатов по векторной шкале оценки медицинских показателей (рис. 43) и сделать соответствующие выводы.
На рис. наглядно видно, что оптимальные результаты состояния здоровья инвалидов достигаются тогда, когда значения конкретных медицинских показателей попадают в интервал «норма». Соответственно, если в результате проведенного лечения значения показателей приблизились к этому интервалу, общее состояние обследуемого улучшилось, в противном случае наблюдается негативное влияние примененных методов лечения и медицинской реабилитации инвалидов. Таким образом, можно построить запрос, определяющий расстояние между значением до/после целевой программы и интервалом «норма» по каждому показателю. И определить качественные изменения в этих расстояниях.
Рисунок 43
Запрос «Результат_ЦП» |
|||
|
Поле |
Тип |
Длина |
Способ формирования |
| Код_МП |
Числовой |
Длинное целое |
Таблица «Медицинские показатели» |
| Код_инвд |
Числовой |
Длинное целое |
Таблица «Медицинские показатели» |
| Код_ЦП |
Числовой |
Длинное целое |
Таблица «Медицинские показатели» |
| Назв_МП |
Текстовый |
50 |
Таблица «Нормы медицинских показателей» |
|
Вычисляемое поле_1 |
Числовой |
Длинное целое |
| [Знач_доЦП]![ Медицинские показатели] – [Мин_МП]![ Нормы медицинских показателей]| |
|
Вычисляемое поле_2 |
Числовой |
Длинное целое |
| [Знач_доЦП]![ Медицинские показатели] – [Макс_МП]![ Нормы медицинских показателей] | |
|
Вычисляемое поле_3 |
Числовой |
Длинное целое |
| [Знач_послеЦП]![ Медицинские показатели] – [Мин_МП]![ Нормы медицинских показателей] | |
|
Вычисляемое поле_4 |
Числовой |
Длинное целое |
| [Знач_послеЦП]![ Медицинские показатели] – [Макс_МП]![ Нормы медицинских показателей] | |
|
Вычисляемое поле_5 |
Числовой |
Длинное целое |
IF [Знач_доЦП]![ Медицинские показатели] BETWEEN [Мин_МП]![ Нормы медицинских показателей] AND [Макс_МП]![ Нормы медицинских показателей]; THEN 0; ELSE MIN ([Вычисляемое поле_1]![Результат_ЦП]; [Вычисляемое поле_2]![Результат_ЦП]) |
|
Вычисляемое поле_6 |
Числовой |
Длинное целое |
IF [Знач_послеЦП]![ Медицинские показатели] BETWEEN [Мин_МП]![ Нормы медицинских показателей] AND [Макс_МП]![ Нормы медицинских показателей]; THEN 0; ELSE MIN ([Вычисляемое поле_3]![Результат_ЦП]; [Вычисляемое поле_4]![Результат_ЦП]) |
|
Вычисляемое поле_7 |
Числовой |
Длинное целое |
([Вычисляемое поле_5]![Результат_ЦП]; [Вычисляемое поле_6]![Результат_ЦП]) |
| Результат |
Текстовый |
50 |
IF [Вычисляемое поле_7]![Результат_ЦП]>=0; THEN «улучшение»; ELSE «ухудшение» |
В разработанном приложении по автоматизации процесса управления целевыми программами в РООИ «СОРАТНИК» механизм описанного выше запроса был реализован в режиме конструктора (рис. 44), который позволяет наглядно отобрать нужные данные из интересующих таблиц и легко установить условия и ограничения отбора.

Рисунок 45
Рисунок 44
2.5.3.4. Отчеты
Средства разработки отчетов в Access предназначены для конструирования макета отчета, по которому может быть осуществлен вывод данных в виде выходного печатного документа. Эти средства позволяют создавать отчет сложной структуры, обеспечивающий вывод взаимосвязанных данных из многих таблиц, их группировку, вычисление данных. При этом могут быть выполнены самые высокие требования к оформлению документа.
Перед началом конструирования отчета пользователь должен спроектировать его макет. При этом определяется состав и содержание разделов отчета, размещение в нем значений, выводимых из полей таблиц базы данных, и вычисляемых реквизитов, определяются поля, по которым нужно группировать данные. Для каждого уровня группировки определяются заголовки и примечания, вычисляемые итоговые значения. Кроме того, оформляются заголовки и подписи реквизитов отчета. Определяется также порядок вывода данных в отчете.
Отчет может создаваться с помощью мастера или в режиме конструктора отчетов. Во многих случаях удобно использовать мастера отчетов. Созданный мастером отчет можно доработать и отредактировать в режиме конструктора.
При необходимости вывода в отчете результатов решения задачи в качестве основы для отчета может быть использован многотабличный запрос. На запрос могут быть возложены наиболее сложные виды выборки и предварительной обработки данных. Разнообразные возможности конструктора отчетов позволяют легко структурировать и оформить полученные в запросе данные.
Для примера рассмотренного в п.п. 2.5.3.3. запроса по определению медицинских результатов по итогам реализации целевой программы в разработанном приложении сформирован отчет «Лист обследования» с указанием значений медицинских показателей до и после проведения целевой программы и общим заключением об изменении показателя после внедрения целевой программы. Отчет представлен в Приложении 13.
- Оценка экономической
эффективности
Оценка экономической эффективности любой задачи АСУ производится путем сравнения затрат по базовому варианту решения задачи, то есть без учета тех методов и подходов, которые предлагает проектировщик, с затратами оцениваемого варианта (с учетом тех проектных решений, которые предлагает проектировщик). Существуют четыре основных показателя, использующихся для оценки экономической эффективности:
Годовой экономический эффект (Эг ) – вся сумма прибыли, которую получит объект от автоматизации рассматриваемой задачи.
Годовая экономия (Э) – прибыль, которую получит объект в связи с сокращением себестоимости единиц продукции после автоматизации задачи.
Расчетный коэффициент эффективности капвложений (Ер) – прибыль, которую получит объект на рубль вложенных средств в капитальных затратах, приходящихся на данную задачу.
Срок окупаемости капитальных вложений (Ток) – период времени, за который окупаются затраты, связанные с автоматизацией данной задачи.
В общем случае автоматизация задачи предполагает один из следующих возможных вариантов:
рассматриваемая задача на объекте решалась только ручным способом;
задача на объекте решалась на устаревшей вычислительной технике и переводится на новую технику;
задача решалась на старом комплексе технических средств и переводится на новую вычислительную платформу;
задача решалась на старом комплексе технических средств переводится на новый комплекс технических средств.
Очевидно, что в нашем случае осуществляется 1–ый вариант автоматизации задачи, т. к. ранее отбор исходных данных и составление требуемых отчетов производился на объекте практически в ручную без применения автоматизированных средств учета информации.
Годовой экономический эффект – разница между базовым вариантом решения задачи (до ее модернизации) и оцениваемого варианта (все затраты, связанные с автоматизацией задачи) – определяется по формуле:
,
где
Зб - затраты
по базовому
варианту,
,
где
С1 – себестоимость решения задачи до внедрения проектного решения;
К1 – капитальные затраты, приходящиеся на данную задачу до ее автоматизации;
Ен - нормативный коэффициент эффективности капитальных вложений, равен 0.1.
Зоц - затраты
оцениваемого
варианта,
,
где
С2 – себестоимость решения задачи до внедрения проектного решения;
К2 – капитальные вложения на автоматизацию задачи;
Как правило, затраты, связанные с автоматизацией задачи в оцениваемом варианте предполагают приобретение дополнительного комплекса технических средств либо использование более совершенной ВТ и вычислительной платформы, поэтому К2 > К1 и Эг определяется по формулам:
;
.
Разница между себестоимостью продукции до и после внедрения задачи – годовая экономия (Э), разница между капитальными затратами до и после автоматизации – дополнительные капвложения (Кд), следовательно,
.
В общем случае, затраты, связанные с автоматизацией задачи по базовому и оцениваемому вариантам могут включать:
затраты ручного труда, связанные с работой тех управленческих работников, которые решают данную задачу вручную (Зр);
затраты эксплуатационные, связанные с решением задачи на ВТ (Зэкс );
затраты, связанные с проектированием задачи (Зпр);
затраты капитальные, связанные со стоимостью вычислительных средств, приходящихся на данную задачу (Зк).
Зр и Зэкс всегда списываются на себестоимость решения задачи, Зк и Зпр списываются через нормативный коэффициент.
Т.е.
,
а
,
тогда
.
Рассмотрим отдельно все составляющие годовой экономии.
Затраты
ручного труда
-
,
где
Тр – время одноразового решения задачи работником в часах;
Кр – количество раз решения задачи в году;
tч – часовая тарифная ставка работника, занимающегося решением задачи;
= 1,33 - коэффициент, учитывающий премии и различные виды доплат.
R = 1,41 - коэффициент, учитывающий отчисления по социальному страхованию.
Затраты
эксплуатационные
-
,
где
Зитр – зарплата ИТР, обслуживающих ВТ, которую в свою очередь, можно посчитать по формуле:
,
где
Тмаш – затраты машинного времени на одноразовое решение задачи (в часах);
Фг – годовой фонд заработной платы ИТР, обслуживающих ВТ, руб.;
Fг – годовой фонд времени работы ЭВМ.
Затраты на
электроэнергию
-
,
где
Nэвм – уставная мощность ЭВМ, равна 0.3 кВт;
Цэл – стоимость 1 кВт/час электроэнергии, равна 0.63 руб.;
Кисп – коэффициент использования энергоустановок по мощности, равен 0.9.
Амортизационные
отчисления
-
,
где
- норма амортизационных отчислений, равна 0,125;
Капитальные
затраты на
задачу -
,
где
Fэвм – годовой фонд времени работы ЭВМ;
Сэвм – стоимость ЭВМ;
Затраты на
запасные части,
материалы,
ремонт -
,
где
К(зч + м+р) – сумма коэффициентов:
нормы расхода запчастей = 3,5;
норма расхода материалов = 1,5;
коэффициент ремонта = 3,25.
Затраты
проектирования
-
,
где
Тпр – время проектирования в месяцах;
К – количество проектировщиков;
В данном случае рассматривается задача по автоматизации единого учета, контроля, хранения информации и обеспечения регламентированного электронного документооборота в процессе разработки и реализации целевых программ в РООИ «СОРАТНИК». Рассчитаем все показатели временно-трудовых затрат для подзадачи регистрации учетных сведений в процессе формирования и реализации целевых программ в единой информационной базе организации и выполнении запросов на выборку отдельных данных по заданным параметрам:
|
Рассчитываемый показатель |
Значение |
|
Тр1 – время одноразового решения задачи работником при базовом варианте, часы |
2 часа |
|
Тр1 – время одноразового решения задачи работником при оцениваемом варианте, часы |
0,16 часа |
| Количество раз решения задачи в день, раз | 3 |
| Количество дней в году, дни | 365 |
| Количество праздничных дней в году, дни | 10 |
| Количество выходных дней в году, дни | 52 недели*2=104 |
| Количество рабочих дней в году, дни |
|
|
Кр – количество раз решения задачи в году, раз |
|
| Средний месячный фонд времени, дни | 21 |
| Рабочее время в день, часы | 7 |
| Средний месячный фонд времени работника, часы |
|
| Месячная заработная плата работника, занимающегося решением задачи, руб. | 3000 |
|
tч – часовая тарифная ставка работника, занимающегося решением задачи, руб. в час |
|
| - коэффициент, учитывающий отчисления в соц.страх | 1,33 |
| R – коэффициент, учитывающий дополнительные премии | 1,41 |
|
Затраты
ручного труда
(базовый вариант) |
|
|
Затраты
ручного труда
(оцениваемый
вариант) |
|
|
Тмаш1 – затраты машинного времени на одноразовое решение задачи базовым способом, часы |
0 |
|
Тмаш2 – затраты машинного времени на одноразовое решение задачи оцениваемым способом, часы |
0,0003 |
|
Фм – месячная заработная плата работника, занимающегося обслуживанием ВТ, руб. |
4000 |
|
Fэвм – годовой фонд времени работы ЭВМ, часы (количество дней в году помноженное на количество рабочих часов в день) |
|
|
ЗИТР1 - затраты
на заработную
плату ИТР,
обслуживающих
ВТ (базовый
вариант)
|
0 |
|
ЗИТР2 - затраты на заработную плату ИТР, обслуживающих ВТ (оцениваемый вариант)
|
|
|
Nэвм – уставная мощность ЭВМ, кВт |
0,3 |
|
Цэл – стоимость 1 кВт/час электроэнергии, руб. |
0,63 |
|
Кисп – коэффициент использования энергоустановок по мощности |
0,9 |
|
Затраты на
электроэнергию
в базовом
варианте -
|
0 |
|
Затраты на
электроэнергию
в оцениваемом
варианте -
|
|
|
Сэвм – стоимость ЭВМ, $ |
1324,85 |
|
Курс 1$ ЦБРФ (на 12.01.2002) |
30,44 |
|
Сэвм – стоимость ЭВМ, руб. |
|
|
Капитальные затраты на задачу (базовый вариант) –
|
0 |
|
Капитальные затраты на задачу (оцениваемый вариант) –
|
|
| - норма амортизационных отчислений | 0,125 |
|
Амортизационные
отчисления
в базовом
варианте -
|
0 |
|
Амортизационные
отчисления
в оцениваемом
варианте -
|
|
|
Коэффициент К(зч+м+р) |
|
|
Затраты на
запасные части,
материалы,
ремонт -
|
0 |
|
Затраты на
запасные части,
материалы,
ремонт -
|
|
|
Затраты
эксплуатационные
(базовый вариант)-
|
0 |
|
Затраты
эксплуатационные
(оцениваемый
вариант)-
|
|
|
К – количество проектировщиков |
2 |
|
Тпр – время проектирования в месяцах |
2 |
|
Fмес – месячный фонд времени работы проектировщика, часы |
147 |
| Месячная зарплата проектировщика | 4000 |
|
tч1 – часовая тарифная ставка проектировщика, руб. в час |
|
|
Затраты
проектирования
(базовый вариант)
-
|
0 |
|
Затраты
проектирования
(оцениваемый
вариант) -
|
|
Учитывая рассчитанные составляющие, годовой экономический эффект определяется следующим образом:

Годовая
экономия
руб.
Расчетный коэффициент экономической эффективности:
![]()
Полученный показатель больше чем показатель эффективности для некоммерческих организаций (0,1)
Срок окупаемости
года.
Рассчитанные
основные показатели
экономической
эффективности
позволяют
сделать вывод,
что автоматизация
задачи, проведенная
описанным
образом эффективна;
годовая экономия
от автоматизации
задачи составила
рублей; срок
окупаемости
затрат на
автоматизацию
составил 0,57 года,
что примерно
равняется 7
месяцам.
- ОХРАНА ТРУДА И ОКРУЖАЮЩЕЙ СРЕДЫ
4.1. Введение
В нашей стране всегда достаточно остро стояла проблема производственного травматизма, не менее актуальна она и в настоящее время. В условиях жесткой конкуренции топ-менеджмент предприятий пытается экономить на всем, стараясь уменьшить себестоимость своих товаров, работ, услуг. Одной из статей экономии, к сожалению, стала охрана труда и безопасность жизнедеятельности работников. Функция контроля за обеспечением охраны труда возложена на руководство предприятий. Перед ними ставится нелегкая задача, ведь с одной стороны затраты на обеспечение охраны труда и безопасность жизнедеятельности работников в условиях рыночных цен, т.е. цена человеческого здоровья, достаточно велики, а с другой, по мнению некоторых директоров, они не окупаются.
Согласно полученному заданию, настоящий раздел дипломного проекта посвящен анализу условий труда офисных служащих в соответствии с основными требованиями охраны труда и безопасности жизнедеятельности человека, с целью выявления основных производственных факторов первостепенно влияющих на здоровье человека в рассматриваемых условиях. А также, в зависимости от основной темы дипломного проекта, содержит аналитические и расчетные результаты проведенных маркетинговых исследований на предмет организации оптимальных условий труда в помещении отдела по работе с инвалидами в РООИ «СОРАТНИК» в рамках автоматизации его деятельности. Итоговой целью данного раздела является определение прямых экономических затрат, возникающих перед руководством РООИ «СОРАТНИК» в связи с решением рассматриваемых задач автоматизации, призванных непосредственно поддержать и сохранить здоровье сотрудников организации. Иными словами, раздел охраны труда и окружающей среды представленного дипломного проекта отвечает на вопрос, сколько же надо вложить средств в организацию рабочего места оператора ПЭВМ, чтобы здоровье оператора не ухудшалось, т.е. какова же цена его здоровья.
4.2. Общие понятия и определения
Для четкой согласованности тематики данного раздела дипломного проекта с общепринятой регламентируемой направленностью понятия охраны труда и окружающей среды уместно будет рассмотреть основные положения и определения, формирующие его научную базу.
Охрана труда - это система законодательных актов, социально-экономических, организационных, технических, гигиенических и лечебно-профилактических мероприятий и средств, обеспечивающих безопасность, сохранение здоровья и работоспособности человека в процессе труда. Все многообразие законодательных актов, мероприятий и средств, включенных в понятие охраны труда, направлено на создание условий труда, при которых исключено воздействие на работающих опасных и вредных производственных факторов.
Условия труда - совокупность факторов производственной среды, оказывающих влияние на здоровье и работоспособность человека.
Опасный производственный фактор - производственный фактор, воздействие которого на работающего в условиях производства приводит к травме или другому внезапному резкому ухудшению здоровья.
Вредный производственный фактор - производственный фактор, воздействие которого на работающего в условиях производства приводит к заболеванию или снижению работоспособности. В зависимости от уровня и продолжительности воздействия вредный производственный фактор может стать опасным.
Основная задача охраны труда состоит в преимущественном предупреждении возникновения возможных опасных и вредных производственных факторов и создании безопасной в широком понимании этого слова техники и технологических процессов, а не в устранении средствами техники безопасности и производственной санитарии имеющихся в выпускаемых машинах, механизмах, приборах конструктивных недостатков, приводящих к возникновению опасных и вредных факторов.
Организация рабочих мест служащих на предприятиях должна обеспечивать все условия для высокопроизводительного труда при минимальной утомляемости и сохранении долголетней работоспособности работников.
В настоящие время работники организаций, проводящие основную часть служебного времени на стационарном рабочем месте в офисе, зачастую оборудованном персональным компьютером и другой офисной оргтехникой сталкиваются, с воздействием таких физических опасных и вредных производственных факторов, как повышенный уровень шума, повышенная температура внешней среды, отсутствие или недостаток естественного света, недостаточная освещенность рабочей зоны, электрический ток, статическое электричество и др. Многие работники связаны с воздействием таких психофизиологических факторов, как умственное перенапряжение, перенапряжение зрительных и слуховых анализаторов, монотонность труда, эмоциональные перегрузки.
Применение оргтехники освобождает человека от непроизводительной работы, связанной с обработкой информации, изменяет характер его труда. Однако при этом увеличивается доля умственного и нервно-напряженного труда, возрастает психоэмоциональная нагрузка. При значительной трудовой нагрузке, нерациональной организации работы и неблагоприятных факторах производственной среды быстро снижается работоспособность операторов ЭВМ, уменьшается производительность труда и ухудшается качество работы, может развиться перенапряжение, а в отдельных случаях возникнуть срыв трудовой деятельности - дистресс.
Улучшение условий труда офисных работников во многом зависит от научно обоснованной организации рабочих мест и проведения мероприятий по оздоровлению производственной среды. Для компенсации неблагоприятных факторов при работе с оргтехникой, в первую очередь с ПК, необходим правильный расчет и осуществление определенного круга мероприятий.
4.3. Основные санитарно-технические требования к организации рабочего места в офисе
4.3.1. Эргономические факторы
Рабочие помещения, их размеры (площадь, объем) должны в первую очередь соответствовать количеству работающих и размещаемому в них комплексу технических средств. В них предусматривают соответствующие параметры температуры, освещения, чистоты воздуха, обеспечивают изоляцию от производственных шумов.
Для обеспечения нормальных условий труда санитарные нормы СН 245-71 устанавливают на одного работающего объем производственного помещения не менее 20 м3; площадь помещений выгороженных глухими стенами или перегородками не менее 6 м2.
Рациональное цветовое оформление помещений направлено на улучшение санитарно-гигиенических условий труда, повышение его производительности и безопасности. Окраска производственных помещений влияет на нервную систему человека, его настроение, восприятие запаха и т.д. Поэтому так важен выбор цвета. Основные и производственные помещения целесообразно окрашивать в соответствии с цветом технических средств. Необходимо учитывать, что цвет является сильным психологическим стимулятором: красный цвет - увеличивает мускульное напряжение, оранжевый - стимулирует деятельность, желтый - зрение и нервную систему, зеленый - успокаивает, фиолетовый - создает ощущение спокойствия. В связи с этим, рекомендуется для окраски помещений выбирать такие цвета. как светло-голубой, светло-зеленый, светло-серый, а для поверхностей столов оптимальными цветами являются цвет натуральной древесины, голубой, светло-зеленый, светло-серый. Коэффициент отражения света материалами и оборудованием внутри помещений имеет большое значение для освещения: чем больше света отражается, тем выше освещенность. Освещение помещений и оборудования должно быть мягким, без блеска, окраска интерьера помещений должна быть спокойной для визуального восприятия.
Важную роль играет планировка рабочего места, которая должна удовлетворять требованиям удобства выполнения работ и экономии энергии и времени работника, рационального использования производственных площадей и удобства обслуживания оргтехники, соблюдения правил охраны труда.
Общие требования к компоновке рабочего места оператора компьютера регламентируются в Санитарных правилах и нормах СанПиН 2.2.2.542-96 "Гигиенические требования к видеодисплейным терминалам, персональным электронно-вычислительным машинам и организации работы"
Особое внимание следует уделить выбору вариантов компоновки рабочего места, определению габаритов и взаимного расположения элементов рабочего места. Производя выбор среди нескольких моделей и вариантов компоновки рабочего кресла, рабочей поверхности, средств ввода и вывода информации, следует отдавать предпочтение конфигурациям с максимальным количеством доступных для индивидуальной регулировки параметров.
Высота сиденья рабочего кресла определяет остальные пространственные параметры и имеет связь с высотой стола (рабочей поверхности). Соотношение высоты стола и кресла определяет осанку оператора, непосредственно влияя на комфорт и производительность работы. При жесткой компоновке рабочей поверхности необходимо выбрать модель кресла с возможностью регулировки высоты сиденья в достаточно широком диапазоне (от 400 до 500 мм). Последние исследования в области эргономики рабочего места показали предпочтительности использования кресла с немного наклоненной вперед поверхностью сиденья и наличием подставок под колени, что обеспечивает правильную осанку оператора. Рабочее кресло должно быть снабжено поворотным устройством, рекомендуется наличие регулировки высоты спинки в диапазоне 150 – 280 мм и изменения угла ее наклона в диапазоне 95 – 110. Наличие подлокотников очень рекомендуется. Внешнее покрытие сиденья и спинки рабочего кресла должно быть выполнено из полумягкого, нескользящего, не электризующегося и воздухопроницаемого покрытия.
Пространственная конфигурация рабочей поверхности подбирается во взаимосвязи с рабочим креслом. Ширина и глубина рабочей поверхности подбираются, ориентируясь на габаритные размеры применяемого комплекса технических средств и на необходимость размещения в пределах рабочей области других предметов труда (документов, офисных принадлежностей, архивов и др.). Оптимальные размеры рабочей поверхности 1600 на 800 мм. Если характер работы предполагает сочетание работы на компьютере с ведением ручных записей, необходимо предусмотреть для этих целей свободную зону в пределах оптимальной рабочей области. Следует учесть, что наклонная рабочая поверхность более эргономична, угол наклона следует выбрать в диапазоне 10 – 20.
На правильное положение опорно-двигательного аппарата влияет пространственное расположение и технические характеристики средств ввода - вывода. В целях предупреждения развития заболеваний кистей рук следует обратить внимание на характеристики клавиатуры. Прежде всего, она не должна иметь жесткой привязки к монитору, рабочему столу или другим элементам. Клавиши клавиатуры должны иметь матовую поверхность и усилие нажатия 0.25 – 1.5 Н. Толщина клавиатуры на уровне среднего ряда должна составлять около 30 мм, цвет – приближенный к цвету видеомонитора, рекомендуется светло-серый или белый цвет с черным шрифтом. Наибольшее соответствие геометрии строению кисти человека имеют клавиатуры с разделением на два отдельных клавишных блока – для правой и для левой руки, расположенных под углом друг к другу. Широко применяемые на данный момент клавиатуры с прямолинейно расположенными рядами клавиш и скошенными столбцами мало соответствуют анатомии кисти. Более эргономичной является клавиатура с дугообразными рядами клавиш и прямолинейными столбцами. С этой же точки зрения следует обратить внимание на возможность приобретения клавиатуры с неравной высотой расположения клавиш, соответствующей неравной длине пальцев человека.
Основные параметры рабочего места для оператора ПЭВМ
|
No п/п |
Наименование параметра |
Базовые поверхности |
Необходимость регулирования |
Величина параметра |
Примечания |
| 1 |
Высота сидения |
От пола до плоскости сидения |
Необходимо | 400-500 мм | |
| 2 |
Высота расположения клавиатуры |
От пола до нижнего ряда клавиатуры |
Желательно |
600-750 мм 620-700 мм |
Для регулировки Нерегулируемая |
| 3 | Удаленность клавиатуры | От переднего края стола до первого ряда клавиатуры | Желательно | 80-100 мм | Для неподвижной клавиатуры |
| 4 | Угол наклона клавиатуры |
От горизонтали до плоскости клавиатуры |
Возможна | 7-15 мм | |
| 5 | Превышение клавиатуры над столом |
От поверхности стола до нижнего ряда клавиатуры |
- |
не более 20 мм |
Большая высота клавиатуры относительно стола требует большего угла наклона |
| 6 |
Глубина пространства для ног |
От передней кромки стола до вертикальной стенки |
Не нужна |
не менее 400 мм |
|
| 7 |
Удаленность экрана дисплея |
1. От переднего края стола до экрана 2. От экрана до глаз |
Желательно |
500-700 мм 600 мм |
Для регулировки Нерегулируемая |
| 8 | Высота экрана дисплея | От пола до нижнего края экрана | Желательно | 900-1000 мм | |
| 9 |
Угол наклона экрана дисплея |
От вертикальной пло-скости до плоскости экрана |
Желательно | 0-30 мм |
Большая высота экрана от пола требует большего угла наклона |
| 10 |
Высота пространства для ног |
От пола до нижней поверхности стола | Желательно |
600-700 мм 650 мм |
Для регулировки Нерегулируемая |
4.3.2. Метеорологические условия
Под метеорологическими условиями производственной среды согласно ГОСТ 12.1.005-88 понимают сочетание температуры, относительной влажности, скорости движения и запыленности воздуха. Перечисленные параметры оказывают огромное влияние на функциональную деятельность человека, его самочувствие и здоровье, на настроение. В производственных условиях характерно суммарное действие микроклиматических параметров. На рабочем месте операторов могут иметь место неблагоприятные показатели микроклимата, шум, нарушенный ионный режим. В воздухе могут содержаться химические вещества (озон, фенол, стирол, формальдегиды и др.), что наблюдается при установке на малых площадках большого числа компьютеров и несоблюдении требований к организации рабочих мест.
Под оптимальными микроклиматическими условиями принято понимать такие, которые при длительном и систематическом воздействии на человека обеспечивают сохранение нормального функционального и теплового состояния организма без напряжения реакций терморегуляции, создают ощущение теплового комфорта и являются предпосылкой высокого уровня работоспособности.
Требования к микроклимату видеодисплейных помещений указаны в Санитарных правилах и нормах СанПиН 2.2.2.542-96 "Гигиенические требования к видеодисплейным терминалам, персональным электронно-вычислительным машинам и организации работы" (утв. постановлением Госкомсанэпиднадзора РФ от 14 июля 1996 г. N 14).
Оптимальные нормы микроклимата для помещений с ВДТ и ПЭВМ
Период года |
Категория работ |
Температура воздуха, С не более |
Относительная влажность воздуха, % |
Скорость движения воздуха, м/с |
Холодный |
легкая - 1а | 22-24 | 40-60 | 0,1 |
| легкая - 1б | 21-23 | 40-60 | 0,1 | |
| Теплый | легкая - 1а | 23-25 | 40-60 | 0,1 |
| легкая - 1б | 22-24 | 40-60 | 0,2 |
Категории работ разграничиваются на основе интенсивности энергозатрат организма в ккал/ч (Вт).
К категории 1a относятся работы, производимые сидя и не требующие физического напряжения, при которых расход энергии составляет до 120 ккал/ч (до 139 Вт); к категории 1б относятся работы, производимые сидя, стоя или связанные с ходьбой и сопровождающиеся некоторым физическим напряжением, при которых расход энергии составляет от 121 до 150 ккал/ч (140-174 Вт).
Работа оператора компьютера относится к категории работ легкая - 1а, т.к. она производится сидя и не требует физического напряжения, таким образом расход энергии составляет до 120 ккал/ч (до 139 Вт).
В офисном помещении основными источниками тепла являются: оборудование (компьютеры, мониторы, периферийные устройства) и находящийся в помещении персонал. Для обеспечения соответствия фактических показателей микроклимата целесообразно предусматривать кондиционирование воздуха и создавать небольшое избыточное давления для предотвращения поступления неочищенного воздуха в производственные помещения. Основой для расчета объема подаваемого воздуха является расчет избытка тепла в помещении, на основе которого определяют требуемую производительность системы кондиционирования воздуха и выбирают модели кондиционеров из всех представленных на рынке.
4.3.3. Освещенность
Характерной особенностью труда за компьютером является необходимость выполнения точных зрительных работ на светящемся экране в условиях перепада яркостей в поле зрения, наличии мельканий, неустойчивости и нечеткости изображения. Объекты зрительной работы находятся на разном расстоянии от глаз пользователя (от 30 до 70 см) и приходится часто переводить взгляд в направлениях экран – клавиатура - документация (согласно хронометражным данным от 15 до 50 раз в минуту). Частая переадаптация глаза к различным яркостям и расстояниям является одним из главных негативных факторов при работе с дисплеями. Неблагоприятным фактором световой среды является несоответствие нормативным значениям уровней освещенности рабочих поверхностей стола, экрана, клавиатуры. Нередко на экранах наблюдается зеркальное отражение источников света и окружающих предметов. Все выше изложенное затрудняет работу и приводит к нарушениям основных функций зрительной системы. Работающие с видеодисплейными терминалами (ВДТ) предъявляют жалобы на боль и ощущение песка в глазах, покраснение век, трудности перевода взгляда с близких на далекие предметы. Отмечается быстрое утомление и затуманенность зрения, двоение предметов. Комплекс выявляемых нарушений был охарактеризован специалистами как "профессиональная офтальмопатия".
Основные требования к условиям освещения рабочих помещений операторов ПК регламентируются в Санитарных правилах и нормах СанПиН 2.2.2.542-96 "Гигиенические требования к видеодисплейным терминалам, персональным электронно-вычислительным машинам и организации работы".
Вид освещения в значительной степени зависит от взаимного расположения рабочих мест и источников естественного освещения (окон). Ограничиться только естественным освещением возможно в случае, когда компьютер установлен на расстоянии не более 0.8 – 1.0 метров от стены с оконными проемами и экран видеотерминала перпендикулярен стене.
Если рабочие места расположены на большем расстоянии от оконных проемов, естественного освещения может быть недостаточно. В этом случае следует остановить выбор на совмещенном освещении (естественном и искусственном). Величину коэффициента естественной освещенности необходимо обеспечить согласно СНиП не менее 1.5% для работ высокой точности и 1.0 для работ средней точности. Следует обратить внимание, что экран видеомонитора при использовании совмещенного освещения также должен располагаться перпендикулярно плоскости стены с оконными проемами.
В случае планировки помещения, не позволяющей разместить экран видеомонитора перпендикулярно плоскости стены с оконными проемами, единственным вариантов является искусственное освещение. В случае общего искусственного освещения рабочие места должны располагаться либо по периметру помещения, либо в два ряда по центру помещения с видеомониторами, обращенными в противоположные стороны. Шторы должны быть зашторены для устранения дискомфортных световых эффектов.
Среди всех светильников, применяемых в системах искусственного освещения, наиболее близки по своему спектральному составу и более комфортны люминесцентные источники света. Выбирая светильник из ряда моделей, следует уделять внимание светильникам преимущественно отраженного и рассеянного света, которые более соответствуют ограничения прямой и отраженной блесткости. При создании общего освещения светильники целесообразно размещать равномерными рядами параллельно световым проемам.
Правильный выбор освещения рабочего места еще не гарантирует безопасных для оператора персонального компьютера условий зрительной работы. Следующий шаг в данном направлении включает в себя выбор модели монитора и, при возможности, настройка цветового оформления используемого программного обеспечения.
Основные параметры, на которые следует обратить внимание, приобретая видеомонитор, следующие:
1) Яркость свечения экрана, которая должна составлять не менее 100 Кд/м2. Практически все новые видеомониторы обеспечивают достаточную яркость, но при покупке бывшего в употреблении монитора на данную характеристику следует обратить внимание.
2) Размер светящегося зерна дисплея должен быть не более 0.4 мм для монохромного и 0.6 мм для цветного монитора.
3) Контрастность и четкость изображения должны составлять не менее 0.8 и соответственно 70 кд/м2.
Большое значение с точки зрения зрительной нагрузки оператора играет размер видимой части монитора. Использование мониторов с размером по диагонали менее 14 дюймов нежелательно. На данный момент оптимальным является монитор с диагональю 15 дюймов.
Немаловажное значение для комфортности работы имеет подбор оптимального цветового оформления используемого программного обеспечения. При одновременной работе с ПК и бумажными документами для исключения частой переадаптации глаза к различным яркостям, приводящей к преждевременному утомлению, рекомендуется предъявление на экране черных букв на светлом фоне (светло-сером или белом). Для цветных видеомониторов оптимальным цветовым сочетанием является: белые знаки на темно-зеленом фоне. При использовании монохромного монитора оптимальным цветом для отображения знаков является желтый или зеленый, имеющие максимальную видимость. Для отображения знаков крайне не рекомендуется использовать красную и фиолетово – голубую части спектра. Одновременно на экране не должно отображаться более 6-7 цветов.
4.3.4. Электромагнитные излучения
На пользователей компьютерной оргтехники воздействует электромагнитное излучение видимого спектра, крайне низких, сверхнизких и высоких частот. При эксплуатации видеодисплейных терминалов на электронно-лучевых трубках в рабочих зонах регистрируются статические электрические и импульсные электрические и магнитные поля низкой и сверхнизкой частоты, создаваемые системами кадровой и строчной развертки.
Воздействие ЭМП широкого спектра частот, импульсного характера, различной интенсивности в сочетании с высоким зрительным и нервно-эмоциональным напряжением вызывает существенные изменения со стороны центральной нервной и сердечно-сосудистой системы, проявляющиеся в субъективных и объективных расстройствах. Работающие чаще всего предъявляют жалобы на головные боли, иногда с тошнотой и головокружением. У них чаще чем у лиц контрольных групп диагностируются неврозы, нейроциркулярные дистонии, гипо- и гипертония. У работающих с ПЭВМ могут наблюдаться аллергические заболевания и повышенный уровень заболеваемости органов дыхания. С одной стороны, это может быть обусловлено изменениями иммунитета (известно влияние ЭМП на иммунную систему). Следует также обратить внимание, что, ввиду наличия статических электрических полей, к экрану ВДТ притягиваются пылевые частицы, которые могут содержать антигены и бактериальную флору. Это также способствует развитию вышеуказанной патологии.
Допустимые уровни электромагнитного излучения радиочастотных диапазонов указаны в Санитарных правилах и нормах СанПиН 2.2.2.542-96 "Гигиенические требования к видеодисплейным терминалам, персональным электронно-вычислительным машинам и организации работы" (утв. постановлением Госкомсанэпиднадзора РФ от 14 июля 1996 г. N 14).
Основным источником электромагнитного излучения на рабочем месте оператора компьютера является монитор. Величина излучения монитора во – многом зависит от его модели, среди наиболее безопасных необходимо выделить мониторы с маркировкой “Low Radiation”, компьютеры с жидко-кристаллическим экраном и самые безопасные - мониторы с установленной защитой по методу замкнутого металлического экрана.
При обследовании монитора следует обращать внимание на наличие на шильдике (табличка с перечнем заводских параметров изделия) надписи о том, что данная модель прошла тестирование на предмет соответствия ТСО 95 (стандарт Шведской конференции профсоюзов) или MPR II (стандарт Шведского национального комитета по защите от излучений).
Одним из самых простых и распространенных способов защиты стала установка защитного экрана перед видеомонитором. Современный качественный защитный экран позволяет уменьшить уровень электромагнитного излучения и электростатического поля в 10-15 раз и более.
Но что касается низкочастотных электромагнитных полей (50-100 Гц), то никакие экраны либо защитные системы этот уровень излучений не ослабляют и от такого рода полей не защищают. Даже наличие на ВДТ маркировки ТСО-95 или MPR-II не гарантирует соблюдение допустимых значений параметров неионизирующих электромагнитных излучений в этом диапазоне. Так, существенно влияет на интенсивность излучения от мониторов тип ПЭВМ, отсутствие эффективного заземления оборудования. Вполне возможно, что после выполнения качественного заземления, в том числе и заземления ЭВМ, излучение монитора в низкочастотном диапазоне будет соответствовать санитарной норме, даже если без заземления его излучение превышает допустимый уровень в несколько раз.
4.3.5. Шум
Одним из наиболее распространенных производственных вредных факторов является шум. По происхождению шум делят на механический, обусловленный колебаниями деталей машин и их взаимным перемещением, аэродинамический и шумы электрических машин. Поскольку наиболее перспективным направлением снижения шума является создание малошумного оборудования, введено техническое нормирование шума машин. В соответствии со стандартом или техническими условиями в паспорте машины указывается шумовая характеристика, которая представляет собой совокупность уровней звуковой мощности машины в стандартных октавных полосах частот. Вентиляционное оборудование. установки кондиционирования воздуха также являются источниками шума. Поэтому снижение аэродинамического шума по путям его распространения представляется одним из основных способов уменьшения общего уровня звукового давления в рабочих комнатах.
В соответствии с ГОСТ 12.1.003-83 защита от шума, создаваемого на рабочем месте внутренними источниками, а так же шума, проникающего извне, осуществляется следующим образом:
уменьшение шума в источнике,
применение средств коллективной (ГОСТ12.1.029-80) и индивидуальной (ГОСТ12.4.051-87) защиты;
рациональной планировкой и акустической обработкой рабочих помещений.
Шум от источников аэродинамического шума можно уменьшить применением виброизоляционных прокладок, устанавливаемых между основанием прибора и опорной поверхностью. Настольные аппараты можно устанавливать на мягкие коврики из синтетических материалов, войлока и т.д.
В тех случаях, когда источники шума или помещение могут быть выделены ограждающими конструкциями, следует применять звукоизоляцию, которая является одним из широко распространенных методов снижения шума. Метод основан на отражении звуковой волны, падающей на ограждение. Чем больше поверхностная плотность материала ограждения, тем выше его звукоизолирующая способность. В качестве материалов ограждающих конструкций применяют строительные материалы (кирпич, стеклоблоки), а так же дерево и твердые пластмассы. В общем случае расчет звукоизоляции ограждающих конструкций, производится в соответствии со СНиП II-12-77 “Санитарные нормы и правила, нормы проектирования, защита от шума”. В некоторых случаях уменьшение уровня шума на рабочем месте достигается применением акустических экранов, обеспечивающих снижение интенсивности прямого звукоисточника.
Если не возможно уменьшение шума в самом источнике, излучающем прямые звуковые волны, применяют меры уменьшения интенсивности отраженных от поверхностей помещений волн, что достигается звукопоглощением. Под звукопоглащением понимают свойства акустически обработанных поверхностей уменьшать интенсивность отраженных ими волн за счет преобразования звуковой энергии в тепловую. Наиболее выраженными звукопоглащаемыми свойствами обладают волокнисто-пористые материалы.
Максимальное звукопоглащение достигается при облицовке не менее 60% общей площади ограждающих помещение поверхностей. Эффект звукопоглащения увеличивается с уменьшением высоты помещения, поэтому в помещениях с высотой более 6 м целесообразно устраивать подвесные потолки. Широкое применение находит многослойные, объемные (штучные) звукопоглотители, которые представляют собой геометрические тела объемной формы, целиком или частично состоящие из звукопоглотительных материалов.
Уменьшение шума, проникающего в производственные помещения извне может быть достигнуто увеличением звукоизоляции ограждающих конструкций, уплотнением по периметру притворов окон, звукоизоляции мест пересечения. Кроме того, уменьшение шума, проникающего через воздуховоды, каналы вентиляционных установок и установок кондиционирования воздуха, осуществляется глушителями. Различая глушители со звукопоглощающим материалом (активные) и без звукопоглощающего материала (реактивные), наибольшее распространение при работе с ЭВМ получили активные глушители.
В составе офисных АРМ наиболее значимыми и сильными источниками шума являются системный блок (т.е. вентиляторы блока питания и проциссора), принтер (особенно матричный), ксерокс. Допустимые уровни звукового давления приведены в следующей таблице.
Допустимые уровни звукового давления
|
Уровни допустимого давления в октавных полосах со среднегеометрическими частотами, Гц |
|||||||||
| Полоса | 31.5 | 63 | 125 | 250 | 500 | 1000 | 2000 | 4000 | 8000 |
| Предельная норма уровня, Дб | 86 | 71 | 61 | 54 | 49 | 45 |
42 |
40 | 38 |
4.3.6. Электробезопасность
Электрические установки, к которым относится практически все офисная оргтехника, предоставляет для человека возможную опасность. Поскольку в процессе эксплуатации или проведения профилактических работ, человек может коснуться частей, находящихся под напряжением. Проходя через человека, электрический ток оказывает на него сложное воздействие, вызывая электрическое, электролитическое, механическое и биологическое воздействие. Любое из перечисленных воздействий тока может привести к электрической травме, т.е. повреждению организма, вызванному воздействием электрического тока или дуги (ГОСТ 12.1.009- 776).
Условия электробезопасности зависят и от параметров окружающей Среды производственных помещений - влажность, температура и т.д. Исключительно важное значение для прекращения электротравматизма имеет правильная организация обслуживания действующих электроустановок, т.е. строгое выполнение ряда организационных и технических мероприятий, установленных “Правилами технической эксплуатации электроустановок потребителей и правилами техники безопасности при эксплуатации электроустановок потребителей” (ПТЭ и ПТБ).
Для предупреждения поражения электрическим током при эксплуатации электроустановок используют технические средства защиты, к которым относят: электрическую изоляцию токоведущих частей, защитное заземление, зануление, выравнивание потенциалов, защитное отключение, электрическое разделение сети, малое напряжение и двойную изоляцию. Физический смысл изоляции как защитной меры, заключается в ограничении значения силы тока, протекающего через тело человека при различных обстоятельствах, возникающих в процессе эксплуатации оборудования. В электроустановках до 1000 В минимальное значение сопротивления изоляции должно быть не менее 0.5 МОм. Защитное заземление - это основная техническая мера, применяемая в сетях с изолированной нейтралью. Под ним понимают преднамеренное электрическое соединение с землей или ее эквивалентом металлических нетоковедущих частей, которые могут оказаться под напряжением. Все подлежащие заземлению элементы ЭВМ присоединяют к контуру-шине отдельными заземляющими проводниками.
В сетях напряжением до 1000 В защита персонала от поражением электрическим током осуществляется занулением. Занулением называется преднамеренное электрическое соединение с нулевым защитным проводником металлических нетоковедущих частей, которые могут оказаться под напряжением (ГОСТ12.1.009-76).
Защита отключением представляет собой быстродействующую защиту, обеспечивающую автоматическое отключение электроустановки от сети при возникновении в ней опасности поражения человека током (ГОСТ12.4.155-85). Защитное отключение может применяться как самостоятельное защитное средство так и совместно с заземлением и с занулением.
4.3.7. Пожарная безопасность
Пожарная профилактика - это комплекс организационных и технических мероприятий, направленных на обеспечение безопасности людей, на предотвращение пожаров, ограничений его распространения, а так же на создание условий для успешного тушения пожаров.
В современных ЭВМ очень высокая плотность размещения элементов электронных схем, в непосредственной близости располагаются соединительные провода. При протекании по ним электротока выделяется значительное количество теплоты, что может привести к повышению температуры отдельных узлов. При этом возможно оплавление изоляции соединительных проводов, которая ведет к возникновению пожарной ситуации. Для отвода избыточной теплоты от ЭВМ служит система вентиляции и кондиционирования воздуха, но которые, в свою очередь, представляют дополнительную пожароопасность. Так же особую пожароопасность представляют на кабельные линии, по которым передается напряжение к электроустановкам, из-за наличия горючего изоляционного материала, вероятных источников зажигания в виде электрических искр и дуг, разветвленности и труднодоступности.
Основные требования к обеспечению пожарной безопасности в рабочем помещении регламентированы ГОСТом 12.1.004-91 «Пожарная безопасность. Общие требования.»
Мероприятия по обеспечению пожарной безопасности имеют своей целью минимизацию возможности возникновения потенциально опасных ситуаций.
Одной из вероятных причин пожара в помещении с вычислительной техникой может быть короткое замыкание, влекущее за собой возгорание электропроводки. Для его предупреждения вся вычислительная техника, а также прочие электрические устройства должны быть оборудованы плавкими предохранителями, а на входе электросети должен быть предусмотрен автомат защиты. Не следует пользоваться электрическими удлинителями и разветвителями («тройниками»), не имеющими сертификатов соответствия требованиям безопасности.
Необходимо предусмотреть наличие в пределах досягаемости первичных средств тушения пожара (огнетушителей) для локализации огня собственными средствами до приезда команды пожарной охраны. Должен быть разработан план экстренной эвакуации персонала при возникновении загорания.
4.4. Обеспечение оптимальных условий труда в помещении
отдела работы с инвалидами в РООИ «СОРАТНИК»
Согласно рассмотренным в п.п. 4.3. санитарно-техническим требованиям к организации рабочего места офисного работника можно сделать вывод, что состав затрат на обеспечение оптимальных условий труда оператора ПЭВМ можно рассчитать по формуле:
З = Зэр.ф. + Зм.усл. + Зосв. + Зэл.из. + Зшум + Зпож., где
Зэр.ф.- затраты на обеспечение эргономических факторов в соответствии с санитарными нормами,
Зм.усл. - затраты на обеспечение метеорологических условий в соответствии с санитарными нормами,
Зосв. - затраты на обеспечение освещенности в соответствии с санитарными нормами,
Зэл.из. - затраты на обеспечение электромагнитных излучений в соответствии с санитарными нормами,
Зшум - затраты на обеспечение шумовых показателей в соответствии с санитарными нормами,
Зпож - затраты на обеспечение пожаробезопасности в соответствии с санитарными нормами.
Заданием было предусмотрено произвести маркетинговое исследование с целью определения экономических затрат на создание оптимальных условий труда работников РООИ «СОРАТНИК» и произвести оптимизационный расчет стоимости автоматизации одного рабочего места, отвечающего по всем параметрам организации сохранению здоровья человека в условиях сегодняшней социально-экономической ситуации.
Поскольку, по результатам проектного раздела, было вынесено решение о приобретении дополнительного персонального компьютера непосредственно для оснащения деятельности отдела по работе с инвалидами, в рамках общей задачи автоматизации процесса разработки и реализации целевых программ в РООИ «СОРАТНИК», в данном разделе дипломного проекта в качестве объекта для исследований и расчетов был выбран также отдел по работе с инвалидами.
На рис. 46 представлен план помещения отдела по работе с инвалидами в РООИ «СОРАТНИК».
Размеры
помещения
составляют:
длина
5
м, ширина
3
м, высота
3
м. Общая площадь
равна
15
м2. В
помещении
постоянно
работают 2-е
сотрудников,
т.е. на каждого
приходится
по 22,5 м3 объема
производственного
помещения и
по 7,5 м2
производственной
площади, что
соответствует
санитарным
нормам (не менее
20 м3 и
6 м2 на
человека). Следует
отметить, что
в помещении
отдела предусматривается
работа, связанная
непосредственно
с присутствием
клиента. В таких
случаях размеры
помещения
допускают прием
посетителей
строго по одному,
поскольку
превышение
этого количества
будет противоречить
установленным
санитарным
нормам.
О
Рисунок 46
тносительно обеспечения требований технической эстетики, можно сделать вывод, что цветовое оформление выполнено с учетом рекомендаций СН-181-70: цвета стен, потолка, пола гармонируют между собой. Окраска стен светло-коричневая, потолка – белая, пол – паркетный, светло-коричневый. С точки зрения цветотерапии, желтый и светло-коричневый цвета улучшают настроение, положительно влияют на нервную систему и внутренние органы.
Источник
света в помещении
– люминесцентные
лампы, высота
подвески светильников
2,9
м, расстояние
между светильниками
1
м. В рассматриваемом
помещении
качество освещения
соответствует
нормативным
данным.
Оптимальные параметры освещенности помещений с ЭВМ
|
Характеристика зрительной работы |
Разряд и подразряд |
Контраст объекта с фоном |
Характеристика фона |
Искусственное освещение, лк |
|
|
При комбинированном освещении |
При общем | ||||
|
Средней точности 0,5-1,0 |
IV в |
большой |
светлый |
400 | 200 |
Обеспечение эргономических параметров рабочего места соответствует требованиям ГОСТ 12.2.032-78. В офисе РООИ «СОРАТНИК» используются рабочие столы с высотой рабочей поверхности 725 мм, а также рабочие кресла с подъемно-поворотным устройством. Конструкция кресел обеспечивает регулировку высоты опорной поверхности сиденья в пределах 400-500 мм и углов наклона вперед до 15 градусов и назад до 5 градусов. Каждое кресло оборудовано подлокотниками, что сводит к минимуму неблагоприятное воздействие на кистевые суставы рук.
Все рассмотренные выше параметры оснащения рабочего места в помещении отдела по работе с инвалидами в РООИ «СОРАТНИК» были сформированы до решения задачи автоматизации данного дипломного проекта и не были подвергнуты корректировке в ходе ее решения. Остановимся подробнее на рассмотрении предполагаемых изменений в организации условий труда сотрудников отдела по работе с инвалидами в связи с внедрением предложений данного проекта.
Прежде всего, следует отметить, что параметры приобретаемого ПК, должны соответствовать системе международных стандартов MPR и TCO.
Стандарты MPR - это первая система стандартов, регламентирующих ограничения на мощность электростатических, электрических и магнитных полей для компьютерной и офисной техники. Стандарты разработаны Национальным департаментом стандартов Швеции (SWEDAC — Swedish National Board for Measurement and Testing) совместно с Институтом расщепляющихся материалов (SSI). MPR II также включает рекомендуемые руководящие принципы. Эти руководящие принципы базируются на концепции о том, что люди живут и работают в местах, где уже есть магнитные и электрические поля, поэтому устройства, которые мы используем, такие как монитор, не должны создавать электрические и магнитные поля, большие, чем те, которые уже существуют.
Стандарты TCO (The Swedish Confederation of Professional Employees, Шведская конфедерация профессиональных коллективов рабочих), разработанны с целью гарантировать пользователям компьютеров безопасную работу. Этим стандартам должен соответствовать каждый монитор, продаваемый в Швеции и в Европе. Рекомендации TCO используются производителями мониторов для создания более качественных продуктов, которые менее опасны для здоровья пользователей. Суть рекомендаций TCO состоит не только в определении допустимых значений различного типа излучений, но и в определении минимально приемлемых параметров мониторов, например, поддерживаемых разрешений, интенсивности свечения люминофора, запаса яркости, энергопотребления, шумности и т. д. Более того, кроме требований в документах TCO приводятся подробные методики тестирования мониторов. Рекомендации TCO применяются как в Швеции, так и во всех европейских странах для определения стандартных параметров, которым должны соответствовать все мониторы. Сначала был создан стандарт TCO'91 (TCO Screen Facts, 1991), но он не получил широкого распространения. Сегодня состав разработанных TCO рекомендаций входят три стандарта: TCO'92, TCO'95 и TCO'99, цифры означают год их принятия. Первоначально экологические стандарты распространялись только на мониторы как на действительно самый небезопасный элемент компьютера. Разработчиков интересовала лишь минимизация уровня различных излучений. ТСО'92 в этом смысле оказался очень жестким. ТСО'95 всего лишь расширил область применения ТСО, впервые сделав попытку как-то описать компьютеры. Кроме того, особое внимание было уделено защите окружающей среды в процессе производства и безвредной утилизации после срока службы всех сертифицируемых изделий. ТСО'99 также в основном сосредоточен на эргономике, экологии и защите окружающей среды. Под стандарт отныне попадают отдельной строкой мониторы с жидкокристаллическим экраном, компьютеры, ноутбуки и клавиатуры.
В процессе определения комплекса технических средств для решения задачи автоматизации данного дипломного проекта было принято решение о приобретении компьютера с процессором Intel Pentium III (550$), монитора Samsung Sync Master 550S (350$) и лазерного принтера Canon LBP-810 (275$). Выбранные марки оргтехники прошли тестирования в соответствие с требованиями указанных выше стандартов и признаны безопасными для здоровья человека.
Кроме вновь приобретаемой оргтехники помещение отдела по работе с инвалидами в РООИ «СОРАТНИК» оснащено ксероксом и факсом. Вся офисная техника превращает в тепловую энергию примерно 30 процентов потребляемой мощности. Поэтому необходимо продумать систему кондиционирования помещения с целью поддержания в течение всего года нормальных значений температуры, влажности воздуха, и скорости движения воздуха.
Прежде чем приступать к поиску техники, призванной обеспечить должный комфорт в нашем помещении, необходимо было оценить требуемую мощность охлаждения. В настоящее время фирмы-поставщики вентиляционного оборудования на столичном рынке предоставляют услуги своих специалистов по проведению необходимых расчетов. Но сделать такую оценку можно и самостоятельно. Для этого необходимо просуммировать все возможные теплопоступления в каждом из охлаждаемых помещений. Для этого полезно знать, что один человек при сидячей работе выделяет около - 0,15 кВт, а офисная техника, как уже отмечалось выше, превращает в тепловую энергию примерно 30 процентов потребляемой мощности (один компьютер выделяет 0,3 кВт, лазерный принтер - 0,4 кВт, копировальный аппарат - 0,5 кВт). Несколько сложнее с солнечным освещением, поскольку количество тепла проникающего через 1 м2 остекления сильно зависит от того, в какую сторону света смотрят окна, и широты на которой расположен населенный пункт. Понятно, что чем южнее, тем жарче, тем не менее, некоторые оценки сделать можно. Просуммировав все теплопоступления, мы подбираем кондиционер, мощность охлаждения которого превышает теплопоступления от освещения, находящихся в помещении людей и оргтехники, однако, при этом на 30 м3 помещения должно приходиться не менее 1 кВт холода.
В результате проведенных расчетов и изучения предлагаемых моделей современного вентиляционного оборудования было вынесено решение о целесообразности приобретения настенной сплит-системы для кондиционирования воздуха в помещении отдела по работе с инвалидами в РООИ «СОРАТНИК»
Сплит-системы настенного типа - это наиболее популярный тип кондиционеров. Причина такого положения в сочетании двух факторов. Во-первых, они дешевле сплит-систем других типов. Во-вторых, в наиболее ходовом диапазоне мощностей от 1.8 до 3.5 кВт они являются практически единственно возможным вариантом.
Состоят из внутреннего блока (испарителя), который монтируется на стене внутри помещения, и внешнего (компрессорно-конденсаторного) блока, монтируемого на фасаде здания специальными кронштейнами, на чердаке, в подвале, на балконе, в подсобном помещении. Отсюда и название таких систем – сплит от английского слова split, обычно переводимого как разделять, расщеплять. Соединяются эти блоки двумя тонкими медными трубками в теплоизоляции. Трубки проводятся в подвесных потолках, за панелями и т.д. или закрываются декоративными пластиковыми коробами сечением 40-70 мм. Создатели сплит-систем избавили потребителей от казалось бы, неизбежного шума компрессора. Сам компрессор и часть устройства заключены в наружный блок, который выводится за пределы помещения. Внутри остается лишь небольшой бесшумный внутренний блок, управляемый с пульта ДУ. Основные режимы и опции: Охлаждение / Нагрев / Вентиляция/ Осушение.
На пульте можно установить следующие режимы работы:
режим обогрева, охлаждения, вентиляции, осушения воздуха помещения;
определение температуры в помещении;
задание температуры, которую Вы хотите поддерживать в помещении;
выбор одного из четырех возможных режимов работы вентилятора;
задание рабочей программы (например, можно запрограммировать включение кондиционера за некоторое время до начала рабочего дня и к приходу сотрудников заданная температура в помещении будет создана);
установку экономичного ночного режима работы;
автоматическое регулирование положения шторок раздачи воздуха (изменение направления воздушного потока).
Все коммуникации между блоками и электросетью можно спрятать в стене, для этого в стене делается штроба. Если по каким-либо причинам штробить стену не желательно, все коммуникации убираются в пластиковый декоративный короб. Дренаж, как правило, выводится на улицу или в канализацию.
Цена такого оборудования, с учетом всех организационных параметров рассматриваемого помещения, колеблется в пределах 550-700 $. Конкретно наш выбор был остановлен на модели Samsung AQ07A5ME.
Производительность:
холод – 2,05 кВт;
тепло – 2,2 кВт;
воздух – 300 м3/ч;
Потребляемая мощность – 0,68 кВт;
Габариты внутреннего блока – 745 мм;
Цена – 660 $.
В заключение данного подраздела отметим, что в рассматриваемом помещении будут находиться применяемые в работе компьютер, принтер, бесперебойные источники питания, ксерокс, факс, кондиционер, а также бытовой музыкальный центр, которые могут быть причиной поражения людей электрическим током. Хотя во всех этих приборах применены современные меры защиты, все же следует проводить постоянный контроль со стороны хозяйственного отдела в отношении состояния электропроводки, выключателей, штепсельных розеток и шнуров, с помощью которых включаются в сеть электроприборы.
Пожарная безопасность в РООИ «СОРАТНИК» обеспечивается системой предотвращения пожара и системой пожарной защиты. В служебных помещениях, в том числе и в помещении рассматриваемого отдела, вывешены «Планы эвакуации людей при пожаре», регламентирующие действия персонала в случае возникновения очага возгорания и указывающие места расположения пожарной техники. В необходимых местах размещены ручные огнетушители (углекислотные ОУ-8 в количестве 2шт). Средствами обнаружения и оповещения о пожаре являются автоматические датчики-сигнализаторы о пожаре типа ДТП, реагирующие на повышение температуры.
4.5. Выводы
Проведенные исследования показали, что в целом созданные условия труда в отделе по работе с инвалидами в РООИ «СОРАТНИК» соответствуют общепринятым нормам, обеспечивается достаточное освещение рабочего места, минимальный уровень шума, созданы удобные и правильные с точки зрения эргономики рабочие места, соблюдены требования технической эстетики, специальные мероприятия обеспечивают электробезопасность и пожаробезопасность офиса.
Основные затраты по результатам внедрения данного проекта, влияющие на обеспечение благоприятных условий труда, будут складываться из стоимости приобретаемого оборудования: компьютера, монитора, принтера и кондиционера.
Если в общем случае
З = Зэр.ф. + Зм.усл. + Зосв. + Зэл.из. + Зшум + Зпож.,
то для организации рабочего места в отделе работы с инвалидами в РООИ «Соратник»
З = З орг.технику + З кондиционер = 550 + 350 + 275 + 660 = 1835 $
Как видно из расчетов, необходима достаточно приличная сумма, хотя большинство факторов среды отвечает установленным нормам. Можно предположить, каковы будут затраты, если предприятие только начинает свою работу и необходимо обеспечить охрану труда и безопасность жизнедеятельности по всем факторам. Следовательно цена здоровья человека в наши дни очень велика.
ЗАКЛЮЧЕНИЕ
При развитии информационных технологий главной информационной тенденцией является – усложнение информационных продуктов - переход к цифровым методам передачи, обработки и хранения данных. Она обеспечивает возможность генерации по запросу информационного продукта и доставку этого продукта в удобное время и в удобной для пользователя форме доступной для немедленного использования.
Эта тенденция построения АСУ реализована в представленном дипломном проекте, который отражает модернизацию существующей системы учета и документооборота в РООИ «СОРАТНИК» в процессе формирования и реализации целевых программ за счет перехода от традиционного «бумажного» делопроизводства к электронному с использованием современных средств объектно-ориентированного программирования. При этом в ходе реализации задачи учтены: структура и организация хранения и использования необходимой функциональной информации в архитектуре «клиент-сервер», поддержание принятого на предприятии цикла по подготовке, реализации и учету результатов целевых программ, а также сохранена привычная модель документооборота, отвечающая стандартам предприятия.
В результате работы над дипломным проектом была проведена работа по выбору оптимально подходящих для внедрения в РООИ «СОРАТНИК» разрабатываемой системы комплекса технических средств и программного обеспечения, обеспечивающих высокую производительность системы, при минимально возможных финансовых затратах, что носит весьма актуальный характер для некоммерческой общественной организации.
Проведенная оценка экономического эффекта от внедрения предлагаемого решения отражает эффективность предлагаемой автоматизации, поскольку расчетный коэффициент эффективности капитальных вложений больше нормативного. А также полученные основные экономические показатели годового экономического эффекта и годовой экономической эффективности имеют положительные значения. Срок окупаемости автоматизации рассматриваемой задачи - достаточно мал и составляет примерно семь месяцев.
К перспективам развития спроектированной системы следует отнести:
расширение разработанной системы учета за счет автоматизации и интеграции систем бухгалтерского и складского учета организации;
дальнейшее расширение и совершенствование локальной вычислительной сети в организации;
организацию передачи отчетно-аналитической информации отделам предприятия, руководству, а также во внешнюю деловую среду по каналам связи.
В разделе "Охрана труда и окружающей среды" представленного дипломного проекта проведена расчетно-аналитическая работа по определению затрат на организацию оптимальных условий труда сотрудников РООИ «СОРАТНИК», которых непосредственным образом коснется внедрение данного проекта.
Список использованной литературы
Бекаревич Ю. Б., Пушкина Н. В. Microsoft Access 2000. – СПб: БХВ – Петербург, 2001. – 480 с.: ил.;
Биллиг В. А., Дехтярь М. И. VBA и Office 97. Офисное программирование, - М., изд. «Русская редакция», 1998;
Большакова З. В., Гдалева О. В. и др. Методические указания по выполнению выпускной работы по специальности "Проектирование АСУП" - М.: МАИ, 1988. - 26с.;
Вейскас Д. Эффективная работа с Microsoft Access 97 - СПб: Издательство "Питер", 2000. - 976с.: ил.;
Гамольский П. Ю., Некоммерческие организации: бухгалтерский учет и налогообложение в 2001 г. – М.: издательство «Бухгалтерский учет», 2001. – 240 с.;
ГОСТ 12.1.030-81. ССБТ. Электробезопасность. Защитное заземление, зануление;
ГОСТ 12.1.003-83. ССБТ. Шум Общие требования безопасности;
ГОСТ 12.1.005-88. ССБТ. Воздух рабочей зоны. Общие санитарно - гигиенические требования. М.: Изд-во стандартов, 1990;
ГОСТ 2716-86 «Дисплей ЭВМ на электронно-лучевых трубках»;
Карминский А. М., Нестеров П. В. Информатизация бизнеса. - М: Финансы и статистика, 1997. - 416 с.: ил.;
Константинова С.Б. Способы распределения непрямых расходов между проектами, выполняемыми некоммерческими организациями. Некоммерческие организации в России №4 – 2001 г.;
Король В. И. Visual Basic 6.0, Visual Basic for Applications 6.0 Язык программирования. Справочник с примерами. - М.: КУДИЦ-ОБРАЗ, 2000. - 448 с.;
Краснова В.А., Привалов А. А. Семь нот менеджмента – М.: «Дедал Арт», - 1996. – 176 с.;
Маклаков С. В. BPwin и ERwin. CASE-средства разработки информационных систем. - М.: ДИАЛОГ-МИФИ, 1999. - 256 с.;
Модин А. А. и др. Справочник разработчика АСУ - 2-е изд., перераб. и доп. - М.: Экономика, 1978. - 583 с.;
Павленко А.И. Матвеевский С. С. Лабораторные работы по курсу «Системный анализ». – М.: МАИ,ю 1988. – 25 с.: ил.;
Парамонов Ф. И., Колесниченко О. В. Основы проектирования АСУП: Учеб. пособие. - М.: Издательство МАИ, 1995. - 92 с.: ил.;
СанПиН 2.2.2.542-96. Гигиенические требования к видеодисплейным терминалам (ВДТ). персональным электронно-вычислительным машинам (ПЭВМ) и организации работы. М.: Информационно-издательский центр Госкомэпиднадзора России, 1996;
Сибаров К.Г., Сколотнев Н.Н., Васин В.К., Начинаев В.Н. Охрана труда в вычислительных центрах: учебное пособие, М.: Машиностроение, 1985;
Соколовский В. И. Основы автоматизированного управления ремонтно-реставрационными работами на объектах исторического наследия Москвы. – М.: АО «Московские учебники», 2001. – 296 с., ил.;
Уилсон Р. Человек за компьютером. Мир ПК, № 1-1991
Фаулер М., Скотт К. UML в кратком изложении. Применение стандартного языка объектного моделирования: Пер. с англ. - М.: Мир, 1999. - 191 с., ил.
Похожие рефераты:
Разработка автоматизированной системы распределения автотранспорта инвалидам
Разработка автоматизированной информационной системы учёта товародвижения в торговле
Автоматизированной информационная библиотечная система
АС учета дополнительных расходов, связанных с поступлением материалов
Учет передачи готовой продукции на склад
Технология ведения секретарской деятельности, методы и способы ее рационализации и автоматизации
Базовые сведения о надежности информационных технологий управления
База данных страховой компании
Базы данных и их функции. Структурные элементы базы данных
Создание базы данных в среде Microsoft Access 2002
Разработка автоматизированной информационной системы "Библиотека ВУЗа"
АРМ специалиста по предоставлению платных дополнительных образовательных услуг
Информационные технологии создания и обработки баз данных с помощью MS Access XP
,
руб.
,
руб.