| Скачать .docx |
Курсовая работа: Моделювання роботи регульованої ділянки
МІНІСТЕРСТВО ОСВІТИ І НАУКИ УКРАЇНИ
ХЕРСОНСЬКИЙ ЕКОНОМІЧНО-ПРАВОВИЙ ІНСТИТУТ
КАФЕДРА Економічної КІбЕРНЕТИКИ
курсова робота
з дисципліни «Імітаційне моделювання»
На тему: « Моделювання роботи регульованої ділянки»
Херсон 2008
Реферат
Пояснювальна записка складається з 22 сторінок і у своєму складі містить 2 ілюстрації і 5 таблиць. Основні ключові слова: моделювання систем, модель, система масового обслуговування, імітаційне моделювання, GPSS.
Об'єктом моделювання є регулювальна ділянка цеху, у якому агрегати надходять на три види регулювання: первинну, вторинну, повну.
Завдання полягає в моделюванні роботи регулювальної ділянки цеху в плині заданого проміжку часу. За результатами моделювання потрібно визначити: імовірність відмовлення в первинному регулюванні, завантаження нагромаджувача агрегатами, що бідують у повному регулюванні. Визначити, при якій ємності нагромаджувача буде забезпечуватися безвідмовне обслуговування агрегатів, що надходять.
Поставлена задача зважується за допомогою системи імітаційного моделювання GPSS. Алгоритмічна мова GPSS є мовою моделювання, орієнтованим на побудову моделей систем з дискретними процесами і виконання моделювання на ЕОМ. ДО таких систем відносяться СМО довільної структури: транспортні вузли і транспортні системи, інформаційні системи, технологічні процеси. деякі підприємства і т.д. Мова GPSS розрахована на широке коло користувачів, що застосовують метод статистичного моделювання для проектування і дослідження складних систем в умовах АСУ.
ВСТУП
У багатьох областях практичної діяльності людини ми зіштовхуємося з необхідністю перебування в стані очікування. Подібні ситуації виникають у чергах, у квиткових касах, у великих аеропортах, при очікуванні обслуговуючим персоналом літаків дозвіл на зліт або посадку, на телефонних станціях чекаючи звільнення лінії абонента, у ремонтних цехах, чекаючи ремонту верстатів й устаткування, на складах організації чекаючи розвантаження або навантаження транспортних засобів. У всіх перерахованих випадках маємо справа з масовістю й обслуговуванням. Вивченням таких ситуацій займається теорія систем масового обслуговування.
У теорії систем масового обслуговування (СМО) обслуговує об’єкт, що, називають вимогою. У загальному випадку під вимогою звичайно розуміють запит на задоволення деякої потреби, наприклад, розмова з абонентом, посадка літака, покупка продуктів, одержання матеріалів на складі.
Кошти, що обслуговують вимоги, називаються обслуговуючими устроями або каналами обслуговування. Наприклад, до них ставляться канали телефонного зв'язку, посадкової смуги, майстри-ремонтники, квиткові касири, вантажно-розвантажувальні крапки на базах і складах.
У теорії СМО розглядаються такі випадки, коли надходження вимог відбувається через випадкові проміжки часу, а тривалість обслуговування вимог не є постійної, тобто носить випадковий характер.
Основним завданням теорії СМО є вивчення режиму функціонування обслуговуючої системи й дослідження явищ, що виникають у процесі обслуговування. Так, однієї з характеристик обслуговуючої системи є час перебування вимоги в черзі. Очевидно, що цей час можна скоротити за рахунок збільшення кількості обслуговуючих устроїв. Однак кожен додатковий устрій вимагає певних витрат, при цьому збільшується час бездіяльності обслуговуючого устрою через відсутність вимог на обслуговування, що також є негативним явищем. Отже, у теорії СМО виникають завдання оптимізації: яким образом досягти певного рівня обслуговування (максимального скорочення черги або втрат вимог) при мінімальних витратах, пов'язаних із простоєм обслуговуючих устроїв.
Моделі СМО дуже поширені й застосовуються в багатьох сферах діяльності людини так само й у комп'ютеризації. Моделі СМО зручні для опису окремих сучасних обчислювальних систем, таких як процесор - вінчестер, канал уведення - висновку й т.д. Обчислювальна система в цілому являє собою сукупність взаємозалежних систем. Наприклад: заявка на рішення деякого завдання, проходить кілька етапів обробки, звертання до зовнішніх запам'ятовувальних пристроїв й устроїв й устроям уведення - висновку. Після виконання деякої послідовності таких етапів, заявка вважається обслуженої, і вона залишає систему.
У цей час методи керування виробничими процесами, засновані на інтерактивних імітаційних моделях, здобувають все більше поширення при організації роботи підприємств. Все це вимагає необхідності впровадження нових інформаційних технологій у сферу керування їхньою діяльністю, розробки й використання автоматизованих систем керування різного класу й призначення.
Потреби дослідження складних систем і розробки методів їхнього моделювання приводять до розгляду в рамках єдиного процесу моделювання наступних етапів: побудова моделі, організація імітаційного експерименту, формування процедур прийняття рішень. За останнім часом розроблено досить багато систем імітаційного моделювання, які за рахунок своєї проблемної орієнтації надають користувачеві набір зручних коштів, що спрощує процес побудови моделей. Серед них можна виділити GPSS, SIMULA, і інші. Однак слід зазначити, що недостатня увага приділена розробці діалогових коштів взаємодії з моделями в рамках системи моделювання, що враховують специфіку проведення імітаційного експерименту.
1. ПОСТАНОВКА ЗАВДАННЯ
На регулювальну ділянку цеху через випадкові інтервали часу надходять по 2-ва агрегату в середньому через кожні 30 хв. Первинне регулювання здійснюється для двох агрегатів одночасно і займають близько 30 хв. Якщо в момент приходу агрегатів попередня партія не була оброблена, що надійшли агрегати на регулювання не приймаються. Агрегати після первинного регулювання, що одержали відмовлення, надходять у проміжний нагромаджувач. З нагромаджувача агрегати, що пройшли первинне регулювання, надходять попарно на вторинне регулювання, що виконується в середньому за 30 хв., а не минуле первинне регулювання надходять на повну, котра займає 100 хв. для одного агрегату. Усі величини, задані середніми значеннями, розподілені экспоненціально.
Змоделювати роботу ділянки протягом 100 ч. Визначити імовірність відмовлення в первинному регулюванні і завантаження нагромаджувача агрегатами, що бідують у повному регулюванні. Визначити параметри і ввести в систему нагромаджувач, що забезпечує безвідмовне обслуговування агрегатів, що надходять.
1.1 Аналіз гіпотетичної моделі
Перевірка гіпотетичної моделі на повноту, несуперечність і однозначність опису.
Перевірка гіпотетичної моделі на повноту, несуперечність і однозначність опису показує, що текст завдання містить усю необхідну для моделювання вихідну інформацію. Вона не суперечлива, при уявному програванні поводження системи не зустрілися ситуації, що суперечать фізичному змісту і логіці.
Складання графічного зображення моделюючого об'єкта.
Графічне зображення моделюючого об'єкта дане на рис. 1.1

Рисунок 1.1 - Формалізована схема роботи регулювальної ділянки цеху
1.2 Розгляд моделюючої системи з позицій теорії масового обслуговування
У розглянутої одно канальна СМО один однорідний, стаціонарний і ординарний вхідний потік подій - надходження пари агрегатів. Перед пристроями повного і вторинного регулювання можуть формуватися необмежені по довжині черги. Дисципліна обслуговування: "перший прийшов - перший обслугований".
Таким чином, ми маємо багатофазну одно канальну СМО з однорідним, стаціонарним і ординарним вхідним потокам без обмежень на довжину черги, з абсолютно надійними (тобто не потребуючого ремонту) приладами.
Формулювання основного і додаткового критеріїв оптимальності функціонування СМО.
Основні показники ефективності:
- завантаження нагромаджувача;
- імовірність відмовлення.
Додаткові показники ефективності:
- коефіцієнти використання пристроїв регулювання.
2. СИСТЕМА ІМІТАЦІЙНОГО МОДЕЛЮВАННЯ GPSS/ PC
2.1 Основні положення мови GPSS / PC
Мова розроблена в 1961 році фірмою ІBM слідом за розробкою компілятора з мови ФОРТРАН. Являє собою Фортран - орієнтовану версію мови ЇМ. Перші реалізації GPSS будувалися у виді процесора, тобто вихідним текстом програм, що аналізують пропозиції GPSS, були тексти на Фортрані. Існує багато версій GPSS, що є найбільш розповсюдженою мовою даного класу. В даний час розроблені повні версії GPSS для ПЭВМ.
GPSS призначений для моделювання систем з матеріальними й інформаційними потоками. Можна описувати систему і керувати маршрутами проходження через об'єкти систем спеціальних динамічних
елементів - транзактів (транзакт, транзакція - повідомлення). Транзакт може сприйматися як динамічна одиниця матеріального чи інформаційного потоку, здатна переміщатися від об'єкта до об'єкта й імітувати послідовність обслуговування, що одержує транзакт за час перебування його в системі.
Всі оператори GPSS умовно поділяються на класи:
- динамічні (зв'язані з транзактами);
- апаратно - орієнтовані - їм у досліджуваній системі відповідає пристрій, зайняте обслуговуванням, тобто виконанням роботи тієї чи іншої властивості (зв'язані з активностями);
- статистичні - реалізують збір і обробку статистичноїінформації;
- операційні - призначені для керування потоками транзактів;
- різні (не зв'язані визначеною функцією).
Вихідна програма мовою GPSS/PC, як і програма на будь-якій мові програмування, являє собою послідовність операторів. Оператори GPSS/PC записуються і вводяться в ПК у наступному форматі:
- номер рядка ім'я операція операнди ;
- коментарі
Об'єкти GPSS/PC можна розділити на сімох класів:
- динамічні;
- операційні;
- апаратні;
- статистичні;
- обчислювальні;
- запам'ятовуючі;
- що групують.
Динамічні об'єкти, що відповідають заявкам у системах масового обслуговування, називаються в GPSS/PC транзактами. Вони "створюються" і "знищуються" так, як це необхідно по логіці моделі в процесі моделювання. З кожним транзактом може бути зв'язане довільне число параметрів, що несуть у собі необхідну інформацію про цьому транзакті. Крім того, транзакти можуть мати різні пріоритети.
Операційні об'єкти GPSS/PC, називані блоками, відповідають операторам-блокам вихідної програми. Вони, як уже говорилося, формують логіку моделі, даючи транзактам указівки: куди йти і що робити далі. Модель системи на GPSS/PC можна представити сукупністю блоків, об'єднаних відповідно до логіки роботи реальної системи в так називану блок-схему. Блок-схема моделі може бути зображена графічно, наочно показуючи взаємодію блоків у процесі моделювання.
Апаратні об'єкти GPSS/PC - це абстрактні елементи, на які може бути розчленоване (декомпозировано) устаткування реальної системи. ДО них відносяться одноканальні і багатоканальні пристрої і логічні перемикачі. Многоканальное пристрій іноді називають пам'яттю.
Одноканальні і багатоканальні пристрої відповідають обслуговуючим приладам у СМО. Одноканальний пристрій, що для стислості далі будемо називати просто пристроєм, може обслуговувати одночасно тільки один транзакт. Многоканальное пристрій (МКУ) може обслуговувати одночасно трохи транзактов. Логічні перемикачі (ЛП) використовуються для моделювання двоичных станів логічного чи фізичного характеру. ЛП може знаходитися в двох станах: включене і виключено. Його стан може змінюватися в процесі моделювання, а також опрашиваться для прийняття визначених рішень.
Статистичні об'єкти GPSS/PC служать для збору й обробки статистичних даних про функціонування моделі. ДО них відносяться черги і таблиці . Кожна черга забезпечує збір і обробку даних про транзактах, затриманих у якій-небудь крапці моделі, наприклад перед одноканальним пристроєм. Таблиці використовуються для одержання вибірковихрозподілів деяких випадкових величин, наприклад часу перебування транзакта в моделі.
ДО обчислювальних об'єктів GPSS/PC відносяться перемінні (арифметичні і булевские) і функції. Вони використовуються для обчислення деяких величин, заданих арифметичними чи логічними вираженнями або табличними залежностями.
Запам'ятовуючі об'єкти GPSS/PC забезпечують збереження в пам'яті ПК окремих величин, використовуваних у моделі, а також масивів таких величин. ДО них відносяться так називані величини, що зберігаються, і матриці величин, що зберігаються.
ДО об'єктів класу, що групує, відносяться списки користувача і групи. Списки користувача використовуються для організації черг із дисциплінами, відмінними від дисципліни "раніш прийшов - раніш обслугований". Групи в даному виданні розглядатися не будуть.
Кожному об'єкту того чи іншого класу відповідають числові атрибути, що описують його стан у даний момент модельного часу. Крім того, мається ряд так званих системних атрибутів, що відносяться не до окремих об'єктів, а до моделі в цілому. Значення атрибутів всіх об'єктів моделі по закінченні моделювання
Кожен об'єкт GPSS/PC має ім'я і номер. Імена об'єктам даються в різних операторах вихідної програми, а відповідні їм номера транслятор привласнює автоматично. Ім'я об'єкта являє собою послідовність букв, що починається з букви, латинського алфавіту, цифр і символу "підкреслення".
2.2 Основні правила GPSS/PC
Для опису імітаційної моделі мовою GPSS корисно представити її у вигляді схеми, на якій відображаються елементи СМО - устрою, накопичувачі, вузли й джерела . Опис мовою GPSS є сукупність операторів (блоків), що характеризують процеси обробки заявок. Є оператори й для відображення виникнення заявок, затримки їх в ОА, заняття пам'яті, виходу зі СМО, зміни параметрів заявок (наприклад, пріоритетів), висновку на печатку накопиченої інформації, що характеризує завантаження устроїв, заповнювання черг і т.п. Кожен транзакт, присутній у моделі, може мати до 12 параметрів.
Існують оператори, за допомогою яких можна змінювати значення будь-яких параметрів транзактів, і оператори, характер виконання яких залежить від значень того або іншого параметра що обслуговує транзакту.
Шляхи просування заявок між ОА відображаються послідовністю операторів в описі моделі мовою GPSS спеціальними операторами передачі керування (переходу). Для моделювання використається подійний метод.
Дотримання правильної тимчасової послідовності імітації подій у СМО забезпечується інтерпретатором GPSSPC – програмною системою, що реалізує алгоритми імітаційного моделювання.
2.3 Основні оператори мови GPSS/PC
Для керування прогоном моделі використовуються керуючі оператори GPSS/PC. З одним з них - оператором START. Оператор START (почати) має наступний формат:
START A,B,C,D
Поле A містить константу, що задає початкове значення лічильника завершень. У поле B може бути записане ключове слово NP - ознака придушення формування стандартного звіту по завершенні моделювання. Якщо поле B порожньо, то по закінченні прогону моделі формується звіт зі стандартною статистичною інформацією про всі об'єкти моделі. Поле C не використовується і збережено для сумісності зі старими версіями GPSS. Поле D може містити 1 для включення в звіт списків поточних і майбутніх подій. Якщо поле D порожньо, то видача в звіт умісту цих списків не виробляється.
Оператор SІMULATE (моделювати) установлює межу реального часу, що відводиться на прогін моделі. Якщо прогін не завершиться до витікання цього часу, то він буде перерваний примусово з видачею накопиченої статистики в звіт.
Оператор SІMULATE має єдиний операнд A, що містить граничний час моделювання в хвилинах, що задається константою. Оператор розміщається перед оператором START, початківцем лімітований прогін.
Оператор RMULT (установити значення генераторів) дозволяє перед початком прогону установити початкові значення генераторів випадкових чисел RN, що визначають генерируемые ними послідовності. Поля A-G оператора можуть містити початкові значення генераторів відповідно RN1-RN7, що задаються константами. Початкові значення генераторів, не встановлені операторами RMULT, збігаються з номерами генераторів.
Оператор RESET (скинути) скидає всю статистичну інформацію, накопичену в процесі прогону моделі. При цьому стан апаратних, динамічних і запам'ятовуючих об'єктів, а також генераторів випадкових чисел зберігається, і моделювання може бути відновлене з повторним збором статистики. Оператор не має операндов.
З оператором RESET зв'язане розходження між відносним (СЧА1) і абсолютним (СЧА AC1) модельним часом. Таймер відносного часу C1 вимірює модельний час, що пройшов після останнього скидання статистики оператором RESET, а таймер абсолютного часу AC1 - модельний час, що пройшов після початку першого прогону моделі. Якщо не використовувалося жодного оператора RESET, то значення цих таймерів збігаються. Оператор RESET установлює таймер C1 у нуль і не впливає на таймер AC1.
Оператор RESET використовується звичайно при моделюванні нестаціонарних процесів, коли потрібно зібрати статистику по окремих інтервалах чи стаціонарності виключити вплив перехідного періоду на статистичну інформацію, що збирається.
Перший оператор START починає прогін моделі довжиною 1000 транзактов (перехідний період). Оскільки статистика, накопичена на цьому періоді, не використовується, у поле B оператора зазначена ознака придушення формування звіту NP. Оператор RESET скидає накопичену статистику, не змінюючи стану моделі. Другий оператор START починає основний прогін моделі з формуванням звіту по завершенні прогону.
Оператор CLEAR (очистити) очищає модель, підготовляючи її до повторного прогону. При цьому скидається вся накопичена в попередньому прогоні статистика, з моделі віддаляються всі транзакты, і вона приводиться до вихідного стану, як перед першим прогоном. Встановлюються в нуль величини, що зберігаються, і матриці, що варто враховувати при використанні цих об'єктів для збереження вихідних даних. Виключення складають генератори випадкових чисел, що не повертаються до своїх початкових значень, що дозволяє повторити прогін моделі на новій послідовності випадкових чисел. Оператор не має операндів.
Оператор CLEAR використовується звичайно для організації декількох незалежних прогонів моделі на різних послідовностях випадкових чисел. Перед повторенням прогону можна при необхідності перевизначити окремі об'єкти моделі, наприклад ємності багатоканальних пристроїв.
Оператор END (закінчити) завершує сеанс 0роботи з GPSS/PC і повертає керування в операційну систему. Оператор не має операндов.
Як правило, що керують оператори не включаються у вихідну програму, тобто не мають номерів рядків, а вводяться користувачем безпосередньо з клавіатури ПК.
2.4 Опис програми на GPSS/PC
Програма мовою GPSS - це послідовність стандартних об'єктів, що відносяться до одному з двох типів: блоки й оператори. Перші утворять основу (блок-схему) GPSS-моделі, а оператори вводяться в модель у міру необхідності. Склад блоків і операторів у значній мірі визначається об'єктами мови, обраними для відображення елементів реальної системи.
2.4.1 Уведення позначень для обраних об'єктів мови
Вибір позначень об'єктів GPSS даний у табл. 2.1
Модель буде включати один основний сегмент (по числу вхідних потоків) і одного допоміжний для таймера. Вся інша інформація зведена в таблицю (табл. 2.1).
Таблиця 2.1 - Таблиця визначень
| Елементи реальної системи | Об'єкт GPSS | Позначення |
| пари агрегатів | транзакт | |
| первинне регулювання | пристрій | PERV |
| вторинне регулювання | пристрій | VTOR |
| повне регулювання | пристрій | POLN |
| Нагромаджувач | черга | NAKOPITEL1 NAKOPITEL2 |
2.4.2 Зіставлення кожному блоку визначеної операції
Кожному блоку була зіставлена визначена операція, виконувана транзактом, що увійшли в даний блок, над зазначеними в поле операндов об'єктами моделі і (или) над самим собою.
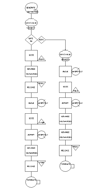
2.4.3 Представлення моделі у виді блок-схеми
Блок-схема моделі зображена на рис. 2.1, там же дані необхідні для розуміння логіки моделювання пояснення.

Рисунок 2.1- Блок-схема моделі
2.4.4Складання програми на GPSS
Текст програми, що імітує функціонування транспортного цеху об'єднання, приведений у Додатку А.
2.4.5 Проведення візуального синтаксичного контролю складеної програми
Проведений візуальний синтаксичний контроль складеної програми переконує в тім, що в ній відсутні порушення правил запису програм на GPSS.
2.4.6 Виконання логічного контролю GPSS-програми
Виконаний логічний контроль GPSS-програми свідчить про відсутність порушень логічного характеру.
2.4.7 Добуток остаточного запису GPSS-програми
Остаточний варіант тексту GPSS-програми приведений у Додатку А.
3. РЕЗУЛЬТАТИ МОДЕЛЮВАННЯ РОБОТИ НА GPSS/PC
3.1 Аналіз результатів прогону
Виявлення й усунення грубих синтаксичних помилок.
У ході аналізу результатів прогону були виявлені й усунуті грубі синтаксичні помилки.
Виявлення й усунення логічних помилок.
У ході аналізу результатів прогону були виявлені й усунуті логічні помилки.
Встановлення адекватності моделі.
На основі аналізу результатів стандартного висновку і порівняння їх з параметрами моделюючої системи була встановлена адекватність моделі.
Оцінка відповідності виведеної інформації.
Оцінка відповідності виведеної інформації свідчить про відсутність формування і висновку зайвих статистичних значень параметрів, не потрібних для рішення задачі моделювання.
Виділення шуканих значень з даних стандартного висновку і вироблення їхньої змістовної інтерпретації.
Дані стандартного висновку приведені в Додатку В, а їхня інтерпретація дана нижче.
Таблиця 3.1 - Значення, що було потрібно визначити
| № | характеристика | Значення |
| 1 | імовірність відмовлення в первинному регулюванні | 52% |
| 2 | максимальна кількість агрегатів, що бідують у повному регулюванні, у нагромаджувачі | 83 |
Нагромаджувач повинний уміщати не менш 86 пару агрегатів.
Отже, при значеннях параметрів, зазначених у завданні,спостерігається наступне:
- агрегати, що не пройшли первинне регулювання, не встигають обслуговуватися пристроєм повного регулювання, їхня кількість у нагромаджувачі постійно росте;
- агрегати, що пройшли первинне регулювання, пристроєм вторинного регулювання обслуговуватися встигають.
На підставі отриманих даних можна зробити наступні висновки:
- приведена в завданні частота надходження агрегатів занадто велика;
- час повного регулювання занадто велико, отже потрібно удосконалення пристрою повного регулювання.
3.2 Вибір одиниці модельного часу
програма регульований ділянка моделювання
Вихідні тимчасові параметри задані як у хвилинах, так і в годинник. З огляду на, що умови варіанта вимагають визначення тимчасових параметрів, що можуть бути менше години, а також те, що GPSS-модель функціонує в ціле чисельні моменти часу, за одиницю модельного часу доцільно вибрати 1 хв.
Вихідні дані
Роздруківка вихідних даних для моделювання роботи ділянки цеху.
Дані стандартного висновку.
START_TIME END_TIME BLOCKS FACILITIES STORAGES FREE_MEMORY
0 6000 23 3 0 298800
NAME VALUE TYPE
COLUMN 10001 2
POSITION 10002 2
SHAPE 10003 2
ROW 10004 2
TO_COLUMN 10005 2
TO_ROW 10006 2
COLOR 10007 2
XPDIS 10008 2
OTKAZ 10009 2
VSEGO 10010 2
VER_OTK 10011 2
PERV 10012 2
NAK2 13 3
NAKOPITEL1 10014 2
VTOR 10015 2
NAKOPITEL2 10016 2
POLN 10017 2
VER_OTKAZA 10018 2
LINE LOC BLOCK_TYPE ENTRY_COUNT CURRENT_COUNT RETRY
100 1 GENERATE 215 0 0
101 2 SAVEVALUE 215 0 0
110 3 GATE 215 0 0
120 4 SEIZE 103 0 0
130 5 ADVANCE 103 0 0
140 6 RELEASE 103 0 0
150 7 QUEUE 103 0 0
160 8 SEIZE 103 0 0
170 9 DEPART 103 0 0
180 10 ADVANCE 103 1 0
190 11 RELEASE 102 0 0
200 12 TERMINATE 102 0 0
290 NAK2 SAVEVALUE 112 0 0
300 14 QUEUE 112 83 0
310 15 SEIZE 29 0 0
320 16 DEPART 29 0 0
330 17 ADVANCE 29 0 0
340 18 ADVANCE 29 1 0
350 19 RELEASE 28 0 0
370 20 TERMINATE 28 0 0
1000 21 GENERATE 1 0 0
1010 22 SAVEVALUE 1 0 0
1020 23 TERMINATE 1 0 0
FACILITY ENTRIES UTIL. AVE._TIME AVAILABLE OWNER PEND INTER RETRY DELAY
PERV 103 0.523 30.50 1 0 0 0 0 0
VTOR 103 0.483 28.18 1 215 0 0 0 0
POLN 29 0.993 205.55 1 45 0 0 0 83
QUEUE MAX CONT. ENTRIES ENTRIES(0) AVE.CONT. AVE.TIME AVE.(-0) RETRY
NAKOPITEL1 3 0 103 66 0.25 14.74 41.03 0
NAKOPITEL2 83 83 112 1 45.14 2418.40 2440.19 0
XACT_GROUP GROUP_SIZE RETRY
POSITION 0 0
SAVEVALUE VALUE RETRY
OTKAZ +112 0
VSEGO+215 0
VER_OTKAZA+52 0
ВИСНОВКИ
На регулювальну ділянку цеху була розроблена модель за СМО та змодельована в програмному середовищі GPSS/PC. За результатами даного варіанта моделювання можна зробити висновок по роботі:
На підставі отриманих при моделюванні даних можна зробити наступні висновки:
- приведена в завданні частота надходження агрегатів занадто велика;
- час повного регулювання занадто велико, отже потрібно удосконалення пристрою повного регулювання.
Можна продовжити моделювання з метою визначення оптимальної структури ділянки цеху при заданому надходженню агрегату через випадковий інтервал часу.
Якщо структуру цеху змінювати не можна, то використовуючи мову моделювання GPSS/PC, можна підібрати такий момент приходу агрегату, що давав би можливість оптимально завантажувати дане устаткування.
СПИСОК ВИКОРИСТАНИХ ДЖЕРЕЛ
1. Колісників А.В. Моделювання систем. Методичні вказівки до курсової роботи. - Калінінград: Ктирпих, 1982. - 53 с.
2. Колісників А.В. Моделювання систем. Методичні вказівки до лабораторних робіт. - Калінінград: Ктирпих, 1982. - 88 с.
3. Колісників А.В. Моделювання систем. Методичні вказівки до практичних занять. - Калінінград: Ктирпих, 1984. - 56 с.
4. Шрайбер Т.Дж. Моделювання на GPSS. - М.: Машинобудування, 1980. - 581 с.
5. Шеннон Р. Имитационное моделирование систем - искусство и наука: Пер. с англ. - М.: Мир, 1978.
6. Максимей И.В. Імітаційне моделювання на ЕОМ. - М.: 1988.
7. Шрайбер Т.Дж. Моделирование на GPSS: Пер. с англ. - М.: Машиностроение, 1980.
8. GPSS/PC general purpose simulation. ReferenceManual.
ДОДАТОК
Лістинг програми
Текст моделі без анімації.
10 XPDISFUNCTIONRN1,C24
0,0/0.1,0.104/0.2,0.222/0.3,0.355/0.4,0.509/0.5,0.69/0.6,0.915/ 0.7,1.2/0.75,1.38
0.8,1.6/0.84,1.38/0.88,2.12/0.9,2.3/0.92,2.52/0.94,2.81/0.95,2.99/0.96,3.2
0.97,3.5/0.98,3.9/0.99,4.6/0.995,5.3/0.998,6.2/0.999,7/0.9998,8
20 VER_OTK VARIABLE (X$OTKAZ#100)/X$VSEGO
100 GENERATE 30,FN$XPDIS
101 SAVEVALUE VSEGO+,1
110 GATE NU PERV,NAK2
120 SEIZE PERV
130 ADVANCE 30,FN$XPDIS
140 RELEASE PERV
150 QUEUE NAKOPITEL1
160 SEIZE VTOR
170 DEPART NAKOPITEL1
180 ADVANCE 30,FN$XPDIS
190 RELEASE VTOR
200 TERMINATE
290 NAK2 SAVEVALUE OTKAZ+,1
300 QUEUE NAKOPITEL2
310 SEIZE POLN
320 DEPART NAKOPITEL2
330 ADVANCE 100,FN$XPDIS
340 ADVANCE 100,FN$XPDIS
350 RELEASE POLN
370 TERMINATE
1000 GENERATE 6000
1010 SAVEVALUE VER_OTKAZA,V$VER_OTK
1020 TERMINATE1
Текст моделі з анімацією
10 XPDIS FUNCTION RN1,C24
0,0/0.1,0.104/0.2,0.222/0.3,0.355/0.4,0.509/0.5,0.69/0.6,0.915/0.7,1.2/0.75,1.38
0.8,1.6/0.84,1.38/0.88,2.12/0.9,2.3/0.92,2.52/0.94,2.81/0.95,2.99/0.96,3.2
0.97,3.5/0.98,3.9/0.99,4.6/0.995,5.3/0.998,6.2/0.999,7/0.9998,8
20 VER_OTK VARIABLE (X$OTKAZ#100)/X$VSEGO
30 QNAK VARIABLE Q$NAKOPITEL1+Q$NAKOPITEL2
40 MICROWINDOW 1,Q$NAKOPITEL2 ;NAK2
50 MICROWINDOW 2,Q$NAKOPITEL1 ;NAK1
60 MICROWINDOW 3,V$QNAK ;NAK
70 MICROWINDOW 4,X$VER_OTKAZA ;VER_OTK
100 GENERATE 30,FN$XPDIS
101 SAVEVALUE VSEGO+,1
102 ASSIGN SHAPE,1
103 ASSIGN COLOR,10
104 ASSIGN ROW,3
105 ASSIGN COLUMN,2
110 GATE NU PERV,NAK2
111 ASSIGN TO_ROW,3
112 ASSIGN TO_COLUMN,8
113 JOIN POSITION
115 SAVEVALUE VER_OTKAZA,V$VER_OTK
120 SEIZE PERV
130 ADVANCE 30,FN$XPDIS
140 RELEASE PERV
141 ASSIGN TO_ROW,3
142 ASSIGN TO_COLUMN,67
143 ASSIGN COLOR,14
150 QUEUE NAKOPITEL1
160 SEIZE VTOR
170 DEPART NAKOPITEL1
180 ADVANCE 30,FN$XPDIS
190 RELEASE VTOR
200 TERMINATE
280 NAK2 ASSIGN TO_ROW,6
281 ASSIGN TO_COLUMN,67
282 JOIN POSITION
ДОДАТОК А (продовження)290 SAVEVALUEOTKAZ+,1
295 SAVEVALUE VER_OTKAZA,V$VER_OTK
300 QUEUE NAKOPITEL2
310 SEIZE POLN
320 DEPART NAKOPITEL2
325 ASSIGN SHAPE,2
330 ADVANCE 100,FN$XPDIS
335 ASSIGN SHAPE,3
340 ADVANCE 100,FN$XPDIS
350 RELEASE POLN
370 TERMINATE
400 GENERATE 1
410 ASSIGN CIKL,70
420 CKL MOVE
430 LOOP CIKL,CKL
440 TERMINATE
1000 GENERATE 6000
1010 SAVEVALUE VER_OTKAZA,V$VER_OTK
1020 TERMINATE 1