| Похожие рефераты | Скачать .docx |
Курсовая работа: Основы мехатроники
Кафедра: Кибернетики и Робототехники
Курсовая работа
На тему : Основы Мехатроники
Ростов-на-Дону
2007г.
Содержание
Введение
1. Жизненный цикл мехатронной системы.
1.1 Основы построения жизненного цикла мехатронной системы.
1.2 Теоретические осоновы проектирования мехатронных систем
1.3 Модели жизненного цикла мехатронной системы
2. Основные идеи CALS-технологии.
2.1 Пример задачи, решаемой при помощи CALS-технологий
Заключение
Список использованных источников
Введение
Концепция управления жизненным циклом изделия ProductLifecycleManagement, PLM, представляет собой часть бизнес-стратегии, которая подразумевает определенную последовательность бизнес-решений, направленных на поддержку коллективной работы по созданию, распространению, использованию информации о изделии, а также управлению ею. Наиболее целесообразно разрабатывать подобные системы для изделий, жизненный цикл которых превышает 5 лет. Для управления жизненным циклом своих изделий PLM-системы внедряют такие корпорации, как Boeing, Ericsson, Ford, General Motors, Samsung, Sony, Toyota, Volvo, Audi, Fiat, Hewlett-Packard, Hyundai и т.д. В России внедрение PLM систем произведено на предприятиях: АвтоВАЗ, Уралвагонзавод, Коломенский завод, РПО "Искра", ММПП "Салют", "Техприбор", "Лукойл", "Североникель", МГТС и Мосэнергопроект. Внедрение систем управления жизненным циклом позволяет предприятиям существенно сократить сроки проектирования и производства изделия, сроки подготовки производства, быстрее проводить изменения, сократить сроки создания опытных образцов и уменьшить сроки согласования с заказчиком. Крупными представителями готовых PLM решений на российском рынке являются ЛОЦМАН:PLM, PTC Windchill, SAPmySAP PLM и ENOVIAVPMIBM. Однако они характеризуются высокой стоимостью, развитой функциональностью и отсутствием ориентации на конкретный продукт. Поэтому наиболее оптимальным вариантом для предприятий, разрабатывающих изделия специального назначения, считается разработка уникальной системы под конкретные требования жизненного цикла. Специфика данной продукции предполагает одновременную работу над проектом нескольких десятков сотрудников и параллельную проработку нескольких версий продукта. Производство на предприятии изделий специального назначения ведет к повышению ответственности каждого сотрудника за качество своей работы. Необходимы механизмы четкого отслеживания каждого этапа жизненного цикла изделия.
1 Жизненный цикл мехатронной системы
1.1 Основы построения жизненного цикла мехатронной системы
Проект мехатронной системы – это совокупность технических документов, по которым она может изготавливаться и эксплуатироваться. Проект может быть выполнен традиционно на бумаге или на электронных носителях информации. Состав технической документации регламентирован стандартами. В нашей стране они объединены в единую систему конструкторской документации (ЕСКД), а состав программной документации (ее часто выделяют из технической документации) – в единую систему программной документации (ЕСПД). В техническую документацию входят схемная, конструкторская, монтажная, текстовая, технологическая и эксплуатационная документации.
Этапы проектирования и всего жизненного цикла созданного изделия:
- разработка технического задания;
- предварительное проектирование;
- эскизное проектирование;
- техническое проектирование;
- производство;
- эксплуатация.
Рассмотрим содержание этих этапов.
Первый этап. Техническое задание на проектирование мехатронной системы. Техническое задание является основанием для проектирования. Оно составляется разработчиком на основе исходных данных, предоставленных заказчиком и содержащих прежде всего основные технические требования к создаваемому изделию. Техническое задание утверждается заказчиком при согласующей подписи разработчика.
Состав технического задания:
- основание для разработки (приказ вышестоящей организации, совместное решение с заказчиком и т.п.);
- область применения создаваемой мехатронной системы;
- технические требования к мехатронной системе или тактико-технические требования для военной техники (охватывают габариты, массу, точность, надежность, энергопотребление и т.д.);
- условия эксплуатации (режим и продолжительность эксплуатации, климатические условия, механические и другие внешние воздействия, условия хранения и транспортировки, требования к обслуживанию и ремонту и т.д.);
- стоимость;
-условия производства;
- сроки и стоимость разработки;
- возможные особые условия производства и эксплуатации. Важной частью технических требований является установление перечня (номенклатуры) технико-экономических и тактико-эксплуатационных показателей, характеризующих технический уровень подлежащего разработке мехатронной системы, и их численные значения. В дальнейшем в ходе проектирования именно на основе этих показателей формируются критерии качества, используемые на различных этапах проектирования. Существует теория обоснования и измерения этих показателей и критериев качества техники – квалиметрия. От качества технического задания существенно зависит результат проектирования. Составление технического задания – это всегда результат компромисса между заказчиком и разработчиком, цели которых во многом далеко не идентичны. Иногда этап разработки технического задания называют этапом поискового проектирования и трактуется как первая часть НИР.
Второй этап Предварительное проектирование. Этот этап разработки является основной частью НИР. Все последующие этапы относятся уже к ОКР. Результаты предварительного проектирования оформляются в виде технического предложения или аванпроекта.
На этом этапе производится:
- выбор прототипов и их сравнительный анализ с определением плюсов, которые, очевидно, следует по крайней мере сохранить, и минусов, которые надо преодолеть;
- выбор (синтез) возможных вариантов разрабатываемой мехатронной системы, включая принцип действия, структуру (состав), основные технические средства ее реализации, элементную базу;
- сравнительный анализ основных характеристик этих вариантов и отбор из них нескольких (в пределе одного) рабочих вариантов, подлежащих дальнейшей разработке;
- выбор методов проектирования.
Третий этап. Эскизное проектирование. Назначение этого этапа –детальная проработка возможностей создания мехатронной системы, удовлетворяющего техническое задание. На этом этапе производится выбор окончательного варианта разрабатываемой мехатронной системы путем многократного их синтеза и анализа с постепенным уменьшением вариантов и увеличением глубины проработки.
Результатом этого этапа является эскизный проект, в который входят:
- пояснительная записка, включающая, в частности, теоретическое и расчетное исследование, результаты математического и, если необходимо, физического моделирования;
- эскизная техническая документация на мехатронную систему;
- общее заключение о его соответствии техническому заданию, т.е. о реальности выполнения последнего.
Эскизная документация – это временная документация, предназначенная для изготовления лабораторных и экспериментальных образцов или его отдельных частей, требующих экспериментального исследования. На этапе эскизного проектирования для таких испытаний часто требуется создавать еще и специальные испытательные стенды и другую аппаратуру. Иногда это может представить не меньшую трудность, чем создание самой системы. Часто на этапе эскизного проектирования требуется также создавать габаритно-массовые и тепловые макеты будущей мехатронной системы для испытаний на объекте заказчика, в состав которого будет входить проектируемая система.
Эскизный проект защищается разработчиком перед заказчиком и утверждается им (или возвращается на доработку). Предварительно он направляется к заказчику для изучения и выдачи замечаний. При утверждении эскизного проекта в случае необходимости на основании содержащихся в нем материалов может быть откорректировано (уточнено) техническое задание.
Четвёртый этап. Техническое проектирование. Оно осуществляется на основании эскизного проекта и материалов его защиты, включая замечания заказчика и возможные изменения технического задания. Результат этапа технического проектирования – комплект технической документации на мехатронную систему, включая конструкторскую, программную, технологическую и эксплуатационную. В конструкторскую документацию входят:
- схемы структурные, функциональные, электрические, монтажные, подключения и расположения;
- графические документы в виде чертежей общего вида, габаритных, сборочных, узлов и деталей;
- текстовая документация: общие технические условия , частные технические условия, техническое описание. В программную документацию согласно ЕСПД входят текст и описание программ, описание применения, руководства оператора и системного программиста и т.д.
Технологическая документация включает технологические инструкции, технологические (маршрутные) карты, чертежи на техническую оснастку и приспособления. Эта документация разрабатывается применительно к конкретному производству с учетом его возможностей и особенностей. Это должно учитываться, разумеется, и при разработке конструкторской документации.
В эксплуатационную документацию (по ГОСТ 2.601-95) входят руководство по эксплуатации, инструкция по монтажу, пуску и т.п., формуляр, паспорт, ведомость ЗИП – запасных частей, инструмента и приспособлений.
Руководство по эксплуатации включает описание мехатронной системы и её использование по назначению, техническое обслуживание, текущий ремонт, правила хранения и транспортировки и т.п.
В общем случае в этом этапе различают два самостоятельных этапа – разработку технического проекта по эскизному проекту и разработку рабочего проекта по техническому проекту. В последний и входит вся перечисленная выше рабочая документация.
Не останавливаясь на этапах производства и эксплуатации, рассмотрим особенно важную для разработчика проблему испытаний.
Различают следующие виды испытаний:
- Лабораторные испытания. Они проводятся на всех этапах проектирования причем в более жестких условиях и в большем диапазоне изменений внешних воздействий, чем те, что указаны в техническом задании.
- Совместные испытания. Они проводятся, как следует из их названия, разработчиком и заказчиком совместно обычно в объеме лабораторных испытаний с тем, чтобы определить запасы по сравнению с требованиями, указанными в этих документах. (Перед этим разработчик проводит свои лабораторные испытания в более широких пределах изменения варьируемых параметров, чтобы получить уверенность в положительных результатах предстоящих совместных испытаний.)
- Приемно-сдаточные испытания. Проводятся при производстве на соответствие ТУ.
- Натурные испытания. Эти испытания проводятся как до сдачи мехатронной системы в производство и в эксплуатацию, и максимально приближены к реальным условиям работы при комплексном воздействии большинства реальных возмущений.
- Выборочные (типовые) испытания. Эти испытания проводятся для уточнения результатов предыдущих испытаний опытных образцов и для оценки их надежности.
В ходе производства и эксплуатации мехатронной системы накапливаются статистические данные, на основании анализа которых осуществляется корректировка технической документации. Этот процесс идет все время пока мехатронная система производится и позволяет окончательно «довести», а затем постоянно улучшать её технический уровень, в том числе с учетом возможных изменений требований потребителей. Таким образом процесс создания мехатронной системы продолжается в течение всего времени её производства. На рисунке 1 приведена типовая структура всего процесса проектирования.

Рисунок 1 - Структура процесса проектирования.
Наряду с рассмотренными выше последовательными этапами этот процесс «запараллеливается» путем декомпозиции общей задачи на частные задачи, которые можно решить параллельно. При этом структура решения каждой такой частной задачи в свою очередь содержит все перечисленные выше типовые этапы проектирования. Эти частные задачи решаются по частным техническим заданиям отдельными коллективами специалистов (группы, лаборатории, отделы, специализированные организации) под общим руководством руководителя всего проекта (главный или генеральный конструктор, технический руководитель).
Процесс проектирования наряду с последовательно-параллельной структурой имеет обратные связи, являясь итеративными, т.е. с неоднократным уточненным повторением уже пройденных этапов. К таким обратным связям относятся, в частности, и упомянутые выше корректировки технической документации по результатам испытаний и эксплуатации.
Проектирование новой мехатронной системы – это всегда противоречивая задача для разработчика: с одной стороны, существует естественное стремление использовать все последние достижения науки и техники в данной области, а с другой этому препятствуют многочисленные ограничения по срокам, стоимости, материальным ресурсам и др., оговоренные в техническом задании и еще реально существующие вне их. Выход здесь один – это компромисс в виде оптимальной преемственности с ранее созданными подобными системами и их компонентами. Основным средством для этого является, как известно, унификация. Иногда в техническом прямо оговаривается степень (процент) унификации.
Что касается творческой части проекта, то она заключается в изобретательстве, т.е. в предложении и использовании новых технических идей – способов и устройств для более эффективного решения стоящих инженерных задач.
Хотя изобретательство как всякий творческий процесс не поддается формализации, однако общий порядок и отдельные этапы этого процесса могут быть формализованы, что существенно повышает его эффективность.
Общий порядок изобретательства можно представить так:
- определение к какому роду мехатронная система относится подлежащее созданию новая система (индукция) и построение обобщенной модели систем этого рода;
- выделение из этого рода прототипов того же или близкого назначения и анализ их достоинств и недостатков;
- собственно изобретение – поиск новых вариантов искомого (дедукция);
- сравнительный анализ этих вариантов и прототипов и формулировка новизны окончательного решения рассматриваемой технической проблемы.
Хотя творческий процесс идет подсознательно, можно назвать следующие три типа интуитивного мышления, часто отмечаемые крупными проектантами-практиками:
1. Формирование мехатронных систем с требуемыми новыми свойствами на основе комбинаций известных решений.
2. Поиск нужных идей на основе ассоциаций в окружающем мире, включая живой, т.е. использование решений, существующих в других известных сферах.
3. Создание на основе воображения и фантазии идеализированных образцов желаемых систем и нахождение путей их реализации.
Изобретения могут иметь различную степень новизны, различный уровень от усовершенствования известного прототипа до новой идеи и открытия. Последнее уже выходит за рамки инженерного творчества и относится к творчеству научному. Между научным и инженерным творчеством, как уже упоминалось, имеется принципиальное различие. В науке – это открытия новых фактов и закономерностей, а в инженерно-технической области – это создание на основе этих закономерностей новых образцов техники. Правда, нередко при этом получаются и новые научные данные вплоть до открытий. Наиболее часто это происходит при создании принципиально новых видов техники, что сами по себе должно рассматриваться как научная деятельность, поскольку такие разработки не могут полностью базироваться на научно обоснованных методах расчетов, конструирования и т.д.
1.2 Теоретические основы проектирования мехатронных систем
С позиций кибернетики и прежде всего теории управления проектирование можно рассматривать как процесс управления и соответствующую ему систему управления. Такой системный подход к проектированию технических систем предложено было даже назвать «инженерной кибернетикой». Для теоретического осмысления процесса проектирования и разработки на этой основе инженерных методов проектирования технических систем могут быть применены математический аппарат и методология этих наук: математическое моделирование, методы оптимизации решений, методы управления и исследования больших систем. Действительно, как можно видеть из рисунке 1, система проектирования может рассматриваться как система управления с общей и местными обратными связями, параллельными прямыми каналами и несколькими иерархическими уровнями. Модель такой системы может быть в простейшем случае детерминированной и даже одноконтурной и стационарной, а может быть сетевой, вероятностной, теоретико-игровой, информационной, эвристической.
Сетевые модели, в частности, широко используется для планирования процесса проектирования во времени. Основа сетевых моделей (сетевых графиков) – теория графов. Сетевые модели удобны для оптимизации процесса проектирования (путем сокращения критического, т.е. наиболее длинного пути и выравнивания длин всех параллельных путей). Основные принципы такой оптимизации: распараллеливание работ, распределение ресурсов между ними в пользу критических путей, организационные и технологические изменения работ с целью сокращения их длительности. В информационных моделях процесс проектирования трактуется как процесс переработки информации. В основе эвристических моделей лежат неформализуемые эвристические методы и приемы.
Наиболее важная задача при разработке модели системы проектирования – разбиение ее на части, образующие структурную схему системы проектирования. Здесь необходим системный подход к создаваемой мехатронной системе. Прежде всего анализируются все внешние связи и формализуются в виде входных и выходных воздействий, как положено в теории автоматического управления. Затем выделяются функциональные части с учетом их взаимодействия. В результате составляется структурная схема системы проектирования, включающая все её части и все перечисленные выше этапы процесса проектирования.
Следующая задача – разработка алгоритма процесса проектирования, соответствующего структуре схеме проектирования. Как говорилось выше, этот алгоритм будет обязательно интерактивным. На каждом шаге итерации разработчик ищет возможно наиболее совершенное решение, постепенно уточняя и усложняя задачу. В начале он работает в рамках содержания технической задачи, а заканчивает наиболее полным представлением о модели создаваемой системы в виде рабочего проекта.
Следующая задача процесса проектирования – разработка укрупненного плана решения задачи в виде последовательности действий (этапов) от технической задачи до готового проекта, то есть разработка стратегии проектирования. Для каждого такого действия должна быть выбрана методика. В результате стратегия проектирования представляется в виде совокупности последовательно применяемых методик.
Существует пять основных типов стратегий: линейная, циклическая, разветвленная, адаптивная и случайная. Линейная стратегия состоит из цепочки последовательных действий (этапов), каждое из которых зависит только от результата предыдущего действия и не зависит от последующих. Это наиболее простая стратегия, соответствующая одноконтурной структуре системы проектирования без обратных связей.
Циклическая стратегия реализует итеративный процесс синтеза, когда после получения результатов очередного действия осуществляется возврат к одному из предыдущих действий и его уточненное повторение. В структуре системы проектирования этому соответствуют местные обратные связи. Это более сложная стратегия по сравнению с линейной. Наличие замкнутых контуров может создать для проектировщика «порочный круг», выход из которого потребует изменения самой структуры системы.
Разветвленная стратегия включает параллельные и конкурирующие действия (этапы), то есть операции «и» и «или», по результатам которых производится изменение стратегии, т.е. структуры. Адаптивная стратегия предполагает определение сначала только первого действия, а выбор последующего осуществляется в зависимости от результата первого действия и т.д. Структура системы проектирования при такой стратегии является самоорганизующейся. Это наиболее совершенная, но и сложная стратегия. Ее недостаток – в непредсказуемости сроков и соответственно стоимости проекта. Случайная стратегия основана на случайном поиске решения и не имеет плана действий.
Реальные стратегии проектирования и соответствующие им системы проектирования обычно представляют собой комбинацию перечисленных выше типовых стратегий и структур системы. На всех этапах проектирования частей системы разработчик обычно в разной последовательности выполняет следующие типовые процедуры: синтез, анализ, принятие решения, создание моделей. При этом на каждом последующем этапе эти процедуры уточняются и углубляются.
Процедура синтеза – это формирование принципов действия и технических решений задачи.
Анализ – это в данном случае, прежде всего проведение и оценка результатов математических и экспериментальных исследований.
Принятие решения – типовая процедура при проектировании новой системы, заключающаяся в выборе наилучшего, неизбежно компромиссного решения из некоторого множества вариантов (альтернатив). Наилучшее решение – это решение оптимальное по определенным критериям качества в рамках заданных в техническом задании ограничений на характеристики. Как правило, критериев и ограничений несколько. Именно поэтому принятие решения – задача всегда компромиссная.
Если варианты решения можно описать математически, появляется возможность формализовать задачу принятия решения на базе теории оптимизации и применения ЭВМ. Для этого используют известные методы оптимизации (поисковые, аналитические, численные, комбинаторные, теоретико-игровые, стохастические, эвристические).
На практике часто возникает проблема оптимизации качественных характеристик. В этом случае, чтобы применить количественные методы оптимизации, необходимо предварительно решить задачу оценки этих характеристик. Для этого составляется множество допустимых оценок, а затем в его рамках определяется оценка каждого рассматриваемого объекта. Делается это с помощью опроса специалистов (экспертиза, анкетирование и т.п.) и специальной обработки результатов их оценок (например, методами математической статистики с использованием дисперсии оценок как меры согласованности мнений экспертов и т.п.).
Разновидностью определения множества допустимых оценок является задача ранжирования. Здесь множество объектов упорядочивается в систему путем расстановки их по убыванию или возрастанию некоторого количественно неизмеряемого признака. Ранг объекта – это его место в этой последовательности.
Существует ряд методов экспертных оценок: Дельфи, ПАТТЕРН, методы, основанные на теории нечетких множеств и др. Так, в методе Дельфи, разработанном в 1963 г. в корпорации РЭНД (Хелмером и Далки), используется идея обратной связи путем анонимного ознакомления экспертов с мнениями их коллег, высказанными на предыдущих турах опроса. По методу ПЕТТЕРН или прогнозного графа, разработанного той же фирмой, на основе экспертных оценок строится дерево решений как модели сложной сети взаимосвязей. После этого сложная задача разбивается на более простые подзадачи, каждая из которых отрабатывается на ЭВМ.
Именно корпорация РЭНД ввела в 1948 году термин «системный анализ», под которым понимались методы исследования сложных систем, для которых формальные математические методы недостаточны и их необходимо дополнить эвристическими методами, основанными на интуиции и опыте. В дальнейшем понятие системный анализ приобрело более широкий смысл, охватив все и математические и эвристические методы, объединенные концепцией системного подхода к анализу и ориентированные прежде всего на сложные системы.
Моделирование мехатронных систем – это основное средство как анализа, так и синтеза проектируемых систем. Существуют три основных типа моделей: эвристические, физические и математические. Эвристические модели формируются в воображении проектантов в виде совокупности некоторых образов и аналогий, выражающих проектные идеи общего образа будущей системы. Эвристические модели – это основа новых технических решений и постановки задач проектирования.
Физическая модель может иметь ту же или другую физическую природу по сравнению с проектируемым изделием. В первом случае моделирование основано на теории подобия и заключается в изменении масштаба.
Создание моделей другой физической природы чем у проектируемого изделия основано на понятии изоморфизма, то есть взаимном соответствии физически различных явлений, когда протекающие в них процессы имеют одинаковое математическое описание.
Физическое моделирование особенно важно при рассмотрении процессов, которые недоступны для наблюдения или невоспроизводимы из-за масштабности, энергетики, продолжительности и т.п. При физическом моделировании достаточно сложных технических систем часто применяют оба типа моделей для различных частей системы – без изменения и с изменением физической природы.
Математическое моделирование основано на математическом описании рассматриваемой системы, пригодном для её решения на современных ЭВМ, что и является её математической моделью. Каждый объект моделирования может иметь множество математических моделей, описывающих определенные свойства этого объекта.
Существую три основных типа математических моделей, ориентированные на моделируемые объекты различной сложности:
- аналитические;
- имитационные;
- семиотические.
Аналитические модели применимы для достаточно простых объектов. Они основаны на математическом описании реальных физических процессов, происходящих в объекте. Адекватность модели объекту устанавливается сопоставлением ее с результатами экспериментального исследования объекта. Эта операция называется идентификацией и для нее разработаны соответствующие методики.
Имитационные модели применяются для более сложных объектов, для которых отсутствует аналитическое их описание или оно слишком сложно для использования в ЭВМ. Имитационная модель адекватно описывает зависимость выходных переменных от входных, включая возмущения. При этом объект рассматривается как «черный ящик» с неизвестным принципом действия и структурой.
Вариантом имитационной модели является ассоциативная модель, которая имитирует принцип действия мозга при формировании моделей объектов внешней среды путем обучения. Модель автоматически синтезируется в ассоциативном запоминающем устройстве в результате накопления в нем снимаемых с моделируемого реального объекта множества дискретных значений выходных реакций на конкретные входные воздействия. Такая ассоциативная модель позволяет выполнять интерполяцию и распознавать ситуацию на входе по неполному набору составляющих входного воздействия. Для технических систем с известной структурой имитационные модели составляются для отдельных ее частей. Если для некоторых из этих частей возможно получить аналитическую модель, в целом получится комбинированная имитационно-аналитическая модель системы.
Семиотические модели применяются для наиболее сложных объектов, когда возможно только лингвистическое их описание. Для таких моделей необходимы специальные языки близкие к естественному, но допускающие их использование в ЭВМ. Семиотические модели создаются на основе экспертных оценок, по которым составляется таблица соответствий выходных реакций системы и возможных ситуаций (состояние системы, входные воздействия). По существу, здесь тот же подход к моделируемому объекту как к «черному ящику», что и при имитационном моделировании, однако вместо математического используется лингвистическое описание.
Семиотическое моделирование основано на методах искусственного интеллекта и воспроизводит процессы в мозгу человека поформированию моделей объектов внешней среды при ее изучении и выработке поведенческих реакций на внешние ситуации. Поэтому семиотические модели можно даже выделить из математических моделей в отдельный тип моделей.
Математическое моделирование вместе с натурными экспериментами на макетах, а затем и образцах создаваемого изделия –основной арсенал средств на всех этапах проектирования. Наиболее эффективно их комплексное применение, которое позволяет получить результаты недостижимые для каждого из этих средств в отдельности.
1.3 Модели жизненного цикла
Архитектура и функциональность системы. Для разработки данной системы необходимо решить ряд задач: выбор модели жизненного цикла; анализ бизнес-процессов на предприятии; разработка архитектуры системы; выбор комплекса программных средств для разработки; разработка базы данных системы; написание приложений.
Рассмотрим существующие модели жизненного цикла изделия. Выделяют каскадную, водопадную и спиральные модели жизненного цикла. Каскадная модель жизненного цикла изделия представлена на рисунке 2.

Рисунок 2 - Каскадная модель жизненного цикла.
Положительные стороны применения каскадного подхода:
- на каждом этапе формируется законченный набор проектной документации, отвечающий критериям полноты и согласованности;
- выполняемые в логичной последовательности этапы работ позволяют планировать сроки завершения всех работ и соответствующие затраты.
Основным недостатком каскадного подхода является существенное запаздывание с получением результатов.
Реально же жизненный цикл представляется следующей моделью, называемой водопадной моделью, представленной на рисунке 3. Данная модель позволяет обращаться к предыдущим этапам на каждом шаге жизненного цикла. Таким образом, корректировка шагов позволяет придти к оптимальному варианту, который устроит заказчика.

Рисунок 3 - Водопадная модель жизненного цикла.
В спиральной модели жизненного цикла приоритетными являются начальные этапы: анализ и проектирование. Реализуемость технических решений проверяется путем создания прототипов. Каждый виток спирали соответствует созданию нового фрагмента или версии системы, на нем уточняются цели и характеристики проекта, определяется его качество, и планируются работы следующего витка спирали. Один виток спирали при этом представляет собой законченный проектный цикл по типу каскадной схемы. Такой подход называется также "Продолжающимся проектированием". Позднее в проектный цикл дополнительно стали включать стадии разработки и испытания прототипа системы.
На многих этапах жизненного цикла проходят различные виды испытаний, исходя из результатов которых, принимается решение о приемке версии данного этапа или ее корректировки. Таким образом, можно сделать вывод о применении к их жизненному циклу спиральной модели жизненного цикла.
Был проведен анализ бизнес-процессов предметной области и выделены схемы, описывающие этапы жизненного цикла. Пример схемы бизнес-процессов для этапа анализа заказа приведен на рисунке 4. На этапе анализа заказа происходит формирование уровня качества изделий; изыскание принципов и путей, обоснование возможности и целесообразности создания системы; проведение работ заказчиком по формированию исходных требований к системам, комплексам, образцам, их составным частям и материалам в соответствии с директивными указаниями, фундаментальными, поисковыми научно-исследовательскими работами, отечественной и зарубежной информацией о достижениях науки и техники; заключение договора и оплата; разработка и выдача тактико-технических заданий на выполнение научно-исследовательских работ и опытно-конструкторских работ до начала выполнения исполнителями указанных работ.

Рисунок 4 - Схема бизнес-процессов на этапе анализа заказа.
Проанализировав схемы бизнес-процессов в предметной области, были выделены следующие подсистемы:
- подсистема “Анализ заказа” – автоматизирует бизнес-процессы анализа проступившего заказа, подписания договора и расчета сметы затрат;
- подсистема “Конструкторская документация” – управляет разработкой конструкторской документацией для мехатронной системы;
- подсистема “Технологическая документация” - управляет разработкой технологической документацией мехатронной системы;
- подсистема “Эксплуатационная документация”- управляет разработкой эксплуатационной документации для мехатронной системы;
- подсистема “Испытания” – управляет данными обо всех испытаниях мехатронной системы и производстве опытных образцов;
- подсистема “Поставки” – оптимизация работы с поставщиками покупных изделий;
- подсистема “Производство” – управление процессом производства мехатронной системы;
- подсистема “Эксплуатация” – управляет данными о монтаже, пуске, обработке и эксплуатации мехатронной системы;
- подсистема “Ремонт” – управляет информацией о ремонте и технадзоре;
- подсистема “Управление проектами” – позволяет руководителю распределять работы между сотрудниками и управлять доступом к проектам.
Архитектура системы представлена на рисунке 5.

Рисунок 5 - Архитектура системы.
2 Основные идеи технологии CALS
CALS-технологии (англ. Continuous Acqusition and Life cycle Support - непрерывная информационная поддержка поставок и жизненного цикла) - cовременный подход к проектированию и производству высокотехнологичной и наукоемкой продукции, заключающийся в использовании компьютерной техники и современных информационных технологий на всех стадиях жизненного цикла изделия, обеспечивающая единообразные способы управления процессами и взаимодействия всех участников этого цикла: заказчиков продукции, поставщиков/производителей продукции, эксплуатационного и ремонтного персонала, реализованная в соответствии с требованиями системы международных стандартов, регламентирующих правила указанного взаимодействия преимущественно посредством электронного обмена данными.
Информационная поддержка процессов жизненного цикла изделий - русскоязычный аналог понятия CALS.
Основными компонентами CALS-технологий являются:
- инструментальный комплекс технических и программных средств автоматизированного проектирования изделий (CAD - Computer Aided Design);
- системы автоматизации технологической подготовки производства (CAM - Computer Aided Manufacturing);
- системыинженерногоанализа (CAE - Computer Aided Engineering);
- средства реализации технологии параллельного тотального проектирования в режиме группового использования данных (Concurrent Engineering);
- система управления проектными и инженерными данными (EDM - Enterprise Data Management);
- системы визуализации всего процесса разработки документации;
- мощные средства обмена данными;
- мощные средства разработки прикладного программного обеспечения;
- методики анализа процессов проектно-технологической, производственной и управленческой деятельности.
Переходу к CALS технологиям способствовал успех CAD/CAM индустрии в объемном твердотельном проектировании, генерации точных траекторий механообработки, эффективном получении чертежей, создании систем управления данными. Однако, традиционные CAD/CAM системы используют только геометрию детали (в лучшем случае конструкторско-технологическую текстовую информацию об изделии), они не обеспечивают создание и ведение единой конструкторской библиотеки деталей, узлов, сборочных единиц, значительно ускоряющих процесс проектирования изделий. Кроме того, традиционные системы не обеспечивают интегрированную информационную поддержку всех участников процесса проектирования, производства, эксплуатации и обслуживания изделий.
Применение CALS-технологий позволяет существенно сократить объемы проектных работ, так как описания многих составных частей оборудования, машин и систем, проеткировавшихся ранее, хранятся в унифицированных форматах данный сетевых серверов, доступных любому пользователю технологий CALS. Существенно облегчается решение проблем ремонтопригодности, интеграции продукции в различного рода системы и среды, адаптации к меняющимся условиям эксплуатации, специализации проектных организаций и т.п. Предполагается, что успех на рынке сложной технической продукции будет немыслим вне технологий CALS.
Развитие CALS-технологий должно привести к появлению так называемых виртуальных производств, в которых процесс создания спецификаций с инфорамцией для программно управляемого технологического оборудования, достаточной для изготовления изделия, может быть распределен во времени и пространстве между многоими организационно автономными проектными студиями. Среди несомненных достижений CALS-технологий следует отметить легкость распространения передовых проектных решений, возможность многократного воспроизведения частей проекта в новых разработках и др.
Построение открытых распределенных автоматизированных систем для проектирования и управления в промышленности составляет основу современных CALS-технологий. Главная проблема их построения - обеспечение единообразного описания и интерпретации данных, независимо от места и времени их получения в общей системе, имеющей масштабы вплоть до глобальных. Структура проектной, технологической и эксплутационной документации, языки её представления должны быть стандартизированными. Тогда становится реальной успешная работа над общим проектом разных коллективов, разделенных во времени и пространстве и использующих разные CAE/CAD/CAM-системы. Одна и та же конструкторская документация может быть испльзована многократно в разных проектах, а одна и та же технологическая документация - адаптирована к разным производственным условиям, что позволяет существенно сократить и удешевить общий цикл проектирования и производства. Кроме того, упрощается эксплуатация систем.
Для обеспечения информационной интеграци и CALS использует стандарты IGES и STEP в качестве форматов данных. В CALS входят также стандарты электронного обмена данными, электронной технической документации и руководства для усовершенствования процессов. В последние годы работа по созданию национальных CALS-стандартов проводится в России под эгидой Госстандарта РФ. С этой целью создан Технический Комитет ТК431 «CALS-технологии», силами которого разработан ряд стандартов серии ГОСТ Р ИСО 10303, являющихся аутентичными переводами соответствующих международных стандартов (STEP).
2.1 Пример задачи, рашаемой при помощи CALS-технологий
Согласно проведенным исследованиям турбина за время своего существования проходит следующую совокупность этапов жизненного цикла : маркетинговые исследования, составление технического задания, проектирование, технологическая подготовка производства, изготовление, поставка, эксплуатация, ремонт, утилизация. В производстве турбин и турбинного оборудования можно выделить две основные особенности: во-первых, турбинный завод является основным участником жизненного цикла описываемого оборудования практически на протяжении всего его существования, во-вторых, жизненный цикл турбины отличается большой продолжительностью этапа эксплуатации, а также других, постпроизводственных этапов жизненного цикла. На первом этапе разработки системы непрерывной информационной поддержки жизненного цикла турбин и турбинного оборудования необходимо создание единого информационного пространства в рамках турбинного завода.
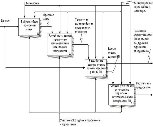
Ключевым принципом CALS-технологий является отображение реальных бизнес-процессов на виртуальную информационную среду, где эти процессы реализуются в виде компьютерных систем, а информация существует только в электронном виде. На рисунке 6 представлен верхний уровень функциональной модели (контекстная диаграмма) проекта "Применение CALS-технологий в жизненном цикле турбин и турбинного оборудования".

Рисунок 6 - Концептуальная модель системы. Верхний уровень функциональной модели (контекстная диаграмма) проекта "Применение CALS-технологий в жизненном цикле турбин и турбинного оборудования".
Целью построения данной функциональной модели является анализ возможности и путей применения концепции CALS в жизненном цикле турбин и турбинного оборудования.
Согласно стандарту на контекстной диаграмме концептуальная модель представлена в виде единственной работы (функции) - "Обеспечить поддержку жизненного цикла турбин и турбинного оборудования". Основным результатом выполнения этой работы является повышение эффективности бизнес-процессов на всех этапах жизненного цикла турбин и турбинного оборудования (стрелка выхода). Исполнителями (механизмами) этой работы являются все участники жизненного цикла турбин и турбинного оборудования, в первую очередь - маркетинговые, проектные и производственные подразделения турбинного завода, транспортная и монтажная организация, электрическая станция и ремонтное предприятие. Для получения требуемого результата работы используются информационные ресурсы участников жизненного цикла турбин и турбинного оборудования (стрелка входа). В качестве управляющих воздействий в модели рассматриваются международные и российские стандарты; внутренние стандарты и правила; информационные технологии, лежащие в основе обеспечения связи и взаимодействия участников жизненного цикла турбин и турбинного оборудования.
Первая декомпозиция описываемой модели представлена на рисунке 7.

Рисунок 7 - Концептуальная модель системы. Первая декомпозиция.
В качестве основных работ приняты три функции:
1. представление данных о турбинах и турбинном оборудования в электронном виде. В качестве данных мы рассматриваем информационные объекты, которые порождаются на всех этапах жизненного цикла турбин и турбинного оборудования: от маркетинговых исследований до утилизации турбин и оборудования. Данная функция является первым этапом создания единого информационного пространства для предприятий-участников жизненного цикла турбин и турбинного оборудования;
2. интеграция данных о турбинах и турбинном оборудовании в рамках единого информационного пространства. Основным содержанием этой работы является выбор и согласование протоколов связи между предприятиями-участниками жизненного цикла турбин и турбинного оборудования, выбор и согласование единой технологии взаимодействия прикладных компонентов, создание единой модели данных и создание в этих условиях виртуального предприятия, которое обеспечит объединение затрат, навыков и доступ на глобальные рынки всех участников. Именно виртуальное предприятие может обеспечить потребителей тепловой и электрической энергии конкурентоспособными турбинами, соответствующими современным требованиям рентабельности, надежности и эффективности;
3. реинжиниринг бизнес-процессов жизненного цикла турбин и турбинного оборудования. Реинжинирингом является изменение структуры бизнес-процессов жизненного цикла турбин и турбинного оборудования на всех этапах.
Преобразование информационных ресурсов (стрелка входа) в электронные данные происходит под управлением требований информационных технологий (стрелка управления "технологии"), российских и международных стандартов, а также внутренних стандартов и правил (см. блок 1 на рисунке 7). Анализ действующих в настоящее время стандартов в России показал, что наряду с ГОСТами и руководящими документами, соответствующим требованиям CALS-технологий (стандарты России серии ГОСТ Р ИСО 10303 и руководящие документы серии Р50.1.), значительное число Российских стандартов требует приведения в соответствие с международными. В первую очередь это относится к стандартам ЕСКД (Единая система конструкторской документации) и ЕСТД (Единая система технологической документации). На турбинных заводах, кроме того, имеются отраслевые стандарты (ОСТ) и правила, которые также не соответствуют требованиям CALS-технологий. При разработке системы информационной поддержки жизненного цикла турбин и турбинного оборудования следует выбирать следующие приоритеты: при создании документации в электронном виде приоритет должен отдаваться российским стандартам, соответствующим требованиям CALS-технологий, а в случае их отсутствия – стандартам, рекомендованным ISO, и в первую очередь – ISO 10303 STEP и ISO 13584 PLIB. В случае создания документации на бумажном носителе приходится придерживаться российских стандартов, что связано с необходимостью обеспечения деятельности производственных подразделений турбинных заводов.
Еще одним управляющим воздействием является стрелка "Новые правила бизнеса", представляющая обратную связь по управлению работы "Выполнить реинжиниринг…" (блок 3, рисунке 7). Наличие обратной связи свидетельствует о наличии требований изменения структуры электронных документов под воздействием изменившихся правил бизнеса.
Вопросы интеграции данных и создания виртуального предприятия решаются соответствующей функцией (работой) – см. блок 2 на рисунке 7. Главной особенностью этой работы является наличие двух стрелок выхода: стрелка "Виртуальное предприятие" и стрелка "Повышение эффективности БП на этапах жизненного цикла турбин и турбинного оборудования", мигрировавшая с контекстной диаграммы. Интеграция данных о турбине и турбинном оборудовании, порождаемых на всех этапах, происходит в рамках виртуального предприятия . Управляющие воздействия для этой функции – требования стандартов (международных и российских) и возможности используемых технологий. В силу существенных различий во внутренних стандартах (ОСТах) предприятий-участников виртуального предприятия, их использование для задач интеграции данных нецелесообразно.
Третья функция на диаграмме декомпозиции – "Выполнить реинжиниринг бизнес-процессов". Необходимость в реинжиниринге очевидна: все предприятия российской экономики сегодня нуждаются в той или иной мере в реорганизации своих бизнес-процессов. Более того, опыт развитых стран показывает, что в высокотехнологичных отраслях экономики реинжиниринг бизнеса происходит практически непрерывно. Реорганизация бизнес-процессов, несомненно, имеет свои особенности у каждого участника виртуального предприятия, однако реинжиниринг должен происходить под управлением требований, накладываемых задачами интеграции участников в виртуальное предприятие. В связи с этим данная работа (см. блок 3 на рисунке 7) имеет пять стрелок управления. В свою очередь, новые правила бизнеса, выработанные в результате реинжиниринга бизнес-процессов у всех участников виртуального предприятия, оказывают управляющее воздействие на функцию "Представление данных о турбинах и турбинном оборудования в электронном виде", о чем свидетельствует наличие обратной связи по управлению.
Дальнейшая декомпозиция концептуальной модели системы раскрывает структуру системы информационной поддержки жизненного цикла турбин и турбинного оборудования. Декомпозиция работы "Представить данные о турбине и турбинном оборудовании в электронном виде" (блок 1, рисунке 7) представлена на рисунке 8, здесь же необходимо отметить следующее.

Рисунок 8 - Концептуальная модель системы. Декомпозиция А1 – "Представить данные о турбине и турбинном оборудовании в электронном виде"
Наиболее важная для всех последующих этапов жизненного цикла турбин – функция "Выполнить проектирование турбин и турбинного оборудования" (блок 1.2, рисунке 8). В описываемой концептуальной модели данная функция представляет собой объединение двух этапов – проектирование конструкции и проектирование технологии. Особая важность этого этапа жизненного цикла подтверждается статистическими данными: как показывает отечественный опыт, 50-70% имеющихся дефектов в готовой машиностроительной продукции вызваны ошибками в конструкторских решениях, 20-30% – недостатками технологии изготовления, 5-15% – возникают по вине рабочих. Информационные объекты, выполненные на этапах создания конструкции турбин и турбинного оборудования, в значительной мере могут быть представлены в электронном виде, поскольку степень развитости автоматизированных систем конструкторских работ (САПР) существенно выше, чем систем автоматизации технологической подготовки производства (АСТПП). Этому есть объективные причины: конструкторские системы в значительной степени универсальны, поэтому разработчики программного обеспечения больший интерес проявляют именно к этим системам. Системы технологической подготовки производства в большей степени обладают индивидуальными особенностями, характерными для конкретного производства, поэтому можно говорить о некотором отставании уровня АСТПП от САПР. Тем не менее, для турбинного производства, характеризующегося значительной долей сборочных операций и операций по обработке металлов резанием (они являются в достаточной степени формализуемыми и моделируемыми графическими твердотельными образами), эта проблема имеет хорошие перспективы к разрешению.
Электронные представления результатов технического проектирования турбины являются в большей степени промежуточными, необходимыми в первую очередь для дальнейшей разработки конструкции. Результаты рабочего проектирования, помимо производственных задач, представляют интерес и для маркетинговой, и эксплуатирующей организации, и, возможно, в первую очередь для ремонтной организации. Исходя из этого формы представления ИО этапа рабочего проектирования значительно более широкие.
Основной особенностью эксплуатационной документации является сам подход к ее созданию. В рамках концепции CALS информационная поддержка процессов эксплуатации изделий обеспечивается путем использования интерактивных электронных технических руководств (ИЭТР). Процесс подготовки ИЭТР должен представлять собой автоматическую процедуру генерации электронной документации с возможностью редактирования. Только таким образом обеспечивается преемственность и непротиворечивость информации.
Одна из основных задач технологической подготовки производства – обеспечение технологичности конструкции, несомненно, должна решаться непосредственно в процессе проектирования конструкции турбин и турбинного оборудования. Таким образом, по мере проведения работ по реинжинирингу производственных процессов все более обоснованно следует говорить о конструкторско-технологической подготовке производства.
Отдельной задачей является разработка программ для станков с ЧПУ. Широкое использование достижений САМ-технологий (САМ – Computer Aided Manufacturing), использование трехмерных твердотельных моделей деталей и узлов турбин для автоматизированной разработки постпроцессоров обеспечат управление информационными ресурсами на этапе конструкторско-технологической подготовки производства. На сегодня вопросы автоматизации технологической подготовки производства на турбинных заводах, как и на большинстве машиностроительных заводов России, весьма далеки от своего решения. Однако отдельные весьма успешные примеры движения в этом направлении внушают оптимизм.
Для реализации функции "Сформировать данные этапа изготовления и контроля качества" (см. рисунке 8, блок 1.3) силами подразделений турбинного завода, необходимо наличие единого информационного пространства предприятия. На рисунке 9 представлена структура корпоративной информационной среды турбинного завода. Корпоративная информационная среда рассматривается состоящей из двух связанных и взаимозависимых информационных систем, которые различаются по возложенным на них функциям. Первая информационная система – производственная, обеспечивает информационную поддержку основного, производственного сегмента деятельности турбинного завода. Вторая - информационная система обеспечения, создает информационную поддержку остальных спектров деятельности предприятия.

Рисунок 9 - Структура корпоративной информационной среды турбинного завода.
Фундаментом, как первой, так и второй информационной системой, является база данных. В силу различия функций двух информационных систем, базы данных имеют различную направленность. Производственная информационная сисема ориентирована на управление данными об изделии, в данном случае – турбоустановки, поэтому фактически является базой данных изделий. Информационная система обеспечения, которая ориентирована на подготовку производства и обеспечение его технологическими, финансовыми, людскими ресурсами, является базой данных предприятия. Система управления базой данных является единой как для базы данных изделий, так и для базы данных предприятия.
Для интеграции подсистем, выполняющих управление такими аспектами деятельности турбинного завода как управление финансами, персоналом, сбытом продукции, материально-техническим обеспечением и пр., предназначена система планирования ресурсов – ERP-система (Enterprise Resource Planning).
Для интеграции подсистем, базирующихся на базе данных изделий, и выполняющих поддержку основных, производственных функций турбинного завода, предназначена система управления данными об изделиях – PDM-система (Product Data Management).
Согласно концептуальной модели, представленной на рисунке 7, второй функцией (работой) на первой диаграмме декомпозиции является функция "Обеспечить интеграцию данных о турбине и турбинном оборудовании". Декомпозиция этой функции представлена на рисунке 10, здесь же необходимо отметить следующее.

Рисунок 10 - Диаграмма декомпозиции A2 - "Обеспечить интеграцию данных о турбине и турбинном оборудовании".
Особое значение вопросы интеграции данных об оборудовании приобретают на постпроизводственных этапах жизненного цикла турбин и турбинного оборудования. Одной из стрелок выхода на диаграмме А2 (см. рисунок 10) является стрелка с названием "Виртуальное предприятие". В связи с большой номенклатурой оборудования, имеющегося на эксплуатирующем предприятии (электростанции), оно, с точки зрения CALS-технологий, может быть участником целого ряда виртуальных предприятий. Для обеспечения поддержки жизненного цикла различных элементов оборудования создается интегрированная информационная среда электростанции, фундаментом которой является база данных предприятия и управляющая СУБД. В состав интегрированной информационной среды входят различные подсистемы, охватывающие все аспекты деятельности электростанции: "Управление персоналом", "Управление финансами", "Бухгалтерия", "Управление материально-техническим снабжением", "Управление эксплуатацией оборудования", "Техническое обслуживание и ремонт" и другие. Кроме этого, в составе интегрированной информационной среды должна быть подсистема, обеспечивающая поддержку жизненного цикла оборудования электростанций. Аналогичные подсистемы должны быть в составе информационных систем масштаба предприятия у каждого из участников жизненного цикла турбин и турбинного оборудования.
Система информационной поддержки жизненного цикла турбин и турбинного оборудования по своим принципиальным и технологическим аспектам с точки зрения информационных технологий не должна существенно отличаться от технологии организации любого другого электронного бизнеса. Основой электронного бизнеса в последние годы стали Internet-технологии, то есть технологии, основанные на использование различных служб Всемирной Паутины (World Wide Web – WWW). Новые технологии телекоммуникаций, сопровождающиеся резким увеличением пропускной способности каналов, в совокупности со снижением стоимости их использования, приводят к тому, что в ближайшее время основным режимом использования Internet станет режим on-line.
Сегодня Internet обеспечивает надежный и дешевый обмен информацией между узлами сети. Для виртуального предприятия, обеспечивающего непрерывную информационную поддержку жизненного цикла турбин и турбинного оборудования, надежная, устойчивая коммуникация является, пожалуй, одним из основных условий существования. Технология Internet на сегодня является единственной, которая позволяет добиться более высокого качества коммуникаций при меньших расходах, включая возможности обмена мультимедийной информацией в реальном масштабе времени (в частности, звуковой и видео информацией).
Виртуальное предприятие для информационной поддержки жизненного цикла турбин и турбинного оборудования создается путем отбора требующихся организационно-технологических ресурсов от различных предприятий и их интеграции с помощью компьютерной сети Internet в гибкую и динамическую структуру, приспособленную для скорейшего выпуска новой продукции и ее оперативной поставки на рынок.
Схема виртуального предприятия указана на рисунке 11.

Рисунок 11 - Схема виртуального предприятия
Заключение
И так, рассмотрев основные принцыпы проектирования жизненного цикла мехатронных систем, можно выделить следующие критерии, необходимые для создания мехатронной системы:
- децентрализация управления вплоть до конструктивного встраивания устройств управления отдельными частями системы в эти части. Последнее позволяет удешевить всю систему в целом, повысить ее надежность и быстродействие за счет сокращения связей, распараллеливания и иерархического построения информационных процессов и процессов управления. Для таких систем разработаны различные варианты структур с сильными и со слабыми связями (распределенные системы). А также методы их проектирования;
- обеспечение значительно большей надежности управления, чем обычно считается приемлемым для других типов объектов. Это вызвано тем, в этих системах отказ управления, как правило, ведет к аварии всей системы. Разработаны и совершенствуются соответствующие программные методы решения этой задачи;
- широкое применение компьютерного моделирования без чего такие сложные системы, как правило, не могут быть созданы на современном научно-техническом уровне. Наряду с мехатроникой аналогичный системный подход к проектированию требуют многие технические системы. К ним, прежде всего, относятся автоматические системы, процесс проектирования которых нельзя разделить на проектирование сперва объекта управления, а затем устройства управления для него. К таким системам, в частности, относятся системы автоматического управления статически и динамически неустойчивыми, то есть неработоспособными без системы управления объектами, такими как ра кеты и некоторые другие летательные аппараты, электрические машины, и включающие их энергетические системы, работающие в режиме так называемой искусственной устойчивости, некоторые установки химической промышленности.
Список использованных источников
1. Норенков И.П. Основы автоматизированного проектирования: Учеб. для вузов. 2-е изд., перераб. и доп. М.: Изд-во МГТУ им. Н.Э.Баумана, 2002., 336 с.
2. Норенков И.П. Информационная поддержка наукоемких изделий. CALS-технологии, - М.: Изд-во МГТУ им. Н.'Э. Баумана, 2002.-320 с
3. PLM по-русски. Елена Гореткина. PC Week САПР №15
4. Система управления инженерными данными и жизненным циклом изделия ЛОЦМАН:PLM V7.1
5. IBM принимается за управление жизненным циклом. PC Week САПР №29-30
6. Выбор системы управления жизненным циклом изделия Нижегородская сетевая лаборатория NBSLABS
7. База данных: Система упраления жизненным циклом изделия специального назначенияю. Черноморов Г.А , Михайлова С. А Заявка на официальную регистрацию структры базы даннх
Похожие рефераты:
Основы проектирования и конструирования
Испытания термоэлектрического термометра
Стандатризация программных средств
Системное автоматизированное проектирование
Испытания изделий электронной техники
Автоматизация производственных систем
Разработка программного обеспечения для организации интерфейса программно-методического комплекса
Свойства и жизненный цикл организаций
Программно-технические средства CALS-технологий
Модели жизненного цикла автоматизированных информационных систем
Методы, подходы, содержания и требования к испытаниям РЭСИ
Информационные технологии во внешнеэкономической деятельности