| Скачать .docx |
Курсовая работа: Счетчик обратного отсчета
Кафедра электронно-вычислительной аппаратуры
Курсовая работа по дисциплине
«Микропроцессорные системы»
Тема “Счетчик обратного отсчета”
Москва – 2007
Оглавление
Техническое задание
Описание работы программы
Текстпрограммы
Техническое задание
Разработать программу на языке Assembler, отсчитывающую время от заданного значения до 0. Значение может быть от 0001 до 9999.
2 режима работы:
1) режим установки значения
2) режим отсчета
Ввод необходимо осуществлять с помощью стандартной шестнадцатикнопочной терминальной клавиатуры. Переход в режим установки времени необходимо осуществлять нажатием клавиши 0. Выход из режима установки времени должен происходить автоматически по окончании ввода значений всех регистров.
Описание работы программы
Логика построения программы
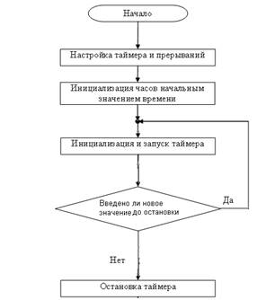
Исходя из ТЗ сформируем следующую блок-схему работы основной программы:

Устройства ввода
Для ввода данных используется стандартная шестнадцатикнопочная клавиатура, подключаемая к параллельному порту (P1). Она имеет следующий вид:

Чтобы определить, нажата или нет какая-либо клавиша-ключ, сначала нужно выставить на линии регистра-защёлки P1, которые соединяет клавиша, разные логические значения. Затем необходимо считать из регистра значения этих линий: если оба бита стали равными «0», то значит, проверяемая клавиша была нажата.
Для сокращения процедуры опроса клавиатуры будем делать опрос по «строкам»:
|
||||||||||||||||||||||||||||||||||||||||||||||||||||||||||||||||||||||||||||||||||||||||||||||||||||||||||||||||||||||||||||||||||||||||||||||||||||||||||||||||||||||||||||||||||||||||||||||||||||||||||
Чтобы просто зафиксировать факт нажатия любой из цифровых клавиш, достаточно выставить в регистр P1 слово #00001111b и ожидать на P1 значение #0000x 1xx b, где xÎ{0;1}.
Особенностью данной клавиатуры, которую надо учитывать при программировании, является наличие переходного процесса (дребезга) с длительностью
в несколько раз большей, чем время машинного цикла ОМЭВМ МК8051:

Текст программы
ORG 8000h;
jmplbMain
ORG 800Bh;
jmp intTF0
lbMain:
; конфигурируем таймер T0:
anl TMOD, #0F0h; обнуляем младшую тетраду
orlTMOD, #01h; младшую тетраду приводим к виду "0001"
clrTR0; остановка таймера T0 (таймер - не считает)
; загружаем старший и младший байты регистра таймера T0 нулями:
movTH0, #0
movTL0, #0
; настраиваем систему прерываний:
movIP, #0; все прерывания (пока) - с одинаковым низким уровнем приоритета
movIE, #10000010b; IEN0: выставили биты EA(7),ES(4),ET0(1)
;mov 0E8h, #00001011b; IEN1: выставили биты 0,1,3
mov P1, #00001111b
mov 0EBh,#0FFh;
;;;; ОПИСАНИЕ ПЕРЕМЕННЫХ: ;;;;
;регистр R0 - единицы
;регистр R1 - десятки
;регистр R2 - сотни
;регистр R3 - тысячи
;регистры R4, R5, R6 - для разных промежуточных значений
;регистр R7 - буфер для хранения значения нажатой клавиши [#0..#9] или
; значения #FFh, если клавиша не нажата
CRequ 0Dh; "возврат каретки"
LFequ 0Ah; "перевод строки"
ESCequ 1Bh; "конец сообщения"
Buf_R0 equ 20h
Buf_R1 equ 21h
Buf_R2 equ 22h
Buf_R3 equ 23h
;;;; ТЕЛО ПРОГРАММЫ: ;;;;
;задаём начальное время:
mov R0, #0;
mov R1, #2;
mov R2, #1;
mov R3, #0;
mov Buf_R0, R0
mov Buf_R1, R1
mov Buf_R2, R2
mov Buf_R3, R3
mov DPTR, #msgShowTime_Mode
call prShowMessage; вывод сообщения msgShowTime_Mode
setb TR0
mov R4, #13
lbMainLoop:
nop
clr A
add A, R0
add A, R1
add A, R2
add A, R3
jz lbFinal
call prIs_SetTime_Mode;
jmp lbMainLoop
;call prDelay;
;call prDisplay;
;call prIs_SetTime_Mode;
intTF0:
clr TF0
djnz R4, lbTF0_End;
; реализация обратного отсчёта:
decR0
cjneR0, #0FFh, lbTF0_Next1;
mov R0, #9
dec R1
cjne R1, #0FFh, lbTF0_Next1;
mov R1, #9
dec R2
cjne R2, #0FFh, lbTF0_Next1;
mov R2, #9
dec R3
cjne R3, #0FFh, lbTF0_Next1;
lbTF0_Next1: mov R4, #13
lbTF0_End: call prDisplay
reti
lbFinal:
clr TR0
mov DPTR, #msgFinal
call prShowMessage
;call prIs_SetTime_Mode;
jmp $
;;;; ОПИСАНИЕ ПРОЦЕДУР: ;;;;
;; процедура prDelay:
; lb5: movR5, #1;
;
; lb3: djnz R6, lb3
; djnz R4, lb3
; djnz R5, lb3
;
; ret
;
; prDelay:
; mov R6, #0
; mov R4, #0
; mov R5, #6
; call lb3
;
; mov R4, #244; (!!!)
; call lb5
;
; mov R4, #1
; mov R6, #118; (!!!) Это следует менять для подстройки задержки!!!
; call lb5
;
; ret
;; процедура prSmartDelay:
;; небольшая задержка, за время которой на клавиатуре успевает
;; завершиться "переходный процесс"
prSmartDelay:
movR6, #0
mov R5, #0
lbSmartDelay_Loop:
djnz R5, $
djnz R6, lbSmartDelay_Loop
ret
;; процедура prDisplay:
;; [2 на вызов]+[2 на возврат]+[7]+[1]+[1432]=[1444]
;; переводим значения R0, R1, R2 в кодировку ACSII:
lbDrawElement:
add A, #30h
call prWaitFor_TI
mov SBUF, A
ret
prDisplay:
callprWaitFor_TI
movSBUF, #CR; переводим курсор в начало строки:
mov A, R3
call lbDrawElement
mov A, R2
call lbDrawElement
mov A, R1
call lbDrawElement
mov A, R0
call lbDrawElement
callprWaitFor_TI; для выравнивания подождём передачи последнего символа
setbTI; [1] иначе - программа "зависнет"
ret; [2]
;; процедура prWaitFor_TI:
;; ожидание "готовности передачи" по последовательному порту
prWaitFor_TI:
jnbTI, $; зациклить, пока TI=0
clrTI; устанавливаем "неготовность пердачи"
ret
;; процедура prIs_SetTime_Mode:
;; [2 на вызов]+[2+1+2+2]=[9]
;; проверяет, нажата ли клавиша входа в режим установки времени;
;; такой клавишей явл. '0'
prIs_SetTime_Mode:
mov P1, #00BFh
mov A, P1
cjne A, #00BEh, lbNot_SetTime_Mode
callprSetTime; переход в режим установки таймера
lbNot_SetTime_Mode:
cjne A, #00B7h, lbNotAnyMode
mov R0, Buf_R0
mov R1, Buf_R1
mov R2, Buf_R2
mov R3, Buf_R3
lbNotAnyMode: ret
;; процедура prExam_NumKeys:
;; опрос цифровых клавиш
prExam_NumKeys:
movR7, #0FFh; допустим, что ничего не будет нажато
;опрос первого столбца клавиш:
lbKey_1:
mov P1, #00DFh
mov A, P1
cjne A, #00DDh, lbKey_2
mov R7, #1
ret
lbKey_2:
cjne A, #00DEh, lbKey_3
mov R7, #2
ret
lbKey_3:
cjne A, #00D7h, lbKey_4
movR7, #3
ret
;опрос второго столбца клавиш:
lbKey_4:
mov P1, #00EFh
mov A, P1
cjne A, #00EDh, lbKey_5
mov R7, #4
ret
lbKey_5:
cjne A, #00EEh, lbKey_6
mov R7, #5
ret
lbKey_6:
cjne A, #00E7h, lbKey_7
movR7, #6
ret
;опрос третьего столбца клавиш:
lbKey_7:
mov P1, #007Fh
mov A, P1
cjne A, #007Dh, lbKey_8
mov R7, #7
ret
lbKey_8:
cjne A, #007Eh, lbKey_9
mov R7, #8
ret
lbKey_9:
cjne A, #0077h, lbKey_0
movR7, #9
ret
;опрос четвёртого столбца клавиш:
lbKey_0:
mov P1, #00BFh
mov A, P1
cjne A, #00BDh, lbEnd_Exam_NumKeys
mov R7, #0
lbEnd_Exam_NumKeys: ret
;; процедура prWaitFor_NextKey_Pressed:
;; ждёт СЛЕДУЮЩЕГО НАЖАТИЯ, чтобы долгое нажатие не "флудило"
prWaitFor_NextKey_Pressed:
lbPrevKey_Pressed: callprSmartDelay; чтоб избежать "дребезга" клавиатуры
call prExam_NumKeys;
cjne R7, #0FFh, lbPrevKey_Pressed;
call prSmartDelay; чтоб избежать "дребезга" клавиатуры
lbNo_NextKey_Pressed: call prExam_NumKeys
cjne R7, #0FFh, lbNextKey_Pressed
jmp lbNo_NextKey_Pressed
lbNextKey_Pressed: ret
;; процедура prSetTime:
;; режимустановкитаймера:
prSetTime:
clrEA
mov DPTR, #msgSetTime_Mode
call prShowMessage; вывод сообщения msgSetTime_Mode
call prDisplay
;регистр R3:
call prWaitFor_NextKey_Pressed;
mov R3, 07
call prDisplay
;регистр R2:
call prWaitFor_NextKey_Pressed
mov R2, 07
call prDisplay
;регистр R1:
call prWaitFor_NextKey_Pressed
mov R1, 07
call prDisplay
;регистр R0:
call prWaitFor_NextKey_Pressed
mov R0, 07
call prDisplay
mov Buf_R0, R0
mov Buf_R1, R1
mov Buf_R2, R2
mov Buf_R3, R3
mov DPTR, #msgShowTime_Mode
call prShowMessage; вывод сообщения msgShowTime_Mode
setb EA
ret
;; процедуры prIs_R0_more_59, prIs_R1_more_59, prIs_R2_more_23:
;; проверяют соответствующие регистры на корректность значений в них;
;; большие значения уменьшаются до ближайших верных
prCorrect_R0:
cjne R0, #59, lbR0_not_59
ret
lbR0_not_59: jnc lbR0_more_59
ret
lbR0_more_59: mov R0, #59
ret
prCorrect_R1:
cjne R1, #59, lbR1_not_59
ret
lbR1_not_59: jnc lbR1_more_59
ret
lbR1_more_59: mov R1, #59
ret
prCorrect_R2:
cjne R2, #23, lbR2_not_23
ret
lbR2_not_23: jnc lbR2_more_23
ret
lbR2_more_23: mov R2, #23
ret
;; процедура prShowMessage:
;; выводит на экран текстовое сообщение; символ ESC - признак конца сообщения
prShowMessage:
clr A
movc A, @A + DPTR
lbNextSymbol: call prWaitFor_TI
mov SBUF, A
inc DPTR
clr A
movc A, @A + DPTR
cjneA, #ESC, lbNextSymbol
ret
;;;; ОПИСАНИЕ ТЕКСТОВЫХ СООБЩЕНИЙ: ;;;;
msgSetTime_Mode: db LF,CR, '[Regim ustanovki taymera:]', CR, LF, ESC
msgShowTime_Mode: db LF,CR, 'OBRATNYI OTSCHET...', CR, LF, ESC
msgFinal: db CR, '!!!OBRATNYI OTSCHET ZAKONCHEN!!!:', CR, LF, ESC
END;;;; КОНЕЦ ПРОГРАММЫ