| Скачать .docx |
Реферат: Архитектура микропроцессора - структура и общая характеристика
Содержание:
Введение
1. Общая характеристика архитектуры процессора
1.1 Базовая структура микропроцессорной системы
1.2 Понятие архитектуры микропроцессора
1.3 Обзор существующих типов архитектур микропроцессоров
2. Устройство управления
3. Особенности программного и микропрограммного управления
4. Режимы адресации
Заключение
Список используемой литературы
Процесс взаимодействия человека с ЭВМ насчитывает уже более 40лет. До недавнего времени в этом процессе могли участвовать только специалисты - инженеры, математики - программисты, операторы. В последние годы произошли кардинальные изменения в области вычислительной техники. Благодаря разработке и внедрению микропроцессоров в структуру ЭВМ появились малогабаритные, удобные для пользователя персональные компьютеры. Ситуация изменилась, в роли пользователя может быть не только специалист по вычислительной технике, но и любой человек, будь то школьник или домохозяйка, врач или учитель, рабочий или инженер. Часто это явление называют феноменом персонального компьютера. В настоящее время мировой парк персональных компьютеров превышает 20 млн.
Почему возник этот феномен? Ответ на этот вопрос можно найти, если четко сформулировать, что такое персональный компьютер и каковы его основные признаки. Надо правильно воспринимать само определение " персональный", оно не означает принадлежность компьютера человеку на правах личной собственности. Определение "персональный" возникло потому, что человек получил возможность общаться с ЭВМ без посредничества профессионала-программиста, самостоятельно, персонально. При этом не обязательно знать специальный язык ЭВМ. Существующие в компьютере программные средства обеспечат благоприятную " дружественную" форму диалога пользователя и ЭВМ.
В настоящее время одними из самых популярных компьютеров стали модель IBM PC и ее модернизированный вариант IBM PC XT, который по архитектуре, программному обеспечению, внешнему оформлению считается базовой моделью персонального компьютера.
Основой персонального компьютера является системный блок. Он организует работу, обрабатывает информацию, производит расчеты, обеспечивает связь человека и ЭВМ. Пользователь не обязан досконально разбираться в том, как работает системный блок. Это удел специалистов. Но он должен знать, из каких функциональных блоков состоит компьютер. Мы не имеем четкого представления о принципе действия внутренних функциональных блоков окружающих нас предметов - холодильника, газовой плиты, стиральной машины, автомобиля, но должны знать, что заложено в основу работы этих устройств, каковы возможности составляющих их блоков.
1. Общая характеристика архитектуры процессора
1.1 Базовая структура микропроцессорной системы
Задача управления системой возлагается на центральный процессор (ЦП), который связан с памятью и системой ввода-вывода через каналы памяти и ввода-вывода соответственно. ЦП считывает из памяти команды, которые образуют программу и декодирует их. В соответствии с результатом декодирования команд он осуществляет выборку данных из памяти портов ввода, обрабатывает их и пересылает обратно в память или порты вывода. Существует также возможность ввода-вывода данных из памяти на внешние устройства и обратно, минуя ЦП. Этот механизм называется прямым доступом к памяти (ПДП).
С точки зрения пользователя при выборе микропроцессора целесообразно располагать некоторыми обобщенными комплексными характеристиками возможностей микропроцессора. Разработчик нуждается в уяснении и понимании лишь тех компонентов микропроцессора, которые явно отражаются в программах и должны быть учтены при разработке схем и программ функционирования системы. Такие характеристики определяются понятием архитектуры микропроцессора.
1.2 Понятие архитектуры микропроцессора
Архитектура типичной небольшой вычислительной системы на основе микроЭВМ показана на рис. 1. Такая микроЭВМ содержит все 5 основных блоков цифровой машины: устройство ввода информации, управляющее устройство (УУ), арифметико-логическое устройство (АЛУ) (входящие в состав микропроцессора), запоминающие устройства (ЗУ) и устройство вывода информации.

Рис. 1. Архитектура типового микропроцессора.
Микропроцессор координирует работу всех устройств цифровой системы с помощью шины управления (ШУ). Помимо ШУ имеется 16-разрядная адресная шина (ША), которая служит для выбора определенной ячейки памяти, порта ввода или порта вывода. По 8-разрядной информационной шине или шине данных (ШД) осуществляется двунаправленная пересылка данных к микропроцессору и от микропроцессора. Важно отметить, что МП может посылать информацию в память микроЭВМ или к одному из портов вывода, а также получать информацию из памяти или от одного из портов ввода.
Постоянное запоминающее устройство (ПЗУ) в микроЭВМ содержит некоторую программу (на практике программу инициализации ЭВМ). Программы могут быть загружены в запоминающее устройство с произвольной выборкой (ЗУПВ) и из внешнего запоминающего устройства (ВЗУ). Это программы пользователя.
В качестве примера, иллюстрирующего работу микроЭВМ, рассмотрим процедуру, для реализации которой нужно выполнить следующую последовательность элементарных операций:
1. Нажать клавишу с буквой "А" на клавиатуре.
2. Поместить букву "А" в память микроЭВМ.
3. Вывести букву "А" на экран дисплея.
Это типичная процедура ввода-запоминания-вывода, рассмотрение которой дает возможность пояснить принципы использования некоторых устройств, входящих в микроЭВМ.
На рис. 2 приведена подробная диаграмма выполнения процедуры ввода-запоминания-вывода. Обратите внимание, что команды уже загружены в первые шесть ячеек памяти. Хранимая программа содержит следующую цепочку команд:
1. Ввести данные из порта ввода 1.
2. Запомнить данные в ячейке памяти 200.
3. Переслать данные в порт вывода 10.
В данной программе всего три команды, хотя на рис. 2 может показаться, что в памяти программ записано шесть команд. Это связано с тем, что команда обычно разбивается на части. Первая часть команды 1 в приведенной выше программе - команда ввода данных. Во второй части команды 1 указывается, откуда нужно ввести данные (из порта 1). Первая часть команды, предписывающая конкретное действие, называется кодом операции (КОП), а вторая часть - операндом. Код операции и операнд размещаются в отдельных ячейках памяти программ. На рис. 2 КОП хранится в ячейке 100, а код операнда - в ячейке 101 (порт 1); последний указывает откуда нужно взять информацию.
В МП на рис. 2 выделены еще два новых блока - регистры: аккумулятор и регистр команд.

Рис. 2. Диаграмма выполнения процедуры ввода-запоминания-вывода
Рассмотрим прохождение команд и данных внутри микроЭВМ с помощью занумерованных кружков на диаграмме. Напомним, что микропроцессор - это центральный узел, управляющий перемещением всех данных и выполнением операций.
Итак, при выполнении типичной процедуры ввода-запоминания-вывода в микроЭВМ происходит следующая последовательность действий:
1. МП выдает адрес 100 на шину адреса. По шине управления поступает сигнал, устанавливающий память программ (конкретную микросхему) в режим считывания.
2. ЗУ программ пересылает первую команду ("Ввести данные") по шине данных, и МП получает это закодированное сообщение. Команда помещается в регистр команд. МП декодирует (интерпретирует) полученную команду и определяет, что для команды нужен операнд.
3. МП выдает адрес 101 на ША; ШУ используется для перевода памяти программ в режим считывания.
4. Из памяти программ на ШД пересылается операнд "Из порта 1". Этот операнд находится в программной памяти в ячейке 101. Код операнда (содержащий адрес порта 1) передается по ШД к МП и направляется в регистр команд. МП теперь декодирует полную команду ("Ввести данные из порта 1").
5. МП, используя ША и ШУ, связывающие его с устройством ввода, открывает порт 1. Цифровой код буквы "А" передается в аккумулятор внутри МП и запоминается.Важно отметить, что при обработке каждой программной команды МП действует согласно микропроцедуре выборки-декодирования-исполнения.
6. МП обращается к ячейке 102 по ША. ШУ используется для перевода памяти программ в режим считывания.
7. Код команды "Запомнить данные" подается на ШД и пересылается в МП, где помещается в регистр команд.
8. МП дешифрирует эту команду и определяет, что для нее нужен операнд. МП обращается к ячейке памяти 103 и приводит в активное состояние вход считывания микросхем памяти программ.
9. Из памяти программ на ШД пересылается код сообщения "В ячейке памяти 200". МП воспринимает этот операнд и помещает его в регистр команд. Полная команда "Запомнить данные в ячейке памяти 200" выбрана из памяти программ и декодирована.
10. Теперь начинается процесс выполнения команды. МП пересылает адрес 200 на ША и активизирует вход записи, относящийся к памяти данных.
11. МП направляет хранящуюся в аккумуляторе информацию в память данных. Код буквы "А" передается по ШД и записывается в ячейку 200 этой памяти. Выполнена вторая команда. Процесс запоминания не разрушает содержимого аккумулятора. В нем по-прежнему находится код буквы "А".
12. МП обращается к ячейке памяти 104 для выбора очередной команды и переводит память программ в режим считывания.
13. Код команды вывода данных пересылается по ШД к МП, который помещает ее в регистр команд, дешифрирует и определяет, что нужен операнд.
14. МП выдает адрес 105 на ША и устанавливает память программ в режим считывания.
15. Из памяти программ по ШД к МП поступает код операнда "В порт 10", который далее помещается в регистр команд.
16. МП дешифрирует полную команду "Вывести данные в порт 10". С помощью ША и ШУ, связывающих его с устройством вывода, МП открывает порт 10, пересылает код буквы "А" (все еще находящийся в аккумуляторе) по ШД. Буква "А" выводится через порт 10 на экран дисплея.
В большинстве микропроцессорных систем (МПС) передача информации осуществляется способом, аналогичным рассмотренному выше. Наиболее существенные различия возможны в блоках ввода и вывода информации.
Подчеркнем еще раз, что именно микропроцессор является ядром системы и осуществляет управление всеми операциями. Его работа представляет последовательную реализацию микропроцедур выборки-дешифрации-исполнения. Однако фактическая последовательность операций в МПС определяется командами, записанными в памяти программ.
Таким образом, в МПС микропроцессор выполняет следующие функции:
- выборку команд программы из основной памяти;
- дешифрацию команд;
- выполнение арифметических, логических и других операций, закодированных в командах;
- управление пересылкой информации между регистрами и основной памятью, между устройствами ввода/вывода;
- отработку сигналов от устройств ввода/вывода, в том числе реализацию прерываний с этих устройств;
- управление и координацию работы основных узлов МП.
1.3 Обзор существующих типов архитектур микропроцессоров
Существует несколько подходов к классификации микропроцессоров по типу архитектуры. Так, выделяют МП с CISC (Complete Instruction Set Computer) архитектурой, характеризуемой полным набором команд, и RISC (Reduce Instruction Set Computer) архитектурой, которая определяет систему с сокращенным набором команд одинакового формата, выполняемых за один такт МП.
Определяя в качестве основной характеристики МП разрядность, выделяют следующие типы МП архитектуры:
- с фиксированной разрядностью и списком команд (однокристальные);
- с наращиваемой разрядностью (секционные) и микропрограммным управлением.
Анализируя адресные пространства программ и данных, определяют МП с архитектурой фон Неймана (память программ и память данных находятся в едином пространстве и нет никаких признаков, указывающих на тип информации в ячейке памяти) и МП с архитектурой Гарвардской лаборатории (память программ и память данных разделены, имеют свои адресные пространства и способы доступа к ним).
Рассмотрим более подробно основные типы архитектурных решений, выделяя связь со способами адресации памяти.
1. Регистровая архитектура определяется наличием достаточно большого регистрового файла внутри МП. Команды получают возможность обратиться к операндам, расположенным в одной из двух запоминающих сред: оперативной памяти или регистрах. Размер регистра обычно фиксирован и совпадает с размером слова, физически реализованного в оперативной памяти. К любому регистру можно обратиться непосредственно, поскольку регистры представлены в виде массива запоминающих элементов - регистрового файла. Типичным является выполнение арифметических операций только в регистре, при этом команда содержит два операнда (оба операнда в регистре или один операнд в регистре, а второй в оперативной памяти).
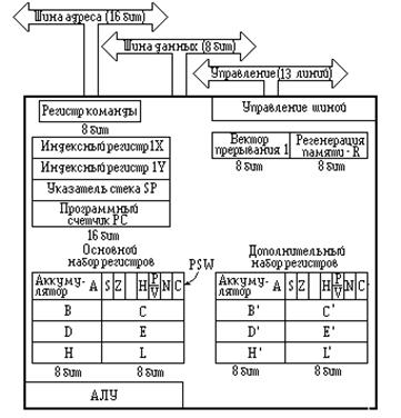
К данному типу архитектуры относится микропроцессор фирмы Zilog. Процессор Z80 - детище фирмы Zilog помимо расширенной системы команд, одного номинала питания и способности исполнять программы, написанные для i8080, имел архитектурные "изюминки".

Рис. 3. Микропроцессор Z80 фирмы Zilog.
В дополнение к основному набору РОН, в кристалле был реализован второй комплект аналогичных регистров. Это значительно упрощало работу при вызове подпрограмм или процедур обслуживания прерываний, поскольку программист мог использовать для них альтернативный набор регистров, избегая сохранения в стеке содержимого РОНов для основной программы с помощью операций PUSH. Кроме того, в систему команд был включен ряд специальных инструкций, ориентированных на обработку отдельных битов, а для поддержки регенерации динамической памяти в схему процессора введены соответствующие аппаратные средства. Z80 применялся в машинах Sinclair ZX, Sinclair Spectrum, Tandy TRS80.
Предельный вариант - архитектура с адресацией посредством аккумуляторов (меньший набор команд).
МП фирмы Motorola имел ряд существенных преимуществ. Прежде всего, кристалл МС6800 требовал для работы одного номинала питания , а система команд оказалась весьма прозрачной для программиста. Архитектура МП также имела ряд особенностей.

Рис 4. Микропроцессор МС6800 фирмы Motorola.
Микропроцессор МС 6800 содержал два аккумулятора, и результат операции АЛУ мог быть помещен в любой из них. Но самым ценным качеством структуры МС 6800 было автоматическое сохранение в стеке содержимого всех регистров процессора при обработке прерываний (Z80 требовалось для этого несколько команд PUSH). Процедура восстановления РОН из стека тоже выполнялась аппаратно.
2. Стековая архитектура дает возможность создать поле памяти с упорядоченной последовательностью записи и выборки информации.
В общем случае команды неявно адресуются к элементу стека, расположенному на его вершине, или к двум верхним элементам стека.
3. Архитектура МП, ориентированная на оперативную память (типа "память-память"), обеспечивает высокую скорость работы и большую информационную емкость рабочих регистров и стека при их организации в оперативной памяти.
Архитектура этого типа не предполагает явного определения аккумулятора, регистров общего назначения или стека; все операнды команд адресуются к области основной памяти.
С точки зрения важности для пользователя-программиста под архитектурой в общем случае понимают совокупность следующих компонентов и характеристик:
- разрядности адресов и данных;
- состава, имен и назначения программно-доступных регистров;
- форматов и системы команд;
- режимов адресации памяти;
- способов машинного представления данных разного типа;
- структуры адресного пространства;
- способа адресации внешних устройств и средств выполнения операций ввода/вывода;
- классов прерываний, особенностей инициирования и обработки прерываний.
2. Устройство управления
Коды операции команд программы, воспринимаемые управляющей частью микропроцессора, расшифрованные и преобразованные в ней, дают информацию о том, какие операции надо выполнить, где в памяти расположены данные, куда надо направить результат и где расположена следующая за выполняемой команда.
Управляющее устройство имеет достаточно средств для того, чтобы после восприятия и интерпретации информации, получаемой в команде, обеспечить переключение (срабатывание) всех требуемых функциональных частей машины, а также для того, чтобы подвести к ним данные и воспринять полученные результаты. Именно срабатывание, т. е. изменение состояния двоичных логических элементов на противоположное, позволяет посредством коммутации вентилей выполнять элементарные логические и арифметические действия, а также передавать требуемые операнды в функциональные части микроЭВМ.
Устройство управления в строгой последовательности в рамках тактовых и цикловых временных интервалов работы микропроцессора (такт - минимальный рабочий интервал, в течение которого совершается одно элементарное действие; цикл - интервал времени, в течение которого выполняется одна машинная операция) осуществляет: выборку команды; интерпретацию ее с целью анализа формата, служебных признаков и вычисления адреса операнда (операндов); установление номенклатуры и временной последовательности всех функциональных управляющих сигналов; генерацию управляющих импульсов и передачу их на управляющие шины функциональных частей микроЭВМ и вентили между ними; анализ результата операции и изменение своего состояния так, чтобы определить месторасположение (адрес) следующей команды.
3. Особенности программного и микропрограммного управления
В микропроцессорах используют два метода выработки совокупности функциональных управляющих сигналов: программный и микропрограммный.
Выполнение операций в машине сводится к элементарным преобразованиям информации (передача информации между узлами в блоках, сдвиг информации в узлах, логические поразрядные операции, проверка условий и т.д.) в логических элементах, узлах и блоках под воздействием функциональных управляющих сигналов блоков (устройств) управления. Элементарные преобразования, неразложимые на более простые, выполняются в течение одного такта сигналов синхронизации и называются микрооперациями.
В аппаратных (схемных) устройствах управления каждой операции соответствует свой набор логических схем, вырабатывающих определенные функциональные сигналы для выполнения микроопераций в определенные моменты времени. При этом способе построения устройства управления реализация микроопераций достигается за счет однажды соединенных между собой логических схем, поэтому ЭВМ с аппаратным устройством управления называют ЭВМ с жесткой логикой управления. Это понятие относится к фиксации системы команд в структуре связей ЭВМ и означает практическую невозможность каких-либо изменений в системе команд ЭВМ после ее изготовления.
При микропрограммной реализации устройства управления в состав последнего вводится ЗУ, каждый разряд выходного кода которого определяет появление определенного функционального сигнала управления. Поэтому каждой микрооперации ставится в соответствие свой информационный код - микрокоманда. Набор микрокоманд и последовательность их реализации обеспечивают выполнение любой сложной операции. Набор микроопераций называют микропрограммами. Способ управления операциями путем последовательного считывания и интерпретации микрокоманд из ЗУ (наиболее часто в виде микропрограммного ЗУ используют быстродействующие программируемые логические матрицы), а также использования кодов микрокоманд для генерации функциональных управляющих сигналов называют микропрограммным, а микроЭВМ с таким способом управления - микропрограммными или с хранимой (гибкой) логикой управления.
К микропрограммам предъявляют требования функциональной полноты и минимальности. Первое требование необходимо для обеспечения возможности разработки микропрограмм любых машинных операций, а второе связано с желанием уменьшить объем используемого оборудования. Учет фактора быстродействия ведет к расширению микропрограмм, поскольку усложнение последних позволяет сократить время выполнения команд программы.
Преобразование информации выполняется в универсальном арифметико-логическом блоке микропроцессора. Он обычно строится на основе комбинационных логических схем.
Для ускорения выполнения определенных операций вводятся дополнительно специальные операционные узлы (например, циклические сдвигатели). Кроме того, в состав микропроцессорного комплекта (МПК) БИС вводятся специализированные оперативные блоки арифметических расширителей.
Операционные возможности микропроцессора можно расширить за счет увеличения числа регистров. Если в регистровом буфере закрепление функций регистров отсутствует, то их можно использовать как для хранения данных, так и для хранения адресов. Подобные регистры микропроцессора называются регистрами общего назначения (РОН). По мере развития технологии реально осуществлено изготовление в микропроцессоре 16, 32 и более регистров.
В целом же, принцип микропрограммного управления (ПМУ) включает следующие позиции:
1) любая операция, реализуемая устройством, является последовательностью элементарных действий - микроопераций;
2) для управления порядком следования микроопераций используются логические условия;
3) процесс выполнения операций в устройстве описывается в форме алгоритма, представляемого в терминах микроопераций и логических условий, называемого микропрограммой;
4) микропрограмма используется как форма представления функции устройства, на основе которой определяются структура и порядок функционирования устройства во времени.
ПМУ обеспечивает гибкость микропроцессорной системы и позволяет осуществлять проблемную ориентацию микро- и миниЭВМ.
4. Режимы адресации
Для взаимодействия с различными модулями в ЭВМ должны быть средства идентификации ячеек внешней памяти, ячеек внутренней памяти, регистров МП и регистров устройств ввода/вывода. Поэтому каждой из запоминающих ячеек присваивается адрес, т.е. однозначная комбинация бит. Количество бит определяет число идентифицируемых ячеек. Обычно ЭВМ имеет различные адресные пространства памяти и регистров МП, а иногда - отдельные адресные пространства регистров устройств ввода/вывода и внутренней памяти. Кроме того, память хранит как данные, так и команды. Поэтому для ЭВМ разработано множество способов обращения к памяти, называемых режимами адресации.
Режим адресации памяти - это процедура или схема преобразования адресной информации об операнде в его исполнительный адрес.
Все способы адресации памяти можно разделить на:
1) прямой, когда исполнительный адрес берется непосредственно из команды или вычисляется с использованием значения, указанного в команде, и содержимого какого-либо регистра (прямая адресация, регистровая, базовая, индексная и т.д.);
2) косвенный, который предполагает, что в команде содержится значение косвенного адреса, т.е. адреса ячейки памяти, в которой находится окончательный исполнительный адрес (косвенная адресация).
В каждой микроЭВМ реализованы только некоторые режимы адресации, использование которых, как правило, определяется архитектурой МП.
Заключение
Число персональных компьютеров как в мире, так и, в частности, в России стремительно растет; рынок ПК – самый перспективный и доходный среди остальных рынков вычислительной техники. В северной Америке и Западной Европе процент семей, имеющих ПК, приближается к 30. Без сомнения, в наши дни каждый должен изучить и понять компьютер не только теоретически, но, что наиболее важно, и практически.
Анализ новых решений построения структуры компьютера показывает, что процессор, память, устройства ввода - вывода составляют основу любого компьютера. Рассмотрим наиболее распространенную структурную схему, которая лежит в основе наиболее часто встречающихся моделей компьютеров, в частности персональных.
Современный компьютер можно представить в большинстве случаев упрощенной структурной схемой, где выделены центральная и периферийная части. К центральной части относятся процессор и внутренняя память, к периферийной части - устройства ввода-вывода и внешняя память. В основу упрощенной структурной схемы заложены принципы магистральности, модульности, микропрограммирумостью.
Не следует надеяться, что развитие вычислительной техники как-то кардинально изменит наше существование. Компьютер не более (но и не менее) чем один из мощных двигателей прогресса (как энергетика, металлургия, химия, машиностроение), который берет на свои "железные плечи" такую важную функцию, как рутину обработки информации. Эта рутина всегда и везде сопровождает самые высокие полеты человеческой мысли. Именно в этой рутине очень часто тонут дерзкие решения, недоступные компьютеру. Поэтому так важно " свалить" на компьютер рутинные операции, чтобы освободить человека для его истинного предназначения-творчества.
Будущее микропроцессорной техники связано сегодня с двумя новыми направлениями - нанотехнологиями и квантовыми вычислительными системами. Эти пока еще главным образом теоретические исследования касаются использования в качестве компонентов логических схем молекул и даже субатомных частиц: основой для вычислений должны служить не электрические цепи, как сейчас, а положение отдельных атомов или направление вращения электронов. Если "микроскопические" компьютеры будут созданы, то они обойдут современные машины по многим параметрам.
Список используемой литературы
1. Балашов Е.П., Григорьев В.Л., Петров Г.А. Микро- и миниЭВМ. – СПб.: Энергоатомиздат, 2004.
2. Еремин Е.А. Популярные лекции об устройстве компьютера. – СПб.: БХВ-Петербург, 2003.
3. Ибрагим К.Ф. Устройство и настройка ПК / Пер. с англ. – М.: Бином, 2004..
4. Косарев В.П., Сурков Е.М., Бакова И.В. Технические средства систем управления. - М.: Изд-во "Финансы и статистика", 2006.
5. Леонтьев В.П. Новейшая энциклопедия персонального компьютера 2003. – М.: ОЛМА-ПРЕСС, 2004.
6. Столлингс У. Структурная организация и архитектура компьютерных систем. – М.: Вильямс, 2002.
7. Уинн Л. Рош. Библия по модернизации персонального компьютера. – М.: Тивали-Стиль, 2005.
8. Фигурнов В.Э. IBM PC для пользователя, 6-е издание, переработанное и дополненное. – M.: ИНФРА-М, 1996.