| Скачать .docx |
Курсовая работа: Курсовая работа: Информационные технологии на автотранспорте
ФЕДЕРАЛЬНОЕ АГЕНТСТВО ПО ОБРАЗОВАНИЮ
государственное образовательное учреждение высшего профессионального образования
ТЮМЕНСКИЙ ГОСУДАРСТВЕННЫЙ НЕФТЕГАЗОВЫЙ УНИВЕРСИТЕТ
ИНСТИТУТ ТРАНСПОРТА
Кафедра: «Эксплуатация
автомобильного транспорта»
Курсовая работа
по дисциплине
«Информационные технологии
на автотранспорте»
Выполнил: Студент 4-го
курса группы ЭАТ.
Принял: преподаватель
Маняшин С.А.
Тюмень, 2008
СОДЕРЖАНИНЕ
ВВЕДЕНИЕ………………………………………………………………………….3
1 Исследовательский раздел.....................................................................................4
1.1 Исходные данные……………...................................................................4
1.2 Количественный и качественный анализ системы документооборота АТП……………………………..................................................................................6
1.3 Определение информационной нагрузки подразделений АТП.……..10
1.4 Обоснование уровня автоматизации......................................................12
2 Разработка электронной формы документа…....................................................15
3 Алгоритм организации учета расхода автомобильного топлива…..................17 СПИСОК ЛИТЕРАТУРЫ…………………………………………………………21
ВВЕДЕНИЕ
Курсовая работа является заключительным этапом в изучении дисциплины «Информационные технологии на транспорте».
Основанием для выполнения работы является задание на курсовое проектирование.
Системы управления и контроля на промышленных предприятиях довольно сложны по своей структуре и изначально разбиваются на четыре различных уровня, каждый из которых, в свою очередь, тоже неоднороден, состоит из отдельных элементов и, как правило, является предметом деятельности специализированных, иногда весьма крупных фирм /1,4/.
На самом верхнем "этаже" располагаются информационные структуры, отвечающие за организацию работы предприятия в целом. Это автоматизация бухгалтерского учета, управление финансами и материально-техническим снабжением, организация документооборота и т.д. Данный уровень представляет собой вариант классической офисной автоматизации, приспособленной к наиболее общим формам делопроизводства на предприятиях индустрии, и называется планированием ресурсов предприятия (MRP, manufacturing resource planning). Внедрение информационных технологий на производстве во многом связано с этими продуктами.
В то же время анализ деятельности автотранспортных предприятий различной мощности показывает, что организация достаточно эффективной информационной системы в автотранспортных предприятиях (АТП) с помощью ЭВМ возможна лишь с учетом специфики деятельности предприятия. Значит, одним из основных требований к программному обеспечению является его гибкость, то есть способность адаптации к изменяющимся: законодательству, нормативной базе, технологиям перевозок и прочим условиям, которые характерны для нынешнего периода совершенствования рыночных механизмов в экономике.
1 ИССЛЕДОВАТЕЛЬСКИЙ РАЗДЕЛ
Исходными данными для выполнения работы являются: структурная схема предприятия (рис. 1.1), схема документооборота между структурными элементами АТП (рис. 1.2), списочное количество и структура подвижного состава предприятия (табл. 1.1); показатели использования подвижного состава (табл. 1.2); обработка информации по отделам и службам АТП (табл. 1.3); одна из задач системы MRP, решаемых на уровне АТП (табл. 1.4); дополнительные данные (справочная литература, приложения).

Рис. 1.1. Структурная схема АТП

Рис. 1.2. Схема документооборота при выполнении перевозок грузов
Таблица 1.1
Списочное количество подвижного состава АТП
| Грузовые общего назначения |
Автомобили-тягачи |
Самосвалы |
Спецтехника |
|
| 3 |
5 |
10 |
5 |
100 |
Таблица 1.2
Показатели использования подвижного состава
| Вид техники |
Средние по АТП показатели на одну единицу техники |
||
| Пробег, тыс. км |
Объем перевозок, тыс. т |
Наработка оборудования тыс.час. |
|
| Грузовые общего назначения |
20 |
100 |
- |
| Автомобили-тягачи |
10 |
100 |
- |
| Самосвалы |
10 |
50 |
- |
| Спецтехника |
10 |
- |
150 |
Таблица 1.3
Объем информационной деятельности структурных подразделений АТП (в % от числа реквизитов путевого листа) приходящийся на один оборотный путевой лист
| Входной информ. поток |
Выходной информ. поток |
Сортировка |
Системати-зация |
Перенос |
|
| ОМТС |
10 |
15 |
20 |
20 |
40 |
| Отдел эксплуатации |
100 |
150 |
20 |
20 |
60 |
| ПТО |
20 |
30 |
10 |
30 |
50 |
| Бухгалтерия |
60 |
20 |
20 |
20 |
60 |
| Склад |
30 |
30 |
25 |
25 |
50 |
Таблица 1.4
Дополнительные характеристики предприятия
| Показатель |
Число реквизитов путевого листа |
Продолжительность рабочего дня службы эксплуатации |
Продолжительность рабочего дня остальных отделов и служб |
| Данные |
52 |
24 |
8 |
Таблица 1.5
Одна из задач MRP подлежащих, автоматизации
| Название задачи |
| Организация учета расхода автомобильного топлива |
1.2 Количественный и качественный анализ системы документооборота АТП
Данное АТП имеет линейную структуру управления производством, т.к. видно непосредственное подчинение каждому руководителю всех руководителей участка.
Эксплуатационная служба АТП организует свою работу на основе установленного плана перевозок для обслуживаемых предприятий и организаций по видам груза и грузоотправителям. Она находит возможности для наиболее рационального осуществления этих перевозок с наименьшими затратами. Поэтому эксплуатационная служба главное внимание уделяет обеспечению всемирного развития централизованной системы перевозок в городах и районах, а также в междугородном и международном сообщении как важнейшему условию полного и своевременного обслуживания предприятия и организации и наиболее эффективного использования транспортных средств.
Большое внимание руководителями службы эксплуатации и ее работниками должно уделяться следующим вопросам:
· Изучение экономики района деятельности АТП, выявление характера и величины грузопотоков, а также возможности организации централизованных перевозок, организация получения объективной информации (заявок) на потребный объем перевозок, проверка ее и выявление фактических условий организации перевозок;
· Разработка совместно с технической службой оптимального графика выпуска автомобилей на линию и режима работы их, четкое оперативное планирование перевозок, повседневный инструктаж и контроль за использованием подвижного состава на линии, правильное и своевременное оформление документации, систематическое улучшение организации обслуживания клиентуры и повышение эффективности использования транспортных средств;
· широкое внедрение прогрессивных методов труда шоферов на на линии и обмена передовым опытом, анализ выполнения планов и договоров на перевозки, обеспечение всемирного снижение транспортных издержек, правильное применение тарифов и своевременное предъявление счетов обслуживаемой клиентуре.
Главными задачами ПТО являются:
· организация надлежащего хранения подвижного состава, обеспечивающего высокую техническую готовность его к работе и своевременность выпуска автомобилей на линию и прием их, а также разработка и решение вопросов, связанных с укреплением производственно-технической базой предприятия;
· оперативное планирование всех видов технического обслуживания и ремонта автомобилей и автомобильных шин, организация выполнения этих работ и контроля за их качеством, проведение технического учета и отчетности по подвижному составу, автомобильным шинам и другим производственным фондам;
· изучение, обобщение и распространение опыта новаторов производства, разработка и проведение организационно-технических мероприятий по совершенствованию производства, внедрение новой техники и научной организации труда, по технике безопасности, охране труда и предупреждению аварийности, а также руководство движением рационализаторов и изобретателей.
ОМТС включает руководство всей совокупностью работ по обеспечению нормального материально-технического снабжения предприятия, организация хранения, выдачи и учета топлива, запасных частей и других материальных ресурсов, разработка и осуществление мероприятий по более рациональному использованию их.
Бухгалтерия проводит учет наличия средств, выделенных в распоряжение предприятия, сохранности и уровня использования их, организует выполнение финансового плана, проверяет состояние финансового хозяйства предприятия, проводит большую оперативную работу по организации расчетов с клиентурой, поставщиками и финансовыми органами, организует первичный учет расходования материальных ресурсов и денежных средств.
Склад предназначен для хранения запасных частей, их прием и отпуск со склада.
Таблица 1.6
Разработка электронной формы документа
| № варианта |
Наименование документа |
Назначение |
| 3 |
Путевой лист |
Накопление текущей информации об эксплуатации автомобилей, исходная информация для всех элементов учета |
Таблица 1.7
Объем используемых документов
| Наименование задачи |
Наименование подразделения решающего задачу |
Наименование документа |
|
| Используемые документы |
Разрабатываемые документы |
||
| Выгрузка из кузова ТС (прием груза) |
Склад |
Акт приемки, приходной ордер |
Журнал учета прихода |
| Отпуск деталей со склада |
Склад |
Лимитная карта на отпуск деталей со склада |
Журнал учета расхода |
| Учет запасов |
Склад |
Карточка учета материалов |
Журнал учета |
| Прием заявок, составление договоров |
Отдел эксплуатации |
Заявка от клиента, договор |
Заявление на оказание услуг |
| Проведение контроля за рациональным использованием рабочего времени водителем |
Отдел эксплуатации |
Путевой лист |
- |
| Организация выполнения финансового плана |
Бухгалтерия |
Счет-фактура |
Отчет |
| Организация расчетов с клиентурой и поставщиками |
Бухгалтерия |
Счет-фактура, путевой лист, договор |
Счет-фактура |
| Учет расхода топлива |
Отдел эксплуатации |
Путевой лист |
Карточка учета расхода топлива автомобилем |
| Выдача, топлива, запасных частей и других материальных ресурсов |
ОМТС |
Акт выдачи (расхода) топлива |
Карточка учета расхода топлива автомобилем, акт на повреждение автошины |
| Учет ГСМ |
ОМТС |
Путевой лист |
Расходная ведомость |
| Проведение технического учета и отчетности по ПС |
ПТО |
Карта технического обслуживания автомобиля, акты различные |
Приемо-сдаточный акт |
| Оперативное планирование всех видов технического обслуживания и ремонта автомобилей |
ПТО |
Графики учета проведения ТО-1 и ТО-2 |
Графики учета проведения ТО-1 и ТО-2 |
Таблица 1.8
Результаты анализа
| Шифр функции |
Функция управления |
АТП |
||||
| ОМТС |
ОЭ |
ПТО |
БУХГАЛ-ТЕРИЯ |
СКЛАД |
||
| 1 |
Прогнозирование и перспективное планирование |
+ |
||||
| 2 |
Текущее планирование |
+ |
+ |
+ |
+ |
|
| 3 |
Регулирование |
+ |
+ |
|||
| 4 |
Учет, отчетность и анализ |
+ |
+ |
+ |
+ |
+ |
Таблица 1.9
Количество документов по группам
| Группы документов |
Количество документов |
| Внутренние |
20 |
| В том числе передаваемые внешним организациям |
4 |
| Внешние |
3 |
| Итого |
27 |
Таблица 1.10
Группировки документов по их образованию
| Количество документов разрабатываемых в обследуемом подразделении |
Количество используемых документов |
| ОМТС |
|
| 3 |
2 |
| ОЭ |
|
| 3 |
3 |
| ПТО |
|
| 2 |
3 |
| Бухгалтерия |
|
| 2 |
3 |
| Склад |
|
| 3 |
4 |
1.3 Определение информационной нагрузки подразделений АТП
В соответствии с заданием рассчитать количество информационных единиц (товарно-транспортная документация и т.п.) приходящихся на каждое подлежащее информационному обслуживанию структурное подразделение предприятия (рис. 1.2., табл. 1.4.).
Основой для расчета служит расчетное число, находящихся в обороте путевых листов. Оно определится оп формуле
, (1.1)
где Аi – количество автомобилей i-той категории, ед;
hi - коэффициент сменности для автомобилей i-той категории;
n – число категорий автотранспортной техники предприятия (табл. 1.2.).
Далее в соответствии с полученным значением определяется информационная нагрузка подразделения с учетом табл. 1.3-1.4. По результатам расчета заполняется таблица (табл. 1.7).

Таблица 1.11
Суточный объем информационной деятельности структурных подразделений АТП
| Наименование отдела, службы |
Входной информ. поток |
Выходной информ. поток |
Обработка |
Всего |
| ОМТС |
1248 |
1872 |
9984 |
13104 |
| Отдел эксплуатации |
12480 |
18720 |
12480 |
43680 |
| ПТО |
2496 |
3744 |
11232 |
17472 |
| Бухгалтерия |
7488 |
2496 |
12480 |
22464 |
| Склад |
3744 |
3744 |
12480 |
19968 |
В соответствии с общим объемом информационной нагрузки каждого подразделения (графа 5 табл. 1.7) и данными табл. 1.4. определим среднюю интенсивность потока информации.
Таблица 1.12
Информационный поток для отделов
| Наименование отдела |
Входной информационный поток |
Выходной информационный поток |
Обработка |
Всего |
| ОМТС |
2,6 |
3,9 |
20,8 |
27,3 |
| ОЭ |
8,7 |
13,0 |
8,7 |
30,3 |
| ПТО |
5,2 |
7,8 |
23,4 |
36,4 |
| Бухгалтерия |
15,6 |
5,2 |
26,0 |
46,8 |
| Склад |
7,8 |
7,8 |
26,0 |
41,6 |
С учетом информационного потока определяется потребное количество работников по категории учета, в соответствии со своим вариантом
, 1.2.
где N р – количество работников данной категории учета, чел;
l - интенсивность информации, поступающей для обработки, ед/мин.
Результаты расчета представить в виде табл. 1.8.
Таблица 1.13
Интенсивность информационного потока и потребное количество работников структурных подразделений АТП
| Наименование отдела, службы |
Информационный поток, ед. |
Интенсивность потока, ед/мин |
Потребное количество работников |
| ОМТС |
13104 |
27,3 |
10 |
| Отдел эксплуатации |
43680 |
30,3 |
10 |
| ПТО |
17472 |
36,4 |
10 |
| Бухгалтерия |
22464 |
46,8 |
10 |
| Склад |
19968 |
41,6 |
10 |
1.4 Обоснование уровня автоматизация подразделений
Выбор необходимого уровня автоматизации отдела и службы зависит от интенсивности потока информации и соотношения входного и выходного информационных потоков и определяется в соответствии с табл. 1.14.
Таблица 1.14
Объем и структура информационных потоков и уровень автоматизации
| Интенсивность, ед/мин |
Число ПК |
Принтер |
||
| входного потока |
выходного потока |
обработки информации |
||
| <1 |
<1 |
<1 |
- |
- |
| >10 |
<1 |
<1 |
- |
1 |
| <1 |
<1 |
>10 |
1 |
- |
| >10 |
>10 |
>10 |
1 |
1 |
Таблица 1.15
Определение потребного количества принтеров и ПК
| Наименование отдела, службы |
Интенсивность, ед/мин |
Число ПК |
Принтер |
||
| входного потока |
выходного потока |
обработки информации |
|||
| ОМТС |
2,600 |
3,900 |
20,800 |
1 |
- |
| Отдел эксплуатации |
8,667 |
13,000 |
8,667 |
1 |
1 |
| ПТО |
5,200 |
7,800 |
23,400 |
1 |
1 |
| Бухгалтерия |
15,600 |
5,200 |
26,000 |
1 |
1 |
| Склад |
7,800 |
7,800 |
26,000 |
1 |
- |
2. Разработка электронной формы документа
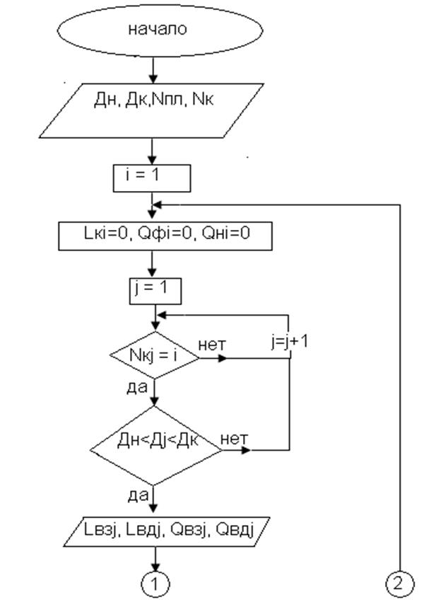
3. Алгоритм организации учета расхода автомобильного топлива


Рис. 3.1 Алгоритм
Пояснение к алгоритму
1. Начало;
2. Ввод данных: дата начала работы, дата окончания, номер путевого листа, номер колонны;
3. Ввожу значение: i = 1 (т.е. берем первый путевой лист);
4. Ввожу значения: пробег колонны = 0, фактический расход топлива = 0, нормативный расход топлива = 0;
5. Ввожу значение: j = 1;
6. Ввожу условие: номер автомобиля должен соответствовать номеру в путевом листе. Если нет, то берем другой автомобиль;
7. Условие: дата должна находиться в пределах дат, введенных ранее. Если дата не входит в пределы – берем другой автомобиль;
8. Вводятся данные с путевого листа: пробег автомобиля до выезда с базы, пробег после прибытия на базу, расход топлива до выезда и после въезда;
9. Рассчитываем общий пробег автомобиля: к старому пробегу прибавляем пробег после приезда и вычитаем пробег перед выездом;
10. Рассчитываем общий нормативный расход топлива: к предыдущему прибавляем норму расхода топлива умноженную на километраж;
11. Рассчитываем общий фактический расход топлива: к предыдущему прибавляем расход топлива после прибытия на базу и вычитаем расход перед выездом;
12. Вывожу данные: номер колонны, фактический расход топлива, нормативный расход топлива, общий пробег автомобиля;
13. Ввожу условие: нормативный расход топлива должен быть больше фактического. Если нет – выводим в отдельный список, если да – берем следующий путевой лист;
14. Берем следующий путевой лист;
15. Ввожу условие: номер путевого листа должен быть меньше максимального значения количества путевых листов. Если нет, то конец (вывод результатов на печать).
СПИСОК ЛИТЕРАТУРЫ
1. Бронштейн Л.А. Организация, планирование и управление автотранспортными предприятиями, М.: Транспорт, - 1986 – 360с.
2. Маняшин А.В. DBF-browser. Система управления базами данных. Руководство пользователя.