| Скачать .docx |
Реферат: Микроконтроллеры общего назначения для встраиваемых приложений производства ATMEL Corporation
Министерство образования и науки РФ
Казанский Государственный Технический Университет имени А.Н. Туполева
______________________________________
Кафедра компьютерных систем
Реферат
Микроконтроллеры общего назначения для встраиваемых приложений производства ATMEL Corp oration
Казань 2009
Содержание
Список использованной литературы.. 20
Термин "микроконтроллер" обычно означает отдельную микросхему, содержащую процессорное ядро и все необходимые периферийные устройства на одном кристалле для того, чтобы реализовать специализированный микрокомпьютер для задач контроля / управления. Современные микроконтроллеры, как правило, содержат целый арсенал развитых цифровых и аналоговых периферийных блоков и модулей. Некоторые их них имеют обширный набор инструкций и относительно медленно выполняют помещенные в них программы (обычно с архитектурой CISC - Complex Instruction Set Computers). Другие работают очень быстро (обычно с архитектурой RISC - Reduced Instruction Set Computers), но имеют ограниченный набор исполняемых команд. Массовое производство микроконтроллеров привело к их значительному удешевлению и, как следствие, к широчайшему использованию в разнообразном промышленном и бытовом оборудовании, особенно в 4-разрядном и 8-разрядном исполнении. Ассортимент предлагаемых микроконтроллеров на мировом рынке постоянно растет, появляются новые, более совершенные и технологичные изделия повышенной степени интеграции, новые полупроводниковые структуры, новые идеологические решения. Количество фирм-производителей также неуклонно растет при одновременном повышении их уровня технической и технологической оснащенности. Проиллюстрировать вышесказанное можно, анализируя, например, развитие микроконтроллеров, выпускаемых Atmel Corp.
Atmel Corporation — изготовитель полупроводниковых электронных компонентов. Компания основана в 1984 году в США. Корпорация Atmel хорошо известна как на мировом, так и на российском рынках электронных компонентов и является одним из признанных мировых лидеров в разработке и производстве сложных изделий современной микроэлектроники - устройств энергонезависимой памяти высокого быстродействия и минимального удельного энергопотребления, микроконтроллеров общего назначения и микросхем программируемой логики. Первый микроконтроллер Atmel появился в 1993 году и был основан на классическом микроконтроллере Intel 8051. Продукция Atmel включает микроконтроллеры MCS-51, AT91SAM и AT91CAP (основаны на ядре ARM), микроконтроллеры на их собственных ядрах Atmel AVR и AVR32, радиочастотные (RF) устройства, микросхемы памяти типов EEPROM и флеш (включая память, основанную на DataFlash), и некоторое количество других продуктов этой же отрасли. Сейчас Atmel удерживает первое место в мире по производству микросхем параллельной и последовательной EEPROM, лидирует в производстве Flash - микроконтроллеров общего назначения и входит в первую пятерку по производству EPROM, микросхем Flash - памяти и заказных СБИС класса ASIC. Возможность комбинирования нескольких типов электронных ячеек на одном кремниевом кристалле вывела Atmel на новый качественный уровень, позволив целенаправленно ориентировать свою продукцию на требуемые сегменты рынка.
В данном реферате представлены наиболее интересные и доступные в России линии микроконтроллеров, выпускаемых Atmel Corp. Совершенно сознательно вне рассмотрения оставлены микропроцессоры и микроконтроллеры для специальных применений, аэрокосмического назначения, микроконтроллеры для изделий класса Smart Cards а также некоторые узкоспециализированные семейства (USB, DVD, Bluetooth, WIreless LAN, энергосчетчики и др.)
Все микроконтроллеры общего назначения Atmel можно разделить на четыре большие группы:
· С архитектуройС51
· MARC4
· ARM Thumb
· AVR 8-bit RISC
Поскольку разрядность, объемы массивов памяти, набор периферийных узлов и построение схем тактирования существенно различаются как между группами, так и между микроконтроллерами внутри каждой группы, то приведенное здесь описание основных возможностей кристаллов не будет полным. Конкретные детали, подробные описания структуры микроконтроллеров, особенности построения и функционирования периферийных блоков приводятся в оригинальной технической документации Atmel Corp.
8-разрядные микроконтроллеры архитектуры С51, разработанной фирмой Intel, уже много лет лидируют на мировом рынке как по количеству разновидностей, так и по количеству выпускающих их фирм. Основными производителями "семейств" С51 являются Philips, Atmel, Siemens, Intel, Winbond, Dallas, OKI, Cygnal и ряд других.
Высокая популярность микроконтроллеров архитектуры С51 производства Atmel была обусловлена удачным стратегическим решением корпорации. Объединив передовую Flash-технологию энергонезависимой памяти с популярным процессорным ядром, Atmel Corp. первой в мире реализовала электрически стираемые и программируемые Flash- 8х51 как современную альтернативу масочным версиям и дорогим микроконтроллерам С51 с ультрафиолетовым стиранием, потеснив на рынке таких лидеров как Philips, Siemens, Intel и Motorola. Агрессивная ценовая политика компании довершила процесс вытеснения EPROM- микроконтроллеров с рынка. Начиная с 1995 года, Atmel ежегодно удваивала объемы продаж своих кристаллов 8х51. Лишь к 2000 году положение выровнялось, когда остальные производители тоже освоили серийный выпуск Flash-микроконтроллеров 8х51. Но до сих пор семейство AT89C/S Atmel Corp. пользуется заслуженной популярностью у разработчиков и производителей электронной аппаратуры. Спрос на микросхемы этого класса остается стабильным. За последние годы объем их производства у корпорации постоянно увеличивается, причем основной прирост наблюдается для однократно программируемых и QuickFlash кристаллов - 87F5x и 80F5x.
Основная новость 2002 года - окончательное приобретение Atmel Corp. фирмы Temic. Процесс интеграции производственных мощностей и каналов распространения конечной продукции был полностью завершен к марту 2002. Компания с логотипом "Atmel Wireless & uControllers", как и ранее компания "Temic", прекратила свое существование. Все выпускавшиеся ранее кристаллы Temic - Atmel W&uC, включая микроконтроллеры общего назначения, перешли к Atmel Corp. Это существенно расширило спектр продукции Atmel в группе микроконтроллеров С51. Добавилась многочисленная группа высоконадежных масочных (ROM), однократно программируемых (OTP), работающих с внешней памятью программ (ROMless) и Flash-микроконтроллеров семейства С51, имеющих развитую структуру и обширный набор периферийных блоков. По сути, количество разнообразных кристаллов 8х51, предлагаемых Atmel Corp., выросло со 2-го квартала 2002 года почти втрое.
Основные изменения коснулись объемов памяти на кристалле, специализированных периферийных модулей, систем "жизнеобеспечения", типов предлагаемых корпусов микроконтроллеров и количества линий ввода/вывода. Появилась возможность оптимального выбора микроконтроллера с небольшим количеством внешних выводов, энергонезависимой памятью данных EEPROM, аналого-цифровым преобразователем, модулем таймеров/счетчиков с функцией "захват/сравнение", коммуникационными интерфейсами I2C/uWire/SPI/UART, клавиатурным интерфейсом, массивом памяти программ до 64К и памяти данных SRAM до 1280 байт, а также использовать различные комбинации этих и других параметров. Из оригинальных разработок Atmel отметим кристаллы, ориентированные на специальные сегменты рынка и содержащие блоки CAN - интерфейса 2.0A/2.0B, MP3 - декодера и мультимедийного интерфейса MMC для аудиоприложений, интерфейса ISO7816-3 для построения считывателей Smart Cards, а также специальные контроллеры для систем сбора/обработки данных.
Многие микроконтроллеры С51 производства Atmel поддерживают режим скоростного внутрисхемного программирования Flash-памяти программ в системе (ISP), в том числе и на целевой плате. Процесс программирования может осуществляться через различные коммуникационные каналы (SPI, UART, I2C, CAN), при этом используется рабочее напряжение питания микросхемы. Это позволяет обновлять содержимое памяти программ в ходе жизни конечного изделия. Некоторые микроконтроллеры имеют специальное скоростное ядро (обозначение Х2), что означает возможность удвоения внутренней тактовой частоты процессора и/или периферийных блоков по сравнению с частотой, задаваемой внешним источником. Снижается уровень электромагнитных помех, создаваемый кристаллом, и его энергопотребление, так как для получения той же производительности требуется меньшее значение внешней опорной частоты. Кроме того, это заметно снижает стоимость микросхем. Для отдельных кристаллов с функцией Х2 реализована интересная возможность "самопрограммирования" памяти программ (SPM). Это означает, что микроконтроллер способен самостоятельно, без внешнего программатора переписывать содержимое ячеек во Flash-памяти программ, т.е. изменять алгоритм своего функционирования и далее работать уже по новой программе. Например, можно написать и сохранить несколько рабочих версий программы для конкретного приложения в микросхеме внешней памяти, а затем по мере необходимости или по реакции на какие-нибудь события перегружать рабочие программы в тот же самый микроконтроллер через выбранный коммуникационный канал, не извлекая его из печатной платы.
Корпорация Atmel также предлагает высокопроизводительные 8/16 разрядные микроконтроллеры, базирующиеся на С251-архитектуре Intel. Микроконтроллеры семейства С251 при полной совместимости с их 8051-прототипами обеспечивают значительное повышение быстродействия.
Atmel Corp. постоянно совершенствует микроконтроллеры семейства С51, планомерно переводя их производство на проектные нормы 0,35 мкм. Так, с июня 2002 года серийно выпускаются две новых микросхемы - AT89S51 и AT89S52. Эти микроконтроллеры полностью совместимы с хорошо известными версиями AT89C51/52 и снабжены функцией программирования в системе.
К сожалению, корпорация Atmel практически полностью отказалась от производства микроконтроллеров С51 в автомобильном и военном температурных диапазонах. Подавляющее большинство этих микросхем не будет выпускаться для работы при температурах ниже -40С и выше +85С. Исключение составляют лишь отдельные версии микроконтроллеров бывшего Temic (включая представителей семейства С251), способные работать в автомобильном (-40С...+125С) и военном (-55С...+125С) температурных диапазонах. Но это скорее исключение, чем правило. Как минимум, все перепрограммируемые Flash-микроконтроллеры Atmel работают только в коммерческом и индустриальном температурном диапазонах.
Средства поддержки разработок для микроконтроллеров С51 чрезвычайно развиты и широко распространены. Можно подобрать набор средств разработки практически любого уровня сложности - от стартового до профессионального. Выпускаются разнообразные компиляторы с языков высокого уровня, ассемблеры, отладчики, операционные системы реального времени, отладочные платы и комплексы, внутрисхемные эмуляторы, программаторы. Многие программные средства доступны в свободных, ограниченных по времени использования / размеру кода или просто бесплатных (GNU) версиях.
MARC4 - семейство 4-х разрядных однокристальных микроконтроллеров, в основу которого положено 4-х битное стек-ориентированное ядро Гарвардской архитектуры с физически разделенными памятью программ и памятью данных. Микроконтроллеры MARC4 содержат на кристалле до 8К памяти программ ROM, 256 бит статической памяти данных SRAM, параллельные порты ввода/вывода, 8-разрядный многофункциональный таймер/счетчик, супервизор напряжения, интервальный таймер с функциями сторожевого таймера и сложный тактовый генератор. M44Cx92 и T48C89x имеют третий 8-битный таймер/счетчик с функциями захвата/сравнения и модуляции/демодуляции. M44C89х и T48C89х содержат блок энергонезависимой памяти данных EEPROM. Все микроконтроллеры семейства MARC4 (кроме M44C510E и T48C510), имеют синхронный последовательный интерфейс SSI.
Три независимые шины (команд, памяти и ввода/вывода) используются для параллельной связи между ROM, SRAM и узлами периферии. Благодаря одновременной предварительной выборке команд и передаче данных на узлы периферии, архитектура MARC4 позволят увеличить скорость выполнения программы. Сложный контроллер прерываний имеет несколько уровней приоритета и позволяет быстро обслуживать многочисленные источники - запросы на прерывание (до 14). Низкое рабочее напряжение и малое энергопотребление кристаллов MARC4 идеально подходят для портативных и носимых применений, в том числе и с батарейным питанием. Эти микросхемы успешно применяются в различных областях: инфракрасный и радиочастотный обмен данными, удаленный контроль и управление, встраиваемые применения, и т. д. (например, в качестве контроллеров клавиатуры, драйвера жидкокристаллических и светодиодных индикаторов, считывателя Smart Cards и т.д.).
Кристаллы T48Cx9x / M44Cx9x семейства MARC4 выпускаются для работы в расширенных температурных диапазонах - автомобильном (-40С ...+125С) и индустриальном (-40С ... +85С). Это позволяет использовать MARC4 в электронных блоках управления работой двигателя автомобиля, в системах бортовой электроники (мониторинг давления в шинах, управление вентиляцией, отоплением или интегрированными антеннами), а также для применения в индустриальных датчиках. В подобных системах 4-х битные микроконтроллеры T48Cx9x/ M44Cx9x семейства MARC4 фирмы Atmel имеют ряд преимуществ по сравнению, например, с 8-битными микроконтроллерами : чрезвычайно низкий ток потребления и оптимальную комбинацию нескольких специализированных периферийных узлов на кристалле.
Микросхемы T48Cx9x (MTP /Flash версия) рекомендуется использовать для опытного и малосерийного производства, а микроконтроллеры M44Cx9x-H / M44Cx9x-V (ROM версия) предназначены для серийного производства. Образцы кристаллов доступны и могут быть заказаны через официальных дистрибьюторов Atmel Corp.
MARC4 также используются для построения считывателей Smart Cards (или чип-карт). Существуют два типа чип-карт: синхронные и асинхронные, различающиеся типом электронного интерфейса. Синхронные чип-карты могут хранить небольшую информацию, их также называют "карты памяти". Асинхронные карты уже включают в себя микроконтроллер с тактовой частотой от 1 МГц до 5 МГц и ориентированы на специальные применения. Микроконтроллер может, например, обеспечивать процесс кодирования для предотвращения несанкционированного доступа к данным, осуществлять идентификацию владельца карты и т.д. Поскольку в асинхронных картах для передачи данных через порт ввода/вывода необходим системный тактовый генератор, то это может обеспечиваться таймером 1 микроконтроллера семейства MARC4 (например, M44C510). Тактовая частота на входе чип-карты делится для последовательного интерфейса ввода/вывода на целое число F, обычно принимаемое равным 372 и 512. Скорость передачи при этом рассчитывается как fCLK/F, формат данных соответствует интерфейсу V.24.
Для программирования микроконтроллеров MARC4 разработано программное обеспечение для платформы PC с компилятором языка высокого уровня qFORTH. Существует также плата аппаратного внутрисхемного эмулятора. Архитектура MARC4 позволяет использовать для разработки проектов язык высокого уровня без потери эффективности и плотности программного кода.
Eще в 1994 году фирмой ARM было разработано 32-разрядное процессорное RISC-ядро ARM7. Оно оказалось настолько удачным, что легло в основу целого ряда 32-разрядных процессоров, и, с различными модификациями, используется до настоящего времени.
Архитектура ARM является RISC-архитектурой. Система команд и связанный с нею механизм декодирования намного проще, чем у микропрограммируемых CISC-процессоров, что приводит к высокой скорости обработки команд и малому времени отклика на прерывания. Кроме этого, RISC-процессор реализуется на кристалле меньших размеров, что снижает его стоимость.
Технология Thumb - дополнительное расширение к архитектуре ARM. Система команд Thumb является производной от стандартной 32-разрядной системы команд ARM, перекодированных в 16-разрядные коды. Применение системы команд Thumb позволило достичь очень высокой плотности кода, поскольку команды Thumb составляют половину ширины формата команд ARM. В процессе выполнения эти новые 16-разрядные Thumb-коды декомпрессируются процессором в соответствующие эквивалентные команды ARM, которые затем и выполняются процессорным ядром обычным способом. Thumb-ориентированные ядра имеют по сути две отдельных системы команд - уникальное достоинство, позволяющее разработчику использовать как производительность 32-разрядной системы команд ARM, так и преимущества малого размера кода системы команд Thumb. Средства декодирующей логики Thumb чрезвычайно просты, что лишь незначительно увеличивает размер кристалла и не приводит к увеличению энергопотребления. Впервые технология Thumb была встроена в ядро ARM7 еще в 1995 году. Адаптированное под нее ядро получило типовое обозначение ARM7TDMI (ARM7, T-наличие Thumb; D-возможность внутрисхемной аппаратной отладки; M-наличие аппаратного перемножителя; I-наличие модуля управления отладкой) и за короткое время было лицензировано большим количеством фирм-производителей, таких как Atmel, CirrusLogic, Sharp, Samsung, Triscend и др. Ядро ARM7TDMI используется как при создании различных устройств типа ASIC, так и при создании микроконтроллеров общего назначения и реконфигурируемых систем на кристалле. Основные достоинства ARM Thumb - высокая производительность при низком энергопотреблении и многофункциональность. Это определяет основную нишу для конечных приложений - интеллектуальная портативная и носимая аппаратура, в том числе и с батарейным питанием. Многие производители сложной электронной техники уже используют ядро ARM Thumb, встраивая его в свои законченные интегральные изделия. Это, например, приемники GPS (фирмы Mitel и SiRF), оборудование для базовых станций GSM (Ericsson) и сами телефоны GSM, приложения Audio WMA/MP3 (dBTech и Microsoft), модемы (Ericsson), пейджеры (Motorola), торговые терминалы, сетевые устройства и др.
Фирма Atmel начала поставки микроконтроллеров семейства AT91, в основу которых положено ядро ARM7TDMI, в сентябре 1998 года. И данное направление активно развивается. Atmel позиционирует AT91 ARM Thumb как стандартное 32-разрядное процессорное ядро для разнообразных массовых применений. Основные силы корпорации направлены на совершенствование технологического процесса, при этом в производство для широкой продажи попадают только удачные решения, реально претендующие на универсальность. По объему выпуска микросхем АТ91 с ядром ARM7TDMI корпорация вплотную приблизилась к признанным лидерам - Motorola и MIPS. В настоящее время выпущено и анонсировано три семейства микроконтроллеров серии AT91 - M40, M63 и M55. В планы корпорации Atmel входит также разработка и выпуск ряда комбинированных кристаллов - AT91+Ethernet/USB, AT91+CAN и AT91+MP3.
Микроконтроллеры семейства AT91 производятся по CMOS-технологии Atmel и обеспечивают оптимальное сочетание 32-разрядной производительности и малого потребления (лидируют по соотношению MIPS/Watt). При этом стоимость кристаллов AT91 сравнима со стоимостью 16-разрядных микроконтроллеров.
Успех ARM производства Atmel Corp. на рынке встраиваемых микроконтроллеров обусловлен еще и тем, что эти микросхемы изначально задумывались как семейство кристаллов. Выпускаются скоростные процессоры M40, кристаллы с мультипроцессорным интерфейсом M63, Flash и SRAM - кристаллы семейств 91F, 91R и 91FR, а также микросхемы сверхнизкого энергопотребления с аналоговыми блоками - M55 и М42.
Отличительные особенности семейства AT91:
· 32-разрядное процессорное RISC-ядро ARM7TDMI;
· два набора инструкций : высокопроизводительная 32-разрядная система команд ARM и 16-разрядная система команд с высокой плотностью кода Thumb;
· встроенный аппаратный перемножитель;
· интерфейс внутрисхемной эмуляции;
· программируемый интерфейс внешней шины;
· контроллер данных периферии для быстрого обмена данными без участия центрального процессора;
· векторный контроллер прерывания с малым временем ожидания;
· широкий диапазон встроенной периферии;
· наличие различных режимов энергосбережения, в том числе усовершенствованный контроллер управления питанием;
· диапазон напряжений питания от 1,8 до 3,6 В;
· исполнения для коммерческого и индустриального диапазонов температур.
Полностью программируемый интерфейс внешней шины EBI обеспечивает прямое соединение с внешней памятью. Восьмиуровневый векторный контроллер прерываний совместно с контроллером данных периферии PDC существенно увеличивает производительность кристаллов при работе в реальном масштабе времени.
Atmel Corp. предлагает также недорогие средства поддержки разработок - стартовые наборы разработчика:
AT91EB40/A - для микроконтроллеров AT91x40xxx (для микроконтроллеров со встроенным Flash-ПЗУ предлагается дополнительная плата расширения памяти AT91MEC01).
AT91EB62 - для микроконтроллеров AT91M63200/AT91M43300
AT91EB42 - для микроконтроллеров AT91M42800A
AT91EB55 - для микроконтроллеров AT91M55800A
Процесс разработки приложений на основе микроконтроллеров семейства AT91 полностью поддерживается современными средствами проектирования (включая компиляторы языка Си, ассемблеры, отладчики, операционные системы реального времени) ведущих мировых производителей, таких как ARM, IAR Systems, GreenHills Software, Metaware, WindRiver и др. Кроме того, для этих микроконтроллеров доступны бесплатные средства разработки (GNU). Постоянно совершенствуются и аппаратные средства поддержки разработок для ARM, которые выпускаются сторонними фирмами - внутрисхемные эмуляторы и отладочные комплексы.
В качестве примера рассмотрим микроконтроллер AT91FR40162S. AT91FR40162 – представитель семейства 16/32-разрядных микроконтроллеров AT91, которые основаны на процессорном ядре ARM7TDMI. Процессор построен по высокопроизводительной 32-разрядной RISC-архитектуре с расширенным набором инструкций и очень низким потреблением тока.
ARM-микроконтроллер AT91FR40162 характеризуется наличием 2 Мбит встроенного статического ОЗУ и 2 Мбайт флэш-памяти в одном компактном 121-выв. корпусе BGA. Высокая степень интеграции и очень малые габариты делают данное устройство идеальным для применения в приложениях с ограниченными размерами.
Быстродействующее встроенное статическое ОЗУ позволяет достигнуть производительности до 74 млн. инстр. в сек. при типичных условиях применения и существенно уменьшить потребляемый ток и электромагнитные излучения по сравнению с внешней установкой статического ОЗУ. Флэш-память может программироваться через интерфейс JTAG/ICE или через запрограммированный в производственных условиях загрузчик, который использует питание микросхемы, что позволит использовать AT91FR40162 в приложениях с внутрисистемным программированием.
Основные параметры
Ядро: ARM7TDMI
MIPS: 74
F,МГц: от 0 до 75
Память: Flash,кБ 2048
Память: RAM,кБ 256
I/O (макс.),шт. 32
Таймеры: 16-бит,шт 3
Таймеры: RTC Нет
Интерфейсы: UART,шт 2
Интерфейсы: DMA,шт 4
VCC,В: от 1.65 до 3.6
ICC,мА: 16
TA,°C: от -40 до 85
Корпус: TFBGA-121
Ниже приведена блок-схема микроконтроллера:

Рис. 1. Блок-схема микроконтроллера AT91FR40162S
AVR-микроконтроллеры, пожалуй, одно из самых интересных направлений, развиваемых корпорацией Atmel. Объемы продаж AVR в мире удваиваются ежегодно, неуклонно растет число сторонних фирм, выпускающих программные и аппаратные средства поддержки разработок для этих микроконтроллеров. Можно считать, что AVR постепенно становится еще одним индустриальным стандартом среди 8-разрядных микроконтроллеров общего назначения. В настоящее время в производстве у Atmel Corp. находятся три семейства AVR - "tiny", "classic" и "mega", различающиеся объемами массивов Flash-, EEPROM и SRAM памяти, набором периферийных узлов и построением схемы тактирования.
AVR представляет собой 8-разрядный RISC микроконтроллер, имеющий быстрое процессорное ядро, Flash-память программ ROM, память данных SRAM, порты ввода/вывода и интерфейсные схемы. Гарвардская архитектура AVR реализует полное логическое и физическое разделение не только адресных пространств, но и информационных шин для обращения к ROM и SRAM. Такое построение уже ближе к структуре цифровых сигнальных процессоров и обеспечивает существенное повышение производительности. Использование одноуровневого конвейера в AVR также заметно сократило цикл "выборка - исполнение" команды. Например, у стандартных микроконтроллеров семейства MCS-51 короткая команда выполняется за 12 тактов генератора (1 машинный цикл), в течение которого процессор последовательно считывает код операции и исполняет ее. В микроконтроллерах AVR короткая команда в общем потоке тоже выполняется за один машинный цикл, но он составляет всего один период тактовой частоты. Отличительной чертой архитектуры AVR является регистровый файл быстрого доступа, содержащий 32 байтовых регистров общего назначения. Шесть регистров файла могут использоваться как три 16-разрядных указателя адреса при косвенной адресации данных (X, Y и Z Pointers), что существенно повышает скорость пересылки данных при работе прикладной программы.
Flash-память программ AVR может быть загружена как с помощью обычного программатора, так и с помощью SPI-интерфейса, в том числе непосредственно на целевой плате - функция ISP. Последние версии кристаллов "mega" выпуска 2001-2002 года имеют возможность самопрограммирования (функция SPM). Все AVR имеют также блок энергонезависимой памяти данных EEPROM, доступный программе микроконтроллера непосредственно в ходе ее выполнения. EEPROM обычно используется для хранения промежуточных данных, констант, таблиц перекодировок, калибровочных коэффициентов и т.п. Эта память может быть загружена извне как через SPI интерфейс, так и с помощью обычного программатора. Два программируемых бита секретности позволяют защитить ROM и энергонезависимую память данных EEPROM от несанкционированного считывания. Внутренняя оперативная память SRAM имеется у AVR семейств "classic" и "mega", а также у одного представителя "tiny" - ATtiny26/L. Для некоторых микроконтроллеров возможна организация подключения внешней памяти данных объемом до 64К.
Внутренний тактовый генератор AVR может запускаться от внешнего генератора или кварцевого резонатора, а также от внутренней или внешней RC-цепочки. Все AVR полностью статические, их минимальная рабочая частота ничем не ограничена (вплоть до пошагового режима). Микроконтроллер ATtiny15L имеет дополнительный блок PLL для аппаратного умножения основной тактовой частоты в 16 раз. При ее номинальном значении 1,6 МГц получаемая вспомогательная периферийная частота равна 25,6 МГц. Эта частота может служить источником для одного из таймеров/счетчиков микроконтроллера, значительно повышая точность его работы. Микроконтроллеры ATmega64/103/128 также имеют интересную архитектурную особенность, позволяющую значительно снизить энергопотребление кристалла в целом, когда в процессе работы целесообразно понизить основную тактовую частоту микросхемы. Специальный предделитель на кристалле позволяет делить основную частоту на целое число в диапазоне от 2 до 129. Включение/выключение данной функции осуществляется программно.
Микроконтроллеры AVR имеют от 1 до 4 таймеров/счетчиков общего назначения с разрядностью 8 или 16 бит.
Общие черты всех таймеров/счетчиков следующие:
· наличие программируемого предделителя входной частоты с различными градациями деления. Отличительной чертой является возможность работы таймеров/счетчиков на основной тактовой частоте микроконтроллера без предварительного ее понижения, что заметно повышает точность генерации временных интервалов системы;
· независимое функционирование от режима работы процессорного ядра микроконтроллера (т.е. они могут быть как считаны, так и загружены новым значением в любое время);
· возможность работы или от внешнего источника опорной частоты, или в качестве счетчика внешних событий. Верхний частотный порог определен в этом случае как половина основной тактовой частоты микроконтроллера. Выбор перепада внешнего источника (фронт или срез) программируется пользователем;
· наличие различных векторов прерываний для событий "переполнение содержимого", "захват", "сравнение".
Сторожевой таймер у AVR имеет свой собственный RC-генератор с частотой 1 МГц, которая является приближенной и зависит от величины напряжения питания микроконтроллера и от температуры. Сторожевой таймер снабжен отдельным программируемым предделителем входной частоты, что позволяет подстраивать временной интервал переполнения таймера и сброса микроконтроллера. Данный таймер можно программно отключать во время работы микросхемы, как в активном режиме, так и в любом из режимов пониженного энергопотребления. В последнем случае это приводит к значительному снижению потребляемого тока.
Система реального времени (RTC) реализована во всех микроконтроллерах "mega" и в двух кристаллах "classic" - AT90(L)S8535. Таймер/счетчик RTC имеет отдельный предделитель, который может быть программным способом подключен или к источнику основной тактовой частоты, или к дополнительному асинхронному источнику опорной частоты (кварцевый резонатор или внешний синхросигнал). Для этой цели зарезервированы два вывода микросхемы. Внутренний осциллятор, нагруженный на счетный вход таймера/счетчика RTC, оптимизирован для работы с внешним "часовым" кварцевым резонатором 32,768 кГц.
Порты ввода/вывода AVR имеют число независимых линий "Вход/Выход" от 3 до 53. Выходные драйверы обеспечивают токовую нагрузочную способность 20 мА на линию порта (втекающий ток) при максимальном значении 40 мА, что позволяет непосредственно подключать к микроконтроллеру светодиоды и биполярные транзисторы. Архитектура построения портов ввода/вывода AVR с тремя битами контроля/управления (вместо двух, как это сделано у большинства 8-разрядных микроконтроллеров) позволяет разработчику полностью контролировать процесс ввода/вывода, устраняет необходимость иметь копию содержимого порта в памяти для безопасности и повышает скорость работы микроконтроллера при работе с внешними устройствами. Особую значимость приобретает данная возможность AVR при реализации систем, работающих в условиях внешних электрических помех.
Аналоговый компаратор входит в состав большинства AVR. Он имеет отдельный вектор прерывания в общей системе прерываний микроконтроллера. Тип перепада, вызывающий запрос на прерывание при срабатывании компаратора, может быть запрограммирован как фронт, срез или переключение. Важной аппаратной особенностью является то, что логический выход компаратора может быть программным образом подключен ко входу одного из 16-разрядных таймеров/счетчиков, работающего в режиме захвата. Это дает возможность измерять длительности аналоговых сигналов, а также реализовывать АЦП двухтактного интегрирования.
Аналого-цифровой преобразователь построен по схеме АЦП последовательных приближений с устройством выборки/хранения. Число независимых каналов преобразования определяется типом микроконтроллера, разрядность АЦП составляет 10 бит. Время преобразования выбирается программно с помощью установки коэффициента делителя частоты, входящего в состав блока АЦП. Важной особенностью аналого-цифрового преобразователя является функция подавления шума при преобразовании, когда на точность не оказывают влияние помехи, возникающие при работе процессорного ядра.
AVR - микроконтроллеры могут быть переведены программным путем в один из шести режимов пониженного энергопотребления. Для разных семейств AVR и разных микроконтроллеров в пределах каждого семейства изменяются количество и реализованное сочетание доступных режимов пониженного энергопотребления.
Система команд AVR весьма развита и насчитывает до 133 различных инструкций. Почти все команды имеют фиксированную длину в одно слово (16 бит), что позволяет в большинстве случаев объединять в одной команде и код операции, и операнд(ы). В последних версиях кристаллов "mega" AVR реализована функция аппаратного умножения. По разнообразию и количеству инструкций AVR больше похожи на CISC, чем на RISC процессоры. Например, у PIC-контроллеров система команд насчитывает до 75 различных инструкций, а у MCS-51 она составляет 111.
AVR функционируют в широком диапазоне питающих напряжений от 1,8 до 6,0 Вольт. Температурные диапазоны работы - коммерческий и индустриальный.
Корпорация Atmel планирует дальнейшее развитие AVR. Исключение составляет лишь функционально сбалансированное семейство "classic". В семействе "tiny" появился интересный микроконтроллер - ATtiny26, имеющий в своем составе блок SRAM емкостью 128 байт и модуль USI (Universal Serial Interface). Модуль USI может быть программным образом сконфигурирован для работы в качестве коммуникационных интерфейсов SPI (Master/Slave) или I2C (Master/Slave). Дополнительно USI может быть запрограммирован как полудуплексный UART или 4/12 разрядный счетчик. Но наиболее прогрессивные решения реализованы у "mega" AVR, где анонсирован и начат серийный выпуск целого ряда кристаллов по технологии 0,35 мкм. Объем Flash-памяти программ с функциями ISP и SPM у новых "mega" будет варьироваться от 8 до 128 килобайт, а выпускаться они будут в корпусах MLF, DIP и TQFP с количеством выводов от 32 до 64. Все новые микроконтроллеры семейства "mega" будут иметь JTAG - интерфейс (за исключением mega8), аппаратный умножитель, схему защиты от сбоев, последовательный интерфейс I2C, АЦП (за исключением ATmega162) и ряд других аппаратных особенностей. Помимо этого, вдвое будет повышена скорость работы всех периферийных узлов, улучшена работа схемы тактирования и упрощен доступ к внешней памяти данных.
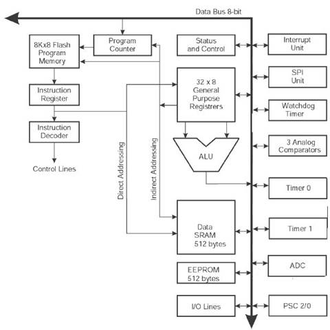
В качестве примера рассмотрим 8-разрядный микроконтроллер AT90PWM1 с внутрисистемно-программируемой Flash памятью размером 8 кбайт.
Основные параметры
Ядро: AVR
MIPS: 16
F,МГц: от 0 до 16
Память: Flash,кБ 8
Память: RAM,кБ 0.5
Память: EEPROM,кБ 0.5
I/O (макс.),шт. 19
Таймеры: 8-бит,шт 1
Таймеры: 16-бит,шт 1
Таймеры: Каналов ШИМ,шт 6
Таймеры: RTC Да
Интерфейсы: SPI,шт 1
Аналоговые входы: Разрядов АЦП,бит 10
Аналоговые входы: Каналов АЦП,шт 8
Аналоговые входы: Быстродействие АЦП,kSPS 120
Аналоговые входы: Аналоговый компаратор,шт 3
VCC,В: от 2.7 до 5.5
ICC,мА: 16
TA,°C: от -40 до 105
Корпус: SOIC-24
Ниже приведена блок-схема микроконтроллера AT90PWM1:

Рис. 2. Блок-схема микроконтроллера AT90PWM1
Программные и аппаратные средства поддержки для AVR всегда разрабатывались и разрабатываются параллельно с самими кристаллами и включают в себя компиляторы, внутрисхемные эмуляторы, отладчики, программаторы и простейшие отладочные платы - конструкторы практически на любой вкус. Активно идет процесс сотрудничества со сторонними фирмами, выпускающими программные средства проектирования и отладки, операционные системы, разнообразные отладочные комплексы и внутрисхемные эмуляторы для AVR.
Фирма Atmel Corp. является одним из ведущих производителей микроконтроллеров как на мировом, так и на российском рынке. Все линии многоцелевых микроконтроллеров общего назначения активно развиваются корпорацией, постоянно появляются новые кристаллы, обновляются версии уже существующих микросхем, совершенствуется и расширяется программное обеспечение поддержки.
Atmel – одна из немногих прогрессивных компаний, способных к объединению различных типов микроэлектронных ячеек на площади единого кремниевого кристалла. Кремниевые пластины изготавливаются по самым современным технологиям, включая BiCMOS, CMOS и SiGe, при этом энергонезависимая память большого объема, логические элементы и аналоговые электронные ячейки комбинируются интегральным способом в одну микросхему.
Список использованной литературы
1. Игорь Кривченко: Журнал "Электронные Компоненты" N5 2002г
2. http://ru.wikipedia.org/wiki/Atmel
3. http://www.atmel.ru/Articles/Atmel18.htm
4. http://catalog.gaw.ru/