| Скачать .docx | Скачать .pdf |
Реферат: Универсальные ответы на экзамене по геодезии
Экзаменационный билет №1
1. План и карта, их масштабы.
План – уменьшенное подробное изображение земной поверхности на бумаге без учета кривизны территории (небольшой территории).
Карта – уменьшенное обобщенное изображение на бумаге большой территории местности с учетом кривизны земли.
Масштаб – величина безразмерная, показывает во сколько раз, измеренная на местности горизонтальная длина, уменьшена при его изображении на бумаге. Выражается в виде дроби (1:10000). Величину, которая соответствует на карте 0,1 мм (укол иглы), называют точностью масштаба карты .
2. Как определяется по карте X , Y точки? (чертеж)
Прямоугольные координаты (плоские) — линейные величины: абсцисса Х и ордината Y, определяющие положение точек на плоскости (на карте) относительно двух взаимно перпендикулярных осей Х и Y Абсцисса Х и ордината Y точки А—расстояния от начала координат до оснований перпендикуляров, опущенных из точки А на соответствующие оси, с указанием знака.
Циркулем измеряют по перпендикуляру расстояние от данного объекта до нижней километровой линии и по масштабу определяют его действительную величину. Затем эту величину в метрах приписывают справа к подписи километровой линии, а при длине отрезка более километра вначале суммируют километры, а затем также приписывают число метров справа. Это будет координата объекта Х (абсцисса).
Таким же приемом определяют и координату Y (ординату), только расстояние от объекта измеряют до левой стороны квадрата, При отсутствии циркуля расстояния измеряют линейкой или полоской бумаги.

3. Задача: Вычислить отметку промежуточной точки ПК9 +24,71, если отсчет по рейке на ней с=1327, Нзадней =127,143, а=0724, в=2484, Нпередней = 125,383.
Решение: Hпром.= ГИ – С. ГИ= ГИ’+ ГИ’’/2. ГИ’ = 127,143 + 2484 = 129,627. ГИ’’ = 125,383 + 0724 = 126,107. ГИ = 127,867. H+24,71 = ГИ - С+24,71 = 126,54.
Экзаменационный билет №2
1. Ориентирные углы. Азимуты. Дирекционные углы, Румбы.
Ориентирные углы – горизонтальный угол между начальным направлением и ориентируемой линией. Ориентировать линию – показать углы по отношению к названию частей света. (Ориентировать линию местности — это означает отыскать ее направление относительно какого-нибудь другого направления, принимаемого за начальное).
Азимут истинный – горизонтальный угол, отсчитываемый от северного конца истинного меридиана по часовой стрелке и до заданной точки или линии. (Истинный меридиан – географический меридиан, проходящий через точку наблюдения).
Азимут магнитный - горизонтальный угол, отсчитываемый от северного конца магнитного меридиана по часовой стрелке и до заданной точки или линии. (Магнитный меридиан – плоскость, мысленно проведенная по направлению магнитной стрелки, через магнитные полюсы).
Дирекционный угол – горизонтальный угол, отсчитываемый от северного конца осевого меридиана по часовой стрелке до заданной точки или линии. (Осевой меридиан – меридиан, проходящий по оси каждой зоны).
Румб – горизонтальный острый угол, отсчитываемый от южного или северного ближайшего конца меридиана. У румбов всегда указывается направление.
2. Дать определение широта точки. (чертеж)
Широта точки (φ) – вертикальный угол, образованный между плоскостью экватора и нормалью, опущенной из определенной точки (С или Ю) к прямоугольным координатам X или Y.


3. Задача: Вычислить отметку промежуточной точки ПК9+24,71, если отсчет по рейке на ней с=1327, Нзадней =127,143, а=0724, в=2484, Нпередней = 125,383.
Решение: Hпром.= ГИ – С. ГИ= ГИ’+ ГИ’’/2. ГИ’ = 127,143 + 2484 = 129,627. ГИ’’ = 125,383 + 0724 = 126,107. ГИ = 127,867. H+24,71 = ГИ - С+24,71 = 126,54.
Экзаменационный билет №3
1. Координаты. Какие координаты бывают?
Координаты –величины, которые указывают месторасположение данной точки на поверхности земли или на карте. Координаты бывают плановые ( географические (астрономические) (широта, долгота – измер. в градусах) и прямоугольные) и высотные .
2. Как определяются по карте λ,φ точки? (чертеж)
Чтобы определить широту какого-либо объекта, надо найти параллель, на которой он находится. Например, столица Египта Каир расположен на параллели 30° и лежит к северу от экватора, следовательно, широта Каира северная и составляет 30° северной широты (с.ш.).
Чтобы определить долготу какого-либо объекта, надо найти меридиан, на котором находится этот объект. Например, Санкт-Петербург расположен к востоку от нулевого Гринвичского меридиана, на меридиане, отстоящем от него на 30°, следовательно, долгота Санкт-Петербурга восточная и составляет 30° (в.д).

3. Задача: Вычислить отметку промежуточной точки ПК9+24,71, если отсчет по рейке на ней с=1327, Нзадней =127,143, а=0724, в=2484, Нпередней = 125,383.
Решение: Hпром.= ГИ – С. ГИ= ГИ’+ ГИ’’/2. ГИ’ = 127,143 + 2484 = 129,627. ГИ’’ = 125,383 + 0724 = 126,107. ГИ = 127,867. H+24,71 = ГИ - С+24,71 = 126,54.
Экзаменационный билет №4
1. Сближение меридианов и склонение магнитной стрелки. Их определение и схематический чертеж.
Сближение меридианов – небольшой горизонтальный угол между осевым и истинным меридианом. Сближение бывает В («+») и З («-»).

Угол склонения магнитной стрелки между истинным и магнитным меридианами (В («+») и З («-»)). Значение углов сближения меридианов и углов склонения магнитной стрелки в каждой точке в разное время различное. Их значения определяются по показаниям службы гидрометеорологии.
2. Что такое профиль линии? Как он определяется на карте? (чертеж)
Профиль – изображение разреза местности вертикальной плоскостью по заданному направлению. Направление на карте, вдоль которого строится профиль, называется профильной линией .
Для его построения используют горизонтали, которые определяют границы подъемов и спусков, а также резкие перегибы скатов.
На карте прочерчивают профильную линию, затем устанавливают и подписывают высоты горизонталей и точек перегиба скатов вдоль профильной линии. Подписи при этом могут делаться лишь в точках перегиба и на некоторых горизонталях - для облегчения определения высот. Определив разность высот, выбирают вертикальный масштаб профиля. Вертикальный масштаб обычно берется крупнее горизонтального в 10 раз. На миллиметровой бумаге проводят линию основания и в соответствии с принятым вертикальным масштабом прочерчивают над ней ряд параллельных горизонтальных линий, соответствующих высоте горизонталей (через одну, через две). В дальнейшем, приложив бумагу к профильной линии АВ на карте проектируют (переносят по перпендикулярам) на нее начальную и конечную точки, а также все горизонтали и точки перегиба скатов в соответствии со значением их высоты. Полученные точки соединяются плавной кривой.

3. Задача: Вычислить отметку промежуточной точки ПК9+24,71, если отсчет по рейке на ней с=1327, Нзадней =127,143, а=0724, в=2484, Нпередней = 125,383.
Решение: Hпром.= ГИ – С. ГИ= ГИ’+ ГИ’’/2. ГИ’ = 127,143 + 2484 = 129,627. ГИ’’ = 125,383 + 0724 = 126,107. ГИ = 127,867. H+24,71 = ГИ - С+24,71 = 126,54.
Экзаменационный билет №5
1. Меридианы. Какие меридианы бывают? (чертеж)
|
|
|


2. Что такое превышение? Как оно определяется на карте? (чертеж)
Отметку точки на местности определяют по превышению этой точки относительно другой точки, отметка которой известна. Процесс измерения превышения одной точки относительно другой называется нивелированием.
Абсолютную высоту Н точки земной поверхности по карте определяют по горизонталям и отметкам. Если точка расположена на горизонтали, то ее высота равна отметке горизонтали. Если точка расположена между горизонталями, то ее высота равна отметке нижней горизонтали плюс превышение точки (определяется интерполированием) над этой горизонталью. Относительное превышение двух точек равно разности абсолютных высот этих точек.
h-превышение, D-расстояние наклонной, Hb-отметка, h= Ha- Hb
|
||||||
|
||||||
|
||||||
|
||||||
![]() |
||||||
|
|
|||||
3. Задача: Вычислить отметку промежуточной точки ПК9+24,71, если отсчет по рейке на ней с=1327, Нзадней =127,143, а=0724, в=2484, Нпередней = 125,383.
Решение: Hпром.= ГИ – С. ГИ= ГИ’+ ГИ’’/2. ГИ’ = 127,143 + 2484 = 129,627. ГИ’’ = 125,383 + 0724 = 126,107. ГИ = 127,867. H+24,71 = ГИ - С+24,71 = 126,54.
Экзаменационный билет №6
1. Связи между румбами и дирекционными углами по четвертям. Чертеж по четвертям.
Для ориентировании линий на местности могут использоваться румбы (r ), которые представляют собой углы в пределах от 0 до 900 , образованные ближайшим (северным или южным) концом исходного направления и направлением ориентируемой линии. Так как румбы могут находиться в пределах от 0 до 900 , их значения повторяются в различных четвертях, поэтому для однозначного определения перед числовым значением румбов ставится название четверти: для первой четверти СВ (северо-восток), второй ЮВ (юго-восток), третьей ЮЗ (юго-запад), четвёртой СЗ (северо-запад).
![]() |
| Четверти | I | II | III | IV |
| Ориентирующие углы | СВ | ЮВ | ЮЗ | СЗ |
| Румб или табличный угол | r1 = A1 | r2 = 1800 – A2 | r3 = A3 - 1800 | r4 = 3600 – A4 |
| Азимут или дирекционный угол | A1 = r1 | A2 = 1800 – r2 | A3 = 1800 + r3 | A4 = 3600 – r4 |
Формулы для перехода
| Четверть | α | r |
| 1 | 0…90 | α |
| 2 | 90…180 | 180-α |
| 3 | 180…270 | α-180 |
| 4 | 270…360 | 360-α |
2. Что такое уклон линии? Как он определяется на карте? (чертеж)
|
![]() |
i=tgδ=h/d
|
|
|
|
|
3. Задача: Вычислить отметку промежуточной точки ПК9+24,71, если отсчет по рейке на ней с=1327, Нзадней =127,143, а=0724, в=2484, Нпередней = 125,383.
Решение: Hпром.= ГИ – С. ГИ= ГИ’+ ГИ’’/2. ГИ’ = 127,143 + 2484 = 129,627. ГИ’’ = 125,383 + 0724 = 126,107. ГИ = 127,867. H+24,71 = ГИ - С+24,71 = 126,54.
Экзаменационный билет №7
1. Определение масштаба.
Масштаб – величина безразмерная, показывает во сколько раз, измеренная на местности горизонтальная длина, уменьшена при его изображении на бумаге. Выражается в виде дроби (1:10000). Величину, которая соответствует на карте 0,1 мм (укол иглы), называют точностью масштаба карты .
2. Как определяется отметка (высота) точки на карте?
Отметка любой точки на топографической карте определяется по отметкам ближайших горизонталей. Если точка находится на самой горизонтали, то ее отметка равна отметке горизонтали. Если точка находится между горизонталями, то необходимо выполнить интерполирование.Интерполированием горизонталей называется процесс нахождения на линии точек, через которые пройдут горизонтали.
3. Задача: Вычислить отметку промежуточной точки ПК9+24,71, если отсчет по рейке на ней с=1327, Нзадней =127,143, а=0724, в=2484, Нпередней = 125,383.
Решение: Hпром.= ГИ – С. ГИ= ГИ’+ ГИ’’/2. ГИ’ = 127,143 + 2484 = 129,627. ГИ’’ = 125,383 + 0724 = 126,107. ГИ = 127,867. H+24,71 = ГИ - С+24,71 = 126,54.
Экзаменационный билет №8
1. Точность карты и плана. Расшифровать масштаб карты.
Величину, которая соответствует на карте 0,1 мм (укол иглы), называют точностью масштаба карты . Точность плана показывает, с какой ошибкой нанесены на план или карту точечные объекты или четкие контуры. Точность плана оценивается в большинстве случаев величиной 0.5 мм; в нее входят ошибки всех процессов создания плана или карты, в том числе и ошибки графических построений.
| На карте | На местности |
1 см 1 мм 0,1 мм |
250 м 25 м 2,5 м |
2. Что такое заложение? Как оно определятся по карте? (чертеж)
Заложение – расстояние на карте, соединяющее 2 соседние горизонтали. Заложение (d) характеризует склон (т.е. уклон линии) данной линии (горы). (чем меньше заложение – склон круче).
Оно измеряется по карте при помощи линейки. Если определяемая точка расположена на какой-то горизонтали, то ее высота (отметка) соответствует отметке данной горизонтали.

3. Задача: Вычислить отметку промежуточной точки ПК9+24,71, если отсчет по рейке на ней с=1327, Нзадней =127,143, а=0724, в=2484, Нпередней = 125,383.
Решение: Hпром.= ГИ – С. ГИ= ГИ’+ ГИ’’/2. ГИ’ = 127,143 + 2484 = 129,627. ГИ’’ = 125,383 + 0724 = 126,107. ГИ = 127,867. H+24,71 = ГИ - С+24,71 = 126,54.
Экзаменационный билет №9
1. Координаты. Какие координаты бывают?
Координаты –величины, которые указывают месторасположение данной точки на поверхности земли или на карте. Координаты бывают плановые ( географические (астрономические) (широта, долгота – измер. в градусах) и прямоугольные) и высотные .
2. Что такое высота сечения? Как она определяется на карте? (чертеж)
Высота сечения – вертикальное расстояние между секущими горизонтальными плоскостями. Она (h) = const. Ее величина задается на карте.

3. Задача: Вычислить отметку промежуточной точки ПК9+24,71, если отсчет по рейке на ней с=1327, Нзадней =127,143, а=0724, в=2484, Нпередней = 125,383.
Решение: Hпром.= ГИ – С. ГИ= ГИ’+ ГИ’’/2. ГИ’ = 127,143 + 2484 = 129,627. ГИ’’ = 125,383 + 0724 = 126,107. ГИ = 127,867. H+24,71 = ГИ - С+24,71 = 126,54.
Экзаменационный билет №10
1. Единицы измерения прямоугольных координат. (чертеж)
Абсцисса ( X )
линейное расстояние в системе координат картографической сетки от отсчетной линии восток-запад, к северу отрицательное и к югу положительное. Показывает, на каком расстоянии удалена определяемая точка от экватора.
Ордината ( Y ) – на сколько удалена данная точка на З или В от осевого меридиана данной зоны. Линейное расстояние в системе координат или картографической сетки по направлениям на восток (положительное) или запад (отрицательное) от отсчетной линии север-юг
(метры)
2. Что такое высота сечения? Как она определяется на карте? (чертеж)
Высота сечения – вертикальное расстояние между секущими горизонтальными плоскостями. Она (h) = const. Ее величина задается на карте.

3. Задача: Вычислить отметку промежуточной точки ПК9+24,71, если отсчет по рейке на ней с=1327, Нзадней =127,143, а=0724, в=2484, Нпередней = 125,383.
Решение: Hпром.= ГИ – С. ГИ= ГИ’+ ГИ’’/2. ГИ’ = 127,143 + 2484 = 129,627. ГИ’’ = 125,383 + 0724 = 126,107. ГИ = 127,867. H+24,71 = ГИ - С+24,71 = 126,54.
Экзаменационный билет №11
1. Единицы измерения географических координат. ( чертеж)
Географические координаты— это угловые величины, определяющие положение данной точки на поверхности земного эллипсоида. Координатами точки на земной поверхности являются географическая широта и долгота.
Широта точки (φ) – вертикальный угол, образованный между плоскостью экватора и нормалью, опущенной из определенной точки (С или Ю) к прямоугольным координатам X или Y.
Долгота (λ ) – двугранный горизонтальный угол, образованный плоскостью начального меридиана и меридиана, проходящего чрез определяемую. Бывает З и В, в зависимости от того, где располагается определяемая точка относительно плоскости гринвичского меридиана.
(градусы, минуты, секунды)
3. Задача: Вычислить отметку промежуточной точки ПК9+24,71, если отсчет по рейке на ней с=1327, Нзадней =127,143, а=0724, в=2484, Нпередней = 125,383.
Решение: Hпром.= ГИ – С. ГИ= ГИ’+ ГИ’’/2. ГИ’ = 127,143 + 2484 = 129,627. ГИ’’ = 125,383 + 0724 = 126,107. ГИ = 127,867. H+24,71 = ГИ - С+24,71 = 126,54.
Экзаменационный билет №12
1. Что показывает X точки? (чертеж)
Абсцисса ( X ) показывает, на каком расстоянии удалена определяемая точка от экватора.
![]() |
|
|
2. Как изображается рельеф местности на карте? (чертеж)
Совокупность неровностей земной поверхности составляет рельеф местности . По типу рельефа местность делится на равнинную, холмистую и горную.
Способ горизонталей. Применяется на топографических картах масштаба 1:500 000 и крупнее. Неровности местности изображаются замкнутыми кривыми линиями - горизонталями (или изогипсами), все точки которых имеют одинаковую высоту над уровнем Балтийского моря. Горизонтали проводятся через равные по высоте промежутки, называемые высотой сечения.



3. Задача: Вычислить отметку промежуточной точки ПК9+24,71, если отсчет по рейке на ней с=1327, Нзадней =127,143, а=0724, в=2484, Нпередней = 125,383.
Решение: Hпром.= ГИ – С. ГИ= ГИ’+ ГИ’’/2. ГИ’ = 127,143 + 2484 = 129,627. ГИ’’ = 125,383 + 0724 = 126,107. ГИ = 127,867. H+24,71 = ГИ - С+24,71 = 126,54.
Экзаменационный билет №13
1. Что показывает Y точки? (чертеж)
Ордината (
Y
)
– на сколько удалена данная точка на З или В от осевого меридиана данной зоны.
|
2. Дать определение долготы точки. (чертеж)
Долгота (λ ) – двугранный горизонтальный угол, образованный плоскостью начального меридиана и меридиана, проходящего чрез определяемую. Бывает З и В, в зависимости от того, где располагается определяемая точка относительно плоскости гринвичского меридиана.

3. Задача: Вычислить отметку промежуточной точки ПК9+24,71, если отсчет по рейке на ней с=1327, Нзадней =127,143, а=0724, в=2484, Нпередней = 125,383.
Решение: Hпром.= ГИ – С. ГИ= ГИ’+ ГИ’’/2. ГИ’ = 127,143 + 2484 = 129,627. ГИ’’ = 125,383 + 0724 = 126,107. ГИ = 127,867. H+24,71 = ГИ - С+24,71 = 126,54.
Экзаменационный билет №14
1. Как измеряется длина отрезка по карте? (чертеж)
Расстояния по карте определяются с помощью линейного масштаба. Надо измерить циркулем, линейкой или полоской бумаги расстояние между заданными точками на карте, а затем приложить циркуль к линейному масштабу и снять отсчет.

2. «Пятка рейки». Его применение. (чертеж)
На нижнюю часть рейки крепится металлическая пластина, называемая пяткой рейки . На черной стороне отсчет, соответствующий нулю, совпадает с пяткой рейки, а на красной стороне отсчет, соответствующий пятке, не равен нулю. Отсчеты по красной и черной сторонам рейки не могут быть одинаковыми. Разность пяток для данной рейки является постоянной величиной, что позволяет контролировать правильность отсчетов.

3. Задача: Вычислить отметку промежуточной точки ПК9+24,71, если отсчет по рейке на ней с=1327, Нзадней =127,143, а=0724, в=2484, Нпередней = 125,383.
Решение: Hпром.= ГИ – С. ГИ= ГИ’+ ГИ’’/2. ГИ’ = 127,143 + 2484 = 129,627. ГИ’’ = 125,383 + 0724 = 126,107. ГИ = 127,867. H+24,71 = ГИ - С+24,71 = 126,54.
Экзаменационный билет №15
1. Как измеряется горизонтальный угол на карте? (чертеж)
При измерении углов на карте центр транспортира совмещается с вершиной угла, а линия основания транспортира - с одной из сторон угла; отсчет угла (в градусах) берется против второй его стороны.


2. Как измеряется «Х» пикета?(чертеж)
3. Задача: Вычислить отметку промежуточной точки ПК9+24,71, если отсчет по рейке на ней с=1327, Нзадней =127,143, а=0724, в=2484, Нпередней = 125,383.
Решение: Hпром.= ГИ – С. ГИ= ГИ’+ ГИ’’/2. ГИ’ = 127,143 + 2484 = 129,627. ГИ’’ = 125,383 + 0724 = 126,107. ГИ = 127,867. H+24,71 = ГИ - С+24,71 = 126,54.
Экзаменационный билет №16
1. Чтение условных знаков на карте.
Условные знаки. Это азбука, знание которой необходимо для чтения карты. Хотя обозначения условных знаков в определенной мере зависят от масштаба карты, все их принято делить на три группы: масштабные, внемасштабные и пояснительные. Первые изображают местные предметы (обычно контуром), которые «укладываются» в масштаб карты: озера, крупные города и т. п. Вторые — объекты, которые не могут быть выражены в данном масштабе. По такому знаку нельзя судить о действительном размере показанного на карте селения, колодца или моста. К третьим знакам относятся цифры, надписи и другие обозначения.
С уменьшением масштаба карты масштабные условные знаки превращаются во внемасштабные. При чтении условных знаков надо знать, что карта (план) изображает, как правило, летнее состояние местности.
Рельеф местности. Изображается на крупномасштабных картах при помощи горизонталей, которыми называются кривые замкнутые линии, соединяющие на карте точки местности, одинаковые по высоте над уровнем океана.
Расстояние по высоте между двумя смежными горизонталями, взятыми на одном скате, называется высотой сечения, а расстояние между горизонталями по плану — заложением. Чем круче скат, тем меньше величина заложения, и наоборот Для определения крутизны ската измеряют кратчайшее расстояние между соседними горизонталями и по шкале подбирают соответствующее ему заложение, против которого читают крутизну ската в градусах. Чтобы определить направление ската по горизонталям, на некоторых из них ставятся перпендикулярные черточки—скатоуказатели (бергштрихи), «смотрящие» своим свободным концом в сторону понижения
Некоторые формы рельефа изображаются не горизонталями, а особыми условными значками. Так, обрывы, овраги, валы, ямы показываются линией с зубчиками, обращенными в сторону крутого склона. При пользовании мелкомасштабными картами туристы могут встретить изображение рельефа способом отмывки (сгущения теней) и гипсометрическим («чем выше, тем темнее»).
2. Что такое репер? (чертеж)
Репер – точки, отметки которых нам заранее известны. Репер – знак, закрепляющий точку земной поверхности, высота которой относительно исходной уровенной (поверхность, всюду перпендикулярная отвесным линиям; это поверхность мирового океана) поверхности определена путём нивелирования.

3. Задача: Вычислить отметку промежуточной точки ПК9+24,71, если отсчет по рейке на ней с=1327, Нзадней =127,143, а=0724, в=2484, Нпередней = 125,383.
Решение: Hпром.= ГИ – С. ГИ= ГИ’+ ГИ’’/2. ГИ’ = 127,143 + 2484 = 129,627. ГИ’’ = 125,383 + 0724 = 126,107. ГИ = 127,867. H+24,71 = ГИ - С+24,71 = 126,54.
Экзаменационный билет №17
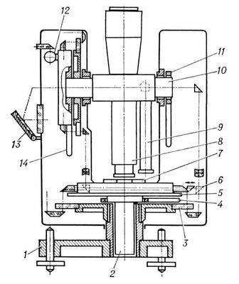
1. Теодолит. Его устройство. (чертеж)
Теодолит – геодезический прибор, который служит для измерения (угл. наклонов) на местности горизонтальных и вертикальных углов. Основные части : 1. горизонтальный круг (для измерения гор. углов); 2. вертикальный круг (для измерения верт. углов); 3. зрительная (наблюдательная) труба; 4. окуляр; 5. объектив (та часть, которая направлена на измен. объекты).
Теодолит устанавливают на штативе так, чтобы один из подъемных винтов был направлен в сторону наблюдаемой точки А. После приведения основной оси прибора в отвесное положение наводят на точку А и делают отсчет а1 по вертикальному кругу. Затем вращением подъемного винта наклоняют теодолит вперед на 2-3 деления уровня, снова наводят на точку А и берут отсчет а2 по вертикальному кругу. После этого наклоняют прибор на 2-3 деления уровня в противоположную сторону, визируют на точку А и берут отсчет a3 . Все отсчеты в пределах точности отсчета по микрометру должны совпадать, т. Е. a1 ≈ a2 ≈ a3 . При Визирная ось оптического центрира должна совпадать с осью вращения теодолита. Вертикальную ось вращения теодолита приводят в отвесное положение, теодолит устанавливают над точкой местности. При вращении алидады изображение точки не должно смещаться с центра оптического центрира более чем на 0,5 радиуса малой окружности. При большем смещении выполняют юстировку.
Принципиальная схема оптического теодолита: 1 — треножник; 2 — вертикальная осевая система; 3 — горизонтальный круг; 4 — закрепительно-наводящее устройство алидады; 5 — алидада горизонтального круга с отсчётным устройством; 6 — переключатель отсчётов по горизонтальному и вертикальному кругам; 7 — уровень при алидаде 5; 8 — визирная зрительная труба; 9 — отсчётный микроскоп; 10 — горизонтальная осевая система; 11 — закрепительно-наводящее устройство трубы 8; 12 — уровень при алидаде вертикального круга; 13 — осветительное зеркало; 14 — установочное устройство уровня 12.
2. Что такое нитяной дальномер? (чертеж)
Нитяной дальномер - разновидность оптического дальномера; зрительная труба, в поле зрения которой нанесена метка, напр. в виде 2 параллельных нитей. База нитяного дальномера - переносная рейка с делениями. Нитяной дальномер наводят на рейку (визируют); расстояние до базы пропорционально числу делений, видимых между нитями. Он имеется в теодолитах и нивелирах. В поле зрения трубы имеется сетка нитей. Две крайние горизонтальные нити называются дальномерными. Для измерения применяется рейка, на которой нанесены сантиметровые деления. При наведении зрительной трубы на рейку можно определить число делений рейки между дальномерными нитями, для этого берется отчет по рейке по нижней и верхней горизонтальным нитям. Затем вычисляется разность отсчетов по нижней и верхней дальномерным нитям.
3. Задача: Вычислить отметку промежуточной точки ПК9+24,71, если отсчет по рейке на ней с=1327, Нзадней =127,143, а=0724, в=2484, Нпередней = 125,383.
Решение: Hпром.= ГИ – С. ГИ= ГИ’+ ГИ’’/2. ГИ’ = 127,143 + 2484 = 129,627. ГИ’’ = 125,383 + 0724 = 126,107. ГИ = 127,867. H+24,71 = ГИ - С+24,71 = 126,54.
Экзаменационный билет №18
1. Нивелир. Его устройство. (чертеж)
Нивелир - геодезический прибор, предназначенный для определения разности высот двух точек при помощи горизонтального луча и нивелирных реек, вертикально установленных в этих точках.
Нивелир Н-3; 1- корпус,2 — мушка,3,8 — уровни,4 — наводящий винт,5 — пружна пластинка,6 — подъёмные винты,7 — подставка,9 — элевационный винт,10 — опорна площадка,11 — винт кремальеры,12 — окуляр,13 — зрительная труба
2. ГИ «горизонт инструмента». Его вычисление (чертеж)
ГИ – высота от уровня Б. моря до луча нивелира. Вычисление проводится только для тех станций, с которых нивелировались промежуточные точки. ГИ = задней отметке/или передней/ точки + отсчет по черной стороне рейки, стоявшей на этой точке. ГИ = Н А + а

3. Задача: Вычислить отметку промежуточной точки ПК9+24,71, если отсчет по рейке на ней с=1327, Нзадней =127,143, а=0724, в=2484, Нпередней = 125,383.
Решение: Hпром.= ГИ – С. ГИ= ГИ’+ ГИ’’/2. ГИ’ = 127,143 + 2484 = 129,627. ГИ’’ = 125,383 + 0724 = 126,107. ГИ = 127,867. H+24,71 = ГИ - С+24,71 = 126,54.
Экзаменационный билет №19
1. Определение МО «место нуля» вертикального круга (чертеж)
Местом нуля
называется отсчет по вертикальному кругу при горизонтальном положении визирной оси трубы и пузырьке уровня при алидаде вертикального круга на середине. Место нуля должно равняться или быть близким нулю. Если МО не равно нулю, то при определении вертикального угла следует учитывать его значение. 
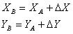
2. Прямая геодезическая задача (чертеж)
Прямой геодезической задачей (ПГЗ) называют вычисление геодезических координат - широты и долготы некоторой точки, лежащей на земном эллипсоиде, по координатам другой точки и по известным длине и дирекционному углу данного направления, соединяющей эти точки.Для определения координат точки в прямой геодезической задаче обычно применяют формулы:
нахождения приращений:
![]()
нахождения координат:
![]()
Сущность прямой геодезической задачи по известным координатам точки А (XA,YA) линии A-B, дирекционному углу этой линии Aab и ее горизонтальному проложению Sab требуется определить координаты точки B (XB,YB)
3. Задача: Вычислить отметку промежуточной точки ПК9+24,71, если отсчет по рейке на ней с=1327, Нзадней =127,143, а=0724, в=2484, Нпередней = 125,383.
Решение: Hпром.= ГИ – С. ГИ= ГИ’+ ГИ’’/2. ГИ’ = 127,143 + 2484 = 129,627. ГИ’’ = 125,383 + 0724 = 126,107. ГИ = 127,867. H+24,71 = ГИ - С+24,71 = 126,54.
Экзаменационный билет №20
1. Что такое нивелирование? (чертеж)
Нивелирование – вид геодезических работ, в результате которых на земной поверхности определяются превышения между точками и отметками точек.

2. Нивелирование промежуточных точек (чертеж)
Нивелирование промежуточных - по способу "вперед". При нивелировании вперед нивелир устанавливают над пунктом, измеряют его высоту и снимают отсчет по рейке, установленной над другим пунктом. В данном случае превышение равно разности между высотой нивелира и отсчетом по передней рейке.

3. Задача: Вычислить отметку промежуточной точки ПК9+24,71, если отсчет по рейке на ней с=1327, Нзадней =127,143, а=0724, в=2484, Нпередней = 125,383.
Решение: Hпром.= ГИ – С. ГИ= ГИ’+ ГИ’’/2. ГИ’ = 127,143 + 2484 = 129,627. ГИ’’ = 125,383 + 0724 = 126,107. ГИ = 127,867. H+24,71 = ГИ - С+24,71 = 126,54.
Экзаменационный билет №21
1. Какие бывают способы нивелирования? (чертеж)
Геометрическое; тригонометрическое; барометрическое; гидростатическое; стереофотограмметрическое.
Геометрическое нивелирование
– вид геод. измерений, позволяющий определить превышение м/у точками или их высоты относительно принятой отсчетной поверхности. Основной принцип Г.Н. заключается в том, что визирный луч прибора должен быть горизонтален. Измерение состоит в отсчитывании по рейкам высоты визирного луча над точками, в которых отвесно установлены рейки.
Тригонометрическое нивелирование – чтобы получить превышение методом триг. нивелирования, требуется определить значение угла наклона линии визирования к горизонту и расстояние м/у нивелируемыми точками. Угол измеряют с помощью вертикального круга теодолита. А расстояние измеряется непосредственно

Барометрическое нивелирование – определение высот точек земной поверхности относительно исходной точки с помощью зависимости атмосферного давления воздуха между этими точками.

Гидростатическое нивелирование основано на том, что свободная поверхность жидкости в сообщающихся сосудах находится на одном уровне.

При стереофотограмметрическом нивелировании фотографируют одну и ту же местность (с земли или с воздуха) с двух различных точек. По полученным снимкам определяют относительные высоты точек.
2. Нивелирование «связующих точек» (чертеж)
Нивелирование связующих точек производится обычно по способу "из середины" При нивелировании из середины для определения превышения одного пункта над другим устанавливают нивелир на одинаковых расстояниях между ними и приводят визирную ось его в горизонтальное положение. В пунктах ставят вертикально нивелирные рейки с нанесенными на них сантиметровыми делениями, счет которых идет от их нижних концов вверх. Визируя последовательно горизонтальным лучом на рейки, берут отсчеты по задней и передней рейкам. Превышение между пунктами определяют как разность отсчетов по задней и по передней рейкам; превышение может быть или положительным или отрицательным. Если высота одного из пунктов известна, то высота другого пункта может быть определена через превышение между ними, как сумма превышения и известной высоты

3. Задача: Вычислить отметку промежуточной точки ПК9+24,71, если отсчет по рейке на ней с=1327, Нзадней =127,143, а=0724, в=2484, Нпередней = 125,383.
Решение: Hпром.= ГИ – С. ГИ= ГИ’+ ГИ’’/2. ГИ’ = 127,143 + 2484 = 129,627. ГИ’’ = 125,383 + 0724 = 126,107. ГИ = 127,867. H+24,71 = ГИ - С+24,71 = 126,54.
Экзаменационный билет №22
1. В чем разница между геометрическим и тригонометрическим нивелированием? (чертеж)
Геометрическое Нивелирование выполняют путём визирования горизонтальным лучом трубой нивелира и отсчитывания высоты визирного луча над земной поверхностью в некоторой её точке по отвесно поставленной в этой точке рейке с нанесёнными на ней делениями или штрихами
Тригонометрическое Нивелирование, часто называемое геодезическим Нивелирование, основано на простой связи угла наклона визирного луча, проходящего через две точки местности, с разностью высот этих точек и расстоянием между ними.

2. Геометрическое нивелирование «способ вперед» (чертеж)
Различают два способа геометрического нивелирования: из середины и вперед.
При нивелировании вперед нивелир устанавливают над пунктом, измеряют его высоту и снимают отсчет по рейке, установленной над другим пунктом. В данном случае превышение равно разности между высотой нивелира и отсчетом по передней рейке.

3. Задача: Вычислить отметку промежуточной точки ПК9+24,71, если отсчет по рейке на ней с=1327, Нзадней =127,143, а=0724, в=2484, Нпередней = 125,383.
Решение: Hпром.= ГИ – С. ГИ= ГИ’+ ГИ’’/2. ГИ’ = 127,143 + 2484 = 129,627. ГИ’’ = 125,383 + 0724 = 126,107. ГИ = 127,867. H+24,71 = ГИ - С+24,71 = 126,54.
Экзаменационный билет №23
1. Геометрическое нивелирование «способ из середины» (чертеж)
Различают два способа геометрического нивелирования: из середины и вперед. При нивелировании из середины для определения превышения одного пункта над другим устанавливают нивелир на одинаковых расстояниях между ними и приводят визирную ось его в горизонтальное положение. В пунктах ставят вертикально нивелирные рейки с нанесенными на них сантиметровыми делениями, счет которых идет от их нижних концов вверх. Визируя последовательно горизонтальным лучом на рейки, берут отсчеты по задней и передней рейкам. Превышение между пунктами определяют как разность отсчетов по задней и по передней рейкам; превышение может быть или положительным или отрицательным. Если высота одного из пунктов известна, то высота другого пункта может быть определена через превышение между ними, как сумма превышения и известной высоты
.
2. Как определяется по карте λ,φ точки? (чертеж)
Чтобы определить широту какого-либо объекта, надо найти параллель, на которой он находится. Например, столица Египта Каир расположен на параллели 30° и лежит к северу от экватора, следовательно, широта Каира северная и составляет 30° северной широты (с.ш.).
Чтобы определить долготу какого-либо объекта, надо найти меридиан, на котором находится этот объект. Например, Санкт-Петербург расположен к востоку от нулевого Гринвичского меридиана, на меридиане, отстоящем от него на 30°, следовательно, долгота Санкт-Петербурга восточная и составляет 30° (в.д).

3. Задача: Вычислить отметку промежуточной точки ПК9+24,71, если отсчет по рейке на ней с=1327, Нзадней =127,143, а=0724, в=2484, Нпередней = 125,383.
Решение: Hпром.= ГИ – С. ГИ= ГИ’+ ГИ’’/2. ГИ’ = 127,143 + 2484 = 129,627. ГИ’’ = 125,383 + 0724 = 126,107. ГИ = 127,867. H+24,71 = ГИ - С+24,71 = 126,54.



