| Скачать .docx | Скачать .pdf |
Курсовая работа: Построение геодезического обоснования для производства крупномасштобной топографической съемки
Вологодский Государственный Технический Университет
Кафедра Городского кадастра и Геодезии
Курсовая работа
«Построение геодезического обоснования для производства крупномасштабной
топографической съемки»
(Чагодощенский район)
Вологда 2006
Содержание
Введение
1. Общие сведения об объекте топографо-геодезических работ
1.1 Физико-географические условия и административная принадлежность района работ
1.2 Топографо-геодезическая изученность района
1.3 Схема листов карт масштаба 1: 2 000 на территорию подлежащую съемке
2. Проектирование сети сгущения.
2.1 Собственно проектирование ходов полигонометрии 1 разряда
2.2 Расчет точности проектных ходов полигонометрии
2.2.1 Установление формы хода
2.2.2 Определение предельной погрешности планового положения точки в слабом месте хода до и после его уравнивания
2.2.3 Расчет точности линейных измерений
2.2.4 Расчет точности угловых измерений
2.2.5 Расчет точности определения высот пунктов полигонометрии
2.3 Рекомендации по закреплению пунктов полигонометрии
3. Проектирование съемочного обоснования
3.1 Общие положения
3.2 Составление проекта ходов съемочного обоснования
3.3 Требования, предъявляемые к ходам съемочного обоснования
3.4 Закрепление точек съемочного обоснования
Литература
Заключение
Приложение
Введение
Целью курсовой работы на тему: «Построение геодезического обоснования для производства крупномасштабной топографической съемки в масштабе 1: 2 000 с сечением рельефа через 0,5 м.» является углубление знаний по вопросам производства геодезических работ, связанных с топографической съемкой и практическое применение расчетных формул в стадии проектирования, приобретение навыков самостоятельной научно-исследовательской работы при решении специальных геодезических и кадастровых задач.
Проектирование съемочного обоснования производится на заданном районе (Чагодощенский район). На территории исследуемого района отсутствуют опорная геодезическая сеть, поэтому предварительно разбивается сеть полигонометрических ходов 1 разряда на основании пунктов полигонометрии 4 класса, так как исследуемая территория имеет вытянутую форму, то удобно проложить два полигонометрических хода вдоль более вытянутых грани территории, а потом между ними проложить теодолитные ходы. На этом же этапе выбираются центры пунктов полигонометрии, которые будут заложены. Выбор производится в соответствии с природно-климатическими условиями, рельефом и почвами.
На последнем этапе проектируется съемочное обоснование. При проектировании учитывалось соблюдение требований, изложенных в «Инструкции по топографической съемке для масштабов 1: 5 000–1: 500».
Данные об объеме работы:
Работа содержит 48 страницы;
Состоит из: 3 разделов;
15 приложений;
использованных источников ‑ 20.
1. Общие сведенья об объекте топографо-геодезических работ
1.1 Физико-географические условия и административная принадлежность района работ
Полное наименование: Чагодощенский муниципальный район. Дата образования: 1918. Население, тыс. чел.: 17,3, в т.ч. сельское: 5,3
Географическое положение: Чагодощенский район – самая западная территория Вологодской области. Он расположен в бассейнах рек Чагодощи и Кабожи, являющимися левыми притоками Мологи. На северо-западе район граничит с Ленинградской областью, на юго-западе с Новгородской. На северо-востоке и востоке его соседями являются Бабаевский и Устюженский районы нашей области. Географическое положение Чагодощенского района весьма выгодное, так как он находится почти в равноудаленном расстоянии от таких крупных административных и индустриальных центров, как Москва (600 км.), Санкт-Петербург (340 км.), Новгород (380 км.), Вологда (326 км.) и связан с ними шоссейной и железной дорогами. Площадь территории муниципального образования: 2,4 тыс. кв. км. Общая площадь района равна 2,4 тыс. кв. км., что составляет 1,6% от всей площади Вологодской области. Наибольшее протяжение территории района в меридиальном направлении 60 км., в широтном – 68 км. Расстояние до областного центра – 326 км.
Климат Чагодощенского района, как и всей западной части Вологодской области, умеренно-континентальный, с умеренно теплым летом и умеренно холодной зимой. Абсолютная максимальная температура воздуха +35 °С. Абсолютная минимальная температура воздуха -47 °С. Количество осадков за ноябрь-март 174 мм. Количество осадков за апрель-октябрь 450 мм.
В реках и озерах водиться щука, окунь, плотва, лещ, язь, карась и другие виды рыб. Разнообразен птичий мир района. Среди охотничьих видов – глухарь, рябчик, тетерев, белая куропатка, утки. Леса и рощи района изобилуют грибами и ценными ягодами (морошка, черника, брусника, клюква, малина, земляника и др.) Наиболее распространены животные: лось, кабан, бурый медведь, рыжая лиса, волк, рысь, куница, горностай, хорь черный, заяц-беляк, белка-летяга, заяц-русак, ондатра, бобр. Разнообразна флора района. Ботаническими экспедициями описаны и собраны в гербарии 500 видов растений, в том числе 173 редких, 159 лекарственных, что на 15–20 видов больше, чем в близлежащих районах. Особый интерес с геологической и ботанической точки зрения представляет местечко Глинное, поставленное на учет как геологический памятник «Аномальное меандрирование русла реки Чагодоща
На территории района более 20 озер. Наиболее крупные из них Черное, Сиглинское, Угличное, Конево. 200 тыс. га (83%) территории района занимают сельскохозяйственные угодья, из них 10221 га – пашня (5,1%).159 тыс. га (66%) территории района занимают леса (они состоят из хвойных пород – ели и сосны и мелколиственных – березы, осины, ольхи и др.
Недра края богаты полезными ископаемыми. Его минерально-сырьевой ресурс представлен месторождениями кварцевых песков, известняков, карбонатовых пород, кирпичных и красящих глин, бутового камня, торфа и др Район богат гидросетью. Все реки, протекающие по его территории, являются притоками Мологи, и через нее принадлежат бассейну Волги. Основные водные артерии района река Чагодоща с притоками Смердомка, Горюн, Медь, Внина и река Кобожа с притоками Белая, Черная, Веуч.
Заготовкой леса занимается ООО «Чагодалеспром» и предприниматели». Агропромышленный комплекс района включает в себя 20 хозяйствующих субъектов: 6 - сельскохозяйственных предприятий, 1 – перерабатывающее предприятие, 13 - крестьянских (фермерских) хозяйств. За сельхозпредприятиями закреплено 9123 га пашни. Сельхозпредприятия остаются основными производителями зерна, молока, мяса. Производство картофеля и овощей сосредоточено в личных подсобных хозяйствах граждан.
Число строительных организаций – 3. Основными торгующими предприятиями являются: ОАО «Чагторг», ООО «Чагода», частный предприниматель Ростовская и др. За 2004 год оборот розничной торговли с учетом экспертной оценки неорганизованного ввоза и продажи товаров на рынках составил 968,3 млн. руб., в том числе торгующих организаций 862 млн. руб., оборот рынков –88,5 106,3 млн. руб. Объем платных услуг составил – 61 млн. рублей, в т.ч. бытовых ‑ 4,6 млн. руб.
1.2 Топографо-геодезическая изученность района
Топографическая карта района работ была составлена по результатам аэрофотографической съемки.
При проведении комбинированной аэросъемки, используя геодезические приборы, вначале были выполнены полевые работы по планово-высотному обоснованию аэроснимков, дешифрированию и рисовке рельефа на контактных отпечатках или составленных из них фотосхемах, а затем сгустили сеть планового обоснования, трансформировали аэроснимки и составили топографическую карту местности.
Контурную часть плана в равнинной и холмистой местности составили при помощи монтажа трансформированных снимков, а в горных условиях при крупномасштабной съемке – графическим методом.
Топографическую характеристику местности определили дешифрированием снимков.
Съемка проведена в 1988 г. ГУГК. На территории изучаемого района имеется пункт государственной геодезической сети – гора Липовая, нивелирные марки и реперы грунтовые. В данном районе имеется населенный пункт – Сидорово.
Дорожная сеть, исследуемой территории представлена грунтовыми проселочными дорогами, шоссе, железной дорогой, полевыми и лесными дорогами.
В направлении с юго-запада на северо-восток исследуемую территорию пересекает линия электропередач.
Гидрография изучаемого участка представлена рекой Андрога. На северо-востоке, исследуемой территории имеются непроходимые, проходимые болота и заболоченные земли.
Рельеф представлен холмами, балкой Заячья, хребтом. Увеличение высот земной поверхности наблюдается с юга на север.
Сравнительно небольшую часть занимают смешанные и лиственные леса, узкие полосы хвойного и лиственного леса, отдельные кусты, степная травянистая растительность. Большую часть территории занимает пашня
1.3 Построение схемы листов карт масштаба 1:2000 на территорию подлежащую съемке
На листе формата А4 (210x297 мм) чертим размером 12x12 см схему трапеции (условно квадрата) масштаба 1:1000000 разделив каждую сторону рамки на 12 частей, получила 144 листа карты масштаба 1:100000. Лист карты масштаба 1:100000 выделяем штриховкой (Приложение 1). Далее составляем такого же размера отдельную схему карты масштаба 1:100000 с указанием на ней трапеций карт масштаба 1:10000 заданной номенклатуры (Приложение 2). Составляем схему карты (плана) масштаба 1:10000 и указываем номенклатуру. Составляем схему карты (плана) масштаба 1:100000 и на ней показываем 256 листов плана масштаба 1:5000 (Приложение 3). Составляем в произвольном масштабе схему листа карты (плана) масштаба 1:5000, разделив который на 9 частей, переходим к листам масштаба 1:2000 (Приложение 4). При этом в произвольном масштабе составляем схему листов планов масштаба 1:2000 (на заданную площадь), на которой указываем их номенклатуру.
Соседними с данной картой являются листы карт с номенклатурой:
Сверху: У‑35–38‑А‑в‑1;
Снизу: У‑35–38‑В‑а‑1;
Слева: У‑35–37‑Б‑г‑4;
Справа: У‑35–38‑А‑в‑4.
Территория, подлежащая съёмке располагается на листе карты масштаба 1:10 000 с номенклатурой У‑35–38‑А‑в‑3 (приложение 2). Однако топографической съёмке подлежит только участок площадью 9 кв. километров, располагающийся на листах плана масштаба 1: 5000 с номенклатурой: У‑35–38 – (97), У‑35–38 – (98) (приложение 3).
2. Проектирование сети сгущения
2.1 Собственно проектирование ходов полигонометрии 1-о разряда
Для сгущения обоснования па площадках данных трапеций карт масштаба 1:10000 между заданными (исходными) пунктами намечаю два полигонометрических хода 1 разряда, которые будут использованы в качестве опорных для создания съемочного обоснования для топографической съемки в масштабе 1:2000, выполнив расчеты при проектировании только для одного наиболее длинного хода.
Для удобства полигонометрические ходы прокладываю вдоль более длинных сторон участка (участок имеет вытянутую форму).
Проектирование хода выполняю в следующей последовательности, изложенной ниже и в соответствии с «Инструкции по топографической съемке для масштабов 1: 5 000–1: 500».
Непосредственно проектированию предшествует сбор и анализ материалов всех ранее выполненных геодезических работ, изучение района работ проводилось по имеющимся картам наиболее крупного масштаба; обследование включает и поиск геодезических знаков ранее созданного геодезического обоснования.
Полигонометрические ходы в виде отдельных разомкнутых ходов, опирающихся на исходные пункты (ходы 4 класса опираются на пункты триангуляции и полигонометрии высших классов; ходы 1 разряда прокладываются между пунктами 4 класса). Проектирование замкнутых ходов, опирающихся на один пункт, и висячих ходов не допускается. Для обеспечения опорными пунктами значительных площадей проектирую полигонометрические сети, состоящие из одной или нескольких узловых точек и образующие замкнутые и разомкнутые полигоны. Ходы целесообразно намечать в тех же местах, где они с максимальной эффективностью могут быть использованы.
Геодезической основой крупномасштабных съемок служат: государственные геодезические сети (триангуляция и полигонометрия 1,2,3 и 4 классов; нивелирование I, II, Ш и IV классов); геодезические сети сгущения (триангуляция и полигонометрия 1 и 2 разрядов; техническое нивелирование); съемочная геодезическая сеть.
Дальнейшее сгущение геодезической сети достигаю построением сетей триангуляции и полигонометрии 1 и 2 разрядов.
Развитием съемочного обоснования достигается плотность, обеспечивающая выполнение съемки.
Полигонометрические ходы должны прокладываться с учетом создания благоприятных условий угловых и линейных измерений, а также создания условий для удобств в использовании геодезических пунктов и их длительной сохранности (стенных знаков, центров).
При проектировании полигонометрических ходов стараюсь сохранять их вытянутыми, исключая крутые, изломы. Расстояния между пунктами параллельных полигонометрических ходов данного класса (разряда), по длине близких к предельным, должно быть не менее: в полигонометрии 4 класса – 2,5 км и 1 разряда – 1,5 км. При меньших расстояниях ближайшие пункты связываются ходами полигонометрии данного класса (разряда).
На все пункты полигонометрии предлагаются отметки нивелированием IV класса и техническим нивелированием с учетом требований «Инструкции по топографической съемке в масштабах 1: 5 000, 1: 2 000, 1: 1 000 и 1: 500.». Запроектированные ходы наношу на схему, составленную на восковке в масштабе карты карандашом с указанием номенклатуры, географических координат углов рамки с предварительно нанесенными на нее исходными пунктами планового и высотного обоснования, а затем вычерчиваю тушью.
Со схемы выписываю для наиболее длинного хода; длину хода [S], замыкающую хода L. число сторон (n), число углов (n+1) и длины сторон хода
,
и ![]()
Все углы поворота хода обозначаю на схеме арабскими цифрами.
№ хода |
Длина хода S |
Замыкающая хода L |
Число сторон n |
Число углов (n+1) |
Длины сторон хода |
||
| Smax |
Smin |
Sср |
|||||
| 1 |
1880 |
1080 |
6 |
7 |
420 |
220 |
313 |
| 2 |
990 |
1080 |
3 |
4 |
350 |
320 |
330 |
| 3 |
790 |
780 |
3 |
4 |
270 |
260 |
263 |
| 4 |
850 |
780 |
3 |
4 |
320 |
250 |
283 |
| 5 |
1830 |
780 |
6 |
7 |
330 |
230 |
305 |
| 6 |
1230 |
1210 |
4 |
5 |
330 |
270 |
308 |
| 7 |
1090 |
1130 |
4 |
5 |
390 |
220 |
270 |
| 8 |
1870 |
1840 |
7 |
8 |
310 |
220 |
267 |
| 9 |
1560 |
1570 |
5 |
6 |
350 |
260 |
312 |
| 10 |
1390 |
1400 |
6 |
7 |
270 |
190 |
232 |
| 11 |
1860 |
1220 |
6 |
7 |
380 |
240 |
312 |
| 12 |
750 |
770 |
2 |
3 |
380 |
370 |
375 |
| 13 |
460 |
450 |
2 |
3 |
250 |
210 |
230 |
| 14 |
1710 |
1450 |
8 |
9 |
400 |
220 |
244 |
2.2 Расчет точности проектных ходов полигонометрии
2.2.1 Установление формы хода
Форму хода устанавливаю по критериям вытянутости. В вытянутом ходе выполняются соотношения:
(1)
(2)
(3)
где
– уклонение направления сторон хода от направления замыкающей
, r – расстояние от вершины хода до замыкающей.
Для проверки выполнения соотношений (1) – (3) в запроектированном ходе провожу замыкающую хода, от нее в обе стороны откладываю (в масштабе карты) расстояния r и провожу линии, параллельные замыкающей (рис. 1). Если ни одна из вершин не выходит за пределы полученной полосы, следовательно, условие выполнено (в моем случае ни одна из вершин не выходит за пределы полученной полосы).
пред
км,
Величину
измеряю на схеме, сравниваю с предельным значением (2) и получаю:
15˚
![]()
В моем ходе все соотношения выполняются, значит, я имею вытянутый ход.
2.2.2 Определение предельной погрешности планового положения точки в слабом месте хода до и после его уравнивания
Средняя квадратическая погрешность положения пункта в слабом месте хода m (после уравнивания – это середина хода) примерно в 2 раза меньше средней квадратической погрешности конечной точки хода до его уравнивания М
m = 0,5 M (4)
Предельная погрешность средней вершины хода
равна 2m (согласно служебным допускам) или с учетом (4) представляется как:
=2m=M (5)
следовательно, для определения
необходимо получить М. Средняя квадратическая погрешность положения конечной точки хода М определяется выражением:
=2M или M<
/2 (6)
где
, – предельная линейная невязка хода – находится из равенства
(7)
![]()
м
м
где 1/Т – предельная относительная погрешность хода, 1/Т = 10 000. Вычисления произвожу с помощью формулы:
(8)
где
, и
– соответственно средние квадратические погрешности измерения сторон и углов, n – число сторон в ходе.
м2
Далее находим М:
м
По формулам (6) и (7) определяется допустимое значение погрешности
M<[S]/T
И получаем:
0,067 < 0,187
Применяя принцип равных влияний, т.е. равенство влияний погрешностей угловых и линейных измерений на конечный результат, исходя из формулы (8), получаю:
(9)
Подставив свои значения получаю:
м2
Из формул (6) и (7) следует, что
М<
/2=[S]/2T (10)
Подставляем:
0,067<0,093
Величина [
] при измерении длин линий в полигонометрическом ходе с примерно равными сторонами хода может быть заменена выражением
.
Заменив
выражением
, получаю, что
ms = 0,023906 м
Далее нахожу средне квадратическую погрешность положения пункта в слабом месте хода m:
;
= 0,5×0,067=0,0336
В ходе вычислений получила m=0,0336.
2.2.3 Расчет точности линейных измерений
Измерение линий производила светодальномером «Блеск» СТ5, который является основным топографическим светодальномером, выпускаемым отечественной промышленностью. Он предназначен для измерения расстояний до 5 км со средней квадратической погрешностью измерения расстояний одним приемом
, (11)
где D- измеренное расстояние.
Перед началом работы необходимо провести внешний осмотр прибора и выполнить его поверки. При внешнем осмотре следует убедиться в отсутствии механических повреждений, сохранности ампул уровней и деталей, крепления органов управления, плавности их действия и четкости фиксации; четкости изображения штрихов сетки и штрихов шкал; работоспособности всех узлов, а также термометров, барометров и других приборов.
Поверки светодальномера СТ5:
1. Напряжение аккумуляторных батарей должно быть достаточным.
2. Контрольный отсчет на табло должен соответствовать его паспортному значению.
3. Индикаторы табло должны функционировать нормально.
4. Схема измерения температуры кварцевого генератора должна функционировать нормально.
5. Визирная ось зрительной трубы должна быть параллельна направлению модулированного излучения.
Кроме перечисленных поверок, светодальномер подвергла метрологической аттестации, в результате которой определила: отклонение частоты кварцевого генератора от номинального значения, величину изменения контрольного отсчета при изменении напряжения питания, циклическую ошибку, среднюю квадратическую погрешность измерения расстояния одним приемом.
Порядок измерения линий светодальномером СТ5:
1.В начальной точке линии установили на штативах приемопередатчик, а на конечной точке – отражатель, приводим их в рабочее положение над центрами пунктов (центрируем и нивелируем) и взаимно ориентируют.
2. Включаем и прогреваем приемопередатчик.
3. Проверяем напряжение источника питания и выполняем другие контролирующие действия в соответствии с техническими требованиями инструкции по эксплуатации прибора.
4. Светодальномер наводим по максимуму сигнала, одновременно устанавливая ручкой СИГНАЛ уровень сигнала в середине рабочей зоны.
5. Берем три отсчета измеряемого расстояния в режиме ТОЧНО и записываем их в журнал. По окончании измерений переключатель ТОЧНО-КОНТРОЛЬ-ГРУБО переводим в положение КОНТРОЛЬ и по табло берем отсчет для определения поправочного коэффициента.
Наклонное расстояние между пунктами вычисляют по формуле:
, (12)
где Dok – среднее арифметическое значение отсчетов в режиме ТОЧНО;
Kn
– поправочный коэффициент, учитывающий изменение показателя атмосферы; Kf
– поправочный коэффициент, учитывающий температурное изменение частоты кварцевого генератора;
- поправка за циклическую погрешность.
Значение коэффициента определяли по номограмме, приведенной в паспорте дальномера, используя измеренные значения температуры воздуха и атмосферного давления. Значение коэффициентов Kf
и
определила по соответствующим графикам в паспорте светодальномера.
Горизонтальное проложение S измеряемой линии вычисляем по формуле:
, (13)
где
-угол наклона визирной оси прибора.
Если известно превышение h между начальной и конечной точками линии, то:
(14)
где
. (15)
Исходя из выражений (9) и (10) назначается точность измерений линий в запроектированном ходе
(16)
![]()
0,023906< 0,024989 – условие (16) выполняется.
2.2.4 Расчет точности угловых измерений
Среднюю квадратическую погрешность измерения углов в вытянутом полигонометрическом ходе вычисляю из соотношения, полученного на основе принципа равных влияний:
![]()
откуда
(17)
Подставив свои значения получаю:
![]()
По найденной величине
=8,12´´ выбираю прибор – 2Т5.
Угловые измерения производила с применением теодолита 2Т5. Измерение углов производила способом приемов. Измерения выполняла дважды: двумя полуприемами при круге право (КП) и круге лево (КЛ). Установив теодолит в вершине угла в рабочее положение при круге право, начинаю наблюдение с правой (задней) точки. Наведя перекрестие сетки на основание вехи в задней точке, беру отсчет по горизонтальному кругу. Результат записываю в журнал. Затем навожу перекрестие нитей на веху, стоящую в левой (передней) точке и вновь беру отсчет. Для получения угла из заднего отсчета вычитаю передний отсчет. Переходя ко второму полуприему, смещаю лимб на несколько градусов, после чего перевожу трубу через зенит и повторяю измерение угла. Если расхождение между первым и вторым значениями угла не превышает двойной точности отсчета теодолита (
), то с полученного значения нахожу среднее. Измерение производится тремя приемами.
До начала измерений были сделаны поверки теодолита 2Т5:
1. Ось цилиндрического уровня при алидаде горизонтального круга должна быть перпендикулярна к вертикальной оси.
2. Визирная ось зрительной трубы должна быть перпендикулярна к горизонтальной оси.
3. Горизонтальная ось должна быть перпендикулярна к вертикальной оси.
4. Основной вертикальный штрих сетки нитей должен быть перпендикулярен к горизонтальной оси.
5. Место нуля горизонтального круга должно быть известно или приведено к нулю.
6. Визирная ось оптического центрира должна совпадать с вертикальной осью.
Точность измерения горизонтальных углов техническим теодолитом 2Т5 зависит от многих факторов. К ним относятся ошибки установки теодолита и вех, ошибки прибора, ошибки визирования, ошибки отсчета, неблагоприятные условия среды. Из всех факторов наибольшее влияние на точность угловых измерений оказывает ошибка отчета, ток кА при тщательной подготовке измерений влияние остальных факторов можно свести к минимуму.
Обозначим точность отсчета для данного теодолита через t. Принято считать, что ошибка направления, в котором берется один отсчет, равна половине точности отсчета, т.е. mo =t/2. Значение угла в полуприеме вычисляется по отсчетам, Полученным по двум направлениям. Согласно теории ошибок измерений для угла в полуприеме ошибка будет равна:
![]()
Окончательное значение угла, полученное как среднее арифметическое из значений в полуприемах, в
раз точнее каждого из них. Поэтому точность угла, измеренного способом приемов, вычисляются по формуле:
, (18)
![]()
т.е. средняя квадратическая ошибка угла, зависящая от точности в отсчетах при измерениях углов указанным способом, равна половине точности отсчета.
Для теодолита 2Т5 с точностью отсчета ![]()
;
.
Углы измеряю по трехштативной системе с комплектом приборов. При этом в запроектированном ходе должно соблюдаться соотношение:
<
,
где
– инструментальная точность.
5 < 8,12
Центрирование прибора производила при помощи центрира. Для этого сначала, при помощи подъемных винтов, совмещаю малую окружность центрира с точкой центрирования (вершиной измеряемого угла). Потом приводим ось цилиндрического уровня в горизонтальное положение, поднимая или опуская ножки штатива.
Точность установки визирной марки и теодолита над центрами знаков характеризуется средними квадратическими погрешностями редукции
и центрирования
, которые определяю по формуле:
=
=
/![]()
![]()
и линейными элементами редукции
, и центрировки
допустимые величины которых определяю из выражений:
![]()
(19)
0,005 м =5 мм
0,007 м = 7 мм
Число приемов при измерении угла способами круговых приемов или отдельных приемов определяю по формуле:
(20)
![]()
где Г – увеличение зрительной трубы теодолита (Г=27,5),
=1,5 «– 2» – средняя квадратическая погрешность отсчета.
2.2.5 Расчет точности определения высот пунктов полигонометрии
Высоты пунктов полигонометрических ходов определяются из геометрического нивелирования IV класса.
Геометрическое нивелирование проводилось методом из середины. Приведя нивелир на станции в рабочее положение, зрительную трубу навожу на рейку, установленную вертикальную на нивелируемой точке на ровном срезе колышка. Перед снятием каждого пузырька контактного уровня, видимые слева в поле зрения трубы. После установки уровня беру отсчет по рейке, оценивая миллиметры на глаз по сантиметровому делению. Отсчет записываю в журнал в миллиметрах. При обработке журнала нивелирования вычисляю превышения по формуле:
h = a – b (21)
т.е. из заднего отсчета a вычитаю передний b. Контролем на станции является сходимость превышений, полученных по отсчетам на черной и красной сторонах рейки. При техническом нивелировании допустимое расхождение между ними
мм. Из каждой пары превышений вычисляю среднее значение. Затем по известной высоте задней точки HA
вычисляю искомую высоту передней точки HB
по формуле:
HB = HA + hср (22)
В журнале нивелирования веду постраничный контроль. Для этого подсчитываю суммы задних отсчетов (∑а) и передних отсчетов (∑b), суммы превышений (∑h) и (∑hср ) Контроль провожу по формулам:
∑а – ∑b = ∑h; ∑h / 2 ≈ ∑hср ; Hк – Hн = ∑hср .
где Hк и Hн – высоты конечной и начальной точек на странице.
Подсчитаю М
– предельную ошибку в отметке пункта хода в самом слабом месте (середине) после уравнивания. Для этого следует использовать формулу
(23)
где L – длина хода нивелирования в км, принимая
, получаю
![]()
Подставлю свои значения:
L = 1840 м
![]()
![]()
Мh = 0,5*27,13 = 13,56 мм
Предельная ошибка в отметке пункта хода в самом слабом месте после уравнивания равна 13,56 мм.
2.3 Рекомендации по закреплению пунктов полигонометрии
Закрепление пунктов полигонометрии осуществлял, специальными инженерными сооружениями и устройствами. При составлении проекта полигонометрической сети выбираю оптимальные конструкции центра (Приложение 10, 11, 14), стенного знака (Приложение 12) и наружного оформления (Приложение 13). При этом учитываю физико-географические и климатические условия как на застроенных, так и на незастроенных территориях необходимость стабильности и длительной сохранности пунктов полигонометрии и возможность применения механических средств при производстве работ по закладке центров.
В приложениях я привожу образец карточки закладки пунктов (см. Приложение 9).
Список заложенных центров:
1. Центр пункта триангуляции, полигонометрии, трилатерации 1 и 2 разрядов в районах сезонного промерзания грунта. Тип 5 г. Р. Центр закладывается на незастроенной территории там, где невозможна установка стенного знака (см. приложение 10).
2. Центр пункта триангуляции, полигонометрии, трилатерации 1 и 2 разрядов в районах сезонного промерзания грунта. Тип 6 г. р. Центр закладывается на незастроенной территории там, где невозможна установка стенного знака. (см. приложение 11).
3. Центр пункта триангуляции, полигонометрии, трилатерации 2, 3, 4. Центр закладывается бурением или протаиванием грунта, как правило, на незастроенной территории, а также на застроенной территории там, где невозможна установка стенного знака и допустимо производство буровых работ. После пробуривания скважины нижняя часть ее до высоты 50–60 см заполняется грунтом текучей консистенции, в которой и погружается многодисковый якорь до основания скважины (см. приложение14).
4. Стенной знак пункта полигонометрии 2, 3, 4 классов, 1 и 2 разрядов. Тип 8 г.р. Стенной знак может использоваться как стеной репер для закрепления нивелирных сетей 3 и 4 классов, как марка для знаков типа 6 г. р. И как наземный рабочий центр в восстановительных системах стенных знаков.
Образец наружного оформления мест расположения пунктов триангуляции, полигонометрии, трилатерации 2, 3, 4 классов приведен в Приложении 13.
При развитии геодезического обоснования в городах, поселках и на промышленных площадках все пункты триангуляции и полигонометрии 2, 3, 4 классов, 1 и 2 разрядов независимо от физико-географических условий закрепляются постоянными типов 1–8 г. р. На территории сельской местности в триангуляции 4 класса, 1 и 2 разрядов и полигонометрии 4 класса построенными центрами типов 5 г. р. закрепляются пункты не реже чем через 1000 м. Центры должны располагаться попарно, обеспечивая закрепление обоих концов линии. Узловые точки подлежат обязательному закреплению постоянными центрами, типов 1 – 4 г. р. На геодезических пунктах 2, 3, 4 классов на территориях городов, поселков и промплощадок ориентирные пункты не устанавливаются, если обеспечивается непосредственная видимость с земли не менее чем на два смежных пункта.
3. Проектирование съемочного обоснования
3.1 Общие положения
Для производства съемки нужно произвести сгущение существующей сети пунктами съемочного обоснования до плотности обеспечивающей проложение на всей территории съемки теодолитных ходов с соблюдением технических требований инструкции. Все точки, с которых производится съемка, называются съемочными.
До производства полевых работ по съемке на имеющейся карте составляют проект теодолитных ходов. При рекогносцировке проект ходов уточняют и точки хода закрепляют знаками временного закрепления, а при необходимости знаками долговременного закрепления.
Плановое и высотное съемочное обоснование, состоящее из теодолитных ходов и технического нивелирования или заменяющих их тахеометрических ходов, развиваются на основе опорных геодезических сетей 2–4 классов и 1 2 разрядов.
На застроенной территории населенных пунктов количество пунктов съемочного обоснования определяю по результатам рекогносцировки, а на незастроенных городских территориях вместе с пунктами опорных геодезических сетей на 1 кв. км. должно быть 12 пунктов съемочного обоснования при съемке в масштабе 1:2000.
3.2 Составление проекта ходов съемочного обоснования
Проект теодолитных ходов составляю на имеющихся планах крупных масштабов с учетом всех имеющихся и запроектированных пунктов опорной геодезической сети (полигонометрии, триангуляции и др.).
Сгущение произвожу, соединяя уже имеющиеся ходы полигонометрии теодолитными ходами, с учетом всех особенностей местности.
При проектировании ходов съемочного обоснования следует соблюдать следующие требования:
1. Теодолитные ходы должны опираться на пункты опорной геодезической сети (пункты полигонометрии, триангуляции, спутникового позицирования).
2. Точки ходов намечаются с учетом возможной постановки геодезических инструментов и производства необходимых геодезических измерений, а также максимального обзора территории в пределах допустимых длин визирных лучей (Приложение 4).
3. Ходы съемочного обоснования проектируются таким образом, чтобы они опирались на опорные геодезические сети (независимые ходы) или на пункты независимых ходов.
4. Ходы съемочного обоснования могут быть висячими, если соблюдаются требования Инструкции, приведенные в табл. 5.1, и при условии, что число сторон в висячих ходах на застроенной территории не более четырех и на незастроенной три и меньше (Приложение. 5).
5. При проектировании ходов на застроенной территории необходимо предусматривать возможность определения координат углов зданий, расположенных на поворотах кварталов, улиц, переулков и внутри кварталов, а также в районах со свободной планировкой не реже, чем через 300 метров.
6. В целях наилучшего использования точек съемочного обоснования ходы следует прокладывав по дорогам, вдоль улиц, проездов, вблизи построек и др. создавая благоприятные условия для измерений, выполняемых при съемке.
Примечание: Нумерациию точек съемочною обоснования веду общую для всей территории. При наличии пунктов съемочного обоснования нумерацию продолжаю от известного номера последней точки. Ходы могут пересекаться лишь в точках поворота, а не на линиях.
3.3 Требования, предъявляемые к ходам съемочного обоснования
Предельная погрешность положения точек съемочного обоснования относительно пунктов опорной геодезической сети не должна превышать 0,3 мм и 0,2 мм в масштабе плана соответственно на закрытой растительностью местности и на открытой, как и (застроенной) территориях. Поэтому ходы прокладываю с предельными относительными погрешностями 1/1000, 1/ 2000, 1/ 3000. В связи с этим Инструкцией (см. приложение №8) назначается допустимая длина хода в соответствии с зависимостью относительной погрешности от масштаба съемки. Длина ходов между узловыми точками или между узловой и исходным пунктом уменьшается на 30%. Длины сторон теодолитных ходов должны быть не более 350 м и не менее 20 м на застроенных и менее 40 м – на незастроенных городских территориях. Максимальна, длина стороны тахеометрического хода в случае применения электронных тахеометров не регламентируется (учитываются их технические возможности).
Отдельные точки съемочного обоснования могут быть определены прямой, обратной и комбинированной засечками. При прямых засечках следует задействовать не менее 3-х пунктов, а при обратной – 4-х пунктов опорной геодезической сети.
3.4 Закрепление точек съемочного обоснования
Рекомендации по закреплению сетей съемочного обоснования приводятся в (Приложении 15). Пунктами съемочного обоснования могут быть также центры колодцев выходов подземных коммуникаций, а также вбитые в асфальт кованые гвозди, дюбеля и металлические штыри.
При создании съемочных сетей на незастроенных городских территориях для этих целей используются выступы бетонных столбов, пикеты на дорогах, сторожки подземных инженерных сетей.
В качестве знаков долговременного типа применяю:
– бетонный монолит в виде усеченной четырехгранной пирамиды с нижним основанием 15×15 см, верхним 10×10 см и высотой 90 см, с заделанным в нем кованым гвоздем;
– деревянный столб диаметром не менее 15 см с крестовиной, установленный на бетонный монолит в виде усеченной четырехгранной пирамиды с нижним основанием 20×20 см, верхним 15×15 см и высотой 20 см; а на верхней грани монолита делается крестообразная насечка или заделывается гвоздь. Верхнюю часть столба затесывают на конус, ниже затеса делают вырез для надписи;
– пень свежесрубленного хвойного дерева диаметром верхней части не менее 25 см, обработанный в виде столба, с вырезом для надписи, полочкой забитым кованым гвоздем;
– марка, штырь, болт, закрепленные цементным раствором в бетонные основания различных сооружений, участки земли с твердым покрытием или скалы.
Временными знаками могут служить пни деревьев, деревянные колья диаметром 5–8 см, столбы или железные трубы, забитые в грунт на 0,4–0,6 м, с установленными рядом сторожками.
Временные знаки окапываются круглой канавой диаметром 0,8 м.
Центр временного знака обозначаю гвоздем, вбитым в верхний срез столба или насечкой на металле.
Знаки планового обоснования нумерую порядковыми номерами с расчетом, чтобы на объекте не было одинаковых номеров.
При включении в ход знаков ранее произведенных съемок не разрешается менять ранее присвоенные им номера.
На постоянных знаках масляной краской, а на временных – пикетажным карандашом пишу: сокращенное название организации проводящей работу, номер закрепленного пункта (точки) и год установки знака.
На все заложенные центры пунктов составляю карточки по установленной форме с приложением фотоснимка места закладки.
Геодезические знаки после постройки сдаю по акту на наблюдение за сохранностью:
Составляю три экземпляра акта, из которых один хранится в учреждении, принявшем знак на хранение, второй – направляется в территориальную инспекцию Госгеонадзора ГУГК, а третий должен находиться в организации, выполнявшей работы.
Литература
1. Инструкция по топографической съемке в масштабах 1:5000, 1:2000, 1:1000 и 1:500 /Главное управление геодезии и картографии при СМ СССР. М.: Недра, 1982. – 160 с.
2. Маслов, А.В. Геодезия; Учеб. Для вузов. / А.В. Маслов, А.В. Гордеев, Ю.Г. Батраков. – М.: Недра, 1993. – 480 с.
3. Неумывакин, Ю.К., Практикум по геодезии: Учебное пособие /Ю.К. Неумывакин, А.С. Смирнов. – М.; Картгеоцентр – Геодезиздат. 1995. – 315 с.
4. Неумывакин, Ю.К. Геодезическое обеспечение землеустроительных и кадастровых работ: Справочное пособие /Ю.К. Неумывакин. М.И. Перский. – М.: Картгеоцентр-Геодезиздат. 1996. – 344 с.
5. Правила закладки центров и реперов на пунктах геодезической и нивелирной сетей. – М.: Картгеоцентр-Геодезиздат. 1993. – 104 с.
6. Руководство по топографической съемке в масштабах 1:5000. 1:2000, 1:1000 и 1:500. Высотные сети. – М.: Недра, 1976. – 208 с.
7. Стандарт отрасли. Виды и процессы геодезической и картографической производственной деятельности. Термины и определения. - М.: ЦНИИГАиК. 2000. -44 с.
8. Гайдаев П.А., Большаков В.Д.; Теория математической обработки геодезических измерений. - М., Недра, 1969.
9. Глотов Г.Ф. Курс инженерной геодезии. – М., Недра, 1972.
10. Дробышев Ф.В. Основы аэрофотосъемки и фотограмметрии. 2-е изд. Госгеолтехиздат, 1963.
11. Инструкция по топографическим работам для городского, поселкового и промышленного строительства СН 212–73. – М., Госстройиздат, 1974.
12. Инженерная геодезия. Под ред. Закатова П.С. – М., Недра, 1976.
13. Климов Ф.А. Курс инженерной геодезии. – М., Недра, 1974.
14. Коршак Ф.А. Геодезия. – Махачкала, 1964.
15. Левчук Г.П. Курс инженерной геодезии. – М., Недра, 1970.
16. Панкин Н.А., Седун А.В. Практические работы по геодезии. – М., Геодезиздат, 1960.
17. Советский энциклопедический словарь/ Научно-редакционный совет: Прохоров А.Н. (пред.), – М., «Советская энциклопедия», 1981.
18. Стандарт отрасли. Виды и процессы геодезической и картографической производственной деятельности. Термины и определения. – М., ЦНИИГАиК, 2000.
19. Хейфец Б.С., Данилевич Б.Б., Практикум по инженерной геодезии: Ученое пособие/ Хейфец Б.С., Данилевич Б.Б. – М., Недра, 1979.
20. Волков В.И., Волкова Т.Н. Методические указания к выполнению курсовой работы: «Построение геодезического обоснования для производства крупномасштабной топографической съемки». – Вологда, 2003.
Приложения
Приложение №1
Определение номенклатуры листа карты масштаба 1: 100 000
| 1 |
2 |
3 |
4 |
5 |
6 |
7 |
8 |
9 |
10 |
11 |
12 |
| 13 |
14 |
15 |
16 |
17 |
18 |
19 |
20 |
21 |
22 |
23 |
24 |
| 25 |
26 |
27 |
28 |
29 |
30 |
31 |
32 |
33 |
34 |
35 |
36 |
| 37 |
38 |
39 |
40 |
41 |
42 |
43 |
44 |
45 |
46 |
47 |
48 |
| 49 |
50 |
51 |
52 |
53 |
54 |
55 |
56 |
57 |
58 |
59 |
60 |
| 61 |
62 |
63 |
64 |
65 |
67 |
68 |
69 |
70 |
71 |
72 |
73 |
| 74 |
75 |
86 |
77 |
78 |
79 |
80 |
81 |
82 |
83 |
84 |
85 |
| 86 |
86 |
87 |
88 |
89 |
90 |
91 |
92 |
93 |
94 |
95 |
96 |
| 97 |
98 |
99 |
100 |
101 |
102 |
103 |
104 |
105 |
106 |
107 |
108 |
| 109 |
110 |
111 |
112 |
113 |
114 |
115 |
116 |
117 |
118 |
119 |
120 |
| 121 |
122 |
123 |
124 |
125 |
126 |
127 |
128 |
129 |
130 |
131 |
132 |
| 133 |
134 |
135 |
136 |
137 |
138 |
139 |
140 |
141 |
142 |
143 |
144 |
1: 1 000 000
Приложение №2
Определение номенклатуры листа карты масштаба 1: 10 000
а |
б |
Б |
|||||
|
2 |
г |
|||||
| 3 |
4 |
||||||
|
|
||||||
|
|
|
|
|
|
| А |
|
||||||||
|
|
Приложение №3
Определение номенклатуры листа карты масштаба 1: 5 000
|
|
| 1 |
2 |
3 |
4 |
5 |
6 |
7 |
8 |
9 |
10 |
11 |
12 |
13 |
14 |
15 |
16 |
| 17 |
18 |
19 |
20 |
21 |
22 |
23 |
24 |
25 |
26 |
27 |
28 |
29 |
30 |
31 |
32 |
| 33 |
34 |
35 |
36 |
37 |
38 |
39 |
40 |
41 |
42 |
43 |
44 |
45 |
46 |
47 |
48 |
| 49 |
50 |
51 |
52 |
53 |
54 |
55 |
56 |
57 |
58 |
59 |
60 |
61 |
62 |
63 |
64 |
| 65 |
66 |
67 |
68 |
69 |
70 |
71 |
72 |
73 |
74 |
75 |
76 |
77 |
78 |
79 |
80 |
| 81 |
82 |
83 |
84 |
85 |
86 |
87 |
88 |
89 |
90 |
91 |
92 |
93 |
94 |
95 |
96 |
| 97 |
98 |
99 |
100 |
101 |
102 |
103 |
104 |
105 |
106 |
107 |
108 |
109 |
110 |
111 |
112 |
| 113 |
114 |
115 |
116 |
117 |
118 |
119 |
120 |
121 |
122 |
123 |
124 |
125 |
126 |
127 |
128 |
| 129 |
130 |
131 |
132 |
133 |
134 |
135 |
136 |
137 |
138 |
139 |
140 |
141 |
142 |
143 |
144 |
| 145 |
146 |
147 |
148 |
149 |
150 |
151 |
152 |
153 |
154 |
155 |
156 |
157 |
158 |
159 |
160 |
| 161 |
162 |
163 |
164 |
165 |
166 |
167 |
168 |
169 |
170 |
171 |
172 |
173 |
174 |
175 |
176 |
| 177 |
178 |
179 |
180 |
181 |
182 |
183 |
184 |
185 |
186 |
187 |
188 |
189 |
190 |
191 |
192 |
| 193 |
194 |
195 |
196 |
197 |
198 |
199 |
200 |
201 |
202 |
203 |
204 |
205 |
206 |
207 |
208 |
| 209 |
210 |
211 |
212 |
213 |
214 |
215 |
216 |
217 |
218 |
219 |
220 |
221 |
222 |
223 |
224 |
| 225 |
226 |
227 |
228 |
229 |
230 |
231 |
232 |
233 |
234 |
235 |
236 |
237 |
238 |
239 |
240 |
| 241 |
242 |
243 |
244 |
245 |
246 |
247 |
248 |
249 |
250 |
251 |
252 |
253 |
254 |
255 |
256 |
|
|
У – 35 -38 – А – в – 3
|
![]() |
| У – 35 – 38 – (97) |
У – 35 – 38 – (98) |
||
| У – 35 – 38 – (113) |
|
|
|
1: 10 000
Приложение №4
Определение номенклатуры листа карты масштаба 1: 2 000
У – 35 – 38 – (97)
|
|
||||
|
|
||||
| а |
б |
в |
||
| г |
д |
е |
||
| ж |
з |
|
|
|
У – 35 – 38 – (113)
|
|
| а |
б |
в |
||
| г |
д |
е |
||
| ж |
з |
|
|
|
У – 35 – 38 – (114)
|
|
||||
|
|
||||
| а |
б |
в |
||
| г |
д |
е |
||
| ж |
з |
|
|
|
У – 35 – 38 – (98)
|
|
|||
|
|
|||
| а |
б |
в |
| г |
д |
е |
| ж |
з |
и |
|
|
Приложение №5
Таблица 5.1. Требования при построении полигонометрических сетей
| Показатели |
4 класс |
1 разряд |
2 разряд |
| Предельная длина хода, км: |
|||
| отдельного |
15 |
5 |
3 |
| между исходной и узловой точкой |
10 |
3 |
2 |
| между узловыми точками |
7 |
2 |
1,5 |
| Предельный периметр полигона, км |
30 |
15 |
9 |
| Длины сторон хода, км: |
|||
| наибольшая |
2,00 |
0,80 |
0,35 |
| наименьшая |
0,25 |
0,12 |
0,08 |
| средняя расчетная |
0,50 |
0,30 |
0,20 |
| Число сторон в ходе, не более |
15 |
15 |
15 |
| Относительная погрешность хода, не более |
1:25000 |
1:10000 |
1:5000 |
| Средняя квадратическая погрешность измерения угла (по невязкам в ходах и полигонах), угловые секунды, не более |
3 |
5 |
10 |
| Угловая невязка хода или полигона, угловые секунды, не более, где n – число углов в ходе |
5 п |
10 п |
20 п |
| Примечание: 1. В отдельных случаях при привязке ходов полигонометрии к пунктам государственной геодезической сети с использованием светодальномеров длины привязочных сторон хода могут быть увеличены до 30%. |
|||
| 2. В порядке исключения в ходах полигонометрии 1 разряда длиной до 1 км и в ходах полигонометрии 2 разряда длиной до 0,5 км допускается абсолютная линейная невязка 10 см. |
|||
| 3 Число угловых и линейных невязок, близких к предельным, не должно превышать 10%. |
|||
| 4 Допускается увеличение длин ходов полигонометрии 1 и 2 разряда до 30%, |
Приложение №6
Таблица 6.1. Требования к расстояниям между съемочной станцией и пикетами
| Масштаб съемки |
Сечение рельефа, м |
Максимальное расстояние между пикетами, м |
Максимальное расстояние от прибора до рейки при съемке рельефа, м |
Максимальное расстояние от прибора до рейки при съемке контуров, м |
| 1:5000 |
0,5 1,0 2,0 5,0 |
60 80 100 120 |
250 300 350 350 |
150 150 150 150 |
| 1:2000 |
0,5 1,0 2,0 |
40 40 50 |
200 250 250 |
100 100 100 |
| 1:1000 |
0,5 1,0 |
20 30 |
150 200 |
80 80 |
| 1:500 |
0,5 1,0 |
15 15 |
100 150 |
60 60 |
Примечание: При определении положения нечетко выраженных или второстепенных контуров расстояния увеличиваются в 1,5 раза
Таблица 6.2. Требования к расстояниям между створными точками при съемке застроенных территорий
| Масштаб съемки |
Расстояния между створными точками, м |
|
| Измеренные рулеткой (лентой) |
Измеренные оптическими дальномерами |
|
| 1:2000 1: 1000 1:500 |
80 60 40 |
120 80 50 |
Приложение №7
Таблица 7.1. Требования к расстояниям при съемке контуров
| Метод определения расстояния и масштабы съемки |
Расстояния до контуров, м |
|
| четкие |
нечеткие |
|
| При измерении нитяным дальномером 1: 2000 1: 1000 1:500 |
100 60 40 |
150 100 80 |
| При измерении лентой или оптическим дальномером 1: 2000 1: 1000 1: 500 |
250 180 120 |
300 200 150 |
Примечание: применение электронных тахеометров исключает ограничения на расстояния.
Таблица 7.2. Требования к расстояниям при способе прямых угловых засечек
| Масштаб съемки |
Расстояния до контуров, м |
|
| четких |
нечетких |
|
| 1:2000 |
400 |
1200 |
| 1: 1000 |
200 |
600 |
| 1:500 |
100 |
300 |
Таблица 7.3. Требования к расстояниям между пикетами при высотной съемке
| Масштаб съемки |
Максимальное расстояние между пикетами, м |
| 1: 5000 |
100 |
| 1: 2000 |
40 |
| 1: 1000 |
30 |
| 1: 500 |
20 |
Приложение №8
Таблица 8.1. Допуски максимальных длин висячих теодолитных ходов (в метрах)
| Масштаб съемки |
На застроенных территориях |
На незастроенных территориях |
| 1:5000 |
350 |
500 |
| 1:2000 |
200 |
300 |
| 1: 1000 |
150 |
200 |
| 1:500 |
100 |
150 |
Таблица 8.2. Требования к точности при развитии съемочных сетей теодолитными ходами
| Масштаб |
ms = 0,2 мм |
ms = 0,3 мм |
|||
| 1/N=1/3000 |
1/N=1/2000 | 1/N=1/1000 |
1/N=1/2000 |
1/N=1/1000 |
||
| Допустимые длины ходов между исходными пунктами, км |
|||||
| 1:5000 |
6,0 |
4,0 |
2,0 |
6,0 |
3,0 |
| 1: 2000 |
3,0 |
2,0 |
1,0 |
3,6 |
1,5 |
| 1:1000 |
1,8 |
1,2 |
0,6 |
1,5 |
1,5 |
| 1: 500 |
0,9 |
0,6 |
0,3 |
- |
- |
| Триангуляция, Полигонометрия, Нивелирование (нужное подчеркнуть) |
Название пункта №_________________________Класс, |
| (Ненужное зачеркнуть) |
|
| Разряд __________Город (населённый пункт)_____________ |
|
| ____________________________________________________ |
|
| Трапеция____________________________________________ |
Приложение №9
Образец карточки закладки центров полигонометрии и постройки геодезических знаков
| Абрис |
Описание местоположения пункта |
|
| Тип центра Высота верхней марки над уровнем земли + – |
Сведения об использовании центра (ненужное зачеркнуть) Старый центр Новый центр Год закладки______ (постройки) |
|
Масштаб – 1:
Составил ______________________________ Принял _______________
(подпись, дата, фамилия) (подпись, дата, ф
Приложение №10
Образец центров пункта триангуляции, полигонометрии, трилатерации 1 и 2 разрядов и полигонометрии 4 класса (тип 5 г. р.)


Приложение №11
Образец центров пункта триангуляции, полигонометрии, трилатерации 1 и 2 разрядов и полигонометрии 4 класса (тип 6 г. р.)

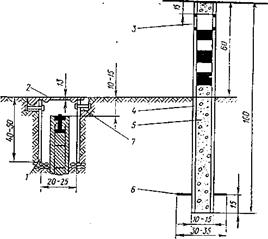
Центр пункта триангуляции, полигонометрии, трилатерации 1 и 2 разрядов и полигонометрни 4 класса в районах сезонного промерзания грунта. Тип б г. р. / – чугунный ' колпак с крышкой; 2 – асфальт или поверхность земли, очищенная от дерна; 3 – скрепление на цементном растворе; 4 – бетонные кольца или кирпичная кладка; 5 – противокоррозионный слой; 6 – металлические скобы; 7 – бетонный монолит в виде усеченной четырехгранной пирамиды; 8 – металлическая, диаметром 35–60 мм. асбоцементная, железобетонная с бетонным заполнением труба, железобетонный пилон круглого (80 – 160 мм) или прямоугольного сечения рельс любого профиля.
Приложение №12
Стенной знак пункта полигонометрии 1 разряда. Тип 8 г.р.

1 ‑ отверстие диаметром 2 мм для установки визирного приспособления, 2 ‑ надпись, состоящая из начальных букв организации, производящей геодезические работы.
Приложение №13
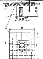
Образец наружного оформления мест расположения пунктов триангуляции, полигонометрии, трилатерации 2, 3, 4 классов.

Размеры даны в см
Наружное оформление мест расположения пунктов триангуляции, полигонометрии, трилатерации 2, 3, 4 классов и триангуляции и полигонометрии, трилатерации I и 2 разрядов на незастроенной территории.
1 – металлическая, бетонная или асбоцементная труба; 2 – металлическая крышка; 3 – металлическая пластина охранная; 4 – железобетонный столб или абсоцементная труба; 5 – бетон; 6 – металлический якорь; 7 – металлическое или бетонное кольцо

Размеры даны в см
Наружное оформление мест расположения пунктов триангуляции, полигонометрии, трилатерации 2, 3, 4 классов на незастроенной территории.
/ – металлическая, бетонная или асбоцементная труба; 2 ‑ железобетонная плита; 3 ‑ железобетонная крышка; 4 - арматурная проволока диаметром 7–9 мм; 5 – металлическая пластина.
