| Скачать .docx | Скачать .pdf |
Реферат: Бурильные машины. Проходческие комбайны. Очистные и проходческие комплексы и агрегаты
РАЗДЕЛ 1. МАШИНЫ ДЛЯ БУРЕНИЯ ШПУРОВ И СКВАЖИН
1.1. Общие сведения о бурении горных пород
Отделение крепких горных пород от массива при проведении подготовительных выработок на рудных и угольных шахтах и при ведении очистных работ на рудных шахтах производится с помошью буровзрывных работ. Разрушение массива горных пород в этом случае осуществляется энергией взрыва. Взрывные вещества размещают в специальных цилиндрических полостях, искусственно образованных в горных породах.
Цилиндрическая полость в горной породе диаметром до 75 мм и глубиной до 5 м обычно называется шпуром. Шпур длиннее 5 м и любая цилиндрическая полость в горной породе диаметром более 75 мм называется скважиной. Сам процесс образования цилиндрических полостей в горной породе называется бурением, а машины, осуществляющие этот процесс, называются буровыми.
Шпуры и скважины используют не только для буровзрывных работ. Короткие шпуры могут применяться при установке анкерной крепи. Скважины могут использоваться для дегазации, дренажа, вентиляции, прокладки силовых кабелей, трубопроводов, а скважины большего диаметра (более 500 мм) могут использоваться и как технологические выработки.
В подземных условиях наиболее широкое применение в горной промышленности получил механический способ бурения шпуров и скважин, при котором разрушение горных пород производится буровым инструментом под действием механических усилий, а удаление буровой мелочи производится водой, сжатым воздухом либо воздушно-водяной смесью. При механическом разрушении породы буровой инструмент создает на груди забоя местные напряжения, превышающие предел прочности породы, что вызывает ее разрушение.
В зависимости от характера силового воздействия бурового инструмента на горную породу и схемы его работы механическое бурение может осуществляться следующими способами: вращательным, ударным, вращательно-ударным и ударно-вращательным.
Вращательное бурение производится буровым инструментом, имеющим форму резца, непрерывно вращающимся вокруг своей продольной оси и поступательно перемещающимся вдоль этой оси на забой. В результате сложения этих двух движений каждое перо резца движется по винтовой линии. Для эффективного использования этого способа бурения необходимо, чтобы осевое усилие превышало предел прочности буримых пород на вдавливание, а крутящий момент - сопротивление породы скалыванию и силы трения резца о породы, что, в свою очередь, определяет очень жесткие требования к прочности породоразрушающего инструмента.
Достоинства вращательного способа бурения: высокая производительность бурения, так как процесс разрушения породы непрерывен; невысокие удельные энергозатраты; относительно низкая запыленность рабочей зоны; отсутствие опасных вибраций машины при работе. К недостаткам данного способа бурения нужно отнести ограничения области применения по крепости и абразивности горных пород.

Шарошечное бурение дает возможность бурить более крепкие породы (f >8) вращательным способом. Однако шарошечные буровые станки пока не получили широкого распространения на подземных горных работах.
Ударное (ударно-поворотное) бурение производится клиновым буровым инструментом. Под действием ударного импульса лезвие буровой коронки внедряется в породу, образуя радиальные канавки . Секторы породы между канавками разрушаются за счет скалывающих напряжений. Перед ударом буровой инструмент незначительным осевым усилием подачи прижимается к груди забоя, а поворот бурового инструмента на некоторый угол (15...20°) после каждого удара для разрушения всей площади забоя шпура или скважины осуществляется крутящим моментом. Кратковременная и значительная динамическая нагрузка на буровую коронку создает большие удельные нагрузки в месте контакта лезвия коронки с породой, что дает возможность бурить крепкие и абразивные породы. Существенным недостатком этого метода бурения является относительно низкая производительность из-за цикличности воздействия бурового инструмента на разрушаемую породу.
Вращательно-ударный способ бурения является комбинированным, сочетающим резание с одновременным приложением к буровому инструменту ударной нагрузки. При вращательно-ударном бурении непрерывно вращающаяся буровая коронка, лезвия которой имеют форму асимметричного клина, внедряется в породу под действием значительного осевого усилия и ударного импульса. Ударная нагрузка способствует более эффективному внедрению режущей кромки коронки в породу, а значительный постоянно действующий крутящий момент производит скалывание основного объема породы передней гранью буровой коронки. В бурильных головках вращательно-ударного действия мощность вращателя значительно превышает мощность ударного механизма. Наиболее эффективно вращательно-ударный способ бурения может быть применен в породах с f = 6-12.
При ударно-вращательном способе бурения на коронку действуют аналогичные силы, что и в выше описанном, но соотношение их принципиально другое. При этом способе бурения внедрение лезвия в породу и разрушение ее основного объема происходит за счет ударного импульса; постоянный крутящий момент вращает буровую коронку и зачищает грудь забоя от гребешков породы, остающихся между соседними лунками выкола, а постоянное, относительно небольшое осевое усилие только прижимает буровой инструмент к забою.
Ударно-вращательное бурение применяют в крепких породах с f = 12-18, но в весьма крепких и абразивных породах происходит интенсивное истирание лезвий буровой коронки.
Горные сверла применяются для бурения шпуров и скважин вращательным способом по углю и горным породам с f<8. Горные сверла можно классифицировать по следующим признакам: но роду применяемой энергии - на электрические, пневматические и гидравлические; по способу подачи бурового инструмента на забой - на сверла с ручной и механической подачей.
Ручные сверла предназначены для бурения шпуров диаметром до 50 мм и глубиной до 3 м по углю и мягким породам (f< 3).
Ручное электросверло СЭР-19М (рис. 3.2) состоит из асинхронного электродвигателя 1 и двухступенчатого редуктора 6. Управление сверлом осуществляется с помощью выключателя 4 и вмонтированной в рукоятку 7 клавиши. Двигатель охлаждается вентилятором 2, смонтированным на валу ротора двигателя, а поверхность корпуса сверла сделана ребристой. Вентилятор закрыт затыльной крышкой 3 с окнами для всасывания воздуха. Для обеспечения безопасной работы сверла затыльная крышка сверла 3 и рукоятки 7 сверла покрываются слоем диэлектрического материала. В передней части сверла в корпусе редуктора имеется шпиндель 5, в который вставляется хвостовик буровой штанги.
Запитываются электросверла от трехфазной сети напряжением 127 В, а в цепи дистанционного управления - 36 В.
Отечественная промышленность выпускает ручные электросверла, аналогичные по конструктивной схеме, описанной выше, и отличаются они лишь электрическими параметрами двигателя и кинематической схемой редуктора.

В шахтах опасных по газу и пыли для бурения шпуров применяют ручные пневмосверла.
Пневматические и гидравлические ручные сверла обладают повышенной надежностью и безопасностью в работе и имеют возможность плавно регулировать частоту вращения бурового инструмента в зависимости от крепости буримых пород.
Для бурения шпуров на всю глубину одной штангой без перехвата применяют бурильные головки вращательного действия, которые монтируются на длинноходовых податчиках и манипуляторах. Такое сочетание бурильной головки с механизмами, обеспечивающими пере-мещение бурильной головки по забою и наведение на ось буримого шпура, позволяет ликвидировать физический труд бурильщика и резко сократить время на эти операции, что приводит к существенному росту производительности буровых работ. Бурильные головки с длинноходовым податчиком и манипулятором используются на всех шахтных буровых установках и в качестве навесного бурового оборудования на ряде погрузочных машин типа ПНБ.
Бурильные головки вращательного действия могут быть с электроприводом и гидроприводом. Бурильные головки с электроприводом обеспечивают дискретное изменение частоты вращения бурового инструмента, что ограничивает возможности выбора оптимальных режимных и силовых параметров бурения. Применение гидропривода в бурильных головках вращательного действия дает возможность плавно регулировать частоту вращения бурового инструмента, а в сочетании с податчиком с гидроприводом дает возможность полностью автоматизировать процесс бурения.
Конструкция бурильной головки вращательного действия приведена на рис.3.3. Крутящий момент от ротора электродвигателя 1 шпинделю 5 передается через систему шестерен редуктора 2. Перемещением блока шестерен 6 по шлицевому валу 7 обеспечивается включе¬ние одной из трех скоростей вращения шпинделя 5. Осевое усилие подачи воспринимается упорным двухрядным подшипником 3. Вода для очистки шпура от буровой мелочи подается через сальниковую муфту 4.

Рис. 3.3. Бурильная головка вращательного действия УБШ-204
В переводе с латинского перфоратор означает пробивать, прокалывать, пробуривать. На сегодняшний день к перфораторам относят бурильные машины для бурения шпуров и скважин в породах выше средней крепости (f > 8) ударным, ударно-вращательным и вращательно-ударным способами.
По способу применения перфораторы можно подразделить на переносные, телескопные и колонковые (бурильные головки). Переносные перфораторы (более раннее название - ручные) в свою очередь по массе можно разделить на легкие - до 18 кг, средние - 18...25 кг и тяжелые - более 25 кг. В горной промышленности в основном нашли применение средние и тяжелые переносные перфораторы, которые работают с пневмоподдержек или других установочно-подающих устройств. Без вспомогательных устройств переносными перфораторами можно бурить шпуры сверху вниз (при проходке стволов шахт).
Телескопные перфораторы предназначены для бурения восстающих шпуров снизу вверх при проходке восстающих выработок или шпуров под анкерную крепь. Подача перфоратора на забой осуществляется специальным податчиком (телескопом).
Колонковые перфораторы в том конструктивном исполнении, в котором они применялись ранее, а настоящее время не используются. Их заменили бурильные головки.
По роду используемой энергии перфораторы подразделяются на пневматические, гидравлические и электрические. Электрические перфораторы в горной промышленности пока не нашли применения.
По способу распределения энергоносителя перфораторы можно разделить на три группы: клапанные, золотниковые и бесклапанные, когда распределение энергоносителя производит сам поршень-ударник.
По конструкции механизма поворота бура перфораторы можно разделить на две группы: с автоматическим зависимым и независимым вращением буровой штанги.
По способу очистки шпура от бурового шлама различают перфораторы: с осевой или боковой промывкой шпура водой; с отсосом пыли и с продувкой шпура сжатым воздухом. Последний способ очистки шпура от буровой мелочи санитарными нормами запрещен к использованию в подземных условиях. Однако может быть применен в тех условиях, где невозможно использовать воду (в зоне вечной мерзлоты) или в конце бурения для очистки шпура от бурового шлама и более полного использования глубины шпура.
1.3.1. Переносные перфораторы
Устройство переносного пневматического перфоратора рассмотрим на примере перфоратора ПП63В. Этот перфоратор (рис. 3.7) состоит из цилиндра (корпуса) 3, передней головки 11 и крышки 1. В цилиндре возвратно-поступательно движется поршень-ударник 8. Цилиндр, передняя головка и крышка соединены между собой стяжными болтами 18 с гайкой 17.На крышке 1 имеется штуцер 20, через который подводится сжатый воздух к воздухораспределительному устройству, расположенному внутри цилиндра, а вода подводится через штуцер 21.

Рис. 3.4. Перфоратор ПП63В
Между воздухораспределительной коробкой 2 и крышкой 1 помещено устройство для поворота бура, состоящее из геликоидального стержня 6 и храпового кольца 14 с собачками 15.
Геликоидальный стержень 6 проходит через воздухораспределительную коробку 2 и гайку 7 поршня-ударника 8, входя, таким образом, внутрь последнего. В передней головке 11 помещаются разъемные шлицевая 9 и поворотная 10 буксы. Шлицы поршня-ударника 8 находятся постоянно в зацеплении с шлицами буксы 9. Букса 10 имеет шестигранное отверстие, в которое вставляется хвостовик бура 12 , удерживаемый в буксе 10 буродержателем 13.
По оси перфоратора проходит промывочная трубка 16 и входит в канал хвостовика бура на 60-70 мм. Через эту трубку вода поступает к забою шпура для очистки его от разрушенной породы.
Воздухораспределительный механизм служит для подачи сжатого воздуха в правую или левую часть цилиндра. Если сжатый воздух поступает в левую часть цилиндра, то поршень-ударник, двигаясь слева направо, совершает рабочий ход, в конце которого шток поршня- ударника наносит удар по хвостовику бура. При обратном ходе (сжатый воздух поступает в правую часть цилиндра) поршень движется по нарезкам геликоидального стержня, фиксируемого храповым механизмом, поворачиваясь при этом на некоторый угол. Отработанный воздух выходит через выхлопное отверстие 4 и глушитель шума от выхлопа воздуха 5.
Перфоратор оборудуется виброгасящим устройством 19 , которое выполнено в виде сварной рамы соответствующей конструкции и системы пружин.
Телескопический перфоратор (рис. 3.5) состоит из двух функциональных узлов, объединенных в единое целое: пневматического телескопического податчика 1 и перфоратора 2. Податчик представляет из себя полый цилиндр, в котором перемещается поршень 8 со штоком 9. Шток оснащен упором 10 для фиксации телескопного перфоратора на опорной поверхности. Для управления подачей на перфораторе имеется рукоятка 7 с кнопкой для сброса сжатого воздуха из телескопа.
Сам перфоратор по конструкции принципиально аналогичен переносным перфораторам, но имеет некоторые конструктивные особенности, учитывающие специфику работы. Так, буродержатель заменен буксой 4, которая соединена с поворотной буксой и препятствует попаданию бурового шлама внутрь перфоратора. Хвостовик бура изготовляется без буртика, и глубину посадки хвостовика в поворотной буксе ограничивает промежуточный боек 3. Для предотвращения попадания в ствол перфоратора стекающего по буру шлама имеется постоянная продувка работающего и выключенного перфоратора осуществляемая но специальной трубке 6, расположенной концентрично промывочной трубке 5.

Рис. 3.5. Телескопный перфоратор ПТ48А
Для условий, где использование воды для очистки шпура от буровой мелочи затруднено, разработаны и изготовляются однотелескопные и двухтелескопные (УБ2Т-С) перфораторы с пылеотсосом.
1.3.2. Погружные пневмоударники
Для бурения глубоких скважин на рудных шахтах широкое применение нашли погружные пневмоударники. По принципу работы они аналогичны переносным перфораторам, но конструктивно более просты, так как в них отсутствует встроенный механизм поворота. Пневмоударник в процессе бурения находится в скважине, что обеспечивает незначительное изменение энергии удара на буровой коронке при бурении глубоких скважин. Механизмы вращения и подачи пневмоударника вынесены в выработку. Крутящий момент, усилие подачи и энергоноситель (воздушно-водяная смесь) передаются пневмоударнику через став бурильных труб. По способу распределения энергоносителя пневмоударники обычно бывают с клапанным и бесклапанным (поршнем-ударником) распределением.
Пневмоударник (рис. 3.6) состоит из цилиндрического корпуса 2, в котором перемещается поршень-ударник 3, передней головки 8, в которую вставляется буровое долото 9 и фиксируется шпонкой 7 переходника 1. Во время холостого хода поршня-ударника воздушно-водяная смесь поступает через переходник 1 и каналы 5 в переднюю полость 6 корпуса. Из задней полости корпуса 4 в это время происходит выхлоп отработанного энергоносителя через отверстие 11. При рабочем ходе поршня-ударника впуск воздушно-водяной смеси в задную полость корпуса 4 происходит по каналам 10, а из передней полости в в это время происходит выхлоп через отверстия 11. При холостом ходе поршня-ударника после перекрытия выхлопных отверстий 11 по каналам 12 отработанная воздушно-водяная смесь вытесняется в камеру 13, в которой создается давление до 1 МПа. Это давление увеличивает ускорение и энергию удара поршня при рабочем ходе.
1 2 3 4 5 6 7 8 9

Рис. 3.6. Пневмоударник ПП-105-2,2
1.3.3. Установочно-подающие механизмы для переносных перфораторов
Для облегчения труда бурильщика и интенсификации процесса бурения шпуров применяют пневмоподдержки и переносные бурильные установки. Производительное бурение шпуров по крепким породам требует создание осевого усилия до 1200 Н, что бурильщику физически невозможно реализовать. Пневмоподдержки и предназначены для подачи переносных перфораторов и поддержания их на определенной высоте забоя при бурении горизонтальных и наклонных шпуров в горных породах.
Пневматическая поддержка с подвижным штоком (рис. 3.17) при бурении шпура упирается в почву выработки упором, а на выдвижном штоке имеется держатель, к которому крепится перфоратор 1 с буровой штангой 2. При подаче сжатого воздуха в пневмоцилиндр поддержки она начнет раздвигаться с осевым усилием Рос. На оси держателя перфоратора усилие раздвижки пневмоподдержки разложится на вертикальную и горизонтальную составляющие. Вертикальная составляющая будет компенсировать силу веса перфоратора, а горизонтальная составляющая вместе с усилием бурильщика будут создавать усилие подачи перфоратора на забой. По мере бурения шпура пнвмоподдержка будет раздвигаться, а угол ее наклона а уменьшаться (положение П), что приведет к увеличению усилия подачи и уменьшению вертикальной силы.
Пневмоподдержки конструктивно могут быть выполнены с подвижным штоком или с подвижным корпусом пневмоцилиндра и иметь одинарную или телескопическую раздвижность. Поддержки с телескопической раздвижностью более компактны и имеют больший ход раздвижности. Пневмоподдержки могут быть также реверсивными и нереверсивными. Под-держки с одинарной раздвижностью, выдвижным корпусом и реверсивные изготавливает Екатеринбургский завод горноспасательного оборудования, а телескопические пневмоподдержки (УБТУ-1) - ОАО АК «Туламашзавод». Поддержки УБТУ-1 дают возможность бурить и восстающие шпуры.
|
|
Облегчает труд бурильщика и переносная бурильная установка УПБ-1А (рис. 3.18). Эта установка состоит из трубчатой рамы 3, по которой перемещаются ползуны 7 канатно-поршневого податчика 5. В нижней части рамы находится удлинитель 6 с опорной пятой. В верхней части рамы имеется пневмоцилиндр 2, шток которого осуществляет распор рамы в кровлю и почву выработки. К ползунам 7 крепится кронштейн с канатно-поршневым податчи- ком и перфоратором 1. Перемещение кронштейна с податчиком по раме производится лебедкой 8. На заднем фланце податчика установлен пульт управления 9 перфоратором и податчиком. В передней части податчика установлен люнет 4 для центрирования буровой штанги.
|
Рис. 3.18. Переносная бурильная установка УПБ1А |
| 1 9 |
Распорные колонки на сегодняшний день используются в основном для установки буровых станков НКРЮОМА с погружным пневмоударником. Распорная колонна представляет собой трубу с винтовым распором в кровлю и почву выработки. По стойке перемещается кронштейн, который крепится на стойке в нужном положении хомутом. На трубчатом кронштейне также хомутом крепится сам буровой станок.
1.3.4. Бурильные головки
Колонковые перфораторы, поскольку предназначались не только для бурения шпуров, но и небольших скважин, были более мощными и тяжелыми машинами, чем переносные перфораторы. Они требовали значительных усилий подачи, и бурение ими с рук было невозможно, поэтому их устанавливали на специальные салазки автоподатчиков, которые в свою очередь устанавливались на специальных винтовых распорных колонках, что и определило первоначальное название данного класса перфораторов.
Широкое применение на шахтах самоходной техники привело к тому, что колонковые перфораторы получили распространение на шахтных буровых установках и стали называться "бурильная головка". Отличительной особенностью буровых головок является наличие независимого вращения бура.
Принципиальная схема вращательно-ударной бурильной головки приведена на рис. 3.20. Сжатый воздух от крана управления через штуцер 27, трубку 2, полость 25, каналы задней буксы 4 и продольные каналы цилиндра 6 поступает в расточку 22 передней буксы 7, откуда через проточку на штоке ударника подается в камеру обратного хода 22. В камеру прямого хода 14 воздух проходит через каналы задней буксы 4 и проточку 5 на хвостовике поршня- ударника. Выхлоп сжатого воздуха производится через выхлопное отверстие 13. Ударный механизм закрыт кожухом, который снижает уровень шума. При увеличении усилия подачи амортизатор 3 сжимается, и выпускной клапан 16 открывается полностью.
Вращатель состоит из пневматического шестереночного двигателя 7, трех пар зубчатых колес, передающих через шпиндель 8 крутящий момент хвостовику 10. Мощность пневмодвигателя 1,2 кВт. Вода в бур подается через сальниковую муфту 9.
|
|
В настоящее время широкое применение находят гидравлические бурильные головки (гидравлические перфораторы). Это практически новый класс машин для вращательно-ударного и ударно-вращательного бурения шпуров и скважин в крепких породах. Серийное производство гидравлических бурильных головок начинается с 1970 г. В России разработка конструкций гидравлических бурильных головок велась Кузнецким машиностроительным заводом совместно с Карагандинским политехническим институтом. Серийное изготовление гидравлических бурильных головок требует значительно более высокого технического уровня производственной базы и, следовательно, больших капитальных затрат. Отсутствие производственной базы и финансирования сдерживает организацию серийного производства гидроперфораторов в России. Зарубежные фирмы, производящие буровую технику, почти все уже не-сколько десятилетий серийно изготавливают гидроперфораторы.
Конструктивная схема гидравлической бурильной головки приведена на рис. 3.21. В корпусе бурильной головки совершает возвратно-поступательное движение поршень-ударник 11, который при рабочем ходе наносит удар по хвостовику 1, имеющему внутреннюю резьбу для соединения с буровой штангой. Уплотнения 8 предотвращают утечку масла из ударного механизма. Управление потоком рабочей жидкости осуществляется золотником 12. Регулировка длины хода поршня-ударника осуществляется поворотом пробки 9, которая открывает один из трех каналов 10, подводящих рабочую жидкость из цилиндра к камере переключения золотника 12. Вращение бура осуществляет гидродвигатель 14 через муфту 25, зубчатые колеса 16,4 и патрон 3. Бурильная головка оснащена гидравлическим амортизатором, защищающим механизмы перфоратора от воздействия возвращающихся по буровой штанге ударных волн. Отраженные ударные импульсы воздействуют на упорную втулку 5 и подпятник 6, вытесняя рабочую жидкость из полости 7 в аккумулятор 13. Аккумулятор 13, заполненный азотом под давлением 11 МПа, сглаживает пульсации рабочей жидкости в напорной магистрали. Для защиты ударного механизма от загрязнения и для его охлаждения в переднюю часть бурильной головки подается насыщенный маслом сжатый воздух под давлением 0,2 МПа, который выходит в атмосферу через отверстие 17. Для удаления из шпура буровой мелочи в хвостовик через муфту боковой промывки 2 подают воду под давлением 0,6 Мпа.

Рис. 3.21. Конструктивная схема гидравлического перфоратора фирмы «Атлас Копко» (Швеция)
Гидроперфораторы имеют целый ряд преимуществ перед пневматическими перфораторами:
1) повышается в 1,5-2 раза скорость бурения за счет увеличения энергии удара (при равных габаритных размерах и массе давление энергоносителя современного гидроперфоратора 15-25 MПa);
2) уменьшаются в 3-5 раз удельные энергозатраты;
3) увеличивается стойкость бурового инструмента за счет формирования гидроударником более рационального ударного импульса;
4) повышается в 3-4 раза КПД передачи энергии (системы насос- гидроударник по сравнению с системой компрессор-пневмоударник);
5) уменьшается уровень шума в забое на 5-15 % за счет отсутствия выхлопа отработанного воздуха;
6) появляется возможность автоматического обеспечения оптимальных режимов бурения в горных породах с различными физико-механическими свойствами за счет регулирования энергии удара, частоты ударов, частоты вращения и усилия подачи буровой штанги; отсутствие масляного аэрозоля в забое выработки, что улучшает санитарно-гигиенические условия и видимость в забое.
Внедрение на рудниках гидравлического бурового оборудования влечет за собой значительное увеличение первоначальных затрат, но они довольно быстро окупятся за счет высокой производительности бурения и экономии энергии.
1.4. Шахтные бурильные установки
Шахтные бурильные установки нашли широкое применение в горнорудной, угольной и строительной отраслях промышленности для бурения шпуров в породах различной крепости при проходке выработок и добыче полезных ископаемых со шпуровым взрыванием массива горной породы, Шахтные бурильные установки полностью механизируют технологический процесс бурения шпуров.
К шахтным бурильным установкам предъявляются следующие требования: они должны полностью обуривать всю площадь забоя, быть простыми в управлении, быть транспортабельными по выработкам, отвечать требованиям техники безопасности и санитарным нормам по пыли, шуму, освещенности забоя и вибрации, быть во взрывобезопасном исполнении при работе в угольных шахтах.
Шахтная бурильная установка (рис. 3.25) состоит из следующих основных функциональных узлов: бурильной головки 7, податчнка 2, манипулятора 3, пульта управления 4, верхних тележек 5 и гусеничного хода 6. Производители шахтных бурильных установок обычно стремятся унифицировать присоединительные элементы основных функциональных узлов различного конструктивного исполнения, что значительно расширяет область применения конкретного типоразмера буровой установки.

Рис. 3.25. Шахтная бурильная установка СБУ-2М
Габаритные параметры шахтных бурильных установок зависят от размеров проводимых горных выработок и определяются типоразмерным рядом, установленным соответствующим ГОСТом. ГОСТ регламентирует шесть типоразмеров бурильных установок с зоной бурения от 2x2,2 м до 10x9,4 м. Первые три типоразмера шахтных буровых установок применяют обычно при проведении подготовительных выработок, а три последних применяют на очистных работах в рудных шахтах, при строительстве железнодорожных и гидротехнических тоннелей.
Буровые станки для бурения глубоких скважин получили широкое распространение при подземной добыче полезных ископаемых. При подземной добыче более половины всей добываемой руды в странах СНГ отделяется от массива с помощью скважинных зарядов. На рудных шахтах буровые станки используются не только для бурения взрывных скважин на очистных работах, но и для бурения различных технологических скважин (дренажных, вентиляционных, для транспортирования закладочного материала и др.).
Буровые станки применяются также для бурения скважин различного назначения и технологических выработок на угольных шахтах. Специфика горно-геологических и горнотехнологических условий угольных шахт требует использования принципиально отличных по конструкции буровых станков.
1.5.1. Станки для бурения скважин на рудных шахтах
Буровые станки можно классифицировать по типу механизма перемещения: несамоходные и самоходные, которые, в свою очередь, можно подразделить на пневмоколесные и гусеничные.
К шахтным буровым станкам предъявляются следующие требования: они должны быть маневренны и транспортабельны по выработкам; отвечать требованиям техники безопасности и санитарным нормам по пыли, шуму, вибрации и освещенности забоя; обеспечивать надежное раскрепление податчика в горной выработке и не допускать его произвольного раскрепления (снижения усилия распора); выдерживать заданное направление бурения (в пределах допустимого) на всю глубину скважины; иметь механизм наращивания и свинчивания буровых штанг; легко и быстро разбираться на транспортабельные узлы, а сами узлы должны иметь высокую ремонтопригодность.
На подземных рудниках СНГ применяется большое количество буровых станков различных конструкций отечественног о и зарубежного производства. Объясняется это чрезвычайно большим разнообразием горно-геологических условий залегания полезных ископаемых и, следовательно, систем разработок. Несмотря на это, шахтные буровые станки являются узкоспециализированными станками и оснащаются более простыми в конструктивном исполнении манипуляторами. Податчики буровых станков по конструкции аналогичны податчикам шахтных буровых установок, но имеют меньшую длину хода и более высокие усилия подачи.
Скважины диаметром до 90 мм и глубиной до 30 м в подземных условиях обычно бурят пневматическими или гидравлическими перфораторами. Скважины большего диаметра и глубины бурят станками с погружным пневмоударником. Небольшой объем бурения скважин диаметром 145-190 мм выполняется шарошечными станками.
До настоящего времени на отечественных рудных шахтах еще достаточно широко применяются несамоходные буровые станки с погружным пневмоударником, вошедшие в практику горных работ в 50-60-х годах прошлого века. Типичным представителем таких станков является буровой агрегат НКР-10ОМА (модификация МПА с пневмоприводом).
|
|
Рис. 3.32. Агрегат буровой НКР10ОМА в забое
Став буровых штанг служит для крепления пневмоударника и передачи ему вращательного и поступательног о движения от станка, а также для подвода воздушно-водяной смеси к пнев м оуд арнику.
В отечественной практике пневмоударники пока все еще работают при давлении сжатого воздуха 0,5.. .0,6 МПа, а то время как за рубежом уже несколько десятилетий пневмоударники работают на давлениях 1,75...2,5 МПа, что позволяет в несколько раз увеличить производительность и значительно снизить стоимость буровых работ. Объясняется такое отставание отсутствием производства отечественной промышленностью передвижных дожимных компрессорных установок на соответствующее давление для горной промышленности.
В последние десятилетия на рудных шахтах большинства зарубежных стран широко внедряется самоходная буровая техника, производство которой в России практически отсутствует.
Для бурения кругового веера скважин большого диаметра (от 105 до 165 мм) на глубину до 180 м фирма «Ингерсолл Рэнд» (США) предлагает компактный самоходный буровой станок СММ-2 (рис. 3.33). Базой этого станка является гусеничный механизм хода 2, имеющий раздельный гидравлический привод гусениц мощностью 10,4 кВт. Гидронасос механизма перемещения приводится в действие пневмодвигателем радиально-поршневого типа, питающегося от шахтной пневмосети давлением 0,62 МПа. В задней части станка размещены гидростанция с пультом управления гусеничным ходом 1 и сидение машиниста.
В передней части бурового станка на поперечной оси крепятся кронштейн (кулиса) 5, на котором смонтирован вращатель, поворачивающий ось податчика 6 на угол 360°. Два гидроцилиндра 3 осуществляют перевод податчика из транспортного положения в рабочее и поворачивают податчик на угол 20°, что дает возможность бурить скважины «под себя». На сварной раме податчика 10 находится вращатель 8, который перемещается но раме податчика телескопическим гидроцилиндром с двойной раздвижностью.
В нижней части податчика расположен гидроключ для удержания бурового става при осуществлении спуско-подъемных операций и центратор 12, который точно центрирует по оси буримой скважины пневмоударник. При бурении вниз рама податчика надвигается на почву выработки гидроцилиндром 7 и фиксируется башмаком 13. Раскрепление податчика в кровлю выработки производится двумя гидродомкратами 9, расположенными по бокам рамы податчика. При изменении направления бурения места раскреиления податчика меняются местами.

Рис. 3.33. Буровой станок СММ-2
Управление процессом бурения осуществляется дистанционно с пульта 11 , а можно и с стационарного пульта 4. Буровой станок СММ-2 имеет компактную конструкцию, что позволяет в большинстве случаев спускать его в шахту без демонтажа. Этот буровой станок имеет также высокую технологическую скорость бурения - от 8 (при давлении сжатого воздуха в сети 0,5 МПа) до 40 м/ч (при работе с дожимным компрессором и давлении 2,5 МПа).
1.5.2. Станки для бурения скважин на угольных шахтах
Бурение скважин в угольных шахтах характеризуется своей спецификой, связанной с высокой скоростью бурения, слабой устойчивостью пород, работой в действующих выработках во взрывоопасной среде и др. Скважины бурятся обычно по углю или породам средней крепости ( f < 8), поэтому на всех станках реализуется вращательный способ бурения.
Буровые станки можно подразделить по следующим классификационным признакам:
- по назначению - для бурения дегазационных, нагнетательных, разгрузочных и др. скважин диаметром до 150 мм и глубиной до 100 м; для бурения технологических скважин диаметром до 1500 мм для перепуска угля, прокладки кабелей и трубопроводов, вентиляции и т. п.;
- по виду энергоносителя - на электрические, пневматические и гидравлические;
- по конструктивной схеме самого станка - с неподвижным вращателем и выдвижным шпинделем и с подвижным вращателем;
- по массе - на легкие (до 1000 кг) и тяжелые (свыше 1000 кг).
В настоящее время все буровые станки для угольных шахт являются несамоходными, с гидравлическим механизмом подачи бурового става на забой и дистанционным управлением. Однако дистанционное управление полностью не решает проблем безопасности обслуживающего персонала, так как операция наращивания бурового става пока не механизирована.
На рис. 3.37 представлен буровой станок БГА-2М, который предназначен для бурения скважин по углю любой крепости, включая породные прослойки мощностью до 0,2 м и крепостью до f = 5. Станок смонтирован на станине 8, к которой крепится двухскоростной редуктор- вращатель 9 с электродвигателем 1 Две параллельные трубчатые направляющие 3 крепятся в расточках редуктора. Для установки буровых штанг имеется буровой замок 4, траверса которого перемещается по трубчатым направляющим 3. В верхней части трубчатых направляющих имеется подхват 2 для удержания бурового става в момент наращивания или разборки его. Поворот станка в вертикальной плоскости относительно его рамы осуществляется гидроцилиндром 6, а окончательная фиксация станка в нужном положении производится винтовыми стяжками 7. Подача бурового замка с траверсой на забой и холостой ход осуществляются двумя гидроцилиндрами 5. Питание гидросистемы станка производится от автономной насосной станции.

Рис. 3.37. Буровой станок БГА-2М
1.6. Перспективы развития буровой техники
Буровзрывной способ отделения крепких горных пород от массива в настоящее время является основным, и таким он останется и в ближайшем будущем, пока не будут предложены новые, нетрадиционные и экономически эффективные способы разрушения горных пород.
Энергонасыщенность буровых систем к настоящему времени достигла предела, ограниченного прочностными свойствами материала бурового инструмента и деталей функциональных узлов.
Перспективы совершенствования буровой техники в России и за рубежом на ближайшее будущее можно сформулировать следующим образом:
1. Улучшение санитарно-гигиенических условий работы бурильщика по шуму, пыли и вибрации.
2. Совершенствование породоразрушающего инструмента в направлении повышения прочности и износостойкости буровых коронок и штанг.
3. Повышение надежности в работе всех функциональных узлов буровых установок и станков до уровня, обеспечивающего безотказную работу буровой системы в течение всего цикла обуривания забоя. Это положение особенно важно при создании автоматизированных и роботизированных буровых систем.
4. Механизация и автоматизация вспомогательных операций при бурении скважин. Это, в первую очередь, касается операции наращивания и разборки бурового става, так как по продолжительности эта операция соизмерима с продолжительностью бурения скважины на глубину, равную длине штанги.
5. Совершенствование существующих и создание новых автоматизированных систем управления буровых станков и шахтных буровых установок, обеспечивающих автоматизацию забуривания, параллельность бурения, режимные параметры бурения на оптимальном уровне, предотвращение заклинивания бура и диагностику функциональных систем.
6. Создание буровых роботов с широким использованием для управления буровыми системами микропроцессоров.
РАЗДЕЛ 2. ПРОХОДЧЕСКИЕ КОМБАЙНЫ
Проходческие комбайны предназначены доя механизации проведения горизонтальных и наклонных подготовительных выработок различного назначения на угольных и рудных шахтах. Они находят применение и при строительстве различных подземных сооружений (перегонных тоннелей метрополитенов, гидротехнических и коллекторных туннелей и т. д.). Применение проходческих комбайнов дает возможность совместить во времени основные технологические операции проходческого цикла: отделение горной породы от массива, ее погрузку в транспортные средства, а иногда и крепление выработанного пространства.
Многолетняя практика эксплуатации проходческих комбайнов показывает, что с их применением существенно увеличивается скорость проходки выработок и производительность труда горнорабочих в сравнении с буровзрывной проходкой; упрощается организация труда; повышается безопасность труда; значительно облегчается труд проходчиков; улучшается устойчивость проведенных выработок, что снижает затраты на их поддержание; сокращает долю ручного труда по забутовке закрепленного пространства.
2.1. Классификация и требования, предъявляемые к проходческим комбайнам
Все проходческие комбайны по общим признакам, определяющим область применения и технологическую схему работы, можно классифицировать:
- по области применения - для проведения вспомогательных и основных однопутевых и двухпутевых горных выработок по углю и смешанным забоям, для проведения основных и капитальных выработок по породе и нарезных выработок по углю (просеки, разрезные печи, ходки и т. п.);
- по способу обработки забоя органом разрушения - на избирательного действия (стреловые проходческие комбайны) с последовательной обработкой поверхности забоя слоями и фронтального действия (буровые комбайны) с одновременной обработкой всей поверхности забоя;
- по крепости пород разрушаемого горного массива - для работы по углю (слабой руде) с прослойками и присечками слабой породы), для работы по породам средней крепости, для работы по крепким породам;
- по площади сечения проводимых выработок (в проходке) - для проведения выработок сечением 5-16 м2 , 9 – 30 м2 и более 30 м2 .
Дополнительно проходческие комбайны можно классифицировать по конструкции его основных функциональных органов, габаритам, массе. Так, по массе стреловые комбайны в соответствии с ГОСТ 28599-90 делятся на четыре типоразмера:
I -до 13 т;
II - до 25 т;
III - до 48 т;
IV -до 75 т.
Независимо от области применения и конструктивного исполнения проходческие комбайны должны удовлетворять следующим техническим требованиям:
- устойчиво работать с заданной производительностью в требуемых горно-геологических условиях;
- в конструкции комбайна должна быть предусмотрена возможность установки дополнительного навесного оборудования для механизации трудоемких операций проходческого цикла (бурение шпуров и установка анкерной крепи, установка временной штучной крепи и пр.);
- работать в проходческих комплексах с оборудованием для бурения шпуров и установки анкерной крепи, с оборудованием для установки штучной постоянной крепи, с оборудованием для бурения дегазационных и разведочных скважин;
- при работе обеспечивать пылеподавление, уровень шума и вибрации в пределах санитарных норм на рабочем месте машиниста;
- осуществлять дистанционное и автоматическое управление работой и направленностью движения;
- иметь возможно большее число унифицированных узлов и деталей; допускать применение временной передвижной механизированной крепи; разбираться на транспортабельные узлы для спуска под землю и доставки в забой.
2.2. Стреловые проходческие комбайны
Проходческие комбайны избирательного действия со стреловым органом разрушения получили наибольшее распространение в горной промышленности Российской Федерации и за рубежом из-за своей универсальности и относительной простоты конструкции. Такими комбайнами можно проходить выработки любого сечения по форме (арочной, прямоугольной, трапециевидной и др.) и площади сечения (в пределах типоразмера комбайна) без смены органа разрушения или его перенастройки. Стреловыми комбайнами можно проходить горизонтальные и наклонные выработки по углю и смешанному забою с присечкой малоабразивных пород средней крепости в сложных горно-геологических условиях (сбросы, пережимы и утонение пласта, неустойчивая кровля, слабая почва и др.). Конструкция этих комбайнов позволяет достаточно просто производить смену породоразрушающего инструмента и устанавливать временную крепь непосредственно у груди забоя.
Однако применяемые в настоящее время механизмы качания стрелы не могут обеспечить постоянства скорости её перемещения в горизонтальной и вертикальной плоскостях, а также и усилий подачи на коронке в этих же плоскостях. Изменение скорости поворота стрелы, при постоянной частоте вращения самой коронки, приводит к изменению глубины резания и, следовательно, усилия резания на породоразрушающем инструменте. Повышенная динамичность работы стрелового органа разрушения значительно снижает эффективность и надежность работы комбайна и существенно осложняет обеспечение его устойчивости при работе.
Основу парка стреловых комбайнов в России составляют комбайны Копейского машзавода семейства 1 ГПКС. Базовая модель комбайна 1 ГПКС (рис. 5.1) состоит из органа разрушения, включающего в себя телескопическую стрелу 3 и фрезерную головку 1; гусеничного механизма перемещеия 11; погрузочного органа с нагребающими лапами 12; гидросистемы 6; электрооборудования 5; пульта управления 7; передаточного конвейера 8; системы пылегаше- ния 2; силовых гидроцилиндров поворота стрелы 4 и 13; гидроцилиндров перемещения концевой части передаточного конвейера 9 и аутригеров 10 , предназначенных для увеличения устойчивости комбайна при обработке забоя.
Семейство унифицированных комбайнов 1 ГПКС состоит из базовой модели, которая предназначена для проведения горизонтальных и наклонных (±12°) выработок с погрузкой горной массы на конвейер. При погрузке горной массы в вагонетки базовая модель оснащается дополнительно ленточным перегружателем (модель 1ГПКС-01). Модели комбайнов, предназначенные для проведения выработок по восстановлению (+20°; 1ГПКС-02) и по падению (-25 1 ГПКС-03) с погрузкой породы на конвейер дополнительно оснащаются тягово- предохранительными механизмами, монтируемыми на ведущих звездочках редукторов гусеничного хода. Эти лебедки предназначены для удержания комбайна от сползания при проведении наклонных выработок и, кроме этого, увеличивают усилие подачи комбайна при проходке восстающих выработок.
|
|
Схема обработки забоя выбирается машинистом и зависит от крепости породы, состояния почвы и кровли, наличия и расположения твердых включений и других горногеологических и горнотехнических факторов. При выборе схемы обработки забоя желательно учитывать следующие требования:
- при разной крепости породы разрушать вначале более слабую;
- в первую очередь обрабатывать нижнюю часть забоя, так как это облегчает дальнейшее разрушение забоя и погрузку отбитой породы;
- разрушение забоя вести с учетом напластования породы (коронка должна перемещаться вдоль напластования, а не поперек);
- при больших сечениях выработки можно разрушать забой частями (сначала обрабатывается правая часть забоя, а затем левая часть, или наоборот).
Стреловые проходческие комбайны находят широкое применение на шахтах западноевропейских и других зарубежных стран.
2.3. Буровые проходческие комбайны для проведения горизонтальных выработок
Проходческие комбайны с буровым органом разрушения предназначены для проведения подготовительных выработок и очистных работ при камерных системах отработки полезного ископаемого. Форма сечения проводимой выработки может быть арочной или овально-арочной. Комбайны с одним буровым органом или соосными роторами проходят выработку круглого сечения, которая при помощи бермовых фрез доводится до арочной формы. Комбайны с параллельно-осевым расположением буровых органов разрушения проходят выработки овально- арочной формы.
Буровые проходческие комбайны имеют более высокую производительность, чем стреловые комбайны, но они эффективны в эксплуатации только при проведении выработок постоянного сечения в породах с относительно стабильными физико-механическими свойствами и значительной протяженности (около 2000 м).
При проведении выработок по калийным солям и малоабразивным породам средней крепости (f < 6) буровой орган разрушения оснащается резцовым породоразрушающим инструментом. Сам комбайн имеет гусеничный механизм перемещения и шнековый или ковшовый орган погрузки. При проходке выработок по абразивным породам выше средней крепости ( f > 8) ротор органа разрушения оснащается дисковыми или диско-штыревыми шарошками лобового или тангенциального резания, а комбайн оборудуется распорно-шагающим механизмом подачи и ковшовым погрузочным органом.
В России буровые проходческо-очистные комбайны широко применяются при добыче калийных солей.
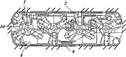
Комбайн ПК-8МА (рис. 5.5) состоит из роторного органа разрушения 1 с ковшовым погрузочным устройством 2, отгораживающего щита 3, редуктора органа разрушения 5, электродвигателей привода роторов 5, передаточного конвейера 6, пылеотсасывающей и оросительной установок 7, пульта управления 9, механизма перемещения 20, бермовых фрез 22, отрезных барабанов 23, электрооборудования со станцией управления 18 , маслостанции с маслобаком 17.
|
Рис. 5.5. Комбайн ПK-8MA |
Орган разрушения состоит из внутреннего ротора 11 и внешнего ротора с четырьмя лучами 13, которые вращаются в разные стороны, что дает возможность уравновесить реактивный момент при работе органа разрушения. Четыре луча внешнего ротора оснащены ковшами 14, которые зачерпывают отбитую горную массу в нижней части выработки и подают ее через верхнее окно в щите на передаточный конвейер. На лучах внутреннего и внешнего роторов монтируются державки 12 с тангенциальными резцами. Забурник 16 разрушает центральную часть забоя и крепит внутренний ротор на выходном валу редуктора органа разрушения.
Управление комбайном в горизонтальной плоскости осуществляется гидродомкратами 4 и 19, путем отталкивания от боковых стенок выработки. Комбайн дополнительно может оснащаться бурильной машиной 21 для бурения шпуров под анкерную крепь.
Буровой проходческо-добычной комбайн «Урал-20А» (рис. 5.6) с планетарным органом разрушения состоит из исполнительного органа 7, верхнего отбойного барабана 2, оформляющего кровлю выработки, бермовых шнеков 3, служащих для выравнивания почвы и подрезки углов выработки, гусеничного механизма подачи 4, пылеподавляющей установки 5, пульта управления, электро- и гидрооборудования 7, 8, 9, скребкового передаточного конвейера 10.
|
|
|
|
Основная масса породы разрушается режущими дисками 11, резцы которых перемещаются в пространстве по циклоидальным кривым. Забурник органа разрушения 12 выполнен в виде дисков, резцы которых описывают циклоидальные кривые в плоскости забоя. Орган разрушения от всего комбайна изолируется щитом ограждения 13. Погрузка отбитой горной массы производится шнеками 14 и скребками передаточного конвейера.
Комбайн дополнительно может комплектоваться бурильной машиной 6 для бурения шпуров под анкерную крепь.
На зарубежных калийных рудниках достаточно широкое распространение получили буровые комбайны «Эймко-Мариетта» компании «Тамрок Коул», которые имеют два или четыре трехлучевых ротора, вращающихся встречно по направлению к продольной оси комбайна.
|
|
|
Рис. 5.7. Проходческо-очистной комбайн «Эймко-Мариетта 780-AW4» |
Проходческо-очистной комбайн «Эймко-Мариетта» 780-AW4 (рис. 5.7) состоит из четырех трехлучевых роторов 1 с погрузочными ковшами, верхнего кольцевого бара 2, оформляющего кровлю выработки, переднего 3 и заднего 5 гидродомкратов управления комбайном в вертикальной плоскости, электроприводов роторов 4, электро- и гидрооборудования 6, переда-точного конвейера 7, нижнего кольцевого бара 8, выравнивающего почву выработки, гидроцилиндра натяжения нижней цепи бара 9, гидроцилиндра подъема и опускания нижнего бара 10 (аналогичные гидроцилиндры имеются и на верхнем баре), гусеничного механизма подачи 11.
В последние десятилетия в зарубежной практике проходка горизонтальных горных выработок на полное сечение в крепких породах буровыми проходческими комбайнами получает все более широкое распространение. По конструктивному и компоновочному исполнению такие комбайны принципиально мало чем отличаются друг от друга. Все различия сводятся в основном к конструктивному исполнению самих роторов, числу распорных устройств, наличию вспомогательного оборудования и т. д.
2.4. Буровые комбайны для проведения наклонных и вертикальных выработок
На рудных шахтах при существующих технологиях добычи значительный объем работ приходится на проведение восстающих выработок. В последние десятилетия в зарубежной практике все более широкое применение при проведении восстающих выработок получают буровые комбайны (станки). Уже более десятка зарубежных фирм выпускает несколько десятков моделей таких комбайнов для бурения восстающих диаметром от 0,6 до 8,5 м по породам с прочностью на сжатие до 280 MПa и на длину до 600 м.
Буровой способ проходки восстающих выработок позволяет осуществить безлюдную проходку; перейти на комплексную механизацию работ; улучшить качественные характеристики выработок и снизить затраты на их крепление; значительно повысить производительность труда и снизить себестоимость проходки.

Рис. 5.9. Схемы бурения восстающих выработок при различных способах установки комбайна
Способ восходящего бурения (см. рис. 5.9, а) заключается в том, что буровой комбайн размещается на верхнем горизонте, с которого бурят пилот-скважину на нижний горизонт, а разбуривание выработки до проектного сечения производят снизу вверх специальным расширителем. Пилот-скважина дает возможность повысить точность проходки восстающей выработки. Эта схема бурения восстающих выработок получила наибольшее распространение в мировой практике.
Когда разработка полезного ископаемого ведется в восходящем порядке, применяются буровые комбайны нижнего расположения с буровыми головками обратного (см. рис. 5.9, в) или прямого хода (см. рис. 5.9, г). При разбуривании выработки сверху вниз требуется увеличивать диаметр пилот-скважины для свободного удаления буровой мелочи и защищать комбайн и горнорабочих от падающей горной породы. Бурение выработки на все сечение снизу вверх требует повышенных напорных усилий и затрудняет выдерживать направленность проходимой выработки. Разбуривать пилот-скважину сверху вниз можно и при расположении комбайна на верхнем горизонте (см. рис. 5.9, б).
Ясиноватский машзавод (Украина) предлагает для проходки восстающих выработок буровой комбайн 2 КВ-А (рис. 5.10). Этот комбайн монтируется в камере и состоит из бурового станка 3, манипулятора 4 для подачи буровых штанг и монтажно-демоптажных работ, плат¬формы для штанг 5, бурового става б, р&збуривателя 7, шкафа управления блока питания 1 и пульта управления 2.

Рис. 5.10. Буровой комбайн 2КВ-А
В зарубежной практике для монтажа бурового комбайна чаще всего в выработке готовят специальную камеру, а сам комбайн собирают и крепят на бетонном фундаменте. Новые комбайны фирмы «Атлас Копко» (Швеция) монтируются на специальной платформе, которая горизонтируется специальными гидродомкратами, что даёт возможность отказаться от бетонного фундамента.
В качестве привода вращателя буровых комбайнов используют гидродвигатели, электродвигатели постоянного тока с тиристорным управлением и реже переменного тока с регулируемой частотой вращения.
Практически все буровые комбайны для проходки восстающих выработок отличаются высокой степенью механизации и автоматизации основных и вспомогательных технологических операций: выбор и поддержание оптимальных параметров бурения в изменяющихся гор-но-геологических условиях, монтаж и демонтаж бурового става и др.
2.5. Нарезные комбайны
Объем проводимых на угольных шахтах нарезных выработок (нарезка лав, просеков и печей различного назначения) хоть и сокращается с внедрением современных систем разработки, но ещё остаётся значительным. Пока проходка нарезных выработок на пологих и наклонных пластах осуществляется буровзрывным способом, а на выбросоопасных пластах с применением отбойных молотков. Таким образом, создание средств механизации нарезных работ (нарезных комбайнов) и сегодня является актуальной задачей.
Нарезные выработки обычно имеют небольшую протяженность (менее 300 м) и малое сечение, что накладывает жесткие ограничения на габариты комбайна. Специфические условия проходки нарезных выработок предъявляют к этим комбайнам и соответствующие требования: иметь небольшие размеры и массу;
- обеспечивать высокие темпы проведения нарезных выработок;
- отвечать требованиям техники безопасности и санитарным нормам по пыли, шумуи вибрации;
- обеспечивать быструю доставку комбайна в забой, монтаж, демонтаж и его переброску в другой забой;
- осуществлять дистанционное управление работой; обладать высокой эксплуатационной надежностью.
Классифицировать нарезные комбайны пока можно по двум признакам:
1) области применения - для проведения нарезных выработок на пологих и наклонных (крутых) пластах;
2) массе - первый типоразмер массой до 6 - 7 т и второй типоразмер массой 10 - 15 т.
При разработке конструкций нарезных комбайнов могут использоваться все функциональные узлы горных машин, с их позитивными и негативными конструктивными особенностями, которые справедливы и для нарезных комбайнов. Однако, учитывая специфику работы нарезных комбайнов, нужно обратить внимание на дополнительные ограничения в использовании функциональных органов.
Барабанные и дисковые органы разрушения использовать на нарезных комбайнах крайне затруднительно, так как в этом случае для выгрузки угля из забоя требуется специальный конвейер. Этот конвейер должен находиться в одной (вертикальной) плоскости с органом разрушения, что конструктивно невыполнимо. Предпочтительнее в этом случае, очевидно, применение двух горизонтальных шнеков, транспортирующих отбитый уголь к продольной оси комбайна. В этом случае необходимо решить задачу разрушения угля в центральной части забоя и погрузки всего угля на передаточный конвейер.
Корончатые органы разрушения также затруднительно использовать на нарезных комбайнах, так как и в этом случае затруднена выгрузка угля из забоя и регулировка органа разрушения по мощности пласта.
Пока только баровые органы разрушения, при всех их недостатках, сами осуществляют выгрузку из призабойного пространства отбитого угля и могут регулироваться по мощности пласта.
В качестве механизма перемещения на нарезном комбайне предпочтительнее применять распорно-шагающий. Механизмы перемещения с гибким тяговым органом в этом случае требуют частых перестановок упорной стойки, так как комбайн работает в лоб забоя, и упорную стойку можно ставить только в пределах длины комбайна. Гусеничные механизмы перемеще¬ния имеют большие габариты и массу.
Нарезные комбайны компоновать желательно так, чтобы они имели дополнительную опору в стенки выработки, что увеличивает устойчивость комбайна. Центральная часть комбайна по его продольной оси должна быть свободна, чтобы можно было крепить выработку над комбайном и проще производить замену резцов на органе разрушения.
Горловский машзавод (Украина) выпускает нарезной комбайн КН-78 для проведения выработок по углю в пластах мощностью 0,7 - 1,7 м с углом падения до 18° при сопротивляемости угля резанию до 300 Н/мм. Комбайн КН-78 (рис. 5.11) состоит из кольцевого бара 7, оснащенного двухшарнирной режуще-погрузочной цепью, гидродомкратов качания органа разрушения 2, лемеха 3, гидроцилиндров подачи комбайна 4, распорных гадростоек 5, электро- и гидрооборудования с пультом управления 6, рамы комбайна с редуктором и электродвигателем 7, скребкового перегружателя боковых опорных лыж 9.
При помощи гидродомкратов 2 кольцевой бар 1 совершает качательное движение между почвой и кровлей, обрабатывая пласт угля на всю мощность и ширину выработки - 4 м. Отбитый уголь с почвы выработки грузится нижней ветвью бара на перегружатель 8.

Рис. 5.11. Нарезной комбайн КН-78
2.6. Тенденции развития горнопроходческих комбайнов
Дальнейшее совершенствование горнопроходческих комбайнов всех типов, очевидно, будет вестись в следующих направлениях:
- расширение области применения комбайнов на более крепкие и абразивные породы за счет совершенствования породоразрушающего инструмента, повышения энерговооруженности органа разрушения, изыскания новых нетрадиционных методов разрушения горных пород (гидромеханического, вибромеханического, физико- механического и др. способов воздействия на забой);
- применение регулируемого привода органа разрушения;
- совершенствование и внедрение автоматизированных систем регулирования режимов разрушения породы и управления комбайна в части контроля за направлением выработки и стабилизации формы поперечного сечения выработки и схемы отработки забоя у стреловых комбайнов;
- оснащение комбайнов средствами технической диагностики состояния наиболее ответственных и нагруженных деталей и функциональных узлов;
- расширение применения гидропривода на погрузочных механизмах с нагребающими лапами, передаточных конвейерах, гусеничных механизмах перемещения;
- оснащение комбайнов дополнительным навесным оборудованием для механизации трудоемких ручных операций технологического цикла проведения выработок;
- повышение надежности и долговечности функциональных узлов и всего комбайна в целом.
РАЗДЕЛ3. ОЧИСТНЫЕ И ПРОХОДЧЕСКИЕ КОМПЛЕКСЫ И АГРЕГАТЫ.
В последние десятилетия в угольной промышленности ведущих угледобывающих стран мира происходят процессы концентрации горных работ и интенсификации подземного производства на базе современных очистных механизированных комплексов.
На шахтах Российской Федерации интенсивно отрабатываются пологонаклонные пласты с использованием комплексно-механизированной технологии очистных работ. Удельный вес комплексно-механизированной технологии в РФ на пологонаклонных пластах составляет 99 %. В подавляющем большинстве в очистных комплексах применяется комбайновая выемка. Только в Восточном Донбассе имеются не более десяти лав, оборудованных струговыми установками. Более высоким уровнем совершенствования очистного оборудования станет создание фронтальных очистных агрегатов для добычи угля без постоянного присутствия людей в очистном забое. Отечественные конструктора являются пионерами в создании этого нового вида очистной техники.
Интенсификация очистных работ требует своевременного воспроизводства очистного фронта, а именно увеличения скорости проведения горных подготовительных выработок. Механизация отдельных операций технологического цикла проведения подготовительных выработок не дает должного эффекта. Только на основе комплексной механизации всех технологических операций проходческого цикла можно существенно увеличить скорость проведения подготовительных выработок и производительность труда проходчиков.
Классификация очистных и проходческих комплексов
Технологии очистных работ и проведения подготовительных выработок объединяют аналогичные основные рабочие процессы: отделение от массива транспортабельных кусков полезного ископаемого или породы; погрузку и доставку отделенной от массива горной породы; крепление обнаженных поверхностей и, кроме этого, управление кровлей в очистном забое. Разнообразие горно-геологических условий залегания полезных ископаемых, нестабильность физико-механических свойств горных пород, многооперационность технологических процессов очистных и подготовительных работ определяют все разнообразие схем и средств механизации в очистном или подготовительном забоях.
Системный подход к проектированию комплексов требует объективной классификации и четкой систематизации различных схем и конструктивно разнообразных средств механизации технологических процессов в очистном или подготовительном забоях, что обеспечивает наиболее обобщенный классификационный признак - функциональный. В общем случае в состав любого комплекса может входить три функциональные машины или механизмы:
1) выемочная машина (В), отделяющая от массива транспортабельные куски горной породы. Это может быть очистной или проходческий комбайны, бурильная машина или установка;
2) доставочная машина (Д или П), транспортирующая или производящая погрузку отделенной от массива горной породы на штрековые транспортные средства. Это может быть лавный конвейер или погрузочная машина;
3) крепь (К), обеспечивающая крепление обнаженного пространства и управления кровлей в лаве. Это может быть механизированная крепь или крепеустановщик.
В общей схеме механизации технологических процессов в очистном забое и при проведении подготовительных выработок эти основные функциональные машины могут быть объединены для совместной работы путем наложения на них технологических, кинематических или конструктивных связей.
Технологическая связь (-) заключается в согласовании технологических параметров обособленных машин для их рационального использования. Это низший уровень связей, когда функциональные машины выполняют операции последовательно без совмещения их во времени.
Кинематическая связь (+) подразумевает объединение технологически согласованных функциональных машин с сохранением ими своей самостоятельности и совмещение выполнения основных технологических операций во времени.
Конструктивная связь (•) осуществляется совмещением технологически согласованных функциональных машин в единую конструкцию так, что они теряют свою индивидуальность и представляют собой единый многофункциональный агрегат.
Используя приведенные выше символы функциональных машин и знаки связей между ними можно записать базовые структурные формулы комплексов:
В-Д(П)-К; (8.1)
при наличии кинематических связей
В+Д (П)+К; (8.2)
при наличии конструктивных связей
В • Д (П) • К. (8.3)
Базовой структурной формулой (8.1) описываются отечественные комплекты оборудования, применявшиеся на первых этапах механизации очистных работ в 50-х годах прошлого века (комплект КМ-9, КМ-9Д, комплект с комбайном 2К-52 и др.). Этой же структурной формулой описывается комплект оборудования, применяемый при классической схеме технологического процесса проведения подготовительных выработок буровзрывным способом (КГ-3 и др.).
Структурной формулой (8.2) описываются все современные отечественные и зарубежные очистные механизированные комбайновые комплексы для выемки пологих пластов (КМ 138, КМ 142, КМ 144, КМ 146 и др.). Этой формулой описываются и некоторые проходческие комплексы (Сибирь - 1М и др.).
Формулой (8.3) описываются фронтальные агрегаты для выемки угля из пологих пластов (Ф - 1, Ф - 3) и проходческие агрегаты и щиты (Союз - 19У, КЩ - 5,2Б и др.).
В зависимости от горно-геологических условий ведения горных работ некоторые функциональные машины могут отсутствовать. Так, при выемке угля на крутых пластах и проведении восстающих выработок транспорт отбитой горной породы осуществляется под действием сил гравитации, что и объясняет в схемах механизации технологических процессов в этих условиях отсутствие доставочных или погрузочных машин. Вырождение отдельных функциональных машин (в данном случае доставочных или погрузочных машин) видоизменяет базовые структурные формулы. Очистной механизированный комплекс для выемки крутых пластов КГУ описывается структурной формулой (В - К). Аналогичную структурную формулу имеют комплексы для проходки восстающих выработок КПВ - 1Б, КПН - 1М-+ и др. Структурная формула очистного агрегата для выемки крутых пластов АК - 3 будет иметь вид (В • К).
Функциональные машины комплексов могут иметь и разнородные связи между собой. Так, проходческий комплекс с комбайном избирательного действия имеет структурную формулу (В+Г1 - К), а комплекс с проходческим комбайном бурового действия и буровой установкой для анкерного крепления выработки, кинематически связанной с комбайном, будет иметь формулу (В • П+К).
Таким образом, путем наложения связей и вырождения функциональных машин получается ряд структурных формул, производных от базовых формул, которые определяют все возможные схемы механизации очистных и подготовительных работ в различных горно¬геологических условиях. Структурная систематизация возможных схем и средств механизации технологических процессов в очистном забое выполнена проф. Солодом В. И.. Данная систематизация выделяет двадцать одну структурную формулу, которые делятся на шесть групп. Каждая группа структурных формул показывает качественный уровень развития схем и средств механизации очистных работ. Аналогичная классификация схем и средств механизации технологических процессов проведения подготовительных горных выработок разработана проф. Хазановичем Г. Ш.









