| Скачать .docx | Скачать .pdf |
Дипломная работа: Проект регламента на технологию вскрытия продуктивных пластов в условиях депрессии на Бавлинском
1. Исходные данные для проектирования
№ |
Наименование параметров |
Обозначение в формулах | Единицы измерения | Значение |
| 1. | Глубина бурения скважины |
L |
м |
ротор 1806 турб. 900 |
| 2. | Глубина залегания продуктивного пласта | Lk |
м |
ротор 1750 турб. 845 ВЗД 1705 |
| 3. | Пластовое давление |
Pпл |
мПа |
ротор 17,5 турб. 10,1 ВЗД 17,0 |
| 4. | Глубина залегания подошвы пласта |
Ln |
м |
ротор 1718 турб. 740 ВЗД 1615 |
| 5. | Давление гидроразрыва |
Рг |
мПа |
ротор 35,0 турб. 20,1 ВЗД 34,4 |
| 6. | Свойства промывочной жидкости а) плотность б) динамическое напряжение в) пластическая вязкость |
Ρ τ0 ή |
кг/м Па Па*с |
ротор 1090 турб. ВЗД 1020 Ротор 8 турб. - ВЗД - Ротор 0,007 |
| 7. | Марка и количество насосов | БРН-1 | шт. | 2 |
| 8. | Размер наземной обвязки а) условный размер стояка б) диаметр проходного канала бурового рукава в) диаметр проходного канала вертлюга г) диаметр проходного канала ведущей трубы |
мм мм мм |
140 102 80 85 |
|
| 9. | Минимальная скорость жидкости в затрубном пространстве | Uk |
м/с |
ротор турб. 0,48 ВЗД |
| 10. | Интервал отработки долот | L | м | 1265-1815 |
| 11. | Типоразмер отработанных долот в скважине 1 | 215,9С3-ГАУ |
||
| 12. | В скважине 1проходка на долото 1 2 3 4 5 6 7 8 9 |
h g1 h g2 h g3 h g4 hg5 h g6 h g7 h g8 h g9 |
м |
70 |
| 13. | В скважине 1 время бурения долотом 1 2 3 4 5 6 7 8 9 |
t 1 t 2 t 3 t 4 t 5 t 6 t 7 t 8 t 9 |
ч ч |
46 |
| 14. | Типоразмер отработанных долот в скважине 2 | 215,9МС3-ГАУ |
||
| 15. | В скважине 2 проходка на долото 1 2 3 4 5 6 7 8 9 |
h g1 h g2 h g3 h g4 hg5 h g6 h g7 h g8 h g9 |
м |
91 |
| 16. | Время бурения в скважине 2 долотом 1 2 3 4 5 6 7 8 9 |
t 1 t 2 t 3 t 4 t 5 t 6 t 7 t 8 t 9 |
ч |
52 |
| 17. | Частота вращения |
об/мин |
ротор 60 турб. 450 ВЗД 90 |
|
18. |
Осевая нагрузка |
Py |
кН |
Ротор турб. 200 ВЗД |
| 19. | Подача жидкости |
Qo |
м/с |
Ротор 0,020 турб. 0,040 ВЗД 0,035 |
| 20. | Минимальный наружный диаметр труб в компоновке бурильной колонны | d н |
м |
ротор турб. 0,127 ВЗД |
2. Общие сведения о районе буровых работ
Данное месторождение расположено в Альметьевском районе. Рельеф местности равнинный и холмистый. Характерной особенностью климата является сильно выраженная континентальность: суровая, холодная зима с сильными осадками и ветрами( толщина снежного покрова 50-100 см, наибольшая скорость ветра 15-22 м\с), жаркое лето, неравномерное выпадение осадков. Средняя температура: наибольшая летняя +30+35 С, зимняя наименьшая -40-45 С.
По растительному покровы площадь относиться к лесостепной зоне.
Кроме основного полезного ископаемого-нефти, в районе Ромашкинского месторождения иметься минеральное сырье: известняки, доломиты, сланцы, суглинки, гипсы.
Скважина проектируемая на Ромашкинском месторождении - эксплутационная. Проектный горизонт – пашийский. Проектная глубина – 1806 м.
Таблица 1.1
Сведения о районе буровых работ
| Наименование | Значение (текст, название, величина) |
| 1 | 2 |
| Площадь | Миннибаевская |
| Административное расположение | Татарстан |
| Район | Альметьевский |
Температура воздуха, 0 С - среднегодовая - наибольшая летняя - наименьшая зимняя |
-1,9 +3 +30 +35 -40 -45 |
| Среднегодовое количество осадков | 410 |
| Максимальная глубина промерзания грунта, м | до 1,5 |
| Продолжительность отопительного периода в году, сут | 222 |
| Продолжительность зимнего периода в году, сут | 161 |
| Азимут преобладающего направления ветра, град | Ю-В, З и Ю-З |
| Наибольшая скорость ветра, м/с | 15-22 |
Таблица 1.2
Сведения о площадке строительства буровой
| Наименование | Значение (текст, название, величина) |
| 1 | 2 |
| Рельеф местности | равнинный и холмистый |
| Состояние местности | незаболоченная |
Толщина, см: - снежного покрова; - почвенного слоя |
50-100 25-30 |
| Растительный покров | зона лесостепи |
| Категория грунта | 1,2 |
Таблица 1.3
Источник и характеристики водо- и энергоснабжения и связи
| Название вида снабжения | Источник снабжения | Расстояние от источника до буровой, км | Характеристика снабжения |
| 1 | 2 | 3 | 4 |
| Теплоснабжение | ЭПВА-71 | - | - |
| Связь | радиостанция | - | - |
| Водоснабжение | Централизованное | 0,3 | Водопровод |
| Энергоснабжение | ЛЭП | 0,3 | 3-х проводная |
Район месторождения покрыт сетью шоссейных и грунтовых дорог, через которые могут выполняться круглогодичные грузовые перевозки с выходом на шоссейные дороги федерального значения. По ним же могут осуществляться транспортная связь с железнодорожными станциями г.г. Альметьевск, Бугульма, Набережные Челны и аэропортами.
Буровые работы будут производиться силами филиала ОАО «Татнефть-Бурение» Альметьевским УБР, база которого расположена в городе Альметьевск. Транспортировка грузов и персонала бригад будет осуществляться вахтовым транспортом.
Снабжение проектируемой скважины технической водой будет производиться через водопровод длинной 300 м. энергоснабжение проектируемой скважины будет осуществляться от ЛЭП 3-х проводной.
3. Основные итоги деятельности бурового предприятия за последние годы и задачи на ближайшее будущее
3 .1 2006 год
Коллектив Альметьевского УБР с поставленными на 2006 год задачами успешно справился. Осуществлялось бурение для 19 заказчиков. Освоено более 1,6 млрд.руб. капитальных вложений. По объемам бурения наш коллектив занял лидирующее положение среди других УБР. Силами Альметьевского УБР было пробурено 238,1 тыс.метров горных пород, что на 0,5% выше запланированного. Сдано в эксплуатацию 177 скважин, выполнение плана по сдаче составило 102,9%.
В среднем за год количество буровых бригад в работе по традиционному бурению составило 16,4. средняя выработка на одну буровую бригаду выросла на 1,5% против прошлогодней и составила 14372м, а максимальная проходка в бригаде Галиулина составила 20776м.
Альметьевское УБР завершило 2005 год со следующими технико-экономическими показателями:
Коммерческая скорость по традиционному бурению выросла против соответствующего периода прошлого года на 2,7% и составила 1244 м/ст-мес (без депрессии). Производительность труда в АУБР составила 222,4 м/чел, что выше показателя 2004 года на 21,1%. Также произошел рост проходки на долото: с 191,9 до 205,1 м/долото.
Однако прошедший 2005 год для коллектива АУБР не был простым. В первую очередь это связано с тем, что в последние годы понятия «новые технологии» и «буровики» стали неразлучными. Почти ежемесячно в бурении внедряется очередное новшество. Так, например, начатый только в 2004 году Альметьевским УБР опыт бурения скважин на депрессии, сегодня имеет в своем архиве уже 27 скважин. В том числе 18 скважин(2447м) пробурены в 2005 году, две из которых на девонские отложения для НГДУ «Заинскнефть» и НГДУ «Азнакаевскнефть». Бурение на депрессии – перспективное направление развития нефтяной промышленности Татарстана, ведь сегодня не для кого не секрет, что технологии бурения скважин на депрессии позволяют, во-первых, повысить добываемые способности скважин, а во-вторых, рассчитаны на бережное отношение к продуктивному коллектору.
Также в 2005 году было продолжено бурение горизонтальных разветвленных скважин, которое было начато также в 2004 году. АУБР совместно с НПОО «Горизонт» в 2005 году были пробурены 4 двуствольные горизонтальные скважины. Качественное планирование и бурение подобных скважин позволяет увеличить среднесуточный дебит скважины в 2 раза т более, что является весьма привлекательным, е.к. не требует больших дополнительных затрат, что в конечном итоге приводит к снижению себестоимости тонны нефти.
Важным событием за прошедший год стали организационные преобразования: выведения из состава УБР вышкомонтажного цеха, деревообрабатывающего цеха, перевод бригад по ремонту забойных двигателей на базу АЦБПО по ЭПУ, выделение из структуры предприятия санатория «Буровик». В результате всех вышеперечисленных преобразований численность УБР сократилась с 1216 человек на начало 2005 года до 1022 человека на конец года.
4. Основные сведения о геологическом строении месторождения, газо-нефтеводоносности
4 .1 Сведения о тектоники данного района
Данное месторождение находиться в Альметьевском районе приурочено к центральной части южного купола Татарстана.
По отложениям терригенного девона сводная часть южного купола ограничеваеться разновозрастными прогибами, структурными уступами, представляет собой крупное, изометрической формы поднятие, контролирующее девонскую залежь нефти. Неглубокими прогибами сводная часть разделена на три блока: Минибаевский, Павловский, Азнакаевский. Локальные структуры выражены слабо. Структурный план карбонатного девона и карбона (включая тульский горизонт) отличается более сложным строением, что обусловлено в верхнее-франско-фаменское время идиментационного фактора, в турнейских карстовых процессах. Структурная поверхность верхнее-фаменских отложений в пределах данной площади имеет слабо выраженное террасовидное строение. Отдельные структурные террасы, располагающиеся приблизительно на одном гитометрическом уровне отделяются друг от друга уступами и прогибами. Они сложены многочисленными поднятиями. Наиболее равно выраженные поднятия с амплитудой 30-40 м размещаются в основном в западной части территории в субмеридиальном направлении. К значительной части из них приурочены нефтепроявления в верхнефаменском отложении. Структурный план среднекаменноугольных отложений имеет много нижележащих горизонтов карбона и карбонатного девона, хотя между ними имеются существенные отличия.
4 .2 Нефтегазоводоносность по разрезу скважины
Промышленно-нефтеносными в пределах площади являются: каширские, верейские, башкирские, тульско-бобриковские, турнейские, кыновские и пашийские отложения.
Основной эксплутационный объект – пашийский горизонт. Он представлен чередованием различных по коллекторским свойствам пластов.
Согласно накопленного опыта разработки для коллекторов Ромашкинского месторождения была принята классификация, по которой породы по проницаемости и глинистости подразделяются на две группы: 1 - высокопродуктивная с проницаемостью более 0,1 мкм, 2 – малопродуктивная с проницаемостью от 0,03 до 0,1 мкм. В первой группе по величине глинистости выделяются две подгруппы: 1 – высокопродуктивные неглинистые ( глинистость менее 2% ), 2 – высокопродуктивные глинистые (глинистость более 2% ).
В пределах площади эти параметры составляют 0,15 мкм. Пористость пласта 0,21%.
Пашийский горизонт представляет собой единую гидродинамическую систему, что подтверждается общим для всех пластов водонефтяным контактом и высокой литологической связанностью между пластами.
Общая толщина горизонта на площади 25 м, нефтенасыщенная составляет 11,5 м.
По крепости породы слагающие разрез делятся на средние, твердые и крепкие.
К категории средних относятся отложения казанского, уфимского, верейского, бобриковского и кыновского отложений.
К твердым принадлежат отложения: артинского, сакмарского, ассельского, верхнего карбона, башкирского, серпухово-окского, тульского, турнейского, каменского, верхнее-фаменского, пашийского.
Отложения мягковского, подольского, каширского, бурегского, семилукского и саргаевского горизонтов относятся к категории крепких пород. Четвертичные отложения относятся к категории мягких пород.
Коэффициент кавернозности пород слагающих, верхний интервал разреза скважины составляет 2,0; пород слагающих интервал под кондуктор 1,5; под эксплутационную колонну 1,3.
Общая толщина пашийского горизонта составляет 25 м. Нефтенасыщенная толщина продуктивных отложений 11,5 м. Пористость 0,21%.
Проницаемость 0,15 мкм.
Таблица 3.1
Литолого-стратиграфическая характеристика разреза скважины
| Глубина залегания, м | Стратиграфическое подразделение | Горная порода | |||
| название | индекс | краткое название | |||
| от | до | ||||
| 1 | 2 | 3 | 4 | 5 | |
| 0 | 5 | Четвертичная система | Q | суглинки | |
| 5 | 125 | Верхняя пермь | P2 | глины алевролиты песчаники |
|
| 125 | 246 | Нижняя пермь | P1 | доломиты известняки ангидриты |
|
| 246 | 438 | Верхний карбон | C3 | доломиты известняки |
|
| 438 | 784 | Мячковский+Подольский +Каширский горизонты |
C3 vc+pd+kr | известняки доломиты |
|
| 784 | 823 | Верейский горизонт | C2 vr | известняки алевролиты |
|
| 823 | 920 | Башкирский ярус | C2 bs | известняки | |
| 920 | 1115 | Серпухово-окский надгоризонт |
C1 srp+ok | известняки доломиты |
|
| 1115 | 1155 | Тульский+Угленосный горизонты |
C1 tl+bb | песчаники алевролиты |
|
| 1155 | 1306 | Турнейский ярус |
C1 T+zv | известняки доломиты |
|
| 1306 | 1626 | Фаменский+ Верхнее-Франский подъярус |
D3 Fm+fr2 | известняки доломиты |
|
| 1626 | 1730 | Мендымский+Доманиковский +Шугуровский горизонты |
D3 mnd+sml+srg | известняки доломиты |
|
| 1730 | 1761 | Кыновский горизонт | D3 kn | песчаники алевролиты |
|
| 1761 | 1806 | Пашийский горизонт | D3 pch | песчаники алевролиты аргиллиты |
|
Примечание: здесь и далее глубины указаны по стволу.
Таблица 3.2
Физико-механические свойства горных пород по разрезу скважины
| Интервал, м | Краткое название горной породы | Плот-ность, кг/м3 | Твер-дость породы | Абра-зив-ность | Кате-гория породы | Модуль Юнга, МПа*10 | Набуха-ние породы | |
| от | до | |||||||
| 1 | 2 | 3 | 5 | 6 | 7 | 8 | 9 | |
| 0 | 5 | пески, суглинки | 1800 | 140 | 2 | мягкие | 0,03 | имеется |
| 5 | 125 | песчаники, глины | 2200 | 140 | 2-4 | средние | 4 | имеется |
| 125 | 246 | доломиты, известняки | 2400 | 190 | 4-7 | твердые | нет | |
| 246 | 438 | известняки, доломиты | 2500 | 190 | 4-7 | твердые | нет | |
| 438 | 784 | известняки, доломиты | 2590 | 210 | 2-7 | крепкие | нет | |
| 784 | 920 | известняки, мергели | 2400 | 140 | 2-4 | средние | 5,8 | имеется |
| 920 | 1115 | известняки | 2500 | 190 | 4-7 | твердые | 30 | нет |
| 1115 | 1155 | известняки, доломиты | 2500 | 190 | 4-7 | твердые | нет | |
| 1155 | 1306 | песчаники, алевролиты | 2400 | 140 | 2-4 | средние | имеется | |
| 1306 | 1626 | известняки | 2500 | 190 | 4-7 | твердые | нет | |
| 1626 | 1730 | известняки, доломиты | 2500 | 190 | 4-7 | твердые | нет | |
| 1730 | 1761 | доломиты, известняки | 2600 | 210 | 2-7 | крепкие | нет | |
| 1761 | 1806 | известняки, алевролиты | 2480 | 140 | 2-4 | средние | 30 | имеется |
Институт "ТатНИПИнефть" ОАО "Татнефть"
ОАО НПО "Бурение"
Проект
РЕГЛАМЕНТА НА ТЕХНОЛОГИЮ ВСКРЫТИЯ ПРОДУКТИВНЫХ ПЛАСТОВ В УСЛОВИЯХ ДЕПРЕССИИ НА БАВЛИНСКОМ МЕСТОРОЖДЕНИИ
Руководитель договора
зав. лабораторией С.Н. Вязенкин
с.н.с., к.т.н. Ю.Д. Комнатный
вед. инженер В.В. Аникин
Зав. отделом ТатНИПИнефти Ф.Ф. Ахмадишин
с.н.с. В.И. Бадовская
с.н.с. Н.К. Герцева
с.н.с. А.А. Бояркин
с.н.с. Р.Я. Бурдило
ОСНОВНЫЕ ПОЛОЖЕНИЯ
Нефтегазовая отрасль Российской Федерации на данном этапе характеризуется значительным ухудшением сырьевой базы, что обусловлено следующими причинами.
Основной объем добываемой нефти и газа приурочен к районам с развитой инфраструктурой на раннее разведанных, разрабатываемых длительное время месторождениях с неуклонно падающей добычей продукции.
Длительное время и практически на сегодняшний день постоянно возрастающие потребности в углеводородном сырье в мировой практике обеспечиваются большими и возрастающими объемами разведочного и эксплуатационного бурения. В РФ это предопределило необходимость выхода в труднодоступные районы со сложными географическими и геологическими условиями, на морские акватории и зачастую на месторождения с трудноизвлекаемыми запасами, что связано с необходимостью резкого увеличения капитальных вложений. В тоже время, несмотря на то, что РФ продолжает входить в число мировых лидеров (после США, Канады и Китая) по объемам бурения на нефть и газ, объемы бурения в России с 1990г. постоянно снижались при относительной стабилизации в целом в мире. Так объем бурения в нефтяных компаниях РФ в период 1990-2000 гг. снизился более чем в шесть раз в связи с тяжелым финансовым положением [1].
Постоянно, особенно в описанной ситуации, ведется поиск путей повышения технико-экономической эффективности буровых работ, методов поддержания и наращивания объемов добычи углеводородного сырья, а также повышения коэффициента извлечения продукции пластов. В этом плане существенным скачком в последние годы явились методы бурения и восстановления скважин горизонтальным стволом и с применением буровых установок с гибкими трубами.
Однако на протяжении всей истории вращательного бурения и в подавляющем большинстве случаев в настоящее время основной технологией бурения остается технология работ с репрессией на вскрываемые пласты, в т.ч. продуктивные.
Бурение с репрессией сопряжено с частыми осложнениями в виде поглощений бурового раствора и прихватами бурильного инструмента. Основными же негативными последствиями первичного и вторичного (перфорация) вскрытия на репрессии продуктивных пластов являются:
- ухудшение, часто необратимое, коллекторских свойств пласта;
- значительное, как следствие, снижение потенциально возможных дебитов скважин;
- длительные сроки освоения скважин;
- низкий коэффициент нефтегазоотдачи пластов;
- затруднения в выявлении и оценке нефтегазоносности пластов в разведочном бурении;
- затруднения в подсчете запасов углеводородного сырья.
Особенно отрицательное воздействие заканчивания скважин на репрессии проявляется на месторождениях с низкими и аномально низкими пластовыми давлениями, в т.ч. на истощенных месторождениях, в коллекторах с низкой проницаемостью, на месторождениях с трудноизвлекаемой продукцией.
В целом по Западной Сибири на большинстве месторождений потенциальные возможности продуктивных пластов используются лишь на 40-75%. Несущественно отличается этот показатель и на месторождениях других регионов.
Данная проблема стала сдерживающим фактором широкого применения способа вскрытия продуктивных пластов горизонтальным стволом скважин, когда значительно возрастает продолжительность и площадь контакта бурового раствора с коллектором по сравнению с бурением вертикального или пологого ствола.
Дорогостоящие усовершенствованные традиционные технологии бурения и интенсификации добычи низкоэффективны и могут оказываться нерентабельными.
В последние годы в передовых нефтегазодобывающих странах (США, Канада и др.) получила развитие и прогрессирует технология вскрытия продуктивных пластов на депрессии.
К настоящему времени однозначно доказано [3-7 и др.], что потенциальная эффективность любой технологии заканчивания скважин может быть максимально исчерпана лишь при условии, когда вскрытие продуктивных пластов ведется в условиях депрессии.
Широкомасштабное внедрение новой технологии в зарубежных странах с развитой нефтегазовой промышленностью и начальный опыт использования данной технологии в РФ убедительно показали ряд существенных преимуществ вскрытия продуктивных пластов в депрессионных условиях:
- повышение продуктивности пластов в 4-6, а в отдельных скважинах в 8-10 и более раз;
- сокращение затрат и времени на освоение скважин;
- повышение качества гидродинамической оценки продуктивных пластов;
- повышение коэффициента извлечения продукции пластов;
- повышение механической скорости проходки и использования ресурса породоразрушающего инструмента;
- предотвращение поглощений бурового раствора и снижение вероятности прихватов бурильного инструмента.
К настоящему времени в РФ накоплен начальный научный и промысловый опыт заканчивания скважин в условиях депрессии, подтверждающий несомненный технико-технологический и экономический эффект новой технологии (пример - ЗАО "Лукойл-Бурение-Пермь").
Устойчиво наметилось дальнейшее развитие данного метода, как в нефтяных компаниях, так и в системе ОАО "Газпром". К числу организаций и предприятий, в которых развернуты работы по переходу от эпизодических технико-технологических решений к комплексному подходу создания (привязки) отечественной техники и технологии заканчивания скважин на депрессии относятся: ОАО "СевКавНИПигаз" и "Ставропольнефтегаз", ОАО НПО "Бурение", ЗАО "Лукойл-Бурение-Пермь", ООО "Оренбурггазпром", ООО "ВолгоУралНИПИ-нефть", ОАО "Сургутнефтегаз", Воронежский механический завод, ОАО "Борец", ООО "БурГеоСервис" г. Тверь и др.
К настоящему времени в РФ созданы надежные технические средства для обеспечения и безопасности внедрения новой технологии: противовыбросовое оборудование (превенторы, в т.ч. вращающегося типа, манифольдная обвязка противовыбросового оборудования), циркуляционные системы, средства очистки, сепарации и дегазации бурового раствора, система автоматического управления дисковым дросселем для поддержания заданного избыточного давления на устье скважины, система контроля над скважиной при СПО, а также аппаратурно-методический комплекс (АМКД) с бортовым процессором для контроля и управления параметрами углубления.
1. КРАТКАЯ ГЕОЛОГО-ПРОМЫСЛОВАЯ СПРАВКА ПО КОРОБКОВСКОМУ УЧАСТКУ БАВЛИНСКОГО МЕСТОРОЖДЕНИЯ
Объектом работ, - вскрытие на депрессии, является кизеловский горизонт верхнетурнейского подъяруса на Коробковском участке Бавлинского месторождения.
Коробковский участок расположен в юго-западной части месторождения.
В геологическом строении месторождения принимают участие докембрийские (кристаллический фундамент), додевонские (рифей – венд), девонские, каменно-угольные, пермские и четвертичные отложения. В табл. 1 представлен прогнозный стратиграфический разрез скважины № 4453.
Таблица 1
Прогноз стратиграфического разреза скважины 4453
| Абсолютные отметки залегания, м | Стратиграфическое подразделение | Пластовое давление, МПа | ||
| от (верх) | до (низ) | название | индекс | |
| 240 | 230 | четвертичные отл. | Q | |
| 41 | -179 | кунгурско-артинский ярус | ||
| -179 | -589 | верхний карбон | C3 | |
| -589 | -618 | верейский горизонт | ||
| -618 | -952 | башкирский ярус | ||
| -952 | -969 | тульский горизонт | ||
| -969 | -984 | бобриковский горизонт | гидростат. | |
| -984 | -996 | турнейский ярус | 9,0 | |
Пластовые давления на Коробковском участке характеризуются следующим распределением. От четвертичных отложений до башкирского яруса включительно пластовые давления не превышают гидростатическое; может быть некоторое снижение ниже гидростатического. Для тульского и бобриковского горизонтов характерно давление гидростатическое. Турнейский горизонт имеет аномально низкие пластовые давления. На участке расположения скважины № 4453 прогнозируемое пластовое давление по кровле турнейского яруса при глубине по вертикали 1224 – 1230 м (кизеловский горизонт) составляет в среднем 9,0 МПа.
В разрезе карбонатов верхнетурнейского подъяруса выделяются два четких зональных интервала – кизеловского и черепетского горизонтов (сверху – вниз). Между ними залегает пачка плотных непроницаемых карбонатов, ниже которых находится ВНК.
Нижняя подошвенная часть бобриковского горизонта неустойчива; кровля верхнетурнейского подъяруса представлена уплотненными породами. Отмеченное предопределяет выбор глубины установки башмака промежуточно-эксплуатационной колонны.
Как отмечено выше, основным продуктивным горизонтом является кизеловский. По кривым ГИС в отложениях кизеловского и черепетского горизонтов верхнетурнейского подъяруса выделяются два типа разреза (сверху – вниз): высокого ВС и низкого НС сопротивлений. Пласт ВС, в свою очередь, подразделяется на два пропластка ВС"а" и ВС"б" по индексации НГДУ "Бавлынефть".
Эффективные толщины пластов по месторождению достаточно хорошо выдержаны и составляют 4 – 8 м для кизеловского и 2 – 4 м для черепетского горизонтов.
Преобладающими в пластах ВС являются сгустково-детритовые известняки, составляющие до 63,2% от объема породы и характеризующиеся пористостью в среднем 11,24. В пласте НС они содержатся в 49,8% от общего объема породы. Комковатые известняки, обладающие наилучшими коллекторскими свойствами, составляют в пластах ВС 13,8%, в пластах НС – 0,7% от объема породы. Эти структурно-генетические разности слагают коллектора. Уплотненные и плотные разности слагают шламово-детритовые и фораминиферово-сгустковые известняки. В пласте НС они в сумме составляют 95,7% от общего объема породы. На Коробковском участке в пласте ВС уплотненный прослой встречается в самой нижней части разреза и составляет 0,8 – 1,0 м по толщине.
Таким образом наилучшими коллекторскими свойствами обладают пласты ВС, причем приуроченные к купольным частям структур.
Необходимо также отметить, что породы верхнетурнейского подъяруса характеризуются микротрещиноватостью. Ее направление хаотичное с преобладанием субвертикального. Реже отмечается макротрещиноватость также субвертикального направления.
В табл. 2 представлены некоторые сведения по нефти и газу кизеловского горизонта.
Таблица 2
Свойства нефти и газа кизеловского горизонта
| № п/п | Наименование | Среднее значение |
| 1 | Давление насыщения нефти газом, МПа | 3,27 |
| 2 | Газосодержание при однократном разгазировании, м3 /т | 20,1 |
| 3 | Объемный коэффициент при однократном разгазировании, доли ед. | 1,0523 |
| 4 | Газосодержание при дифференциальном разгазировании в рабочих условиях, м3 /т | 16,34 |
| 5 | Суммарное газосодержание, м3 /т | не опред. |
| 6 | Плотность, кг/м3 | 872,5 |
| 7 | Вязкость динамическая, мПа·с | 20,8 |
| 8 | Объемный коэффициент при дифференциальном разгазировании в рабочих условиях, доли ед. | 1,0416 |
Свойства девонской товарной нефти представлены в табл. 3.
Таблица 3
Результаты исследований товарной нефти по Бавлинскому ЛПДС, участок № 232
Температура, °С |
Плотность, кг/м3 |
Вязкость | |
| кинематическая, мм2 /с | динамическая, мПа·с | ||
| 15 | 879,7 | 21,5 | 18,91 |
| 20 | 876,3 | 17,7 | 15,51 |
| 25 | 872,9 | 14,67 | 12,81 |
| 30 | 869,5 | 12,43 | 10,81 |
| 35 | 866,0 | 10,64 | 9,21 |
2. КОНСТРУКЦИЯ СКВАЖИН
2.1. Конструкция скважин должна в целом отвечать требованиям разд. 2.3 Правил безопасности в нефтяной и газовой промышленности ПБ 08-624-03, Госгортехнадзор России, 2003 г.
2.2. Число обсадных колонн и глубины установки их башмаков должны отвечать общим "традиционным" требованиям разобщения зон с несовместимыми условиями бурения. Причем, в самостоятельную зону выделяется объект вскрытия в депрессионных условиях.
При этом должны быть соблюдены следующие обязательные требования:
- отсутствие газовой шапки в интервале работ на депрессии, надежная изоляция ее, в случае наличия, от объекта вскрытия на депрессии;
- отсутствие водоносных горизонтов;
- знание глубины ВНК.
В рассматриваемом случае кизеловский горизонт отвечает указанным требованиям (см. разд. 1 настоящего отчета).
2.3. Глубины спуска удлиненного направления и кондуктора должны соответствовать применяемой конструкции скважин на Бавлинском месторождении с учетом особенностей геологического разреза на Коробковском участке.
2.4. Ниже кондуктора скважина углубляется до кровли кизеловского горизонта под спуск промежуточно-эксплуатационной колонны; диаметр последней принимается 168, 3 мм.
Башмак 168,3-мм колонны устанавливается в уплотненных породах подкровельной части кизеловского горизонта с заглублением ниже кровли на 2,0 – 2,5 м до нефтенасыщенной части, характеризуемой ВС.
2.5. Конечная глубина скважины ниже 168,3-мм колонны определяется из расчета глубины забоя, не доходя 6 – 7 м до кровли ВНК; вскрытая толщина нефтеносной части пласта составит при этом 6,5 – 7,5 м.
2.6. Конструкция забоя скважины – открытый забой; номинальный диаметр ствола 144,0 мм.
2.7. Конструкция низа 168,3-мм колонны может иметь две модификации.
2.7.1. В случае ожидания избыточного давления на устье скважины (перелива раствора) по достижении проектной глубины, дегазации и очистки от шлама бурового раствора, в состав колонны включается клапан-отсекатель.
В таком случае оборудование низа колонны включает:
- башмак БКМ-168;
- обсадная труба Æ 168,3 мм длиной 8 – 10 м;
- клапан обратный ЦКОДМ-168;
- обсадная труба Æ 168,3 мм длиной 8 – 10 м;
- клапан-отсекатель стационарный КОС-119-168;
- обсадные трубы Æ 168,3 мм – остальное.
2.7.2. В скважинах, в которых перелив бурового раствора не ожидается, оборудование низа колонны "традиционное":
- башмак БКМ-168;
- обсадная труба Æ 168,3 мм длиной 8 – 10 м;
- клапан обратный ЦКОД-168;
- обсадные трубы Æ 168,3 мм – остальное.
2.8. Расчет обсадных колонн осуществляется в соответствии с инструкцией по расчету обсадных колонн для нефтяных и газовых скважин АООТ "ВНИИТнефть" (согласована с Федеральным горным и промышленным надзором России, Министерством природных ресурсов РФ и др.). М., 1997 г.
3. РАЗРАБОТКА РЕЦЕПТУРЫ БУРОВЫХ РАСТВОРОВ ДЛЯ ВСКРЫТИЯ ПРОДУКТИВНЫХ ПЛАСТОВ В УСЛОВИЯХ ДЕПРЕССИИ И ГЛУШЕНИЯ СКВАЖИНЫ
3.1 Обоснование и выбор основных параметров исходного бурового раствора для вскрытия продуктивных пластов (вертикальный или пологий ствол)
Вскрытие продуктивных пластов кизеловского горизонта с низким пластовым давлением (коэффициент аномальности 0,75 и ниже) предполагается провести в условиях депрессии с применением газожидкостной смеси. В качестве основы для газожидкостной смеси – исходного бурового раствора - предлагается загущенная УТЖ VIP местная товарная нефть. Плотность и свойства нефти приведены в табл. 3.
Определение параметров исходного бурового раствора, обеспечивающих качественную очистку ствола вертикальной или пологой скважины
Выбор необходимых показателей бурового раствора, обеспечивающих высокую транспортирующую и удерживающую способность и минимальные потери давления на трение, проводится на основании оценочных гидравлических расчетов. Расчет выполняется для кольцевого канала скважины. Критерием качественной очистки ствола скважины от шлама считается определенное соотношение между минимальной скоростью восходящего потока (V теч ) и скоростью осаждения движущейся частицы (V ос ). Для вертикальной скважины это соотношение равно 2, т.е. минимальная скорость восходящего потока рассчитывается по формуле:
V теч = 2∙ V ос .
Исходная информация для выполнения гидравлических расчетов в кольцевом канале: эксплуатационная колонна диаметром 168 мм (внутренний диаметр 150,1мм), БТ диаметром 88,9 мм, зазор кольцевого канала 30,6 мм, длина БТ 1230 м, соотношение диаметров скважины и инструмента приведено в табл. 4, механическая скорость бурения изменяется в интервале 1-3 м/ч, расход жидкости 6–10 л/с, диаметр сферической частицы шлама 0,004 м, плотность породы шлама 2500 кг/м3 . Плотность бурового раствора при 20 о С в зависимости от концентрации загустителя может изменяться от 888 до 910 кг/м3 ; для дальнейших расчетов взята плотность 900 кг/м3 .
Таблица 4
Соотношение диаметров скважины и инструмента
| Интервал, м | Диаметр скважины, мм | Диаметр инструмента, мм |
|
| Вариант 1 | Вариант 2 | ||
| 1240 - 1235 | 139,7 | 144,0 | 105 |
| 1235 - 0 | 150,1 | 150,1 | 88,9 |
Гидравлические расчеты выполнены по усовершенствованной методике Уолкера (OilandGasJournal – Oct.4, Oct.18,1976) для жидкостей, реологическое поведение которых описывается степенным законом: t = К ( g ) n , где t - напряжение сдвига (Па), g - скорость сдвига (с-1 ), К – коэффициент консистентности (Па сn ), n – показатель поведения потока.
Расчет проводится в следующей последовательности. Сначала определяются минимально допустимые значения К и соответствующие им значения n , при которых обеспечивается качественная очистка ствола скважины, т.е. выполняется соотношение V теч ≥ 2∙ V ос . Расчет выполнен при расходе 6-10 л/с для колонны, кольцевой канал в которой имеет максимальный зазор и, следовательно, минимальную скорость течения. Результаты расчета приведены в табл. 5. Из приведенных данных следует, что у жидкости, имеющей определенный показатель n , для обеспечения очистки ствола вертикальной скважины при заданном расходе коэффициент консистентности К должен бытьне ниже указанного в табл. 5. Например, загущенная жидкость, которую предполагается использовать при промывке с расходом 6 л/с, имеет следующие реологические характеристики: n =0,9, К = 0,02 Па∙сn . Минимальное значение К , обеспечивающее выполнение условия V теч ≥ 2∙ V ос , должно быть не ниже 0,042Па∙сn (см. табл. 5).
Затем определяются параметры жидкости, обеспечивающие поддержание во взвешенном состоянии частиц шлама при отсутствии циркуляции неочищенного бурового раствора. Расчетные значения скорости осаждения (Vн ) сферической частицы шлама диаметром 0,004 м в неподвижной жидкости приведены в табл. 6.
Таблица 5
Минимальные значения К , обеспечивающие качественную очистку вертикального ствола.
| Расход жидкости, л/с | n |
0,2 |
0,3 |
0,5 |
0,6 |
0,7 |
0,9 |
| 6 | K , Па·сn |
1,60 | 0,96 | 0,34 | 0,20 | 0,12 | 0,042 |
| 8 | 1,43 | 0,80 | 0,25 | 0,14 | 0,08 | 0,025 | |
| 10 | 1,31 | 0,70 | 0,20 | 0,11 | 0,06 | 0,017 |
Таблица 6
Параметры жидкости |
n | 0,2 | 0,3 | 0,5 | 0,6 | 0,7 | 0,9 |
| K , Па·сn | 1,6 | 0,96 | 0,34 | 0,20 | 0,12 | 0,042 | |
| Скорость осаждения в неподв. жидк., м/мин | 0,0095 | 0,106 | 0,756 | 1,26 | 1,762 | 2,58 | |
Расчет скорости осаждения (Vн) в неподвижной жидкости выполнен по формуле:
Vн = {(rч -r)gdч n+1 /[18K(3)n-1 ]}1/n , ( 1 )
где r, rч – плотность жидкости и породы частицы, соответственно, кг/м3 ; dч – диаметр частицы, м; g – ускорение свободного падения, м/с2 .
Из результатов, приведенных в табл. 6, следует, что системы с К < 0,12 Па∙сn при n > 0,7 имеют пониженную удерживающую способность: скорость осаждения на 46-105% выше, чем у систем с n = 0,7 и n = 0,6, а тем более, у систем cn > 0,6. Поэтому использование жидкостей с К < 0,12 Па∙сn при n > 0,7 не рекомендуется.
Таким образом, исходный буровой раствор, обеспечивающий очистку ствола скважины и обладающий достаточной удерживающей способностью, должен иметь следующие характеристики: показатель поведения потока n < 0,7 и коэффициент консистентности К > 0,12 Па∙сn .
Далее необходимо оценить величину потерь давления на трение при течении в кольцевом канале жидкостей с выбранными параметрами. Поскольку определяющим является течение в кольцевом канале колонны, а не в зоне продуктивного пласта, то оценочные расчеты выполнены для интервала колонны от 0 до 1230 м. Результаты расчетов приведены в табл. 7. Из полученных результатов следует, что потери давления на трение во всем диапазоне изменения параметров n и К невысоки, минимальные – при К = 0,12Па·сn и n = 0,7. Более высокие потери (на 15-20%) наблюдаются при значениях К > 0,96 Па·сn и соответствующих им n (n £ 0,3), поэтому их можно исключить из рассмотрения. При этом необходимо учесть, что это значение К относится к интервалу высоких и средних скоростей сдвига, которые наблюдаются при течении в кольцевом канале.
Таким образом, качественная очистка ствола скважины с незначительными потерями давления на трение достигается при следующих реологических характеристиках исходного бурового раствора:
0,3 < n < 0,7
К > 0,12 Па∙сn во всем интервале изменения скоростей сдвига
К < 1,0 Па∙сn при высоких и средних скоростях сдвига.
Таблица 7
Гидравлический расчет для кольцевого канала.
| n | 0,2 | 0,3 | 0,5 | 0,7 | Примечания |
| К , Па сn | 1,6 | 0,96 | 0,34 | 0,12 | |
| расход жидкости 6 л/с | |||||
| Общ потери, МПа | 0,352 | 0,333 | 0,29 | 0,249 | потери на 1230м |
| Vтеч/Vос | 2,8 | 2,8 | 2,8 | 2,8 | |
ЭПРж, кг/м3 |
902,9 |
902,7 |
902,4 |
902,1 |
эквивалентная циркуляционная плотность |
ЭПРш, кг/м3 V = 1 м/ч V = 3 м/ч |
2,03 6,23 |
2,01 6,19 |
2,02 6,22 |
2,03 6,24 |
рост экв. плотности за счет накопления шлама при разл. скорости бурения (V) |
ЭПРоб, кг/м3 V = 1 м/ч V = 3 м/ч |
904,9 909,1 |
904,7 908,9 |
904,4 908,6 |
904,1 908,3 |
суммарная эквивалентная плотность |
| расход жидкости 8 л/с | |||||
| Общ потери, МПа | 0,382 | 0,373 | 0,346 | 0,318 | потери на 1230м |
| Vтеч/Vос | 3,8 | 3,8 | 3,8 | 3,8 | |
ЭПРж, кг/м3 |
903,1 |
903,0 |
902,8 |
902,58 |
эквивалентная циркуляционная плотность |
ЭПРш, кг/м3 V = 1 м/ч V = 3 м/ч |
1,34 4,09 |
1,33 4,08 |
1,33 4,09 |
1,34 4,10 |
рост экв. плотности за счет накопления шлама при разл. скорости бурения (V) |
ЭПРоб, кг/м3 V = 1 м/ч V = 3 м/ч |
904,5 907,2 |
904,3 907,1 |
904,1 906,9 |
903,9 906,7 |
суммарная эквивалентная плотность |
| расход жидкости 10 л/с | |||||
| Общ потери, МПа | 0,4 | 0,399 | 0,387 | 0,371 | потери на 1230м |
| Vтеч/Vос | 4,7 | 4,7 | 4,7 | 4,7 | |
ЭПРж, кг/м3 |
3,25 |
3,24 |
3,15 |
3,02 |
эквивалентная циркуляционная плотность |
ЭПРш, кг/м3 V = 1 м/ч V = 3 м/ч |
1,0 3,05 |
0,99 3,04 |
1,0 3,05 |
1,0 3,05 |
рост экв. плотности за счет накопления шлама при разл. скорости бурения (V) |
ЭПРоб, кг/м3 V = 1 м/ч V = 3 м/ч |
904,25 906,3 |
904,2 906,3 |
904,1 906,2 |
904,0 906,1 |
суммарная эквивалентная плотность |
| Режим течения | ламинарный | во всех случаях при расходе 6, 8 и 10 л/с |
|||
| Режим осаждения | ламинарный | ||||
Методика расчетов движения псевдопластичных и аэрированных псевдопластичных жидкостей приведена в Приложении 1.
В табл. 7 использованы следующие обозначения и расчетные формулы:
ЭПРж - эквивалентная циркуляционная плотность, кг/м3 :
ЭПРж = r + DРтр /gH
ЭПРш – рост эквивалентной плотности за счет накопления шлама, кг/м3 :
ЭПРш = V Dк 2 (rч - r)/ [(Dк 2 – Dт 2 )(Uср – Vос )];
ЭПРоб – суммарная эквивалентная плотность, кг/м3 :
ЭПРоб = ЭПРж + ЭПРш;
DРтр – потери давления на трение при течении в канале, Па :
DРтр = 4tL/(Dк – Dт),
Uср , Vос – средняя скорость течения и скорость осаждения частицы в движущейся жидкости соответственно, м/с:
Uср = 4Q/ [p(Dк 2 – Dт 2 )], Vос = 0,268 tч [dч jч /(r)0,5 ],
где V – механическая скорость бурения, м/с; H – глубина кровли пласта по вертикали, м; L – длина канала, м; Dк – внутренний диаметр ЭК, м; Dт – наружный диаметр трубы (БТ), м; t, tч - напряжение сдвига жидкости и частицы соответственно, Па; Q – расход жидкости, м3 /с; jч – скорость сдвига частицы, 1/с.
Выбор состава исходного бурового раствора
В качестве основы исходного бурового раствора предполагается использовать местную товарную нефть с плотностью 876 кг/м3 . При лабораторных исследованиях состав бурового раствора подбирался для нефти, близкой по плотности (890 кг/м3 ). Реологические характеристики определялись по результатам замеров на 12-ти скоростном вискозиметре "Реотест-2". Концентрация УТЖ VIP изменялась от 2 до 10% мас. Результаты приведены в табл. 8. Помимо параметров n и К , для разработанной системы определялись традиционно измеряемые характеристики: динамическое напряжение сдвига (t о ), пластическая вязкость (h ) и условная вязкость.
Таблица 8
Реологические характеристики загущенных систем при Т = 20 о С
Плотность, кг/м3 |
Концентрация, VIP, % |
Скорость сдвига, с-1 | tо , дПа |
h , мПа·с |
Условная вязк., с | |||
| ниже81 | выше 81 | |||||||
| n | К , Па∙сn | n | К , Па∙сn | |||||
| 890 | 0 | - | - | - | - | 24 | 36 | 68 |
| 910 | 2 | 0,88 | 0,12 | 0,88 | 0,12 | 69 | 43 | 88 |
| 910 | 4 | 0,69 | 0,58 | 0,69 | 0,58 | 90 | 52 | 150 |
| 910 | 6 | 0,65 | 0,78 | 0,65 | 0,78 | 102 | 60 | 180 |
| 920 | 8 | 0,54 | 1,63 | 0,64 | 1,05 | 162 | 63 | 272 |
| 920 | 10 | 0,37 | 4,41 | 0,56 | 1,86 | 249 | 65 | 500 |
Как определено ранее, при лабораторных исследованиях исходный буровой раствор для вскрытия продуктивных пластов кизеловского горизонта должен подбираться таким образом, чтобы его параметры находились в следующих границах: 0,3< n <0,7 и К>0,12 Па∙сn во всем интервале изменения скоростей сдвига, а при высоких и средних скоростях сдвига К< 1,0 Па∙сn . Следовательно, составы с концентрацией 2, 8,10% можно сразу отбросить. Остаются составы с интервалом изменения концентрации УТЖ VIP 4 – 6% мас., которые хорошо описываются одним участком во всем интервале изменения скорости сдвига. Системы с более высокой концентрацией характеризуются двумя участками, описываемыми степенным законом, точка перехода – j = 81 с-1 .
В качестве исходного бурового раствора отобраны системы с концентрацией VIP 4- 6%мас., которые имеют следующие характеристики: n = 0,69-0,65 и К = 0,58-0,78 Па·сn , t о = 125-136 дПа, h = 52-62 мПа·с и условную вязкость, равную 150-180 с. Гидравлические расчеты для кольцевого канала колонны, аналогичные предыдущим, были выполнены при тех же исходных данных: внутренний диаметр ЭК и наружный БТ соответственно 150,1 и 88,9 мм, длина 1230 м, механическая скорость бурения 1-3 м/ч, расход жидкости 6 – 10 л/с, диаметр сферической частицы шлама 0,004 м, плотность породы частицы 2500 кг/м3 . Результаты расчетов для выбранных загущенных систем приведены в табл. 9. Для сравнения там же приведены результаты расчетов для систем с концентрацией VIP 8%. Кроме того, выполнен гидравлический расчет для течения выбранных жидкостей в БТ (толщина стенки 9,35 мм, внутренний диаметр 70,2 мм) длиной 1230 м (см. табл. 9). Во всех случаях режим течения и осаждения ламинарный.
Как следует из табл. 9, все системы обеспечивают высокую степень очистки ствола скважины (V теч / V ос > 8,5) и имеют хорошую удерживающую способность (скорость осаждения частицы в неподвижной жидкости от 0,09 до 0,05 м/мин). Но при этом система с концентрацией VIP 8% (при К >1 Па сn )действительно имеет потери давления на трение значительно выше (на 28-49%), чем выбранные системы, как это и было определено в предварительном расчете.
Таблица 9
Гидравлический расчет для кольцевого канала колонны и для течения в БТ при использовании загущенных систем с различной концентрацией УТЖ VIP.
| Течение в кольцевом канале, плотность жидкости 900 кг/м3 | ||||||||
| Расход, л/с | 6 | 8 | 10 | |||||
| Концентрация VIP,% | 4 | 6 | 8 | 4 | 6 | 8 | 4 | 6 |
| Общие потери, МПа | 1,2 | 1,35 | 1,74 | 1,46 | 1,63 | 2,09 | 1,71 | 1,88 |
| Скор.теч./скор.осажден. | 8,5 | 9,7 | 14,7 | 11,3 | 13,0 | 19,5 | 14,2 | 16,2 |
| ППРж, кг/м3 | 9,76 | 11,0 | 14,1 | 11,9 | 13,2 | 17,0 | 13,9 | 15,3 |
ППРш, кг/м3 V = 1 м/ч V = 3 м/ч |
1,48 4,45 |
1,46 4,38 |
1,40 4,21 |
1,08 3,23 |
1,06 3,19 |
1,03 3,10 |
0,85 2,54 |
0,84 2,51 |
ЭПРоб, кг/м3 V = 1 м/ч V = 3 м/ч |
911,2 914,2 |
912,4 915,3 |
915,5 918,3 |
913,0 915,1 |
914,3 916,4 |
918,0 920,1 |
914,7 916,4 |
916,1 917,8 |
| Течение в трубах (БТ), режим течения ламинарный | ||||||||
| Общие потери, МПа | 1,55 | 1,71 | 2,20 | 1,90 | 2,07 | 2,64 | 2,21 | 2,39 |
| Суммарн. потери в трубах и затрубье, МПа | 2,75 |
3,06 |
3,94 |
3,36 |
3,70 |
4,73 |
3,92 |
4,27 |
Скор.осажден. в непод- вижной жидк., м/мин |
0,087 |
0,055 |
0,013 |
0,087 |
0,055 |
0,013 |
0,087 |
0,055 |
Таким образом, в качестве исходного бурового раствора для вскрытия продуктивных пластов кизеловского горизонта выбрана загущенная нефть с концентрацией УТЖ VIP от 4 до 6% со следующими параметрами при 20о С: n = 0,69-0,65 и К = 0,58-0,78, t о = 90 –102 дПа, h = 52-60 мПа·с, условная вязкость - 150-180 с.
Перед началом работ на местной нефти необходимо уточнить концентрацию загустителя УТЖ VIP. Она может быть иной и изменяться от 3 до 7%. При ее выборе нужно обеспечить выполнение следующих требований: 0,3 < n < 0,7, К > 0,12 Па∙сn во всем интервале изменения скоростей сдвига, К < 1,0 Па∙сn - при высоких и средних скоростях сдвига, а такжеориентироваться на параметры загущенной нефти, приведенные в табл. 8.
Поддержание требуемых параметров бурового раствора в условиях поступления в ствол пластового флюида.
Как показали лабораторные исследования, разработанная углеводородная система сохраняет необходимые параметры при разбавлении нефтью до концентрации загустителя 3 - 3,5%. Максимально допустимый объем поступления пластового флюида составляет 7,5% от исходного объема. Для восстановления требуемых показателей бурового раствора необходимо на 1 куб. метр поступившей нефти добавить 2,5 л УТЖ VIP и 0,75л 30%-ного раствора каустика.
Требования к системе очистки промывочной жидкости от выбуренной породы.
Бурение на депрессии предъявляет жесткие требования к регулированию и поддержанию плотности буровых растворов и, следовательно, высокие требования к качеству его очистки от выбуренной породы. Эффективная механическая очистка достигается при использовании, например, разработанного в НПО "Бурение" наземного оборудования ДЦС "Комплекс оборудования для разделения твердых, жидких и газообразных фаз в составе бурового раствора при избыточном давлении".
3.2 Выбор раствора для глушения скважин
Необходимые расчеты и лабораторные исследования повыбору раствора для глушения проводятся в соответствии с требованиями, которым он должен удовлетворять.
Общие требования к растворам для глушения:
- плотность должна быть достаточной для обеспечения необходимого противодавления на пласт;
- реологические характеристики раствора должны обеспечить глушение без поглощений или при их минимальном объеме;
- при пластовой температуре сохранять стабильность свойств в течение заданного промежутка времени;
- не оказывать необратимого отрицательного воздействия на пласт.
Плотность жидкости глушения определяется из расчета создания столбом жидкости давления (Ргс ), превышающего пластовое (Рпл ), в соответствии с требованием Правил безопасности в нефтяной и газовой промышленности, вып.4, ПБ 08-624-03, 2003г.
Ргс ³ Рпл + 0,05 Рпл
Для глушения продуктивных пластов кизеловского горизонта при Рпл = 9 МПа требуемое давление (Ргс )min = 9,45 МПа. Минимальная плотность при (Ргс )min = 9,45 МПа равна 783,2 кг/м3 . Поскольку при плотности местной нефти 876 кг/м3 Ргс = 10,57 МПа и минимальная репрессия на пласт не может быть обеспечена, необходимо применить способ глушения, при котором создаваемая репрессия ниже максимальной, а жидкость глушения практически не фильтруется в пласт.
Для такого способа глушения рекомендуется использовать загущенную УТЖ VIP местную нефть. Жидкость глушения в объеме 3 – 4 м3 помещается в зону продуктивного пласта, часть ствола скважины выше пачки жидкости глушения заполняется нефтью. При плотности местной нефти 876 кг/м3 состав с загустителем будет иметь плотность 890 - 910 кг/м3 . Добавление 5% гидрофобного карбонатного утяжелителя (мела) повысит плотность до 920 кг/м3 . Концентрация мела при необходимости (для обеспечения нулевой фильтрации в трещиновато-поровом коллекторе) может быть увеличена до 20%. В табл. 10 приведена плотность системы с различной концентрацией мела. При использовании рекомендуемого способа глушения репрессия на пласт превышает величину 0,05 Рпл , но не вызывает вредного воздействия на пласт.
Таблица 10
| мел, С, % об. | 0 | 5 | 10 | 15 | 20 |
| плотность, кг/м3 | 890 | 920 | 950 | 980 | 1010 |
Для определения реологических характеристик раствора, обеспечивающих глушение без поглощений или при их минимальном объеме, выполнен расчет относительного радиуса проникновения жидкости в пластпри следующих исходных данных: проницаемость пласта 0,012 мкм2 , пористость 0,12, радиус скважины0,07 м, репрессия на пласт 3МПа, что значительно выше ожидаемой, вязкость пластового флюида 15 мПа·с. Радиус определяется на основании численного решения задачи о нестационарной фильтрации вязкой жидкости в пласт, содержащий жидкость другой вязкости, без учета диффузионного перемешивания жидкостей (поршневое вытеснение).
Результаты расчета для жидкости плотностью 920 кг/м3 с различной эффективной вязкостью приведены на граф. 1. Из приведенных графиков следует, что при эффективной вязкости более 400 мПа·с радиус проникновения жидкости достаточно мал. Системы с концентрацией УТЖ VIP 8-10% c параметрами, приведенными в табл. 8, имеют при низких скоростях сдвига (j< 27с-1 ) эффективную вязкость 490-950 мПа·с и 770-2200 мПа·с соответственно. Это позволяет рекомендовать их в качестве жидкости глушения. Если жидкость обладает ярко выраженными коркообразующими свойствами (при увеличенной концентрации мела), то расчетный радиус ее проникновения в пласт будет меньше 5 –7 мм.
Лабораторные исследования, выполненные по стандартной методике на установке УИПК-1М для оценки влияния выбранных загущенных составов (с концентрацией мела 5%) на восстановление проницаемости искусственных кернов, показали практически их нулевую фильтрацию: коэффициент восстановления проницаемости кернов с проницаемостью от 0,01 до 0,135 мкм2 - 95-96%.
Как показали исследования, стабильность свойств составов на нефти, загущенных УТЖ VIP с концентрацией более 2%, сохраняется минимум в течение двух недель после приготовления.
![]() |
График 1
Таким образом, в качестве пачки раствора для глушения рекомендуются приготовленные на местной товарной нефти загущенные системы с концентрацией УТЖ VIP 8-10%. Плотность жидкости с обеспечением нулевой фильтрации может изменяться от 920 до 1010 кг/м3 .
Перед началом работ на местной нефти необходимо уточнить концентрацию загустителя УТЖ VIP. Она может быть иной и изменяться от 6 до 10%. При ее выборе нужно ориентироваться на параметры загущенной нефти, приведенные в табл. 8, и требования к эффективной вязкости: при низких скоростях сдвига (j< 27с-1 ) она должна быть не ниже 400-550 мПа·с.
Результаты проведенных исследований, рекомендуемых применительно к кизеловскому горизонту Коробковского участка, представлены в табл. 11 – 13.
Таблица 1
Типы и параметры буровых растворов
Название (тип) раствора |
Параметры бурового раствора | |||||||||||
плотность кг/м3 |
условная вяз- кость, с |
водоотдача, см3 /30мин |
СНС, дПа через, мин. |
корка, мм |
содержание твердой фазы, % |
рН | Пластическая вязкость, мПа с |
динами-ческое напряжение сдвига, дПа |
||||
1 |
10 |
коллоидной активной части | песка (утяжелителя) | всего | ||||||||
| 1 | 2 | 3 | 4 | 5 | 6 | 7 | 8 | 9 | 10 | 11 | 12 | 13 |
Исходная жидкость ( нефть) |
876 |
- |
- |
- |
- |
- |
- |
- |
- |
- |
- |
- |
Исходный буровой раствор: нефть + VIP 6% - 12% УТЖ VIP |
880 - 910 |
40-180 |
- |
- |
- |
- |
- |
- |
- |
- |
10 - 80 |
20 -120 |
Раствор для глушения: нефть + VIP 8%-10% УТЖ VIP |
920- 1010 |
200- 400 |
0 - 2 |
- |
- |
2 |
- |
5 - 20 |
5 - 20 |
- |
20 - 80 |
70 -300 |
Таблица 12
Компонентный состав бурового раствора и характеристики компонентов
| Интервал бурения , м | Название (тип) раствора |
Плотность раствора, кг/м3 |
Название компонента |
Содержание компонента в буровом растворе, кг/м3 |
|
от (верх) |
до (низ) |
||||
| 1 | 2 | 3 | 4 | 5 | 6 |
1230 |
1238 |
Исходная жидкость | 876 | нефть | 876 |
Исходный буровой раствор: нефть + VIP 6% - 12% УТЖ VIP |
888-910 |
УТЖ VIP (загуститель) Каустическая сода |
56 – 112 4,5 – 10,5 |
||
| 1230 | 1238 | Газожидкостная смесь | - | ||
| 3 – 4 м3 | Раствор для глушения: нефть + VIP 8% - 10% УТЖ VIP |
920 - 1010 |
нефть тов. плотн. 876 кг/м3 УТЖ VIP (загуститель) Каустическая сода карбонатный утяжелитель |
876 70,1 - 140,3 6,8 - 13,5 до 572 |
|
Таблица 13
Потребность компонентов (товарный продукт для его приготовления, обработки и утяжеления)
| Интервал, м | Название (тип) бурового раствора и его компонентов |
Суммарная потребность раствора, м3 и его компонентов, кг, в интервале |
|
от (верх) |
до (низ) |
||
| 1 | 2 | 3 | 4 |
| 1230 | 1238 | Нефть товарная | 66 м3 (57816 кг) |
1230 |
1238 |
УТЖ VIP (загуститель) Каустическая сода (м3 - 30%-ный р-р, кг - сухой) |
8,6 м3 (7310 кг) 2,31м3 (693 кг) |
| 3 – 4 м3 | Раствор для глушения нефть УТЖ VIP (загуститель) Каустическая сода (м3 - 30%-ный р-р, кг - сухой) карбонатный утяжелитель |
3 м3 (2628 кг) 0,5 м3 (425 кг) 0,126 м3 (41 кг) 0,66 м3 (1716 кг) |
|
4. КОМПОНОВКА БУРИЛЬНОЙ КОЛОННЫ
4.1. Опытно-технологические работы по промысловым испытаниям технологии вскрытия продуктивных пластов в условиях депрессии проводятся на 2-х наклонно-направленных скважинах с вертикальным и пологим стволом в интервале продуктивного пласта.
4.2. Перед углублением скважины по продуктивному пласту проводятся исследовательские работы по отработке технологических параметров контроля и управления процессом углубления и СПО.
4.3. Компоновка бурильной колонны для проведения исследовательских работ спускается к забою скважины и включает следующие элементы:
- труба бурильная Æ 88,9 мм (APIS-135, d = 9,35 мм. Æ замка 127 мм, замковые соединения с фасками 18° сверху и снизу);
- два обратных клапана КОБТ-95;
- два контейнера (Æ 100 мм) с глубинными манометрами МИКОН-107;
- трубы бурильные Æ 88,9 мм;
- шаровой кран нижний КШН-120 (З-102) с защитным переводником под краном Æ 120 мм;
- ведущая рабочая труба ВРТШ-89;
- шаровой кран верхний КШВ – 178 (З-147).
4.4. Для углубления (бурения) скважины компоновка бурильной колонны включает:
- долото СЗ – ГАУ-R203 Æ 144,0 мм;
- забойный двигатель Д1-105;
- два обратных клапана КОБ-95;
- два контейнера (Æ 100 мм) с глубинными манометрами МИКОН-107;
- трубы бурильные Æ 88,9 мм;
- шаровой кран нижний КШН-120 (З-102) с защитным переводником;
- ведущая рабочая труба ВРТШ-89;
- шаровой кран верхний КШВ-178 (З-147).
5. РАЗРАБОТКА БАЗОВЫХ ТЕХНОЛОГИЧЕСКИХ СХЕМ МОНТАЖА ДОПОЛНИТЕЛЬНОГО ОБОРУДОВАНИЯ И ТЕХНИЧЕСКИХ СРЕДСТВ К БУРОВОЙ УСТАНОВКЕ
Исходные условия и требования к выбору дополнительного оборудования и технических средств
5.1. Бурение скважины до кровли продуктивного горизонта осуществляется по технологии, принятой для эксплуатационных скважин, заканчиваемых в репрессионных условиях, и не требует на этой стадии дополнительного оборудования и технических средств.
5.2. Буровая установка в сочетании с дополнительным оборудованием и техническими средствами должна отвечать условиям заканчивания скважины в депрессионных условиях, предусматривающих приток продукции пласта с газовым фактором и наличие избыточного давления на устье скважины.
5.3. Вскрытие продуктивного(ых) пласта(ов) осуществляется с применением в качестве бурового раствора загущенной нефти (см. разд. 3) с дополнительным облегчением, в случае необходимости, насыщением азотом.
Должны быть обеспечены непрерывная очистка бурового раствора от шлама, дегазация раствора, химическая обработка и насыщение азотом.
5.4. Расчетная (заданная) депрессия на пласт(ы) обеспечивается путем регулирования плотности бурового раствора, расхода раствора в сочетании с его реологическими параметрами, а также избыточного давления на устье скважины.
5.5. Для строительства скважины, в т.ч. заканчивания, необходимо использовать основное, дополнительное оборудование и технические средства преимущественно отечественного производства.
Базой бурового оборудования является серийная буровая установка из числа имеющихся на вооружении ОАО "Татнефть", смонтированная по действующей в ОАО схеме.
Дополнительное наземное оборудование привязывается к БУ без модификации ее монтажной схемы, располагается на дополнительной площадке.
5.6. Для БУ с учетом конструкции устья скважин просветы вышечно-лебедочного блока (ВЛ) должны составлять от земли до нижнего среза подроторных балок ³ 5,0 м;
5.7 Указанные просветы необходимы для сборки стволовой части противовыбросового оборудования и оборудования устья скважины перед передвижкой буровой установки на очередную точку.
Противовыбросовое оборудование
5.8. Техническая характеристика и функциональное назначение противовыбросового оборудования (ОП) должны в целом отвечать требованиям ПБ 08-624-03 "Правила безопасности в нефтяной и газовой промышленности".
5.9. Стволовая часть ОП должна дополнительно обеспечивать проведение всех технологических операций по заканчиванию скважины при наличии избыточного давления на устье:
- собственно углубление;
- наращивание бурильных труб;
- подъем и спуск бурильной колонны и КНБК с контролем доливаемой и вытесняемой жидкости;
- герметизация устья при отсутствии труб в скважине;
- подвеска колонны бурильных, обсадных и насосно-компрессорных труб на плашках превентора;
- расхаживание колонны труб для предотвращения их прихвата;
- спуск потайной колонны;
- спуск НКТ;
- демонтаж стволовой части ОП и оборудование устья скважины перед передвижкой БУ на очередную точку без глушения скважины.
5.10. Базовая технологическая схема оборудования стволовой части ОП на период заканчивания скважины представлена на рис. 1.

|
5.11. Секция 2 на рис. 1 представляет собой корпус трубной головки с крестовиной.
Секция 2 устанавливается на колонную головку после спуска промежуточно-эксплуатационной колонны.
Секция 2 предназначена для последующего подвешивания в ней НКТ и оборудования устья для передвижки БУ на очередную точку.
5.12. Допускается по согласованию между Заказчиком, Проектировщиком, Подрядчиком на бурение и Исполнителем Технологии сдвоенный превентор ППГ2-180´35 (секция 3 на рис. 1) заменять на превентор ППГ2-180´21.
5.13. Манифольд противовыбросового оборудования должен отвечать требованиям к манифольду МБП-2-80´35, изготавливаемому по ГОСТ 13862-90.
С учетом дополнительного оборудования стволовой части ОП и наземного оборудования, обвязка и монтаж ОП должны в целом отвечать требованиям действующей схемы для вскрытия продуктивных пластов на Бавлинском месторождении.
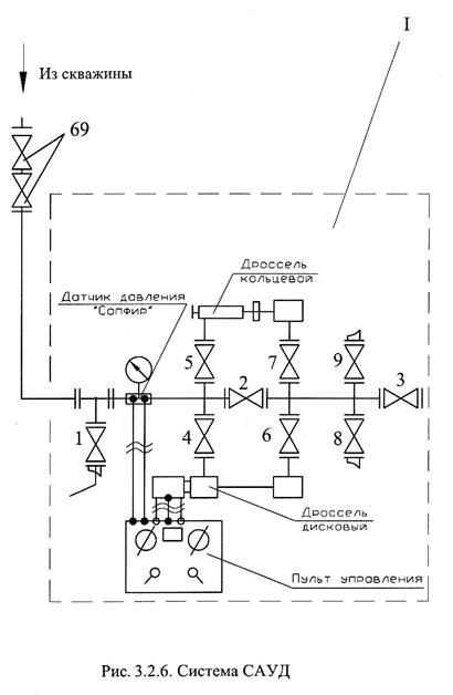
5.14. Блок дросселирования манифольда ОП модифицирован заменой одного из двух дросселей кольцевого типа на дроссель дисковый.
5.15. Дроссель дисковый отличается от дросселя кольцевого типа конструкцией дросселирующего узла и способом управления. В кольцевом дросселе, как известно, гидравлический канал в запорном элементе имеет форму кольца регулируемого сечения. Управление в применяемых отечественных конструкциях – ручное.
В дросселе дисковом (рис. 2) запорный элемент выполнен в виде двух концентричных дисков (неподвижного и подвижного) с отверстиями в виде "полумесяца". Сечение циркуляционного канала регулируется степенью совмещения отверстий в дисках поворотом подвижного диска. При одной и той же площади сечения циркуляционных каналов дисковый дроссель способен пропускать частица шлама (обвалившейся породы и др.) значительно бóльших размеров, чем кольцевой, что способствует снижению вероятности зашламления и закупорки дросселя. Дроссель дисковый имеет дистанционный гидравлический привод управления.
5.16. Дроссель дисковый входит в систему дросселирования, включающую собственно дроссель с автоматическим дистанционным управлением и функциями регистрации и поддержания заданного устьевого избыточного давления – Система САУД.
Система САУД
5.17. Основное функциональное назначение системы САУД – поддержание и регулирование избыточного давления на устье скважины заданной величины при всех технологических операциях, связанных как с непрерывной циркуляцией бурового раствора (бурение, промывка), так и с дискретным "стравливанием" (сбрасыванием) раствора из скважины (спуск труб, отсутствие труб в скважине).
Поддержание заданного избыточного давления обеспечивается степенью открытия дросселя от полной разгерметизации до полной герметизации затрубного пространства в автоматическом режиме; резервный вариант – ручное автоматизированное управление.
Система обеспечивает постоянный визуальный контроль, а также регистрацию давления на выходе из скважины.
5.18. В состав САУД входят:
- блок дросселирования;
- пульт управления дросселем;
- электрооборудование;
- трубопроводы, электрические кабели, рукава для обвязки пневматических, электрических и гидравлических связей.

Основная техническая характеристика САУД представлена в табл. 14.
Таблица 14
| № п/п | Наименование параметра | Значение |
| 1 | 2 | 3 |
| 1 | Рабочее давление на устье скважины, МПа - наименьшее - наибольшее |
0,0 35,0 |
| 2 | Вид климатического исполнения по ГОСТ 15150, категория размещения | У 2 |
| 3 | Скважинная среда | Буровой раствор, частицы породы, нефть, газ, пластовая вода и их смеси |
| 4 | Температура скважинной среды, °С, не более | 120,0 |
| 5 | Режим работы (управление дросселем) | - автоматический; - ручной |
| 6 | Угол поворота подвижного диска дросселя, град; | 0,0 … 180,0 |
| 7 | Максимальный эквивалентный диаметр проходного сечения дросселя, мм | 40,0 |
| 8 | Максимальный расход воздуха, м3 /мин, приведенный к условиям: температура +20 °С, давление 0,1 МПа | 3,0 |
| 9 | Электропитание: - род тока - напряжение, В - частота, Гц - потребляемая мощность, кВт, не более |
переменный 220 ± 22 50 ± 1 0,5 |
| 1 | 2 | 3 |
| 10 | Габаритные размеры, мм | |
| 10.1 | Блок дросселирования (БД) - длина - ширина - высота |
3000 2450 1200 |
| 10.2 | Пульт управления (ПУ) - длина - ширина - высота |
1025 990 1880 |
11 11.1 11.2 11.3 |
Масса, кг: БД ПУ Общая |
3800 450 4250 |
5.19. Технологическая схема монтажа САУД показана ниже на рис. 3.
5.20. Требования и операции при монтаже, наладке, управлению давлением на устье скважины, техническом обслуживании и др. изложены в Руководстве по эксплуатации САУД.00.00.000 РЭ "Система автоматического управления дисковым дросселем"
Дополнительное наземное оборудование
5.21. Дополнительное наземное оборудование предназначено для автономной циркуляционной системы.
Циркуляционная система в составе буровой установки по своему функциональному назначению и требованиям пожаробезопасности не отвечает условиям заканчивания скважин в депрессионных условиях и на данном этапе строительства скважины не используется.
5.22. Для заканчивания скважин в депрессионных условиях разработан специальный комплекс дополнительного наземного оборудования ДЦС "Комплекс оборудования для разделения твердых, жидких и газообразных фаз в составе бурового раствора при избыточном давлении" (ОАО НПО "Бурение").
5.23. Комплекс ДЦС предназначен для осуществления непрерывного замкнутого цикла циркуляции бурового раствора в процессе углубления и промывки скважины с выполнением следующих технологических операций (функций):
- обеспечение циркуляции бурового раствора автономным буровым насосом;
- отбор проб бурового раствора и шлама, выходящего из скважины;
- очистка бурового раствора от шлама;
- сепарация газа из бурового раствора;
- регулирование компонентного состава бурового раствора (химическая обработка);
- регулирование плотности бурового раствора насыщением азотом;
- прием излишнего бурового раствора с поступающей из пласта нефтью.

|
5.24. Состав комплекса ДЦС:
Пробоотборник. Для отбора проб выходящего из скважины бурового раствора и шлама без остановки циркуляции бурового раствора.
Шламоотделитель. Очистка бурового раствора от шлама, дискретный сброс шлама.
Газожидкостный сепаратор. Сепарация газа из бурового раствора (газ нефтяной, азот). Выброс газа в атмосферу на рассеивание.
Приемная емкость. Прием бурового раствора из сепаратора. Гравитационное отделение остатков шлама и водоотделение из бурового раствора. Дискретный сброс отстоя.
Блок приготовления и дозированной подачи химических реагентов. Дозирование химреагентов в соответствии с заданной рецептурой бурового раствора и подача в поток раствора или в компенсационную емкость.
Компенсационная емкость. Прием-отдача бурового раствора для поддержания установленного диапазона положения уровня бурового раствора в приемной емкости. Кондиционирование бурового раствора перемешиванием при химобработке раствора через компенсационную емкость. Прием излишнего бурового раствора из приемной емкости за счет притока из пласта. Откачивание излишнего бурового раствора в дополнительную накопительную емкость.
Буровой насос. Обеспечение циркуляции бурового раствора с плавно регулируемой подачей.
Азотная установка СДА-10/101 (производительность 10 м3 /мин и Рраб = 100 кгс/см2 ) + эжектор жидкостно-газовый. Непрерывное насыщение потока бурового раствора, подаваемого в скважину, азотом с заданным расходом и обеспечением заданной плотности газожидкостной смеси.
5.25. Принципиальная технологическая схема ДЦС представлена на рис. 4 с привязкой к замкнутой системе "устье скважины – блок дросселирования с системой САУД – ДЦС".
5.26. Схема обвязки автономного бурового насоса, азотной станции и эжектора представлена на рис. 5.
5.27. Монтаж, наладка и управление комплексом ДЦС осуществляются в соответствии с Руководством по эксплуатации комплекса.
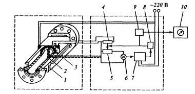
Аппаратурно-методический комплекс АМКД
5.28. Аппаратурно-методический комплекс АМКД (конструкция ООО "БурГеоСервис", г. Тверь) предназначен для визуального контроля и регистрации параметров гидродинамических процессов при углублении и промывке скважин.
5.29. Датчиками АМКД оснащаются блоки дросселирования и системы ДЦС. Схема размещения комплексов датчиков показана на рис. 4.
5.30. Перечень и диапазоны измеряемых параметров на АМКД следующие:
На выходе из скважины перед блоком дросселирования:
- давление 0 ¸ 25 МПа;
- температура жидкости (газожидкостной смеси) 0 ¸ 60 °С.
На приемной емкости:
- давление 0,1 ¸ 0,5 МПа;
- уровень жидкости 0 ¸ 3 м3 ;
- плотность 600 ¸ 1300 кг/м3 .
На выходе бурового насоса до эжектора:
- давление 0 ¸ 25 МПа;
- расход 2 ¸ 30 л/с;
- плотность 600 ¸ 1300 кг/м3 .
На выходе азотной станции до эжектора:
- давление 0 ¸ 15 МПа;
- расход 2,5 ¸ 10 м3 /мин.
На линии после эжектора:
- давление 0 ¸ 25 МПа;
- расход 2 ¸ 20 л/с;
- плотность 600 ¸ 1300 кг/м3 ;
- температура –50 ¸ +60 °С.

5.31. Система контроля и регистрации АМКД позволяет осуществлять как управление параметрами технологических процессов, так и накопление и последующий анализ параметров в масштабе реального времени.
5.32. Монтаж, наладка и эксплуатация АМКД осуществляются в соответствии с Руководством по эксплуатации комплекса.
6. ТЕХНИКО-ТЕХНОЛОГИЧЕСКИЕ РЕШЕНИЯ КРЕПЛЕНИЯ СКВАЖИН
ВАРИАНТ 1
6.1. В состав промежуточно-эксплуатационной колонны включается стационарный клапан-отсекатель (КОС-119).
Вскрытие продуктивных пластов, СПО колонны бурильных труб, спуск колонны-хвостовика и НКТ в депрессионных условиях предопределяет необходимость в специальных установках для принудительного спуско-подъема труб.
Эти сложные и ответственные технологические операции требуют специальной подготовки буровой бригады, участие персонала военизированных отрядов и тщательного контроля за процессом.
Для обеспечения ускоренного и безопасного проведения указанных работ в компоновку промежуточно-эксплуатационной колонны включается КОС-119.
Так как проходное сечение клапана равно 119 мм, отсюда максимальный диаметр долота для вскрытия продуктивной толщи не должен превышать 114,3 мм, а диаметр хвостовика не более 101,6 мм.
При использовании бицентричного долота У114´132´95SR-544 производства фирмы УДОЛ возможен спуск хвостовика в безмуфтовом исполнении в размере 114,3 мм.
Конструкция и технология применения стационарного клапана-отсекателя приведены в разделе 6.3.
ВАРИАНТ 2
6.2. В состав промежуточно-эксплуатационной колонны Æ 168 мм не включается стационарный клапан-отсекатель КОС-119.
В данном варианте для вскрытия продуктивной толщи в условиях депрессии используется долото Æ 139,7 мм или Æ 142,9 мм, и ствол обсаживается колонной хвостовиком Æ 114,3 мм.
Спускоподъемные операции (СПО бурильных труб, колонны-хвостовика и НКТ) выполняются при избыточном давлении на устье скважины.
Возможно крепление скважины 146,1-мм промежуточно-эксплуатационной колонной без клапана-отсекателя. Углубление скважины по продуктивному горизонту осуществляется долотами Æ 144,0 мм с последующим спуском, в случае необходимости, 101,6-мм хвостовика.
Технология управления скважиной по данному варианту изложена в разделах 7 - 9.
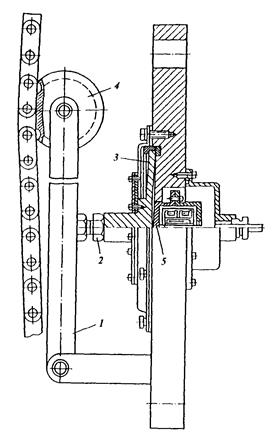
6.3 Конструкция и технология применения стационарного клапана-отсекателя
Разработаны два типоразмера стационарного клапана-отсекателя, технические характеристики которых приведена в таблице.
Управление КОС. Открытие - созданием давления в скважине и воздействием инструмента.
Закрытие – специальным инструментом (захват) в составе бурильной колонны или колонны НКТ
Таблица 6.1
| Наименование параметров | Типоразмер | |
| КОС-119-168 | КОС-124-178 | |
| 1. Диаметр эксплуатационный колонны, мм | 168 | 178 |
| 2. Диаметр проходного отверстия, мм | 119 | 125 |
| 3. Допустимый диаметр долота, мм | 114 | 120 |
| 4. Допустимый диаметр без муфтового хвостовика, мм | 102 | 114 |
| 5. Допустимый перепад давления на клапане, МПа | 30,0 | 27,0 |
| 6. Габаритные размеры (Æ´L), мм | 208´9000 | 216´9000 |
Преимущества КОС:
1) при закрытом КОСе обеспечивается безопасный спуско-подъем инструмента (бурильный, хвостовик. НКТ) в интервале выше установки КОС, без глушения скважины и герметизации устья;
2) управляемое закрытие КОС после заведения в него инструмента (долото и бурильная труба. НКТ);
3) управляемое открытие КОС в момент подхода инструмента к клапану-отсекателю;
4) безопасный спуск перфорированию хвостовика в интервале выше установки КОСа;
5) безопасный спуско-подъем НКТ в интервале выше КОСа при их установке и замене;
6) закрытие скважины на консервацию без глушения скважины (закрытом КОС).
6.3.1. Описание конструкции
На рис. 6.1 показан стационарный клапан-отсекатель (КОС) в открытом положении. Он состоит из собственно клапана-отсекателя, включающего хлопушку 1, седло 2 размещенных в корпусе 3, плунжера 4, соединенного при помощи спецмуфты 5 и патрубка 6 с захватом цанговой муфтой 7. Корпус 3 при помощи переводника 8 соединен с обсадной трубой 9 и муфтой 10 такого диаметра, как и эксплуатационная колонна, с которой он соединяется. В корпусе 3 так же размещен пружинный фиксатор 11 для фиксации плунжера в положении клапана «Закрыто».
На рис. 6.2 показан КОС в закрытом положении. С эксплуатационной колонной КОС соединяется муфтой 10 и переводником 12.
КОС спускается в скважину в открытом положении.
6.3.2. Последовательность операций при применении КОС
На рис. 6.3 показана схема применения стационарного клапана-отсекателя на примере КОС-119-168.
6.3.2.1. Компоновка низа эксплуатационной колонны: башмак, одна труба Æ 168 мм, обратный клапан, 50 м труб Æ 168 мм, КОС-119, обсадные трубы по устье скважины.
6.3.2.2. После спуска и эксплуатационной колонны производится ее цементирование по принятой технологии, см. схему рис. 6.3.
6.3.2.3. Для разбуривания обратного клапана и вскрытия продуктивного пласта в скважину спускается бурильный инструмент. При этом в состав КНБК включаются два обратных клапана КОБТ-95 и цанговый захват КОС-119-168.02 устанавливаемые над забойным двигателем.
Цанговый захват рис. 6.4 для управления закрытием КОСа после заведения долота в плунжер КОСа при подъеме инструмента.
При бурении и в начале подъема бурильного инструмента устье скважины должно быть загерметизированно.
Подъем бурильной колонны
6.3.2.4. Остановить промывку скважины, сбросить давление в БТ и со скоростью 0,15 м/с поднять бурильный инструмент до выхода из ротора ведущей рабочей трубы.
Зарегистрировать объем промывочной жидкости долитой в скважину.
Убедиться в постоянстве избыточного давления на устье скважины
(
).
6.3.2.5. Убедиться в герметичности уплотнительного элемента ВУГП на бурильной трубе, отрегулировать давление в системе гидроуправления до минимально необходимого значения, при котором отсутствуют пропуски.
Закрыть КШН на рабочей трубе.
Отвернуть рабочую трубу совместно с КШН и предохранительным переводником под ним и установить в шурф.
6.3.2.6. Снизить уровень промывочной жидкости в бурильных трубах на глубину h = 250 – 300 м нагнетанием азота.
Остановить подачу азота. Проверить закрытие дросселя и стабилизацию
. Снизить давление в трубах до атмосферного.
Снять нагнетательную головку с БТ. Проверить положение уровня эхолотом.
Примечание. Если в процессе действий по п.п. 6.3.2.4 и 6.3.2.6 выявлена негерметичность обратных клапанов в бурильной колонне, скважину следует заглушить перед подъемом бурильного инструмента.
При этом отметим, что вероятность отказа обоих клапанов, работающих в буровом растворе – нефти, весьма низка и не более, чем в других нештатных ситуациях, в которых возникает необходимость глушения скважины.
6.3.2.7. После заведения захвата в патрубок плунжера КОСа в бурильный инструмент сбрасывается шар Æ 40 мм и продолжается прокачка бурового раствора, см. схему, рис. 6.3.
При посадке шара на седло подвижной втулки давление в бурильных трубах повышается и при повышении давления на 3,0¸4,0 МПа цанговый захват срабатывает и его цанга упирается во внутреннюю поверхность трубы Æ140 мм соединенной с плунжером.
Далее продолжается подъем бурильного инструмента при этом цанга захвата попадает в карман муфты цанговой и при дальнейшем подъеме инструмента плунжер КОСа перемещается в верхнее положение, освобождая подпружиненную хлопушку КОСа, см схему рис. 6.3. Плунжер фиксируется в верхнем положении пружинным фиксатором рис 6.2.
При достижении крайнего верхнего положения осевая нагрузка на инструмент увеличивается на 20¸30 кН сверх массы инструмента, после чего цанговая муфта разжимается и освобождает цанговый захват, нагрузка резко снижается. В этот момент необходимо прекратить прокачку промывочного бурового раствора.
При этом цанговый захват возвращается в транспортное положение, а хлопушка клапана-отсекателя захлопывается, что можно проконтролировать по давлению в затрубном пространстве бурильного инструмента.
После этого устье скважины разгерметизируется, и дальнейший подъем бурильного инструмента производится без давления в скважине (над КОСом).
После подъема КНБК необходимо отсоединить цанговый захват и удалить из него шар.
При спуске КНБК снова устанавливается цанговый захват.
Спуск бурильного инструмента (или другого) до места установки КОСа так же производится при разгерметизированном устье.
6.3.2.8. В момент захода долота в плунжер КОСа, см. схему рис. 6.3 устье герметизируется, создается давление в затрубном пространстве с превышением давления раствора под хлопушкой КОСа на 3,0¸3,5 МПа.
При этом, благодаря увеличению дополнительной осевой нагрузки (от некомпенсированной площади плунжера) направленной вниз, плунжер преодолевает сопротивление фиксатора и смещается вниз, открывая хлопушку и закрывая ее от воздействия бурового раствора и инструмента. Клапан открыт.
6.3.2.9. Дальнейший спуск бурильного инструмента и бурение скважины так же осуществляются при герметизированном устье.
6.3.2.10. Спуск хвостовика на бурильных трубах или НКТ осуществляется аналогично.
Бурильные трубы также оборудуются разъединителем хвостовика, обратным клапаном и захватом.
Нижняя часть колонны НКТ должна спускаться, ниже КОСа и оборудована устанавливаемым срезным обратным клапаном и захватом. В этом случае возможна замена НКТ при закрытом КОСе.
6.3.2.11. Применение КОСа так же позволяет осуществлять консервацию скважины при закрытом КОСе, с последующей ее расконсервацией и запуском в эксплуатацию.
7. ТЕХНОЛОГИЯ УПРАВЛЕНИЯ СКВАЖИНОЙ ПРИ ВЫПОЛНЕНИИ СПУСКОПОДЪЕМНЫХ ОПЕРАЦИЙ С ИЗБЫТОЧНЫМ ДАВЛЕНИЕМ НА УСТЬЕ СКВАЖИНЫ
(в дальнейшем "Технология СПО")
Подготовительные работы
"Технология СПО" разработана на случай отказа в работе стационарного клапана-отсекателя (КОС-119) или его не включения в состав промежуточно-эксплуатационной колонны 168 мм.
Подготовительные работы должны быть проведены с максимальным перекрытием работ по углублению скважины.
7.1. Для компоновки бурильной колонны должны использоваться специально подготовленные УБТ, бурильные трубы и переводники.
В случае применения УБТ с проточками под элеватор на упорных торцах проточек должны быть сняты фаски под углом 18°.
На торцах ниппельной и муфтовой части замков и торцах соединительных муфт бурильных труб, а также переводников также должны быть сняты фаски под углом 18°.
Для СПО УБТ и бурильных труб должны быть подготовлены специальные элеваторы по 3 шт. каждого типоразмера. Сборка-разборка УБТ, в том числе гладких, может осуществляться с применением допускных замков (патрубков).
При сборке компоновки бурильной колонны и наращиваниях каждая труба (переводник) должна быть проверена внешним осмотром на наличие расслоений, задиров, заусенец и др. дефектов на теле труб, замков, муфт, переводников и конусных проточках, способных ускорять износ уплотнительных элементов превенторов.
7.2. На начальной стадии по вскрытию продуктивных горизонтов "Технология СПО" предусматривает необходимость проведения специального рейса для уточнения компьютерной программы по расчету гидродинамических сопротивлений движению вязкопластичных жидкостей.
Компоновка бурильной колонны при выполнении данного рейса должна включать: долото, забойный двигатель, обратный клапан, контейнер с глубинным манометром, УБТС, обратный клапан, контейнер с глубинным манометтром, бурильные трубы, шаровой кран (КШН), ведущую бурильную трубу и шаровой кран КШВ (операция подробно изложена в разд. 4).
7.3. Подготовить (проверить наличие и исправность) технических средств:
- резервные обратные клапаны, шаровые краны и переводники для перехода на УБТ – 2 компл.;
- нагнетательная головка под бурильные трубы для нагнетания азота и переводник для установки головки на УБТ – 1 компл.;
- штатный инструмент для проведения СПО бурильных труб и УБТ (ключи, элеваторы, клинья ПКР и др.).
7.4. Подготовить трубопровод для соединения азотного блока с нагнетательной головкой.
Трубопровод должен комплектоваться трубами диаметром 12 мм (трубы, используемые для обвязки азотного блока); в обвязку трубопровода должны быть включены понижающий газовый редуктор, вентиль для подачи и перекрытия азота, образцовый манометр на рабочее давление 40 кгс/см2 , присоединительная гайка к нагнетательной головке, отвод с вентилем для сброса азота из труб.
7.5. Подготовить эхолот для определения глубины уровня бурового раствора в трубах.
7.6. На блоке дросселирования как в процессе углубления скважины, так и при подъеме труб должен быть установлен образцовый манометр на рабочее давление, в 1,3 – 1,5 раза превышающее максимальное избыточное давление на устье скважины.
7.7. Проверить комплектность установки принудительных СПО для труб соответствующих типоразмеров. Подготовить установку для оперативного монтажа.
7.8. После заключительных работ по креплению скважины промежуточно-эксплуатационной колонной диаметром 168 мм, монтажа стволовой части ОП по схеме рис. 3.1 и дополнительного оборудования для вскрытия продуктивной толщи на депрессии, спустить КБТ с компоновкой по п. 7.2 и разбурить цементный стакан и башмак колонны.
7.8.1. Промыть скважину в течение двух циклов, заменить промывочную жидкость на вязкопластичную, предназначенную для вскрытия продуктивной толщи, поднять КБТ.
7.8.2. Спустить КБТ с компоновкой по п. 7.2 и провести исследования по уточнению гидродинамических расчетов, приведенных в разд. 5 (последовательность выполнения операций изложена в том же разделе).
7.8.3. После выполнения п. 7.8.2 поднять КБТ на глубину 500 м для определения сил сопротивления движению инструмента в герметизирующих уплотнительных элементах (устьевом герметизаторе-стриппере, ВУГП и плашечном превенторе). Сопоставить полученные результаты с заводскими испытаниями.
7.9. Приступить к определению сил сопротивления в уплотнительных элементах при подъеме бурильных и утяжеленных бурильных труб по телу и по протаскиванию замковых соединений. Предварительно проверить и выполнить следующие расчеты:
F = ±
(7.1)
где F – результирующая сила,
Qp – выталкивающая сила, обусловленная действием избыточного давления на устье герметизированной скважины.
QA – Архимедова сила из условия частичного или полного опорожнения КБК (эти условия диктуются необходимостью дискретного снижения уровня жидкости в трубах на 250 – 300 м во избежание ее разлива на устье скважины при подъеме инструмента.
Qq – вес КБТ в воздухе.
Q тр – усилие на преодоление сил трения в герметизированном элементе.
7.10. Возможные состояния КБТ в скважине:
7.10.1.
, КБТ находится в состоянии безразличного равновесия.
7.10.2.
, КБТ считается "легкой" и способной к выбросу из скважины.
7.10.3.
, КБТ считается "тяжелой" выброс ее невозможен
7.10.4. Расчет Q р
Q
р
= 0,785·D
2
·
(7.2)
где D – наружный проверяемый диаметр элемента бурильной колонны или УБТ (тело, замковое соединение);
- избыточное давление на устье скважины после двухцикловой промывки от шлама и остановки циркуляции;
=
(7.3)
где
- избыточное давление на устье при вскрытии продуктивных пластов; принимается равным 0,5 МПа;
DРтр – потери давления на трение в затрубном пространстве;
DРдеп – депрессия на пласт.
7.10.5. Расчет Q А
Частичное опорожнение КБТ
SQA = QA 1 + QA 2 + QA 3 (7.4)
где QA
1
= 0,785 · ![]()
QA
2
= 0,785 · ![]()
QA
3
= 0,785 · ![]()
Полное опорожнение КБТ
SQA = QA 1 + QA 2 (7.5)
где QA
1
= 0,785 · ![]()
QA
2
= 0,785 · ![]()
где d н , d вн , D н , D вн – наружные и внутренние диаметры бурильных труб и УБТ соответственно;
l 1 – длина опорожненных бурильных труб;
l 2 – длина бурильных труб с промывочной жидкостью;
l 3 – длина УБТ с промывочной жидкостью
l 4 – длина опорожненных УБТ.
7.10.6. Расчет Qq
Qq 1 = q БТ (l 1 +l 2 ) + q УБТ ·l 3 + Q ВЗД – при частичном опорожнении (7.6)
Qq 2 = q БТ ·l 1 + q УБТ ·l 4 + Q ВЗД – при полном опорожнении (7.7)
где q БТ – вес погонного метра бурильных труб в воздухе с учетом веса замковых соединений;
q УБТ – вес погонного метра УБТ в воздухе;
Q ВЗД – вес винтового забойного двигателя
7.10.7. Расчет Q тр
В общем виде сила сопротивления движению инструмента в уплотнительном элементе определяется формулой
Q тр = f · Рупл · pDh (7.8)
где f – коэффициент трения, зависящий от материала уплотнительного элемента;
Рупл – давление в гидросистеме станции управления ОП;
H – высота активной части плашки или герметизатора ВУГП (стриппера).
Расчет Q тр по (7.8) носит чисто условный характер и обязательно должен проверяться при заводских испытаниях с протаскиванием имитатора бурильной трубы, замкового соединения и УБТ и подтверждаться промысловыми испытаниями.
7.11. При нахождении КБТ на глубине 500 м (см. п. 7.8.3) произвести ее расхаживание на длину одной трубы и зарегистрировать нагрузку на крюке F при установившемся движении инструмента со скоростью 0,15 – 0,20 м/с.
7.12. Закрыть верхний плашечный превентор, создать давление в затрубном пространстве равное
и при давлениях в гидросистеме станции управления ОП Рупл
= (40, 60, 80 и 100) кгс/см2
произвести расхаживание инструмента на длине одной трубы со скоростью 0,15 – 0,20 м/с.
Зарегистрировать вес на крюке G 1, G 2 , G 3 иG 4 .
7.13. Повторить операции по предыдущему пункту с герметизацией КБТ на ВУГП.
Зарегистрировать вес на крюке при расхаживании инструмента по телу трубы G 5, G 6 , G 7 иG 8 и по протаскиванию замковых соединенийG 9, G 10 , G 11 иG 12 .
7.14. Операцию по п. 7.12 повторить с герметизацией КБТ на бурильной трубе в устьевом герметизаторе-стриппере и зарегистрировать вес на крюке соединений G 13, G 14 , G 15 иG 16 .
7.15. Поднять из скважины бурильные трубы, оставив УБТ и забойный двигатель с долотом.
Повторить операции по п. 7.12 с герметизацией УБТ на ВУГП.
Зарегистрировать вес на крюке при расхаживании УБТ со скоростью 0,10 – 0,15 м/с G 17, G 18 , G 19 иG 20 .
7.16. Вычислить силы сопротивления движению инструмента в уплотнительных элементах ОП, используя полученные результаты G 1 – G 20 при давлениях в гидросистеме станции управления Рупл = 40, 60, 80 и 100 кгс/см2 .
Вес на крюке G = (Qq + Q тр ) – (Qp + QA ) (7.9)
Q тр = (G + Qp + QA ) – Qq (7.10)
По полученным результатам составить таблицу для практического пользования (см. численный пример к "Технологии СПО", приложение 1).
7.17. Расчет глубины (l ) нахождения КБТ в состоянии безразличного равновесия.
(Qp + QA ) = (Qq + Q тр ) с учетом сил трения в герметизаторе.
(Qp + QA ) = Qq – без учета сил трения в герметизаторе.
7.17.1.1.Без учета Q тр при полном опорожнении КБТ
(7.11)
где D – наружный диаметр элемента КБТ, который пропускается через герметизатор
l = l БТ + l УБТ + l ВЗД (7.12)
В (7.11) известные значения D
,
,
d
БТ
,
D
УБТ,
l
УБТ
,
l
ВЗД
,
q
БТ
,
q
УБТ
и
Q
ВЗД
и только l
БТ
является неизвестной величиной, которая и определяется из приведенного равенства.
Знание величины l необходимо для принятия решения по режиму подъема КБТ и выбору установки для принудительных СПО.
7.18. Расчет грузоподъемности установки для принудительных СПО
Расчет осуществляется по максимальной величине выталкивающей силы со стороны скважины с учетом коэффициента запаса.
В общем случае максимальная результирующая сила определяется по формуле
(7.13)
Наибольшая величина F , когда поднимается (спускается) последняя свеча УБТ с забойным двигателем.
Грузоподъемность установки необходимая для безопасных работ по СПО должна быть равной: F СПО = а F
где F – максимальная величина выталкивающей силы;
а – коэффициент запаса.
По рекомендациям зарубежных производителей установок для работ под давлением коэффициент а должен быть равным 1,40 – 1,45.
7.19. Основные условия и рекомендации по выполнению СПО под давлением:
7.19.1. "Технология СПО" предусматривает максимальное использование полиспастовой системы буровой установки и устанавливает границу перехода на подъем (спуск) с использованием спецустановки.
7.19.2. "Технология СПО" базируется на минимальных сопротивлениях в герметизирующих элементах ОП, при которых отсутствуют пропуски промывочной жидкости, т.е. при минимальных давлениях в гидросистеме управления (условия наиболее благоприятные для повышения ресурса герметизатора).
7.19.3. Для успешной реализации работ по СПО следует максимально использовать стриппер в качестве устьевого герметизатора и только при появлении малейших пропусков продолжить операцию с использованием ВУГП.
7.19.4. Скорость выполнения СПО ограничивается величиной избыточного давления на устье скважины и при
=10-30 кгс/см2
должна быть не более 0,30 – 0,35 м/с, а при более высоких значениях
скорость СПО не должна превышать 0,20 – 0,25 м/с, протаскивание замковых и муфтовых соединений ограничивается скоростью не более 0,10 м/с.
7.19.5. Для предотвращения разлива бурового раствора при подъеме труб принять глубину дискретного опорожнения последних h = 250 – 300 м.
Давление на устье равное
поддерживается в автоматическом режиме с помощью САУД, а выходящий из скважины раствор принимается в рабочую емкость с регистрацией объема системой АМКД.
7.19.6. Долив скважины осуществляется после подъема каждой свечи, при это давление на цементировочном агрегате не должно превышать установленного
.
7.19.7. При переходе с подъема бурильных труб на УБТ произвести регулирование давления в системе гидроуправления ВУГП применительно к УБТ.
7.19.8. Подъем УБТ осуществляется с таким расчетом, чтобы последней поднималась полная по длине свеча с учетом длины забойного двигателя.
7.19.9. При положении долота выше глухих плашек (нижний спаренный превентор) на 0,4 – 0,5 м приостановить подъем и закрыть глухие плашки. Плавно через дроссель снизить давление в шлюзовой камере до атмосферного. Убедиться в герметичности глухих плашек превентора. Открыть ВУГП и закончить подъем.
7.19.10.В процессе подъема инструмента постоянно вести учет и контроль с регистрацией в специальном журнале (Журнал СПО) следующих параметров (данных):
- вес на крюке при неподвижном инструменте и в процессе движения;
- накопительный объем долитого раствора в скважину, соотношение фактического объема с расчетным;
- накопительный объем раствора, вытесненного азотом из бурильных труб при подъеме инструмента;
- избыточное давление (диапазон колебаний) на устье скважины через каждую поднятую свечу;
- работоспособность САУД;
- герметичность уплотнительных элементов ОП, дискового дросселя и обратных клапанов;
- величину давления в гидросистеме управления плашечными превенторами и ВУГП, отрегулированного для каждого элемента бурильного инструмента (тело трубы, замковое соединение, УБТ).
7.20. Технология проведения работ
7.20.1. Закончить вскрытие продуктивной толщи с регламентированной динамической депрессией DРдеп .
7.20.2. Промыть скважину в течение 2-х циклов с поддержанием заданного избыточного давления
на устье.
После каждого цикла промывки отобрать пробы в пробоотборнике циркуляционной системы и убедиться в качестве проведенной очистки промывочной жидкости от шлама и попутного газа.
7.20.3. Остановить циркуляцию. Закрыть дроссель. Наблюдать за избыточным давлением на устье скважины. При установившемся избыточном давлении
будет иметь место равенство (7.3) и забойное давление станет равным пластовому.
Давление
должно поддерживаться постоянным в продолжение всего периода подъема инструмента.
7.20.4. Отрегулировать систему САУД по программе
=const
, отрегулировать систему дискретного долива скважины.
7.20.5. Со скоростью 0,15 м/с поднять бурильный инструмент до выхода из ротора рабочей трубы.
Зарегистрировать объем промывочной жидкости долитой в скважину.
Убедиться в постоянстве
=const
.
Убедиться в герметичности уплотнительного элемента ВУГП на бурильной трубе, отрегулировать давление в системе гидроуправления до минимально необходимой величины.
Закрыть КШН на рабочей трубе.
Отвернуть и установить в шурф рабочую трубу.
7.20.6. Снизить уровень промывочной жидкости в бурильных трубах на глубину h = 250 – 300 м нагнетанием азота.
При снижении уровня в трубах
поддерживается в автоматическом режиме системой САУД, промывочная жидкость принимается в рабочую емкость с регистрацией уровня системой АМКД.
7.20.7. Остановить подачу азота. Проверить закрытие дросселя и стабилизацию
=const
.
Снизить давление в трубах до атмосферного. Снять нагнетательную головку с бурильных труб. Проверить положение уровня эхолотом.
7.20.8. Навернуть без докрепления машинными ключами бурильную трубу на КБТ, закрыть трубные плашки верхнего превентора, разгрузить колонну, отвернуть бурильную трубу и поднять ее из скважины.
7.20.9. Установить и надежно закрепить устьевой герметизатор на ВУГП.
Пропустить бурильную трубу через полиуретановый элемент и соединиться с КБТ.
7.20.10.Задать и поддерживать скорость подъема инструмента:
- от забоя до глубины на 75-100 м выше башмака промежуточно-эксплуатационной колонны – 0,15-0,20 м/с;
- продолжить подъем со скоростью 0,20 – 0,25 м/с;
- через каждые 500 м поднятых труб увеличивать скорость подъема на 0,05 – 0,10 м/с, но не более 0,35 м/с;
- протаскивание замковых соединений труб со скоростью не более 0,10 м/с;
- для УБТ – 0,20-0,25 м/с.
7.20.11.После подъема 75% опорожненных труб определение глубины нахождения уровня в инструменте производить эхолотом через каждую поднятую свечу.
7.20.12.Подъем труб необходимо приостановить при нахождении уровня раствора в верхней от устья свече.
Выполнить очередной цикл операций по опорожнению труб, повторив действия по п.п. 7.20.6 – 7.20.7.
7.20.13.Продолжить подъем труб в описанном выше порядке до глубины перехода на подъем инструмента спецустановкой. Расчет глубины перехода производится в приложении 3.
Приостановить подъем инструмента, раскрепить последнюю свечу от КБТ, закрыть верхний плашечный превентор, разгрузить КБТ на плашки, отвернуть свечу и установить ее на подсвечник.
7.20.14.Демонтировать ротор, демонтировать устьевой герметизатор и смонтировать установку для принудительного выполнения СПО в соответствии с инструкцией по эксплуатации.
Спецустановкой является установка для принудительных СПО под давлением на устье скважины. Может быть использована установка УПС-1 с максимальным усилием задавливания 850 кН и рабочим ходом 2000 мм или другая в гидравлическом исполнении и грузоподъемностью не менее 250 кН из имеющихся на вооружении в противофонтанных военизированных частях (отрядах).
7.20.15.Последнюю операцию по опорожнению труб от раствора осуществить из расчета нахождения уровня раствора над долотом на высоте 10-15 м, не допуская нагнетания азота ниже долота.
7.20.16.При переходе на УБТ произвести регулирование давления в системе гидроуправления ВУГП применительно к УБТ.
Подъем УБТ осуществлять с таким расчетом, чтобы последней поднималась полная по длине свеча (с учетом забойного двигателя).
Перед подъемом последней свечи снизить уровень раствора в инструменте до долота.
7.20.17.При положении долота выше глухих плашек (нижний превентор) на 0,25 – 0,30 м приостановить подъем и закрыть глухие плашки. Плавно с помощью дросселя снизить давление в камере между нижним превентором и ВУГП до атмосферного. Убедиться в герметичности глухих плашек превентора.
7.20.18.Открыть ВУГП, закончить подъем инструмента. Долить скважину.
7.20.19.Весь персонал, участвующий в работах по заканчиванию скважин в депрессионных условиях, должен пройти обучение и инструктаж по специальным программам.
Программы должны содержать вопросы техники, технологии, правила безопасного ведения работ и пожаробезопасности в объеме, определяемом характером предстоящих работ. Программы разрабатываются ОАО НПО "Бурение" совместно с соисполнителями (Краснодарский компрессорный завод, Воронежский механический завод, ООО "БурГеоСервис" г. Тверь). Программы согласовываются с органами Госгортехнадзора.
7.20.20.Работы по СПО под давлением должны выполняться только в светлое время суток.
8. ТЕХНОЛОГИЯ СПУСКА НАСОСНО-КОМПРЕССОРНЫХ ТРУБ ПРИ НАЛИЧИИ ИЗБЫТОЧНОГО ДАВЛЕНИЯ НА УСТЬЕ СКВАЖИНЫ
Исходное положение
8.1. Продуктивный пласт вскрыт в условиях депрессии.
8.2. В процессе последующих работ (геолого-геофизические исследования, крепление скважины потайной колонной-хвостовиком) скважина постоянно заполнена дегазированным очищенным от шлама буровым раствором (нефть) плотностью r.
8.3. Указанные работы проведены с поддержанием на устье избыточного давления из условия предотвращения поступления пластового флюида (нефть с газом) в ствол скважины.
8.4. Максимальное избыточное давление на устье скважины Риз к моменту начала спуска НКТ составляет:
, (8.1)
где Рпл – пластовое давление по кровле продуктивного пласта, кгс/см2
Ргс – гидростатическое давление бурового раствора, кгс/см2 ;
Н – глубина кровли продуктивного пласта по вертикали, м.
8.5. На устье скважины установлены (см. схему) снизу-вверх:
- колонная головка;
- трубная головка фонтанной арматуры для подвески НКТ (без верхней части корпуса);
- спаренный превентор плашечный (нижние плашки глухие, верхние – трубные);
- крестовина ОП;
- плашечный превентор (плашки трубные);
- катушка с боковым отводом;
- превентор универсальный вращающийся.
8.6. Инструмент в скважине отсутствует. Устье скважины герметизировано нижним превентором глухими плашками. Блок дросселирования закрыт, и соответствующие задвижки манифольдной обвязки закрыты.
Подготовительные работы.
Необходимые технические средства
8.7. Подготовительные работы должны быть проведены с максимальным перекрытием предшествующих работ в скважине.
8.8. Подготовить штатный инструмент для спускоподъемных операций НКТ.
8.9. Насосно-компрессорные трубы (НКТ).
НКТ безмуфтовые типа НКБ по ГОСТ 633-80 помимо обычной подготовки (внешний осмотр, контроль резьб, шаблонирование и др.) специальной подготовки не требуют.
В случае использования гладких НКТ с муфтовыми соединениями на торцах (нижнем и верхнем) муфт должны быть сняты фаски под углов 18° к оси трубы.
НКТ диаметром 73 мм с толщиной стенки 5,5 мм должны быть прошаблонированы жестким шаблоном диаметром 60 мм.
8.10. Комплект устройств для оборудования НКТ глухой съемной пробкой, включающий:
8.10.1. Нижнюю посадочную муфту с глухой пробкой в сборе.
8.10.2. Захватное устройство для посадки и извлечения глухой пробки – 2 шт.
8.10.3. Ясс механический для снятия глухой пробки.
8.10.4. Ясс гидравлический для снятия глухой пробки.
8.10.5. Грузовые штанги для спуска и работы яссом – 3 шт.
8.10.6. Башмачный патрубок НКТ длиной 300 – 400 мм с муфтой.
Патрубок должен иметь срез ("перо") по телу длиной 100 – 120 мм, на муфте сняты фаски под углом 18°.
8.10.7. Короткая труба НКТ (патрубок) для сборки компоновки "башмачный патрубок – нижняя посадочная муфта (с пробкой) – короткая НКТ – верхняя посадочная муфта" и спуска компоновки до глухих плашек превентора с расположением верхней посадочной муфты над стационарным захватом установки принудительных СПО.
Длина НКТ (патрубка) рассчитывается с учетом фактических габаритных размеров стволовой части ОП и высоты положения превентора с глухими плашками.
Позиции 8.10.1 – 8.10.6 конструкции и поставки ОАО НПО "Бурение". Могут быть использованы яссы другой имеющейся конструкции.
8.11. Трубные плашки превенторов под НКТ (Æ 73 мм) – 2 компл.
8.12. Устьевой герметизатор-стриппер под НКТ с переходной катушкой для установки на верхний плашечный превентор (см. п. 3.12 Регламента).
8.13. Комплект устройств для оборудования устья скважины после спуска НКТ:
8.13.1. "Груша" для подвески НКТ в трубной головке.
8.13.2. Верхний корпус трубной головки.
8.13.3. Клапан обратный устьевой BPV.
8.13.4. Задвижка фонтанной арматуры центральная; фонтанная арматура.
8.13.5. Уплотнительные кольца, крепежные детали для монтажа.
8.13.6. Двухниппельный патрубок длиной 450 – 500 мм для присоединения "груши" к НКТ.
8.14. Установка для принудительных СПО труб (для спуска НКТ под давлением).
Выбор установки по грузоподъемности и длине стержня перехвата осуществляется в соответствии с расчетом (см. ниже).
8.15. Лубрикатор для подъема из скважины через фонтанную арматуру компоновки "глухая пробка – захватное устройство – ясс – грузовые штанги" на тросе.
8.16. Цементировочный агрегат (ЦА) для долива НКТ при спуске, приема вытесняемого из скважины бурового раствора и регулирования давления в стволовой части ОП.
На каждом отсеке приемного бака ЦА должна быть мерная шкала с дополнительной градуировкой (при ее отсутствии) через каждые 50 л объема. Необходимо использовать ЦА с дисковыми затворами, разделяющими отсеки приемного бака, как более надежные по сравнению с тарельчатыми клапанами.
Линия приема бурового раствора в ЦА присоединяется к отводу блока дросселей, а также к подпорному насосу.
Линия долива должна быть:
- подведена к устью скважины и через шарнирные колена заканчиваться Г-образным патрубком Æ 42 – 48 мм;
- иметь отвод на манифольдную обвязку стволовой части ОП перед блоком дросселирования;
- иметь отвод для откачивания излишнего бурового раствора в приемную емкость, например, через свободный отвод пробоотборника.
Перед началом спуска НКТ один отсек приемного бака ЦА заполнен буровым раствором (нефтью) из приемной емкости.
Расчет необходимой грузоподъемности установки для спуска НКТ под давлением
Расчет необходимой грузоподъемности осуществляется из условия обеспечения необходимого максимального заталкивающего усилия F макс спуска труб.
Максимальное заталкивающее усилие имеет место в начале спуска НКТ и составляет:
, (8.2)
где F в – выталкивающая сила, обусловленная избыточным давлением на устье скважины;
Fc – сопротивление движению труб (муфт) в стриппере;
F т – вес в воздухе компоновки низа НКТ (длина 5 – 6 м).
Принимаем Fc и F т как взаимоисключаемые, незначительные в рассматриваемом случае по величине. Тогда F макс = F в .
(8.3)
Здесь D – наружный диаметр НКТ.
Необходимая грузоподъемность установки определяется по выражению
, (8.4)
где к – коэффициент запаса на грузоподъемность; к = 1,43 ¸ 1,45.
Принимается установка с грузоподъемностью не менее F у .
Выбор установки по длине хода (длине перехвата)
Из соображений ускорения спуска НКТ целесообразно использование установки с длиной хода не менее длины одной трубы (L» 10 м).
8.17. Произвести следующие расчеты:
8.17.1.
, (8.5)
где d – внутренний диаметр НКТ.
8.17.2.
(8.6)
8.17.3.
, (8.7)
где Е – модуль упругости материала труб; Е = 2,1 · 106 кг/см2 ;
s т – предел текучести материала труб, кг/см2 .
(8.8)
8.18. При желаемой длине перехвата L имеем:
(8.9)
8.18.1. Допустимая максимальная длина перехвата соответствует условию
и рассчитывается по формуле:
(8.10)
8.18.2. При соотношении
допустимая длина перехвата L
рассчитывается по формуле:
(8.11)
8.19. Принимается установка для спуска НКТ под давлением, соответствующая грузоподъемности F у и необходимой длине перехвата L у = (1,43 ¸ 1,45)L .
Вспомогательные расчеты
8.20. Рассчитать длину спущенных НКТ L п без долива их, при которой наступает состояние так называемой "плавающей колонны". За такое состояние принимается положение, когда вес НКТ по воздуху достигает величины выталкивающей силы F в , обусловленной избыточным давлением на устье скважины.
, (8.12)
где q – вес 1 п.м. НКТ по воздуху.
8.21. Рассчитать объем спускаемых в скважину каждой трубы НКТ vc и нарастающий объем V с с учетом нахождения в НКТ глухой пробки:
(8.13)
, (8.14)
где
- длина спущенной трубы в соответствии с мерой колонны;
к – коэффициент, учитывающий увеличение объема за счет муфт или соединительных концов труб, рассчитываемый в соответствии с типоразмером НКТ;
п – количество спущенных труб.
8.22. Рассчитать внутренний объем спускаемых в скважину НКТ v в и нарастающий объем V в :
(8.15)
, (8.16)
Порядок проведения работ
8.23. Вторую снизу пару плашек сдвоенного превентора (секция 3 рис. 1) и плашки верхнего превентора (секция 5 рис. 1) заменить на трубные плашки под диаметр НКТ.
8.24. Демонтировать ВУГП с тройниковой катушкой.
8.25. Установить на верхнем плашечном превенторе через переходную катушку стриппер под НКТ.
8.26. Смонтировать установку для принудительного спуска НКТ.
Захваты стационарного и подвижного блоков установки включить в режим "выталкивание".
8.27. Собрать на мостках буровой установку "башмачный патрубок – нижняя посадочная муфта с вмонтированной глухой пробкой – короткая НКТ (патрубок) – верхняя посадочная муфта без пробки".
8.28. Прокрепляя резьбовые соединения, пропустить собранную компоновку через стриппер, расположив башмачный патрубок на высоте 200 – 250 мм над глухими плашками нижнего превентора.
Камера над уплотнительным элементом стриппера должна быть заполнена нефтью для смазывания спускаемых труб
8.29. Нарастить трубу НКТ.
8.30. Осуществить захват трубы подвижным захватным устройством установки принудительного спуска труб с учетом расчетной длины перехвата L .
8.31. Герметизировать манифольдную обвязку стволовой части ОП. Убедиться в герметичности стриппера.
8.32. С помощью ЦА создать в камере между превентором с глухими плашками и стриппером давление Риз .
8.33. Открыть превентор с глухими плашками.
8.34. Приступить к спуску НКТ с использованием установки принудительного спуска в соответствии с инструкцией по ее эксплуатации и соблюдением длины перехвата L .
8.35. Соблюдать следующий режим движения труб:
- от устья скважины, не доходя 200 – 250 м до "головы" хвостовика-фильтра (до башмака промежуточно-эксплуатационной колонны, если хвостовик не спускался) – 0,35 ¸ 0,25 м/с;
- далее, до проектной глубины спуска труб – 0,20 ¸ 0,15 м/с;
- пропуск муфт (соединений труб) через стриппер – 0,05 ¸ 0,10 м/с.
8.36. После спуска каждой трубы необходимо:
- открыть дроссель на блоке дросселирования;
- принять в приемный бак ЦА буровой раствор объемом v с , убедиться в снижении возросшего давления на устье до величины Риз , закрыть дроссель и продолжить спуск НКТ;
8.37. Спуск НКТ до достижения общей длины L п (см. выше), т.е. до достижения состояния "плавающей колонны", осуществляется без долива буровым раствором.
Это предотвращает проскальзывание труб в клиновых захватах установки принудительного спуска труб и возможный "полет" НКТ.
8.38. После спуска НКТ длиной L п с помощью ЦА осуществляется долив труб.
После заполнения труб и перевода тем самым спущенной части НКТ из состояния "плавающая колонна" в состояние "тяжелая колонна" дальнейший спуск осуществляется талевой системой буровой установки.
8.39. При доливе колонны по п. 8.38 необходимо проконтролировать соответствие фактического объема долитого бурового раствора расчетному.
8.40. После действий по п. 8.38 дальнейший спуск НКТ осуществлять с доливом через каждые 5 – 7 спущенных труб со сбросом объема Vс через каждую спущенную трубу.
8.41. Перед спуском последней трубы НКТ дальнейшие работы проводятся в следующем порядке.
8.41.1. Заполнить трубы буровым раствором. Убедиться в герметичности глухой пробки по отсутствию перелива бурового раствора из труб.
8.41.2. Присоединить и закрепить последнюю трубу НКТ.
8.41.3. Спустить колонну труб до выхода соединения предшествующей трубы из стриппера, не заходя соединением в верхний превентор. Нижерасположенное соединение труб при этом будет находиться ниже трубных плашек спаренного превентора.
8.41.4. Закрыть трубные плашки обоих превенторов.
8.41.5. С помощью ЦА создать давление в камере между превенторами величиной, в полтора раза превышающей величину избыточного давления
.
8.41.6. Снизить давление под стриппером до атмосферного, принимая излившийся буровой раствор в бак ЦА.
8.41.7. Отрегулировать давление в гидросистеме управления верхним превентором до минимально необходимой величины, при которой сохраняется герметичность превентора.
8.41.8. Снизить давление в камере между превенторами до атмосферного. Отрегулировать давление в системе гидроуправления нижним превентором до минимально необходимой величины, исключающей пропуск. Закрыть дроссель. Оставить закрытыми оба превентора.
8.41.9. Отсоединить крепление переходной катушки к верхнему превентору и к манифольдной обвязке стволовой части ОП.
8.41.10. С помощью вспомогательной лебедки БУ приподнять переходную катушку со стриппером на высоту, позволяющую разместить на верхнем превенторе элеватор под НКТ.
8.41.11. Приподнять колонну НКТ и подвесить ее на элеваторе на верхнем превенторе.
8.41.12. Отсоединить и приподнять верхнюю трубу НКТ. Убрать с устья стриппер с переходной катушкой.
8.41.13. Присоединить и закрепить последнюю трубу колонны НКТ.
8.41.14. Приподнять колонну НКТ, убрать элеватор с превентора.
8.41.15. Открыть трубные плашки верхнего превентора.
8.41.16. Спустить колонну НКТ со скоростью 0,05 – 0,10 м/с, расположив соединение НКТ над трубными плашками нижнего превентора, не доходя 0,3 – 0,5 м. Открыть дроссель. Снизить давление на устье (под нижним превентором) до величины Риз . Закрыть дроссель.
8.41.17. Закрыть верхний превентор. С помощью ЦА создать в камере между превенторами давление величиной Риз .
8.41.18. Открыть плашки нижнего превентора.
8.41.19.Продолжить спуск верхней НКТ, расположив муфту трубы для сборки подвесной груши. Снизить давление на устье до величины Риз .
8.41.20. Присоединить грушу через двухниппельный патрубок к верхней НКТ. Присоединить допускную трубу НКТ нормальной длины. Закрепить резьбовые соединения.
8.41.21. Спустить НКТ, расположив грушу над верхним превентором на высоте 0,3 – 0,5 м.
На верхней трубе заранее нанести метку, соответствующую точной длине расстояния от опорного выступа посадочного гнезда трубной головки до верхней плоскости верхнего превентора.
8.41.22. Снизить давление на устье до величины Риз .
8.41.23. Повторить операции шлюзования. Грушу при этом расположить над трубной головкой на высоте 0,3 – 0,5 м.
8.41.24. Снизить давление на устье до величины Риз . Верхний превентор при этом закрыт, нижний открыт.
8.41.25. Допустить грушу до трубной головки и плавно посадить в посадочное гнездо. Метка на допускной трубе должна расположиться при этом на уровне верхней плоскости верхнего превентора.
8.41.26. Разгрузить КНТ на трубной головке.
8.41.27. Зафиксировать грушу в трубной головке стопорными винтами в соответствии с инструкцией по монтажу головки.
8.41.28. Плавно с шагом 5 кгс/см2 снизить давление в камере между трубной головкой и верхним превентором до атмосферного. Убедиться в герметичной посадке груши в головке.
Спуск НКТ закончен.
8.42. Демонтировать стволовую часть ОП до трубной головки.
8.43. Закончить монтаж трубной головки в соответствии с инструкцией по ее монтажу и испытанию давлением.
8.44. Установить на трубной головке центральную (коренную) задвижку фонтанной арматуры, испытать давлением.
В таком положении осуществляется передвижка БУ на новую точку бурения.
8.45. После передвижки БУ устье законченной скважины оборудуется фонтанной арматурой.
8.46. Для скважины в эксплуатационный фонд глухая пробка извлекается из НКТ с использованием лубрикатора, тросового подъемника и специальных скважинных устройств (захват, ясс, грузовые штанги) в соответствии с инструкцией разработчика пробки (ОАО НПО "Бурение").
ПРИЛОЖЕНИЕ № 1
ГИДРАВЛИЧЕСКИЕ РАСЧЕТЫ ДЛЯ ПСЕВДОПЛАСТИЧНЫХ ЖИДКОСТЕЙ
1. Определение производительности насосов
Находим минимальную подачу бурового раствора, необходимую для подъема шлама в кольцевом пространстве:
, л/с
где Dc , d н – соответственно диаметр скважины, равный Dc = D дол Ккав или D с = D вн.колонны и наружный диаметр бурильных труб, м;
V зтр – скорость течения раствора в затрубном пространстве.
Скорость течения в затрубном пространстве, необходимая для выноса шлама, обычно принимается 0,4 – 0,6 м/с.
2. Потери давления
Определение потерь давления в трубах и затрубном пространстве производится для всех соотношений диаметров.
2.1. Определение потерь давления в наземной обвязке
Для определения потерь давления (МПа) в обвязке наземного оборудования можно использовать следующее уравнение:
(1)
где hпл – пластическая вязкость, мПа·с, Q, л/с, r, г/см3 .
Значение коэффициента Е приведены в таблице П1.
Таблица П1
| № | Стояк | Буровой шланг |
Вертлюг | Ведущая труба |
Константа Е´10-6 | ||||
| Длина, м | Внутренний диаметр, м | Длина, м | Внутренний диаметр, м | Длина, м | Внутренний диаметр, м | Длина, м | Внутренний диаметр, м | ||
| 1 | 12,2 | 76,2 | 12,2 | 50,8 | 1,2 | 50,8 | 12 | 57,1 | 8,8 |
| 2 | 12,2 | 88,9 | 16,8 | 63,5 | 1,5 | 63,5 | 12 | 82,5 | 8,3 |
| 3 | 13,7 | 101,6 | 16,8 | 76,2 | 1,5 | 63,5 | 12 | 82,5 | 1,8 |
| 4 | 13,7 | 101,6 | 16,8 | 76,2 | 1,8 | 76,2 | 12 | 101,6 | 1,4 |
2.2. Определение потерь давления в трубах
1) Рассчитывается "К" и "п" для средней скорости сдвига, учитывая, что t0 = 0,511j.
Вначале определяем
t600 = 2hпл + t0 /0,511 и t300 =hпл + t0 /0,511
где hпл – мПа·с, t0 – Па.
;
, Па·сп
(2)
Рассчитываем j100 (100 об/мин – это 170 с-1 )

2) Рассчитываем показатели "К" и "п " для низкой скорости сдвига, используя j100 по Фанну при 3 об/мин (j3 )

(3)
3) Определяем скорость течения раствора в трубах (м/с)
(4)
где Q – расход, л/мин
d тр – внутренний диаметр бурильных труб, м
4) Определяем скорость сдвига (g, с-1 ) в трубах
(5)
Если g < 170 – используются Книз и пниз .
Если g > 170 – используются Кср и пср .
5) Определяем значение критической скорости (м/с) жидкости в трубах из выражения:
(6)
6) Если средняя скорость потока жидкости в трубах больше критической (V тр > V тр.крит ), то поток турбулентный и для определения потерь давления в трубах необходимо использовать уравнение:
(7)
где L – длина труб, м
7) Если средняя скорость жидкости в трубах меньше критической (V тр < V тр.крит ), то поток ламинарный и для определения потерь давления в трубах следует применять уравнение:
(8)
2.3. Определение потерь давления в затрубном пространстве
1) При движении раствора в кольцевом пространстве для определения потерь давления находим среднюю скорость по формуле:
(9)
2) Определяем скорость сдвига в затрубном пространстве
(10)
Если g < 170 – используются Книз и пниз .
Если g > 170 – используются Кср и пср .
3) Определяем критическую скорость в затрубном пространстве
(11)
4) Если средняя скорость течения жидкости больше критической и справедливо соотношение (V зтр > V затр.крит ), то поток в кольцевом пространстве турбулентный и для определения потерь давления необходимо использовать формулу:
(12)
5) Если средняя скорость течения жидкости в затрубном пространстве меньше критической и справедливо соотношение (V зтр < V затр.крит ), то поток в кольцевом пространстве ламинарный и для определения потерь давления требуется применять формулу:
(13)
2.4. Определение потерь в замках
1) Потери в замках (в случае неравнопроходного сечения)
(14)
где
(15)
где d 0 – диаметр меньший;
l т – длина одной трубы, м
2) При турбулентном режиме Рз находится по методу эквивалентной длины
(16)
l вычисляется по аппроксимационной формуле Доджа-Метцнера:
l = а (Re' )- b (17)
где а и b – безразмерные коэффициенты, определяемые в зависимости от "п "
| п | 0,2 | 0,3 | 0,4 | 0,6 | 0,8 | 1,0 | 1,4 | 2,0 |
| а | 0,258 | 0,274 | 0,285 | 0,296 | 0,061 | 0,031 | 0,322 | 0,330 |
| b | 0,349 | 0,325 | 0,307 | 0,281 | 0,263 | 0,250 | 0,231 | 0,213 |
Re' – обобщенный критерий Рейнольдса

3) Местные потери от замков и муфт к кольцевом пространстве
(18)
2.5. Определение потерь давления в долоте
1) Перепад давления на долоте
РД = Рнас – (Робв + Ртр + Рзатр + РУБТ + РУБТ.затр + Рз + РМ )
2) Скорость выхода струи жидкости (м/с) из насадок долота определяется по формуле
(19)
3) Общая площадь поперечного сечения (мм2 ) насадок долота
(20)
где Q – подача насосов, л/с
4) Диаметр (мм) насадки долота
(21)
2.6. Гидротранспорт шлама
1) Определяем размер частицы шлама в зависимости от типа долота
d ш = 0,0035 + 0,037D Д – для долот типа С (22)
d ш = 0,0020 + 0,035D Д = для долот типа СТ и Т
где D Д - диаметр долота, м.
Определяем толщину плоских частиц шлама:
h
ш
=
(23)
2) Определяем напряжение сдвига на границе с частицей, Па
(24)
где rш , rр – плотность шлама и бурового раствора соответственно, г/см3
3) Определяем скорость сдвига на границе с частицей
(25)
Если
< 170, проводит пересчет значения
с использованием "К" и "п
" для низких скоростей сдвига
4) Определяем критическую скорость сдвига
(26)
Если
>
, то режим обтекания частицы ламинарный.
Если
<
, то режим обтекания частицы турбулентный.
5) Определяем скорость осаждения частицы (м/с)
· для ламинарного режима:
(27)
· для турбулентного режима:
(28)
6) Находим скорость гидротранспорта шлама V в , м/с
V в = V ср – u (29)
7) Находим концентрацию частиц шлама в буровом растворе, которая для исключения осложнений не должна превышать для буровых растворов 5%, а для воды – 2%.
(30)
где Vмех – механическая скорость бурения, м/час;
Dс – диаметр скважины, м;
Q – производительность насоса, м3 /с
, % (31)
8) Находим эквивалентную плотность бурового раствора с учетом концентрации шлама в растворе и гидравлических сопротивлений в затрубном пространстве
(32)
и
(33)
где rбр – плотность бурового раствора, г/см3 ;
rш – плотность шлама, г/см3 ;
Сш – концентрация шлама в буровом растворе, %
- суммарные гидравлические сопротивления в кольцевом пространстве, кг/см2
L – глубина скважины, м
ПРИЛОЖЕНИЕ 2
Газонасыщение промывочной жидкости
Движение газожидкостной смеси
Здесь следует иметь в виду, что после остановки циркуляции избыточное давление
возрастет на величину
(1)
где DРдеп – депрессия на пласт;
DРтр – гидродинамические сопротивления в кольцевом пространстве.
По рекомендациям Международной конференции буровых подрядчиков по проблеме бурения на депрессии избыточное давление на устье (
) при промывке скважины не следует превышать более 5 – 10 кгс/см2
.
Расчет газификации жидкости для статических условий
,
(2)
где G ст – расход азота в стандартных условиях (Р0 = 1,033 кгс/см2 , Т=20 °С;
Рзаб – забойное давление (устанавливается исходя из требуемой величины депрессии), МПа;
- давление на устье герметизированной скважины, МПа;
rж – плотность исходной псевдопластичной жидкости, кг/м3 ;
g – ускорение свободного падения, м/с2 ;
Н – глубина скважины, м;
rг – плотность азота в стандартных условиях, кг/м3 ;
Тср – средняя температура по стволу, °С.
Для оценки влияния гидродинамических сопротивлений на фиксированное значение Рзаб
, расчеты по (2) ведутся для
= 1, 1,5 и 2 МПа
Средняя температура по стволу скважины определяется по формуле
(3)
Расчет объема азотированной жидкости при Рзаб
= const и
определяется по формулам
(4)
(5)
Далее определяют интегральное значение G заб и G уст
(6)
По полученным трем значениям G инт определяются средние скорости восходящего потока газожидкостной смеси
(7)
где q – производительность насосной группы, м3 /с;
Dвн – внутренний диаметр эксплуат. колонны (ствола скважины), м;
dн – наружный диаметр бурильной колонны, м.
По фиксированному значению Рзаб
= Рпл
- DРдеп
и
= 1; 1,5; и 2,0 МПа определить плотность газожидкостной смеси в затрубном пространстве
(8)
Далее определяем скорость сдвига в затрубном пространстве
(9)
Если
< 170 – используются Книз
и п
низ
при низких скоростях.
Если
> 170 – используются Кср
и п
ср
при высоких скоростях. Реологические характеристики определяются по результатам замеров на вискозиметре Фанн или Реотест.
Определяем критическую скорость движения из соотношения (11) Приложения 1, где r - определяется по (8) настоящего Приложения.
Если средняя скорость течения газожидкостной смеси больше критической и справедливо соотношение
, то поток в кольцевом пространстве турбулентный и для определения потерь давления необходимо использовать формулу (12) Приложения 1.
Если средняя скорость течения жидкости меньше критической и справедливо соотношение
, то поток в кольцевом пространстве ламинарный и для определения потерь давления требуется применять формулу (13) Приложения 1.
Местные потери от замков в кольцевом пространстве определяются по (18) Приложения 1, где r - по (8) и v ср - по (7) Настоящего Приложения.
Численный пример расчета газонасыщения промывочной жидкости и гидродинамических потерь движения в затрубном пространстве.
Исходные данные:
1. Глубина скважины Н = 1230 м.
2. Пластовое давление Рпл = 9,0 МПа.
3. Забойное давление Рзаб = 7,5 МПа (DРдеп = 1,5 МПа).
4. Плотность исходной промывочной жидкости в стандартных условиях rж = 900 кг/м3 .
5. Показатель поведения потока п = 0,69.
6. Коэффициент консистенции псевдопластичной жидкости К = 0,58 Па·сп .
7. Пластическая вязкость h = 52 мПа·с
8. Подача насоса q = 6 л/с или 0,36 м3 /мин.
9. Наружный диаметр бурильной колонны d н = 89 мм.
10. Внутренний диаметр обсадной колонны D вн = 150,1 мм.
11. Плотность азота в стандартных условиях rг = 1,165 кг/м3 .
12. Температура на устье Туст = 10 °С
13. Температура на забое Тзаб = 26 °С.
По (2) выполнить расчеты G ст :
· для
= 1 МПа

При q
= 6 л/с или 0,36 м3
/мин Gст1
= 22,65·0,36 = 8,15
Максимальная производительность азотной станции СДА-10/101 Qг
= 10 м3
/мин, т.е. достигается возможность создания DРдеп
= 1,5 МПа при
= 1 МПа.
· для
= 1,5 МПа

или 32,2·,36 = 11,6 Ошибка! Ошибка связи. , т.е. одной азотной станции СДА-10/101 становится недостаточно и требуется подключение второй СДА-5/101.
· для
= 2 МПа

или 44,1·0,36 = 15,8 Ошибка! Ошибка связи.
Отсюда 2-х азотных станций СДА-10/101 и СДА-5/101 становится практически достаточно.
Учитывая результаты расчетов гидродинамических сопротивлений, изложенных в разделе 3 для кольцевого пространства негазированной псевдопластичной жидкости:
- q = 6 л/с при концентрации УТЖ VIP = 4% DРтр = 1,2 МПа;
- q = 6 л/с при концентрации УТЖ VIP = 6% DРтр = 1,35 МПа.
Далее выполняем расчеты по определению сил сопротивлений при движении газонасыщенной псевдопластичной жидкости
Определяем объем азотированной жидкости при Рзаб = 7,5 МПа и Руст = 2,0 МПа. Для G ст 3


По (6) определяем их интегральное значение

По (7) средняя скорость движения газожидкостной смеси в затрубном пространстве
м/с
По (8) определяем среднюю плотность газожидкостной смеси в затрубном пространстве
кг/м3
Определяем скорость сдвига в затрубном пространстве
с-1
и для расчета критической скорости используем формулу (11) Приложения 1.
м/с
т.е. v кр > v ср = 1,2 м/с и по формуле (13) Приложения 1 определим потери давления
,11 МПа
ПРИЛОЖЕНИЕ 3
Численный пример к технологии спускоподъемных операций при избыточном давлении на устье скважины
Исходные данные
1. Глубина скважины Н = 1230 м.
2. Пластовое давление Рпл = 90 кгс/см2
3. Исходная плотность псевдопластичной жидкости r = 900 кг/м3 .
4. Потери давления на трение в кольцевом пространстве на глубине 1230 м при q
= 6 – 8 л/с ![]()
5. Избыточное давление на устье скважины при вскрытии продуктивного горизонта,
= 5,0 кгс/см2
6. Компоновка колонны бурильных труб:
- долото СЗ-ГАУ-R203 Æ139,7 – 144,0 мм;
- забойный двигатель Д1-105;
- два обратных клапана КОБ-95;
- два контейнера с глубинными манометрами МИКОН-107;
- бурильные трубы Æ 88,9 мм (APIS-135, d = 9,35 мм с замками Æ 127 мм и q = 20,41 кг/п.м;
- шаровой кран нижний КШН-120 (З-102 с защитным переводником);
- ведущая рабочая труба ВРТШ-89;
- шаровой кран верхний КШВ-178 (З-147);
7. Внутренний диаметр эксплуатационной колонны D вн = 150 мм;
8. Внутренний диаметр бурильных труб d вн = 70,2 мм
9. Вес забойного двигателя q ВЗД = 180 кг.
10. Длина ВЗД - 3,74 м.
Усилия на преодоление сил трения в зависимости от давлений в гидросистеме управления ОП-180´35 и на устье скважины (
)
Усилие на преодоление сил трения в ВУГП, кгс
Таблица П3
| Давление по ВУГП, кгс/см2 (устье скважины, Ризб) | Давление в гидросистеме управления, кгс/см2 | |||
| 40 | 60 | 80 | 100 | |
| 20 | Qтр – (40´20) | Qтр – (60´20) | Qтр – (80´20) | Qтр – (100´20) |
| 15 | Qтр – (40´15) | Qтр – (60´15) | Qтр – (80´15) | Qтр – (100´15) |
| 10 | Qтр – (40´10) | Qтр – (60´10) | Qтр – (80´10) | Qтр – (100´10) |
| 5 | Qтр – (40´5) | Qтр – (60´5) | Qтр – (80´5) | Qтр – (100´5) |
Qтр определяется для БТ 89 мм, замковых соединений Æ 127 мм и ВЗД Æ 105 мм.
Аналогично таблица П4 составляется для бурильных труб с герметизацией в плашечном превенторе.
Далее по исходным данным выполняются следующие расчеты.
По (7.2) при
= 20, 15, 10 и 5 кгс/см2
выполнить расчеты по определению выталкивающей силы Q
р
для БТ, замков и ВЗД.
= 20 кгс/см2
1. Q р = 0,785·8,92 ·20 = 1243 кг – по телу
Q р = 0,785·12,72 ·20 = 2532 кг – по замку
Q р = 0,785·10,52 ·20 = 1731 кг – по ВЗД
= 15 кгс/см2
2. Q р = 0,785·8,92 ·15 = 933 кг – по телу
Q р = 0,785·12,72 ·15 = 1899 кг – по замку
Q р = 0,785·10,52 ·15 = 1298 кг – по ВЗД
= 10 кгс/см2
3. Q р = 0,785·8,92 ·10 = 622 кг – по телу
Q р = 0,785·12,72 ·10 = 1266 кг – по замку
Q р = 0,785·10,52 ·10 = 866 кг – по ВЗД
= 5 кгс/см2
4. Q р = 0,785·8,92 ·5 = 311 кг – по телу
Q р = 0,785·12,72 ·5 = 633 кг – по замку
Q р = 0,785·10,52 ·5 = 433 кг – по ВЗД
По полученным значениям Q р определить глубину l , на которой колонна бурильных труб будет находиться в состоянии безразличного равновесия, т.е. Qр + QА = Qq (без учета сил сопротивления в герметизирующем элементе)
5. Подъем с протаскиванием бурильных труб по телу
Q
р
= 1243 кг при
= 20 кгс/см2
Архимедова сила, действующая на бурильные трубы
QA 1 = 0,785·0,0892 (l – 3,74)·900 = (5,6l – 20,93) кг
Архимедова сила, действующая на ВЗД
QA 2 = 0,785·0,1052 ·3,74·900 = 29,1 кг
S(QA 1 + QA 2 ) = 5,6l – 20,93 + 29,1 = 5,6l + 8,17
6. Вес в воздухе БТ длиной (l – 3,74) м
Qq 1 = (l – 3,74)·20,41
Суммарный вес в воздухе БТ длиной (l – 3,74) и ВЗД
SQq = (l – 3,74)·20,41 + 180 = 20,41l + 103,7
7. Приравниваем:
S(QA 1 + QA 2 ) + Qр = SQq
5,6l – 20,93 + 29,1 + 1243 = 20,41l + 103,7
Откуда l = 78 м
8. Подъем с протаскиванием замковых соединений
Q
р
= 2532 кг при
= 20 кгс/см2
5,6l – 20,93 + 29,1 + 2532 = 20,41l + 103,7
Откуда l = 164,5 м
9. Подъем с протаскиванием ВЗД
Q
А
=29,1 кг, Q
р
= 1731 кг при
= 20 кгс/см2
29,1 + 1731 = 1760 кг и при qВЗД = 180 кг результирующая сила F = -1580 кгс, т.е. колонна "легкая" и выброс возможен.
Аналогичным образом выполняем расчеты для
= 15, 10 и 5 кгс/см2
.
Результаты расчетов сведены в таблицу П4.
Таблица П4
| Протаскивание по телу | Протаскивание по замку | Протаскивание ВЗД, F, кгс | |||||||
SQA + SQР, кгс |
SQq , кгс | F, кгс | l , м | SQA + SQР, кгс |
SQq , кгс | F, кгс | l , м | ||
| 20 | 1685 | 1685 | 0 | 78 | 3461 | 3461 | 0 | 165 | -1580 |
| 15 | 1257 | 1257 | 0 | 57 | 2589 | 2589 | 0 | 122 | -1147 |
| 10 | 829 | 829 | 0 | 36 | 1717 | 1717 | 0 | 79 | -715 |
| 5 | 401 | 401 | 0 | 15 | 844 | 844 | 0 | 36 | -282 |
Примечание.
1. Расчеты выполнены без учета сил сопротивления в герметизирующем элементе.
2. l – глубина нахождения бурильной колонны, на которой наступает состояние безразличного равновесия.
При QА + QР = Qq колонна бурильных труб находится в состоянии безразличного равновесия (F = 0).
При QА + QР > Qq колонна бурильных труб считается "легкой" и способна к выбросу из скважины (F < 0).
При QА + QР < Qq колонна бурильных труб считается "тяжелой" и выброс невозможен. (F > 0)
Технология подъема КБТ при избыточном давлении на устье скважины (в дальнейшем "Технология")
1. "Технология" предусматривает максимальное использование полиспастовой системы буровой установки и устанавливает границу перехода на подъем с использованием спецустановки.
2. Технология базируется на минимальных сопротивлениях в герметизирующих элементах, при которых отсутствуют пропуски промывочной жидкости, т.е. при минимальных давлениях в гидросистеме управления (условия наиболее благоприятные для повышения ресурса герметизатора).
Подъем КБТ в режиме № 1
Поднять бурильный инструмент со скоростью 0,15 – 0,20 м/с до выхода из ротора рабочей трубы.
Зарегистрировать объем бурового раствора долитого в скважину.
Убедиться в постоянстве избыточного давления на устье скважины, Ризб = const .
Убедиться в герметичности уплотнительных элементов устьевого герметизатора (стриппера) и ВУГП на бурильной трубе.
Отрегулировать давление в гидросистеме управления ВУГП до минимальной величины, при которой отсутствуют пропуски.
Закрыть КШН на рабочей трубе.
Отвернуть и установить в шурф рабочую трубу.
Снизить уровень бурового раствора в бурильных трубах на глубину h = 250-300 м нагнетанием азота от баллонов азотного блока.
При снижении уровня в трубах:
- поддерживать на устье Ризб = const с помощью САУДа;
- выходящий из скважины буровой раствор принимать в рабочую емкость с регистрацией его объема;
- остановить подачу азота, проверить закрытие дросселя и стабилизацию Ризб = const .
Подъем инструмента с забоя скважины до глубины 200 м (см. табл. П4) сопровождается условием (Qp + QA ) < Qq , т.е. КБТ "тяжелая" и выброс невозможен.
Для успешной реализации работ по подъему инструмента в данном режиме следует:
- максимально использовать стриппер в качестве устьевого герметизатора, и только при появлении малейших пропусков продолжить подъем с использованием ВУГП;
- скорость подъема инструмента ограничивается по телу трубы до 0,25 м/с, протаскивание замковых соединений – не более 0,10 м/с;
- подъем труб осуществляется свечами с непрерывным доливом скважины и поддержанием на устье избыточного давления Ризб = 20 кгс/см2 (давление поддерживается в автоматическом режиме системой САУД)
Подъем КБТ в режиме № 2
С глубины 200 м дальнейший подъем осуществляется следующим образом:
- остановить движение инструмента, расположив очередное замковое соединение в районе крестовины ОП;
- закрыть нижний плашечный превентор;
- плавно сбросить давление до атмосферного в шлюзовой камере (нижний плашечный превентор – ВУГП);
- со скоростью 0,10 м/с протащить замок через ВУГП;
- создать в шлюзовой камере прежнее избыточное давление Ризб = 20 кгс/см2 ;
- открыть нижний плашечный превентор;
- продолжить подъем и остановить движение инструмента при заходе очередного замка в камеру шлюзования;
- операция по подъему методом шлюзования повторяется, а с глубины 165 м осуществляется в режиме № 3.
Подъем КБТ в режиме № 3
Работа по подъему выполняется персоналом буровой вахты совместно со специалистами военизированного отряда.
При достижении глубины нахождения КБТ 165 м остановить подъем и закрыть нижний плашечный превентор.
Смонтировать установку для принудительных СПО.
Продолжить подъем с одновременным использованием указанной установки с полиспастовой системой буровой установки.
Учитывая длительность монтажа канатно-полиспастовой установки для принудительных СПО и весьма сложный процесс ее эксплуатации по подъему инструмента, эффективнее в этом случае использовать гидравлическую установку, имеющуюся на вооружении военизированного отряда.
Существенным недостатком и этих установок является чрезвычайно малая высота рабочего хода – высота перехвата 1,3 ¸ 1,5 м.
Для подъема одной трубы длиной 12,5 м надо выполнить около 10 перехватов, что значительно замедляет темп подъема.
Основываясь на перечисленных технических недостатках канатно-полиспастовых и гидравлических установок, настоящим Регламентом предлагается следующий порядок проведения подъема инструмента с глубины 165 м:
1. Закрыть нижний плашечный превентор, и сбросить давление в шлюзовой камере.
2. В верхнем плашечном превенторе установить удерживающие плашки под тело бурильных труб Æ 89 мм.
3. Создать в шлюзовой камере избыточное давление
=20 кгс/см2
и открыть нижний плашечный превентор.
4. Сбросить избыточное давление с 20 кгс/см2 до 5 кгс/см2 и дать команду на подъем труб и долив скважины. Со скоростью 0,25 – 0,30 м/с поднять очередную свечу на высоту, достаточную для размещения элеватора. В целях обеспечения безопасных условий включить превентор с удерживающими плашками.
Закрыть дроссель. Отвернуть свечу и установить ее на подсвечник.
5. Оценка ситуации на начало подъема.
Архимедова сила
кгс.
Сила, вызванная действием избыточного давления Ризб = 5 кгс/см2
кгс.
Вес инструмента в воздухе
кгс.
Результирующая сила F = 3471 – (931 + 310) = 2230 кгс.
Выброс инструмента исключается.
Дальнейшие расчеты сведены в таблицу.
Таблица
| Действующие силы, кгс | Глубина расположения бурильных труб, м | |||
| 165 | 100 | 50 | 28 | |
| QА – Архимедова сила | 931 | 568 | 288 | 148 |
| Qp – сила, вызванная Ризб | 310 | 310 | 310 | 310 |
| Qq – вес инструмента в воздухе | 3471 | 2145 | 1124 | 614 |
| Fтр – результирующая сила по телу трубы | 2230 | 1267 | 526 | 156 |
| Fзам – результирующая сила по замку | 1907 | 944 | 203 | -167 |
Данные приведены без учета сил трения в герметизирующем элементе.
Из приведенной таблицы следует, что при кратковременном снижении избыточного давления с Ризб = 20 кгс/см2 до Ризб = 5 кгс/см2 создаются благоприятные условия для подъема бурильных труб без риска их произвольного выброса.
Оценка объема пластового флюида, поступившего в скважину за период подъема инструмента при сниженном давлении на устье.
Скорость подъема v п = 0,25 м/с.
Время подъема, t п = 165/(0,25·60) = 11 мин.
Проектный дебит скважины, Q Т = 60 м3 /сут.
Приток флюида за период подъема
м3
.
Высота столба поступившего флюида
м.
ПРИЛОЖЕНИЕ 4
Профилактические мероприятия по предупреждению возникновения открытого фонтанирования скважин при вскрытии продуктивного пласта в депрессионных условиях
Настоящий проект Регламента носит соподчиненный характер по отношению к:
- "Инструкции по организации и проведению профилактической работы по предупреждению возникновения открытого фонтанирования скважин на предприятиях нефтяной промышленности", утвержденной Первым заместителем Министра энергетики И.А Матлашовым и Заместителем Министра РФ по делам гражданской обороны, чрезвычайным ситуациям и ликвидации последствий стихийных бедствий М.И.Фалеевым. Инструкция введена в действие приказом Минэнерго России от 15.02.2001 г. № 52.
- "Правилам безопасности в нефтяной и газовой промышленности", утв. постановлением Госгортехнадзора РФ 05.06.2003 г № 56 (ПБНГП).
- "Технологии управления скважиной при газонефтеводопроявлениях в различных горно-геологических условиях" РД 39-0147009-544-87.
- Требования указанных нормативных документов обязательны для профессиональных аварийно-спасательных формирований – противофонтанных военизированных частей (ПФВЧ) и предприятий, осуществляющих работы по бурению, испытанию, эксплуатации и ремонту нефтяных и газовых скважин независимо от организационно-правовой формы этих предприятий.
1. Учитывая особенности технологии вскрытия продуктивных пластов в депрессионных условиях, настоящим проектом Регламента предопределяется:
1.1. Основная цель внедряемой "Технологии…" – вскрытие продуктивного горизонта с регулируемым притоком пластового флюида.
1.2. Основная задача профилактической работы – недопустимость перерастания регулируемого притока в неуправляемый процесс (открытый фонтан).
1.3. Условия, при которых руководитель работ принимает решение на аварийное глушение скважины .
1.3.1. В процессе углубления скважины:
- выход из строя вращающегося превентора;
- выход из строя системы САУД;
- потеря герметичности обратных клапанов;
- неуправляемое возрастание притока пластового флюида;
- выход из строя станции управления ПВО.
1.3.2. В процессе СПО:
- потеря герметичности одного или двух плашечных превенторов;
- потеря герметичности вращающегося превентора;
- выход из строя системы САУД.
1.4. Требования к основному и дополнительному оборудованию, техническим средствам и инструменту.
1.4.1. Требования базируются на основополагающих пунктах раздела 1.5. "Правил безопасности в нефтяной и газовой промышленности" (ПБ 08-624-03).
1.4.2. С учетом требований раздела 1.5. в настоящий проект Регламента включены (см. том II – приложение к проекту Регламента) копии:
1.4.2.1. Разрешение Госгортехнадзора России на применение Комплекса противовыбросового оборудования с условным проходом стволовой части Dу 180 мм и рабочим давлением Рр 70, 35 и 21 МПа по техническим условиям 239-610-00ТУ для объектов нефтяной и газовой промышленности (изготовитель ФГУП "Воронежский механический завод").
1.4.2.2. Сертификат соответствия на "Аппаратурно-методический комплекс для сбора, контроля, обработки, визуализации, архивации и передачи данных о процессе вскрытия пластов на депрессии АМК-ВПД (изготовитель ООО "БурГеоСервис", регистрационный номер сертификата -–ССГП 01.1.1-025).
1.4.2.3. Сертификат соответствия на "Станции компрессорные передвижные, запасные и составные части к ним по ТУ 3643-009-00217745-02 – серийный выпуск (изготовитель ОАО "Компрессорный завод" г. Краснодар).
1.4.2.4. Разрешение Госгортехнадзора РФ на применение "Комплекса оборудования для разделения твердых, жидких и газообразных фаз в составе промывочной жидкости при избыточном давлении 1ДЦС 00.00.000 (изготовитель ОАО НПО "Бурение").
1.4.2.5. Руководство по эксплуатации с альбомом схем и чертежей на оборудование по п.п. 1.4.2.1 – 1.4.2.4.
1.4.2.6. Схема установки и обвязки противовыбросового оборудования.
1.4.3. До установки на устье скважины превенторы вместе в крестовинами и коренными задвижками должны опрессовываться водой.
1.4.4. После спуска эксплуатационной колонны в кровлю продуктивного пласта и монтажа ПВО, до разбуривания цементного стакана превенторная установка до концевых задвижек манифольдов высокого давления должны опрессовываться водой на давление опрессовки эксплуатационной колонны.
Межколонное пространство опрессовывается водой, а приустьевая часть эксплуатационной колонны совместно с колонной и трубной головками и ПВО дополнительно опрессовываются азотом.
Выкидные линии после концевых задвижек опрессовываются водой на давление Роп = 10 МПа.
Результаты опрессовки оформляются актом.
1.4.5. После монтажа и обвязки составных элементов комплекса дополнительного оборудования (ПВО, САУД, АМКД, СДА-10/101 и насосной группы) осуществляется проверка надежности функционирования каждого элемента системы в отдельности и комплекса в целом.
Испытания ведутся по замкнутой системе (минуя скважину) в соответствии с инструкциями по эксплуатации указанных составных элементов. После устранения возможных замечаний испытания продолжаются с промывкой через скважину.
По результатам испытаний составляются акт и протокол испытаний и принимается решение комиссии на ввод комплекса в эксплуатацию.
1.4.6. До разбуривания цементного стакана выполнить работы по гидродинамическим исследованиям течения псевдопластичной жидкости.
Поднять колонну бурильных труб, выполнить расшифровку показаний глубинных манометров для выбора режима вскрытия продуктивного пласта.
1.4.7. Спустить колонну бурильных труб и приступить к разбуриванию цементного стакана с выходом из башмака эксплуатационной колонны на 1,0 – 1,5 м и в соответствии с п. 2.2. "Инструкции по испытанию обсадных колонн на герметичность", Москва, 1999 г. опрессовать цементное кольцо.
Составить акт опрессовки.
1.4.8. Следует иметь в виду, что все корпуса плашечных превенторов, включая превентор с глухими плашками, обустроены внутренними отводами, которые, при необходимости, (аварийная ситуация) могут быть использованы вместо крестовины.
1.4.9. На весь период работ по вскрытию продуктивного горизонта между руководителем работ, бурильщиком, буровым мастером, механиком (слесарем) насосной группы и операторами комплекса дополнительного оборудования должна надежно функционировать оперативная связь.
1.4.10. Рабочее место руководителя работ – выносное табло АМКД с четырьмя основными параметрами (давление перед дросселем, текущий дебит, плотность газожидкостной смеси на входе и выходе из скважины).
Рядом с руководителем работ постоянно находится ответственный представитель ОАО НПО "Бурение", как разработчик технологии.
1.4.11. В обязанности бурового мастера входит контроль за темпом заполнения компенсационных емкостей.
При наличии двух емкостей объемом 40 м3 каждая и при текущем дебите по жидкости q = 3 л/с, емкости будут заполнены через время
час
В такой ситуации, чтобы не останавливать процесс вскрытия, следует заранее предусмотреть самовывоз пластовой продукции.
|
Команда руководителя поступает на пульт управления САУД и немедленно исполнятся оператором.
1.4.13. Через каждые 5 наращиваний бурильной колонны проверяется состояние плашечных превенторов путем "закрытия-открытия" на бурильной трубе и создания давления в шлюзовой камере.
Процесс испытания:
· сбросить давление в бурильной колонне;
· поднять рабочую трубу и закрыть шаровой кран КШН-120;
· отвернуть рабочую трубу и установить ее в шурф;
· закрыть нижний плашечный превентор и медленно сбросить давление через дисковый дроссель;
· закрыть дисковый дроссель;
· при отсутствии поступления промывочной жидкости на блок дросселирования (контроль по давлению) считать превентор пригодным к дальней эксплуатации;
· закрыть верхний плашечный превентор и создать давление в шлюзовой камере, используя байпасную обвязку с Ропр = 15,0 МПа;
· при отсутствии поступления промывочной жидкости на блок дросселирования (контроль по давлению) превентор считается пригодным к дальнейшей эксплуатации;
· открыть дроссель и медленно сбросить давление в шлюзовой камере;
Продолжить процесс наращивания.
1.4.14. Помимо основных требований раздела 1.7 ПБ 08-624-03, связанных с организацией труда и аттестацией работников, персонал, участвующий в процессе вскрытия продуктивного пласта в условиях депрессии, проходит дополнительное обучение по программе в соответствии со своими служебными обязанностями.
1.4.14.1. Курс обучения включает пять программ:
· основные положения проекта Регламента;
· правила эксплуатации комплекса противовыбросового оборудования и системы автоматического управления дросселем (САУД);
· правила эксплуатации комплекса оборудования для разделения твердой, жидкой и газообразной фаз в составе промывочной жидкости;
· правила эксплуатации аппаратурно-методического комплекса (АМКД);
· правила работы с универсальной технологической жидкостью УТЖ VIP.
1.4.14.2. После теоретического и практического курсов обучения каждый работник сдает экзамен и аттестуется с правом ведения работ.
1.4.14.3. Руководящий технический персонал (главный инженер, службы главного механика и главного технолога, производственно-технического отдела) обязаны пройти обучение по всем пяти программам и быть аттестованы на право ведения работ
1.4.14.4. Обучение проводят высококачественные специалисты ФГУП ВМЗ, ООО "БурГеоСервис" и ОАО НПО "Бурение".
В комиссию по аттестации включаются руководящие работники отдела по надзору за горнотехническими работами, а также работники военизированного отряда.
1.4.15. Руководитель работ с участием ответственного специалиста Ноябрьского военизированного отряда с каждой вахтой проводят учебную тревогу "Выброс".
1.4.16. При учебной тревоге "Выброс" отрабатываются действия членов буровой вахты в ситуациях, изложенных в п. 1.3, т.е. в процессе углубления скважины и в процессе СПО.
1.4.17. Выход из строя вращающегося превентора (пропуск в герметизирующем элементе).
1.4.17.1. Руководитель работ подает команды:
· бурильщику – "Остановить насос";
· машинисту СДА-10/101 – "Остановить подачу азота";
· механику станции управления – "Плавно увеличить давление герметизации (20 ® 30 ® 40 ® 50 кгс/см2 )".
При отрицательных результатах (пропуск продолжается) бурильщику подается команда – "Поднять рабочую трубу, закрыть верхний плашечный превентор".
1.4.17.2.
· "Приступить к замене газожидкостной смеси в скважине на дегазированную псевдопластичную жидкость";
· "Промыть скважину с противодавлением на устье до полной ликвидации газа (азота и попутного газа) в системе циркуляции";
· "Остановить промывку скважины и установить контроль за изменением давления на устье". При отсутствии роста давления в затрубном пространстве, сбросить давление в бурильной колонне, убедиться в герметичности обратных клапанов, закрыть КШН-120, отвернуть рабочую трубу и установить ее в шурф, снизить уровень жидкости в бурильных трубах (азотом).
1.4.17.3.Под руководством руководителя работ с участием ответственного представителя – разработчика проекта Регламента, члены вахты методом шлюзования осуществляют подъем бурильных труб в башмак эксплуатационной колонны.
Обязанности бурильщика – не превышать регламентированной скорости подъема V = 0,10 – 0,15 м/с.
Обязанности членов вахты – в соответствии со штатным расписанием.
1.4.17.4. Бурильщик под руководством бурового мастера выполняет операцию по разгрузке бурильных труб на плашки нижнего превентора, отворачивает и поднимает допускную трубу и совместно с членами вахты и механиком ПВО выполняет работу по замене герметизирующего элемента вращающегося превентора.
1.4.18. Выход из строя системы САУД (автоматического пульта управления дисковым дросселем).
1.4.18.1. Выполнить переход на ручное управление кольцевым дросселем.
Дальнейшие операции по управлению скважиной аналогичны п.п. 1.4.17.2 – 1.4.17.4.
1.4.19. Выход из строя станции управления ПВО. Поднять инструмент на высоту рабочей трубы, закрыть вручную верхний плашечный превентор.
Дальнейшие операции по управлению скважиной аналогичны п.п. 1.4.17.2 – 1.4.17.4.
1.4.20. Потеря герметичности обратных клапанов. Промыть скважину дегазированной псевдопластичной жидкостью до полного удаления газа в системе циркуляции.
Приступить к замене промывочной жидкости на утяжеленную с плотностью r = 1100 – 1120 кг/м3 .
После замены установить контроль за изменением давления в трубах и затрубном пространствах.
При отсутствии роста давления приступить к подъему колонны бурильных труб.
1.4.21. Отказ оборудования при СПО.
1.4.21.1. Потеря герметичности одного или двух плашечных превенторов.
Приступить к допуску колонны бурильных труб до глубины, достаточной для контроля над скважиной при замене промывочной жидкости на утяжеленную с r = 1100 – 1120 кг/м3 .
При потере герметизации вращающегося превентора допуск инструмента выполнить методом шлюзования.
При выходе из строя системы САУД сделать переход на ручное управление кольцевым дросселем.
ОСОБЫЕ ТРЕБОВАНИЯ
1. На весь период вскрытия продуктивного пласта в условиях депрессии обеспечить постоянное дежурство двух пожарных машин, машину скорой помощи и цементировочного агрегата.
2. Обеспечить запас утяжеленной промывочной жидкости.
ПРИЛОЖЕНИЕ 5
Геофизические исследования скважин с горизонтальным окончанием ствола при наличии избыточного давления на устье
Геофизические исследования выполняются в строгом соответствии с требованиями "Правил геофизических исследований и работ в нефтяных и газовых скважинах", утвержденных 28.12.1999 г. приказом № 323 Министерства природных ресурсов РФ и приказом № 445 Министерства топлива и энергетики РФ, а также с учетом требований "Правил безопасности в нефтяной и газовой промышленности", утвержденных Постановлением Госгортехнадзора РФ за № 56 от 5 июня 2003 г.
Настоящим проектом Регламента предопределяется проведение геофизических исследований в нефтяных и газовых скважинах с наклонно-направленным, пологим и горизонтальным окончанием ствола в условиях наличия избыточного давления (Ризб ) на устье. При этом особую сложность представляет доставка геофизических приборов в горизонтальную часть ствола скважины.
В отечественной практике для исследования скважин с горизонтальным окончанием ствола широкое распространение получили системы спуска геофизических приборов в специальных контейнерах на бурильных трубах с передачей информации по геофизическому кабелю, пропущенному с помощью специальных переводников за колонной БТ (сервисная компания TPG – Тюменьпромгеофизика, оборудование "Горизонталь-1").
Оборудование "Горизонталь-2" предусматривает спуск спецконтейнера на бурильных трубах с последующим соединением по силовому кабелю электробура. Оборудование "Горизонталь-3" спускается в скважину на бурильных трубах в горизонтальный участок на всю длину стеклопластиковых труб. После допуска труб геофизический прибор спускается на кабеле до искривленного участка ствола, а затем продавливается промывочной жидкости на забой.
Проведение геофизических исследований в скважине с избыточным давлением на устье требует обязательного включения в бурильную колонну двух обратных клапанов для защиты от воздействия газожидкостного потока.
В этой связи оборудование "Горизонталь-1", "Горизонталь-2" и "Горизонталь-3" неприемлемо, т.к. требует открытого прохода для соединения геофизического кабеля со спецконтейнером. "Оборудование "Горизонталь-1" не может быть использовано и по другой причине.
Для допуска до забоя геофизических приборов в спецконтейнере спуск бурильных труб осуществляется при наличии кабеля, закрепленного с внешней стороны БТ, что исключает процесс полной герметизации устья скважины. Учитывая неприемлемость перечисленного оборудования, настоящий проект Регламента рекомендует для ГИС в скважинах с горизонтальным окончанием ствола использовать автономный аппаратурно-методический комплекс (АМК) "Горизонт-90". Последний предназначен для ГИС автономным комплексным прибором на бурильных трубах методами ГК, НК-20, НК-40, НГК-60, КС (4 симметричных зонда), ПС и инклинометрии.
ТЕХНОЛОГИЯ ГЕОФИЗИЧЕСКИХ ИССЛЕДОВАНИЙ
Вариант 1 – в состав эксплуатационной колонны Æ 168,3 мм включен стационарный клапан-отсекатель КОС-119.
После вскрытия продуктивной толщи горизонтальным стволом следует:
2.1. Прекратить подачу азота на аэратор модульного блока.
2.2. Промыть скважину в течение двух циклов с производительностью q = 8 – 10 л/с с отбором проб в пробоотборнике через каждые 30 мин.
2.3. Решение на подъем бурильной колонны принимать при отсутствии в пробах признаков шлама и полной дегазацией псевдопластичной жидкости от азота и попутного газа.
2.4. Остановить промывку скважины, сбросить давление в БТ и со скоростью 0,15 м/с поднять бурильный инструмент до выхода из ротора ведущей рабочей трубы.
2.5. Убедиться у герметичности уплотнительного элемента ВУГП на бурильной трубе, отрегулировать давление в гидросистеме управления до минимального значения, при котором отсутствуют пропуски.
Закрыть КШН на рабочей трубе.
Отвернуть рабочую трубу с КШН и предохранительным переводником под ним и установить в шурф.
2.6. Снизить уровень промывочной жидкости в БТ на h = 250 – 300 м нагнетанием азота через продувочную головку.
Снизить давление в трубах до атмосферного. Снять продувочную головку с БТ. Проверить положение уровня эхолотом.
Установить обтюратор для бурильных труб Æ 89 мм.
2.7. Если в процессе действия п.п. 2.5 и 2.6 будет выявлена негерметичность обратных клапанов в БТ, скважину следует заглушить перед подъемом бурильного инструмента.
2.8. После заведения захвата в патрубок плунжера КОСа в бурильный инструмент сбрасывается шар Æ 40 мм и продолжается закачка бурового раствора, см. рис. 6.3.
При посадке шара на седло подвижной втулки давление в бурильных трубах повышается и при Р = 3,0 – 4,0 МПа цанговый захват срабатывает и его цанга упирается на внутреннюю трубу Æ 140 мм, соединенной с плунжером.
Далее продолжается подъем БТ, при этом цанга захвата попадает в карман муфты, и при дальнейшем подъеме инструмента плунжер КОСа перемещается в верхнее положение, освобождая подпружиненную хлопушку КОСа. Плунжер фиксируется в верхнем положении пружинным фиксатором, см. рис. 6.2.
При достижении крайнего верхнего положения осевая нагрузка на инструмент увеличивается на 2,0 – 3,0 кН сверх веса инструмента, после чего цанговая муфта разжимается и освобождает цанговый захват, нагрузка резко снижается. В этот момент необходимо прекратить прокачку раствора. При этом цанговый захват возвращается в транспортное положение, а хлопушка клапана-отсекателя захлопывается, что можно проконтролировать по давлению в затрубном пространстве бурильного инструмента.
2.9. Разгерметизировать устье скважины.
Дальнейший подъем идет в штатном режиме с постоянным доливом скважины и дискретным снижением уровня в БТ на 250 – 300 м.
После подъема КНБК необходимо отсоединить цанговый захват и удалить из него шар.
2.10. Операция по управлению клапаном-отсекателем проводится под авторским надзором представителя ОАО НПО "Бурение".
2.11. После подъема БТ собрать компоновку по схеме, указанной на рис. 1.
2.12. Спуск инструмента до КОС-119 осуществляется с открытым устьем с доливом через каждые 150 – 200 м. Промывочная жидкость из затрубного пространства направляется в компенсационную емкость через задвижку XIX блока дросселирования.
2.13. После допуска бурильной колонны с АМК "Горизонт-90" до КОС-119 устье герметизируется на ВУГП, создается давление в затрубном пространстве с превышением давления под хлопушкой КОСа на 3,0 – 3,5 МПа.
Благодаря увеличению дополнительной осевой нагрузки (от некомпенсированной площади плунжера) направленной вниз, плунжер преодолевает сопротивление фиксатора и смещается вниз, открывая хлопушку и закрывая ее от воздействия промывочной жидкости и бурильного инструмента. Клапан открыт.
2.14. Отрегулировать давление в гидросистеме управления ВУГП до минимального значения, при котором отсутствуют пропуски.
Зафиксировать потери на трение в герметизирующем элементе при скорости спуска инструмента не более 0,10 – 0,15 м/с.
2.15. Допуск геофизического контейнера до забоя в открытом стволе скважины осуществляется со скоростью не более 0,10 м/с. Исходя из условий эксплуатации скважинного прибора (осевая сжимающая и растягивающая нагрузки 3 – 5 тс), посадки инструмента выше 1,5 – 2 тс не допускаются.
При посадках выше указанных следует промыть скважину с q = 8 л/с и продолжить спуск прибора до забоя скважины.
2.16. Подъем АМК "Горизонт-90".
Для получения количественных материалов измерения скорость подъема инструмента в открытом стволе не должна превышать 0,5 – 1,0 м/с.
Скорость в обсаженном стволе до КОС-119 не более 0,15 м/с, а после закрытия хлопушки не более 0,5 м/с.
2.17. Технология подъема осуществляется в соответствии с п.п. 2.5 – 2.9.
Компоновка бурильной колонны для проведения ГИС аппаратурно-методическим комплексом "Горизонт-90"
– в состав эксплуатационной колонны не включен стационарный клапан-отсекатель КОС-119 или оказался негерметичным в процессе работ по углублению скважины.
Компоновка бурильной колонны с геофизическим прибором АМК "Горизонт-90" аналогична указанной на рис. 1 за исключением отсутствия в ней цангового захвата.
Учитывая наличие избыточного давления на устье скважины и технические особенности АМК "Горизонт-90" (защитная оболочка скважинного прибора исключает возможность его герметизации на устье скважины по причине низкой допустимой сминающей нагрузки), технология ГИС связана с частичным утяжелением промывочной жидкости.
После вскрытия продуктивного пласта горизонтальным стволом в депрессионных условиях следует:
2.18. Выполнить работы по п.п. 2.1 – 2.7.
2.19. С постоянным доливом скважины дегазированной промывочной жидкостью при автоматическом контроле над установившемся избыточном давлением со скоростью 0,15 м/с поднять БК в башмак эксплуатационной колонны.
2.20. Установить ведущую трубу и оставить скважину на технологический отстой до полной стабилизации избыточного давления на устье (Ризб ).
2.21. По (1) определить глубину l , на которой следует заменить промывочную жидкость в скважине на жидкость утяжеленную мелом (требования к плотности базируется на решении Рабочего проекта № 767)
(1)
где Рпл – пластовое давление, МПа;
g – ускорение свободного падения, м/с2 ;
Н – глубина спуска эксплуатационной колонны по вертикали, м;
rн – плотность дегазированной промывочной жидкости в скважине;
rут – утяжеленная мелом промывочная жидкость;
0,05 Рпл – запас по требованию п. 2.7.3.3 ПБНГП изд. 2003 г.
2.22. На глубине l выполнить плавную замену жидкости rн на жидкость rут по графику рис. 2.
|
||||
|
||||
|
Время, минуты
За начальное давление в затрубном пространстве принять давление
= Ризб
- DРтр
.
Здесь DРтр – потери давления на трение в затрубном пространстве определяются по разделу 4 настоящего проекта Регламента.
На автоматическом пульте управления дисковым дросселем установить программу плавного снижения Рзат в зависимости от подачи насоса q = 6 л/с и объемов трубного и затрубного пространств.
2.23. после выполнения предыдущего пункта промыть скважину в течение двух циклов и установить контроль за давлением в затрубном пространстве. При отсутствии роста давления открыть ВУГП и приступить к подъему БК, предварительно установить обтюратор Æ 89 мм.
2.24. Подъем сопровождается тщательным контролем за объемом поднятого металла труб и долитой в скважину промывочной жидкости с rут .
Через каждые 250 – 300 м снижается уровень в БТ подачей азота через продувочную головку.
2.25. Собрать и спустить бурильную колонну с геофизическим прибором АМК "Горизонт-90".
Скорость спуска в обсаженном стволе ограничить до 0,5 м/с, а в открытом – 0,1 м/с.
При посадках инструмента свыше 1,5 – 2,0 тс скважину следует промыть и продолжить спуск не допуская разгрузки БК выше указанных значений.
Установить контроль за объемом вытесненной промывочной жидкости (Vж ) и объемом спущенных труб (Vм ). При разнице (Vж – Vм ) ³ 0,20 – 0,25 м3 спуск инструмента прекратить и установить контроль за возможным переливом.
Долив БК осуществляется через каждые 150 – 200 м с q = 3-5 м/с
2.26. Для получения качественных материалов измерения скорость подъема геофизического прибора не должна превышать 0,5 – 1,0 м/с.
Скорость подъема в обсаженном стволе ограничивается до 0,5 м/с.
Технология снижения уровня жидкости в БК и долива описана выше.
Характеристика продуктивных горизонтов
Ромашкинское месторождение является многопластовым. Нефтеносность установлена в отложениях среднего, нижнего карбона, верхнего и среднего девона.
Основным эксплуатационным объектом являются отложения пашийского (D1 ) горизонта, представленные переслаиванием песчаных, алевролитовых, аргилитовых разностей терригенных пород. В кыновском горизонте нефтенасыщенным является пласт D0 , представленный песчаниками и алевролитами. Толщина песчаников составляет 3-4 м.
Общая толщина пашийского горизонта составляет более 30 м. Нефтенасыщенная толщина продуктивных отложений 3,7-5,0 м. Пористость 0,200 д.е., проницаемость – 0,500 мкм2 .
В силу многопластового строения горизонтов выявлено многообразие разрезов скважин с различным сочетанием пластов, представленных разными группами коллекторов и залегающих на различных стратиграфических уровнях. Между всеми пластами существует гидродинамическая связь через зоны слияния.
| Таблица 3.3 | Свойства и состав нефти | давление насыще-ния, МПа | 12 | 4,10 | 3,90 | 9,00 |
| Параметры растворенного газа | относи-тельная по воздуху плотность газа | 11 | 1,16 | 1,40 | 1,21 | |
| содержа-ние углекис-лого газа, % | 10 | 1,27 | 2,00 | 1,01 | ||
| содержа-ние серово-дорода, % | 9 | 0,21 | 0,02 | 0,01 | ||
| газовый фактор, м3 /т | 8 | 8,70 | 7,80 | 6,00 | ||
| Содержа-ние парафина, % по весу | 7 | 3,60 | 3,00 | 5,00 | ||
| Содержание серы, % по весу | 6 | 3,40 | 3,20 | 1,80 | ||
| Подвиж-ность, мкм2 /сп | 5 | 0,02 | 0,008 | 0,07 | ||
| Плот-ность кг/м3 | 4 | 876 | 879 | 808 | ||
| Интервал, м | до | 3 | 1273 | 1320 | 1806 | |
| от | 2 | 1229 | 1273 | 1724 | ||
| Индекс стратигра-фического подразделе-ния | 1 | C1 tl+bb | C1 t | D3 kn+pch | ||
| Таблица 3.4 | Водоносность | Тип воды по Сулину | 12 | ГКН | ХЛК | ХЛК | ХЛК | ХЛК | ХЛК | ХЛК | ХЛК | |||
| Степень минерализации, мг/-экв/л | 11 | 125 | 250 | 1400 | 1900 | 4000 | 7000 | 8242 | 9610 | |||||
| Химический состав воды, мг экв/л | катионы | Ca2+ | 10 | 40 | 60 | 80 | 120 | 226 | 400 | 500 | 900 | |||
| Mg2+ | 9 | 40 | 20 | 60 | 120 | 126 | 250 | 260 | 300 | |||||
| Na+ | 8 | 0,2 | 50 | 700 | 1400 | 1580 | 2800 | 3480 | 3500 | |||||
| анионы | HCO3 ¯ | 7 | 49,2 | 0,35 | 0,8 | 5,6 | 2 | 1,2 | 0,8 | 0,4 | ||||
| SO4 ¯ | 6 | 5,2 | 14 | 20 | 42 | 600 | 15 | 1,91 | 1,64 | |||||
| Cl¯ | 5 | 10 | 30 | 770 | 1600 | 1800 | 3500 | 4000 | 4904 | |||||
| Плот-ность кг/м3 | 4 | 1000 | 1020 | 1040 | 1060 | 1080 | 1140 | 1170 | 1180 | |||||
| Интервал, м | до | 3 | 438 | 704 | 919 | 996 | 1129 | 1424 | 1761 | 1806 | ||||
| от | 2 | 0 | 438 | 704 | 919 | 996 | 1129 | 1424 | 1761 | |||||
| Индекс стратигра-фического подразделе-ния | 1 | Q+P | C3 | C2 mc+pd+kr | C2 vr+b | C1 srp+ok | C1 tl+bb+t | D3 карб | D3 терриг | |||||
Таблица 3.5
Давление и температура по разрезу скважины
| Индекс стратигра-фического подразделения | Глубина залегания кровли пласта (по вертикали),м | Давление, Мпа | Темпаратура, 0 С | |
| Гидростатическое, расчетное | Горное расчетное | |||
| 1 | 2 | 3 | 4 | 5 |
| С3 | 420 | 4,2 | 9,7 | 18 |
| C2 mc+pd+kr | 600 | 6,0 | 13,8 | 19 |
| C2 vr+bs | 852 | 8,5 | 19,5 | 20 |
| C1 srp+ok | 920 | 9,2 | 21,2 | 21 |
| C1 tl+bb | 1130 | 11,3 | 26,0 | 22 |
| C1 t+zv | 1170 | 11,7 | 26,8 | 25 |
| D3 fm+fr2 | 1310 | 13,1 | 30,1 | 26 |
| D3 md+sml+srg | 1590 | 15,9 | 36,5 | 27 |
| D3 kn+pch | 1690 | 16,9 | 38,8 | 33 |
| Забой | 1761 | 17,5 | 40,3 | 40 |
| Возможные осложнения по разрезу скважины | Таблица 3.6 | Поглощение бурового раствора |
Мероприятия по ликвидации поглощений | 8 | Намыв инертного наполнителя, спуск и цементирование кондуктора | Намыв инертного наполнителя, цементные заливки, спуск и цементирование эксплуатационной колонны | Примечание: *указана средняя глубинаа возможных поглощений в интервале бурения под кондуктор | ||
| Условия возникновения | 7 | В глинисто-трещиноватых закарстованных породах, кавернозных известняках при нарушении равновесия между пластовым и гидростатическим давлением | |||||||
| Имеется ли потеря циркуляции, (ДА, НЕТ) | 6 | ДА | ДА | ДА | |||||
| Максималь-ный статичес-кий уровень | 5 | 120 | 120 | 120 | |||||
| Интенсивность поглощения, м3 /ч | 4 | от частичного до 120 | от частичного до 120 | от частичного до 120 | |||||
| Интервал, м | до | 3 | 246* | 920 | 1306 | ||||
| от | 2 | 56 | 848 | 1155 | |||||
| Индекс стратигра-фического подразделения | 1 | Р2 +Р1 | С1 srp | D3 fm+fr2 | |||||
Таблица 3.7
Нефтегазоводопроявления
| Индекс стратигра-фического подразделения | Интервал, м | Вид флюида | Плотность смеси для расчета избыточных давлений, кг/м3 | Условия возник-новения | Характер проявления | ||
| от | до | внутреннего | наружного | ||||
| 1 | 2 | 3 | 4 | 5 | 6 | 7 | 8 |
| С1 srp | 920 | 1115 | вода | 1120 | 1120 | Рзаб <Рпл | перелив воды |
| D3 kn+pch | 1730 | 1761 | нефть | 1000 | 1000 | Рзаб <Рпл | пленки нефти |
Таблица 3.8
Осыпи и обвалы стенок скважины
| Индекс стратигра-фического подразделения | Интервал, м | Время до начала осложнения, сут. | Мероприятия по ликвидации осложнений | Коэффициент кавернозности | |
| от | до | ||||
| 1 | 2 | 3 | 4 | 5 | 6 |
| Q+P2 | 0 | 56 | 0,5-1,0 | перекрытие направлением и кондуктором | 1,5 – под направление 1,3 – под кондуктор 1,15 – под эксплуатации-онную ко-лонну |
| C2 vr | 784 | 848 | -«- | цементные заливки, промывка, проработка | |
| C1 bb | 1115 | 1155 | -«- | ||
| D3 srg+kn | 1684 | 1730 | -«- | регулирование, улучшение свойства бурового раствора, спуск эксплуатационной колонны | |
Таблица 3.9
Прихватоопасные зоны
| Индекс стратигра-фического подразделения | Интервал, м | Причина прихвата | Наличие ограничений на оставление инструмента без движения или промывки (да, нет) | Условия возникновения | |
| от | от | ||||
| 1 | 2 | 3 | 4 | 5 | 6 |
| Q+P2 +P1 | 0 | 246* | осыпи, обвалы, поглощения | да | Технические причины нарушение правил ведения буровых работ в зонах осыпей, обвалов, поглощений |
| C2 vr | 784 | 848 | осыпи, обвалы | да | |
| C1 spr | 848 | 920 | поглощения | да | |
| C1 bb | 1115 | 1155 | осыпи, обвалы | да | |
| D3 fm+fr2 | 1155 | 1306 | поглощения | да | |
| D3 srg+kn | 1684 | 1730 | осыпи, обвалы | да | |
Примечание: * указана средняя глубина возможных зон прихватов в интервале бурения под кондуктор.
Обоснование и расчет профиля проектной скважины
Бурение искусственно искривленных скважин позволяет решить две большие задачи: эффективно использовать капитальные вложения на строительство скважин и в большей степени сохранить среду на дневной поверхности.
В настоящее время наиболее распространена методика проектирования профиля, искривленного в одной плоскости, основанная на аналитическом методе расчета с последующим построением его элементов.
При проектировании профиля наклонно направленной скважины исходными данными являются: глубина скважины по вертикали Н и отклонение забоя от вертикали А.
По исходным данным Н = 1676 м., А = 620 м. Поскольку А > 300 м., то применяется четырехинтервальный профиль.
- интенсивность набора кривизны 1,4 на 10 м.
- интенсивность снижения кривизны 0,4 на 10 м.
- длина первого вертикального участка 100 м.
Определим радиус искривления второго участка:
R 1 = 573/∆ α 10 = 573/1,4 = 409 м.
Находим радиус снижения угла наклона на третьем участке:
R 2 = 573/0.4 = 1432 м.
Определим величину необходимого угла наклона:
cos α =1-A/(R 1+R 2)
тогда
cos α = 1-620/(409+1432) = 0,66 α = 42
Рассчитаем длину участков профиля и их горизонтальные и вертикальные проекции.
Участок набора угла наклона ствола скважины:
длина
l 2 = 0.01745* R 1* α = 0.01745*409*49 = 349 м.
вертикальная проекция
h = R 1*sin α = 409*sin49 = 308 м.
горизонтальная проекция
a 1 = R 1*(1-cosα) = 409*(1-cos49) = 141 м.
Участок снижения угла наклона ствола:
длина
l 3 = 0.01745* R 2* α = 0.01745*1432*49 = 1170 м.
вертикальная проекция
H 1 = R 2*sin α = 1432*sin49 = 1081 м.
горизонтальная проекция
a 2 = R 2*(1-cosα) = 1432*(1-cos49) = 478 м.
Вертикальный участок(четвертый):
длина
l н = H – H в – h – H 1 =1676 – 100 – 308 – 1081 = 187 м.
вертикальная проекция h в = l н = 187 м.
Длина ствола по профилю:
L = l 1 + l 2 + l 3 + l н = 100 + 349 + 1170 + 187 = 1806 м.
Проекция ствола:
горизонтальная
A = a + a = 141 + 478 = 620 м.
вертикальная
H = H в + h + H 1 + h в = 100 + 308 + 1081 + 187 = 1676 м.
Для построения профиля скважины по вертикальной линии откладываем отрезки:
АВ = Н = 1676 м; АС = Н в = 100 м; СД = h =308 м; ДЕ = Н 1 = 1081 м;
ЕВ = h в = 187 м.
Через точки С,Д,Е,В проводим горизонтальные линии и откладываем от точки С отрезок: СО 1 = R 1 = 409 м, от точки Д – отрезок: Д F = a 1 =141 м, от точки Е – отрезок: ЕК = А = 478 м, от точки К по направлению линии КЕ отрезок: КЕО 2 = R = 1432 м, от точки В – отрезок: В L = A = 478 м. Из точки О 1 описываем дугу радиусом R 1, а из точки О 2 – дугу радиусом R 2.
Ломанная линия ACFKL представляет собой профиль ствола наклонной скважины.
ОБОСНОВАНИЕ ВЫБОРА ТИПА ПРОМЫВОЧНОЙ ЖИДКОСТИ И СВОЙСТВ ЕЕ ДЛЯ БУРЕНИЯ РАЗЛИЧНЫХ ИНТЕРВАЛОВ ПРОЕКТНОЙ СКВАЖИНЫ
Уточнение расчленения разреза с учетом осложнений, происходящих при бурении скважин.
На выбор промывочной жидкости влияют следующие осложнения:
1. поглощение промывочной жидкости.
2. газоводонефтепроявления.
3. нарушение устойчивости стенок скважины.
4. затяжки, прихваты бурильной колонны.
5. искривление скважины.
Основной причиной поглощений и газоводонефтепроявлений является нарушение условия:
К a < ρ 0< Kn
При циркуляции раствора в скважине имеют место гидравлические сопротивления, обуславливающие потери давления в кольцевом пространстве между стенками скважины и колонной труб. Благодаря этому давление на стенки скважины повышается на величину потерь на участке на данной точке ствола до уровня начала наземной циркуляционной системы.
В глинисто-трещиноватых захарстованных породах, на кавернозных известняках при нарушении равновесия между пластовыми и гидростатическими давлениями вплоть до полной потери циркуляции происходит поглощение бурового раствора в интервалах: 100-200 м.,
380-390 м., 867-877 м., 940-950 м., 1200-1356 м., При значительном увеличении пластового давления над забойным наблюдается нефтегазоводопроявления. В мягковских отложениях(480-500 м) проявляется газ, а в серпуховских(860-910 м) вода.
С учетом этих осложнений целесообразно в качестве промывочной жидкости использовать техническую воду в интервале 0-1730 м. Во-первых, этот раствор недорогой, во-вторых, удовлетворяет требованиям по предотвращению или уменьшению осложнений. Продуктивные пласты с высокой и средней проницаемостью подвергаются необратимой кальматацией твердыми частицами бурового раствора, а содержание в пласте глинистой фракции приводит к уменьшению проницаемости пласта. Для качественного вскрытия таких пластов необходимо использовать систему трехступенчатой очистки бурового раствора и раствора с минимальным содержанием твердой фазы или без нее. Этим требованиям отвечает полимер – глинистый раствор на основе пресной воды.
Расчленение по литологическому составу пород
Все многообразие осадочных пород, слагающих месторождение нефти и газа, целесообразно подразделить на несколько категорий, каждая из которых должна иметь характерную особенность, отличающую породу данной категории.
Можно выделить три основных принципа несовпадение, которые дают основание выделять различные группы пород.
1. растворимость в воде, способность вызывать коагуляцию глинистых суспензий;
2. способность сохранять прочность и устойчивость стенок скважины при контакте с водой, промывочной жидкостью.
3. способность образовывать с водой устойчивые тиксотропные дисперсные системы
С учетом этих признаков выделяем следующие технологические интервалы.
1. пески 0-10 м.
2. глины, алевролиты, песчаники 10-246 м.
3. доломиты, известняки, ангидриты, аргиллиты 246-1128 м.
4. песчаники, алевролиты, аргиллиты, известняки, доломиты 1128-1806 м.
При бурении пород первой группы основным требованием к промывочной жидкости является способность укреплять породы на стенках скважины. Промывочная жидкость должна иметь хорошие коркообразующие свойства для создания на стенках скважины прочной фильтрационной корки, укрепляющей ствол. Промывочная жидкость должна обладать хорошими тиксотропными свойствами, необходимыми для создания в кавернах «тиксотропной рубашки», задерживающей осыпание рыхлой породы.
Основными требованиями при бурении пород второй группы являются:
- обеспечение устойчивости стенок скважины в глинистых породах;
- предотвращение в интервалах проницаемых песчаных пород затяжек и прихватов бурильной колонны, обусловленных действием дифференциального давления;
Промывочная жидкость должна иметь хорошие коркооброзующие свойства для предотвращения образования толстой корки в интервалах проницаемых пород. Она должна быть лишена явно выраженной способности разупрочнять глинистые породы.
При бурении пород третей группы требования к промывочной жидкости невелики и основным является обеспечение высоких показателей роботы долот.
Но при бурении ангидритов основное требование – предотвращение затяжек и прихватов бурильной колонны, вызванных действием дифференциального давления, а при бурении в аргелитах основное требование – обеспечение устойчивости стенок скважины, для чего промывочная жидкость не должна оказывать разупрочняющего действия на породу.
При бурении пород четвертой группы приводятся такие же требования, как и к промывочной жидкости второй и третьей групп.
Обоснование выбора типа промывочной жидкости для различных интервалов разреза
Для каждой группы горных пород, выделенных по литологическому составу, характерны определенные основные требования к буровому раствору. Анализ факторов, влияющих на выбор бурового раствора, целесообразно привести в виде таблицы.
Таблица 8.1
| Факторы, влияющие на выбор бурового раствора | Характеристика фактора |
Типы буровых растворов, применение которых невозможно или нецелесообразно |
Типы буровых растворов которые можно применять |
| 1 | 2 | 3 | 4 |
Устойчивость пород |
неустойчивы |
Исключается применение газообразных агентов, воды, рассолов из-за неспособности к коркообразованию и склонности к размыву стенок скважины | Невозможно применение глинистых растворов, безглинистых полимерных растворов, асбогуматов, торфогуматов, гидрогелей, РУО, ОЭР |
Растворимость пород в воде |
нерастворимы |
Исключается необходимость применения насыщенных солевых растворов, гидрогелей | Возможно применение растворов на пресной воде |
| Способность пород образовывать устойчивые водные дисперсионные системы | Не способны |
Исключается возможность получения бурового раствора самозамесом при бурении |
Необходимо приготовление бурового раствора и спецматериалов |
Причины неустойчивости пород |
Плохая цементированность пород |
Исключается необходимость применения ингибирующих растворов | Возможно применение пресных, слабоминерализованных промывочных жидкостей |
Пластовое давление Давление поглощения |
Ка=1,00 Кп=1,20 |
Исключается возможность применения растворов с конденсированной твердой фазой, шламовых суспензий (ρо>1.2) | Возможно и необходимо применение буровых растворов невысокой плотности |
Температура горных пород |
<20 C |
Забойная температура не накладывает ограничений на применение буровых растворов и реагентов | Возможно применение любых типов буровых растворов и химических реагентов |
| 1 | 2 | 3 | 4 |
| Наличие в разрезе продуктивных пород | присутствуют |
К буровым растворам предъявляются требования минимальной загрязненности пласта | Возможно применение РУО |
Наличие в разрезе пластов с пресной водой |
Имеются пласты с водой, пригодной для бытовых нужд |
Исключается применение минерализованных растворов, гидрогелей, РУО, растворов содержащих токсичные компоненты | Возможно применение любых систем на основе капельных жидкостей |
| Характеристика воды для приготовления раствора | пресная |
Дополнительные требования и ограничения отсутствуют | Возможно применение любых буровых растворов на пресной воде |
Способ бурения |
турбинный |
Исключается применение газообразных циркуляционных агентов и сильно утяжеленных растворов | Возможно применение любых систем на основе капельных жидкостей |
Наличие стандартных материалов для промывочной жидкости |
Ассортимент полимерных реагентов ограничен(КМУ, гипан) |
Исключается возможность применения безглинистых растворов, в состав которых входят специальные примеси – полимерные реагенты | Возможно применение глинистого раствора из высококачественного бентонита |
Анализируя выше изложенные факты примем следующие растворы для следующих интервалов:
Для интервала 0-1744 используем техническую воду;
Для интервала 1730-1761 используем глинистый раствор;
Для интервала 1761-1806 используем полимер-глинистый раствор;
9. ОБОСНОВАНИЕ ВЫБОРА СПОСОБОВ БУРЕНИЯ ПО ИНТЕРВАЛАМ ГЛУБИН, РАЗРАБОТКА РЕЖИМА БУРЕНИЯ ПРОЕКТНОЙ СКВАЖИНЫ И ВЫБОРА ГАММЫ ДОЛОТ
9.1 Разделение интервала отработки долот на участки пород одинаковой буримости
На координатной плоскости « глубина скважины – время бурения» наносим согласно исходным данным результата отработки долот в каждом рейсе. Излом линейной зависимости hy=hg*(tб) в скважине на глубине соответствует границе между двумя пачками пород с различной буримостью.
С учетом промысловых данных, а также в зависимости от способа бурения можно выделить следующие основные интервалы режимных пачек.
Таблица 9.1
| Интервал буримости, м. | Рекомендуемые параметры промывочной жидкости | |
| p ,кг/м | Q, м/с | |
0 – 358 351 – 420 420 – 538 538 – 626 626 – 830 830 – 940 940 – 1121 1121 – 1415 1415 – 1595 1595 – 1666 1666 – 1702 1702 – 1720 1720 - 1806 |
1020 1020 1020 1020 1020 1020 1020 1020 1020 1020 1020 1090 1090 |
0,028 0,032 0,032 0,032 0,032 0,032 0,03 0,03 0,03 0,03 0,03 0,03 0,015 |
Определим значения средних за рейс механических скоростей:
В скважине № 1 Umi=hgi/ti
Um1=75/43=1.26м/ч; Um2=1.51 м/ч; Um3=1.43 м/ч; Um4=1.4 м/ч; Um5=0.38 м/ч; Um6=0.36 м/ч; Um7=0.38 м/ч; Um8=0.32 м/ч; Um9=0.34 м/ч.
В скважине № 2
Um1=70/52=1.53 м/ч; Um2=1.44 м/ч; Um3=1.38 м/ч; Um4=1.32 м/ч; Um5=0.36 м/ч; Um6=0.43 м/ч; Um7=0.37 м/ч; Um8=0.34 м/ч; Um9=0.34м/ч.
Для первого ряда скоростей в скважине №1
Для 1-го рейса
y1=(9-1)/(9(9-1)-1)*((9-1)*1.52-1(1.26+1.51+1.43+0.38+0.36+0.38+0.32+0.34))/2.5249=1.698
Для 2-го рейса
y2=(9-1)/(9(9-1)-1)*((9-2)*(1.52+1.24)-2(1.53+1.44+0.36+0.43+0.37+0.34+0.34))/2.5262=2.474
Для остальных рейсов значение функции «у» вычисляется аналогично
y3=4.7; y4=8.3; y5=4.7; y6=2.91; y7=1.85; y8=0.53.
Для 2-ог ряда скоростей в скважине №2
y1=1.27; y2=3.145; y3=4.18; y4=7.158; y5=4.567; y6=2.343; y7=1.364; y8=1.669.
Максимальное значение функция «у» для ряда скоростей по скважине №1 и №2 имеет при к =4.
9.2 Выбор оптимального режима бурения
Рассмотрим задачу для второго интервала пород буримости 1534-1806 м., пробуренного в скважине №1 и №2 пятью долотами одинакового размера при нагрузке на долото Рд=180 кН и частоте вращения nk=60 об/мин. В скважине №1 отработаны долота марки 215,9 С3-ГАУ, а скважина №2 долотами марки 215,9 МС3-ГАУ. Определим среднеарифметические значения проходки на долото hд, стойкости долота tб и механической скорости проходки Uм.
Скважина №1
Hд = (43+52+47+56+49)/5 = 49
Tб = (126+147+127+139+163)/5 = 140.4
Uм = 49/140,4 = 0.34
Найдем адаптационные коэффициенты
K = Um/(hд*Pд) = 0,34(49*(180*10) ) = 8.937*10
А = t*h*P = 140,4*49*(180*10) = 6.4*10
Скважина №2
Hд = (52+46+52+54+46)/5 = 50.1
Tб = (128+190+163+90+185)/5 = 150.2
Uм = 50,1/150,2 = 0.32
K = Um/(hд*Pд) = 0,32/(50,1*(180*10) )=8.9*10
А = t*h*P = 150,2*50*(180*10) = 6.1*10
Устанавливаем предельные наибольшие эффективные значения нагрузки и частоты с учетом паспортных данных.
Рд = 0,9*Рд max =0.9*220*10 = 200 kH
nд = (40-80)/((220-130)*(200-130)+80) = 49 об/мин
Примем следующие значения постоянных Св = 125 р/ч; tсп = 29,1 ч;
Сд = 68400( 215,9 С3 ГАУ); tв=0,9 ч.
Рассчитаем величины В, Д, М и С.
Скважина №1
В = Св/к = 125/(8,926*10) = 14*10;
Д = Св*(tсп+t в)/(К*Р) = 125*(79.1+0.9)/(8.926*10*5.9*10) = 712;
М = Сд/(К*Р) = 684/(8.926*10*5.9*10) = 129,9.
При наиболее эффективных параметрах режима бурения Рд = 180 кН и
n = 49 об/мин минимальная стоимость одного метра будет:
С = В/(hд*Pд)+(Д+М)/(hд*Pд)=14*10/(49*(180*10))+(712+129,9)/ (49*(200*10))= 27978 руб/м.
Скважина №2
В = 125/(8,6*10) = 14,53*10;
Д = 125*(29,1+0,5)/(8,6*10*5,8*10) = 751;
М = 684/(8,6*10*5,8*10) = 137,13;
С = 14,53*10/(43*(200*10))+(751+137,13)/(49*(180*10))= 29252 руб/м.
Таким образом, поскольку стоимость метра проходки долота 215,9 МС3 ГАУ больше, чем долотом 215,9 С3 ГАУ, то последнее рекомендуется для бурения в интервале 1557-1806 м.
Аналогичным образом производится выбор оптимального долота для первого интервала 1245-1557 м.
Найдем прогнозируемые показатели отработки долот 215,9 С3 ГАУ и
215,6 МС3 ГАУ:
hд = 57 м; tб = 129 ч; Uм = 0.43 м/ч.
hд = 58.3 м; tб = 138 ч; Uм = 0.4 м/ч.
Результаты расчетов сводим в таблицу 9.1
Таблица 9.1
| Интервал одинаковой буримости | Конкурирующие типы долот | Оптимальный режим | Прогнозируемые показатели работ долота | Рациональный тип долот | ||||
| Рд, кН | nд, об/мин |
hд, м |
tб, ч |
Uм, м/ч |
С, Руб/ч |
|||
1615-1815 |
215,9 С3 ГАУ | 180 | 49 | 57 | 129 | 0,43 | 26978 | 215,9 С3ГАУ |
| 215,9 МС3ГАУ | 180 | 49 | 58,3 | 138 | 0,4 | 29365 | ||
10. ВЫБОР И РАСЧЕТ КОМПОНОВКИ БУРИЛЬНОЙ КОЛОННЫ ДЛЯ БУРЕНИЯ РАЗЛИЧНЫХ ИНТЕРВАЛОВ
10.1 Турбинный способ бурения
10.1.1 Расчет компоновки УБТ
Выбираем диаметр первой ступени УБТ, расположенной над турбобуром.
d убт(1) = (0.65 – 0.85)*0.2159 = 0.14 – 0.184 м.
С учетом табличных данных окончательно d УБТ(1) = 0,178 м.
По табличным данным согласно диаметру долота выбираем диаметр бурильных труб.
Д нк = d н = 0.127 м.
d нк/ d убт(1) = 0.127/0.178 0.71 < 0.75
По этому предусматриваем установку второй ступени УБТ диаметром
d убт(2) =0,146 м.
поскольку
d убт(1)/d убт(2) = 0,146/0,178 = 0,82 > 0,75 , то наружные диаметры УБТ выбраны правильно.
По табличным данным находим тип УБТ: УБТ – 178 и УБТ – 146 изготовленные из стали «Д».
Примем коэффициент λ 1 = 0,7 .
Определим длину двухступенчатой УБТ для создания необходимой осевой нагрузки Р д =200 кН .
L убт = 1.15* P д/( g *(1- ρ / ρ н)*[ λ 1* q убт(1)+1/( n -1)*(1- λ 1)* q убт(1))]* cosα ) = 120 м.
Найдем длину первой ступени УБТ:
L убт(1) = λ 1*L убт
L убт(1) = 0,7*120 = 84 м.
L убт(2) = 120 – 84 = 36 м.
Окончательно принимаем L убт(1) = 75 м , т.е. 3 свечи по 25 метров,
L убт(2) = 50 м , 2 свечи по 25 метров.
Общий вес УБТ в жидкости:
Q кнбк = g *( G зд + q убт(1)* L убт(1) + q убт(2)* L убт(2) )* ( 1- ρ / ρ н)
Q кнбк = 9,81(4790 + 156*75 + 103*50)*(1-1020/7850) = 184 кН.
Общая длина всей компоновки низа бурильной колонны:
L кнбк = L зд + L убт(1) + L убт(2) = 25,7 + 75 + 50 = 150,7 м.
10.1.2 Расчет колоны бурильных труб на статическую прочность
Длину НК примем равной 250 м. Его будем комплектовать из труб типа ТБПВ 127*9Д (предел текучести δ = 373 мПа).
Вес НК в жидкости вычисляем по формуле:
Q нк = g * L нк* q нк* ( 1- ρ / ρ н)
Q нк = 9,81*250*29,8(1 – 1020/7850) = 63,7 кН.
Возможный перепад давления в долоте при использовании гидромониторного эффекта (U д = 80 м/с )оценим по формуле:
∆ P д = ρ * U д/(2* μ )
∆ P д = 1020*80/(2*0.95) = 3.5 мПа.
Перепад давления в турбобуре найдем по формуле:
∆ P т.б = ∆ P т.б* ρ / ρ т*(Q/Qr )
∆ P т.б = 4,5*10*1020/1200*(0,04/0,03) = 6,6 мПа.
Растягивающее напряжение в верхнем сечении НК определим по формуле:
δр = [k*(Q кнбк + Q нк ) + (∆ Pзд + ∆ P д)*F k(1)]/ F rp(нк)
δр = [1,1*(184*10+63,7*10)+(6,6*10+3,5*10)*93,3*10]/33,4*10 = 109 мПа.
Коэффициент запаса прочности рассчитываем по формуле:
к д = ν *δ т/ (δ р+3τ) = 0,8*303*10/ ((109*10 )+(18,7*10 )) = 2
Что выше допустимого значения к д = 1,35
Допустимую длину 1-й секции труб вычислим по формуле:
L 1 = [ Q зап(1) – k *( Q кнбк + Q нк)*( ∆ P з б+ ∆ P д)* F k(1)]/( k * g * q *(1- ρ / ρ н))
Где Q зап(1) = ν* Q р(1)/к з = 0,8*1400*10/2 = 560 кН
Тогда
L 1 = [560*10 – 1,1*(184*10+63,7*10)-(6,6*10+3,5*10)*93,3*10]/
(1,1*9,81*25*8*(1-1000/7850)) = 691 м.
уточним длину первой секции труб:
L 1 = 900 – 25,7 – 150,7 – 250 = 473,6 м.
Вес первой секции труб в жидкости определим по формуле:
Q 1 = g * L 1* q 1*(1- ρ / ρ н)
Q 1 = 9,81*473,6*25,8*(1-1020/7850) = 120 кН.
Проверим прочность верхней трубы 1-й секции при спуске их в клиновом захвате.
Примем длину плашек 400 мм и коэффициент С = 0,7.
n зап = C * Q кл/( Q кнбк + Q кн + Q 1) = 0.7*1180*10/((184 + 63.7 + 120)*10) = 2.25
что выше допустимого значения 1,1
По табличным данным крутящий момент для свинчивания УБТ, изготовленных из стали «Д» : УБТ – 178 – 26 кН и УБТ – 146 – 15 кН.
По таблице для соединения труб ТБПВ 177*9 выбираем замки типа 3П-127 с минимальным диаметром проходного отверстия 170 мм.
По табличным данным для свинчивания замков необходимый крутящий момент равен 22,3 кН.
Результаты расчетов сводим в таблицу.
Таблица 10.1
| Показатели | Номер секции | |||
| УБТ | УБТ | НК | 1 | |
| Наружный диаметр труб, мм | УБТ-146 | ТБПВ-127 | ТБПВ-127 | |
| Внутренний диаметр труб, мм | 90 | 74 | 109 | 109 |
| Интервал расположения секций, м | 799,3-874,3 | 749,3-799,3 | 499,3-249,3 | 0-499,3 |
| Группа прочности материала труб | Д | Д | Д | Д |
| Длина секций | 75 | 50 | 250 | 499,3 |
| Нарастающий вес колонны, кН | 132 | 184 | 247,7 | 367,7 |
10.3 Роторный способ бурения
10.3.1 Расчет компоновки УБТ
Выбираем диаметр первой ступени УБТ, расположенной над турбобуром.
d убт = 0,7*0.2159 = 0,17 м.
С учетом табличных данных окончательно d УБТ(1) = 0,178 м.
По табличным данным выбираем диаметр бурильных труб.
d н = 0.127 м.
примем диаметр труб равным диаметру остальных бурильных труб:
Д нк = d н = 0.127 м.
d нк/ d убт(1) = 0.127/0.178 = 0.71
По табличным данным находим тип УБТ: УБТ-178, изготовленной из стали «Д».
Определим длину одноступенчатой УБТ для создания необходимой осевой нагрузки Р д =180 кН .
L убт = 1,15*180*10/[9,81*(1-1020/1785)*145] = 175 м.
Окончательно принимаем L убт = 175 м , т.е. 7 свечи по 25 метров,
Общий вес УБТ в жидкости:
Q кнбк = 9,81(175*145)*(1-1020/7850) = 196 кН.
L кнбк = 175 м.
10.3.2 Расчет колоны бурильных труб на статическую прочность
Длину НК примем равной 250 м. Его будем комплектовать из труб типа ТБПВ 127*9Д .
Вес НК в жидкости вычисляем:
Q нк = 9,81*250*29,8(1 – 1090/7850) = 62,7 кН.
Растягивающее напряжение в верхнем сечении НК определим по формуле:
δр = [1,1*(196*10+62,7*10)+3,86*10*93,3*10]/33,4*10 = 95 мПа.
Коэффициент запаса прочности рассчитываем по формуле:
к з = 0,8*373*10/ ((95*10 )+3*(19**10 )) = 2,94
Что выше допустимого значения к д = 1,45
Допустимую длину 1-й секции труб вычислим по формуле:
L 1 = [ Q зап(1) – k *( Q кнбк + Q нк) - ∆ P д* F k(1)]/( k * g * q *(1- ρ / ρ н))
где
Q зап(2) = 0,8*1840*10/(1,04*1,45) = 976 кН
тогда
L 1 = [976*10 – 1,1*(196*10+62,9*10) – 3,86*10*93,3*10]/
(1,1*9,81*29,8*(1-1090/7850)) = 1366 м.
уточним длину первой секции труб:
L 1 = L – L кнбк – L нк = 1806 – 175 – 250 = 1381 м.
Вес первой секции труб в жидкости:
Q 1 = 9,81*1381*29,8*(1-1090/7850) = 347 кН.
Проверим прочность верхней трубы 1-й секции при спуске их в клиновом захвате.
Примем длину плашек 400 мм и коэффициент С = 0,7.
n зап = C * Q кл/( Q кнбк + Q кн + Q 1) = 0.7*1560*10/((196 + 62,9 + 347)*10) = 1,65
что выше допустимого значения 1,1
По табличным данным крутящий момент для свинчивания УБТ, изготовленных из стали «Д» : УБТ – 178 – 26 кН.
По таблице для соединения труб ТБПВ 177*9 выбираем замки типа 3П-127 с минимальным диаметром проходного отверстия 170 мм.
По табличным данным для свинчивания замков необходимый крутящий момент равен 22,3 кН.
Результаты расчетов сводим в таблицу.
Таблица 10.3
| Показатели | Номер секции | ||
| УБТ | НК | 1 | |
| Наружный диаметр труб, мм | УБТ-178 | ТБПВ-127 | ТБПВ-127 |
| Внутренний диаметр труб, мм | 90 | 109 | 109 |
| Группа прочности материала труб | Д | Д | Д |
| Интервал расположения секции | 1631-1806 | 1381-1631 | 1381-0 |
| Длина секции, м | 175 | 250 | 1381 |
| Нарастающий вес колонны, кН | 196 | 258,7 | 605,7 |
11. ОБОСНОВАНИЕ ВЫБОРА РЕАГЕНТОВ ДЛЯ ХИМИЧЕСКОЙ ОБРАБОТКИ И МАТЕРИАЛОВ ДЛЯ ПРИГОТОВЛЕНИЯ И РЕГУЛИРОВАНИЯ СВОЙСТВ ПРОМЫВОЧНОЙ ЖИДКОСТИ
11.1 Выбор состава промывочной жидкости
В состав бурового раствора, применяемого при бурении интервала 1744-1806 м. будут входить следующие компоненты:
1. В качестве дисперсной фазы используется вода.
2. Глина – является важной частью дисперсной фазы.
3. Кальцинированная сода NaCO. Ее ввод в буровой раствор необходим для связывания ионов Са и регулирования водородного показателя рН.
4. Карбоксилметилцеллюлоза(КМЦ) с высокой степенью полимеризации.
5. Барит – добавляют в раствор для увеличения плотности бурового раствора.
6. Полиакриламид(ПАА) – добавляют в раствор в качестве стабилизатора.
11.2 Расчет массы материала для раствора
Масса материала для раствора, расходуемого при бурении в интервале 1744-1806 м:
m = f * g * V бур
где
g – концентрация компонентов в буровом растворе, кг/м.
a – повышающий коэффициент, учитывающий расход реагентов на повторные обработки раствора в процессе бурения (a =1,04).
Рассчитываем массу глины(130 кг/м):
m = 1,04*130*3,25 = 439,4 кг.
Масса кальцинированной соды(4 кг/м):
m = 1,04*4*3,25 = 13,52 кг.
Масса мела(110 кг/м):
m = 1,04*110*3,25 = 371,8 кг.
Масса КМЦ(4 кг/м):
m = 1,04*4*3,25 = 13,52 кг.
Масса полиакриламида(2 кг/м):
m = 1,04*2*3,25 = 6,76 кг.
Остальную массу занимает техническая вода.
14. ВЫБОР АППАРАТУРЫ ДЛЯ КОНТРОЛЯ ПРОЦЕССА БУРЕНИЯ, ПОЛОЖЕНИЯ ОСИ СКВАЖИНЫ, СВОЙСТВ ПРОМЫВОЧНОЙ ЖИДКОСТИ И СОСТОЯНИЯ СКВАЖИНЫ
14.1 Выбор средств для контроля качества и количества промывочной жидкости
Для контроля качества промывочной жидкости на буровой устанавливается мерная емкость 9 м для технологических целей. С целью осуществления контроля качества бурового раствора на буровой находятся следующие приборы: ареометр, полевой вискозиметр ВП-5, ВМ-6.
1. Для измерения относительной плотности бурового раствора служит ареометр АГЗ. В комплект прибора входят ведро с крышкой и съемного груза. Если груз прикреплен к стакану, то ареометр позволяет измерять относительную плотность бурового раствора в пределах от 0,9 до 1,7. без груза ареометр имеет поправочную шкалу, градуированную в пределах от -0,12 до +0,22, наличие которой дает возможность использовать для измерения относительной плотности не только пресную, но и минерализованную воду. Единиц измерения плотности [ρ] = [кг/м]. Единица измерения относительной плотности [ρ0] = [ - ].
Для более точных измерений пользуются пикнометром.
Пикнометр представляет собой стеклянный сосуд с притертой пробкой, через которую проходит цилиндрический канал небольшого диаметра, служащий для измерения плотности при определении пикнометром.
2. Условную вязкость измеряют с помощью стандартного вискозиметра
ВП-5. В комплект этого прибора входят воронка. Кружка и сетка. В нижнюю часть воронки запаяна трубка длинной 100 мм и внутренним диаметром 5 мм. Кружка перегородкой разделена на 2 части. Одна часть имеет объем
500 см, а другая 200 см. единица измерения условной вязкости: секунда. Пределы измерений 20-25 секунд.
3. Для определения водоотдачи и толщины глинистой корки используют прибор ВМ-6, имеющий напорный и фильтрационный узлы.
Фильтрационный узел прибора состоит из стакана, в котором в процессе замера находится глинистый раствор, стального перфорированного диска, клапана с резиновой прокладкой и поддона. В поддон ввинчивается винт, управляющий работой стакана.
Напорный узел состоит из напорного цилиндра и плунжера. К верхней части цилиндра присоединена стальная закаленная втулка. Закаленный плунжер, образующий пару с втулкой, снабжен грузом. К грузу прикреплена шкала. Градуированная в см при диаметре фильтра 75 мм.
Единица измерения водоотдачи – см/30мин.
Толщина фильтрационной корки – мм.
Пределы измерений водоотдачи – 4-8 см/30мин.
Пределы фильтрационной корки от 1-2 мм.
4. Водородный показатель замеряют при помощью лакмусовой бумажки. Затем по цвету определяют к какой среде относится данный раствор. Для чистой воды и нейтральных сред при 25 С с рН – 7; для кислых растворов рН < 7, а для щелочных рН > 7. величина рН играет важную роль при регулировании свойств глинистых растворов. Органические реагенты, применяемые для разжижения глинистых растворов, обладают наибольшей разжижающей способностью в определенном диапазоне рН. Трубы из алюминиевых сплавов подвергаются интенсивной коррозии при рН > 10.
5. Для определения статического напряжения сдвига пользуются прибором СНС-2. основными частями этого прибора являются 2 соосных цилиндра. В один из цилиндров наливают глинистый раствори вращением другого разрушают структуру. Снимают показания, оставляют раствор в покое на 10 минут, после чего снимают показания снова. Q1, Q10 измеряется в Па.
6. Содержание песка в глинистом растворе определяют с помощью отстойника ОМ-2, который представляет собой металлический сосуд, соединенный в нижней части со стеклянной градуированной пробиркой. Прибор снабжен крышкой колпачком. Объем отстойника до отверстия 300 см. содержание песка определяется в %.
14.2 Контроль параметров режима бурения
Непрерывный контроль за параметрами режима бурения и их исследование, являющиеся обязательной частью технологического процесса бурения скважин, позволяют: установить оптимальный режим бурения применительно к конкретным ГТУ и корректировать его с учетом изменения геологического разреза; предупреждать аварийные ситуации, возникающие в процессе бурения; получать объективные сведения о балансе рабочего времени, что позволяет выявлять резервы роста производительности труда; автоматизировать процесс.
Параметры режима бурения устанавливаются и контролируются с помощью средств измерения одиночных параметров (веса бурового инструмента и осевой нагрузки на забой скважины; крутящего момента на роторе; расхода бурового раствора; давления бурового и цементного растворов), а также комплекса приборов контроля и регистрации основных технологических параметров бурения.
К КИП для измерения одиночных параметров относятся ГИВ, преобразователи крутящего момента и усилий для измерения момента типов ДКМ и ПМР, индикаторы крутящего момента на роторе ГИМ-1 и КМР-1, расходомеры РГР-7 и РГР-100, манометр геликсный МБГ-1.
Нагрузку на забой с помощью ГИВ определяют как разницу между весом бурильной колонны, когда инструмент чуть приподнят над забоем, и весом ее во время бурения. Вес инструмента, висящего на крюке талевой системы, определяется как произведение усилия в неподвижном конце каната на число его струн, несущих талевый блок. При этом учитывается начальное усилие в неподвижном конце от веса талевого блока, крюка и вертлюга. Нагрузка, действующая на вышку, вычисляется как произведение усилия в неподвижном конце талевого каната на общее число несущих струн плюс две струны (неподвижный и ходовой концы каната), т.е. учитываются дополнительные усилия на вышку, передаваемые через кронблок ходовым и неподвижным концами талевого каната. Для измерения веса бурильной колонны, подвешенной на крюке талевой системы, и косвенного определения осевой нагрузки на долото служит прибор, называемый индикатором веса. Перед началом бурения бурильную колонну, находящуюся над забоем, вращая вхолостую, медленно подают на забой, затем включают буровые насосы и замечают первое показание индикатора веса; второе его показание отсчитывают в начале бурения. Нагрузка на забой будет равняться разности показаний индикатора веса до и после начала бурения, умноженной на число струн талевого блока. В индикаторе веса использован принцип измерения горизонтальной составляющей натяжения неподвижного конца каната. Для уменьшения габаритов и веса индикатора он рассчитывается на усилие не от всего веса бурильной колонны, а лишь на усилие в неподвижном конце талевого каната; изменение этого усилия пропорционально нагрузке на крюке.
Гидравлический индикатор веса (ГИВ) состоит из трансформатора давления и манометров - показывающего и самопишущего. По показывающим приборам бурильщик контролирует текущий процесс бурения. По записи диаграммы самопишущего манометра изучают процесс бурения скважины и работы, связанные с ее проходкой.
Основными узлами гидравлического индикатора (рис. 14.1.) являются гидравлический трансформатор давления 7, манометр б, показывающий прибор (верньерный) 5, регистрирующий прибор 4 с крапом 2 и пресс-бачком 3.

Рис 14.1. Схема гидравлического индикатора веса ГИВ-6
Все перечисленные устройства соединены в единую гидравлическую систему трубкой 1, заполненной специальной жидкостью из пресс-бачка. Насос используется для закачки жидкости в систему, вентиль - для отключения системы от насоса после закачки. Трансформатор давления является преобразователем усилий в неподвижном конце талевого каната в величины давления, передаваемые на показывающий и самопишущий манометры. Трансформатор представляет собой гидравлическую мессдозу, состоящую из литого корпуса и резиновой (с кордом) мембраны, расположенной внутри него. На мембрану опирается тарелка, несущая средний ролик. Трансформатор монтируется на неподвижном конце талевого каната, изгибающегося между крайними и средним (опорным) роликами. На средний ролик действует горизонтальная составляющая натяжения в канате, вызванная его изгибом. Усилие, действующее на тарелку, определяется натяжением и углом изгиба каната. Показывающим и самопишущим манометрами измеряется давление, пропорциональное усилиям, действующим на мембрану. Благодаря объемным деформациям упругих элементов манометра, а также соединительных трубок тарелка при увеличении давления несколько перемещается и изменяет угол изгиба каната. Это обстоятельство, согласно данным А.В. Синельникова, вносит нелинейную зависимость между давлением в трансформаторе и усилием в канате. Поэтому, чтобы пользоваться индикатором веса, необходимо иметь градуировочную таблицу, которая составляется при тарировке прибора на заводе, изготовляющем приборы. Следовательно, индикатор веса - прибор, имеющий индивидуальную шкалу.

Рис. 14.2. Датчик крутящего момента ДКМ
Техническая характеристика ГИМ-1
Диапазон измерения контролируемой величины, кН·м 0-300
Максимальное давление в гидросистеме прибора, МПа 4
Основная приведенная погрешность измерения, % ±2,5
Максимальное расстояние от датчика до показывающего прибора, м 10
Температура окружающей среды, 0 С -50÷+50
В комплексе СКУБ для измерения момента на роторе используется преобразователь усилий типа ПМР (рис. 14.4). Мембрана 9 установлена в корпусе 3 и закреплена винтом 10. К кронштейнам 4 и 7, жестко соединенным с мембраной 9, прикреплены катушка 6 дифференциального трансформатора и плунжер 8. На кронштейнах установлен дифференциально-трансформаторный преобразователь. Корпус 3 ввинчен в сварной корпус 5, с помощью которого преобразователь устанавливается на основании, ПМР или на основании опор качающегося редуктора. На резьбовой конец мембраны навинчивается стакан 11 с тарельчатыми пружинами 2 и пята 1, воспринимающая усилие болта (при карданно-редукторном приводе) или рамы (при цепном приводе).
Техническая характеристика ПМР
Верхний предел измерения, кН 30
Основная приведенная погрешность измерения, % ±1,5
Температура окружающей среды, 0 С -50-+50
Масса, кг 12
Габариты, мм 187х145х200
При управлении процессом бурения скважин необходим контроль момента вращения бурильной колонны, работающей в напряженном состоянии, так как превышение установленного значения крутящего момента может привести к сложной аварии. Крутящий момент устанавливают по изменению упругих свойств вала, углу его закручивания, тангенциальным напряжениям на поверхности или по изменению силы активного тока ротора электродвигателя. В качестве преобразователей крутящего момента в электрический сигнал могут быть использованы индуктивные, индукционные, емкостные, магнитоупругие, струнные, тензометрические типы датчиков. Момент на роторном столе контролируют по усилию, передаваемому ротором подроторному основанию. Крутящий момент измеряют независимо от направления вращения ротора и натяжения цепной передачи. Крутящий момент роторного стола, приводящего во вращение колонну труб с инструментом, определяют по изменению натяжения цепной передачи датчиком ДКМ, который устанавливают под ведущей ветвью цепи привода (рис. 14.2). При помощи регулировочного болта 2 и тарельчатой пружины 3 создается начальная стрела прогиба цепи привода роторного стола в месте соприкосновения звездочки 4, установленной на рычаге 1, с цепью (рис. 14.2). При изменении крутящего момента натяжение цепи меняется, что приводит к перемещению траверсы 5. Перемещение последней влечет за собой деформацию тарельчатой пружины и смещение рычага 1, связанного с измерительной обмоткой преобразователя и вторичным прибором. Погрешность измерения не превышает ±2,5%. Индикатор крутящего момента на роторе ГИМ-1, используемый в комплексе Б-7, состоит из гидравлического преобразователя цепи ротора, рычага с рабочим колесом, показывающего прибора, соединительного шланга и демпфера (рис. 14.3).

Рис. 14.3. Общий вид гидравлического индикатора крутящего момента на роторе ГИМ-1

Рис. 14.4. Преобразователь усилий для измерения момента на роторе ПМР
Один из важнейших параметров режима промывки скважины - расход бурового раствора. Контроль за ним в нагнетательной линии насоса и на выходе из скважины позволяет установить возникновение газонефтепроявлений или поглощений, их интенсивность, момент окончания разбуривания поглощающих и проявляющих пластов, оценить эффективность изоляционных работ, т.е. свести к минимуму технико-экономические потери, связанные с осложнениями при бурении скважин. При турбинном способе расход бурового раствора характеризует режим бурения. Знание последнего необходимо для оценки процесса разрушения горных пород в его взаимосвязи с энергетической характеристикой забойного двигателя. Для измерения расхода разработаны различные устройства. Мгновенный расход бурового раствора в нагнетательной линии контролируют с помощью индукционного расходомера РГР-7 или сменившего его РГР-100.
Расходомеры РГР-7 (рис. 14.5) и РГР-100 предназначены для контроля мгновенного расхода электропроводных жидкостей, в частности бурового раствора на водной основе, и устанавливаются в напорном трубопроводе бурового или тампонажного манифольда. Преобразователь расхода по уровню взрывозащиты относится к особо взрывоопасному электрооборудованию. Расходомеры состоят из первичного и вторичного преобразователей и указывающего прибора (см. рис. 14.5). Принцип действия индукционного расходомера основан на законе электромагнитной индукции. Электропроводная жидкость может быть рассмотрена как бесконечное число проводников, при прохождении которых в магнитном поле возникает э.д.с., пропорциональная средней скорости потока. Система магнитного возбуждения 1 создает переменное магнитное поле, в котором по немагнитной и изолированной внутри трубе 2 протекает электропроводная жидкость. Индуциируемая в жидкости э.д.с. снимается с корпуса первичного преобразователя и одного электрода 3, введенного внутрь трубы, и подается в преобразовательный блок, где измеряется потенциометрическим методом. При этом компенсирующее напряжение снимается с потенциометра 4 через фазовращатель 5, получающий питание от системы катушек компенсации, находящихся в магнитном поле первичного преобразователя. Элемент сравнения б, построенный на триоде, дает сигнал разбаланса на усилитель 7 с выходом на реверсивный двигатель 8. Двигатель поворачивает движок реохорда, а вместе с ним ротор сельсина-датчика 9 сведения разбаланса к нулю и фиксирует угол, пропорциональный измеряемой э.д.с., т.е. мгновенному объемному расходу. Выходной сигнал с сельсина-датчика поступает на следующий сельсин указывающего (или регистрирующего) прибора 10.

Рис. 14.5. Расходомер РГР-7
Техническая характеристика РГР- 7 и РГР-100
Тип расходомера РГР-7 РГР-100
Предел измерения, л/с 75 100
Основная приведенная погрешность, % ±2,5 ±1,5
Дополнительная погрешность, %:
при отклонении частоты тока питания от номинальной ±5 Гц.±1
при работе с ферромагнитной средой ±1,5
Диаметр проходного сечения, мм 100
Рабочее давление, МПа 20 40
Питание:
Ток Переменный, однофазный
напряжение, В 220±33 220±66
частота, Гц. 50±5
Потребляемая мощность, В.А 370 400
Габаритные размеры, мм:
первичного преобразователя 800х340х282
600х350х350
вторичного преобразователя 450х435х270
280х110х220
указывающего прибора 150х146х120
Масса, кг:
первичного преобразователя 80 60
вторичного преобразователя 20 6,1
указывающего прибора 3
Температура контролируемой среды, "С 80
Удельная электропроводность контролируемой
среды, См/м 10-4 ÷ - 10
Температура окружающего воздуха, "С -40-+50
В отличие от существующих отечественных и зарубежных индукционных расходомеров РГР-7 и РГР-100 компенсируют влияние на показания прибора не только электрических, но и магнитных свойств жидкости (при работе на утяжеленных буровых растворах) и, кроме того, рассчитаны на работу при повышенных колебаниях параметров питания (при работе от дизель-генераторной установки).

Рис. 14.6. Манометр буровой геликсный МБГ-1
Техническая характеристика МБГ-1
Предел измерения, МПа 0-40; 0-25
Основная приведенная погрешность, % ±2,5
Питание:
Ток Переменный, однофазный
напряжение, В 220±20
частота, Гц ±5
Габаритные размеры, мм:
первичного преобразователя 265х825х190
вторичного преобразователя 335х305х155
блока питания 210х146х145
Масса, кг:
первичного преобразователя 9,5
вторичного преобразователя 6,3
блока питания 5,6
Для измерения давления глинистого и цементного растворов при бурении и цементировании нефтяных и газовых скважин применяют манометр буровой геликсный МБГ-1. Принцип действия прибора основан на преобразовании измеряемого давления в угол поворота бесконтактного сельсина-датчика с последующей передачей показаний. Манометр МБГ-1 (рис. 14.6) состоит из первичного преобразователя 3, блока питания 2 указателей 1, соединенных кабелем. Измерительным элементом первичного преобразователя служит многовитковая манометрическая геликсная пружина, которая воспринимает давление жидкости через резиновый разделитель. Разделитель и манометрическая пружина заполнены незамерзающей жидкостью. Угол поворота сельсина регулируется перестановкой цангового зажима на тот или иной виток манометрической пружины Регулировка позволяет получить линейную зависимость между углом поворота сельсина и давлением. Для сглаживания пульсаций давления на входе в манометрическую пружину установлен дроссель с регулирующей иглой.
Для контроля основных технологических параметров предназначен комплекс средств наземного контроля и управления процессом бурения нефтяных и газовых скважин (СКУБ) (табл. 14.1).
Таблица 14.1
Техническая характеристика комплексов СКУБ-М1
| Показатели | Значение показателя для варианта | |||||
| 00 | 01 | 02 | 03 | 04 | 05 | |
| 1 | 2 | 3 | 4 | 5 | 6 | 7 |
Число контролируемых пара метров |
8 |
8 |
9 |
15 |
15 |
15 |
Число функций, реализуемых в каналах контроля, в том числе: отображение на показывающем приборе регистрация выдача внешних информационных сигналов сигнализация отклонения от заданного режима выдача внешних сигналов управления |
7 7 7 5 5 |
7 7 7 5 5 |
8 8 8 6 6 |
13 13 13 7 7 |
13 13 13 7 7 |
13 13 13 7 7 |
Пределы измерения контролируемых параметров: нагрузка на крюке, кН осевая нагрузка на буровой инструмент, кН подача бурового инструмента, м перемещение талевого блока, м давление нагнетания бурового раствора, МПа расход бурового раствора в нагнетательной линии, м/с частота вращения ротора, об/мин крутящий момент на роторе, кН·м крутящий момент на машинном ключе, кН м уровень раствора в приемных емкостях,м температура бурового раствора, 0 С расход выходящего бурового раствора, % |
1250 400 |
1600 400 |
2000 400 |
2500 400 |
3500 400 |
4000 400 |
| Не ограничена | ||||||
40 25 0,1 300 - 60 - - - |
40 25 0,1 300 - 60 - - - |
40 25 0,1 300 - 60 - - - |
40 25 0,1 300 60 60 1,6 100 100 |
40 40 0,1 300 60 60 1,6 100 100 |
40 40 0,1 300 60 60 1,6 00 100 |
|
Предел допускаемого значения основной приведенной погрешности измерения технологического параметра, %: по показывающему прибору внешнего выходного измерительного сигнала по программе регистратора |
2,5 1,5 2,5 |
2,5 1,5 2,5 |
2,5 1,5 2,5 |
2,5 1,5 2,5 |
2,5 1,5 2,5 |
2,5 1,5 2,5 |
Продолжение табл. 14.1 |
||||||
| 1 | 2 | 3 | 4 | 5 | 6 | 7 |
Напряжение, В: электропитания внешнего выходного сигнала |
220 0-10 |
220 0-10 |
220 0-10 |
220 0-10 |
220 0-10 |
220 0-10 |
Допускаемые отклонения пара метров электропитания, %: по напряжению по частоте |
+10-15 ±4 |
+10-15 ±4 |
+10-15 ±4 |
+10-15 ±4 |
+10-15 ±4 |
+10 15±4 |
| Потребляемая мощность, В А | 600 | 600 | 600 | 600 | 600 | 600 |
| Масса, кг | 306,5 | 306,5 | 312,7 | 381,1 | 380,2 | 380,2 |
| Диапазон рабочих температур, 0 С | -50÷50 | -50÷50 | -50÷50 | -50÷50 | -50÷50 | -50÷50 |
Средняя наработка на отказ по фукциям, регулируемым в каналах контроля, ч |
10000 | 10000 | 10000 | 10000 | 10000 | 1000 |
| Средний срок службы, год | 8 | 8 | 8 | 8 | 8 | 8 |
Комплекс приборов Б-7 объединения «Союзнефтегазавтоматика» позволяет контролировать и регистрировать нагрузку на долото, частоту вращения ротора, крутящий момент на роторе и механическом ключе, давление на выкиде буровых насосов и подачу бурового инструмента. В комплекс Б-7 входят следующие приборы: ГИВ-М - измеритель нагрузки; ГИД-1 - измеритель давления на выкиде буровых насосов, состоящий из датчика давления, показывающего прибора, соединительного шланга и запорного вентиля; датчик выполняет функции разделителя сред бурового раствора в напорном трубопроводе, измерителя, а также гасителя пульсаций; ИСР-1 - измеритель частоты вращения ротора, представляющий собой обычный электрический тахометр; ГИМ-1 - индикатор крутящего момента на роторе, состоящий из преобразователя силы, которая действует в ведущей ветви приводной цепи ротора, рычага с рабочим колесом, показывающего прибора, соединительного шланга и демпфера; в качестве показывающего прибора использован серийный, несколько модернизированный манометр; ИХН-1 - измеритель ходов поршня бурового раствора в единицу времени; расход раствора контролируется числом ходов поршня бурового насоса в единицу времени; в комплексе Б-7 число ходов поршня насосов замеряют с помощью прибора ИХН-1, который идентичен ИСР-1; ИП-1 - измеритель проходки; ГМК-1 - измеритель крутящего момента на механическом ключе, представляющий собой измеритель силы, которая действует на рукоятку ключа; Р-7 - многоканальный регистратор, служащий для одновременной синхронной записи всех указанных технологических параметров; с регистратором Р-7 совмещен измеритель подачи инструмента ИП-1; проходку измеряют, фиксируя на ленте регистратора Р-7 единичные интервалы в 10 см (табл.14.2).
Таблица 14.2
Техническая характеристика комплекса Б-7
| Показатели | ГИВ-М | ГИД-1 | ИСР-1 | ГИМ-1 | ИХН-1 | ИП-1 | ГМК-1 | Р-7 |
| 1 | 2 | 3 | 4 | 5 | 6 | 7 | 8 | 9 |
Диапазон измерения контролируемой величины |
- |
0-25 МПа, 0-40 МПа |
0-300 об/мин |
0-300 кН·м |
0-150 ход/мин |
0-30 м |
0-70 кН |
Выходные параметры определяются выходными параметрами датчиков |
Максимальная нагрузка на датчик, кН Максимальное давление в гидросистеме прибора, МПа Основная приведенная погрешность измерения, % Максимальное расстояние от датчика до показывающего прибора, м Температура окружающей среды, 0 С |
140 60 ±2,5 10 -50-+50 |
- 25 ±2,5 10 -50-+50 |
- - ±2,5 70 -40-+50 |
- 4,0 ±2,5" 10 -50-+50 |
- - ±2,5 70 -40-+50 |
- - ±1,0 - -50-+50 |
69 25 ±5,0 10 -50-+50 |
То же « ±2,5 - -50-+50 |
Габаритные размеры, мм: датчика показывающего прибора |
362х280х280 432х105 |
200х180х125 210х62 |
132х130х130 - |
585х380х170 194х223х66 |
132х130х130 - |
- - |
460х129х150 217х72х194 |
660х565х515 - |
| 1 | 2 | 3 | 4 | 5 | 6 | 7 | 8 | 9 |
Масса, кг: датчика показывающегоприбора |
40,0 9,0 |
8,9 3,2 |
5,0 - |
53,5 9,0 |
5,0 - |
- - |
12,0 8,0 |
48,0 - |
Примечания: 1. Диапазон измерения контролируемой величины ГИВ-М зависит от оснастки талевой системы и плеча рычага при установке датчика на устройстве для перепуска каната. 2. Звездочкой обозначена погрешность измерения силы, действующей на датчик. |
||||||||
В настоящее время весьма актуальной стала задача существенного повышения достоверности измерений в критические моменты и их сохранения в независимом устройстве. Такое устройство, по аналогии называемое «черный ящик», должно регистрировать параметры буровой установки и сохранять их в течение например, 5-10 лет. В ЗАО Московское СКБ «Ореол» по заданию Волгоградского завода буровой техники разработано устройство регистрации предельных значений (РПЗ). Устройство предназначено для измерения, записи в энергонезависимую память и сохранения неопределенно долго текущих значений нагрузки на крюк и давления в подающей магистрали буровой установки и позволяет восстанавливать динамику изменения этих параметров при анализе режимов работы оборудования, в том числе, в случае возникновения аварийной ситуации. Функциональная схема устройства приведена на рис. 7.7.

Рис. 14.7. Функциональная схема РПЗ
По своему предназначению РПЗ относится к устройствам типа «черный ящик». Зарегистрированные устройством значения параметров не могут произвольно корректироваться или уничтожаться, считывание хранящейся информации производится с помощью компьютера, имеющего специальное программное обеспечение. Устройство обеспечивает раздельную запись текущих значении нагрузки на крюк и давления в подающей магистрали (не менее 50 000 записей) по каждому параметру. Формат записей-год, месяц, число, час, минута, значение нагрузки или давления Кроме этого устройство фиксирует каждый случай отключения его и повторного включения, если продолжительность выключенного состояния превышает установленный интервал напри мер, 10 мин. Запись событий превышения параметра производится один раз в 1 мин (максимальное значение в эту минуту), а текущих значений параметров один раз в 15 с (среднее значение за 15 с). Запись нагрузки на буровую установку или давления в магистрали производится в виде целых чисел с дискретом в одну «тонну» для нагрузки и в одну «атмосферу» для давления. Чтение нагрузки на крюк или давления в магистрали производится не менее 6 раз в 1 с. В устройстве производится тестирование целостности датчиков, питания датчиков и других неисправностей. Результаты тестирования отображаются на светодиодной панели, а также могут передаваться в виде кодов ошибок на компьютер.
14.3 Аппаратура для контроля состояния скважины
14.3.1 Измерение кривизны скважины
Измерение кривизны ствола скважины проводится после разбуривания некоторого интервала глубин 400 – 600 м. скважинный прибор для измерения кривизны – инклинометр. Измерение угловых величин производится по точкам. Расстояние между точками называют шагом измерения, которое принято брать 5 или 10 м. Для контроля правильности работы инклинометра измерения в каждой точке дублируются. После измерения кривизны скважины бурение продолжается. Затем измеряется кривизна в новом интервале глубин. При каждом следующем глубинном интервале повторно перекрываются три точки предыдущего интервала измерений. Это необходимо для контроля правильности работы инклинометра. На каждой точке измеряют два угловых параметра – угол наклона(отклонение от вертикали) и азимут.
Угол наклона скважины(γ ) – это угол между направлением ствола скважины и вертикалью, проходящего через точку измерения. Направление ствола показывает инклинометр, длина которого 3 м , а для обозначения вертикали в измерительной системе прибора есть отвесный грузик. Измерение угла электро-контактное. После фиксации отвесом вертикали измерительная стрелка прижимается к реохорде с помощью
Электромагнитного реле, и по рабочей части сопротивления реохорды измеряется угол наклона.
Азимут искривления скважин(α) – это двугранный угол между плоскостями скважины и магнитного меридиана, проходящего через точку измерения. Он измеряется в плане от северного направления до проекции скважины. Отсчет
Берется по ходу часовой стрелки. Азимут может изменяться по всему кругу от 0 до 360 градусов. Для измерения азимута в инклинометре есть магнитная буссоль, стрелка которая всегда направлена на север. Стрелка имеет металлические контакты, которыми она прижимается к круговой реохорде.
Контактное прижимание производится с помощью электромагнитного реле после короткого успокоительного перехода. Измерение производится по величине ∆U, взятой с части круговой реохорды, соответствующей угловой величине азимута.
14.3 Измерение диаметра скважины
Скважинный прибор для измерения диаметра скважины – каверномер.
Он имеет 4 рычага, которые пружинами прижимаются к стенке скважины. Расхождение рычагов точно соответствует диаметру скважины. Для спуска прибора на забой рычаги прижимаются к цилиндрическому корпусу прибора и обвязываются тонким проводом с изоляцией. Когда каверномер находится на забое скважины, включается ток, провод перегорает и рычаги прижимаются к боковой поверхности скважины.
Кавернограмма пишется при равномерном подъеме прибора.
15. БЕЗОПАСНОСТЬ ПРОИЗВОДСТВЕННОЙ ДЕЯТЕЛЬНОСТИ
15.1 Рекомендации по промышленной безопасности
Площадки проектируемых скважин находятся вне зоны санитарной охраны водозаборов подземных вод. Рабочим проектом сбор отходов бурения предусмотрен в земляном шламовом амбаре( 2 шт.), сооруженным непосредственно на территории буровой площадки, представляющим собой инженерное сооружение с размерами 14м*7,5м*2,5м, с обваливанием высотой не менее 1,0 м. Насыпной грунт подлежит послойному уплотнению через каждые 0,5 м.
Амбар располагается по отношению к поверхности земли в «выемке». При глубине заложении земляного амбара 3,0 м размер между дном амбара и наивысшим уровнем грунтовых вод с учетом сезонных колебаний превышает минимально допустимый санитарными службами и нормами размер в 2,0 м. Глубина залегания грунтовых вод 10-15 м.
Отходы бурения самотеком поступают в шламовый амбар-накопитель по бетонированному желобу. Площадь поперечного сечения желоба не менее 0,3 м. Толщена бетонного покрытия желоба, должна быть не менее 0,05 м.
При строительстве амбаров в проницаемых породах они герметично закрываются с помощью специальных покрытий согласно РД-0147585-149-97.
Хранение порошкообразных и жидких материалов и химреагентов в специальном складе, установленном на бетонной площадке.
С целью снижения отрицательного воздействия отходов на окружающую природную среду в процессе строительства скважин предусматривается комплекс мероприятий по их организационному сбору, складированию, очистки, утилизации и экологически безопасному захоронению.
Различные виды производственных технологических отходов, образованные в процессе строительства скважины существенно отличающихся как по консистенции, так и по физико-химическим свойствам. Поэтому с целью обработки, в практике следует предусмотреть по возможности их раздельный сбор и хранения путем сооружения на территории буровой земли амбаров трех видов:
1. Для сбора буровых сточных вод и их отстое после очистки.
2. Для сбора бурового шлама и отработанной промывочной жидкости.
3. На выкидах для сбора продукции испытания скважины.
Отходы и содержимое всех амбаров и емкостей вывозят в специальные места их утилизации, обработке и захоронения. Буровую площадку рекультивируют, а устье обрабатывают и обсыпают по соответствующему регламенту об экологической охране.
15.2 Охрана окружающей среды
К природоохранным мероприятиям при строительстве скважин на нефть и газ на суше относятся:
- профилактика (технические и технологические) мероприятия, направленные на предотвращение (максимальное снижение) загрязнения и техногенного нарушения природной среды;
- сбор, очистка, обезвреживание, утилизация и захоронение отходов строительства скважин;
- предупреждение (снижение) загрязнения : атмосферного воздуха, почв (грунтов), поверхностных и подземных вод, недр;
- рекультивация земель.
Указанные мероприятия разрабатываются на все стадии строительства скважин и охватывают все объекты природной среды.
1. Решение природоохранных задач достигается путем широкого внедрения комплекса прогрессивных технико-технологических мероприятий с учетом природнотехнологических условий и проектируемой технологии строительства скважин.
2. При составлении раздела «Охрана окружающей природной среды» рабочего проекта необходимо также учитывать регламенты новейших природоохранных разработок технологических процессов применительно к условиям отдельных объединений и предприятий. Использование этих разработок должно быть согласовано с местными контролирующими органами.
Предусматриваемые в проектах технические средства, технологические процессы и материалы должны иметь инженерные обоснования, обеспечивающие максимальное снижение (исключение) нарушений природной среды.
3. Загрязнение окружающей среды может быть исключено или, в крайнем случае, снижено в результате :
- разработки и применения безвредных (или менее вредных) химреагентов и систем буровых растворов, снижающих степень опасности для всех объектов окружающей среды;
- снижение объемов (исключение) применения нефти для обработки буровых растворов в качестве профилактической противоприхватной добавки и замены ее нетоксичными смазками (ГКЖ, спринт и др.);
- применения ингибированных буровых растворов, уменьшающих объемы наработки отходов бурения.
Вопросы экологии при строительстве скважин решаются в АУБР в соответствии с утверждённой комплексной программой. Реализуя намеченные программой меры, в ОАО "Татнефть" разработаны нормативные документы на землепользование и охрану окружающей среды, внедрены ряд мероприятий технико-технологического характера, в том числе:
1. При разработке проектно – сметной документации на строительство скважин введён раздел – "Охрана окружающей среды", все ГРП должны пройти экологическую экспертизу в ГУПР и ООС РФ по РТ;
2. Под площадками скважин (кусты) использовались, в основном, участки земли малопригодные к использованию в сельском хозяйстве (площадки ранее пробуренных скважин, выгоны, заболоченные места и т.д.). Это позволяет ежегодно, с учётом подъездных путей, сохранить более 400 га пахотных земель. Объём кустового бурения в 2005 году составил 92 %: 167 скважин пробурены с 38 ограниченных площадок (кустов)
3. Подготовка скважино–точек под бурение производится со снятием плодородного слоя почвы и с обваловкой территории скважин против разлива промывочной жидкости и отходов с буровой в процессе бурения скважин. В 2006 году на эти цели было затрачено 2841605 руб.
4. Герметизация зем. амбаров осуществляется согласно РД 39–0147585–149– 97
В 2006 году гидроизоляции подвергнуто 168 земляных амбаров и желобов, уложено 216767 м2 полипропиленовой пленки и пленок ПАГЗА и ПГЗА 38456 м2 тканевой подложки.
Затрачено на это = 8 310 954 руб.
5. Утверждена конструкция скважин, обеспечивающая разобщение пластов, содержащих питьевые воды отдельной обсадной колонной (техническая колонна). В 2006 году в санитарных зонах были пробурены 5 скважин со спуском дополнительной обсадной колонной.
Затрачено на это 3756192 руб.
6. На скважинах с низкими альтитудами, против разлива пластовых вод используется противосифонное устройство (ПСУ). В 2006 году таких скважин было пробурено - 43. Работы, связанные с установкой, обслуживанием и демонтажём ПСУ потребовали доп. затрат ( за 2006 год – 633081 руб.).
7. С целью уточнения расположения пластов с питьевыми водами в интервале спуска кондуктора, производится комплекс геофизических исследований.
В 2006 году такие исследования производились на 48 скважинах и затрачено на это 4154595 руб.
8. Для защиты верхлежащих пластов с питьевыми водами производится заливка шурфов с обязательным подъёмом цемента до устья. В 2006 году залито
128 шурфов; затрачено для этих целей 234600 руб.
9. Внедрены рациональные схемы монтажа буровых установок БУ – 2500ЭП,
БУ-1600/100, БУ-2900/175 и БУ–75 с емкостными системами очистки промывочной жидкости, в комплексе с блоком очистки промывочной жидкости. Ввод их в действие и обслуга потребовали дополнительных затрат. Всего за 2006 год с таких блоков пробурено 42 скважины с 6 блоков, затрачено на эти цели 5712840 руб.
10. В последнее время широкое распространение получило повторное использование глинистого раствора и ЕВС, вывезенных с законченных бурением кустов скважин. В 2006 году вывезли и повторно использовали:
ГРА – 12792 м3; ЕВС – 1236 м3. Затрачено для этого 898650 руб.
11. Водонефтеэмульсия после освоения скважин и отработанные нефтешламы вывозится в отстойники НШУ – 1 ООО «Промышленная экология» согласно договора с ними. За 2006 год вывезли нефтешламов и водонефтеэмульсию 44,33 т. Затраты составили 30915 руб.
Экономия по сравнению с 2005г. составила 555 700 руб. Это связано с тем, что в 2006г. водонефтеэмульсия после освоения скважин сдавалась заказчику (НГДУ), согласно Генерального договора, как возвратная нефть.
12. Из–за отсутствия полигонов по захоронению твёрдых отходов бурения, выбуренный шлам частично используется для отсыпки территории скважин, частично – как инертный наполнитель при ликвидации зон осложнений в скважинах ,закачка в поглощающие пласты, частично захороняется в амбарах в процессе рекультивации нарушенных земель с восстановлением плодородного слоя почвы, согласно РД 39–352–84 и инструкции «ТатНИПИнефть» . на рекультивацию земель в 2006 году затрачено
3843412 руб.
13.При бурении скважин с интенсивным проявлением Намюрского яруса, промывочная жидкость (вода) обрабатывается двуокисью марганца или другими реагентами для нейтрализации возможного проявления сероводорода. В 2006 году было израсходовано 0,575т этих хим. Реагентов, для этого потребовалось дополнительно 8624 руб.
16. Действует замкнутая система обеспечения паром подразделений УВР в зимнее время на котельной в БПО.
17. Все канализационные колодцы на территории подразделений УБР оборудованы бензомаслоуловителями.
18. Расход питьевой воды на производственные нужды сокращён, по сравнению с 2005 г. – на 9,3%.
19. Движение транспортных средств на буровые и перетаскивание буровых блоков производилась строго по отведённым трассам и дорогам, согласованным с НГДУ и землепользователем.
20. Всего на природоохранную деятельность в 2006 году по АУБР затрачено
30 425 108 руб.
В соответствии с Постановлением РФ от 28 августа 1992 г. № 632
«Об утверждении порядка определения платы и ее предельных размеров за загрязнение окружающей природной среды, размещение отходов, другие виды вредного воздействия (в редакции Постановления Правительства РФ от 14.06.2001г. № 463 и № 410), с последними изменениями и дополнениями сохраняет силу и подлежит применению судами, другими органами и должностными лицами предусматривает взимание платежей неналогового характера как с юридических, так и с физических лиц, использующих природные ресурсы и негативно влияющих на окружающую среду.
Согласно статьи 7 Закона Республики Татарстан от 16.12.03. № 52-3РТ
«О бюджете РТ на 2006г.», в котором установлены нормативы платы за негативное воздействие на окружающую природную среду, Альметьевским УБР и АЦУТТ перечислено в Альметьевское отделение Управления Ростехнадзора (ЦЛАТИ):
- за выбросы в атм. от стационарных источников загрязнения 2292 руб.
- за выбросы в атмосферный от передвижных источников 26584 руб.
- за сбросы в водные объекты (на рельеф местности) дождевыми и талыми стоками 121234руб.
- за сбросы в водные объекты (на рельеф местности) от мойки автотранспорта 659799 руб.
- за размещение отходов 536572 руб.
- компенсационные выплаты за ущерб, нанесенный рыбным запасам рек при заборе воды из рек 34400 руб.
ИТОГО по Альметьевскому участку АУБР = 1 380 881 руб.
16. ВОПРОСЫ ГРАЖДАНСКОЙ ОБОРОНЫ ОБЪЕКТА
16.1 Противопожарная служба гражданской обороны
Противопожарная служба гражданской обороны ( далее – ППС ГО) – служба, предназначенная для выполнения комплекса организационных, инженерно-технических и иных мер в целях обеспечения боевой готовности пожарной охраны к выполнению возложенных на нее задач гражданской обороны при ведении военных действий или вследствие этих действий.
Решение о создании ППС ГО в соответствии с федеральным законом «О гражданской обороне» принимает орган исполнительной власти, органы местного самоуправления и руководители организаций независимо от их организационно-правовых форм и форм собственности в соответствии с их положением.
ППС ГО является составной частью гражданской обороны – системы мероприятий по подготовке к защите и по защите населения, материальных и культурных ценностей на подведомственной территории или объекте от опасностей, возникающих при ведении военных действий или вследствие этих действий.
Кроме Федеральной противопожарной службы гражданской обороны, ППС ГО создаются в субъектах Российской Федерации, городах, поселках, городских и сельских административно-территориальных образованиях и на предприятиях на базе соответсвующих органов управления и подразделений Государственной противопожарной службы (ГПС).
ППС ГО организуется по территориално-производственному принципу.
16.1.1 Основные задачи противопожарной службы гражданской обороны
Основными задачами ППС ГО являются:
разработка и осуществление мер, направленных на повышение противопожарной устойчивости населенных пунктов и объектов, создание необходимых условий для борьбы с возможными пожарами, возникшими при ведении военных действий или вследствие этих действий;
противопожарное обеспечение аварийно-спасательных и других неотложных работ (АСДНР), организация и осуществление тушения пожаров, возникших при ведении военных действий или вследствие этих действий, а также проведение связанных с пожарами первоочередных аварийно-спасательных работ на объектах ведения АСДНР и на маршрутах ввода сил гражданской обороны к указательным объектам;
разработка и совершенствование тактики борьбы с пожарами, возникшими при ведении военных действий или вследствие этих действий;
боевая подготовка и обеспечение боевой готовности органов управления и сил ППС ГО;
обеспечение постоянной готовности сил и средств ППС ГО;
создание и поддержание в готовности командных пунктов (защищенных рабочих помещений), узлов связи ППС ГО;
защита личного состава и техники ГПС от поражающих факторов современных боевых средств.
16.1.2 Функции противопожарной службы гражданской обороны и их обеспечение
В целях выполнения задач ППС ГО Государственная противопожарная служба в соответствии с законодательством Российской Федерации выполняет следующие функции:
разрабатывает или участвует в разработке мероприятий по реализации норм и правил противопожарных инженерно-технических мероприятий гражданской обороны, осуществляет контроль за их выполнением;
осуществляет противопожарное обеспечение АСДНР;
проводит практические мероприятия по совершенствованию тактики борьбы с пожарами, возникшими при ведении военных действий или вследствие этих действий;
планирует, организует и проводит учения, тренировки, учебные сборы, занятия и другие учебные мероприятия с должностными лицами, специалистами и подразделениями ГПС, а также штабами, боевыми расчетами и оперативными группами ППС ГО по решению задач военного времени;
разрабатывает схемы управления и связи на военное время, осуществляет мероприятия по поддержанию в постоянной боевой готовности пунктов управления (защищенных рабочих помещений) и узлов связи ППС ГО;
обеспечивает функционирование шифрованной связи в ГПС и ее органах;
обеспечивает личный состав защитными сооружениями (убежища и укрытия);
создает нормативные запасы пожарной и социальной техники, средств индивидуальной защиты, средств связи и другого имущества, необходимого для работы и обеспечения жизнедеятельности органов управления и подразделений ГПС в военное время;
осуществляет мероприятия по подготовке к организованному проведению рассредоточения сил и средств ГПС в военное время;
осуществляет прогнозирование пожарной обстановки, а также потерь личного состава и техники ГПС в военное время с учетом развития современных средств поражения противника;
подготавливает и осуществляет мероприятия по светомаскировке зданий и автотранспорта ГПС;
разрабатывает и корректирует документы плана обеспечения мероприятий гражданской обороны ППС ГО (далее – план ППС ГО).
16.1.3 Руководство противопожарной службой гражданской обороны
Общее руководство противопожарной службой гражданской обороны субъектов Российской Федерации осуществляет начальник гражданской обороны этого субъекта.
Непосредственное руководство ППС ГО области осуществляет начальник противопожарной службы гражданской обороны области – начальник управления Государственной противопожарной службы области.
Начальником противопожарной службы гражданской обороны города, района, иного административно-территориального образования, предприятия является начальник соответствующего подразделения ГПС.
В своей повседневной деятельности начальники ППС ГО всех степеней руководствуются действующим законодательством и постановлениями Правительства Российской Федерации по вопросам гражданской обороны, Положением о гражданской обороне Российской Федерации (разрабатывается МЧС России), нормативно правовыми актами местных органов власти, приказами и распоряжениями соответствующих начальников ГО и положениями о службах гражданской обороны.
В каждой противопожарной службе гражданской обороны в соответствии с настоящим положением, нормативно-правовыми актами разрабатывается план ППС ГО. План ППС ГО субъекта подписывается начальником ППС ГО и начальником штаба ППС ГО, согласовывается с начальником Главного управления ГО ЧС и утверждается начальником гражданской обороны субъекта Российской Федерации.
Планы ППС ГО города, поселка, городского и сельского административно-территориального образования, организации подписываются начальником ППС ГО и начальником штаба ППС ГО (группы управления ГО), согласовывается с соответствующими начальниками органа управления ГО ЧС и утверждается соответствующим начальником ГО. Планы ППС ГО вводятся в действие одновременно с введением в действие планов гражданской обороны.
Начальник ППС ГО осуществляет управление службой (непосредственно и через основной орган управления силами ППС ГО в боевой обстановке) и руководство обучением и повседневной деятельностью сил ППС ГО.
Начальником штаба (группы управления) является один из заместителей начальника органа управления или подразделения ГПС и назначается соответствующим начальником органа управления или подразделения ГПС.
Начальник штаба (группы управления), а также руководитель подразделения обеспечения военно-мобилизационной готовности органа управления ГПС являются заместителями начальника ППС ГО.
Штабы ППС ГО создаются:
- в ППС ГО области, города, городского района (округа), если данные города отнесены к группе по гражданской обороне – штаб начальника ППС ГО области, города, городского района (округа);
- в ППС ГО категорированного предприятия – штаб начальника ППС ГО предприятия;
- во всех других ППС ГО создаются группы управления ППС ГО.
Штабы (группы управления) ППС ГО области, района, административного округа, предприятия создаются из личного состава соответствующего органа управления или подразделения ГПС.
Штаб ППС ГО состоит из боевых расчетов, функционирующих на командных пунктах (защищенных рабочих помещениях) ППС ГО. В состав боевых расчетов штаба входят оперативные группы - нештатные подразделения, предназначенные для подготовки к работе командных пунктов (защищенных рабочих помещений) ППС ГО.
Организационная структура штаба (группы управления) ППС ГО определяется начальником ППС ГО исходя из организационно-штатной структуры соответствующего органа управления или подразделения ГПС и, как правило, принимается идентичной последней.
16.1.4 Силы и средства противопожарной службы гражданской обороны области
Силами и средствами ППС ГО являются личный состав и техника, предназначенные для выполнения задач ППС ГО. В состав сил ППС ГО входят все органы управления, подразделения, кроме специальных формирований ГПС военного времени.
Подразделения пожарной охраны других ведомств, а также гражданские организации (противопожарные формирования) гражданской обороны (ГОГО) привлекаются в состав сил ППС ГО в порядке, определяемом нормативными актами по гражданской обороне.
Для обеспечения непрерывного ведения работ ППС ГО создается группировка сил в составе двух эшелонов и резерва.
Силы ППС ГО первого эшелона предназначены для немедленного развертывания работ по противопожарному обеспечению АСДНР.
В состав сил ППС ГО первого эшелона входят личный состав органов управления и подразделений ГПС, подразделений пожарной охраны других ведомств и ГОГО (при наличии последних в составе сил ППС ГО), оставляемый в местах постоянной дислокации для охраны населенных пунктов и предприятий после эвакуации и рассредоточения.
Силы ППС ГО второго эшелона предназначены для усиления и развития действий сил ППС ГО первого эшелона, а также частичной или полной их замены.
В состав сил ППС ГО второго эшелона входит личный состав органов управления и подразделений ГПС, подразделений пожарной охраны других ведомств и ГОГО (при наличии последних в составе ППС ГО), выводимый в загородную зону (в том числе личный состав нештатных подразделений ГПС, формируемых за счет личного состава и техники штатных подразделений ГПС для выполнения определенных задач по тушению пожаров – сводных отрядов ГПС).
Резерв сил ППС ГО предназначен для решения внезапно возникающих задач при задействовании сил ППС ГО первого и второго эшелонов, а также для усиления их действий. В состав резерва сил ППС ГО входят отдельные подразделения ГПС городов, не отнесенных к группам по гражданской обороне и сельских районов, которые не выделяют силы в сводные отряды ГПС (далее - СОПС).
Из направляемых в загородную зону в результате рассредоточения сил и средств ГПС формируется СОПС.
Показатели для включения в схему развертывания СОПС (количество СОПС, места их дислокации после сформирования, штатная численность, базовые подразделения, срок готовности и другие необходимые сведения) определяются УГПС области и представляются В ГПС МЧС России.
Места дислокации СОПС в загородной зоне определяются заблаговременно и приписываются решением «СЗ» местной администрации.
Противопожарные формирования гражданской обороны (противопожарные и лесопожарные команды, отделения и звенья) создаются и функционируют в порядке, определяемом Постановлением Правительства Российской Федерации от 10 июня 1999 г. № 620 и методическими указаниями, введенными в действие директивной МЧС России от 3 апреля 2000 г. № 33-860-14.
Личный состав объективных подразделений ГПС размещается в загородной зоне, как правило, с персоналом охраняемых объектов.
Гражданские организации гражданской обороны (противопожарные и лесопожарные команды, отделения и звенья) противопожарных служб ГО создаются и функционируют в порядке, определяемом Постановлением Правительства Российской Федерации от 10 июня 1999 г. № 620 и методическими указаниями, введенными в действие директивной МЧС России от 3 апреля 2000 г. № 33-860-14.
16.1.5 Материально-техническое обеспечение и финансирование ППС ГО
Финансирование мероприятий ППС ГО осуществляется в соответствии с федеральными законами и иными нормативными актами Российской Федерации органов власти субъектов РФ и органов местного самоуправления.
Расходы на подготовку и проведение мероприятий ППС ГО, в том числе на создание и содержание запасов материально-технических, продовольственных, медицинских и иных средств, понесенные органами исполнительной власти области, органами местного самоуправления и организации, возмещаются в порядке, определяемом Правительством Российской Федерации.
Финансирование органов управления и подразделений Государственной противопожарной службы (за исключением подразделений, создаваемых на основе договоров) осуществляется за счет средств федерального бюджета. Распределение указанных средств производит федеральный орган управления Государственной противопожарной службы. В случае необходимости могут привлекаться дополнительные средства из других источников финансирования в установленном порядке.
Органы исполнительной власти субъектов Российской Федерации, органы местного самоуправления и предприятия финансируют органы управления и подразделения Государственной противопожарной службы, содержащиеся за счет средств соответствующих бюджетов.
Материально-техническое обеспечение органов управления и подразделений Государственной противопожарной службы осуществляется ими самостоятельно, а также в порядке и по нормам, которые определяются Правительством Российской Федерации, через систему материально-технического и военного снабжения, систему специальных поставок МЧС России. Материально-техническое обеспечение ведомственной и добровольной пожарной охраны осуществляется их собственниками.
Расходы, связанные с введением в действие планов ППС ГО, предусматриваются в установленном порядке в сметах органов ГПС МЧС России, органов исполнительной власти субъектов Российской Федерации, органов местного самоуправления и предприятий.
Обеспечение органов управления, подразделений ППС ГО служебными зданиями и сооружениями в загородной зоне при рассредоточении сил и средств, текущий и капитальный ремонт этих зданий и сооружений, а также обеспечение мебелью, инвентарем и коммунально-бытовыми услугами (отопление, освещение, водоснабжение, канализация и т.д.) и их финансовое обеспечение осуществляется в установленном порядке органами исполнительной власти субъектов Российской Федерации и органами местного самоуправления.
