| Скачать .docx | Скачать .pdf |
Реферат: Вещественная, структурная и фазовая неоднородность пород, а также физические свойства горных пор
Вещественная, структурная и фазовая неоднородность пород
Петрофизика (физика горных пород) — дисциплина естествознания, в которой изучают закономерности изменения физических свойств горных пород и связи между этими свойствами.
Физические свойства горных пород — это их способность взаимодействовать с естественными физическими полями Земли (гравитационным, магнитным, тепловым) или с искусственно созданными физическими полями (волновым, радиоактивным, полем давлений флюидов, оптическим и другими), создаваемыми в горных породах.
Породы могут быть однофазными и многофазными.
Физические свойства однородных и однофазных горных пород и минералов в значительной мере обусловлены строением атомов химических элементов их слагающих.
Физические свойства гетерогенных и многофазных горных пород (например, обломочных, глинистых и карбонатных), помимо свойств атомов, в значительной мере определяются степенью неоднородности пород, которая может быть охарактеризована емкостными, капиллярными и газо-, гидродинамическими свойствами.
Именно неоднородность физических свойств лежит в основе использования геофизических методов для дистанционного изучения строения литосферы, слагающих ее горных пород и выявление в них полезных ископаемых.
Каковы место и роль петрофизики при геофизических исследованиях?
Технологический цикл любого геофизического исследования состоит из трех этапов:
- измерения параметров физического поля в неоднородной среде;
- геофизической интерпретации результатов этих измерений с целью определения физических свойств и построения вероятной геометрии физической модели изучаемой среды (в основе которой лежат методы и результаты решения прямых геофизических задач);
- геологической интерпретации физической модели и построения физико-геологической модели изучаемой среды.
Основой для геологической интерпретации геофизических данных служат петрофизические связи, позволяющие перейти от неоднородностей, обусловленных физическими свойствами среды, к непосредственно геологическим объектам и их литологическим свойствам.
Построение надежной физико-геологической модели требует использования комплексных геофизических исследований и привлечения первоначальной геологической информации. И то и другое нуждается в подтверждении обоснованными петрофизическими связями. От этого зависит конечный итог геофизических исследований — уровень понимания геологического строения региона, надежность поисков месторождений полезных ископаемых, промышленная оценка запасов этих ископаемых.
В петрофизике горную породу представляют в общем случае как гетерогенную многокомпонентную многофазную термодинамическую систему.
Фазовая неоднородность предполагает наличие границ раздела между обособленными объемами занимаемыми каждой фазой в породе (твердая, жидкая , газообразная). Примером фазовой неоднородности может служить водоносный неглинистый коллектор, в котором твердая фаза минерального скелета и свободная вода в порах занимают обособленные объемы, разделенные поверхностью с малой площадью. С появлением глинистой компоненты в минеральном скелете возрастает площадь поверхности раздела.
Компонентную неоднородность породы характеризуют составом твердой, жидкой и газообразной фаз. Ее можно проиллюстрировать на следующих примерах: доломитизированный известняк имеет в составе твердой фазы два минерала— доломит и кальцит; нефтеводоносный коллектор содержит в составе жидкой фазы нефть и свободную воду.
Структурно-текстурноя неоднородность предполагает наличие двух или более различных пород, чередующихся в объеме изучаемого геологического объекта. Примерами текстурной неоднородности являются разновидности глинистого песчаника, содержащие глинистый материал, распределенный по объему в виде прослоев
Масштабы неоднородности зависят от ее природы и образуют различные уровни.
Например, находясь на уровне пор и скелетных зерен, мы уделяем основное внимание исследованию геометрии пор и минерального скелета породы.
Уровни неоднородности более высокого порядка исследуют обычно комплексом геофизических методов в разрезах скважин.
Таким образом, исследуя неоднородности разного уровня и разными методами мы получаем необходимую нам петрофизическую информацию.
Пористость
Горные породы, руды, каменные угли и минералы, слагающие земную кору, не являются сплошными телами, все они содержат полости (поры). Поры это небольшие пространства, не занятые минеральным скелетом, замкнутые, либо сообщающиеся между собой и атмосферой.
Пористость – это свойство породы содержать не заполненные твердой фазой объемы внутри нее.
По происхождению поры делятся на первичные, которые сформировались в момент образования горной породы, и вторичные, возникшие уже после образования породы, в процессе ее литогенеза (рис. 3). Первичные это как правило межзерновые поры. Классические примеры пород с первичными порами — это осадочные терригенные породы: пески, песчаники, глины.

К вторичным полостям относятся трещины, каверны или каналы выщелачивания минералов. Примеры пород с вторичными полостями — трещинные и трещинно-кавернозные известняки и доломиты.
Количественно объем всех видов пор и полостей в горных породах принято оценивать коэффициентом пористости:
кп = Vп /V
где Vп – объем пор в породе; V — объем сухой породы.
Пористость однородных, хорошо отсортированных пород выше чем неоднородных, т.к. в неоднородных породах более мелкие частицы располагаются среди более крупных и общая плотность упаковки повышается. Существенное влияние на пористость пород оказывает плотность сложения. На рис 1.11 видно, что в зависимости от плотности укладки равновеликих частиц шарообразной формы, независимо от их размера, коэффициент пористости может изменяться от 26 % при тетраэдрической укладке частиц, до 48 % при кубической.

По размерам поры и каверны можно характеризовать эффективным диаметром, а трещины — средней шириной (раскрытием) В основу классификации пор по размерам положено взаимодействие твердой поверхности с насыщающей поры пластовой водой.
Для оценки эффективного диаметра пор dэф используют уравнения Лапласа для капиллярного давления в круглом цилиндрическом капилляре:
dэф = 4σ cosθ/pк
где σ – поверхностное натяжение, Н/м; pк — капиллярное давление, Па; θ — краевой угол смачиваемости.
По диаметру пор породы делят на четыре группы:
Сверхкапилляры - поры, имеющие диаметр dэф > 10-4 м. Доля воды, связанной капиллярными силами и силами адсорбции с твердой фазой, сравнительно невелика, поэтому пластовая вода в этих порах может двигаться в основном под действием силы тяжести. Сверхкапиллярные поры характерны для слабосцементированных галечников, гравия, крупно- и среднезернистых песков, обломочных разностей карбонатных пород; в зонах выщелачивания карбонатных пород они могут достигать весьма больших размеров (каверны, карсты).
Капилляры это поры с dэф = 10-7 - 10-4 м . В них радиус менисков, образовавшихся на границе двух фаз в результате поверхностного натяжения, таков, что они препятствуют движению воды под действием силы тяжести, т. е. вода в этих порах удерживается капиллярными силами. Капиллярные поры типичны для сцементированных песчаников, обломочных и кристаллических известняков, доломитов.
В субкапиллярных порах (dэф = 2*10-9 – 1*10-7 м) велика доля воды, на которую действуют адсорбционные силы со стороны твердой поверхности. Поры в этом случае заполнены водой, которая практически не способна к перемещению в поле силы тяжести или под влиянием капиллярных сил. Субкапиллярные поры свойственны глинам, мелкокристаллическим и мелоподобным известнякам, доломитам, трепелам, пепловым туфам и другим тонкозернистым породам. В отсутствие трещиноватости все эти породы не являются коллекторами.
В микропорах (dэф < 2*10-9 м), диаметр которых соизмерим с толщиной слоя прочносвязанной воды, пластовая вода при температурах менее 70 °С практически неподвижна. Микропоры установлены у некоторых природных цеолитов.
Трещиноватость наиболее характерна для плотных, низкопористых горных пород. Происхождение трещин чаще всего тектоническое, хотя в природе можно встретить трещины диагенеза (доломитизация карбонатов), трещины уплотнения и трещины автогидроразрыва в зонах образования аномально высоких пластовых давлений.
По характеру взаимной связи между порами и движению флюидов в породе различают общую, открытую, эффективную и динамическую пористости.
Виды пористости:
Коэффициентом открытой пористости кп.о оценивается объем пор, сообщающихся между собой в породе и с окружающей средой.
кп.о = Vп.о /V
где Vп.о – объем открытых пор в породе.
Открытую пористость определяют путем взвешивания сухих и насыщенных керосином образцов пород (метод Преображенского). Взвешивают сухой образец, затем насыщают керосином (т. к. керосин обладает хорошей текучестью) и взвешивают, получают разность масс, и, зная, плотность керосина, высчитывают его объем в образце, т. е. коэффициент открытой пористости.
В настоящее время при определении открытой пористости большинство крупных компаний используют метод газовой порометрии. Чаще всего это установка APP 608. Измерения порового объема выполняются с использованием принципа расширения гелия по закону Бойля. Закон Бойля гласит, что давление (P) какого-либо идеального газа, умноженное на его объем (V), дает постоянное значение (при постоянной температуре): P1 *V1 =P2 *V2 , при Т=const.
В установке для измерения пористости используется "Регулятор изменения объема". Когда стабилизируется давление и записывается значение P1 ,объем системы с помощью "Регулятора изменения объема" изменятся на известную величину (Δ V) и после стабилизации давления измеряется P2 , таким образом можно рассчитать неизвестный объем (V):
P1 *V=P2 *(V+ Δ V) => V= P2 * Δ V/( P1 - P2 ).
Коэффициент эффективной пористости кп.эф , (понятие введено Л. С. Лейбензоном) характеризует полезную емкость породы для углеводородов (нефти или газа) и представляет собой объем открытых пор за исключением объема, заполненного физически связанной пластовой водой, которую нельзя удалить из образца под воздействием капиллярных сил. Объем такой воды в образце характеризуется коэффициентом остаточной водонасыщенности кв.о. :
кп.эф = (Vп.о . - Vв.св )/V = кп.о (1 - кв.о )
где Vв.св — объем связанной воды.
Однако не весь объем нефти или газа, заполняющих полезную емкость горных пород, можно привести в движение при разработке месторождений. Определенная часть их, находящаяся в мелких и тупиковых порах, при реализуемых градиентах давления вытесняющей жидкости остается в порах без движения.
Коэффициент динамической пористости кп.д показывает, в какой части объема породы при заданном градиенте давления может наблюдаться движение жидкости или газа. Этот объем определяют как разницу между объемом эффективных пор (Vп.о . – Vв.св ) и объемом пор Vн.о занятых остаточной нефтью:
кп.д = (Vп.о . – Vв.св – Vн.о )/V = (Vп.эф – Vн.о )/V = кп.о (1 – кв.о – кн.о )
Некоторая неопределенность данного выражения заключается в том, что величина кп.д зависит не только от свойств породы, но и от величины приложенного градиента давления и времени вытеснения керосина другим флюидом. Так, при длительном приложении высоких градиентов давления вытеснения кп.д —> кп.эф . Однако при низких градиентах давления вытеснения, как правило, кп.д < кп.эф .
В заключение этого раздела необходимо указать на следующую закономерность в величине коэффициентов пористости, определенных на одном образце:
кп > кп.о > кп.эф > кп.д .
ПОРИСТОСТЬ ОСАДОЧНЫХ ПОРОД
Осадочные породы, по М. С. Швецову, можно подразделить на три большие группы: 1) обломочные; 2) хемогенные и биогенные; 3) глинистые.
Наибольшую роль при формировании осадочных толщ играют обломочные, карбонатные, глинистые, соляные и сульфатные породы.
Пористость обломочных, карбонатных и глинистых пород изменяется в широких пределах. Ее конкретное значение для каждой породы определяется многими факторами. Однако наиболее значимыми из них являются: максимальная глубина погружения, интенсивность вторичных процессов, температура, возраст пород и содержание глинистых минералов.
Структура порового пространства.
Поровое пространство горной породы, является весьма сложным по своей форме и состоит из сочетания пор разных размеров. Как мы уже разобрались одни поры хорошо проводят флюиды, другие — заполнены адсорбированной и капиллярно-удержанной водой.
Характер распределения пор по размерам обычно называют структурой порового пространства изучаемой породы. Существуют прямые и косвенные методы изучения структуры порового пространства. К прямым методам относятся оптические, например, исследование микрофотографий шлифов (А. Ф. Богомолова, Н. А. Орлова, 1961 г.) и с помощью электронной микроскопии, к косвенным — капиллярные методы.
Оптические методы характеризуют распределение пор на плоскости, и требуются многократные исследования на параллельных плоскостях для представления об изменении пор в объеме.
Капиллярные методы характеризуют структуру порового пространства в объеме, но они, как правило, не могут быть использованы для изучения трещиновато-кавернозных пород.
Известны три разновидности капиллярных методов: 1) полупроницаемой мембраны; 2) ртутной порометрии; 3) капиллярной пропитки.
В методе полупроницаемой мембраны из водонасыщенного образца, установленного на водонасыщенной искусственной мембране размером пор 2*10-6 м, азотом вытесняют воду и строят зависимость величины водонасыщенности образца от величины капиллярного давления. Из уравнения Лапласа вычисляют эффективные диаметры пор, соответствующие каждой точке давления р к , а по изменению водонасыщенности — относительное содержание этих пор в объеме породы. Строят график распределения пор в образце по их размерам.
Размер пор полупроницаемой мембраны ограничивает нижний предел изучения пор. Радиусы пор вычисляют в диапазоне (2-100)*10-6 м.
Пленку смачивающей жидкости (воды) на поверхности пор породы трудно учесть в расчетах, что снижает точность определения распределения пор.
В методе ртутной порометрии в вакуумированный образец нагнетают ртуть. Чем меньше диаметр пор, тем большее давление нужно приложить для преодоления капиллярных сил. Строят зависимость капиллярного давления рк от насыщенности образца ртутью, затем — кривую распределения пор.
Диапазон изучаемых пор при работе с этим методом расширяется до (0,01-100)*10-6 м.
К недостаткам метода можно отнести слабую изученность зависимости θ от влажности и литологии пород и невозможность использовать образец для повторных или последующих исследований.
В методе капиллярной пропитки смачивающая люминесцирующая в ультрафиолетовом свете жидкость под воздействием капиллярных сил впитывается образцом. С помощью автоматической фотометрической установки наблюдают за изменением окраски верхнего торца образца под влиянием впитывающейся жидкости. Дополнительное изучение извилистости поровых каналов электрическими методами позволяет проводить моделирование порового пространства.
Эти капиллярные методы основаны на применении уравнения Лапласа:
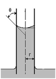
рк = 2σcosθ/r
где σ — поверхностное натяжение на границе смачивающей фазы и несмачивающей фазы; r — радиус капилляра; θ — угол смачивания, для гидрофильной поверхности θ < 90°.
Поверхностное натяжение . У молекул поверхностного слоя потенциальная энергия вдвое выше, чем у молекул внутри жидкости. Стремясь занять положение с наименьшей потенциальной энергией, молекулы жидкости на поверхности стремятся втянуться внутрь жидкости. Таким образом, жидкость под действием внутренних сил молекулярного притяжения стремится уменьшить свободную поверхность (то есть поверхность соприкосновения с воздухом). Примерами этого служат шарообразность капель дождя или мыльного пузыря: шар - это тело, имеющее при данном объеме наименьшую площадь поверхности.

Смачивание
. Если жидкость контактирует с твердым телом, то существуют две возможности: 1) молекулы жидкости притягиваются друг у кругу сильнее, чем к молекулам твердого тела. В результате силы притяжения между молекулами жидкости собирают её в капельку. Так ведет себя ртуть на стекле, вода на парафине или "жирной" поверхности. В этом случае говорят, что жидкость не смачивает поверхность, такая поверхность называется гидрофобной;

2) молекулы жидкости притягиваются друг у кругу слабее, чем к молекулам твердого тела. В результате жидкость стремится прижаться к поверхности, расплывается по ней. Так ведет себя ртуть на цинковой пластине, вода на чистом стекле или дереве. В этом случае говорят, что жидкость смачивает поверхность, такая поверхность называется гидрофильной.

Угол смачивания это угол между смачиваемой поверхностью и прямой направленной по касательной к поверхности смачивающей фазы в точке контакта.
а
б

Рисунок а капля на поверхности твердой фазы, б капилляр над поверхностью свободной воды.
Ранее предполагалось, что поверхность твердой фазы полностью гидрофильна. В этом случае пленка воды равномерно покрывает поверхность, все активные центры поверхности заняты молекулами воды или гидратированными катионами. Однако, реальные коллекторы нефти и газа в пластовых условиях нередко бывают частично гидрофобными. Это значит, что часть поверхности пор водой не смачивается; в пределах этих «островов» отсутствует пленка воды, а нефть или газ непосредственно граничат с поверхностью твердой фазы.
Избирательная смачиваемость поверхности твердой фазы водой определяется величиной угла смачивания θ на границе воды и другой подвижной фазы в капилляре (воздух, газ, нефть). При θ=0 поверхность считается полностью гидрофильной; при 0<θ<90° поверхность преимущественно гидрофильна; при 90°< θ <180°—преимущественно гидрофобна; при θ =180° — полностью гидрофобна.
Преимущественно гидрофобны твердые битумы и ископаемые угли. Глины и агрегаты глинистых минералов в породах коллекторах (глинистый цемент), как правило, гидрофильны, если не считать глинистых нефтематеринских отложений (например, породы баженовской свиты на территории Западной: Сибири).
Гидрофобизация породы-коллектора оказывает существенное влияние на величину подсчетных параметров и эффективность разработки месторождения, поэтому необходимы учет степени гидрофобизации и количественная ее оценка.
В основе количественной оценки лежит сравнение результатов эксперимента, выполненного по одной и той же программе на «сыром» образце, извлеченном из скважины, с предполагаемой частичной гидрофобностью, и на том же образце, прошедшем экстракцию — обработку органическими растворителями, в результате которой частично гидрофобный образец становится полностью гидрофильным. Качественный признак частичной гидрофобности «сырого» образца — изменение результатов эксперимента после экстракции.
Гранулометрический состав осадочных пород.
Как мы говорили: размерность, однородность, сортировка оказывают большое влияние на структуру порового пространства поэтому очень полезно иметь представление о гранулометрическом составе.
Под гранулометрическим составом породы понимается относительное содержание в ней (по массе) частиц различных размеров. Для определения гранулометрического состава выполняется гранулометрический (механический) анализ. Он заключается в расчленении породы на группы с близкими по величине частицами (фракциями). Размеры частиц горных пород изменяются в очень широких пределах — от 1 мкм или 0,001 мм (частицы глинистых и коллоидно-дисперсных минералов) до сотен миллиметров (галька, валуны).
К старым методам относятся ситовый и седиментационный анализ. Зерна и частицы диаметром от 0,1 до 10 мм, определяются методом ситового анализа. Частицы диаметром < 0,1 мм, определяются отмучиванием в спокойной воде так называемым седиментационным анализом.
Современные методы основаны на принципе дифракции лазерных лучей для получения информации о размерах частиц и их распределении. Microtrac X 100 диапазон измеряемых частиц от 0.04 до 704*10-6 м.
От размера частиц дисперсных пород зависит их суммарная поверхность. Общее представление о суммарной поверхности дает удельная поверхность. Под удельной поверхностью Sп понимают суммарную поверхность всех частиц, заключенных в кубическом метре или в одном килограмме породы.
![]()
где dэф — эффективный диаметр несферического зерна, принимаемого за сферическое.
Минимальными значениями удельной поверхности обладают хорошо отсортированные, хорошо окатанные, слабо сцементированные средне- и крупнозернистые породы.
Наибольшую удельную поверхность имеют природные адсорбенты: глины, бокситы, туфовые пеплы.
Удельная поверхность осадочных и обломочных пород зависит от минерального и гранулометрического состава, формы зерен, наличия цемента и его типа. Она возрастает с уменьшением среднего диаметра частиц и увеличением содержания глинистого цемента. Однако, значения S определяются в основном глинистостью пород.
Глинистость осадочных горных пород характеризуется содержанием в минеральном скелете породы частиц с эффективным диаметром менее 10 мкм. Глинистость устанавливают обычно по данным гранулометрического анализа и рассчитывают по формуле:
где Сгл — массовая глинистость в долях единицы; mтв — масса сухой навески анализируемого порошка — твердой фазы минерального скелета породы; m<0.01 — масса фракции с dэф < 10 мкм.
Достоверность определения Сгл зависит от технологии выполнения стандартного гранулометрического анализа в лабораториях петрографии и физики пласта: исследуемый образец экстрагируют в аппарате Сокслета, далее его дезинтегрируют, превращая в порошок, и обрабатывают 5—10%-ным раствором соляной кислоты, после чего отмывают полученный порошок в дистиллированной воде, высушивают в термостате при температуре 105 °С и приступают к гранулометрическому анализу. Отметим по крайней мере два существенных недостатка методики, обусловливающих погрешность в определении Сгл .
При дезинтегрировании (истирании) образца не гарантируется переход в порошок всех частиц с dэф <10 мкм, поскольку часть их находится в зернах полевых шпатов и других минералов, частично преобразованных и содержащих в себе эти частицы.
Обработка изучаемого объекта концентрированным раствором HCl необратимо изменяет первоначальную массу образца, его минеральный и гранулометрический составы, поскольку растворяются не только карбонаты и гидрокарбонаты кальция и магния, но и ряд смешаннослойных глинистых минералов и другие высокодисперсные компоненты минерального скелета породы, которые, не будучи растворены HCl, оказались бы при гранулометрическом анализе во фракции с dэф < 10 мкм.
В петрофизической и геофизической практике используют параметры глинистости, производные от массовой глинистости Сгл , — объемную кгл и относительную ηгл глинистость.
![]()
![]()
Параметр кгл характеризует долю объема породы, занимаемую глинистым материалом; его удобнее использовать при построении различных моделей породы и для сопоставления с геофизическими параметрами, например с удельной радиоактивностью породы.
Коэффициент относительной глинистости, или просто относительная глинистость, ηгл характеризует степень заполнения глинистым материалом пространства между скелетными зернами:
![]()
Рассмотренные параметры характеризуют так называемую рассеянную глинистость породы, равномерно распределенную в объеме и характерную для достаточно однородных песчаников и алевролитов преимущественно кварцевого состава. Но наряду с рассеянной различают слоистую глинистость, характеризующую содержание в породе прослоев глинистого материала, чередующихся с прослоями коллектора. Слоистую глинистость характеризуют параметром χгл , выражающим долю толщины прослоев глины в слоистой породе.
В общем случае, параметры ηгл и χгл связаны соотношением
![]()
Тонкодисперсная составляющая осадочной породы с размером частиц менее 10 мкм имеет сложный минеральный состав — кроме глинистых минералов она может содержать кварц, опал, халцедон, биотит, мусковит, лимонит, перидотит, роговую обманку, титаномагнетит, пирит. Однако основной составляющей этой фракции являются обычно глинистые минералы, что и позволяет, хотя и с определенной оговоркой, называть эту фракцию глинистым компонентом породы.
К глинистым минералам относят минералы алюмосиликатного состава, образующие группы гидрослюд, каолинита, монтмориллонита. Благодаря высокой дисперсности частиц глинистых минералов в осадочных породах они обладают огромной адсорбционной поверхностью, способной удерживать полярные молекулы воды и обменные катионы.
Минералы группы монтмориллонита и смешаннослойные образования гидрослюды обладают раздвижной кристаллической решеткой и способны поглощать молекулы воды и обменные катионы в пространстве между алюмосиликатными пакетами, что приводит к набуханию частиц и увеличению их объема в несколько раз.
Присутствие в породе глинистых минералов, оценка их содержания и изучение их состава и свойств представляют большой интерес для петрофизики нефтегазовых коллекторов по следующим причинам.
Содержание глинистых частиц в терригенном коллекторе кварцевого или полимиктового состава существенно влияет на их пористость и проницаемость. С ростом глинистости фильтрационно-емкостные свойства коллектора обычно ухудшаются.
Огромная поверхность глинистых частиц обусловливает связь содержания в породе физически связанной воды с глинистостью и увеличение коэффициента остаточного водонасыщения с одновременным снижением коэффициента эффективной пористости с ростом глинистости. Образование пленок адсорбированной воды с аномальными физическими свойствами, занимающих значительную долю объема глинистой породы, ведет к возникновению аномальных физических и физико-химических свойств глинистых пород, которые необходимо учитывать при анализе материалов ГИС.
Содержание и минеральный состав глинистого материала — главные факторы, определяющие способность породы играть роль литологического экрана нефтяной или газовой залежи.
В петрофизике нефтегазовых коллекторов информация о глинистости изучаемых объектов необходима для решения следующих вопросов:
а) выбора петрофизических уравнений и их констант, адекватных изучаемому объекту, для эффективного использования их при геологической интерпретации результатов ГИС на стадиях подсчета запасов и проектирования разработки месторождений нефти и газа;
б) прогноза поведения коллекторов нефти и газа в прискважинной зоне при вскрытии разреза бурением на пресном буровом растворе;
в) прогноза поведения коллекторов нефти и газа при заводнении их пресной водой, закачиваемой в нагнетательные скважины в процессе эксплуатации.
Водонасыщенность
Категории воды в горных породах
Вода в горных породах находится в сложном взаимодействии с их минеральным каркасом. Различают 4 категории воды в породах, все эти категории присутствуют в породах совместно, границы и соотношения между ними условны и постоянно изменяются:
1. В форме пара
2. Химически связанная вода
2.1 кристаллизационную CaSO4 *2H2 O (гипс), теряют воду при прокаливании до 200 – 600°С
2.2 конституционную Al4 Si4 O10 (OH)8 (каолинит), теряют воду при прокаливании до 400 – 1000°С
3. Физически связанная вода
3.1 пленочная
3.1.1 прочносвязанная
3.1.2 рыхлосвязанная
3.2 капиллярно-удержанная
4. Свободная вода
В порах горных пород содержится ничтожное количество пара. Однако его значение для процессов образования различных форм влаги чрезвычайно велико. Фазовые превращения водяного пара, результатом которых является термическая или молекулярная конденсация (происходящая вследствие молекулярного взаимодействия частиц грунта и паров), ведут к образованию на поверхности частиц прочносвязанной воды.
Химически связанная вода подразделяется на кристаллизационную воду, которая присутствует в минералах горных пород в виде молекул Н2 O, входящих в кристаллы, и на конституционную, в виде ионов кристаллической решетки минералов алюмосиликатного состава, в первую очередь глинистых минералов.
К физически связанной воде относят ту часть воды в поровом пространстве породы, которая остается в нем благодаря взаимодействию молекул воды с поверхностью минерального скелета породы, а также в результате влияния капиллярных сил. Физически связанную воду можно удалить полностью путем высушивания и экстрагирования образца, частично — центрифугированием, капиллярным вытеснением или капиллярным впитыванием. Физически связанную воду подразделяют на пленочную и капиллярно-удержанную.
Пленочная вода представлена полислоями ориентированных молекул воды, расположенных вдоль поверхности твердой фазы частиц минерального скелета породы. Физические свойства пленочной воды отличны от свойств свободной воды — плотность и вязкость пленочной воды выше, чем свободной, температура замерзания и растворимость солей ниже, удельная электропроводность пленочной и свободной воды также различны. В основании пленочной воды на поверхности твердой фазы находится монослой адсорбированных молекул воды и обменных катионов.
Молекулы монослоя строго ориентированы и малоподвижны. Следующий слой образован также ориентированными молекулами воды, однако строгость их ориентации и энергия связи с поверхностью меньше, чем молекул первого монослоя. Считают, что по мере удаления от границы раздела твердая фаза — жидкость, свойства пленочной воды плавно изменяются, приближаясь к свойствам свободной воды. Однако доказано, что при переходе от первых двух-трех слоев к последующим свойства воды меняются резко, что позволяет выделить слой прочносвязанной воды (2—3 монослоя) с наиболее аномальными по отношению к свободной воде свойствами.
К прочносвязанной воде относят молекулы воды и гидратные оболочки катионов, поглощаемые межслоевым пространством кристаллов монтмориллонита и других смешанно-слойных глинистых минералов. Прочносвязанная вода имеет плотность 1,3—1,5 г/см3 , характеризуется температурой замерзания -74°С, практически не растворяет соли. Удаление прочносвязанной воды, в том числе и межслоевой, происходит при температуре 105 — 160 °С.
Рыхлосвязанная вода имеет плотность не более 1,1— 1,2 г/см3 . Температура замерзания ее составляет -4 °С, она обладает способностью к растворению солей, но более низкой, чем свободная вода. При сушке рыхлосвязанная вода удаляется при Т = 105о С.
В объеме, занимаемом пленочной водой, расположен двойной электрический слой (ДЭС) (рис. 1.16), возникающий близ границы твердой и жидкой фаз благодаря тому, что поверхность твердой фазы имеет электрический заряд, обычно отрицательный.

Двойной слой на границе фаз состоит из внутренней и внешней обкладок. Внутренняя отрицательная образована в основном анионами кристаллической решетки минералов, чаще ионами ОН- . Внешняя обкладка состоит из катионов, компенсирующих отрицательный заряд поверхности твердой фазы.
Большая часть катионов (более 90—95%) сосредоточена в адсорбционном монослое (слой Штерна), остальные распределены в растворе, и образуют диффузную часть (слой Гуи) внешней обкладки двойного слоя. Двойной слой в целом электронейтрален так, что суммарный положительный заряд внешней обкладки компенсирует отрицательный заряд поверхности. Потенциал U внешней обкладки в направлении по нормали к границе раздела фаз меняется вначале линейно в пределах монослоя (полный скачок), затем пропорционально 1/х (где х — расстояние от границы), достигая нуля в свободном растворе.
Пленочная вода практически целиком заполняет объем капилляров с радиусом r<20 — 30 нм, причем капилляры с радиусом r<1,5—2,0 нм заполнены в основном прочносвязанной водой.
Капиллярно-удержанная вода характерна для пор, радиус которых составляет 30—500 нм, а также для углов пор, приуроченных к стыкам между зернами, образующими скелет породы, и тупиковых пор. Капиллярно-удержанная вода по своим свойствам не отличается от свободной. В порах указанного размера — субкапиллярах — ее удерживает капиллярное давление.
Свободной или гравитационной водой называют воду, заполняющую различные крупные пустоты в горных породах и передвигающуюся в них под действием силы тяжести или разности напоров. Поровая свободная вода обладает свойствами, присущими поверхностным водам.
Влажность
Важнейшей характеристикой физического состояния осадочных пород является их влажность. Она характеризуется количеством воды, заполняющей поры. Все количество воды, которое содержит порода в естественных условиях залегания, называют естественной влажностью породы. Общая максимальная влажность W∑ породы представляет собой:
W∑ = Wх.с + Wф.с + Wсв
где Wх.с , Wф.с , Wсв , – объемное содержание в породе соответственно химически связанной, физически связанной и свободной воды.
Различают весовую влажность и объемную.
Весовая влажность определяется отношением массы воды, заполняющей поры, к массе сухой породы в долях единицы или в процентах от массы сухой породы:
Объемная влажность характеризуется объемом воды, содержащейся в единице объема породы:
где W0 - объемная влажность; Vв , Vп - объемы воды и сухой породы; δв , δс — плотность воды и сухой породы (скелета).
Объемную влажность, так же как и весовую, выражают в долях единицы и в процентах, но от объема сухой породы. Если поры породы полностью заполнены водой, то объем воды в породе равен объему ее пор (пористости).
Теперь давайте рассмотрим такой важный параметр петрофизических исследований как остаточная водонасыщенность.
Суммарное содержание в породе пленочной и части капиллярно-удержанной воды определяют как остаточную воду, характеризуя содержание ее в объеме пор породы коэффициентом остаточного водонасыщения:
кв.о = Vв.о /Vп
где Vв.о , Vп — соответственно объемы остаточной воды и пор.
Для определения кв.о в практике петрофизических лабораторий применяют несколько способов, которые можно разделить на две группы. К первой относится единственный способ, получивший название прямой метод, или метод Закса.
Способы второй группы различаются условиями моделирования остаточной воды в образце. Способы второй группы иногда называют косвенными.
Определение кв.о прямым методом включает следующие этапы: 1) изучаемые продуктивные отложения вскрываются скважиной с РНО (раствор на нефтяной основе) при сплошном отборе и выносе образцов керна в заданном интервале разреза; 2) образцы после выноса на поверхность немедленно консервируются, в дальнейшем соблюдаются условия для сохранения в образце пластовых флюидов; 3) каждый образец, подлежащий исследованию, расконсервируют и экстрагируют спиртобензольной смесью в аппарате Закса, снабженном специальной ловушкой для воды, извлекаемой из образца при экстракции; 4) определяют объем Vв.о воды, выделенной из образца, а затем, зная объем образца и коэффициент пористости вычисляют объем пор и рассчитывают кв.о .
Прямой метод считается эталонным при определении параметра кв.о , поскольку он дает представление о реальных значениях коэффициентов водо-, нефте- и газонасыщения в пластовых условиях для изучаемого геологического объекта. Недостатком прямого метода является невозможность использования его для получения представительного массива значений кв.о , поскольку скважины, бурящиеся с применением РНО и полным отбором керна, — большая редкость. Поэтому основной объем исследований на образцах с целью определения кв.о выполняют косвенными методами.
Косвенные методы определения коэффициента остаточного водонасыщения
Перед проведением исследований любым косвенным методом образец породы, извлеченный из скважины экстрагируют в аппарате Сокслета, используя спиртобензольную смесь, а также дополнительно другие органические растворители— хлороформ, толуол. Далее экстрагированный образец высушивают при постоянной температуре, обычно 105 °С. Затем образец насыщают водой. В зависимости от варианта косвенного метода насыщают либо моделью пластовой воды или дистиллированной водой. Далее удаляют воду из образца, фиксируя в конце эксперимента содержание в образце остаточной воды.
Косвенные метод определения коэффициента остаточного водонасыщения:
Метод капиллярного вытеснения
Метод центрифугирования
Метод сушки
Метод ЯМР
Для определения кв.о методом капиллярного вытеснения (капилляриметрии) изучаемый образец, полностью насыщенный водой, помещают в специальную ячейку на полупроницаемую мембрану с порами определенного размера. Под действием перепада давлений, не превышающем того, на который рассчитана мембрана, либо воздухом, либо жидкостью вытесняют воду. Та вода, которая в итоге остается в образце является остаточной.
В методе центрифугирования полностью водонасыщенный образец, прошедший ту же подготовку, что и перед исследованием капилляриметрическим методом, помещают в ячейку ротора центрифуги и центрифугируют в течение некоторого времени с заданной частотой вращения. Под действием центробежной силы, вода вытесняется из образца. Остается только вода, объем которой и определяет коэффициент остаточного водонасыщения.
Частоту и продолжительность вращения обычно устанавливают экспериментально.
Преимущество метода центрифугирования по сравнению с капилляриметрическим значительно меньшая продолжительность эксперимента. Однако считается что у этого метода более низкая точность определения.
Метод сушки заключается в том, что повышая температуру до 110—150 0 С, фиксируют массу образца при различной температуре, после чего строят зависимость массы от температуры, находят характерную точку по которой устанавливают границу, соответствующую началу испарения остаточной воды. Основной недостаток метода — низкая точность определения кв.о , поскольку интерпретация полученной кривой нередко бывает субъективной.
Большими возможностями для определения величины кв.о и дифференциации ее на компоненты по степени связи с поверхностью твердой фазы обладает метод ядерно-магнитного резонанса (ЯМР).