| Скачать .docx | Скачать .pdf |
Реферат: Дренаж Минерализация подземных вод Сточные промышленные воды
Контрольная работа
По геологии
Задача 1
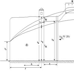
Аллювий первой надпойменной террасы представлен песками с коэффициентом фильтрации k=20 м/сут. Пески подстилаются горизонтально залегающими глинами. Поток грунтовых вод направлен от водораздела и дренируется рекой. Мощность подземных вод на урезе реки hр
=25 м.На расстоянии l= 2000 м от реки располагается городская застройка. Мощность грунтового потока здесьhе
=35м, глубина до воды hа
=8м. Выше по потоку подземных вод на водоразделе проектируется массив орошения шириной 2В = 4000м. Интенсивность инфильтрации от орошения составит:
м/сут.
Определить необходимость сооружения дренажа при условии, что уровень грунтовых вод в районе застройки не должен быть ближе hoc =3м от поверхности земли. Рассчитать расположение и условия работы вертикального защитного дренажа.
Решение:

1. Определим величину подпора уровня под городской застройкой в результате дополнительного орошения. Максимальная величина подпора при стабилизации повышения уровня определяется по формуле:
=![]()
то есть происходит подтопление, поскольку
; 39.3-35=4.3 м > 3 м.
2. Определим естественный расход потока и его направление:
м2
/сут
знак <<->>показывает, что поток направлен против оси Х
3. Основным фактором подтопления является увеличение притока воды из-за дополнительной инфильтрации при орошении. Со стороны против зоны орошения величина притока при стационарном режиме фильтрации останется равной qе , так как условия формирования потока с этой стороны дренажа не изменились.
4. Используем знание расхода со стороны водораздела после сооружения дренажа для определения мощности потока на контуре дренажа после его сооружения. Для этого воспользуемся формулой:
![]()
причем yос
- мощность подземных вод под застройкой при соблюдении нормы осушения определяется по формуле:
35+8-3=40 м.
Выполним расчеты двух конкурирующих вариантов расположения дренажа на расстояниях lд =0,5l от городской застройки параллельно границы зоны орошения: lд1 =1000 м (ниже городской застройки) и lд2 =1000м (выше городской застройки). Согласно формуле дляlд1 =1000 м получим:

Для второго варианта вначале определяется расход со стороны зоны орошения по формуле:
м2
/сут,
затем определим мощность потока на линии дренажа по формуле:
![]()
5. Расход воды со стороны зоны орошения для первого варианта найдем по формуле:
м2
/сут
6. Определим величину линейного дренажного модуля qд для каждого варианта по формуле:
![]()
м2
/сут
м2
/сут
В этом случае целесообразно сооружение контурного дренажа, располагающегося между водоразделом и городской застройкой, по второму варианту.
7. Выполним гидродинамический расчет линейного ряда дренажных скважин с радиусом фильтра r0
=0.1м. При условии что
имеем:

Из этого выражения необходимо определить расстояние между скважинами, заданное в неявном виде. Далее задача решается подбором и ход расчета сводится в таблицу:
М3 /сут |
A= | |||||
| 300 | 90 | 1.43 | 478 | 6.17 | 8.82 | 0,1 |
| 500 | 150 | 2.39 | 796 | 6.68 | 15.97 | 0,2 |
| 600 | 180 | 2.87 | 955 | 6.86 | 19.69 | 0,22 |
| 800 | 240 | 3.82 | 1274 | 7.15 | 27.3 | 0,3 |
| 1000 | 300 | 4.78 | 1592 | 7.37 | 35.2 | 0,4 |
| 1500 | 450 | 7.17 | 2388 | 7.78 | 55.78 | 0,62 |
| 1700 | 510 | 8.12 | 2707 | 7.9 | 64.1 | 0,71 |
| 2000 | 600 | 9.55 | 3185 | 8.07 | 77.07 | 0,85 |
| 2500 | 750 | 11.94 | 3981 | 8.29 | 98.98 | 1,1 |

Расстояние между скважинами
Задача 2
Девонский водоносный горизонт в песках мощностью m=200 м изолирован от зоны активного водообмена толщей глин мощностьюmр =1000 м. Начальная минерализация девонских подземных водСо =80 г/дм3 , активная пористость nа =0,15. Минерализация воды в зоне активного водообмена Со =1г/дм3 . Коэффициент диффузии глин Dм =5*10- 6 м2 /сут. Требуется:
1. Определить время, за которое произойдет уменьшение минерализации подземных вод девонского горизонта до Сt =3г/дм3 .
2. Определить время, в течение которого интенсивность выноса солей уменьшится в 2 раза по сравнению с первоначальной интенсивностью.
Решение:
1. Составим расчетную схему массопереноса соленых вод из девонского водоносного горизонта в зону активного водообмена.

2. Учитывая значительную мощность разделяющего прослоя глин, можно предположить, что скорость вертикальной фильтрации равна нулю. С другой стороны, между зонами застойного режима (воды девона) и активного водообмена (верхний водоносный горизонт) существует начальный градиент концентрации по сумме солей, равный:
Следовательно, массоперенос солей через толщу глин будет происходить по схеме диффузионного переноса.
3. Определим относительную концентрацию солей в девонском горизонте через искомое время t, исходя из заданного условия, что к этому времени она достигнет значения Сt =3,0 г/дм3 :
![]()
![]()
и рассчитаем коэффициент b:

4. Найдем искомое время:
![]()
или 60млн лет
5. Начальная интенсивность выноса солей определялась разностью концентраций в нижней и верхней зонах, составившей:
(
)=80-1=79 г/дм3
.
Двукратное уменьшение интенсивности выноса соответствует уменьшению этой разности до 39.5 г/дм3 и
,
тогда
сут или 11 млн лет
Задача 3
Из накопителя промышленных сточных вод будет происходить фильтрация в горизонт глинистых песков мощностью 20 м с коэффициентом фильтрации k=2м/сут, активной пористостью na
=0,15. Определить положение границы поршневого вытеснения чистых подземных вод сточными водами и размеры переходной зоны от загрязнения в накопителе при
=0,4%. Период прогноза t=25 лет. Миграционные параметры глинистых песков: Dм
=1см2
/сут, δ1
=5см. Уклон естественного потока грунтовых вод Iе
=0,010. Определить время, через которое загрязнение с
=0,4% достигает водозаборной скважины, удаленной на расстояние l=400 м.
Решение:
1. Определим положение фронта поршневого вытеснения по формуле:
![]()
2. Определим коэффициент гидравлической дисперсии по формулам:
![]()

3. Исходя из заданного значения
=0,4%=0.004 , определяем по таблице приложения №1 величину 𝜉=2.3
Тогда из формулы
выражаем
:

Таким образом предельно допустимое загрязнение распространится на расстояние:
от накопителя промышленных сточных вод.

4. Определим число Пекле:
![]()
т.е условие выполняется.
5. Определим время достижения фронтом поршневого вытеснения водозаборной скважины по формуле:
полагая что l=x0
:
![]()
Через этот период времени в водозаборную скважину придет раствор с концентрацией
=0,4. Однако загрязнение воды с более низкой концентрацией, соответствующее переднему фронту переходной зоны с
=0,001 ,подойдут еще раньше.
Рассчитаем величину переходной зоны через t=0.3*104 по формуле:

Время прохождения поршневым фронтом этого расстояния определим по формуле полагая что
:
![]()
Таким образом, загрязнение с концентрацией
=0,001 придет в водозаборную скважину на 162 суток раньше фронта поршневого вытеснения т.еt=3000-162=2838 сут. или 8 лет.
Задача 4
Обработать результаты миграционного опыта. Определить миграционные параметры
NH4 - |
t,мин | 42 | 44 | 46 | 48 | 50 | 52 | 54 | 56 | 58 | 60 | 62 | 64 | 66 | С0 | 0 |
| Ct | 0 | 0.003 | 0.010 | 0.418 | 1.579 | 3.091 | 4.318 | 4.950 | 5.269 | 5.407 | 5.473 | 5.489 | 5.50 | С0 | 5.5 | |
| Хлор-ион | t,мин | 2 | 4 | 6 | 8 | 10 | 12 | 14 | 16 | 18 | 20 | 22 | 24 | 26 | С0 | 20.0 |
| Ct | 20 | 20.05 | 20.19 | 27.6 | 48.7 | 76.2 | 98.5 | 110 | 115.8 | 118.3 | 119.5 | 119.8 | 120 | С0 | 100 |
Решение:
1. Для построения выходных кривой для аммония производится расчет относительной концентрации по формуле:
![]()
Результаты расчетов сведем в таблицу. Выходные кривые хлоридов и аммония строим на одном графике в координатах
.
| аммоний | Хлор-ион | ||||
| t,мин | Ct мг/дм3 | t,мин | Ct мг/дм3 | ||
| 42 | 0 | 0 | 2 | 20 | 0 |
| 44 | 0.003 | 0.00055 | 4 | 20.05 | 0.000625 |
| 46 | 0.01 | 0.0018 | 6 | 20.19 | 0.002 |
| 48 | 0.418 | 0.076 | 8 | 27.6 | 0.095 |
| 50 | 1.579 | 0.287 | 10 | 48.7 | 0.359 |
| 52 | 3.091 | 0.562 | 12 | 76.2 | 0.703 |
| 54 | 4.318 | 0.785 | 14 | 98.5 | 0.981 |
| 56 | 4.95 | 0.9 | 16 | 110 | 1.125 |
| 58 | 5.269 | 0.958 | 18 | 115.8 | 1.198 |
| 60 | 5.407 | 0.983 | 20 | 118.3 | 1.229 |
| 62 | 5.473 | 0.995 | 22 | 119.5 | 1.244 |
| 64 | 5.489 | 0.998 | 24 | 119.8 | 1.248 |
| 66 | 5.50 | 1 | 26 | 120 | 1.25 |
2. Анализ графиков показывает, что фронт поршневого вытеснения хлоридов соответствующий относительной концентрации 0.5 подходит к границе колонны через 8.5 мин.(0.006 сут.), фронт поршневого вытеснения аммония отстает и подходит через 52 мин (0.036 сут)
Выходные кривые для хлоридов и аммония
|
|

3. Миграция аммония протекает по типу равновесной сорбции - об этом свидетельствует форма выходной кривой по этому компоненту (наличие асимптоты на
, параллельность выходной кривой по хлоридам). Параметры сорбции – действительную скорость миграции и коэффициент распределения найдем, используя опытные данные о времени выхода поршневого вытеснения (
аммония (52 мин.). Тогда действительная скорость миграции аммония составит:
![]()
4. Найдем значение эффективной пористости, имея ввиду, что в данном случае для сорбируемого вещества определяется не активная, а эффективная пористость:
![]()
5. Соотношение значений пористости:
. Действительная скорость движения нейтрального компонента (хлоридов) определяется значением активной пористости, скорость движения аммония - значением эффективной пористости. Это означает, что скорость движения хлоридов будет в 4.5 раза выше по сравнению со скоростью миграции сорбируемого аммония:
![]()
![]()