| Похожие рефераты | Скачать .docx | Скачать .pdf |
Реферат: Буровая техника
Для разведки, вскрытия или добычи твердых, жидких и газообразных полезных ископаемых, а также для различных вспомогательных целей в горных породах бурят вертикальные, горизонтальные или наклонные шпуры и скважины.
Бурение — процесс сооружения горной выработки цилиндрической формы путем разрушения горных пород в торцевом забое.
Буровой станок — буровая машина, установленная на самоходной платформе или передвижной раме, применяемая для бурения взрывных и разведочных скважин и шпуров при открытой и подземной разработке полезных ископаемых, при сплошных камерных и особенно этажно-камерных и блоковых системах разработки для бурения скважин.
Шпуром принято называть искусственное цилиндрическое углубление в горных породах диаметром до 75 мм и глубиной до 5 м.
Скважиной называют искусственное цилиндрическое углубление в горных породах диаметром более 75 мм и глубиной более 5 м.
Бурение производится с помощью буровой установки — комплекса оборудования, включающего буровую вышку (мачту), силовой привод, механизм передвижения, оборудование для механизации спуско-подъемных операций и очистки скважин и др.
Для ведения буровзрывных работ бурят шпуры или скважины, в которые помещают взрывчатое вещество (ВВ).
В общей технологии открытых горных работ буровзрывные работы являются одним из основных и трудоемких производственных процессов. На долю буровзрывных работ приходится в среднем от 16 до 32 % всех затрат, необходимых для добычи твердых полезных ископаемых.
В нашей стране ежегодно бурятся десятки миллионов метров взрывных скважин и шпуров, и с каждым годом объемы бурения растут.
От качества рыхления горных пород зависят производительность погрузочного и транспортного оборудования, его долговечность и эффективность эксплуатации.
Дальнейшее развитие буровой техники предусматривает: создание станков для бурения скважин диаметром до 400 мм шарошечными долотами; разработку новых способов бурения; совершенствование автоматизации управления режимами бурения и вспомогательными операциями; снижение времени на спуско-подъемные операции в 1,5—2 раза; осуществление бурения взрывных скважин глубиной до 18—24 м без наращивания буровых штанг; разработку невращающихся буровых ставов; использование стабилизаторов и амортизаторов; совершенствование и внедрение на станках шарошечного бурения электровибробуров; освоение новых типов шарошечных долот и дополнительных устройств к ним и более интенсивное применение станков комбинированного бурения.
Характеристики буровых станков
диаметр бурения — до 200 мм
глубина бурения — до 52 м
частота вращения инструмента — до 3,3 с-1
крутящий момент — до 10 кН
скорость подачи — до 0,4 м/с
усиление подачи — до 200 кН
размер блина штанги — до 4250 м
скорость передвижения станка — до 1,36км/ч
давление на грунт — до 0,1МПа
мощность двигателей установленная — до 337кВт
габариты в рабочем положении: длина — до 10300 мм, ширина — до 4900 мм, высота — до 18200мм
масса — до48,2т
Классификация буровых станков
- буровые станки вращательного бурения шарошечными долотами
- буровые станки вращательного бурения резцовыми коронками
- буровые станки ударно-вращательного бурения б
- уровые станки комбинированного бурения
- буровые станки ударно-канатного бурения
Буровые станки классифицируются по характеру (способу) разрушения горной породы, типу привода и назначению (рис. 1).

Рис. 1. Классификация буровых станков для открытых работ
Бурение горной породы можно производить механическим и немеханическим способами. Механический способ реализуется в машинах ударного, вращательного, ударно-вращательного бурения, когда разрушение горной породы производится инструментом под действием прикладываемых к нему силовых нагрузок.
Ударный способ бурения осуществляется в результате нанесения ударов инструмента по породе. Удары можно наносить по хвостовику бура, лезвие которого, внедряясь, разрушает некоторый объем породы. После каждого удара буровой инструмент принудительно поворачивается и постепенно разрушает породу по всему сечению скважины. Этот способ бурения используется в бурильных машинах — перфораторах.
Для бурения скважин в сложных горно-геологических условиях с перемежающимися' породами различной крепости и структуры высоты на забой под действием собственного веса. Ударом создаются большие удельные нагрузки на лезвие коронки, что более эффективно для разрушения хрупких горных пород. Поворот инструмента происходит под действием упругих сил закручивания каната, на котором подвешен буровой инструмент. Так осуществляется бурение станками ударно-канатного бурения.
При вращательном способе бурения разрушение забоя скважины скалыванием, смятием, истиранием осуществляется вращающимся инструментом с приложением к нему значительной осевой нагрузки. Этот способ реализуется в станках вращательного бурения шарошечными долотами и резцовыми коронками.
При ударно-вращательном способе бурения буровой инструмент непрерывно вращается вокруг своей оси и по нему наносятся удары. Осевое усилие прикладывается к инструменту для нейтрализации сил отдачи, действующих на него в момент удара. Этот способ применяется в станках ударно-вращательного бурения с погружными пневмо-ударниками. Немеханическим (физическим) способом производится термическое, взрывное, гидравлическое, электро-гидрав-лическое, ультразвуковое и комбинированное бурение. При этом способе бурения силовые нагрузки на горную породу передаются через жидкую или газообразную среду. Несмотря на создание новых немеханических способов бурения, механический способ является преобладающим.
По типу привода буровые станки делятся на электрические и тепловые, работающие от двигателя внутреннего сгорания (ДВС).
По назначению буровые станки делятся на машины для бурения шпуров и небольших скважин и для бурения скважин среднего и большого диаметра.
Основные параметры буровых станков — диаметр, глубина и угол наклона пробуриваемой скважины.
Наибольшее распространение на открытых горных работах получили станки вращательного бурения шарошечными долотами, которыми выполняется около 80 % всех объемов бурения. Остальные 20 % объема выполняются станками вращательного бурения резцовыми коронками, ударно-вращательного и комбинированного бурения. Кроме того, на открытых горных работах еще находятся в эксплуатации станки ударного бурения.
Станки вращательного бурения шарошечными долотами
К станкам вращательного бурения относятся станки шарошечного бурения, предназначенные для бурения вертикальных и наклонных скважин в породах средней крепости и крепких. Разрушение породы осуществляется шарошечным долотом, во время вращения которого при постоянном усилии подачи зубья шарошек скалывают и раздавливают горную породу.

Рис. 2. Конструктивная схема станка вращательного бурения шарошечными долотами
Станки шарошечного бурения (рис. 2.) имеют шарошечное долото /, укрепленное на конце штанги 2. Вращатель 3 сообщает штанге вращение, а механизм подачи 4 подает ее на забой. Разрушенная горная порода удаляется сжатым воздухом или водовоздушной смесью, поступающей в скважину по пустотелым буровым штангам.
На станках имеются гидро- и пневмосистемы, пылеулавливающие установки, машинное помещение, электрооборудование, кабина машиниста с пультом управления и ходовое оборудование. Станки шарошечного бурения позволяют бурить с высокой производительностью в разнообразных горно-геологических условиях. Отличаются эти станки между собой конструкцией вращательно-подающего механизма, определяющего частоты вращения и скорости подачи инструмента, величинами осевых усилий подачи, крутящих моментов и др.
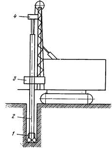
Станки вращательного бурения резцовыми коронками
Сущность бурения этими станками заключается в следующем. Буровой инструмент вращается от двигателя через редуктор и одновременно подается на забой механизмом подачи или под действием веса привода вращателя и бурового става, состоящего из последовательно соединенных шнековых штанг и резцовой головки. Эти станки часто называют станками шнеко-вого бурения.
Шнековая штанга выполняется в виде стержня, к наружной поверхности которого по винтовой линии приварена стальная лента. Резцовая головка представляет собой корпус с двумя или несколькими перьями и хвостовиком. Режущие кромки перьев армируются пластинками твердых сплавов или наплавкой твердого сплава. Хвостовик служит для присоединения резцовой головки к шнековой штанге.
Станки вращательного бурения резцовыми коронками (рис. 3) имеют вращатель 1, своими лапами скользящий по вертикальным направляющим 2. Подъем вращателя производится лебедкой с помощью подъемного каната, образующего полиспаст 3. В патроне вращателя укрепляется шнековая штанга 4 с прикрепленной к ней коронкой 5. Разрушенная порода удаляется из скважины на поверхность шнеком.

Рис. 3. Конструктивная схема станка вращательного бурения резцовыми коронками
Такие станки могут бурить вертикальные, наклонные и горизонтальные скважины только по мягким породам.
Существуют станки вращательного бурения горизонтальных скважин и машины для шнекобуровой выемки угля из тонких пластов .мощностью от 0,6 до 2 м. Основная их особенность состоит в наличии механизма подачи. В нашей стране такие станки распространения пока не получили и имеются лишь в единичных экземплярах.
Станки ударного бурения
К станкам ударного бурения относятся станки ударно-канатного бурения. Ударный способ бурения используется также в перфораторах, которые применяются на карьерах для бурения шпуров в негабаритных кусках горной породы, при добыче декоративного камня и др.
Станки ударно-канатного бурения находят преимущественное применение при проходке скважин на воду, гидрогеологических, водопонижающих и взрывных скважин, а также при геологической разведке россыпных и других месторождений.
Этими станками бурят вертикальные скважины диаметром 200—900 мм на глубину 50— 500 м в породах различных категорий крепости.

Рис. 4. Конструктивная схема станка ударно-канатного бурения
Станки ударно-канатного бурения (рис. 4.) имеют тяжелый (1000—3000 кг) буровой снаряд U подвешенный на канате 2. Кри-вошипно-шатунный механизм 3 с помощью оттяжного блока 4 периодически поднимает и опускает буровой снаряд, который лезвием долота, имеющим форму клина, наносит удары по породе забоя. Накапливаемая при падении кинетическая энергия при ударе долота по породе расходуется на ее разрушение. Привод всех механизмов осуществляется через главный вал 5 от двигателя 6 с помощью муфт и шкивов, что позволяет независимо включать любой механизм станка.
Для получения скважины круглого сечения и равномерного разрушения породы в забое долото с ударной штангой после каждого удара во время его подъема над забоем скважины поворачивается на угол от 15 до 60°. При подъеме бурового снаряда канат натягивается и раскручивается, что приводит к поворачиванию бурового снаряда. При ударе снаряда о забой натяжение каната ослабевает и замок, соединяющий канат со штангой (долотом), поворачивается под действием закручивающих усилий каната.
По мере углубления скважины увеличивают свободную длину каната. Во время бурения в скважину подается вода. Разрушенная порода находится во взвешенном состоянии, образуя с водой шлам, удаляемый из скважины с помощью специального инструмента — желонки.
Чистка скважин при бурении крепких пород производится через 0,4—0,9 м, при бурении слабых пород — через 0,9—1,5 м и более.
Основной недостаток станков этого типа — малая частота ударов (45—60 мин"1) ограничи&ающая их производительность. Увеличить частоту ув&рвв въвош&жт так как продолжительность падения бурового снаряда зависим от ускорения свободного падения и высоты ирд>ъё*т инструмента (0,8—1 м).
Станки ударно-вращательного бурения
Бурение станками ударно-вращательного бурения основано на комбинированном способе разрушения породы, объединяющем основные достоинства ударного и вращательного воздействия на породу. Отличительной особенностью этих станков является наличие погружного ударного механизма — пневмоударника / (рис. 5). Пнев-моударнику через штанги 2 передается вращение от вращателя 3, установленного на плите 4. Подача бурового става йа забой и создание осевого усилия осуществляются с помощью подающего механизма 5. Вращатель перемещается по мачте 6> изменение угла наклона которой осуществляется гидроцилиндром 7.

Рис. 5. Конструктивная схема станка ударно-вращательного бурения
Основными преимуществами ударно-вращательных станков являются сохранение энергии удара на буровой коронке независимо от глубины скважины и возможность приложения к буровому инструменту большого крутящего момента, хотя при этом пневмоударник, непрерывно вращающийся в скважине, подвержен значительному износу.
Станки могут бурить вертикальные и наклонные скважины.
Станки комбинированного бурения
Эти станки являются универсальными машинами, позволяющими вести бурение скважин в сложных горно-геологических условиях с перемежающимися породами различной крепости и структуры. Эффективность разрушения твердых горных пород достигается за счет комбинированного воздействия на породу различных механических и немеханических способов бурения.

Рис. 6. Конструктивная схема станка комбинированного (термомеханнческого) бурения
Из немеханических способов бурения широкое применение получил термический, который в сочетании с механическим способом позволяет эффективно бурить плотные породы высокой крепости.
При термическом бурении разрушение горной породы происходит вследствие интенсивного одностороннего нагревания забоя скважины раскаленными струями газов. Наиболее эффективно разрушаются кварцсодержащие породы, имеющие низкую теплопроводность при большом коэффициенте линейного расширения.
Сущность термомеханического способа бурения заключается в том, что нагрев породы вызывает значительное снижение ее прочности, а окончательное разрушение достигается механическим способом.
Схема станка термомеханического бурения показана на рис. 6. Станок оснащен термошарошечным рабочим инструментом. Высокотемпературные газовые струи, вытекающие из сопел / термобура, разрушают и ослабляют горную породу на забое скважины. С помощью шарошечного бурового инструмента 2 производится разрушение породы. Термошарошечный рабочий инструмент, закрепленный на штанге 3, вращается с помощью вращателя 4. Рабочие компоненты — керосин, кислород и вода — подаются к входному коллектору 5 на вращателе и далее по каналам в штанге поступают к горелке термобура. Разрушенная порода выносится парогазовой смесью.
Станки термошарошечного бурения позволяют вести проходку скважины шарошечным долотом, с последующим расширением до необходимого диаметра термобуром.
Новые методы разрушения горных пород
Рассматривая перспективы развития открытых горных работ, можно утверждать, что преобладающим способом бурения шпуров и скважин по-прежнему будет механический. Ввиду роста объемов добычи полезных ископаемых будут возрастать и объемы бурения, что, естественно, требует дальнейшего совершенствования способов и средств бурения.
Опыт ведения буровзрывных работ показал, что с ростом крепости и абразивности пород значительно возрастает трудоемкость их бурения и дробления. Установлено, что с увеличением крепости пород скорость механического бурения снижается, в то же время при термическом воздействии на породу наблюдается обратная картина, т. е. с ростом крепости возрастает и скорость бурения. Это и обусловливает основное направление в поисках эффективных средств и устройств, реализующих принцип теплового воздействия на породу. Конкретные варианты реализации этого принципа имеют большое разнообразие, так как все зависит от принятой схемы контакта источника (генератора) тепла и породы.
В настоящее время разработаны следующие принципиально новые схемы теплового воздействия на породу для ее разрушения:
- контактная передача теплового поля от генератора непосредственно горной породе (использование тепловых потерь при трении от контактного воздействия инструмента на породу, разрушение с помощью термита, электронагревательный бур, атомный бур);
- свободная передача теплового поля от генератора горной породе (электродуговой бур);
- воздействие на породу высокотемпературной струей газов (кислородное копье, огневое бурение, плазматрон);
- воздействие лучистой энергии оптической области, основанное на ее поглощении горной породой и последующем переходе в тепловую (бипараболоидный генератор, эллипсоидный генератор);
- разрушение горных пород с помощью частиц высокой энергии (электронов, фотонов), основанное на том, что при про-
- вождении этими частицами горной породы их кинетическая энергия в результате торможения переходит в тепловую (бур на базе вакуумной электронно-лучевой трубки, лазерный бур);
- контактная передача преобразуемой энергии породе и ее разрушение при электрическом пробое (импульсный высоковольтный разрядник, высокочастотный контактный нагрев);
- разрушение пород в переменном электромагнитном поле (конденсаторные устройства, магнетрон, одновитковый или спиральный индуктор).
Перспективность применения того или иного способа бурения целесообразно рассматривать с позиций обеспечения высокой производительности бурения.
Список использованной литературы
1. Куличихин Н.И., Воздвиженский Б.И., Разведочное бурение, М., 1966;Техника бурения при разработке месторождений полезных ископаемых, М., 1966
2. Скрыпник С.Г., Данелянц С.М., Механизация в автоматизация трудоёмких процессов в бурении, М., 1968
3. Арш Э.И., Виторт Г.К., Черкасский Ф.Б., Новые методы дробления крепких горных пород. К., 1966. Волков С.А., Сулакшин С.С., Андреев М.М., Буровое дело, М., 1965;
4. Куличихин Н.И., Воздвиженский Б.И., Разведочное бурение, М., 1966;
5. Техника бурения при разработке месторождений полезных ископаемых, М., 1966.
Похожие рефераты:
Бурение и оборудование скважин при подземном выщелачивании полезных ископаемых
Отчет о практике специальности Разработка и эксплуатация нефтегазовых месторождений
Машины и оборудование для измельчения материалов
Автоматизация процесса бурения
Бурение нефтяных и газовых скважин
Расчеты параметров БВР при проведении горизонтальной подземной выработки
Инженерно-геологические изыскания
Эксплуатационные скважины для освоения месторождений Западной Сибири
Ремонт и обслуживание скважин и оборудования для бурения
Южно-Ягунское нефтяное месторождение
Проект вскрытия и разработки Кадали-Макитской террасы
Проектирование техологии бурения наклонно-направленной скважины глубиной 1773 м
Проект бурения нефтяной скважины
Основные технологические процессы на разрезе "Томусинский"
Бурение эксплуатационной наклонно-направленной скважины на Озерной площади