| Скачать .docx | Скачать .pdf |
Дипломная работа: Рославльское нефтяное месторождение
ВВЕДЕНИЕ
Рославльское нефтяное месторождение административно расположено на территории Нижневартовского района Ханты-Мансийского автономного округа, в северной части Вартовского нефтегазоносного района, относящегося к землям с высокими плотностями потенциальных запасов углеводородов.
Основные запасы нефти этого района приурочены к юрским и нижнемеловым отложениям, в которых открыты крупные залежи нефти и газа на Повховском, Западно-Варьеганском, Варьеганском, Ван-Еганском, Самотлорском и других месторождениях.
Рассматриваемое месторождение находится в центре относительно крупного участка, оконтуренного вышеперечисленными месторождениями и примерно равноудалено от них.
Необходимо отметить, что по части этих месторождений запасы нефти оказались в значительной степени выработанными. В связи с этим в числе первоочередных задач стоит вопрос непрерывного и быстрого наращивания новых разведанных запасов углеводородного сырья. Это обязывает геологические службы успешнее проводить поиски и разведку залежей углеводородов, быстрее осваивать вновь открытые месторождения нефти и газа.
Отсутствие необходимых финансовых средств на геологоразведочные работы является основной причиной перевода ряда месторождений в опытную и промышленную эксплуатацию при недостаточном изучении геологической модели строения залежей, положения водонефтяных контактов и контуров этих залежей, не говоря уже о других негативных факторах, приводящих в конечном итоге к ухудшению структуры запасов и уровня использования эксплуатационного фонда нефтяных скважин.
В связи с существенным уменьшением капиталовложений в поисково-разведочное бурение при увеличении глубин скважин и снижении эффективности их бурения ежегодный прирост запасов нефти нередко не компенсирует годовую добычу нефти. В связи с этим внедрение более современных методов увеличения нефтеотдачи на уже разрабатываемых (старых) месторождениях, на наш взгляд, позволит получить дополнительный прирост промышленных запасов не менее 5%. Другим источником подготовки новых запасов в пределах разрабатываемых месторождений является поиск новых ловушек структурного и литологического типов, уточнение конфигураций залежей с помощью сейсморазведки 3Д, освоение новых горизонтов.
В последние годы стала широко применяться объемная сейсморазведка для детализации строения продуктивных горизонтов и выявления новых, интересных в нефтегазоносном отношении, поисковых зон.
Как показывает опыт, нередко трехмерная сейсморазведка дает неожиданные результаты, вынуждая корректировать не только поисково-разведочное бурение, но и направление для заложения эксплуатационных скважин. По нашему мнению, трехмерная модель является необходимой на стадии разработки месторождения. Конечным результатом объемной сейсморазведки является сокращение числа малоэффективных эксплуатационных скважин на любом этапе освоения месторождения. Это немаловажно в условиях дефицита денежных средств в геологоразведочных и добывающих предприятиях.
Рославльское месторождение было открыто в 1988г. на основе реализации геологического проекта поискового бурения, составленного Тюменской тематической экспедицией в 1987г. При бурении и испытании первой поисковой скважины 11-Р, пробуренной в сводовой части Рославльского месторождения силами и средствами Аганской НГРЭ объединения «Мегионнефтегазгеология» в 1988г., были получены фонтанирующие притоки нефти из отложений пластов БВ8 и ЮВ1(от 77.3м3 /сут до 121.6м3 /сут на 8мм штуцере) и непереливающий приток нефти (5.9м3 /сут при Нд-1707м) из отложений пласта ЮВ2.
В 1999г. запасы месторождения были переданы на баланс ОАО МПК «Аганнефтегазгеология» в количестве 29791/11112тыс.т по категориям С1 +С2 , из них по категории С1 -19498/7384тыс.т (65.41/66.5%), С2 -10293/3728тыс.т (34.6/33.5%).
По существу, доразведка Рославльского месторождения осуществлялась ОАО МПК «Аганнефтегазгеология» путем бурения опережающих эксплуатационных скважин.
К моменту передачи месторождения Аганской НГРЭ (1988-1990г.г.) были пробурены три поисково-разведочные скважины 11-Р, 13-Р и 18-Р, располо-женные в западной части рассматриваемой площади, на профиле, проходящем с северо-запада (скв.13-Р) на юго-восток (скв.18-Р). Все три скважины по пласту БВ8 оказались продуктивными, а по нижележащим юрским пластам ЮВ1 и ЮВ2скважины 13-Р и 18-Р оказались за контуром нефтеносности.
С 20 октября 1999г. ОАО МПК «Аганнефтегазгеология» является владельцем лицензии ХМН 01102 НЭ на право пользования недрами Рославльского лицензионного участка.
Целевым назначением лицензии является добыча нефти и газа в пределах контура лицензионного участка.
Начиная с 2001 года, в пределах месторождения ведется эксплуатационное бурение и одновременно пробурены две новые разведочные скважины в западной (скв.37-Р) и северной (скв.30-Р) частях месторождения. При испытании скважины 37-Р по пласту ЮВ1/1 был получен промышленный приток нефти (21.4м3 /сут) с водой (11.48м3 /сут) при депрессии 2.06МПа, а в скважине 30-Р из пласта БВ8 – слабые притоки нефти с водой, очевидно, по причине ухудшения фильтрационно-емкостных свойств пласта в этой скважине.
В 2001-2003г.г. ОАО «Хантымансийскгеофизикой» (ЗАО «Континентальная геофизическая компания») были проведены сейсморазведочные работы МОВ ОГТ 2Д масштаба1:50000. В результате было уточнено и детализировано строение Рославльского месторождения, подготовлены к глубокому бурению в пределах одноименного лицензионного участка Северо-Рославльское, Восточно-Рославльское и Западно-Ампутинское, выявлены Малорославльское, Малокатюнинское и др. локальные поднятия.
В эти же годы по Рославльскому месторождению с четырех кустов 1, 6, 8 и 5 были пробурены 57 наклонно- направленных скважин, из них 21 скважина на БВ8 и 33 скважины на ЮВ1 и ЮВ2, и 3 водозаборные скважины (1, 2 и 3).
В 2004г. было произведено бурение более 10 эксплуатационных скважин с двух кустов 5 и 14. Согласно Постановления Бюро ТО ЦКР по ХМАО на период пробной эксплуатации до 2007 года бурение эксплуатационных скважин предусма-тривается по трёхрядной системе разработки с плотностью сетки 25га/скв., при этом общий фонд эксплуатационных скважин составит 102 скважины, в т.ч. на пласт БВ8 добывающих - 27 (в том числе 10 горизонтальных скважин), нагнетательных – 18, на объект ЮВ1/2 добывающих – 35, нагнетательных – 22.
Начало закачки воды в целях поддержания пластового давления предусмотрено с 2005г. Основными промышленно нефтеносными являются продуктивные пласты БВ8/1 и ЮВ1/1. Залежи этих пластов, за исключением пласта БВ8/1-1, пластового сводового типа и контролируются структурными ловушками. По пласту БВ8/1-1 залежи структурно-литологического типа. По среднеюрскому пласту ЮВ2 залежь нефти также пластового типа и имеет подчиненное значение, а ее разработка ведется совместно с залежью пласта ЮВ1/1.
1. ОБЩИЕ СВЕДЕНИЯ О МЕСТОРОЖДЕНИИ
1.1. Географическое и административное положение месторождения и краткая экономическая характеристика района
В географическом отношении Рославльское нефтяное месторождение расположено в центральной части Западно-Сибирской равнины, в зоне лесотундры.
Административно Рославльское месторождение находится на территории Нижневартовского района Ханты-Мансийского автономного округа. Окружной центр город Ханты-Мансийск расположен в 515км к юго-западу от месторождения, районный центр город Нижневартовск - в 127км к югу от месторождения.
В экономическом отношении район Рославльского месторождения имеет развитую инфраструктуру газо-и нефтедобывающей промышленности, что позволяет в короткие сроки вовлечь в разработку как выявленные залежи УВ, так и новые перспективные участки разрабатываемых объектов.
Рославльское месторождение введено в промышленную разработку в 2001 году. Объектами разработки являются залежи нефти в пластах БВ8, ЮВ1 и ЮВ2.
Ближайшие разрабатываемые месторождения, запасы которых утверждены в ГКЗ, являются Могутлорское, Западно-Могутлорское, Повховское, Западно-Варьеганское, Северо-Варьеганское, Ваньеганское и другие. Рис.1.1.
Освоение нефтяных месторождений привело к строительству городов и вахтовых поселков, среди которых наиболее приближенными к месторождению являются город нефтяников Радужный расположенный в 50км к северо-востоку, поселок Новоаганск – в 25км к юго-востоку, поселок Варьеган – в 8км к юго-востоку. Население этого района сформировалось в ходе освоения нефтяных и газовых месторождений. Национальный состав населения разнообразен. Коренное население – ханты заняты главным образом оленеводством и рыбной ловлей.
Инфраструктура района хорошо развита, наличие шоссейных и грунтовых просёлочных дорог обеспечивает круглогодичное сообщение. Ближайшая дожимная насосная станция (ДНС) – ДНС-3 расположена в 4км на Западно-Варьеганском месторождении, рядом с ДНС-3 проходят магистральные межпромысловые нефтепроводы. Ближайшие пункты подготовки нефти - Западно-Могутлорское нефтяное месторождение с установкой ДНС и ЦПС – в 42км к западу от Рославльского месторождения, Варьёганский ЦПС – в 38км к северо-востоку и Северо-Варьеганский КСП - в 45км к северо-востоку. Магистральный нефтепровод Повхов-Покачи проходит в 5.4км к северо-западу от Западно-Могутлорского месторождения. Рядом с Рославльским месторождением проходят и линии электропередачи.
1.2. Природно-климатические условия месторождения
В геоморфологическом отношении территория месторождения представляет собой сильно заболоченную и сильно заозеренную флювиогляциальную и озерно-аллювиальную равнину, соответствующую уровню III надпойменной террасы реки Оби.
Абсолютные отметки рельефа колеблются от +62 до +67м.
Рославльское месторождение расположено в бассейне реки Варьёган, являющейся правобережным притоком реки Аган. См. граф. прил.2. Русло реки Варьеган в верхнем и среднем течении неоднократно прерывается проточными озерами, в которые река спускает свои воды и из которых вновь берет продолжение. Длина р.Варьёган составляет 102км, ширина (на участке месторождения) – 6-9м, средняя глубина – 1.0м, скорость течения 0.3м/с, площадь водосбора 876км2 . В восточной части месторождения берет свое начало и протекает безымянный ручей – правый приток р.Варьёган.
Питание рек происходит за счет болот, озер, талых снеговых вод и жидких атмосферных осадков.
Около 40% территории месторождения занято озёрами. К числу наиболее крупных относятся Янчино (F=13.0км2 ), Тяй-Лусен-То (F=10.9км2 ), Лусен-то (F=4.84км2 ), Бол. Чукчеевское (F=6.26км2 ), Чукчеевское(F=1.04км2 ) и Комсомольское (F=0.7км2 ). Большое количество озёр разнообразной формы (округлых, вытянутых) размерами от 20 до 250м. Болота преимущественно мочажинные, крупно-грядовые и озерно-грядовые, а также верховые сфагновые.
Территория Рославльского месторождения относится к зоне бореальной растительности Обь-Иртышской формации северо-таёжных лиственнично-еловых и еловых редкостойных лесов. Леса состоят из пихты, ели, осины, кедра.
Основными факторами, обуславливающими климат данного района, являются: его географическое положение, факторы атмосферной циркуляции, рельеф местности. Главное влияние оказывает западное (атлантическое) перемещение воздушных масс и влияние континента, выраженное в большой повторяемости антициклонной погоды и в интенсивной трансформации воздушных масс летом и зимой. При вторжении холодных арктических масс воздуха возможны очень резкие понижения температуры даже летом.
Климат района резко континентальный, характеризуется суровой продолжительной зимой, с длительными морозами и устойчивым снежным покровом, и коротким, теплым летом, с поздними весенними и ранними, осенними заморозками, с быстрой сменой погоды, особенно в переходные периоды от осени к зиме и от весны к лету, значительными суточными и сезонными колебаниями температуры воздуха. Среднегодовая температура составляет – 4.2°С, средняя максимальная температура самого жаркого месяца года (июля) +22°С, средняя температура наиболее холодного (января) – 27.8°С.
По количеству выпадаемых атмосферных осадков описываемая территория относится к районам с избыточным увлажнением. Большая часть осадков выпадает с июня по октябрь в виде дождей и мокрого снега. Среднегодовая величина атмосферных осадков оценивается в 537мм.
Преобладание низких температур в году способствует накоплению снега. Снег выпадает во второй половине октября, сходит в конце апреля – начале мая.
Важной особенностью природной обстановки описываемого района является двухслойное строение многолетнемерзлых пород и сезонномерзлых пород. Характер сезонного промерзания грунтов во многом определяется высотой снежного покрова и влажностью почвы.
Тип сезонного промерзания и оттаивания грунтов по среднегодовым температурам пород и амплитудам температур на поверхности грунтового массива – полупереходный (от 2 до -1°С) с редкими участками переходного (от 0 до -1°С). Для территории данной геокриологической зоны характерно чередование по площади талых и многолетнемерзлых пород с температурой, близкой к 0°С. В рассматриваемой зоне распространен переходный тип сезонного промерзания и протаивания. Мощность сезонного слоя, сложенного торфом, составляет 0.45-0.8м, на слабозалесенных участках с бугристым микрорельефом – 0.35-0.6м. Глубина сезонного протаивания колеблется от 1-2м на залесенных грядах, сложенных песками, супесями и суглинками, до 0.4-0.65м на болотах и на залесенных торфяниках.
Многолетнемерзлые породы (ММП) в пределах лицензионного участка имеют двухслойное строение. Толщина верхнего слоя, залегающего с дневной поверхности, не превышает 15м. Данный слой развит в пределах месторождения весьма ограниченно и занимает не более 1% площади.
Кровля залегания нижнего слоя древней мерзлоты имеет островное распространение, залегает в данном районе на глубине 100-130м. Мощность реликтовых мерзлых пород неоднородна и варьирует от 20 до 100м.
1.3. Условия водоснабжения
Рославльское нефтяное месторождение расположено в пределах Средне-Обского гидрогеологического мегабассейна. Благоприятные природно-климатические условия, а именно: избыточное количество атмосферных осадков, заболоченность и заозеренность местности, преимущественно песчаный состав олигоцен-четвертичных и апт-альб-сеноманских отложениях, способствовали формированию значительных запасов пресных подземных вод.
Возможности водоснабжения объектов Рославльского месторождения обуславливаются наличием здесь поверхностных вод в реках и озерах и подземных вод в олигоцен-четвертичных и апт-альб-сеноманских отложениях.
Поверхностные водоисточники в пределах месторождения, как уже отмечалось выше, представлены рекой Варьёган и многочисленными протоками и ручьями, соединяющими озёра.
Качественная характеристика поверхностных вод приводится по материалам инженерно-геологических изысканий, проведенных в районе месторождения под трассу автодороги р.Егартьях-ДНС Западно-Могутлорского месторождения. По химическому составу поверхностные воды слабоминерализованные гидрокарбонатные, гидрокарбонатно-сульфатные, гидрокарбонатно-хлоридные, сульфатные. По катионному составу воды кальциевые, магниево-кальцевые, натриево-кальциевые и натриево-кальциево-магнивые. Поверхностные воды подвержены загрязнению, особенно в период половодий. Происходит резкое ухудшение физических свойств, также возможно наличие нефтепродуктов. Озерные воды содержат большое количество органических веществ и механических примесей и по сравнению с речными водами обладают худшими фильтрационными и нефтевымывающими свойствами и поэтому не могут быть использованы для заводнения нефтяных пластов без предварительной очистки. В целом поверхностные воды могут служить для технических целей (приготовление глинистого раствора, промывки скважин, в зимнее время для работы котельных).
Четвертичный водоносный горизонт формируется в различных по генезису и литологии образованиях четвертичного возраста. Грунтовые воды распространены повсеместно на территории месторождения, приурочены к верхней зоне среднечетвертичных песчаных отложений и современным болотным отложениям, представленных торфом. Питание грунтовых вод осуществляется за счет инфильтрации атмосферных осадков и талых вод, разгрузка грунтовых вод осуществляется в поверхностные водные объекты – р.Варьеган и его притоки, в озера и водотоки. По химическому составу воды горизонта пресные и ультрапресные с минерализацией от 0.03 до 0.3г/л. Среди вод среднечетвертичных песчаных отложений преобладают гидрокарбонатные, реже встречаются сульфатные. Болотные воды по химическому составу гидрокарбонатно-хлоридно-магниевые.
Четвертичный водоносный горизонт не представляет практического интереса как источник питьевого водоснабжения, так как является наиболее уязвимым к техногенному загрязнению сверху. Для использования этих вод для питьевых целей необходимо провести мероприятия по улучшению качества воды.
Олигоценовый водоносный горизонт формировался в рыхлой песчано-глинистой толще, объединённой в атлымскую и новомихайловскую свиты, в пределах описываемого района распространен повсеместно. Он представляет собой сложную толщу, состоящую из двух относительно выдержанных водоносных пластов, разделенных слабопроницаемым прослоем невыдержанной мощности. Мощность водоносного горизонта изменяется от 150м до 200м. Сверху водоносный горизонт перекрыт относительно выдержанной пачкой глинистых осадков туртасской и верхней части новомихайловской свит, отделяющих его от вышележащего четвертичного горизонта. Нижним водоупором горизонту служат глинистые осадки, стратиграфически приуроченные к верхней части тавдинского терригенного горизонта. Наличие водоупора в кровле и подошве горизонта обуславливает напорный характер подземных вод, заключенных в нем. Величина напоров достигает 100-195м. По условиям залегания и циркуляции воды являются порово-пластовыми. В результате преобладающего развития песчаных разностей фильтрационные свойства водосодержащих пород сравнительно высокие, дебиты скважин изменяются от 2.1л/с до 9.2л/с, при понижении уровня - от 2.5л/с до 37.5л/с.
По химическому составу воды горизонта ультрапресные и пресные с общей минерализацией 0.2-0.4г/л, гидрокарбонатные, иногда гидрокарбонатно-хлоридные, натриево-магниевые или натриево-магниево-кальциевые. По содержанию основных компонентов они удовлетворяют требованиям ГОСТа – 2874-82 и ПДК.
Таким образом, рассматриваемый олигоценовый водоносный горизонт является наиболее перспективным для хозяйственно-питьевого водоснабжения объектов Рославльского месторождения, так как имеет большую мощность, лучшие фильтрационные и гидродинамические характеристики. Горизонт находится в удовлетворительных санитарных условиях, защищенных от поверхностного загрязнения. С ним связаны запасы подземных вод, удовлетворяющие потребности крупных населенных пунктов и городов Западной Сибири. Подземные воды олигоценовых отложений могут применяться при эксплуатации Рославльского месторождения для поддержания пластового давления (ППД).
Основным источником для поддержания пластового давления путем заводнения используются воды апт-альб-сеноманского комплекса.
Воды этого комплекса широко используются на многих месторождениях Среднего Приобья.
Вода апт-альб-сеноманского комплекса является минерализованной и коррозийно-активной, также как и проточная вода. Воды комплекса относятся к хлоркальциевоему типу (по классификации В.А.Сулина), минерализация составляет 14.3г/л, плотность – 1.009г/л (при 20°С).
Преимущество вод этого комплекса связано в первую очередь с тем, что они по своему химическому составу близки к водам нефтяных пластов и не требуют дополнительных затрат на очистку. Кроме того, их применение способствует более полному вытеснению нефти.
1.4. Строительные материалы
В Нижневартовском районе, где находится Рославльское месторождение, в результате проведенных работ Тюменской КГРЭ и комплексной геологоразведочной партией треста «Нижневартовск-нефтеспецстрой» были выявлены и разведаны месторождения строительных материалов. Месторождения разведаны, в основном, вблизи крупных населенных пунктов – городов Мегион, Нижневартовск.
Мегионское месторождение строительного песка расположено в 2.5км к юго-востоку от города Мегиона. Запасы по категории С2 составляют 4.8млн.м3 .
Нижневартовское месторождение строительного песка расположено в русле реки Обь и состоит из четырех участков, приуроченных к береговым косам. Общие запасы подсчитаны по категориям С2 в количестве 64.55млн.м3 .
Опоискованы два месторождения стекольного песка. Одно месторождение открыто в 120км к юго-западу от пос. Варьеган. Запасы его не оценивались. Второе, Шестлевское месторождение находится на реке Аган и оценивается по категории С2 -4.8млн.м3 . Кварцевые пески с перерывами прослеживаются на 100км, шириной 50-60км. Интервал залегания – 2.1м (кровля) – 9.8м (подошва). Цвет светло-серый, почти белый. По химическому составу SiO2 – 95-97%, Аl2 Oдо 1.5%, других примесей – 1%.
Верхневартовское месторождение строительных песков находится в 10км выше по р.Оби от города Нижневартовска. Запасы песков по категории С2 составляют 43.30млн.м3 . По физико-химическим свойствам пески пригодны для строительных растворов.
Месторождение строительных песков Быстрый находится в 50км ниже г.Нижневартовска, в русле р.Оби. Запасы по категории С2 составляют 222.2млн.м3 .
Месторождение керамзитовых глин выявлено в 15км к северо-западу от г.Мегиона. Запасы сырья оценены по категориям А+В+С1 – 2.96млн.м3 .
Лобановское месторождение глин находится в 10км восточнее п.Локосово. Площадь месторождения составляет 44га, среднее число пластичности глин 10.2. Глины пригодны для производства кирпича марки 100. Запасы сырья оценены по категории С2 -19.88млн.м3 .
Кирьясовское месторождение кирпичных глин находится в 1км от пос. Кирьяс и в 20км юго-западнее г.Мегиона. Запасы глин по кат.С2 – 4.08млн.м3 .
Локосовское месторождение глин расположено в 75км к западу от города Мегиона, у пос.Локосово. Эти глины пригодны для изготовления кирпича марки 100-125, при добавке в сырье 1.5% солярного масла глину можно использовать для получения гравия марки 600. Запасы подсчитаны по категориям А-1.2млн.м3 , В-2.7млн.м3 , С1 -2.3млн.м3 . В настоящее время на этом сырье работает Локосовский кирпичный завод.
В 15км от города Мегиона открыто месторождение керамзитовых глин. Подсчитанные запасы керамзитовых глин составляют по категориям А+В+С1 -2.96млн.м3 .
В северо-западной части города Нижневартовска открыт участок глин, пригодных для изготовления кирпича марки 100. Выявленные запасы оцениваются по категории С2 -0.5млн.м3 .
Мало-Тарховский участок глин расположен на правом берегу реки Вах, в 3км вверх по течению от поселка Мало-Тарховский. Полезная толща представлена коричневато-серыми глинами. В результате технологических испытаний сырья получен кирпич марки 100. Запасы глины оценены по категории С2 в количестве 1.4млн.м3 .
Ай-Еганское месторождение кирпичных глин открыто на 41км автодороги Радужный-Нижневартовск. Сырье пригодно для получения полнотелого кирпича марки «200». Запасы подсчитаны по категориям А+В+С1 -20.2млн.м3 .
Зайцево-Реченское месторождение кирпично-керамзитовых глин находится в 29км к юго-западу от города Нижневартовска, в 1.5км к северо-западу от п.Зайцева Речка. Балансовые запасы глин утверждены в 1974 году по категориям А+В+С1 в количестве 29.63млн.м3 . При внесении в сырье соответствующих добавок получают керамзит марки 550-700 и кирпич марки 150.
Больше-Пасольское месторождение глин расположено в 10 км ниже пос.Зайцева Речка, в 24км южнее г.Нижневартовска. Запасы кирпичных глин оценены по категории С2 в количестве 0.88млн.м3 .
Соснинское месторождение кирпичных глин находится в Нижневартовском районе в среднем течении левого притока реки Соснинский Еган – Сорт-Еган. Запасы глин по категории С2 равны 19.94млн.м3 .
В результате проведенных поисковых работ в более поздний период (1990-92г.г.) на Мегионской площади было выявлено пять участков глинистого сырья с общими запасами по категории С2 -11.4млн.м3 и прогнозными ресурсами по категории Р1 -28.9млн.м3 (Высотный, Равнинный, Мугланеганский, Егартурийский, Мегионский).
Кроме того, в результате проведенных изыскательских работ предприятием «Нижневартовскнефтеспецстрой» в Нижневартовском районе был выявлен ряд карьеров песчаных грунтов, торфа, гравия и глин которые используются в процессе обустройства нефтяных месторождений, строительства дорог, оснований под кустовое бурение, а также в промышленном и гражданском строительстве. Выявленное сырье не оценивалось.
Поисково-разведочные работы на нерудное сырьё в пределах изучаемой площади не проводились.
Территория Рославльского месторождения с дневной поверхности представлена переслаиванием песков различной крупности с редкими прослоями супесей, суглинков и глин текучей консистенции с примесью органики и слабозаторфованных с включениями гравийного материала. Мощность отложений 10-30м. На значительных площадях они перекрыты современными болотными отложениями, представленными торфом. Мощность торфа изменяется от 0.5м до 2.5м, реже до 4.5м. Торф различной степени разложения, плотности и влажности.
Для оценки свойств минеральных грунтов и торфа в районе Рославльского месторождения были использованы сведения, полученные при инженерно-геологических изысканиях, проведенных в описываемом районе под трассу автодороги р.Егартьях – ДНС Западно-Могутлорского месторождения.
1.5. Краткая история геолого-геофизической изученности района месторождения
Открытию Рославльского нефтяного месторождения, как и других месторождений нефти и газа Западной Сибири, предшествовали многолетние геолого-геофизические исследования этой обширной территории, начатые в начале XX века.
Первые достоверные сведения о геологическом строении Западной Сибири были получены в результате работ, проведенных рядом исследователей: Д.Э.Эндельштейном (1926г.), В.И.Громовым (1934г.), Ильиным (1936г.), В.Г.Васильевым (1946г.) и другими.
Однако до 1949 года эти исследования носили чисто описательный характер.
Планомерные геолого-геофизические исследования в Западной Сибири с целью поисков нефти и газа, к которому приурочен район работ, начаты в 1947 году.
В период с 1947 года по 1957 год проводились работы, направленные на поиски крупных структурно-тектонических элементов и выяснение общих закономерностей в геологическом строении района.
На первом этапе этих работ больше внимания уделяется региональным мелкомасштабным исследованиям. Изучаемый район покрывается геолого-геоморфологической съемкой масштаба 1:1000000, аэромагнитной съемкой масштабов 1:1000000 и 1:200000, гравиметрической съемкой масштаба 1:1000000.
По результатам этих работ составлена государственная геологическая карта масштаба 1:1000000. Установлено повсеместное распространение четвертичных отложений. Этими работами были выявлены Сургутский и Нижневартовский (ранее Покурский вал) своды.
В 1956-57 годах в районе Среднего Приобья проведено структурно-поисковое бурение вдоль реки Оби, была пробурена сеть опорных скважин – Ханты-Мансийская, Ларьякская, Уватская, Малоатлымская, Сургутская, Покурская и другие.
Полученные новые данные о глубинном строении Западной Сибири послужили основанием для проведения широкомасштабных геофизических исследований территории.
С 1957 года Ханты-Мансийским геофизическим трестом проводятся рекогносцировочные и детальные работы МОВ ОГТ, КМПВ масштабов 1:100000, 1:200000, направленных на поиск положительных локальных структур, перспективных в нефтегазоносном отношении.
С 1959 года на площадях Сургутского и Нижневартовского сводов, на выявленных сейсморазведкой положительных структурах, начато глубокое поисково-разведочное бурение. В 1961 году в результате бурения поисковой скважины 1, пробуренной на Мегионской площади было открыто первое нефтяное месторождение на Нижневартовском своде и вообще в Широтном Приобье.
С этого времени буровые и сейсморазведочные работы в этом регионе начали развиваться более интенсивно, что сопутствовало открытию новых месторождений нефти и газа (Усть-Балыкское, Самотлорское и другие).
Территория района работ покрывается поисковыми сейсморазведочными исследованиями МОВ масштабов 1:100000 и 1:50000, проведенными работами было уточнено и детализировано строение Нижневартовского свода, Варьеганского и Вынгапуровского крупных валов. Выявлены и подготовлены к бурению такие крупные поднятия как Варьеганское, Ватьеганское, Сардаковское, Повховское, Покачевское, Янчинское и другие. На выделенных структурах были открыты месторождения углеводородного сырья.
В результате проведенных площадных сейсморазведочных работ МОВ (однократное профилирование) впервые было сделано заключение о том, что Нижневартовский и Сургутский своды соединены между собой перемычкой, своеобразным «мостом», в центре которого была выделена Кечимовская структура.
Сейсморазведка МОВ ОГТ ведется в рассматриваемом районе со второй половины 70-х годов. Метод ОГТ позволил более эффективно изучить строение осадочного чехла, выделить в разрезе, наряду с основными, «слабые» отражающие границы, которые часто контролируют продуктивные пласты в меловых и юрских отложениях. Наряду с работами МОВ ОГТ проводились региональные работы КМПВ масштаба 1:200000, в результате которых были составлены сводные структурные карты по опорному отражающему горизонту Б на Нижневартовский, Сургутский и Вахский районы, также был изучен рельеф доюрского основания, отмечено блоковое строение фундамента, выделены тектонические нарушения.
В 1984-1985 годах на основании детальных исследований МОВ ОГТ масштаба 1:50000, проведенных сп 6,80/84-85 (Л.Ф.Салькова, О.А.Бузанова и др.), был закартирован ряд структур, в числе которых было впервые выявлено и подготовлено к глубокому бурению Рославльское поднятие. Уточнено геологическое строение осадочного чехла по меловым горизонтам С, М, Дв, Дм, по юрским горизонтам Б, Т1 и по палеозойскому фундаменту – горизонту А.
В 1988 году на Рославльской площади были начаты поисковые работы. Первая поисковая скважина 11, пробуренная в сводовой части структуры, явилась первооткрывательницей Рославльского месторождения. При испытании пласта Ю1 в инт.2892-2902м и пласта Б8/1 в инт.2585-2604м были получены фонтаны нефти дебитами, соответственно, 121.6м3 /сут и 77.3м3 /сут на 8мм штуцере. При опробовании пласта Ю2 в инт. глубин 2971-2976м получили безводный приток нефти дебитом 5.9м3 /сут при среднединамическом уровне 1707м.
В этом же году были подсчитаны запасы нефти по пластам Ю2, Ю1 и БВ8 с постановкой их на Госбаланс РФ. Суммарные запасы нефти по категории С1 составили бал./извл.14991/5582тыс.т. по категории С2 –бал./извл.19329/7247тыс.т, в том числе по пласту БВ8 по кат. С1 -бал/извл.7977/3191тыс.т, по кат. С2 –бал./извл.9880/3952тыс.т, по пласту Ю1 - по кат. С1 - бал.извл.5814/2151тыс.т, по кат. С2 - 8264/3058тыс.т, по пласту Ю2 по кат С1 – бал.извл.1200/240тыс.т, по кат.С2 –бал.извл.1185/237тыс.т.
В 1999 году ОАО МПК «Аганнефтегазгеология» получила лицензию на право разработки Рославльского нефтяного месторождения (лицензия № ХМН 01102 НЭ).
В 2001 году на основании «Проекта пробной эксплуатации Рославльского месторождения», выполненного компанией «Гео Дэйта Консалтинг» (протокол №204 от 01.02.2001г.), Рославльское месторождение введено в разработку. Основными объектами разработки на месторождении являются залежи нефти в пластах БВ8/1 и ЮВ1.
Одновременно с разработкой выделенных объектов проводилась доразведка месторождения опережающим эксплуатационным бурением отдельных скважин и двумя разведочными (скв.30 и 37). Полученные геологические данные при бурении новых скважин не подтверждали сейсмическую основу прошлых лет.
В 2002-2003 годах на Рославльской площади сп 5/01-02, 7/02-03 были проведены детализационные сейсморазведочные работы МОВ ОГТ 2D в масштабе 1:50000. Полученные новые сейсмические материалы в совокупности с данными бурения разведочных и эксплуатационных скважин позволили уточнить структурный план Рославльского месторождения. Построены структурные карты по отражающим горизонтам А, ТЮ10, ТЮ3-4, ТЮ2, Ю1, Б, НБВ8-2, НБВ8-1, НБВ8, НБВ4, М, С, Э. Подготовлены к поисково-разведочному бурению Северо-Рославльское, Восточно-Рославльское и Западно-Ампутинское поднятия. Выявлено шесть малоамплитудных локальных поднятий. Выделены предполагаемые зоны развития пласта ЮВ10, возможно перспективного для поисков углеводородов. Выделены перспективные участки для поисков нефти по горизонту ЮВ2. Детализирована залежь нефти в пластах ЮВ1 и БВ8. В связи с этим возникла необходимость в проведении дополнительных геологоразведочных работ с целью уточнения уже открытых залежей и поисков новых залежей нефти и газа на вновь выявленных перспективных локальных структурах в пределах лицензионного участка Рославльского месторождения.
Для решения этих задач был составлен комбинированный геологический проект на поиски и доразведку залежей углеводородов в пределах Рославльского лицензионного участка.
За весь период геологоразведочных работ на месторождении пробурено пять поисково-разведочных (11, 13, 18, 30, 37) и 61 (из них четыре наклонных) эксплуатационная скважина.
Бурение разведочных скважин (11, 13 и 18) на Рославльском месторождении проводила Аганская нефтегазоразведочная экспедиция под руководством производственного объединения «Мегионнефтегазгеология».
2. ГЕОЛОГИЧЕСКОЕ СТРОЕНИЕ МЕСТОРОЖДЕНИЯ
2.1. Литолого-стратиграфическая характеристика разреза
Литологический разрез Рославльского месторождения представлен толщей терригенных песчано-глинистых отложений мезозойско-кайнозойского осадочного чехла, подстилаемых метаморфизованными породами палеозойского складчатого фундамента.
Разрез осадочного платформенного чехла в пределах лицензионного участка Рославльской площади вскрыли 5 поисково-разведочных скважин. Также в процессе эксплуатации месторождения была пробурена 61 эксплуатационная скважина. ГИС и отбор керна в эксплуатационных скважинах производились в интервалах продуктивных пластов (групп БВ и ЮВ).
В скв.14Р Рославльской, расположенной в 5 км к западу от Рославльского месторождения вскрыты породы палеозойского фундамента. Данные о литологии и глубинах залегания доюрских пород по скважинам Рославльского и ближайших к нему месторождений приведены в табл. 1.1.
Максимально вскрытая толщина осадочного чехла составляет 3594м (скв.14Р).
Охарактеризованность керновым материалом всего разреза неравномерна: наиболее полно керном освещена продуктивная часть (пласты БВ8, ЮВ1, ЮВ2). В разведочных скважинах, пробуренных Аганской нефтегазоразведочной экспедицией, керн отбирался также из нижнемеловых и юрских отложений.
Суммарная проходка с отбором керна составила 596м, вынос керна –524.7м, что составляет 88% от проходки.
При описании геологического строения Рославльского месторождения привлекалась информация по соседним площадям: Усть-Котухтинской, Повховской, Западно-Варьеганской.
Стратиграфическое расчленение мезозойско-кайнозойского чехла Рославльского месторождения произведено в соответствии с унифицированной стратиграфической схемой.
Палеозойская система
Доюрский фундамент
Породы фундамента вскрыты на Рославльской скважиной 14Р на глубине 3594м.
По имеющемуся керну породы фундамента Рославльского месторождения представлены туфами эффузивов кислого состава, светло-серыми и черными, сильно измененными, карбонатизированными.
По результатам описания шлифов в интервале 3690-3708м скважины 14Р в породах фундамента наблюдается чередование слоев толщиной от 1.2 до 40см, наклоненных под углом 40°, черных и светло-серых, иногда с зеленоватым оттенком, реже буровато-желтых, сильно измененных, карбонатизированных туфов эффузивов кислого состава, мелкопесчаной и алевритовой размерности, встречен обугленный детрит. Туфы эффузивов мелкозернистые (размер отдельных обломков 0.05-0.25мм), там, где порода замещена карбонатом, на 90-95% состоит из сближенных, сильно измененных обломков различной формы, пространство между которыми заполнено бесцветной гидрослюдой. Карбонат представлен кальцитом (9-15%), анкеритом (0-10%) и сидеритом (0-54%).
Ближайшими площадями, на которых вскрыты доюрские образования, являются Повховская, Аганская, Западно-Варьеганская, Вать-Еганская, Ван-Еганская (табл1.1).
Согласно данным Бочкарева В.С. (1995-2004г.г.), а также Решениям МСК по палеозою от 29.01.1999г. (г.Новосибирск), Рославльское месторождение по девонским-каменноугольным отложениям расположено в Варьеганской структурно-фациальной зоне Обь-Тазовской системы .
Возраст пород фундамента предполагается верхнепалеозойский.
К поверхности доюрского консолидированного фундамента приурочен отражающий горизонт А, залегающий в пределах рассматриваемого лицензионного участка Рославльского месторождения на глубинах от 3.5 до 3.7км.
Амплитуда Рославльского поднятия по ОГ А по материалам МОГТ 2D сп 5/01-02 и 7/02-03 составляет 87м. По данным этих сейсмопартий в доюрском основании выделены зоны разуплотнения, которые могут быть связаны с рифовыми постройками или эрозионными останцами. В обоих случаях эти отложения могут представлять интерес для поисков УВ.
Вскрытая толщина фундамента составляет 113м (скв.14Р).
Кора выветривания
Отложения коры выветривания в скв.14Р вскрыты в интервале 3570-3594м и керном не охарактеризованы.
Толщина отложений коры выветривания по данным скв.14Р составляет 24м.
Мезозойская система
Юрская система
Отложения юрской системы несогласно залегают на породах фундамента и представлены тремя отделами: нижним, средним и верхним.
Согласно унифицированной стратиграфической схеме нижний и средний отделы представлены мощной толщей континентальных осадков котухтинской и тюменской свит, накапливавшихся, соответственно, в бассейновых и озерно-аллювиальных условиях.
К отложениям юры приурочено 4 сейсмоотражающих горизонта: ТЮ10 - J1, тоар (кровля пласта ЮВ10 в нижней части среднетюменской подсвиты), Т Ю2 - J2, келловей, вблизи кровли тюменской свиты, Ю1 – J3, оксфорд (кровля пласта ЮВ1) и Б - J3, волжский ярус, кровля баженовской свиты.
Верхний отдел юры представлен породами преимущественно морского генезиса, в его составе выделяются: васюганская, георгиевская и баженовская свиты.
Нижний и средний отделы
Котухтинская свита
В пределах рассматриваемого участка отложения котухтинской свиты вскрыты в скважине 14Р на глубине 3352м.
Свита представлена чередующимися пачками глинистых и песчано-алевритовых отложений. По особенностям переслаивания и палинологической характеристике подразделяется на две подсвиты: нижнюю и верхнюю.
Нижняя подсвита включает в себя внизу песчаную пачку и вверху - пачку преимущественно глинистого состава (тогурскую). Тогурская пачка используется как реперная для нижнеюрских отложений и пласта ЮВ11.
В верхней подсвите развит песчаный пласт ЮВ10, его перекрывает радомская пачка глин (20-50м).
Аргиллиты радомской пачки темно-серые, иногда с зеленоватым оттенком, слабобитуминозные, с прослоями алевролитов, углей, наличием растительного детрита, пирита, остатками фауны.
Песчаники серые и светло-серые, мелко- и среднезернистые, полимиктовые с кварцево-хлоритовым цементом.
Алевролиты серые, разнозернистые, полевошпатово-кварцевые с хлорит-доломитовым или гидрослюдисто-хлоритовым цементом.
В осадках котухтинской свиты встречается мелкий углистый детрит.
К кровле пласта ЮВ10 приурочен сейсмоотражающий горизонт ТЮ10.
Общая толщина котухтинской свиты 218м.
Тюменская свита
Отложения тюменской свиты непосредственно на Рославльской площади (в пределах рассматриваемого участка) вскрыты в 5 поисково-разведочных скважинах (скв.11Р,13Р,18Р,30Р,37Р) и в 39 эксплуатационных скважинах на глубинах 2972м (скв. 11Р) –3016м (скв.18Р). Для тюменской свиты характерно неравномерное переслаивание песчаников, алевролитов и аргиллитов. К кровле свиты приурочен песчано-алевритовый пласт ЮВ2, продуктивный на Рославльском месторождении.
Песчаники от светло-серых до темно-серых, от тонкозернистых до среднезернистых, плотные, с вкраплениями слюд, растительных остатков, углистого материала, часто карбонатизированные. Текстуры характерны массивные, а также с неясно выраженной слоистостью, подчеркнутой углистыми, глинистыми и слюдистыми намывами.
Алевролиты темно-серые, иногда с буроватым оттенком, неоднородные, плотные, крепкие, мелко- и крупнозернистые, встречаются прослои угля и черного аргиллита, характерны крупные включения углистого детрита и отпечатки флоры.
Аргиллиты темно-серые, до черных, буроватые, однородные, крепкие, слабо-алевритистые, углистые, с включениями пирита и сидерита, местами тонко переслаиваются с алевролитами и песчаниками в виде линз и прослоев, со следами илоедов, иногда со следами оползания осадка. Встречаются прослои битуминозных аргиллитов.
Для пород свиты характерна тонкая горизонтальная, реже косая слоистость, обилие углистого растительного детрита, конкреции пирита, линзы и желваки сидерита, прослои угля. У выступов фундамента отмечаются гравелиты.
Общая толщина тюменской свиты в изучаемом районе составляет 366м (скв.14Р).
Верхний отдел
Васюганская свита
Вскрыта на глубинах 2892 (скв.11Р) –2932(скв.18Р) м.
Отложения васюганской свиты в нижней части разреза представлены, в основном, аргиллитами, в верхней - преобладанием песчано-алевритовых разностей.
К песчаникам верхней подсвиты (пласт ЮВ1) приурочены залежи нефти в данном нефтегазоносном районе. На Рославльском месторождении пласт ЮВ1/1 является подсчетным объектом.
Песчаники светло-серые, серые, бурые, мелкозернистые, реже среднезернистые, полимиктовые, плотные, крепкосцементированные, с неровным изломом, слюдистые, изредка кварцевые, часто карбонатные, массивные и с редкими и тонкими прослоями глинистых разностей и угля. Цемент преимущественно глинистый, иногда карбонатно-глинистый. Характерны включения пирита в виде стяжений, растительного детрита, остатков фауны (ростры белемнитов в скв.552).
Алевролиты серые, бурые, слюдистые, плотные, с ровным горизонтальным изломом, с большим количеством тонких, линзообразных включений серых, иногда слабо карбонатных песчаников.
Аргиллиты темно-серые, до черных, буроватые, плотные, тонко-отмученные, слюдистые, с ровным сколом, хрупкие; иногда неоднородные, алевритистые, с линзовидной слоистостью, обусловленной наличием более светлого алеврито-песчаного материала. Наблюдаются включения пирита (до 1см) и углистого детрита; характерны следы деятельности илоедов. В скв.11Р отмечены следы оползания осадка.
Встречаются прослои известняка, светло- и темно-серого, опесчаненного, плотного, крепкого, иногда трещиноватого.
К верхней части свиты приурочены промышленные залежи пластов ЮВ1/1 дебиты нефти составляют: для ЮВ1/1 от менее 1м3 /сут (скв. 502) до 148.8м3 /сут (скв.546). Толщина свиты составляет 75 (скв.30Р) – 85 (скв.13Р)м.
Георгиевская свита
Литологически представлена аргиллитами темно-серыми до черных с зеленоватым оттенком, преимущественно тонкоотмученными, плотными, с включениями глауконита, пирита.
На электрокаротажных диаграммах отложения свиты однозначно выделяются резким уменьшением величины удельного сопротивления пород по сравнению с выше- и нижележащими отложениями.
Толщина свиты составляет 3-4м.
Баженовская свита
Баженовская свита завершает разрез юрских отложений и представлена черными с коричневатым оттенком битуминозными аргиллитами, массивными, иногда в разной степени плитчатыми, слюдистыми, с включениями пирита, рыбьей чешуи и растительного детрита.
Отложения баженовской свиты являются региональным стратиграфическим репером, они четко фиксируются на электрокаротажных кривых и контролируются опорным сейсмоотражающим горизонтом Б.
Толщина свиты 20-26м.
Меловая система
Отложения меловой системы на рассматриваемой территории развиты повсеместно и представлены двумя отделами: нижним и верхним. Нижний отдел включает в себя отложения мегионской, ванденской, алымской и нижнепокурской свит, верхний отдел представлен континентальными отложениями верхнепокурской и морскими отложениями кузнецовской, березовской и ганькинской свит.
Нижний отдел
Мегионская свита
Мегионская свита формировалась в условиях относительно глубоководного морского бассейна при его одностороннем заполнении осадками, поступавшими преимущественно с юго-востока.
Нижняя часть свиты преимущественно глинистая, верхняя содержит прослои песчаников (пласты БВ8 -БВ10 ).
В нижней части свиты выделяется 100-метровая песчано-алевритовая толща ачимовских отложений, образованных турбидитными течениями и оползнями. Отложения ачимовской толщи в пробуренных скважинах Рославльского месторождения водоносные по данным ГИС.
В верхней части свиты выделяется шельфовый пласт БВ8 , являющийся основным продуктивным пластом на Рославльском и соседних Повховском, Западно-Варьеганском, Егурьяхском и других месторождениях.
Песчано-алевритовые отложения мегионской свиты представлены песчаниками и алевролитами серыми, мелкозернистыми, крепко-сцементированными, слюдистыми, часто с намывами углистого растительного детрита и слюды, участками известковистыми, с прослоями аргиллитов.
Аргиллиты темно-серые, реже серые, плотные, массивные, слюдистые с остатками растительного детрита, алевритистые, иногда с углистыми остатками.
Разрез мегионской свиты заканчивается глинистой пачкой, представленной темно-серыми аргиллитами, слабоалевритистыми, с редкими включениями органики, толщина данной пачки около 25-35м.
Общая толщина отложений мегионской свиты в скважинах Рославльского месторождения составляет 310-330 м.
Ванденская свита
Ванденская свита согласно залегает на осадках мегионской свиты и вскрыта всеми пробуренными скважинами; характеризуется чередованием пачек песчаников, алевролитов и глин с постепенным возрастанием роли зеленоцветных прослоев вверх по разрезу.
Песчаники светло-серые, серые, слюдистые, мелко- и среднезернистые, слюдистые, плотные, кварцполевошпатовые, участками алевритистые, с глинистым цементом, иногда массивные за счет известковистого цемента, обычно средней крепости.
Алевролиты серые, светло-серые, средне- и крупнозернистые, глинистые, реже карбонатные, часто тонко-косослоистые за счет прослойков песчаников с углистым растительным детритом. Глины серые, темно-серые, участками алевритистые, тонкоотмученные, линзовидно-волнистые, средней крепости.
Для пород характерен обугленный растительный детрит, содержание которого возрастает вверх по разрезу. Встречаются единичные фораминиферы, аммониты, двустворки.
Толщина отложений ванденской свиты изменяется от 513 м (скв.18Р) до 546 м (скв.14Р).
Алымская свита
Алымская свита несогласно залегает на осадках ванденской свиты и представляет собой толщу, сложенную неравномерным переслаиванием песчано-алевролитовых и глинистых пород.
Песчано-алевритовые породы серые, полимиктового состава, разнозернистые, глинистые, от слабо- до среднесцементированных, участками с тонкими прослоями углисто-слюдисто-глинистого материала.
Глины темно-серые, плотные, слюдистые, иногда с прослойками белесоватых песчаников и алевролитов.
В породах свиты встречаются включения рассеянного обугленного растительного детрита.
Завершает разрез алымской свиты выдержанная по разрезу глинистая пачка толщиной 25-30 м, к подошве которой приурочен отражающий сейсмический горизонт М.
Толщина отложений свиты составляет 98-115 м.
Покурская свита
Покурская свита завершает разрез нижнего мела. Граница между верхним и нижним отделами меловой системы проводится весьма условно, так как она проходит внутри покурской свиты, представляющей собой мощную толщу неравномерного, сложного переслаивания песчано-алевролитовых и глинистых пород (граф.прил.3).
Отложения свиты представлены уплотненными песками, алевритами, мелкозернистыми, светло-серыми с прослоями карбонатных разностей в верхней части свиты, с подчиненными прослоями глин серых, буровато-серых, алевритистых и глинистых известняков в нижней части свиты. В кровельной части свиты залегают пески и слабосцементированные песчаники.
Степень сцементированности пород свиты вниз по разрезу увеличивается от рыхлых до крепкосцементированных.
Для пород свиты характерны скопления обугленного растительного детрита, линзы угля, встречается пирит, сидерит, остатки фораминифер.
Толщина свиты на месторождении составляет 761-778 м.
Верхний отдел
Кузнецовская свита
Кузнецовская свита начинает цикл морских осадков верхнего мела, несогласно залегающих на отложениях покурской свиты. Представлена глинами серыми, темно-серыми и зеленовато-серыми, однородными, крепкими, тонкоотмученными, слабослюдистыми, с включениями зерен глауконита. Отложения свиты характеризуются низкими значениями КС, четко выделяются по ГИС и керну. Свита является региональным репером, к ее подошве приурочен региональный сейсмоотражающий горизонт Г. Толщина свиты изменяется в небольших пределах от 14 до 19 м. По всему разрезу отмечаются остатки пиритизированных водорослей, чешуя рыб, фораминиферы и аммониты туронского возраста.
Березовская свита
Березовская свита по своему литологическому составу подразделяется на две подсвиты. Нижняя подсвита сложена опоками серыми и голубовато-серыми с глинами темно-серыми и черными, монтмориллонитового состава, прослоями опоковидными. В породах встречается фауна радиолярий, фораминифер коньяк-сантонского возраста. Верхняя подсвита более однородна по составу, она представлена глинами серыми, зеленовато-серыми, темно-серыми, слабоалевритистыми, с редкими прослоями опоковидных глин и опок. Встречаются конкреции пирита и сидерита.
Общая толщина отложений березовской свиты составляет 159-168 м.
Ганькинская свита
Ганькинская свита завершает разрез отложений меловой системы. Свита представлена морскими глинами, серыми, реже светло-серыми с зеленоватым оттенком, известковистыми, алевритистыми, с редкими зернами глауконита, конкрециями сидерита, с обломками раковин моллюсков, растительным детритом. В породах свиты встречается фауна фораминифер маастрихт-датского возраста. Толщина отложений ганькинской свиты составляет 184-192 м.
Кайнозойская группа
Палеогеновая система
Отложения палеогеновой системы представлены тремя отделами: палеоценом, эоценом и олигоценом. В составе палеоцена выделяются талицкая свита и нижняя подсвита люлинворской свиты; в составе эоцена+олигоцена – средняя и верхняя подсвиты люлинворской свиты, тавдинская, атлымская, новомихайловская и туртасская свиты. Отложения нижней части палеогена в основном морские, в верхней части развиты прибрежно-морские и континентальные.
Талицкая свита
Талицкая свита представлена глинами темно-серыми, до черных, в нижней части с буроватым или зеленоватым оттенком, плотными, жирными на ощупь, неяснослоистыми, алевритистыми с включениями глауконита, с тонкими линзовидными прослоями глинистого алеврита и буровато-коричневого сидерита в верхней части. Встречаются мелкие пиритизированные растительные остатки, чешуйки рыб и включения пелеципод палеоценового возраста. Толщина отложений талицкой свиты в пробуренных скважинах Рославльского месторождения составляет 90-97 м.
Люлинворская свита
Люлинворская свита объединяет морские осадки нижнего и среднего эоценового отдела и сложена преимущественно глинами серыми, зеленовато-серыми, реже желтовато-зелеными, тонкоотмученными, алевритистыми. В нижнейчасти глины часто опоковидные, с прослоями опок, реже глауконитовых песчаников; в средней – наравне с алевритистыми глинами присутствуют прослои диатомитовых глин, вверх по разрезу переходящие в прослои глинистых диатомитов. Толщина отложений люлинворской свиты 200-208 м. Вскрытый разрез в интервале глубин 0 –300¸500м в пробуренных скважинах каротажем не охарактеризован, поэтому детальное расчленение осадков эоцена, олигоцена и четвертичных отложений Рославльского месторождения приводится по аналогии с близлежащим Усть-Котухтинским месторождением, находящимся также по МСК в Центральной фациальной зоне по палеогену.
Тавдинская свита
Тавдинская свита (верхний эоценовый отдел) представлена глинами серыми, зеленовато- и голубовато-серыми, листоватыми, алевритистыми, жирными на ощупь, с прослойками алевритов и присыпками слюдистого, алевритового материала, с включениями растительных остатков и лигнитов.
Толщина осадков тавдинской свиты порядка 120-180 м.
Атлымская свита
Атлымская свита (нижний олигоценовый отдел) сложена песками серыми, мелко- и среднезернистыми, преимущественно кварцевыми, с прослоями бурого угля и глин серых, зеленовато-серых, алевритистых, содержащих в изобилии углистый детрит, включения растительных остатков, обломки лигнитизированной древесины. Толщина отложений атлымской свиты составляет 70-90 м.
Новомихайловская свита
Новомихайловская свита (средний олигоценовый отдел) представлена неравномерным переслаиванием серых, светло-серых, тонко- и мелкозернистых, кварцево-полевошпатовых песков с серыми и коричневато-серыми алевритами и глинами. Отложения свиты характеризуются наличием прослоев бурых углей, включениями растительных остатков, обилием углистого детрита и обломков лигнитизированной древесины.
Толщина осадков новомихайловской свиты достигает 90-100 м.
Туртасская свита
Туртасская свита (верхний олигоценовый отдел) сложена глинами и алевритами зеленовато-серыми, тонкослоистыми с прослоями кварцево-глауконитовых, тонко- и мелкозернистых песков и диатомитов. Толщина свиты составляет 40-70 м.
Четвертичная система
Район работ характеризуется наличием мощной толщи осадков четвертичного возраста, несогласно залегающих на отложениях туртасской свиты. Это осадки аллювиальных, озерно-аллювиальных, озерных фаций и современных отложений, представленных чередованием глины, песка, суглинка, алеврита, торфяников с включением растительного детрита. В основании разреза четвертичной системы встречаются галечник и валуны.
Глины зеленовато- и буровато-серые, вязкие, песчанистые. Песок серый, желтовато-серый, разнозернистый, кварцево-полевошпатовый. Суглинок легкий, алевритовый, алеврит глинистый. Толщина четвертичных осадков в районе работ достигает 50 м.
2.2. Тектоника
В геологическом разрезе Западно-Сибирской плиты выделяется три структурно-тектонических этажа. Нижний этаж – складчатый фундамент, сформировавшийся в палеозойское и допалеозойское время, соответствует геосинклинальному этапу развития.
В скважине 14Р Рославльского месторождения, доюрский фундамент вскрыт на глубине 3594м, и представлен туфами эффузивов кислого состава сильно дислоцированными и карбонатизированными. Вскрытая толщина пород составила 113м.
Промежуточный структурный этаж (ПСЭ)сопоставляется с отложениями пермо-триасового возраста и характеризует собой парагеосинклинальный этап в истории развития плиты, формирование которого происходило в погруженных частях фундамента. Сейсморазведочными работами на Рославльском месторождении отложения ПСЭ не изучены, по данным бурения скв. 14Р он представлен корой выветривания толщиной 24м.
Верхний структурно-тектонический этаж сложен мощной толщей мезозойских и кайнозойских образований, накопившихся в условиях длительного и стабильного прогибания фундамента. Этот этаж, или собственно осадочный чехол плиты, является объектом детального изучения на современном этапе, т.к. с ним связаны все основные скопления УВ в Среднем Приобье.
Согласно «Тектонической карты мезозойско-кайнозойского ортоплатформенного чехла Западно-Сибирской геосинеклизы» Рославльское месторождение приурочено к одноименной структуре III порядка, расположенной в пределах Южно-Гаяновского малого прогиба – средней структуры II порядка, которая в свою очередь осложняет Новоаганский крупный прогиб – крупную структуру II порядка.
Новоаганский крупный прогиб разделяет Варьеганский крупный вал – на востоке, Нижневартовский свод – на юге, Курраганский структурный мыс и Средневатьеганский малый вал – на западе и Вэнгапурский крупный вал – на севере.
Рославльская структура выявлена и подготовлена к глубокому бурению сейсморазведочными работами МОВ ОГТ в 1:50000 масштабе (сп 6/84-85 и 80/84-85).
Последними сейcморазведочными работами МОВ ОГТ 2D (сп 5/01-02, 7/02-03) масштабов 1:50000 и 1:25000 изучено и уточнено строение территории лицензионного участка по отражающим горизонтам: А (подошва осадочного чехла), ТЮ10 (нижняя юра), ТЮ2 (средняя юра), Ю1, Б (верхняя юра), НБВ8, М (нижний мел), С (верхний мел).
Структурный план доюрского основания изучен по отражающему горизонту А , по которому, в контуре замкнутой изогипсы –3500м выделяется Рославльская антиклинальная складка, представляющая собой относительно крупную многокупольную структуру сложной конфигурации субмеридионального простирания размерами 111.58км, разбитую серией тектонических нарушений на блоки северо-западного и северо-восточного простирания. Амплитуда поднятия 87 м. В пределах этой структуры четко выделяется три локальных поднятия: собственно Рославльское, Северо-Рославльское и Малорославльское. Каждое из этих локальных поднятий оконтурено сейсмоизогипсой –3460м. Наиболее крупным из них является Рославльское л.п., в пределах сейсмоизогипсы –3460м имеет размеры 4.90.8548км и амплитуду 47м, осложнено тремя незначительными куполами. Северо-Рославльское л.п. в пределах сейсмоизогипсы –3460м имеет размеры 1.551.25км, амплитуду 22м. Малорославльское л.п. в пределах сейсмоизогипсы –3460м осложнено двумя куполами, имеет размеры 2.850.51км и амплитуду 11м. По разным направлениям углы падения крыльев этой довольно сложной складки различны. В юго-восточном и юго-западном погружениях углы наклона наиболее крутые и составляют соответственно 5 и 620. Южное и северное погружения более пологие, углы падения не превышают 250. Северное крыло структуры разделяется на два заливообразным прогибом.
Среднеюрский сейсмостратиграфический комплекс (ССК), ограниченный в кровле отражающим горизонтом ТЮ2 , контролирует строение регионально нефтеносного пласта ЮВ2 тюменской свиты, структурный план по которому в более пологом виде повторяет рельеф доюрского основания.
Рославльская антиклинальная складка по ОГ ТЮ2 уменьшилась в размерах, ранее входящее в ее состав Малорославльское поднятие локализовалось, отделившись от Рославльского поднятия неглубоким прогибом. Малорославльское локальное поднятие в пределах сейсмоизогипсы –2925м имеет размеры 1.51.25км Собственно Рославльское совместно с Северо-Рославльским л.п. по кровле пласта ЮВ2 оконтуривается сейсмоизогипсой –2925м и имеет размеры 6.81.254.4км, высоту 23м. Северо-Рославльское поднятие приобретает вид структурного носа с вершиной, оконтуренной сейсмоизогипсой –2920м.
Накопление песчаников контролировалось палеоструктурными элементами и хорошие коллекторы развиты в пределах палеоподнятий. Установлена явная связь амплитуд отражения волн ТЮ2 с характером насыщения пласта, а именно, максимальные амплитуды приурочены к нефтенасыщенным зонам пласта, минимальные – к зонам водоносным по данным ГИС.
В верхнеюрском ССК был прослежен отражающий горизонт Ю1 , который в структурном плане характеризует строение верхнеюрских песчаников васюганской свиты, перекрытых георгиевскими и баженовскими битуминозными аргиллитами. В общих чертах наблюдается унаследованность структурного плана по горизонту Ю1 от нижележащего отражающего горизонта ТЮ2.
Структурная карта по кровле продуктивного пласта ЮВ1, построенная на основе структурного плана по отражающему горизонту Ю1, позволила уточнить и детализировать строение залежи нефти в пределах Рославльского и Северо-Рославльского поднятий. Само поднятие оконтуривается сейсмоизогипсой –2845м, а по изогипсе –2850м раскрывается в направлении Малорославльского поднятия. Малорославльское поднятие в контуре сейсмоизогипсы –2845м имеет размеры 2.451.6км. В пределах изогипсы –2845м Рославльское поднятие совместно с Северо-Рославльским имеет размеры 6.351.44.7км, амплитуду 23м. По-прежнему Северо-Рославльское поднятие вытянуто в северном направлении и имеет форму структурного носа и самостоятельно оконтуривается по изогипсе –2840м. Наблюдается дальнейшее выполаживание структуры: углы падения крыльев в северо-западном погружении 134 по другим направлениям не превышают 30. Рославльское поднятие представляет собой антиклинальную складку субширотного простирания, заполненную нефтью до замка ловушки.
Отражающий горизонт Б является основным опорным репером и контролирует кровлю верхнеюрских отложений баженовской свиты в пределах Рославльского поднятия. В контуре сейсмоизогипсы -2820м Рославльское поднятие представляет собой антиклинальную складку неправильной конфигурации, субширотного простирания, осложненную тремя куполами. Самый крупный центральный купол (2.650.95км), расположенный в районе скважины 11Р и оконтуренный изогипсой -2805м. По сейсмоизогипсе -2815м он объединяется с западным и южным малоразмерными куполами. Размеры Рославльского поднятия в пределах сейсмоизогипсы –2820м 8.51.57.5 км, амплитуда 24м.
Нижнемеловые отложения охарактеризованы отражающим горизонтом НБВ8 , на котором нашли свое отображение в более пологом виде, выделенные ранее по нижележащим горизонтам все структурные элементы.
Основной интерес в нефтеносном отношении в разрезе неокомского ССК представляют отложения мегионской свиты, в верхней части которой выделяется шельфовый пласт БВ8, являющийся основным продуктивным пластом на Рославльском месторождении и на смежных площадях (Покачевское, Егурьяхское, Западно-Варьеганское и др. месторождения). На Рославльском месторождении клиноформное строение мегионской свиты выражено не так ярко, как на более западных площадях, что связано, возможно, с высокой тектонической активностью территории, в результате которой изменилось направление привноса осадков и происходило встречное наложение отложений.
В палеоструктурном плане Рославльское поднятие по горизонту НБВ8 представляет собой антиклинальную складку неправильной формы, северная и юго-западная части которой, осложняются заливообразными прогибами.Размеры Рославльского поднятия по изогипсе –2525м 4.350.73.1км, высота 9м. Основной источник сноса находился на востоке, на восточном склоне и в южной присводовой части накапливались массивные песчаники, а на западе, в зоне затишья, пласт сильно расчленен прослоями глин. В северной части поднятия по изогипсе –2540м выделяется структурный нос, протяженностью 1.75км, а в южном направлении по изогипсе –2530м Рославльское поднятие раскрывается и объединяется с Малорославльским и Южнорославльским локальными поднятиями.
В силу специфических условий формирования неокомских отложений, а также по данным поисково-разведочного бурения (скв.11Р, 13Р, 18Р, 30Р и 37Р), пласт БВ8 имеет сложное строение, состоит из трех пластов БВ8/1(нефтеносный), БВ8/2 (преимущественно водоносный) и БВ8/3 (водоносный). Сложное строение пласта БВ8/1 обусловлено чередованием слабо выдержанных по площади и в разрезе песчаных и глинистых прослоев, а также колебаниями ВНК по скважинам. В свою очередь в пласте БВ8/1 выделяется три объекта: БВ8/1-0; БВ8/1-1 и БВ8/1-2+3, изолированных друг от друга глинистыми перемычками. Следует отметить, что в момент накопления пласта БВ8/1-1 Рославльское поднятие испытало относительный подъем, в результате которого пласт БВ8/1-1 оказался размытым в наиболее приподнятой части этого поднятия, а на его склонах сформировались две песчаные линзы, к которым приурочены залежи нефти структурно-литологического типа. При прогнозе перспективных объектов проведены динамический и сейсмофациальный анализы, на основании которых по динамическим характеристикам выделены предполагаемые границы замещения пласта, т.е. песчаные пласты, сформировавшиеся в районе скважины 30Р (ранее Северо-Рославльское локальное поднятие), гидродинамически изолированы от основной залежи. Однако, приведенные границы замещения являются спорными, т.к. проследить их по разрезам невозможно. По нашему мнению, здесь предполагается зона отсутствия коллекторов между основной залежью и районом скв.30, проведенная на расстоянии одной трети между скважинами с различными значениями ВНК. Чтобы доказать это предположение, необходимо провести дополнительные исследования, в первую очередь сейсморазведочные работы 3Д на всей площади Рославльского месторождения, а также гидродинамические, что позволит обоснованно выделить участки с разным уровнем ВНК и с некоторыми особенностями строения пласта.
Вышележащие апт-альб-сеноманский и верхнемеловой ССК, изученные по отражающим горизонтам М и С, интереса в нефтепоисковом отношении не представляют.
По отражающему горизонту М происходит дальнейшее выполаживание и расформирование структуры. Рославльское поднятие представляет собой брахиантиклинальную складку субширотного простирания оконтурено по сейсмоизогипсе –1885м, имеет размеры 1.60.7км, амплитуду 7м.
По отражающему горизонту С площадь работ представляет собой моноклиналь северо-восточного падения, осложненную структурными носами и заливами.
Основные тектонические элементы были сформированы к концу палеозоя и началу мезозоя и унаследованно развивались в течение всего мезозойско-кайнозойского периода. Существенных структурных перестроек в ходе геологической истории не наблюдалось, практически все поднятия и прогибы сохраняются на своих местах, лишь несколько меняя свои очертания и закономерно уменьшая амплитуды с течением времени. Значительная перестройка палеоподнятий произошла в верхнемеловое время (горизонт С). К этому времени произошло полное расформирование палеоподнятий, район работ трансформировался в моноклиналь, осложненную структурными носами и заливами.
3 ТЕХНИКО – ТЕХНОЛОГИЧЕСКИЙ РАЗДЕЛ
3.1 Технология добычи нефти УЭЦН
Эксплуатация скважин установками погружных центробежных насосов (УЭЦН), относящихся к классу бесштанговых, является в настоящее время основным способом добычи нефти в России. Установки электроцентробежных насосов (УЭЦН) применяют в скважинах для откачки пластовой жидкости.
Область применения УЭЦН - это высокодебитные обводненные, глубокие и наклонные скважины с дебитом 10 ¸ 1300 м3 /сут и высотой подъема 500¸2000м.
Условия применимости УЭЦН по перекачиваемым средам: жидкость с содержанием механических примесей не более 0,5 г/л, свободного газа на приеме насоса не более 25%; сероводорода не более 1,25 г/л; воды не более 99%; водородный показатель (рН) пластовой воды в пределах 6¸8,5. Температура в зоне размещения электродвигателя не более +90оС (специального теплостойкого исполнения до +140°С).
Установки УЭЦНМ и УЭЦНМК имеют следующие преимущества:
· возможность более точного подбора оборудования к технологическим режимам скважины и последовательное обеспечение работы оборудования в режимах, близких к оптимальным;
· повышенные параметры надежности;
· снижение энергетических затрат за счет оптимального подбора установки к конкретным параметрам скважин;
· расширение области применения по газосодержанию на приеме насоса за счет использования насосного газосепаратора.
Установка состоит из подземного оборудования, кабельной линии и наземного электрооборудования (рис. 2.1).
Подземное оборудование, спускаемое в скважину на насосно-компрессорных трубах, включает в себя погружной электродвигатель, гидрозащиту и центробежный насос, над которым устанавливается обратный и сливной клапаны.
Кабельная линия служит для подвода напряжения к двигателю, состоит из основного питающего кабеля и плоского удлинителя с муфтой. Кабель прикреплен к гидрозащите, насосу и насосно-компрессорным трубам металлическими поясами.
Оборудование устья скважины обеспечивает подвеску колонны насосно-компрессорных труб с насосным агрегатом и кабелем на фланце обсадной колонны, герметизацию затрубного пространства, отвод пластовой жидкости в трубопровод.
Насос (ЭЦНМ ) - погружной центробежный модульный многоступенчатый вертикального исполнения.
Насосы подразделяют на три условные группы - 5; 5А и 6. Диаметры корпусов группы 5- 92 мм, группы 5А - 103 мм, группы 6 - 114 мм.
Рабочие колеса свободно передвигаются по валу в осевом направлении и ограничены в перемещении нижним и верхним направляющими аппаратами. Осевое усилие от рабочего колеса передается на нижнее текстолитовое кольцо и затем на бурт направляющего аппарата. Частично осевое усилие передается валу вследствие трения колеса о вал или прихвата колеса к валу при отложении солей в зазоре или коррозии металлов. Крутящий момент передается от вала к колесам латунной (Л62) шпонкой, входящей в паз рабочего колеса. Шпонка расположена по всей длине сборки колес и состоит из отрезков длинной 400-1000 мм.
Направляющие аппараты сочленяются между собой по периферийным частям, в нижней части корпуса они все опираются на нижний подшипник и основание, а сверху через корпус верхнего подшипника зажаты в корпусе.
Газосепараторы ЭЦН Для откачивания пластовой жидкости, содержащей у сетки входного модуля насоса свыше 25 % (до 55 %) по объему свободного газа, к насосу подсоединяется модуль насосный – газосепаратор. Газосепаратор устанавливается между входным модулем и модулем-секцией. Наиболее эффективны газосепараторы центробежного типа, в которых фазы разделяются в поле центробежных сил. При этом жидкость концентрируется в периферийной части, а газ - в центральной части газосепаратора и выбрасывается в затрубное пространство. Газосепараторы серии МНГ имеют предельную подачу 250¸500 м3 /сут, коэффициент сепарации 90%, массу от 26 до 42 кг. Погружные электродвигатели ПЭД - погружные трехфазные коротко замкнутые двухполюсные маслонаполненные обычного и коррозионно-стойкого исполнения унифицированной серии ПЭДУ и в обычном исполнении серии ПЭД модернизации Л (рис.2.2). Гидростатическое давление в зоне работы не более 20 МПа. Номинальная мощность от 16 до 360 кВт, номинальное напряжение 530¸2300 В, номинальный ток 26¸122,5 А. Гидрозащита двигателей ПЭД предназначена для предотвращения проникновения пластовой жидкости во внутреннюю полость электродвигателя, компенсации изменения объема масла во внутренней полости от температуры электродвигателя и передачи крутящего момента от вала электродвигателя к валу насоса. Гидрозащита состоит либо из одного протектора, либо из протектора и компенсатора. Могут быть три варианта исполнения гидрозащиты.

Рисунок 3.2 - Электродвигатель серии ПЭДУ:
1 – соединительная муфта; 2 – крышка; 3 – головка; 4 – пятка; 5 – подпятник; 6 ‑ крышка кабельного ввода;7 – пробка; 8 – колодка кабельного ввода; 9 – ротор; 10 – статор; 11 – фильтр; 12 – основание.

Кабельная линия представляет собой кабель в сборе, намотанный на кабельный барабан. Кабель в сборе состоит из основного кабеля - круглого КПБК (кабель, полиэтиленовая изоляция, бронированный, круглый) или плоского - КПБП (рис. 2.3), присоединенного к нему плоского кабеля с муфтой кабельного ввода (удлинитель с муфтой).
Кабель состоит из трех жил, каждая из которых имеет слой изоляции и оболочку; подушки из прорезиненной ткани и брони. Три изолированные жилы круглого кабеля скручены по винтовой линии, а жилы плоского кабеля - уложены параллельно в один ряд.
Рисунок 3.3 - Кабели:
а – круглый; б – плоский; 1 – жила; 2 – изоляция; 3 – оболочка; 4 – подушка; 5 - броня
Кабель КФСБ с фторопластовой изоляцией предназначен для эксплуатации при температуре окружающей среды до+160о С.
Система термоманометрическая ТМС - 3 предназначена для автоматического контроля за работой погружного центробежного насоса и его защиты от аномальных режимов работы (при пониженном давлении на приеме насоса и повышенной температуре погружного электродвигателя) в процессе эксплуатации скважин. Имеется подземная и наземная части.
Диапазон контролируемого давления от 0 до 20 МПа. Диапазон рабочих температур от 25 до 105о С. Масса общая - 10,2 кг.
Комплексная трансформаторная подстанция погружных насосов – (КТППН) предназначена для питания электроэнергией и защиты электродвигателей погружных насосов из одиночных скважин мощностью 16¸125 кВт включительно. Номинальное высокое напряжение 6 или 10 кВ, пределы регулирования среднего напряжения от 1208 до 444 В (трансформатор ТМПН100) и от 2406 до 1652 В (ТМПН160). Масса с трансформатором 2705 кг.
Комплектная трансформаторная подстанция (КТППНКС) предназначена для электроснабжения, управления и защиты четырех центробежных электронасосов с электродвигателями 16¸125 кВт для добычи нефти в кустах скважин, питания до четырех электродвигателей станков-качалок и передвижных токоприемников при выполнении ремонтных работ. КТППНКС рассчитана на применение в условиях Крайнего Севера и Западной Сибири.
3.2. Анализ наработки на отказ применяемых ЭЦН в ОАО «Аганнефтегазгеология» НК «Русснефть» по заводам - изготовителям
Рассмотрим сравнительную наработку на отказ отечественных и зарубежных насосов. Как видно из диаграммы на рис.2.4, на предприятии используются ЭЦН различных отечественных и зарубежных фирм-производителей: «Борец», «Новомет», «Лемаз», «Алнас», Centrilift, Schlumberger и др.

Рисунок 3.4 - Анализ наработки на отказ по заводам - изготовителям
Анализ приведенной диаграммы показал наибольшую эффективность наработки на отказ зарубежных насосов по сравнению с отечественными. Наибольшая наработка на отказ наблюдается у фирмы Schlumberger – 1524 сут. Из отечественных насосов самая высокая наработка на отказ – Борец и Алмаз -326 и 299 суток соответственно.

Рисунок 3.5- Анализ наработки на отказ нового оборудования по отечественным заводам -изготовителям
Анализ наработки на отказ нового оборудования по отечественным заводам изготовителям показал высокий рост таких отечественных производителей насосов как Алмаз и Борец.

Рисунок 3.6 - Наработка на отказ импортных УЭЦН
по пластам на 01.01.07 г.
Увеличивается наработка на отказ импортных УЭЦН по пластам от 250 до 821 сут., что показывает эффективность использования импортных насосов по сравнению с отечественными.

Рисунок 3.7 – Причины отказов УЭЦН.
Наименьший процент составляет бесконтрольная эксплуатация 0,8 – 1%. От 10 – до 12% отказов УЭЦН составили причины по ГТМ и коррозии оборудования. От 4 до 9% наработка на отказ составляет по некачественным СПО.
Проведем сравнительный анализ применения импортных и отечественных УЭЦН двухопорного исполнения на фонде скважин в 2007 г. (табл. 3.1., 3.2).
Общее количество скважин в фонде на 01.01.2007г. составило 62 скважины, из них по пластам распределение следующее:
Пласт Б8 – 27 скважин;
Пласт Ю – 35 скважин.
Как видно из таблицы 2.1, самое большее количество наработки на отказ – 821 суток приходится на фонд скважин с УЭЦН, работающих на пластах группы Б8 . Наименьшее количество суток отработано на скважинах пласта Ю -250 суток.
Планируемое к применению оборудование в течение 2007 года составило 47 скважины, в т.ч. ремонтное – 37, закупка нового оборудования -10 единиц.
Таблица 3.1 – Наработка на отказ при использовании импортных УЭЦН
| Пласт | Наработка на отказ, сут. | Фонд скважин на 1.01.07 | Ожидаемое количество отказов в 2007 г. | Планируемое к применению оборудование в течении 2007 г. |
| Б8 | 821 | 27 | 5 | 19 |
| Ю | 250 | 35 | 41 | 28 |
| Итого: | 62 | 46 | 47 | |
| Ремонтное | 37 | |||
| Закуп | 10 | |||
Из проведенного анализа следует, что количество отказов при использовании импортных УЭЦН увеличивается по сравнению с ожидаемыми показателями по пластам.
В табл.3.2 показан расчет количества отказов при использовании отечественных УЭЦН специального исполнения. Как видно из данных таблицы, наработка на отказ УЭЦН специального исполнения такая же, как и импортных УЭЦН – на скважинах пласта Б8 – 556 суток, что на 309 суток больше самого низкого показателя наработки на отказ по пласту Ю.
Таким образом, можно сделать вывод о том, что количество отказов растет при использовании отечественных УЭЦН специального исполнения, по сравнению с импортными УЭЦН.
Таблица 3.2 – Наработка на отказ при использовании отечественных УЭЦН специального исполнения
| Пласт | Наработка, сут. | Фонд на 1.01.07 | Ожидаемое количество отказов в 2007 г. | Планируемое к применению оборудование в течении 2007 г. |
| Б8 | 556 | 27 | 12 | 19 |
| Ю | 147 | 35 | 54 | 28 |
| Итого: | 62 | 66 | 47 |
Таким образом, по результатам анализ работы механизированного фонда скважин в ОАО «Аганнефтегазгеология» можно сделать вывод о том, что наработка на отказ по заводам - изготовителям в среднем изменяется от 150 до 1500 суток; по пластам в среднем составляет 360-400 суток с учетом использования импортных ЭЦН.
Увеличения наработки на отказ по фонду добывающих скважин можно ожидать за счет оптимизации работы скважин, оборудованных УЭЦН.
Следует обратить особое внимание на работу погружного оборудования УЭЦН в условиях повышенного выноса мехпримесей, АСП-отложений, повышенного газосодержания на приеме ЭЦН.
3.3 Мероприятия по улучшению работы УЭЦН
Поскольку основным способом нефтедобычи на Рославльском месторождении является добыча при помощи УЭЦН, то необходимость проведения мероприятий по улучшению работы скважин и защите УЭЦН от вредного влияния газа, механических примесей, а также от агрессивной продукции скважин является мероприятиями первостепенной важности.
Проводя эти мероприятия, предприятие не только продлевает срок службы оборудования, но и получает дополнительную добычу нефти.

Защита скважинного оборудования от механических примесей и вредного влияния газа осуществляется с помощью установки на приёме насоса газового и песочного якорей, а так же применения износостойкого оборудования, которое позволяет установке надежно работать при довольно высоком выносе механических примесей.
Для борьбы с газом в ОАО «Аганнефтегазгеология», как и во многих других предприятиях, используются газосепараторы различных конструкций. Чаще всего используют газосепараторы фирмы «Алнас».
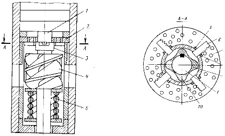
Модуль газосепаратор специальный МГСБТ5, МГСБТ5А (рис. 3.8) предназначен для обеспечения работы погружных центробежных насосов при откачке из нефтяных скважинпластовой жидкости с повышенным газосодержанием и восприятия осевых сил, действующих на валы секций насоса.
Модуль предназначен для комплектации насосов без осевых опор вала в секциях. Может использоваться для комплектации насосов с осевыми опорами вала в секциях и поставляться как самостоятельное изделие.
В модуле обеспечен осевой вход откачиваемой среды.
Вал модуля имеет диаметр 20 мм (в габарите 5) и 22 мм (в габарите 5А). Вал снабжен осевой опорой, выполненной из конструкционной керамики – карбида кремния, и радиальными опорами, выполненными из твердого сплава.
Различные исполнения модуля обеспечивают соединения с секцией насоса типа «болт-тело» по шести или восьми точкам и валами диаметром 17 мм и 20 мм (в габарите 5), и валами диаметром 17 мм, 20 мм и 22 мм (в габарите 5А).
Комплектуется шлицевыми муфтами для соединения с валами насоса и протектора гидрозащиты. Борьба с коррозией подземного оборудования в ОАО «Аганнефтегазгеология» заключается, в основном, в применении оборудования коррозионно-защитного исполнения. В течение прошедшего года формировались фонды скважин, осложненных коррозией. Для этого просматривались дефектовки насосов, акты ревизии НКТ, данные лаборатории по кислотности среды и минерализации. Для борьбы с АСПО на месторождении используют магнитные активаторы, а также подача ингибиторов с помощью специальных дозаторов. Рассмотрим эти мероприятия подробнее.
3.3.1 Измельчающее устройство ЭЦН
Для улучшения работы УЭЦН в условиях повышенного выноса механических примесей в ОАО «Аганнефтегазгеология» предлагается применить следующее приспособление - измельчающее устройство, которое позволит устранить причину отказов ЭЦН из-за попадания в его рабочие органы механических примесей ИМ -НМС (рис.3.9).

Рисунок 3.9 – Общий вид измельчителя мехпримесейЭЦН
Измельчитель механических примесей предназначен для разрушения и измельчения механических примесей, находящихся в откачиваемой жидкости. ИМ устанавливается на нижний опорный подшипник УЭЦН.
Измельчающее устройство монтируется в приемной части насоса и состоит из шнека 4, пружины 5, неподвижного диска 2, кулачка 9, кольца 3,ножей 6. При вращении вала насоса 1 кулачок 9упирается в пружину 10и приводит во вращение кольцо с ножами 6 (рис.3.10). Ножи измельчают сравнительно нетвердые включения, например, кусочки парафина, смолистых отложений, а также волокнистые образования. Размельчение этих примесей происходит за один оборот вала. Если же в потоке жидкости встречается не поддающееся размельчению твердое тело, вращение ножей прекращается из-за упора одного из них в это твердое тело.
Вал насоса вместе с кулачком начинает проворачиваться относительно кольца 3, преодолевая усилие пружины. Кулачок и пружина поочередно приводят ножки в возвратно-поступательное движение в радиальном направлении при помощи направляющих пазов 8. Зубцы ножей при этом работают как пилы. Шнек обеспечивает проталкивание частиц через диск 2, имеющий отверстия 7 диаметром 2 мм.

Рисунок 3.10– Измельчающее устройство ЭЦН
1-вал ЭЦН; 2-диск; 3-кольцо; 4-шнек; 5,10-пружина; 6-ножи; 7-отверстия; 8-направляющие пазы; 9-кулачок.
В 2006 году внедрено пять УЭЦН с измельчителем механических примесей в скважинах со средней наработкой на отказ 72 суток. Из них отказало пять установок по причине снижения изоляции системы кабель-ПЭД со средней наработкой 101,7 суток. При дефектации оборудования выявлены твердые отложения и износ рабочих органов ЭЦН. В работе осталась одна установка с текущей наработкой 246 суток.
3.3.2 Комплект песочного якоря с противополетным оборудованием
Для снижения попадания механических примесей в ЭЦН предлагается комплект противополетного оборудования (ППО) фирмы Тайберсон" (США) и песочного якоря (рис. 3.11).
Песочный якорь 4изготавливается из НКТ диаметрами 76 и 89 мм, имеет фильтр с отверстиями диаметром 3 мм и накопитель 5, длина которого рассчитывается в зависимости от концентрации песка в добываемой продукции и желаемого межочистного периода.
Сборка ППО 'Тайберсон" и песочного якоря устанавливается на расчетной глубине (обычно 30 - 40 м ниже зоны подвески ЭЦН 7) полностью разобщая пласт и ЭЦН. Продукция скважины поступает в якорь 4через отверстия фильтра, песок оседает в накопителе 5, пластовая жидкость через клапан-отсекатель 2 ППО 3поступает в насос.
На восьми скважинах НК «РуссНефть» с низкой наработкой ЭЦН из-за пескопроявления были спущены комплекты песочного якоря с ППО "Тайберсон". В результате наработка на отказ ЭЦН по этим скважинам в среднем увеличилась в 3,7 раза, число текущих ремонтов за год снизилось с 17 до I.
3.3.3 Шарнирное устройство для работы ЭЦН в искривленных скважинах
По актам ремонтов скважин с УЭЦН установлено, что основной причиной остановки скважин в ремонт является падение установок на забой. Анализ причин обрывов ЭЦН в скважинах со сверхнормативным искривлением ствола показывает [2], что наибольшее число аварий обусловлено разрушением НКТ и соединительных элементов УЭЦН. Основной причиной разрушения соединительных элементов является их ослабление при прохождении ЭЦН участков максимального искривления. При этом на часть болтов нагрузка возрастает, и они разрушаются.

В настоящее время разработаны и внедрены устройства для повышения устойчивости работы УЭЦН в скважинах со сверхнормативным искривлением ствола. Устройства обеспечивают снятие изгибающих нагрузок, действующих на установку как при прохождении интервалов с интенсивным набором кривизны при спуске, так и в период ее эксплуатации в зоне с набором кривизны выше допустимого.
Для устранения изгибающего момента, передаваемого от НКТ к ЭЦН, разработано шарнирное устройство, размещаемое в точке подвеса погружного агрегата к НКТ (рис. 3.12).
Шарнирное устройство допускает перекос оси установки относительно оси НКТ до 5°. Особое внимание уделено совершенствованию узла соединения насоса с электродвигателем, как основного элемента, на долю которого приходится наибольшее число разрушений.
Рисунок 2.13- Шарнирное устройство ЭЦН
а – устройство шарнирное; б-шарнирно-кулачковая муфта; 1-погружной электродвигатель; 2-ЭЦН; 3-НКТ
Вместо стандартного соединения насоса с протектором предложена шарнирно-кулачковая муфта, состоящая из карданного и сферического шарниров, кулачковой муфты, объединенных в одну сбоку. повышается устойчивость его работы. Муфта допускает отклонение осей насоса и электродвигателя до 4°, что исключает возникновение изгибающих нагрузок. ЭЦН, оснащенный комплектом из шарнирного устройства и шарнирно-кулачковой муфты, свободно проходит по стволу искривленной скважины, в результате
3.3.4 Внедрение УЭЦН с адресной доставкой реагента посредством дозирования через гибкий трубопровод фирмы «ФЛЭК»
Эффективность предупреждения солеотложений и асфальто-смолисто-парафиновых отложений (АСПО) на нефтепромысловом оборудовании зависит не только от ингибиторов, но и от технологии их применения.
При выборе технологии учитывают геологические особенности разрабатываемого месторождения, состав попутно добываемых вод, причины и условия отложения солей, их состав, длительность межремонтного периода работы оборудования, климатические условия и т.д.
В основе технологии применения ингибиторов соле- и парафиноотложений лежит способ дозирования ингибитора. К выбору способа дозирования предъявляют следующие требования:
1. надежность и универсальность, т.е. возможность применения при различных способах эксплуатации скважин;
2. возможность защиты скважины и оборудования по всей технологической линии;
3. обеспечение стабильного дозирования реагента;
4. простота технологии и обслуживания;
5. минимальная трудоемкость и металлоемкость;
6. возможность применения при любых климатических условиях;
7. экономичность расходования реагента;
8. безопасность способа для обслуживающего персонала и удовлетворения требованиям охраны недр и окружающей среды.
На промыслах применяют следующие способы дозирования ингибитора солеотложений:
· непрерывное дозирование в скважину с использованием поверхностных дозировочных насосов или глубинных дозаторов;
· периодическая подача ингибитора в затрубное пространство скважины;
· периодическое задавливание ингибитора в призабойную зону пласта (залповая подача реагента);
По принципу размещения применяемые типы дозаторов можно разделить на две группы:
1. наземные - подают реагент в затрубное пространство скважины;
2. скважинные - подают реагент непосредственно на прием насоса.
Обычно оценка эффективности их применения производится по признаку доступности для осмотра и обслуживания.
Проведенные исследования с целью оценки технологической эффективности различных способов подачи реагентов в скважину, позволяют считать метод затрубного дозирования малоэффективным. При дозировании в затрубное пространство химреагент, проходя столб газожидкостной смеси, достигающий сотни, а иногда и тысячи метров, срабатывает и к приему насосов или башмаку труб поступает лишенным активности.
С целью достижения эффекта приходится намеренно увеличивать дозу реагента, что при его высокой стоимости отражается на себестоимости добычи нефти и снижает экономичность дозатора. Следует иметь в виду еще один фактор: многие реагенты при снижении температуры окружающей среды увеличивают вязкость, а в зимнее время замерзают. Это затрудняет операции с ними.

В ОАО «Аганнефтегазгеология» НК «Русснефть» разработана программа проведения опытно-промышленных испытаний ингибитора солеотложения «ФЛЭК-ИСО-4». Согласно разработанной программы поставлено 2 наземных блока дозирования химического реагента через импульсную трубку на приём насоса (рис.3.13).
Рисунок 3.13 - Схема подачи ингибитора солеотложений в скважину с ЭЦН при помощи блока дозирования
Результаты применения наземного дозатора ингибитора солеотложения «ФЛЭК-ИСО-4»:
· Куст № 1 скв. 1053 Э25-1700г/c - в работе 97 суток;
· куст 6 скв. 2005 Э125-1700 отработала 40 суток, отказала по причине Rк-0.
Во время работы УЭЦН в дозировочном насосе было обнаружено затвердевание ингибитора. Таким образом, подача ингибитора фактически не осуществлялась. При дефектации ЭЦН на рабочих органах солевых отложений не было. По скважине 1049 куста 310 также выявлено затвердевание ингибитора и засорение гибкого трубопровода.
В настоящее время специалистами фирмы «ФЛЭК» в рамках опытно-промышленных испытаний ведется оптимальный подбор ингибитора солеотложений, применимого для данной технологии обработок глубинного насосного оборудования.
3.4 Вредное влияние АСПО на работу подземного оборудования добывающих скважин
Опыт механизированной эксплуатации скважин на нефтяных месторождениях показывает, что в течение некоторого времени, исчисляемого от 1 до 4 месяцев, на поверхности промыслового оборудования образуются отложения парафина и асфальто-смолистых веществ.
Поздняя стадия разработки, на которой находится в настоящее время большинство нефтяных и газовых месторождений, в силу ряда известных причин способствует росту доли осложнений, связанных с эмульсеобразованием, АСПО и отложениями неорганических солей, имеющих место по всей технологической цепочке добычи, транспорта и подготовки нефти и газа. Подъем скважинной жидкости, представляющей собой водогазонефтяную эмульсию, от продуктивного пласта к устью, связан с изменением давления, температуры, скорости движения потока.
Качественная оценка процессов, происходящих в скважине, свидетельствует о главенствующей роли скорости движения потока. При малых скоростях происходит образование АСПО и солеотложений, при высоких скоростях – образование эмульсий и повышение вязкости продукции.
Причины и условия образования АСПО
Известны две стадии образования и роста АСПО:
1. первой является зарождение центров кристаллизации и рост кристаллов парафина непосредственно на контактирующей с нефтью поверхности;
2. на второй стадии происходит осаждение на покрытую парафином поверхность более крупных кристаллов.
При насосном способе эксплуатации давление на приеме насоса может быть меньше, чем давление насыщения нефти газом. Это может привести к выпадению парафина в приемной части насоса и на стенках эксплуатационной колонны. В колонне НКТ, выше насоса, можно выделить две зоны: - непосредственно над насосом, где давление резко возрастает и становится больше давление насыщения. Вероятность АСПО в этой зоне минимальная; - зона снижения давления до давления насыщения и ниже, где начинается интенсивное выделение парафина.
Как показывает практика, основными объектами для образования отложения парафина являются скважинные насосы, НКТ, выкидные линии от скважин, резервуары промысловых сборных пунктов. Наиболее интенсивно АСПО откладываются на внутренней поверхности НКТ.
Промысловые исследования показывают, что характер распределения парафиновых отложений в трубах различного диаметра примерно одинаков. Толщина отложений постепенно увеличивается от места начала ихобразования на глубине 500-900 м и достигает максимума на глубине 50 – 200 м от устья скважины, затем уменьшается до толщины 1-2 мм в области устья.
На образование АСПО оказывают существенное влияние:
· снижение давления на забое скважины и связанное с этим нарушение гидродинамического равновесия ГЖС;
· интенсивное газовыделение;
· уменьшение температуры в пласте и стволе скважины;
· изменение скорости движения ГЖС и отдельных её компонентов;
· состав углеводородов в каждой фазе смеси;
· соотношение объема фаз;
· состояние поверхности труб.
Интенсивность образования АСПО зависит от преобладания одного или нескольких факторов, которые могут изменяться во времени и глубине, поэтому количество и характер отложений не являются постоянными.
Влияние АСПО на работу подземного оборудования
Под парафиновыми соединениями, выделяющимися из нефти в добывающих скважинах в процессе их работы, понимают сложную углеводородную физико –химическую смесь, в состав которой входят различные вещества, такие как парафины, асфальтосмолистые соединения, силикагелевые смолы, масла, вода. Механические примеси.
Содержание отдельных компонентов в парафинистой массе различно и зависит от условий формирования нефтяной залежи и характеристики нефти.
Наличие парафина независимо от его количества в нефти ставит перед производственниками много технологических и технических задач, связанных с ликвидацией осложнений, вызываемых парфиноотложениями.
В процессе работы скважины возникают определённые условия, при которых интенсивность парафиноотложений возрастает:
1. снижение давления в области забоя и связанное с этим нарушение гидродинамического равновесия газожидкостной смеси (ГЖС);
2. интенсивное газовыделение;
3. уменьшение температуры в пласте и стволе скважины;
4. изменение скорости движения ГЖС;
5. состав и соотношение углеводородов в каждой фазе ГЖС.
Поскольку для нормального процесса добычи нефти проблему представляет не сам факт выпадения парафина из нефти, а его накопление на подземном оборудовании и НКТ, то и интерес вызывают условия образования АСПО в скважине. Некоторыми такими условиями являются:
· адсорбционные процессы на границе металл- парафин;
· наличие на поверхностях отложений продуктов разрушения пласта, мехпримесей, продуктов коррозии металлов и т.д.;
· шероховатость поверхности подземного оборудования (в особенности НКТ);
· скорость движения ГЖС;
· структура потока жидкости.
Практика добычи парафинистой нефти показывает, что основными местами отложений парафина являются:
- скважинные насосы;
- НКТ;
- выкидные линии отскважин;
- резервуары промысловых сборных пунктов.
Толщина отложений увеличивается постепенно от места начала их образования на глубине 500-900 м и достигает максимальной толщины на глубине 50-200м от устья, затем уменьшается до 1-2мм в области устья.
3.5 Технология применения греющего кабеля УЭЦН для борьбы с АСПО
Одна из проблем, серьезно затрудняющих эксплуатацию многих нефтяных месторождений Западной Сибири - образование гидрато-парафиновых пробок (ГПП) в работающих скважинах. Несмотря на интенсивные профилактические меры (скребкование, горячие промывки, использование ингибиторов парафиноотложений) полностью исключить образование ГПП, не удается, что приводит к потерям в добыче нефти, происходящим из-за остановок скважин для проведения восстановительных мероприятий. Для возвращения скважин в рабочее состояние необходимо принимать серьезные меры по ликвидации гидрато-парафиновой пробки большой протяженности (50-300м), на что тратятся значительные силы и средства. Для радикального решения проблемы требуется разработка такой технологии, при которой вовсе отсутствовали бы условия для образования ГПП в скважине, необходимо создание методов, которые были бы направлены не на борьбу с последствиями образования гидрато-парафиновых пробок, а на предотвращение условий их образования.
3.5.1 Технология применения греющего кабеля
Одним из главных факторов способствующих выделению парафина из нефти и образования гидратов является температура. Повышение температуры нефтеводогазовой смеси в НКТ, позволяет избежатьобразования гидратно-парафиновых пробок. Принцип работы греющего кабеля заключается в нагреве внутреннего пространства насосно-компрессорных труб с помощью специального изолированного нагревательного кабеля, помещенного в интервал интенсивного гидрато-парафиноотложения. Применение того или иного греющего кабеля определяется способом добычи нефти. Для скважин, оснащенных штанговым глубинным насосом (ШГН), нагреть скважинную жидкость можно с помощью нагревательного кабеля, проложенного только снаружи НКТ (рис.3.14,а), так как внутри НКТ находится штанга. Для скважин, оснащенных электроцентробежным насосом (ЭЦН), а также фонтанных и газлифтных нагреть скважинную жидкость можно с помощью нагревательного кабеля, опускаемого в НКТ (рис.3.14,б) через лубрикатор.

Рисунок 2.15 -Расположение нагревательных кабелей в скважине:
а) скважина с ШГН, б) скважины с ЭЦН, фонтанные и газлифтные: 1 - насосно-компрессорная труба; 2 - штанга насоса; 3 - кабель; 4 - обсадная колонна.
С помощью пакета прикладных программ ANSYS моделировалось температурное поле в поперечном сечении скважины, оно вычислялось из условия, что дебит равен нулю (рис.3.15).
Из рисунка видно, что при мощности кабеля 100 Вт/м температура нефти в НКТ составит 47°С, в то время как при нагреве самонесущим кабелем, расположенным в НКТ, 43°С при мощности 24 Вт/м.
Следовательно, нагрев кабелем, расположенным внутри НКТ, требует в несколько раз меньшей мощности, чем нагрев кабелем, расположенным снаружи НКТ. К числу методов по борьбе с гидратно-парафиновыми пробками, применяемым на предприятии, относятся: спуск-подъем скребков, горячая обработка скважин нефтью. Данные методы требуют значительных материальных затрат и затрат трудовых ресурсов, а также не всегда оказываются эффективными, что приводит к длительным простоям скважин.
В качестве профилактических мер с 2005 года ОАО «Аганнефтегазгеология» приступило к использованию греющего кабеля, что позволило получить ощутимый экономический эффект.
На данный момент греющим кабелем оборудованы 7 скважин, являющиеся самыми проблемными в плане образования гидрато-парафиновых пробок.
3.5.2 Техника и оборудование для осуществления прогрева скважин греющим кабелем
Технология реализуется с помощью установки по прогреву скважин (УПС). УПС позволяет в автоматическом режиме управлять прогревом и обеспечивать защиту нагревательного элемента.
Комплект УПС состоит из:
1. Нагревательного элемента.
2. Станции управления прогревом.
3. Силового трансформатора.
Нагревательный элемент представляет собой специальный термобаростойкий, сложно изготовленный кабель, устойчивый к воздействию агрессивных сред (рис.3.16). Рабочая часть нагревательного элемента имеет изоляционную оболочку, изготовленную из высокотемпературных материалов (фторопласт, сополимер пропилена), на которую затем накладывается броня из стальной оцинкованной проволоки в два повива. На верхний повив накладывается защитная оболочка из синтетического материала.

Рисунок 3.16 - Греющий кабель КГн12х2,5-55-90-Оа-25,8
1-центральная жила; 2-оболочка датчиков; 3-контрольные жилы; 4-изоляция контрольных жил; 5,10-теплопроводный заполнитель; 6,11-обмотка; 7,12,13-промежуточная оболочка; 8-токопроводящие жилы нагревательных элементов; 9-разделяющие жгуты; 14,15 -1-й и 2-й повив брони.
Нагревательный элемент выполняется с коаксиальными обмотками таким образом, что на центральную нагревательную жилу приходится 20% подаваемой электрической мощности, оставшиеся 80% электрической мощности выделяются на коаксиальный проводник, расположенный ближе к поверхности нагревательного элемента. С целью контроля за работой нагревательного элемента в его единую технологическую цепь монтируются датчики температуры.
Спуск нагревательного элемента в скважину проводится с помощью специализированных геофизических подъемников, снабженных необходимым оборудованием.
После спуска нагревательного элемента в скважину он закрепляется и герметизируется с помощью специального крепления и сальникового устройства (рис.3.17).
Станция управления прогревом предназначена для контроля и управления процессом прогрева жидкости в объеме лифтовых труб эксплуатационных скважин.
Станция управления прогревом включает в себя: входной рубильник, входной автоматический выключатель, устройство защитного отключения по току утечки, трехфазный тиристорный управляемый выпрямитель для бесконтактного включения/выключения, терморегуляторы для регулирования и контроля рабочего процесса, приборы измерения тока и напряжения, приборы измерения и управления температурой нагревательного элемента, индикаторы неисправностей.
Станция управления прогревом позволяет:
- осуществлять и прекращать подачу электрического тока на нагревательный элемент;
- контролировать ток, протекающий через нагревательный элемент;
- контролировать напряжение, приложенное к нагревательному элементу;
- регулировать температуру нагревательного элемента в скважине;
-прекращать подачу электрического тока или ограничивать ее при отключении станции управления работой УЭЦН;
- измерять температуру добываемой жидкости в термокармане, врезанном в нефтесборный коллектор;
- измерять и регулировать температуру внутри герметичного шкафа станции управления прогревом;
- автоматически отключать силовой пускатель (снимать напряжение с силового трансформатора и, соответственно, нагревательного элемента) от промышленной сети при наличии тока утечки, а также управлять другими устройствами с помощью контакта промежуточного реле.
Вся аппаратура станции управления прогревом смонтирована в герметичном шкафу. Размер шкафа 1800/1200/400 мм (рис.3.18).
Силовой трансформатор. Питание нагревательного элемента производится в зависимости от скважинных условий: либо непосредственно от промышленной сети напряжением 380В, либо при необходимости увеличения мощности прогрева через силовой трансформатор.
Во время работы установки по прогреву, станции управления накапливает и систематизирует данные температур, токов и напряжений в функции времени. Временные периоды снятия отчетов указанных параметров могут устанавливаться в произвольной форме. В дальнейшем эти параметры могут быть представлены как в графической, так и в табличной форме.
На рис.3.19 представлены графики изменения температуры окружающей среды и температуры жидкости в термокармане во времени.

Рисунок 3.19 - Изменение температуры воздуха и температуры в термокармане во времени
Из представленного графика видно, что продолжительность выхода на температурный режим после включения кабеля составляет примерно 12 часов.
Колебания температуры в термокармане связаны с тем, что не удается полностью изолировать термодатчик (рис.3.20) от влияния температуры окружающей среды, поэтому он частично отражает и ее. При этом температура протекающей жидкости является постоянной для заданного температурного режима. Увеличение температуры в период с 14 октября связанно с тем, что был изменен температурный режим, и температуру увеличили до 17о С, путем увеличения токовых нагрузок.
На рис.3.21 представлена схема подключения греющего кабеля к скважине, оборудованной УЭЦН.
Рисунок 3.21-Схема подключения греющего кабеля
3.5.3 Опыт применения греющего кабеля в ОАО «Аганнефтегазгеология»
В ОАО «Аганнефтегазгеология» использование технологии прогрева НКТ с помощью греющего кабеля начато с 2005 года. В настоящее время данным методом защищены от образования ГПП 7 скважин.
Практика добычи нефти с помощью УЭЦН показывает, что интенсивное образование ГПП происходит лишь в начальный период (по некоторым скважинам) работы после смены УЭЦН. После 20-30 суток работы скважины ее режим стабилизируется и в дальнейшем появляется возможность бороться с образованием гидратно-парафиновых пробок обычным способом – скребкованием. Простота технологии спуска-подъема греющего кабеля позволяет оперативно извлекать его из скважины с установившемся режимом работы и спускать в скважины, где это наиболее необходимо в данный момент.
В условиях эксплуатации УЭЦН на скважинах, где приток жидкости из пласта ниже производительности УЭЦН и высокий газовый фактор, применение греющего кабеля позволяет путем установки штуцера (на устье) малого диаметра (2-3 мм) выводить скважины на стабильный режим работы, что в конечном итоге приводит к увеличению межремонтного периода.
Проведенный анализ работы скважин со спущенным греющим кабелем выявил следующие положительные результаты:
1. постоянную чистоту внутреннего пространства НКТ, фонтанной арматуры и прилегающих к ним ближних трубопроводов;
2. повышение работоспособности и увеличение срока службы УЭЦН, в том числе за счет снижения вязкости жидкости, подаваемой на поверхность;
3. непрерывность работы скважины и трубопроводов – полностью ликвидирует текущие простои скважины, связанные с образованием ГПП, намного увеличивает время между ремонтами скважин, снижение объема ремонтных работ, уменьшение количества ремонтных бригад и спецтехники;
4. полностью исключает применение других способов удаления гидратно-парафиновых отложений (СПО скребков, горячая обработка нефтью с помощью АДП и др.);
5. возможность регулировки мощности установки - выбор оптимального температурного и энергосберегающего режима работы скважины или трубопровода;
6. экологическую чистоту вокруг скважины;
7. максимальное упрощение управления работой скважины, которое сводится к приборному контролю за техническими и электрическими параметрами и компьютерной обработке этих данных;
8. увеличение среднего дебита скважины, улучшение работы пласта за счет равномерного режима добычи, уменьшение потерь нефти, повышение коэффициента эксплуатации скважин;
9. непрерывную работу скважин, находящихся в труднодоступных местах, с интервалами вечной мерзлоты, с высоковязкой и битумной нефтью.
4 РАСЧЕТНЫЙ РАЗДЕЛ
4.1 Расчет и подбор оборудования УЭЦН для скважины №1063, куст №1, пласт БВ8 , Рославльского месторождения
Таблица 4.1 – Исходные данные
| Показатели | Числовые значения |
| Глубина скважины, Н, м | 1750 |
| Забойное давление, Рзаб , МПа | 14,32 |
| Пластовое давление, Рпл , МПа | 19,5 |
| Плотность воды, ρв , кг/м3 | 1008 |
| Плотность нефти, ρн , кг/м3 | 820 |
| Обводненность, nв , д. ед. | 0,95 |
| Коэффициент продуктивности, К, т/сут МПа | 3,087 |
| Газовый фактор, Г, м3 /т | 85 |
| Коэффициент подачи, αп | 0,75 |
1. Определяем плотность нефтяной эмульсии скважины ρсм , кг/м3 ρсм = ρв · nв + ρн (1- nв ) (4.2)
| где | ρсм | - | плотность нефтяной эмульсии, кг/м3 ; |
| ρв | - | плотность воды, кг/м3 ; | |
| ρн | - | плотность нефти, кг/м3 ; | |
| n в | - | обводненность, д. ед.; |
ρсм =1008·0,45+820(1-0,95)=998,6 кг/м3
2. Определяем глубину спуска насоса в скважину Lн , м
Lн = Рзаб / (ρсм + g) (4.3)
| где | Lн | - | глубина спуска насоса, м; |
| Рзаб | - | забойное давление, МПа; | |
| ρсм | - | пластовое давление, МПа; | |
| g | - | коэффициент свободного падения; |
Lн =14,32·10-6 /(998,6·9,81)=1461,8 м
3. Определяем депрессию на пласт ∆Р, МПа
∆Р = Рпл - Рзаб (4.4)
| где | ∆Р | - | депрессия на пласт, МПа; |
| Рзаб | - | забойное давление, МПа; | |
| Рпл | - | пластовое давление, МПа; |
∆Р=19,5-14,32=5,18 МПа
4. Определяем фактический весовой дебит скважины Qф.в., т/сут
Qф.в. = К ∆Р (4.5)
| где | Q ф.в. | - | фактический весовой дебит, т/сут; |
| К | - | коэффициент продуктивности, т/сут МПа; | |
| ∆Р | - | депрессия на пласт, МПа; |
Qф.в. =3,087·54,18=15,99 т/сут
5. Определяем фактический объёмный дебит скважины Qф.о., м3 /сут
Qф.о. = Qф.в. / ρсм (4.6)
| где | Q ф.о. | - | фактический объёмный дебит, м3 /сут; |
| Q ф.в | - | фактический весовой дебит, т/сут; | |
| ρсм | - | плотность нефтяной эмульсии, кг/м3 ; |
Qф.о. =15,99/0,9986=16 м3 /сут
6. Определяем теоретический объёмный дебит скважины Qт.о., м3 /сут
Qт.о. = Qф.о. /αп (4.7)
| где | Qт.о. | - | теоретический объёмный дебит, м3 /сут; |
| Qф.о. | - | фактический объёмный дебит, м3 /сут; | |
| αп | - | коэффициент подачи; |
Qт.о. =16/0,75=21,3 м3 /сут
7. Выбираем по таблицам Бухаленко Е.И., в зависимости от величины глубины спуска и объемного теоретического дебита /2/:
тип - УЭЦН
идеальная подача - 35 м3 /сут;
наибольшая высота подъема жидкости - 1200 м;
наибольшая допускаемая нагрузка на устьевой шток - 80 (8) кн (тс);
наибольший допускаемый крутящий момент на ведомом валу редуктора – 40 (4000) Кн м (кгс. м);
условный диаметр НКТ - 60 мм;
редуктор - Ц2-Ш-860;
9. Определяем полезную мощность электродвигателя по формуле Ефремова:
N = 401·10-7 ·π·D2 плГОСТ ·S· n· Lн [(1-ηн ·ηск /ηн ·ηск )+ αп ] ·К (4.8)
| где | N | - | полезная мощность электродвигателя, кВт; |
| D плГОСТ | - | стандартный диаметр плунжера, м; | |
| S | - | наибольшая длина хода плунжера, м; | |
| η н | - | 0,9 – КПД насоса; | |
| η ск | - | 0,8 – КПД станка-качалки; | |
| К | - | 1,2– коэффициент, учитывающий степень уравновешенности СК; | |
| L н | - | глубина спуска насоса, м; | |
| αп | - | 0,75 – коэффициент подачи насоса, д.ед.; | |
| n | - | необходимое число качаний, мин-1 ; |
N=401·10-7 ·3,14·322 ·3·6·998,6·1461,8· [(1-0,9·0,8 /0,9·0,8)+0,75] ·1,2= =4,5 кВт
Вывод: для оптимального режима работы системы «скважина-насос» аналитическим методом выбрали компоновку УЭЦН, соответствующую условиям откачки.
5. ТЕХНИКО-ЭКОНОМИЧЕСКИЕ ПОКАЗАТЕЛИ
5.1. Анализ эффективности проведения оптимизации скважин по Рославльскому месторождению.
Насосную эксплуатацию нефтяных скважин можно применять в самых различных условиях – при дебитах скважин от нескольких тонн, до сотен тонн в сутки. При подъёме нефти из скважин, широко применяют электроцентробежные насосы. Отечественная промышленность выпускает УЭЦН в широком ассортименте, что позволяет эксплуатировать скважины в самых разнообразных природных условиях, а также при суровом климате Западной Сибири. В зависимости от условий эксплуатации (дебит, расстояние до динамического уровня, свойства жидкости, наличие или отсутствие песка и газа) выпускаются различные насосы. В данной части моего диплома, рассматривается эффективность проведения оптимизации режимов работы, т.е. смена УЭЦН с меньшего типоразмера на больший. Оптимизация УЭЦН не повлияет на наработку насосов на отказ, но сможет существенно повысить дебиты скважин по жидкости, а соответственно по нефти.
Ниже приведён расчётный анализ годовых выгод и затрат на проведения оптимизации 7 скважин и сравнительный анализ с предыдущим режимом работы.
Скважины для проведения оптимизации.
1.скважина №560 (Э-80) Qж- 85м3 перевод на Э-125 Qж- 130м3
2.скважина №1053 (Э-50) Qж- 55м3 перевод на Э-80 Qж- 86м3
3.скважина №517 (Э-80) Qж- 88м3 перевод на Э-160 Qж- 164м3
4.скважина №552 (Э-125) Qж- 135м3 перевод на Э-160 Qж- 155м3
5.скважина №536 (Э-50) Qж- 73м3 перевод на Э-80 Qж- 95м3
6.скважина №541 (Э-25) Qж- 35м3 перевод на Э-50 Qж- 60м3
7.скважина №612 (Э-125) Qж- 138м3 перевод на Э-160 Qж- 170м3
Суммарный прирост по нефти составил 243т/сут
Таблица № 5.1
Исходные данные
| № п/п | Показатели | Единицы измерения | Числовое значение |
| 1 | Фонд оптимизированных скважин | ед. | 7 |
| 2 | Среднесуточный прирост дебита (по всем скважине) | т/сут | 243 |
| 3 | Наработка на отказ до оптимизации | сут | 135,0 |
| 4 | Наработка на отказ после проведения оптимизации | сут | 135,0 |
| 5 | Себестоимость добычи нефти | руб/т | 5000 |
| 6 | Доля условно переменных затрат в себестоимости нефти | % | 51,2 |
| 7 | Ставка дисконта | % | 10 |
| 8 | Расчётный период | лет | 3 |
| 9 | Продолжительность одного ПРС | час | 48 |
| 10 | Стоимость одного часа ПРС | руб | 3700 |
| 11 | Цена одной тонны нефти | руб | 7200 |
| 12 | Среднесписочная численность ППП | чел | 980 |
| 13 | Среднегодовая стоимость основных производственных фондов | млн. руб. | 4487 |
| 14 | Годовая добыча нефти в 2007году | тыс. т | 1389,6 |
5.2 Анализ влияния мероприятия на технико-экономические показатели
5.2.1 Расчет дополнительной добычи нефти (газа) и дополнительной выручки от реализации
Проведение оптимизации приведёт к увеличению добычи нефти, которую можно определить по формуле:
DQ( q ) = Dq * T *Кэ * N, (5.1)
где Dq – прирост среднесуточного дебита, т/сут;
Т – время работы скважины в течение года, сут;
N – количество оптимизированных скважин, ед.
Кэ – коэф-т эксплуатации скважин, ед.
DQ2007 = 34,7 * 365*0,947 * 7 = 83959,6 т.
Увеличение добычи нефти приведёт к росту производительности труда, которая определяется по следующей формуле:
DПт = DQ * Цн / Чп, (5.2)
где DПт – повышение производительности труда, руб/чел;
DQ – прирост добычи, тн;
Цн – цена одной тонны нефти, руб;
Чп – среднесписочная численность ППП, чел;
DПт = 83959,6 * 7200/980 = 616,8 тыс.руб/чел.
Также ведёт к увеличению фондоотдачи:
DФо = DQ * Ц/Сопф, (5.3)
где Сопф – среднегодовая стоимость основных производственных фондов (руб);
DФо – прирост фондоотдачи.
DФо = 83959,6 * 7200/4487000 = 134,72 руб/тыс.руб.
Снижение себестоимости добычи нефти (DС) происходит за счёт изменения условно-постоянных затрат (Зпос ) на единицу продукции и определиться по формуле (6):
DС = Зпос (1/Q – 1/(Q + DQ)), (5.4)
где Зпос – условно постоянные затраты на добычу нефти по ННП, тыс.руб;
Q – добыча нефти до мероприятия по ННП, тыс.т.
DС = 1545,1 * 0,48 *(1/1389,6-1/(1389,6+83,9)) = 2,9 руб/т.
Увеличение объёма добычи нефти ведёт к увеличению абсолютной величины прибыли от реализации:
DПрреал = DQреал * (Ц - (с/с -DС)), (5.5)
где DПрреал – дополнительная прибыль от реализации нефти, руб;
DQреал – дополнительно реализованная нефть, т;
Ц – цена реализации нефти (руб);
с/с – себестоимость добычи нефти до проведения мероприятия, руб/т;
DС – снижение себестоимости нефти.
DПрреал = 83,9 * (7200 – 5000 + 2,9) = 184823,3 тыс.руб.
Так как увеличивается прибыль от реализации продукции, то соответственно увеличивается и чистая прибыль предприятия:
DПрчист = DПрреал – Нпр, (5.6)
где Нпр – величина налога на прибыль, руб;
DПрчист = 184823,3 – 184823,3 * 0,26 = 136769,2 тыс.руб.
И так, дополнительная чистая прибыль предприятия за счёт снижения постоянных затрат без учёта затрат на мероприятие на 1 тонну нефти составила 136769,2 тыс.руб.
5.3 Расчёт показателей экономической эффективности мероприятия
5.3.1 Расчет капитальных и текущих затрат
Данное мероприятие связано с дополнительной добычей (DQ).
Доля условно-переменных затрат составляет 51,2%.
Объём дополнительно добытой нефти – 83959,6 тонн.
Цена за 1 тонну нефти равна 7200 руб.
Капитальные затраты на проведение оптимизации отсутствуют.
Количество оптимизированных скважин 2007 году 7 штук.
Проведём расчёт ПДН и ЧТС на ближайшие три года.
Прирост выручки от реализации за год определим по формуле:
DВ (Q) = DQ * Цн, (5.7)
где DQ – объём дополнительной добычи нефти, тыс.руб;
Цн – цена 1 тонны нефти, тыс.руб.
DВ (Q) = 83,9 * 7200 = 604080 тыс.руб.
Текущие затраты (на дополнительную добычу) определяются как сумма затрат на мероприятие и затрат условно-переменных по формуле:
Иt = Идоп + Имер2 , (5.8)
где Идоп – затраты условно-переменные на дополнительную добычу нефти,руб;
Имер – затраты на проведение мероприятия.
DИдоп = DQ * с/с * дуп / 100, (5.9)
где с/с – себестоимость нефти, руб/тонну;
дуп – удельный вес условно-переменных затрат, %.
DИдоп = 83,9 * 5000 * 0,51 = 213945 тыс.руб.
Затраты на проведение мероприятия определим по формуле:
Имер2 = С1час ПРС * ТПРС * Nскв , (5.10)
где С1ГРП – стоимость одного ГРП, руб;
Nскв – количество скважин, ед.
Имер2 = 3,7 * 48 * 365/145 * 7 = 3129,43 тыс.руб.
Тогда общие затраты, связанные с дополнительной добычей нефти составят:
И1 = 213945 + 3129,43 = 217074,4 тыс.руб;
Определяем величину налога на прибыль (Нпр).
Для расчёта налога на прибыль, рассчитаем прибыль налогооблагаемую по формуле:
DПнал.обл. = DВ - DИ (5.11)
где DВ – прирост выручки от реализации, тыс.руб.;
DИ – текущие затраты, тыс.руб.
DПнал.обл1 = 604080 – 217074,4 = 387005,6 тыс.руб.;
DПнал.обл2 =387005,6 тыс.руб.;
DПнал.обл3 = 387005,6 тыс.руб.
Нпр = DПнал.обл * Nпр / 100, (5.12)
где Нпр – ставка налога на прибыль, % (принять 26%);
DНпр1 = 387005,6 * 26 / 100 = 100621,5 тыс.руб.;
DНпр2 = 100621,5 тыс.руб.;
DНпр3 = 100621,5 тыс.руб.
5.3.2 Расчет потока денежной наличности и чистой текущей стоимости
Прирост годовых денежных потоков (DДПt ) рассчитывается по формуле:
DДПt = DВt - DИt - Нt (5.13)
DДП1 = 604080 – 217074,4 – 100621,5 = 286384,1 тыс.руб.;
DДП2 = 286384,1 тыс.руб.;
DДП3 = 286384,1 тыс.руб.
Поток денежной наличности определяется как разница между приростом годовых денежных потоков и капитальными вложениями:
ПДНt = DДПt (5.14)
ПДН1 = 286384,1 тыс.руб.;
ПДН2 = 286384,1 тыс.руб.;
ПДН3 = 286384,1 тыс.руб.
Накопленный поток денежной наличности определим по формуле:
НПДН = å ПДН, (5.15)
НПДН1 = 286384,1 тыс.руб.;
НПДН2 = 286384,1 + 286384,1 = 572768,2 тыс.руб.;
НПДН3 = 286384,1 + 572768,2 = 859152,3 тыс.руб.;
Коэффициент дисконтирования – по формуле:
at = (1 + Енп)- t , (5.16)
a1 = (1 + 0,1)-1 = 0,9091;
a2 = (1 + 0,1)-2 = 0,8264;
a3 = (1 + 0,1)-3 = 0,7513.
Дисконтированный поток денежной наличности – по формуле:
ДПДНt = ДПt * a, (5.17)
ДПДН1 = 286384,1* 0,9091 = 260351,7 тыс.руб.;
ДПДН2 = 286384,1* 0,8264 = 236667,8 тыс.руб.;
ДПДН3 = 286384,1* 0,7513 = 215160,4 тыс.руб.
Чистая текущая стоимость – по формуле:
ЧТСt = å ДПДНt , (5.18)
ЧТС1 =260351,7 тыс.руб.;
ЧТС2 = 260351,7 + 236667,8 = 497019,5 тыс.руб.;
ЧТС3 =215160,4 + 497019,5 = 712179,9 тыс.руб.;
Результаты расчёта сведены в таблицу № 5.2.
Таблица 5.2.
Расчёт экономических показателей
| Показатели | Ед.изм. | 2007 | 2008 | 2009 |
| Капитальные вложения | тыс.руб | - | - | - |
| Прирост добычи нефти | тыс.тонн | 83959,6 | 83959,6 | 83959,6 |
| Прирост выручки от реализации | тыс.руб | 604080 | 604080 | 604080 |
| Текущие затраты | тыс.руб | 217074,4 | 217074,4 | 217074,4 |
| Прирост прибыли | тыс.руб | 387005,6 | 387005,6 | 387005,6 |
Прирост суммы Налоговых выплат |
тыс.руб | 100621,5 | 100621,5 | 100621,5 |
| Денежный поток | тыс.руб | 286384,1 | 286384,1 | 286384,1 |
| Поток денежной наличности | тыс.руб | 286384,1 | 286384,1 | 286384,1 |
| Накопленный ПДН | тыс.руб | 286384,1 | 572768,2 | 859152,3 |
Коэффициент дисконтирования (Енп=0,1) |
Д.ед | 0,9091 | 0,8264 | 0,7513 |
Дисконтированный ПДН |
тыс.руб | 260351,7 | 236667,8 | 215160,4 |
Чистая текущая стоимость |
тыс.руб | 260351,7 | 497019,5 | 712179,9 |
5.3.3 Анализ чувствительности проекта к возможным изменениям.
На последнем этапе экономического обоснования предлагаемого мероприятия проводится анализ чувствительности проекта к риску. Для этого выбирается интервал наиболее вероятного диапазона вариации каждого фактора, например:
- годовая добыча (-30%; +10%);
- цены на нефть (-10%; +20%);
- текущие затраты (-25%; +15%);
- налоги (-15%; +25%).
Для каждого фактора определяется ЧТС: ЧТС(Q); ЧТС(Ц); ЧТС(Т); ЧТС(Н).
Расчёт экономических показателей при уменьшении объёма добычи нефти на 30%, тыс.руб.
Таблица 5.3.
| Показатели | Обознач | 2007 | 2008 | 2009 |
| Прирост добычи нефти,т | Qt | 58771,72 | 58771,72 | 58771,72 |
| Прирост выручки от реализации | Вt | 422856 | 422856 | 422856 |
| Текущие затраты | Иt | 217074,4 | 217074,4 | 217074,4 |
| Прирост прибыли | ПРt | 205781,6 | 205781,6 | 205781,6 |
| Налог на прибыль и имущество | Нпр | 53503,2 | 53503,2 | 53503,2 |
| Капитальные затраты | Кt | - | - | - |
| Поток денежной наличности | ПДНt | 152278,4 | 152278,4 | 152278,4 |
| Накопленный ПДН | НПДНt | 152278,4 | 304556,8 | 456835,2 |
| Коэффициент дисконтирования | a | 0,9091 | 0,8264 | 0,7513 |
| Дисконтированный ПДН | ДПДНt | 138436,3 | 125842,9 | 114406,8 |
| Чистая текущая стоимость | ЧТСt | 138436,3 | 264279,2 | 378686 |
Расчёт экономических показателей при увеличении объёма добычи нефти на 10%, тыс.руб.
Таблица 5.4.
| Показатели | Обозначения | 2007 | 2008 | 2009 |
| Прирост добычи нефти,т | Qt | 92355,6 | 92355,6 | 92355,6 |
| Прирост выручки от реализации | Вt | 664488 | 664488 | 664488 |
| Текущие затраты | Иt | 217074,4 | 217074,4 | 217074,4 |
| Прирост прибыли | ПРt | 447413,6 | 447413,6 | 447413,6 |
| Налог на прибыль и имущество | Нпр | 116327,5 | 116327,5 | 116327,5 |
| Капитальные затраты | Кt | - | - | - |
| Поток денежной наличности | ПДНt | 331086,1 | 331086,1 | 331086,1 |
| Накопленный ПДН | НПДНt | 331086,1 | 662172,2 | 993258,3 |
Коэффициент дисконтирования |
a | 0,9091 | 0,8264 | 0,7513 |
| Дисконтированный ПДН | ДПДНt | 300990,4 | 273609,6 | 248745 |
| Чистая текущая стоимость | ЧТСt | 300990,4 | 574600 | 823345 |
Расчёт экономических показателей при уменьшении цены нефти на 10%, тыс.руб.
Таблица 5.5.
| Показатели | Обозначения | 2007 | 2008 | 2009 |
| Прирост добычи нефти,т | Qt | 83959,6 | 83959,6 | 83959,6 |
| Прирост выручки от реализации | Вt | 543672 | 543672 | 543672 |
| Текущие затраты | Иt | 217074,4 | 217074,4 | 217074,4 |
| Прирост прибыли | ПРt | 326597,6 | 326597,6 | 326597,6 |
| Налог на прибыль и имущество | Нпр | 84915,4 | 84915,4 | 84915,4 |
| Капитальные затраты | Кt | - | - | - |
| Поток денежной наличности | ПДНt | 241682,2 | 241682,2 | 241682,2 |
| Накопленный ПДН | НПДНt | 241682,2 | 483364,4 | 725046,6 |
Коэффициент дисконтирования |
a | 0,9091 | 0,8264 | 0,7513 |
| Дисконтированный ПДН | ДПДНt | 219713,3 | 199726,2 | 181575,8 |
| Чистая текущая стоимость | ЧТСt | 219713,3 | 419439,5 | 601015,3 |
Расчёт экономических показателей при увеличении цены нефти на 20%, тыс.руб.
Таблица 5.6.
| Показатели | Обозначения | 2007 | 2008 | 2009 |
| Прирост добычи нефти,т | Qt | 83959,6 | 83959,6 | 83959,6 |
| Прирост выручки от реализации | Вt | 724896 | 724896 | 724896 |
| Текущие затраты | Иt | 217074,4 | 217074,4 | 217074,4 |
| Прирост прибыли | ПРt | 507794,6 | 507794,6 | 507794,6 |
| Налог на прибыль и имущество | Нпр | 132026,6 | 132026,6 | 132026,6 |
| Капитальные затраты | Кt | - | - | - |
| Поток денежной наличности | ПДНt | 375795 | 375795 | 375795 |
| Накопленный ПДН | НПДНt | 375795 | 751590 | 1127385 |
| Коэффициент дисконтирования | a | 0,9091 | 0,8264 | 0,7513 |
| Дисконтированный ПДН | ДПДНt | 341635,2 | 310557 | 282334,8 |
| Чистая текущая стоимость | ЧТСt | 341635,2 | 652192,2 | 993827,4 |
Расчёт экономических показателей при уменьшении затрат на 25%, тыс.руб.
Таблица 5.7.
| Показатели | Обозначения | 2007 | 2008 | 2009 |
| Прирост добычи нефти,т | Qt | 83959,60 | 83959,60 | 83959,60 |
| Прирост выручки от реализации | Вt | 604080 | 604080 | 604080 |
| Текущие затраты | Иt | 162805,8 | 162805,8 | 162805,8 |
| Прирост прибыли | ПРt | 441274,2 | 441274,2 | 441274,2 |
| Налог на прибыль и имущество | Нпр | 114731,3 | 114731,3 | 114731,3 |
| Капитальные затраты | Кt | - | - | - |
| Поток денежной наличности | ПДНt | 326542,9 | 326542,9 | 326542,9 |
| Накопленный ПДН | НПДНt | 326542,9 | 653085,8 | 979628,7 |
| Коэффициент дисконтирования | a | 0,9091 | 0,8264 | 0,7513 |
| Дисконтированный ПДН | ДПДНt | 296860,2 | 269855,1 | 245331,7 |
| Чистая текущая стоимость | ЧТСt | 296860,2 | 566715,3 | 812047 |
Расчёт экономических показателей при увеличении затрат на 15%, тыс.руб.
Таблица 5.8.
| Показатели | Обозначения | 2007 | 2008 | 2009 |
| Прирост добычи нефти,т | Qt | 83959,6 | 83959,6 | 83959,6 |
| Прирост выручки от реализации | Вt | 604080 | 604080 | 604080 |
| Текущие затраты | Иt | 249635,6 | 249635,6 | 249635,6 |
| Прирост прибыли | ПРt | 354444,4 | 354444,4 | 354444,4 |
| Налог на прибыль и имущество | Нпр | 92155,5 | 92155,5 | 92155,5 |
| Капитальные затраты | Кt | - | - | - |
| Поток денежной наличности | ПДНt | 262288,9 | 262288,9 | 262288,9 |
| Накопленный ПДН | НПДНt | 262288,9 | 524577,8 | 786866,7 |
| Коэффициент дисконтирования | a | 0,9091 | 0,8264 | 0,7513 |
| Дисконтированный ПДН | ДПДНt | 238446,8 | 216755,5 | 197057,6 |
| Чистая текущая стоимость | ЧТСt | 238446,8 | 455202.3 | 652259,9 |
Расчёт экономических показателей при уменьшении налогов на 15%, тыс.руб.
Таблица 5.9.
| Показатели | Обозначения | 2007 | 2008 | 2009 |
| Прирост добычи нефти,т | Qt | 83959,60 | 83959,60 | 83959,60 |
| Прирост выручки от реализации | Вt | 604080 | 604080 | 604080 |
| Текущие затраты | Иt | 217074,4 | 217074,4 | 217074,4 |
| Прирост прибыли | ПРt | 387005,6 | 387005,6 | 387005,6 |
| Налог на прибыль и имущество | Нпр | 85528,3 | 85528,3 | 85528,3 |
| Капитальные затраты | Кt | - | - | - |
| Поток денежной наличности | ПДНt | 301477,3 | 301477,3 | 301477,3 |
| Накопленный ПДН | НПДНt | 301477,3 | 602954,6 | 904431,9 |
| Коэффициент дисконтирования | a | 0,9091 | 0,8264 | 0,7513 |
| Дисконтированный ПДН | ДПДНt | 274073 | 249140,8 | 226499,9 |
| Чистая текущая стоимость | ЧТСt | 274073 | 523213,8 | 749713,7 |
Расчёт экономических показателей при увеличении налогов на 25%, тыс.руб.
Таблица 5.10.
| Показатели | Обозначения | 2007 | 2008 | 2009 |
| Прирост добычи нефти,т | Qt | 83959,6 | 83959,6 | 83959,6 |
| Прирост выручки от реализации | Вt | 604080 | 604080 | 604080 |
| Текущие затраты | Иt | 217074,4 | 217074,4 | 217074,4 |
| Прирост прибыли | ПРt | 387005,6 | 387005,6 | 387005,6 |
| Налог на прибыль и имущество | Нпр | 125776,9 | 125776,9 | 125776,9 |
| Капитальные затраты | Кt | - | - | - |
| Поток денежной наличности | ПДНt | 261228,7 | 261228,7 | 261228,7 |
| Накопленный ПДН | НПДНt | 261228,7 | 522457,4 | 783686,1 |
| Коэффициент дисконтирования | a | 0,9091 | 0,8264 | 0,7513 |
| Дисконтированный ПДН | ДПДНt | 237483 | 215879,4 | 196261,1 |
| Чистая текущая стоимость | ЧТСt | 237483 | 453362,4 | 649623,5 |
5.4. ЗАКЛЮЧЕНИЕ
Как показал расчёт экономической эффективности проведения оптимизации на 7 скважинах, отрицательные значения НПДН отсутствуют, то есть при существующих экономических обстоятельствах проведение мероприятия, проект окупается в течении 1года. На расчётный счёт предприятия за рассматриваемый период поступят денежные средства в сумме 859152,3 тыс.рублей, а с учётом фактора времени , то есть дисконтирования, - 712179,9 тыс.рублей. Как видим, чистая текущая стоимость положительная, то есть ЧТС > 0, а это является критерием эффективности проекта.
Список используемой литературы
1. Годовой отчет по работе механизированного фонда скважин ОАО «ННП». ПТО, 2004г.
2. Желтов Ю.Н. Разработка нефтяных месторождений. Недра, 1988г.
3. Каталог Альметьевского завода погружных электронасосов «Алнас».
4. Справочная книга по добыче нефти./под ред. Гиматутдинова Ш.К.- М. Недра, 1974г.
5. Локтев А.В., Болгов И.Д., Гибадуллин А.Г. Влияние механических примесей на работу механизированного фонда нефтяных скважин /Нефтепромысловое дело. –1992г.
6. Экономический отчет ОАО «Нижневартовское Нефтегазодобывающее Предприятие». Нижневартовск, 2004г.
7. Вредные химические вещества. Справочник. С-П. Химия, 1994г.
8. ГОСТ 12.1.003-86. Шум. Общие требования.
9. СНиП II Естественное и искусственное освещение. Нормы проектирования. Стройиздат 1980.
10.Методические указания к выполнению курсовых проектов
Тюмень: 1998.
11. Липсиц И.В., Инвестиционный проект.
М.: Бек,1996.
12. Шапиро В.Д., Управление проектами. Учебник для вузов.
М.: Два-Три, 1996.