| Скачать .docx | Скачать .pdf |
Курсовая работа: Оборудование буровой установки
ТАЛЕВАЯ СИСТЕМА
НАЗНАЧЕНИЕ, СХЕМЫ И УСТРОЙСТВО
В процессе проводки скважины подъемная система выполняет различные операции. В одном случае она служит для проведения СПО с целью замены изношенного долота, спуска, подъема и удержания на весу бурильных колонн при отборе керна, ловильных или других работах в скважине, а также для спуска обсадных труб. В других случаях обеспечивает создание на крюке необходимого усилия для извлечения из скважины прихваченной бурильной колонны или при авариях с ней. Для обеспечения высокой эффективности при этих разнообразных работах подъемная система имеет два вида скоростей подъемного крюка: техническую для СПО и технологические для остальных операций.
![]() |
В связи с изменением веса бурильной колонны при подъеме для обеспечения минимума затрат времени подъемная система должна обладать способностью изменять скорости подъема в соответствии с нагрузкой. Она также служит для удержания бурильной колонны, спущенной в скважину, в процессе бурения.
Подъемная система установки (рис. III.1) представляет собой полиспастный механизм, состоящий из кронблока 4, талевого (подвижного) блока 2, стального каната 3, являющегося гибкой связью между буровой лебедкой 6 и механизмом 7 крепления неподвижного конца каната. Кронблок 4 устанавливается на верхней площадке буровой вышки 5. Подвижный конец А каната 3 крепится к барабану лебедки 6, а неподвижный конец Б — через приспособление 7 к основанию вышки. К талевому блоку присоединяется крюк 1 , на котором подвешивается на штропах элеватор для труб или вертлюг. В настоящее время талевый блок и подъемный крюк во многих случаях объединяют в один механизм — крюкоблок.
ЭКСПЛУАТАЦИЯ ТАЛЕВЫХ СИСТЕМ
Подготовка талевого каната к оснастке:
Диаметр каната и число струн в оснастке выбирают с учетом максимально возможной нагрузки на крюке, при которой был бы двойной запас прочности, а при СПО — тройной, наивыгоднейшим является четырех-пятикратный запас.
Канат необходимой прочности должен иметь диаметр, соответствующий диаметру желоба шкивов талевого блока и кронблока.
Применять в талевых системах канаты с диаметром больше расчетного нельзя ввиду возможности его защемления в желобах шкивов и быстрого износа. Допускается применение канатов диаметром меньше расчетного на 10%. Необходимый для оснастки канат подбирают по паспорту и проверяют соответствие маркировки на бочке барабана паспортным данным, осматривают канат в соответствии с инструкцией и составляют акт приемки, о чем делают соответствующие записи в буровом журнале.
Фактический коэффициент запаса прочности каната проверяют путем сравнения агрегатной прочности каната, указанной в паспорте, с вероятной наибольшей нагрузкой на канат.
Для осмотра бочку с канатом устанавливают на козлы и вращают барабан по стрелке, указанной на бочке. При перемотке каната недопустимо образование петель и перекруток. Отрезают канат специальной канаторезкой. Перед тем, как отрезать канат, оба будущие его конца должны быть заделаны так, чтобы избежать их раскручивания. Концы заделывают плотной намоткой вязальной проволоки.
Новый канат следует хранить на барабане в помещении или под навесом, исключающим попадание влаги в барабан. Ржавые канаты или канаты, имеющие неплотности свивки прядей, порванные проволоки и другие дефекты к эксплуатации не допускаются.
Оснастка талевой системы:
По мере увеличения глубины скважин вес бурильных колонн, которые приходится спускать и поднимать, увеличивается, а максимальная скорость намотки ведущей струны талевого каната на барабан лебедки остается практически неизменной (около 20 м/с) для буровых установок разных классов. Поэтому для каждой установки применяют талевую систему со своей кратностью полиспаста от 4-х до 14. Это достигается применением различных оснасток 2X3; 3X4; ...; 7X8 (здесь первая цифра — число шкивов талевого блока, а вторая — кронблока).
Под оснасткой талевой системы понимается навеска каната на шкивы кронблока и талевого блока в определенной последовательности, исключающей перекрещивание каната и трение его струн друг о друга. В настоящее время создано несколько типов оснастки. Перед тем как приступить к оснастке системы необходимо определить число шкивов в талевом блоке, тип каната, диаметр и разрывное усилие каната. Диаметр каната должен соответствовать размеру канавок шкивов талевого блока и кронблока. При бурении глубоких скважин, когда глубина еще небольшая и бурильная колонна легкая, для ускорения СПО канатом оснащают не все шкивы системы, а только часть. В дальнейшем проводят переоснастку до полного использования всех шкивов. Однако переоснастка трудоемка и не всегда целесообразна.
Оснастку стремятся выполнить так, чтобы ведущая струна набегала на один из средних шкивов. В системах АСП струны каната не должны мешать спуску талевого блока с находящейся в нем свечой. Неправильно выполненная оснастка может вызвать трение канатов или закручивание талевого блока, что может привести к аварии.
Существует два типа оснасток: параллельная, когда ось талевого блока параллельна оси кронблока, и крестовая, когда оси талевого блока и кронблока перпендикулярны. Наиболее распространена крестовая оснастка (рис. III.14). Она имеет то преимущество, что исключает закручивание талевого блока и трение струн каната друг о друга.
Оснастку осуществляют следующим образом. Бухту каната устанавливают на металлическую ось приспособления, расположенного под полом буровой, и соединяют конец талевого каната с концом пенькового вспомогательного каната. Затем раскрепляют барабан механизма крепления и наматывают на него четыре-пять витков пенькового каната, после чего этот канат последовательно пропускают через шкивы 6
кронблока и V талевого
блока, 1
кронблока и / талевого блока, затем 5
—IV
—2
—//—4,
как показано на рис. III.14.
Когда конец талевого каната со шкива 4 достигнет пола буровой, отсоединяют пеньковый канат, а конец ведущей струны талевого каната укрепляют в зажимном приспособлении реборды барабана лебедки и наматывают на барабан лебедки восемь — десять витков. Перед этим неподвижный конец талевого каната должен быть зажат в механизме крепления, после чего скрепляют его барабан с консольным рычагом и тарируют датчик и индикатор веса инструмента.
БУРОВЫЕ ЛЕБЕДКИ
НАЗНАЧЕНИЕ, УСТРОЙСТВО И КОНСТРУКТИВНЫЕ СХЕМЫ
Лебедка — основной механизм подъемной системы буровой установки. Она предназначена для проведения следующих операций:
спуска и подъема бурильных и обсадных труб;
Удержания колонны труб на весу в процессе бурения или промывки скважины;приподъема бурильной колонны и труб при наращивании; передачи вращения ротору; свинчивания и развинчивания труб; вспомогательных работ по подтаскиванию в буровую инструмента, оборудования, труб и др.; подъема собранной вышки в вертикальное положение.
Буровая лебедка состоит из сварной рамы, на которой установлены подъемный и трансмиссионный валы, коробка перемены передач (КПП), тормозная система, включающая основной (ленточный) и вспомогательный (регулирующий) тормоза, пульт управления. Все механизмы закрыты предохранительными щитами. Подъемный вал лебедки, получая вращение от КПП, преобразовывает вращательное движение силового привода в поступательное движение талевого каната, подвижный конец которого закреплен на барабане подъемного вала. Нагруженный крюк поднимается с затратой мощности, зависящей от веса поднимаемых труб, а спускается под действием собственного веса труб или талевого блока, крюка и элеватора, когда элеватор опускается вниз за очередной свечой.
Лебедки снабжаются устройствами для подвода мощности при подъеме колонны и тормозными устройствами поглощения освобождающейся энергии при ее спуске. Для повышения к. п. д. во время подъема крюка с ненагруженным элеватором или колонной переменного веса лебедки или их приводы выполняют многоскоростными. Переключение с высшей скорости на низшую и обратно осуществляется фрикционными оперативными муфтами, обеспечивающими плавное включение и минимальную затрату времени на эти операции. Во время подъема колонн различного веса скорости в коробках передач переключают периодически. Оперативного управления скоростями коробки не требуется.
В зависимости от скорости спуска или подъема крюка и числа струн в талевой оснастке канат на барабан лебедки навивается и свивается с различными скоростями. Скорость крюка при подъеме колонн большого веса во время технологических операций (расхаживание, ликвидация осложнения и аварий в скважине) составляет 0,15—0,25 м/с, а иногда и меньше. Эти скорости называются технологическими, а скорости подъема бурильных колонн и ненагруженного элеватора при СПО изменяются от 0,5 до 1,8 м/с и называются техническими. Более высокие скорости подъема ухудшают условия намотки каната на барабан и не дают существенного выигрыша во времени.
Скорости спуска колонн определяются их весом, длиной и технологическими условиями скважины. Наибольшая скорость спуска бурильных колонн обычно не превышает 3 м/с, наименьшая при спуске обсадных колонн 0,2 м/с. В процессе бурения с по- мощью лебедки подается бурильная колонна со скоростью до 1,5 м/мин.
При подъеме колонны канат навивается на барабан лебедки под действием силы тяжести всей колонны, а свивается при спуске ненагруженного элеватора с небольшим натяжением. В процессе спуска колонн канат навивается при небольшом натяжении и большой скорости, а свивается под действием веса всей колонны. Это создает тяжелые условия работы каната, и он быстро изнашивается, особенно при многослойной навивке на барабан.
Мощность, передаваемая на лебедку, характеризует основные эксплуатационно-технические ее свойства и является классификационным параметром.
Присоединительные размеры буровой лебедки: диаметр талевого каната; расстояние от середины барабана до центра звездочки, установленной на валу ротора. Диаметр каната должен соответствовать размерам канавок на наружной поверхности барабана лебедки и размерам канавок шкивов талевой системы. В случае несоответствия канат будет быстро изнашиваться. Нарушение базового расстояния от середины барабана до центра роторной звездочки вызовет быстрый выход из строя цепи привода ротора и практически сделает невозможным нормальное бурение скважины роторным способом.
Современные отечественные буровые лебедки в основном выполняются по двум компоновочным схемам:
лебедка со всеми компонующими сборками монтируется на одной общей раме; эти лебедки имеют один главный вал, приводимый в движение цепными трансмиссиями от коробки передач (ЛБ-750, ЛБУ-1100, ЛБУ-1700 и др.);
двух- и трехвальные лебедки, в которых собственно лебедка совмещена с КПП и представляет собой один агрегат (У2-2-11, У2-5-5идр.).
На рис. IV.1 показана одновальная лебедка ЛБ-750, смонтированная на общей раме / с вспомогательным тормозом 7 и станцией управления 8. Эта лебедка имеет главный вал с барабаном 5, цепные трансмиссии Зяб, главный тормоз 4 и тормозную рукоятку 2, которая служит для управления лебедкой с поста бурильщика.
На рис. IV.2 приведен подъемный агрегат, состоящий из двух блоков — одновальной буровой лебедки ЛБУ-1100 4 и КПП 6,— которые транспортируются отдельно, а при монтаже соединяются в один агрегат. Цепные трансмиссии передач привода барабанного вала лебедки от КПП «тихой» 5 и «быстрой» 7 скоростей закрыты кожухами. Они включаются оперативными пневматическими фрикционными муфтами с пульта управления 1, Расположенного на полу 2 буровой. Главным тормозом лебедки управляют удлиненной тягой 3 также с поста бурильщика.
Двух- и трехвальные лебедки в настоящее время почти не изготовляются, но на нефтепромыслах они еще применяются.
РОТОРЫ
НАЗНАЧЕНИЕ И УСТРОЙСТВО
Роторы предназначены для вращения вертикально подвешенной бурильной колонны с частотой 30—300 об/мин при роторном бурении или восприятия реактивного крутящего момента при бурении забойными двигателями. Они служат также для поддержания на весу колонн бурильных или обсадных труб, устанавливаемых на его столе на элеваторе или клиньях. Роторы также используются при отвинчивании и свинчивании труб в процессе СПО, ловильных и аварийных работ. Ротор представляет собой как бы конический зубчатый редуктор, ведомое коническое колесо которого насажено на втулку, соединенную со столом. Вертикальная ось стола расположена по оси скважины.

На рис. V.1 показана схема ротора. Стол 5 имеет отверстие диаметром 250—1260 мм в зависимости от типоразмера ротора. В отверстие стола устанавливают вкладыши 7 и зажимы ведущей трубы 6,
через которые передается крутящий момент. Большое коническое колесо 4
передает вращение столу ротора, укрепленному на основной 3 и вспомогательной 2
опорах, смонтированных в корпусе 1,
образующем одновременно масляную ванну для смазки передачи и подшипников.
Сверху стол защищен оградой 8. Быстроходный ведущий вал 10 расположен горизонтально на подшипниках 11, воспринимающих радиальные и горизонтальные нагрузки. Вал 10 приводится: во вращение от цепной звездочки 12 или с помощью вилки карданного вала, расположенной на конце вала. Ротор снабжен стопором 9, при включении которого вращение стола становится невозможным. Фиксация стола ротора необходима при СПО и бурении забойными двигателями для восприятия реактивного
момента.
Привод ротора в буровых установках с расположением лебедки на полу буровой осуществляется цепной трансмиссией от лебедки или от КПП карданной передачей, при установке лебедки ниже пола буровой — дополнительной трансмиссией от лебедки или индивидуальным приводом от электродвигателя постоянного тока (рис. V.2), располагаемой под полом буровой. Такая конструкция обеспечивает свободное пространство для работы персонала буровой бригады.
КОНСТРУКЦИИ РОТОРОВ И ИХ ЭЛЕМЕНТОВ
Ротор Р-560 (рис. V.3) состоит из следующих основных сборок и элементов. Станина 7— основной элемент ротора. Обычно она представляет собой стальную отливку коробчатой формы, внутри которой смонтированы основные сборки и детали. Внутренняя полая часть станины — масляная ванна для смазки конической зубчатой пары и подшипников опор стола ротора и приводного вала.
Стол ротора 2 — основная вращающаяся часть, приводящая во вращение через разъемные вкладыши 4 и зажимы 5 ведущую трубу и соединенную с ней спущенную в скважину бурильную колонну. Стол ротора монтируется на двух шаровых опорах — главной 3 и вспомогательной 8. Главная опора 3 воспринимает динамические циклически действующие нагрузки — радиальную от передаваемого крутящего момента и осевые от трения ведущей трубы о зажимы 5 ротора при подаче колонны и от веса стола ротора, а также статическую нагрузку от веса колонн труб и других элементов при установке их на стол ротора.
Вспомогательная опора 8
стола служит для восприятия радиальных нагрузок от зубчатой передачи и осевых ударов при бурении или подъеме колонны. Периферийный зазор между станиной 7 и столом 2
ротора выполнен в виде лабиринта, предупреждающего проникновение бурового раствора и грязи внутрь станины и выбрасывание смазки из ротора при вращении стола. Сверху стол ротора закрыт ограждением /, служащим для установки на нем элеваторов и другого оборудования при СПО и защиты операторов.
Горизонтальный приводной вал 6 выполняется обычно в виде отдельной сборки, в которой вал с ведущей конической шестерней, насаженной на нем, монтируется на роликоподшипниках во втулке. Сдвоенный радиально-упорный подшипник, воспринимающий радиальные и осевые нагрузки от зубчатой передачи, устанавливается рядом с конической шестерней. Вторая опора вала — цилиндрический роликоподшипник. На внешнем конце вала монтируется либо цепная звездочка 9 при приводе ротора цепной передачей от лебедки, либо шарнир карданного вала.
Разъемные вкладыши 4, состоящие из двух половин, устанавливают в проходное отверстие ротора, верхняя часть которого снабжена квадратной выемкой. Верхняя часть вкладышей также имеет квадратную форму, в которую входят выступы верхней части зажимов 5 ведущей трубы или роликового зажима при бурении. При СПО в отверстие вкладышей вставляют конусную втулку для клинового захвата. При бурении зажимы 5 или роликовые зажимы закрепляют болтами, оставляют на ведущей трубе и вместе с ней отпускают в отверстие вкладышей 4.
Стопорное устройство 10 служит для фиксации стола ротора. Рукоятка управления стопорным устройством расположена в углублении верхней ограды ротора. В углублении она защищена от повреждений и, кроме того, не мешает работать. При переводе рукоятки в рабочее положение выдвигается упор, входящий в одну из специальных прорезей на наружной поверхности стола, и препятствует вращению.
Для облегчения труда рабочих и ускорения СПО роторы комплектуют пневматическими клиновыми захватами, для чего на роторе предусмотрен кронштейн, к которому присоединяется механизм подъема и опускания в отверстие ротора клиньев.
Диаметр отверстия в столе ротора и максимальная статическая нагрузка на стол ротора —основные классификационные параметры. Они определяют максимальный диаметр долота и максимальные диаметр и вес обсадной колонны, которая может быть спущена в скважину.
Основные характеристики роторов приведены в табл. V.I.
Для обеспечения взаимозаменяемости внутренние размеры роторов и вкладышей и наружные размеры вкладышей стандартизованы. Также стандартизованы длина и диаметр конца приводного вала ротора и расстояние от оси отверстия стола до плоскости первого ряда зубьев приводной звездочки, обеспечивающее возможность применения ротора на любой буровой установке.
БУРОВЫЕ НАСОСЫ И ОБОРУДОВАНИЕ ЦИРКУЛЯЦИОННОЙ СИСТЕМЫ
ФУНКЦИИ И СХЕМА ЦИРКУЛЯЦИОННОЙ СИСТЕМЫ
Буровые насосы и циркуляционная система выполняют следующие функции:
нагнетание бурового раствора в бурильную колонну для обеспечения циркуляции в скважине в процессе бурения и эффективной очистки забоя и долота от выбуренной породы, промывки, ликвидации аварий, создания скорости подъема раствора в затрубном пространстве, достаточной для выноса породы на поверхность;
подвод к долоту гидравлической мощности, обеспечивающей высокую скорость истечения (до 180 м/с) раствора из его насадок для частичного разрушения породы и очистки забоя от выбуренных частиц;
подвод энергии к гидравлическому забойному двигателю.
На рис. VII. 1 показаны схема циркуляции бурового раствора и примерное распределение потерь напора в отдельных элементах циркуляционной системы скважины глубиной 3000 м при бурении роторным способом.
В процессе бурения в большинстве случаев раствор циркулирует по замкнутому контуру. Из резервуаров 13 очищенный и подготовленный раствор поступает в подпорные насосы 14, которые подают его в буровые насосы /. Последние перекачивают раствор под высоким давлением (до 30 МПа) по нагнетательной линии, через стояк 2, гибкий рукав 3, вертлюг 4, ведущую трубу 5 к устью скважины 6. Часть давления насосов при этом расходуется на преодоление сопротивлений в наземной системе. Далее буровой раствор проходит по бурильной колонне 7 (бурильным трубам, УБТ и забойному двигателю 9) к долоту 10. На этом пути давление раствора снижается вследствие затрат энергии на преодоление гидравлических сопротивлений.
Затем буровой раствор вследствие разности давлений внутри бурильных труб и на забое скважиныс большой скоростью выходит из насадок долота, очищая забой и долото от выбуренной породы. Оставшаяся часть энергии раствора затрачивается на подъем выбуренной породы и преодоление сопротивлений в затрубном кольцевом пространстве 8 .
Поднятый на поверхность к устью 6
отработанный раствор проходит по растворопроводу 11
в блок очистки 12,
где из него удаляются в амбар 15
частицы выбуренной породы, песок, ил, газ и другие примеси, поступает в резервуары 13
с устройствами 16
для восстановления его параметров и снова направляется в подпорные насосы.
Нагнетательная линия состоит из трубопровода высокого давления, по которому раствор подается от насосов / к стояку 2 и гибкому рукаву 3, соединяющему стояк 2 с вертлюгом 4. Напорная линия оборудуется задвижками и контрольно-измерительной аппаратурой. Для работы в районах с холодным климатом предусматривается система обогрева трубопроводов.
Сливная система оборудуется устройствами для очистки и приготовления бурового раствора, резервуарами, всасывающей линией, фильтрами, нагнетательными центробежными насосами, задвижками и емкостями для хранения раствора.
ВЕРТЛЮГИ И БУРОВЫЕ РУКАВА
НАЗНАЧЕНИЕ И СХЕМЫ
Вертлюг — промежуточное звено между поступательно перемещающимся талевым блоком с крюком, буровым рукавом и вращающейся бурильной колонной, которая при помощи замковой резьбы соединяется через ведущую трубу со стволом вертлюга. Для обеспечения подачи бурового раствора или газа перемещающийся вертлюг соединен с напорной линией при помощи гибкого бурового рукава, один конец которого крепится к отводу вертлюга, а второй — к стояку на высоте, несколько большей половины его длины.
На рис. VIII. 1 показана схема расположения вертлюга в буровой при бурении.
Вертлюг обеспечивает возможность свободного вращения бурильной колонны при невращающихся корпусе и талевой системе. Он подвешен на ее крюке и выполняет функции сальника для подачи внутрь вращающейся колонны бурового раствора, закачиваемого насосами по гибкому рукаву.
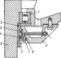
На рис. VIII.2 показана принципиальная схема вертлюга для бурения глубоких скважин. Основная вращающаяся его деталь — полый ствол 1, воспринимающий вес бурильной колонны. Ствол, смонтирован в корпусе 3 на радиальных 4 и 7 и упорных 5 и 6 подшипниках, снабжен фланцем, передающим вес колонны через главную опору 5 на корпус 3, подвешенный к крюку на штропе 12. Опоры ствола фиксируют его положение в корпусе, препятствуют осевым, вертикальным и радиальным перемещениям и обеспечивают устойчивое положение и легкость вращения.
Вес корпуса вертлюга со шлангом, осевые толчки и удары колонны снизу вверх воспринимаются вспомогательной опорой 6. Ствол вертлюга — ведомый элемент системы. При принятом в бурении нормальном направлении вращения бурильной колонны (по часовой стрелке, если смотреть сверху на ротор) ствол и все детали, связанные с ним, во избежание самоотвинчивания имеют левые резьбы. Штроп 12 крепится к корпусу на осях 16, смонтированных в приливах корпуса. Приливы имеют форму карманов, которые ограничивают угол поворота штропа ( — 40°) для установки его в положение, удобное для захвата крюком, когда вертлюг с ведущей трубой находится в шурфе.
К крышке корпуса 15 прикреплен отвод 13, к которому присоединяется буровой рукав 14. Буровой раствор поступает из рукава через отвод в присоединенную к нему напорную трубу 9, из которой он попадает во внутренний канал ствола вертлюга. Зазор между корпусом напорного сальника 10 и напорной трубой 9 уплотнен сальником 11, обеспечивающим герметичность при больших рабочих давлениях бурового раствора.
Напорный сальник 11 во время роторного бурения эксплуатируется в тяжелых условиях, срок его службы (50—100 ч) во много раз меньше, чем остальных деталей вертлюга, поэтому он выполняется быстросменным. В верхней и нижней частях корпуса вертлюга для уплотнения зазора между корпусом и вращающимся стволом устанавливают самоуплотняющиеся манжетные сальники 2 и 8, которые предохраняют от вытекания масла из корпуса и попадания в него снаружи влаги и грязи.
В вертлюгах есть устройства для заливки, спуска масла и контроля его уровня, а также сапун для уравновешивания с атмосферным давлением паров внутри корпуса, создающегося при нагреве в процессе работы. Это устройство не пропускает масло при транспортировке вертлюга в горизонтальном положении.
Типоразмер вертлюга определяется динамической нагрузкой, которую он может воспринимать в процессе вращения бурильной колонны, допустимой статической нагрузкой и частотой вращения, предельным рабочим давлением прокачиваемого бурового раствора, массой и габаритными размерами. Каждый вертлюг имеет стандартную левую коническую замковую резьбу для присоединения к ведущей трубе двух-трех размеров. Корпус вертлюга выполняется обтекаемой формы для того, чтобы он не цеплялся за детали вышки при перемещениях. Вертлюги приспособлены к транспортировке любыми транспортными средствами без упаковки.
КОНСТРУКЦИИ ВЕРТЛЮГОВ
По конструкции вертлюги для бурения глубоких скважин, изготовляемые отечественными заводами, отличаются мало. Рассмотрим конструкцию вертлюга УВ-250МА (рис. VIII.3).Он состоит из литого стального корпуса 5
с двумя карманами для присоединения к нему штропа 11
при помощи пальцев. Внутренняя полость корпуса разделена по высоте горизонтальной перемычкой, служащей опорной поверхностью основной опоры ствола, усиленной для жесткости вертикальными ребрами. Эта перемычка имеет кольцевую площадку, на которую устанавливается основной опорный подшипник 4.
Над основной опорой в корпусе находятся вспомогательный упорный подшипник 6, воспринимающий усилия, которые возникают вдоль оси от ротора к вертлюгу, и верхний радиальный подшипник 7. Второй радиальный подшипник 3, центрирующий ствол вертлюга 1, расположен в нижней части корпуса. Ствол вертлюга / с вращающимися элементами подшипников 3, 4, 6 и 7 и верхним напорным сальником 9 составляют группу вращающихся деталей вертлюга.
Сверху корпус вертлюга имеет круглое отверстие. Это отверстие закрывается крышкой с кронштейном 8, к которому крепится подвод 10. В крышке 8 установлено верхнее сальниковое уплотнение корпуса, а нижнее уплотнение 2 крепится к нижней части корпуса. Этот сальник служит для предупреждения утечки масла из корпуса вертлюга в процессе работы.
Верхний радиальный 7 и упорный 6 подшипники малонагружены и смазываются консистентной смазкой, для чего в крышке предусмотрена пресс-масленка. Главная опора и нижний радиальный подшипник смазываются жидкой смазкой, которой наполнена масляная ванна корпуса. Жидкое масло служит не только для смазки, но и для отвода тепла, выделяющегося в подшипниках. Надо иметь в виду, что при прокачке через вертлюг бурового раствора с высокой температурой масло в ванне вертлюга нагревается и добавочное тепло трения приводит к повышению температуры выше допустимой (иногда более 100 °С).
Применение быстросъемного напорного сальника значительно упростило и ускорило его замену, а конструкция ствола стала проще и меньшей длины. Практика эксплуатации показывает, что применение большого числа манжет в сальнике не увеличивает срок службы уплотнения вертлюга, так как происходит перегрев манжет и их разрушение вследствие плохого теплоотвода. Оптимальным является использование двух-трех рабочих манжет. В зависимости от конструкции уплотнение осуществляется либо первой, либо последней манжетой, при выходе из строя которой начинает работать вторая манжета и т. д.
Быстросъемное напорное уплотнение (рис. VIII.4), применяемое в вертлюге УВ-250МА, обеспечивает подачу в ствол вертлюга бурового раствора под давлением до 25 МПа. Раствор от подвода 4 вертлюга поступает через напорную трубу 9, расположенную в стволе 15 вертлюга. Эта труба жестко не закреплена и является как бы плавающей. На ее верхнем конце установлена шпонка, входящая в паз кольца 7, неподвижно прикрепленного верхней нажимной гайкой 3 к втулке 5.
Зазоры между подводом 4, кольцом 7 и трубой 9 уплотнены торцовой 6 и радиальной 8 манжетами. Необходимое нажатие на уплотнения создается верхней нажимной гайкой 3 навинчиванием ее на втулку 5. Нижнее вращающееся уплотняющее устройство состоит из стакана 2, прижатого нижней нажимной гайкой / к торцу ствола 15 вертлюга. В стакане размещены четыре самоуплотняющиеся манжеты 10, разделенные между собой кольцами 12, создающими камеры, ограничивающие деформацию манжет под давлением прокачиваемого раствора.
Для уменьшения трения и износа трубы 9 и манжет 10 в манжетные камеры периодически закачивают ручным насосом через пресс-масленку 11 консистентную смазку. Верхняя манжета служит для удержания смазки при закачке, а нижние три манжеты уплотняют зазоры между трубой 9, кольцами 12 и грундбуксой 13, нижний торец которой уплотнен торцовой манжетой 14. Необходимое нажатие на элементы сальника осуществляется нижней нажимной гайкой /.
Уплотнительные манжеты сальника изготовляют из маслостойких резин или резиноасбестовых композиций, или пластмасс полиуретановой группы. Напорные трубы изготовляют из низколегированных цементуемых сталей марок 12ХН2А, 20ХНЗА
и др. Наружная поверхность труб подвергается термохимической обработке для создания слоя толщиной 1,5—3 мм твердостью 56—62 HRC. Наружная поверхность подвергается высокоточной механической обработке, полируется или выглаживается роликом для уменьшения шероховатости.
| Рис. VIII .5. Нижнее уплотнение масляной ванны вертлюга |
Нижнее уплотнение масляной ванны вертлюга (рис. VIII.5) служит для предохранения утечки смазки при вращении вертикально расположенного ствола вертлюга. Уплотняющее устройство состоит из двух манжет 4, смонтированных в нижней части
крышки 9 корпуса вертлюга. Кольцо 8 при помощи болтов 7 нажимает на манжеты 4, которые прилегают к наружной поверхности втулки 3, надетой на ствол 5 вертлюга. Втулка 3, упирающаяся в кольцо подшипника 1, крепится на стволе 5 гайкой 6 и уплотняется резиновым кольцом 2. В полость между манжетами 4 подается через пресс-масленку 10 консистентная смазка, предохраняющая вытекание масла из ванны. Втулка 3 предохраняет от износа поверхность ствола, а при износе ее меняют.
В нижней крышке корпуса предусмотрена отстойная зона, куда через отверстия в корпусе попадают с маслом продукты износа. С боку в нижней части крышки предусмотрено сливное отверстие, закрываемое пробкой, через которую периодически спускают масло из ванны вертлюга.
Ствол вертлюга — наиболее нагруженная деталь. На него действуют растягивающая сила от веса бурильной колонны, изгибающий момент и внутреннее давление раствора. Нижний конец ствола имеет левую внутреннюю замковую резьбу по ГОСТ 5286—75, служащую для соединения через предохранительный переводник с ведущей трубой. Стволы изготовляют из конструкционных низколегированных сталей марок 40Х, 40ХН, 38ХГН и др. Ствол подвергается закалке с отпуском до твердости 280—320 НВ.
На опоры ствола вертлюга действуют в основном осевые нагрузки: главная опора воспринимает вес бурильной колонны, а радиальные подшипники центрируют подвешенный на крюке вертлюг и воспринимают нагрузки, создаваемые его весом и частью веса прикрепленного к нему гибкого шланга.
В качестве главной опоры в вертлюгах применяют упорные или радиально-упорные подшипники. В тяжело нагруженных вертлюгах для бурения глубоких скважин используют роликоподшипники с коническими, бочкообразными и цилиндрическими роликами. Эти подшипники применяют при частоте вращения не более 100 об/мин, так как цилиндрические ролики работают с проскальзыванием, что приводит к их износу.
В вертлюгах для геологоразведочного бурения скважин небольшой глубины и при легких бурильных колоннах используют радиально-упорные или радиальные шарикоподшипники, для вспомогательных опор вертлюгов обычно — упорные шариковые или конические роликоподшипники стандартных серий.
ПРИВОДЫ БУРОВЫХ УСТАНОВОК
ОСНОВНЫЕ ОПРЕДЕЛЕНИЯ
Приводом буровой установки называется совокупность двигателей и регулирующих их работу трансмиссий и устройств, преобразующих тепловую или электрическую энергию в механическую, управляющих механической энергией и передающих ее исполнительному оборудованию — насосам, ротору, лебедке и др. Мощность привода (на входе в трансмиссию) характеризует основные его потребительские и технические свойства и является классификационным (главным) параметром.
В зависимости от используемого первичного источника энергии приводы делятся на автономные, не зависящие от системы энергоснабжения, и неавтономные, зависящие от системы энергоснабжения, с питанием от промышленных электрических сетей. К автономнымприводам относятся двигатели внутреннего сгорания (ДВС) с механической, гидравлической или электропередачей. К неавтономнымприводам относятся: электродвигатели постоянного тока, питаемые от промышленных сетей переменного тока через тиристорные выпрямительные станции управления; электродвигатели переменного тока с гидравлической либо электродинамической трансмиссией или регулируемые тиристорными системами.
В соответствии с кинематикой установки привод может иметь три основных исполнения: индивидуальный, групповой и комбинированный или смешанный.
Индивидуальный привод — каждый исполнительный механизм (лебедка, насос или ротор) приводится от электродвигателей или ДВС независимо друг от друга. Более широко этот вид привода распространен с электродвигателями. При его использовании достигается высокая маневренность в компоновке и размещении бурового оборудования на основаниях при монтаже.
Групповой привод — несколько двигателей соединены суммирующей трансмиссией и приводят несколько исполнительных механизмов. Его применяют при двигателях внутреннего сгорания,
Комбинированный привод — использование индивидуального и группового приводов в одной установке. Например, насосы приводятся от индивидуальных двигателей, а лебедка и ротор от общего двигателя. Во всех случаях характеристики привода должны наиболее полно удовлетворять требуемым характеристикам исполнительных механизмов.
Потребителями энергии буровой установки являются: в процессе бурения — буровые насосы, ротор (при роторном бурении), устройства для приготовления и очистки бурового раствора от выбуренной породы; компрессор, водяной насос и др.;
при спуске и подъеме колонны труб — лебедка, компрессор, водяной насос и механизированный ключ.
Приводы также делятся на главные (приводы лебедки, насосов и ротора) и вспомогательные (приводы остальных устройств и механизмов установки). Мощность, потребляемая вспомогательными устройствами, не превышает 10—15% мощности, потребляемой главным оборудованием.
Гибкость характеристики — способность силового привода автоматически или при участии оператора в процессе работы быстро приспосабливаться к изменениям нагрузок и частот вращения исполнительных механизмов. Гибкость характеристики зависит от коэффициента приспособляемости, диапазона регулирования частоты вращения валов силового привода и приемистости двигателя.
Коэффициент гибкости характеристики определяется отношением изменения частоты вращения к вызванному им отклонению момента нагрузки. Он пропорционален передаточному отношению и обратно пропорционален коэффициенту перегрузки.
Приемистостью называется интенсивность осуществления переходных процессов, т. е. время, в течение которого двигатель и силовой привод реагируют на изменение нагрузки и изменяют частоту вращения.
Приспособляемость — свойство силового привода изменять крутящий момент и частоту вращения в зависимости от момента сопротивления. Собственная приспособляемость— свойство двигателя приспособляться к внешней нагрузке. Искусственная приспособляемость — свойство трансмиссий приспосабливать характеристику двигателя к изменению внешней нагрузки.
ТРАНСМИССИИ БУРОВЫХ УСТАНОВОК
ЭЛЕМЕНТЫ ТРАНСМИССИИ БУРОВЫХ УСТАНОВОК
В буровом оборудовании для осуществления кинематической связи между валами в механизмах, изменения скорости и направления вращения, преобразования крутящих моментов используют цепные, клиноременные и зубчатые передачи. В установках малой мощности для геологоразведочного бурения при небольших межосевых расстояниях между валами (до 0,5 м) используют почти всегда зубчатые передачи, а при межосевых расстояниях более 0,5 м — клиноременные.В установках для эксплуатационного бурения для передачи «больших мощностей (500—2000 кВт и более) и межосевых расстояниях более 1 м применяют многорядные цепные и клиноременные передачи. Зубчатые передачи используют при межосевых расстояниях менее 1м — в редукторах насосов, реверсивных устройствах КПП, приводах роторов и др.
СИСТЕМЫ УПРАВЛЕНИЯ БУРОВЫМИ УСТАНОВКАМИ
ВИДЫ, ТРЕБОВАНИЯ И ХАРАКТЕРИСТИКИ
Буровая установка представляет собой сложный комплекс различных машин и механизмов, обеспечивающих выполнение разнообразных технологических операций при проводке скважин. Эффективность работы этого комплекса зависит от эксплуатационных качеств, маневренности, четкости и надежности работы всех его элементов. Важную роль в комплексе играет система управления.
Системы управления обеспечивают:
пуск, остановку и регулировку работы двигателей;
включение и выключение трансмиссий, которые блокируют двигатели, приводящие буровые насоса, ротор или лебедку;
включение и выключение буровых насосов, лебедки, ротора, механизма подачи и тормозов (гидравлического, электрического и ленточного);изменение частоты вращения барабана лебедки, насосов и ротора; включение и выключение устройств для свинчивания и развинчивания бурильных труб;
управление работой ключей, клиньев и других механизмов при отвинчивании и установке бурильных свечей в магазин в процессе спуска и подъема колонны;
управление оборудованием для герметизации устья скважины при бурении и проявлениях газа;
включение и выключение компрессора, вспомогательной лебедки или насоса, осветительной установки, устройств для очистки и приготовления бурового раствора и других вспомогательных механизмов.
Для приведения в действие органов управления используются различные виды энергии: в системах ручного механического управления —сила оператора; в пневматических, гидравлических и электрических системах —энергия сжатого воздуха, жидкости или электричества.
Система управления состоит из двух типов органов: управляющих функциями главных и вспомогательных исполнительных механизмов и аппаратуры, сигнализирующей оператору или регистрирующей результаты исполнения команды.
Система управления (рис. XI. 1) содержит пять основных органов:
1 — воспринимающий команду (кнопка, рукоятка, рычаг, педаль и др.), на который воздействует оператор — человек, программирующее устройство или микропроцессор;
2 — промежуточный, передающий команду к исполнительным механизмам с использованием внешней энергии: тяги, трубопровода, электрокабеля и др.;
3 — исполнительный, воздействующий на механизм, выполняющий технологическую функцию: муфта сцепления, золотник, кран и др.;
4 — фиксирующий или ограничивающий исполнение команды: защелка, концевой выключатель, стопор и др;
5 — обратная связь, информирующая оператора об исполнении команды или заданного режима работы: измерительный прибор, манометр, термометр, динамометр, световая или звуковая сигнализация.
В буровых установках применяется три вида систем управления:
централизованная — расположенная у поста бурильщика и позволяющая ему управлять основными исполнительными механизмами: лебедкой, насосами, ротором, превенторами и др.;
индивидуальная или местная — расположенная вблизи того или иного агрегата;
смешанная-—позволяющая управлять агрегатом как с поста бурильщика, так и непосредственно около агрегата; например, ДВС с суммирующей трансмиссией могут управляться дизелистом или бурильщиком и др.
Всеми устройствами управляют с постов бурильщика, дизелиста или с пульта, расположенного вблизи того или иного агрегата (оборудования). В соответствии с выполняемыми функциями цепи управления подразделяются на независимые и взаимосвязанные. Независимые цепи применяют в тех случаях, когда устройства не связаны друг с другом, например, включение лебедки, насосов, ротора. Взаимосвязанные (сблокированные) системы управления используют, когда недопустимо одновременное включение нескольких движений, например, одновременное включение прямого и обратного вращения ротора или двух скоростей лебедки.
В связи со сложностью и многообразием функций, выполняемых механизмами для обеспечения маневренности, быстроты и удобства манипулирования, в буровых установках применяют комбинированныесистемыуправления,позволяющие наиболее полно удовлетворить все требования.
Степень совершенства системы управления зависит от ее качеств, главными из которых являются:
мощность, усилие или крутящий момент для осуществления операций управления;
легкость, маневренность и автоматизм органов, на которые воздействует оператор и которые осуществляют исполнение команды.
Совершенство системы управления зависит как от конструкции органов системы управления, так и от рабочей позы бурильщика и усилий, затрачиваемых им в процессе управления. Неудобство позы рабочего, необходимость приложения больших усилий вызывают быстрое утомление рабочего и снижают его производительность. Усилие, затрачиваемое рабочим на манипуляции рычагами, обычно не более 30—50 Н, тормозной рукояткой— не более 150 Н, ножными педалями и редко переключаемыми рычагами — не более 100—200 Н. Давление рукоятки, кроме тормозной, обычно осуществляется в течение нескольких секунд и неутомительно для бурильщика. Рукоятки и педали располагают так, чтобы ими было удобно пользоваться без изменения рабочей позы и места бурильщика.
Четкость, стабильность и мнемоничность управления обеспечиваются тем, что каждая команда соответствует определенной функции и не вызывает изменения положения других органов управления. Величина хода, например, рукоятки, при включении и выключении должна быть всегда одинакова и стабильна при каждом повторении команды.
Мнемоничность управления обеспечивается таким расположением органов управления, при котором оператор освобожден от излишнего напряжения памяти. Оператор не должен каждый раз вспоминать, где находится тот или иной рычаг управления, в какую сторону и на какое расстояние следует его передвинуть или повернуть, чтобы включить или выключить, например, ключ для свинчивания или развинчивания бурильных замков.
Направление движения руки оператора должно совпадать с направлением движения механизма. При вертикальном расположении рычага, например тормозного, торможение осуществляется движением рычага вниз, так как при этом удобнее приложить к усилию руки еще вес тела рабочего, а при растормаживании наоборот. При горизонтальном расположении рычагов включение, требующее большого усилия рабочего, осуществляется поворотом рычага «на себя», а выключение — «от себя». Штурвалы при включении обычно вращают «от себя», а при выключении — «на себя». Педальное управление при рабочей позе стоя осуществляется только в механизмах, требующих эпизодического включения. Включение осуществляется нажатием педали «вниз», а выключение — «вверх». При кнопочном управлении — верхняя кнопка «пуск», а нижняя «стоп».
Пульт бурильщика снабжается табличкой с указанием направления движения каждой кнопки или рычага и выполнения ими функций. Надписи должны быть четкими, хорошо освещаться и легко читаться без изменения рабочей позы оператора. Прогрессивность, мягкость и гибкость — важные качества систем управления. Прогрессивность обеспечивает безударность и мягкость включения за счет того, что полное усилие на органе управления возникает не сразу, а с некоторым запаздыванием, а затем быстро и энергично возрастает до требуемой величины, осуществляя включение без рывков и ударов. Например, в ленточных тормозах, буровых лебедок применяют кулачковые или рычажные механизмы, с помощью которых передаточное отношение изменяется по мере поворота рычага. Это обеспечивает прогрессивное увеличение тормозного усилия.
Быстродействие системы управления — важное качество для таких механизмов, как подъемная система буровых лебедок, выполняющая массовые, часто повторяющиеся операции при СПО. При этом оператор должен всегда знать или видеть, что его команда выполнена точно.
Структурная прочность органов системы управления и их конструкция выполняются такими, чтобы не происходило износа и деформации их элементов в процессе работы, монтажа, демонтажа и транспортировки буровой установки, приводящих к нарушению точности и четкости управления.
Безопасность системы управления обеспечивается хорошим расположением органов управления, легкостью их обслуживания, соблюдением необходимых расстояний, хорошей освещенностью, легкостью и удобством манипулирования. Все это исключает возможность травматизма обслуживающего персонала и порчу оборудования.
ОБОРУДОВАНИЕ ДЛЯ ГЕРМЕТИЗАЦИИ УСТЬЯ СКВАЖИНЫ
В настоящее время при бурении не только разведочных, но и эксплуатационных скважин широко применяется оборудование для герметизации устья скважин. Раньше это оборудование использовали в основном для борьбы с выбросами жидкости и газа при проявлениях высоких давлений в скважине. В связи с применением более легких растворов для бурения давление в скважине в процессе бурения регулируют при помощи превен-торов. Изменились требования к охране окружающей среды и недр земли.
Для герметизации устья скважины используют три вида пре-венторов: плашечные — глухие или проходные для полного перекрытия отверстия или кольцевого пространства, если в скважине находится колонна труб; универсальные — для перекрытия отверстия в скважине, если в ней находится любая часть бурильной колонны: замок, труба, ведущая труба, вращающиеся — для уплотнения устья скважины с вращающейся в ней трубой или ведущей трубой.
Ни плашечные, ни универсальные превенторы не рассчитаны на вращение колонны, если они полностью закрыты.
СХЕМЫ ОБОРУДОВАНИЯ ДЛЯ ГЕРМЕТИЗАЦИИ УСТЬЯ СКВАЖИНЫ

Существует большое разнообразие конструкций скважин и условий бурения, поэтому для обеспечения надежности охраны окружающей среды и недр земли схемы оборудования устья скважин стандартизованы. ГОСТ 13862—80 предусматривает четыре типовых схемы оборудования устья скважин с числом плашечных превенторов от одного до четырех при бурении на суше. Схемы оборудования при установке превенторов на дне моря и большой толще воды значительно сложнее.
В зависимости от ожидаемой интенсивности нефтегазопроявлений в скважине рекомендуются следующие схемы монтажа оборудования для герметизации устья скважины:
двухпревенторная с двумя линиями манифольда (рис.XIII.а);
трехпревенторная с двумя линиями манифольда (рис. XIII.1,6);
трехпревенторная с тремя линиями манифольда (рис. XIII.1,в);
трехпревенторная с четырьями линиями манифольда (рис. XIII.1,г).
Обвязка превенторов — манифольд — предназначена для управления давлением в скважине при нефтегазопроявлениях путем воздействия на пласт закачкой раствора и создания противодавления на него. Манифольд состоит из линий дросселирования и глушения, которые соединяются со стволовой частью оборудования для герметизации и представляют собой систему трубопроводов и арматуры (задвижки и регулируемые дроссели с ручным или гидравлическим управлением, манометры и др.).
Линия глушения соединяется с буровыми насосами и служит для закачки в скважину утяжеленного раствора по межтрубному пространству. При необходимости линия глушения используется для слива газированного бурового раствора в камеру-дегазатор циркуляционной системы буровой установки.
Линия дросселирования служит для слива бурового раствора и отбора флюидов из скважины с противодавлением на пласт, а также для закачки в скважину жидкости с помощью цементировочных агрегатов. В схеме на рис. XIII.1, г, применяемой при бурении скважин с повышенной опасностью нефтегазопроявлений, верхняя линия дросселирования служит резервной.
Манифольды рассчитывают на рабочее давление 21, 35, 70 МПа. В зависимости от конструкций задвижек они бывают двух типов: МП — с клиновыми задвижками и МПП — с прямоточными задвижками. Манифольды типа МП в блочном исполнении шифруются МПВ. В шифре манифольдов цифрами указывается диаметр их проходного отверстия (в мм) и рабочее давление (в МПа). Например, манифольд диаметром 80 мм (принимаемый в настоящее время для всех манифольдов) на давление 35 МПа шифруется МПВ-80Х35.
Манифольды устанавливают на рамах-салазках с телескопическими стойками, позволяющими регулировать высоту их расположения в пределах 0,65—1,25 м в зависимости от положения колонной головки над устьем скважины. Высота расположения головки изменяется после спуска и цементирования каждой обсадной колонны. Высота разъемного желоба устанавливается по расстоянию между фланцевой катушкой и ротором буровой установки.
Как видно из схем на рис. XIII.1, на установках монтируют один или два плашечных превентора. В морских скважинах с устьем на дне моря устанавливают три, а иногда и четыре плашечных превентора, а над ними универсальный превентор. В морских установках монтируют иногда два универсальных превентора. При бурении под давлением над этим превентором располагают вращающийся превентор.
После монтажа линии манифольдов превенторы подвергают гидроиспытаниям под давлением в 1,5 раза превышающим рабочее. Испытания проводят с использованием смазки «Нефте-газ-203» марки В или индустриального масла 12 или 20 по ГОСТ 20799—75 с добавкой 25—30% по объему смазки «Неф-темаз-203» марки Б.
УСТРОЙСТВО И ПРИНЦИП ДЕЙСТВИЯ ПРЕВЕНТОРОВ
Плашечные превенторы
Превентор, выпускаемый ВЗБТ (рис. ХШ.2) состоит из стального литого корпуса 7, к которому на шпильках крепятся крышки / четырех гидравлических цилиндров 2.
В полости А
цилиндра 2
размещен главный поршень 3,
укрепленный на штоке 6.
Внутри поршня размещен вспомогательный поршень 4,
служащий для фиксации плашек 10
в закрытом состоянии отверстия Г
ствола скважины. Для закрытия отверстия плашками жидкость, управляющая их работой, поступает в полость А,
под действием давления которой поршень перемещается слева направо.
Вспомогательный поршень 4 также перемещается вправо, и в конечном положении он нажимает на кольцо-защелку 5 и фиксирует тем самым плашки 10 в закрытом состоянии, что исключает самопроизвольное их открытие. Чтобы открыть отверстие Г ствола, надо передвинуть плашки влево. Для этого управляющая жидкость должна быть подана под давлением в полость В, которая перемещает вспомогательный поршень 4 по штоку 6 влево и открывает защелку 5. Этот поршень, дойдя до упора в главный поршень 3, передвигает его влево, тем самым раскрывая плашки. При этом управляющая жидкость, находящаяся в полости £, выжимается в систему управления.
Плашки 10 превентора могут быть заменены в зависимости от диаметра уплотняемых труб. Торец плашек по окружности уплотняется резиновой манжетой 9, а крышка 1 — прокладкой //. Каждый из превенторов управляется самостоятельно, но обе плашки каждого превентора действуют одновременно. Отверстия 8 в корпусе 7 служат для присоединения превентора к манифольду. Нижним торцом корпус крепится к фланцу устья скважины, а к верхнему его торцу присоединяется универсальный превентор.
Как видно, плашечный превентор с гидравлическим управлением должен иметь две линии управления: одну для управления фиксацией положения плашек, вторую для их перемещения. Превенторы с гидравлическим управлением в основном применяют при бурении на море. В ряде случаев нижний превентор оборудуется плашками со срезающими ножами для перерезания находящейся в скважине колонны труб.
Для бурения на суше применяют в основном однокорпусные плашечные превенторы с двойной системой перемещения плашек: гидравлической и механической без системы гидравлического управления их фиксацией. По конструкции эти превенторы (рис. XIII.3) значительно проще. Такой превентор состоит из корпуса 2,
внутри которого помещаются плашки и крышки с гидроцилиндрами 1 и 5.
Корпус 2
представляет собой стальную отливку коробчатого сечения, имеющую проходное вертикальное отверстие диаметром D
и сквозную горизонтальную прямоугольную полость, в которой размещаются плашки. Перекрывающие устье скважины плашки комплектуются под определенный размер трубы. При отсутствии в скважине бурильных труб устье перекрывается глухими плашками.
Плашки превентора разъемной конструкции состоят из корпуса 9, сменных вкладышей 11 и резинового уплотнения 10. Плашку в собранном виде насаживают на Г-образный паз а штока 7 и вставляют в корпус превентора. Полость корпуса с обеих сторон закрывается откидными крышками гидроцилиндров / и 5, шарнирно подвешенными на корпусе. Крышка к корпусу крепится болтами 4.
Каждая плашка перемещается поршнем 6 гидравлического цилиндра 8. Масло от коллектора 3 по стальным трубкам и через поворотное ниппельное соединение под давлением поступает в гидроцилиндры. Полость плашек превентора в зимнее время (при температуре —5°С и ниже) обогревается паром, подаваемым в паропроводы. Поршень со штоком, крышка и цилиндры уплотняются при помощи резиновых колец.
Универсальные превенторы
Универсальный превентор предназначен для повышения надежности герметизации устья скважины. Его основной рабочий элемент — мощное кольцевое упругое уплотнение, которое при открытом положении превентора позволяет проходить колонне бурильных труб, а при закрытом положении-—сжимается, вследствие чего резиновое уплотнение обжимает трубу (ведущую трубу, замок) и герметизирует кольцевое пространство между бурильной и обсадной колоннами. Эластичность резинового уплотнения позволяет закрывать превентор на трубах различного диаметра, на замках и УБТ. Применение универсальных превенторов дает возможность вращать и расхаживать колонну при герметизированном кольцевом зазоре.
Кольцевое уплотнение сжимается либо в результате непосредственного воздействия гидравлического усилия на уплотняющий элемент, либо вследствие воздействия этого усилия на уплотнение через специальный кольцевой поршень.
Универсальные превенторы со сферическим уплотняющим элементом и с коническим уплотнителем изготовляет ВЗБТ.
Универсальный гидравлический превентор со сферическим уплотнением плунжерного действия (рис. XIII.4) состоит из корпуса 3,
кольцевого плунжера 5
и кольцевого резинометал-лического сферического уплотнителя /. Уплотнитель имеет форму массивного кольца, армированного металлическими вставками двухтаврового сечения для жесткости и снижения износа за счет более равномерного распределения напряжений. Плунжер 5
ступенчатой формы с центральным отверстием. Уплотнитель / фиксируется крышкой 2
и распорным кольцом 4.
Корпус, плунжер и крышка образуют в превенторе две гидравлические камеры А
и Б,
изолированные друг от друга манжетами плунжера.
При подаче рабочей жидкости под плунжер 5 через отверстие в корпусе превентора плунжер перемещается вверх и обжимает по сфере уплотнение / так, что оно расширяется к центру и обжимает трубу, находящуюся внутри кольцевого уплотнения. При этом давление бурового раствора в скважине будет действовать на плунжер и поджимать уплотнитель. Если в скважине нет колонны, уплотнитель полностью перекрывает отверстие. Верхняя камера Б служит для открытия превентора. При нагнетании в нее масла плунжер движется вниз, вытесняя жидкость из камеры А в сливную линию. Уплотнитель расширяется и принимает прежнюю форму.
Кольцевой уплотнитель позволяет:
протаскивать колонны общей длиной до 2000 м с замками или муфтами с конусными фасками под углом 18°;
расхаживать и проворачивать колонны;
многократно открывать и закрывать превентор.
Конструкция превентора допускает замену уплотнителя без его демонтажа. Управление универсальным превентором может осуществляться либо с помощью ручного плунжерного насоса, либо с помощью насоса с электроприводом. Время закрытия универсального превентора гидроприводом 10 с.
Вращающиеся превенторы

Вращающийся превентор применяется для герметизации устья скважины в процессе ее бурения при вращении и расхаживании бурильной колонны, а также при СПО и повышенном давлении в скважине. Этот превентор уплотняет ведущую трубу, замок или бурильные трубы, он позволяет поднимать, спускать или вращать бурильную колонну, бурить с обратной промывкой, с аэрированными растворами, с продувкой газообразным агентом, с равновесной системой гидростатического давления на пласт, опробовать пласты в процессе газопроявлений.
Основной элемент вращающегося превентора (рис. ХШ.5) — уплотнитель 2, позволяющий протаскивать инструмент через его отверстие. Уплотнитель состоит из металлического основания и резиновой части, прикреплен к стволу 4 при помощи байонетного соединения и болтов. От проворачивания его предохраняют шпоночные выступы, входящие в вырезы ствола.
В патроне 7 превентора на двух радиальных 5 и одном упорном 6 подшипниках качения смонтирован ствол 4. Манжетные уплотнения 3 служат для предохранения превентора от попадания в него жидкости из скважины между стволом, корпусом и патроном. Фиксация патрона 7 в корпусе / осуществляется защелкой 9, которая открывается под давлением масла, подаваемого ручным насосом через штуцер 8.
