| Похожие рефераты | Скачать .docx |
Реферат: Приборы радиационной разведки
План
Введение. 2
Классификация и принцип устройства приборов радиационной разведки.. 4
Измерители мощности дозы (рентгенметры). 5
Народнохозяйственные приборы, используемые в ГО.. 10
Приборы контроля облучения. 11
Заключение. 14
Список использованной литературы.. 15
В случае применения противником ядерного и химического оружия, а также при авариях на предприятиях атомной и химической промышленности радиоактивному заражению подвергнутся воздух, местность и расположенные на ней сооружения, техника, имущество.
Ситуация, создавшаяся в результате радиоактивного заражения местности, называется соответственно радиационной. Онa характеризуется масштабами и характером радиоактивного заражения и может оказать существенное влияние на производственную деятельность объектов народного хозяйства, действия невоенизированных формирований, жизнедеятельность населения.
Опасность поражения людей, сельскохозяйственных животных, растений требует быстрого выявления и оценки радиационной обстановки и учета ее влияния на ведение спасательных работ.
Радиационная обстановка может быть выявлена и оценена методом прогнозирования. Это так называемая предполагаемая, или прогнозируемая, обстановка.
Прогнозирование осуществляется на основе установленных закономерностей: масштабов и характера радиоактивного заражения местности, от мощности и вида ядерного взрыва, вида 0В и средств его доставки, а так же от метеорологических условий.
Поскольку процесс формирования зон радиоактивного заражения длится несколько часов, это позволяет использовать данные прогноза для организации ряда мероприятий по защите населения, личного состава формирований, сельскохозяйственных животных и ориентировочной оценки последствий заражения. Исходные данные для осуществления прогнозирования на объекте получают, как правило, от вышестоящих штабов ГО.
С другой стороны, знание радиационной обстановки может основываться на данных разведки. Выявление фактической радиационной обстановки включает сбор и обработку данных о радиоактивном заражении и нанесение по этим данным зон заражения на карту местности или план объекта.
Окончательное решение на ведение спасательных работ и установление режимов работы объекта в условиях радиоактивного или химического заражения принимается, как правило, после выявления и оценки фактической радиационной или химической обстановки, Поэтому выявление обстановки, сбор и обработка данных разведки являются важнейшими задачами штаба, служб и командиров формирований ГО.
На объектах (в городском и сельском районах) выявление фактической радиационной обстановки производится постами радиационного и химического наблюдения (ПРХН), звеньями и группами радиационной и химической разведки, разведчиками-дозиметристами—химиками формирований ГО. На территории животноводческих ферм и комплексов разведка возлагается на химиков-дозиметристов звена обеспечения КЗЖ или звено ветеринарной разведки районной станции по борьбе с болезнями сельскохозяйственных животных.
Разведывательные формирования оснащаются средствами радиационной и химической разведки. Для успешного выполнения задач по ведению разведки личный состав формирований должен хорошо знать основы дозиметрии, устройство и принцип действия приборов разведки, уметь правильно ими пользоваться, содержать в постоянной готовности и бережно их хранить.
Классификация и принцип устройства приборов
радиационной разведки
В оснащение формирований ГО входят табельные приборы радиационной разведки, контроля облучения и заражения ДП-5В (ДП-5А, ДП-5Б), являющиеся измерителями мощности дозы (уровня радиации и степени радиоактивной зараженности); ДП-22В, ДП-24, ИД-1, ИД-11, представляющие собой комплекты индивидуальных дозиметров, предназначенных для определения (контроля )доз облучения.
При недостаточном их количестве или выходе из строя можно использовать сохранившиеся на объектах устаревшие приборы ДП-63, ДП-63А, ДП-64 (индикаторы), ДП-2 (рентгенметр), ДП-12 (радиометр), а также приборы, выпускающиеся для нужд народного хозяйства, например CPI1-68-01, РКБ4-1еМ и другие, используемые в атомной промышленности, геологии и других отраслях народного хозяйства.
Почти все современные дозиметрические приборы работают на основе ионизационного метода. Сущность его заключается в том, что под воздействием ядерных излучений в изолированном объеме происходит ионизация газа: электрически нейтральные атомы (молекулы) газа разделяются на положительные и отрицательные ионы. Если в этот объем поместить два электрода, к которым приложено постоянное напряжение, то между электродами создается электрическое поле. В результате в ионизированном газе возникает направленное движение заряженных частиц, т. е. через газ проходит электрический ток, называемый ионизационным током. Измеряя его величину, можно судить об интенсивности радиоактивных излучений.
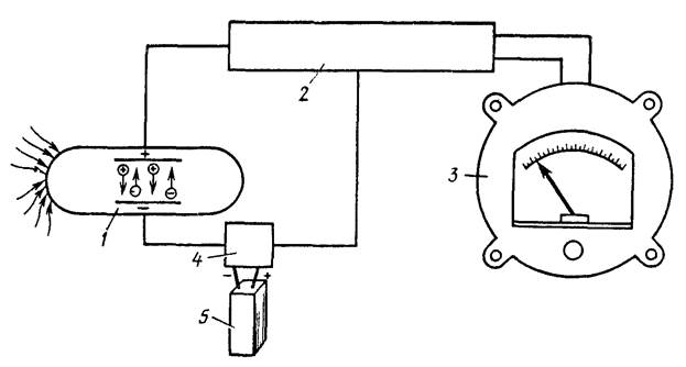
Практически этот метод воплощен в виде специальных устройств—ионизационной камеры и газоразрядного счетчика. Приборы, работающие на основе ионизационного метода, устроены в принципе одинаково и включают воспринимающее /, усилительное 2 , измерительное 3 устройства, блок питания 4 и источники питания 5 (рис. 1).
Воспринимающее устройство /—детектор излучений (датчик)—предназначено для преобразования воздействующей на него энергии радиоактивных излучений в электрическую. В качестве воспринимающего устройства в полевых приборах применяют ионизационные камеры или газоразрядные счетчики.
Усилительное устройство 2 предназначено для усиления слабых сигналов, вырабатываемых воспринимающим устройством до уровня, достаточною для рабо1ы измерительного устройства. В качестве усилительного устройства применяют электрометрические лампы.
Измерительное устройство 3 служит для измерения сигналов, вырабатываемых воспринимающим устройством. Шкалы приборов градуированы непосредственно в единицах тех величин, для измерения которых предназначен прибор.
В блоке питания 4 напряжение источников питания преобразуется в постоянное высокое напряжение, необходимое для работы газоразрядных счетчиков.

Рис. 1. Блок-схема устройства дозиметрических приборов
В качестве источников питания 5 , обеспечивающих работу прибора, используют сухие элементы или аккумуляторы.
Измерители мощности дозы (рентгенметры)
В настоящее время основным прибором радиационной разведки, поступающим на снабжение невоенизированных формирований ГО, является измеритель мощности дозы (рентгенметр) ДП-5В.
Назначение прибора Д11-5В. Прибор предназначен для измерения уровней гамма-радиации и радиоактивной зараженности различных предметов по гамма-излучению. Мощность экспозиционной дозы гамма-излучения определяется в миллирентгенах в час (мР/ч) или рентгенах в час (Р/ч) для той точки пространства, в которой помещен при измерениях блок детектирования прибора. Кроме того, имеется возможность обнаружения бета-излучения. Техническое описание и инструкция по эксплуатации, а также принципиальная схема прилагаются к каждому прибор) и изучаются в средней школе.
Подготовка прибора к работе. Перед работой прибор необходимо:
1) извлечь из укладочного ящика и произвести внешний осмотр на отсутствие механических повреждений;
2) установить или заменить источники питания (три элемента КБ-1), если прибор подготавливается к работе впервые или после долгого перерыва. Крышка отсека питания крепится к основанию невыпадающим винтом. При питании прибора от постоянных источников постоянною тока, например аккумуляторов транспортных средств, пользуются делителем напряжения, который вставляют в отсек питаний вместо элементов, установив подвижные пружинные контакты в положение, соответствующее напряжению используемого аккумулятора (12 или 24 вольта);

Рис. 2. Измеритель мощности дозы ДП-5В
3) пристегнуть к футляру поясной и плечевой ремни;
4) извлечь из нижнего гнезда футляра блок детектирования (зонд) и присоединить штангу, которая используется как ручка;
5) включить освещение шкалы (при необходимости);
6) поставить ручку переключателя на черный треугольник. Стрелка прибора должна установиться в режимном секторе (жирной черте на шкале между цифрами 2 и 3). Если стрелка микро-амперметра не отклоняется или не устанавливается на режимном секторе, необходимо проверить годность источников питания;
7) поочередно устанавливая ручку переключателя поддиапазонов в положения Х 1000, Х 100, Х 10, X 1, Х 0,1, проверить работоспособность прибора на всех поддиапазонах, кроме первого, с помощью контрольного источника, укрепленного на поворотном экране зонда, для чего установить экран в положение «К» и подключить телефон, вставив его вилку в гнездо прибора. Работоспособность проверяют по щелчкам в телефоне. При этом стрелка микроамперметра должна зашкаливать на 6-м и 5-м поддиапазонах, отклоняться на 4-м, а на 3-м и 2-м может не отклоняться из-за малой активности контрольного источника. Сравнить показания прибора на 4-м поддиапазоне с показанием, записанным в формуляре при последней проверке прибора проверочными органами. Нажать кнопку «сброс», при этом стрелка должна установиться на нулевой отметке шкалы;
8) повернуть экран в положение «Г», а ручку переключателя поддиапазонов в положение «режим» (черный треугольник). Прибор готов к работе.
Проведение измерений. Измерение уровня радиации производится на высоте 1 м, т. е. на уровне основных жизненных центров человека («критических органов»). Для определения мощности дозы гамма-излучений (уровня радиации) необходимо: поставить экран зонда в положение «Г», переключатель поддиапазонов—в положение 200 и через 15 с произвести отсчет по стрелке прибора на нижней шкале. Полученный отсчет указывает на величину гамма-излучения в рентгенах в час. Если стрелка прибора отклоняется незначительно (в пределах 0—5 Р/ч), го измерение следует производить на более чувствительном поддиаяазоне.
В этом случае переключатель поддиапазонов переводится в положение Х1000 или Х100 (в зависимости от отклонений стрелки). Отсчет производится по верхней шкале через 15 с при измерениях на поддиапазоне Х1000 и через 40 с при измерениях на поддиапазоне Х100. При измерениях на более чувствительных поддиапазонах—Х10, х1, Х0,1 продолжительность измерений 60 с. Значение отсчета по шкале, умноженное на коэффициент поддиапазона, соответствует измеренной мощности дозы гамма-излучения (мР/ч).
Если при измерениях на каком-либо поддиапазоне прибор зашкаливает (стрелка уходит в крайнее правое положение), то переходят на более грубый поддиапазон измерения.
При измерениях следует избегать отсчетов при крайних положениях стрелки (в начале или конце шкалы). При длительной работе необходимо через каждые 30—40 мин проверять режим работы прибора.
Для повышения точности измерения детектор (зонд) прибора ориентируется в пространстве так, чтобы его ось, соответствующая максимальной чувствительности, была параллельна земле.
Определение заражения радиоактивными веществами поверхности тела, одежды, шерстного покрова животных и других объектов может производиться в том случае, если внешний гамма-фон не превышает предельно допустимого заражения данного объекта более чем в 3 раза. Гамма-фон измеряется на расстоянии 15—20 м. от исследуемого объекта (зонд на расстоянии 1 м. от земли).
Зараженность поверхности объекта измеряется на всех поддиапазонах, кроме 200.
Для измерения степени зараженности зонд с экраном в положении «Г» необходимо поднести опорными точками к поверхности объекта и, медленно перемещая его над ней, определить место максимального заражения по наибольшей частоте щелчков или максимальному показанию микроамперметра и снять показания прибора. Из этого показания вычитают величину гамма-фона и получают действительную степень зараженности объекта. Если показания прибора при обоих измерениях одинаковы, значит объект не заражен.
Для обнаружения бета-излучений на зараженном объекте необходимо установить экран зонда в положение «Б». Увеличение показаний прибора на одном и том же поддиапазоне по сравнению с показателями по гамма-излучению (экран зонда в положении «Г») будет свидетельствовать о наличии бета-излучения, а следовательно, о заражении обследуемого объекта бета-, гамма-радиоактивными веществами, что повышав степень опасности зараженного объекта при контакте с ним. Обнаружение бета-излучений необходимо также и для того, чтобы определить, на какой стороне брезентовых тентов, кузовов автомашин, стенок тарных ящиков и кухонных емкостей, стен и парегородок сооружений находятся продукты ядерного взрыва или других источников радиоактивного загрязнения.
Для измерения зараженности жидких и сыпучих веществ на зонд надевается чехол из полиэтиленовой пленки для предохранения датчика от загрязнения радиоактивными веществами.
Практически определить предельно допустимые дозы заражения воды, продовольствия и кормов в зонах радиоактивного заражения на следе взрыва (где минимальный уровень ратании 0,5 Р/ч) нельзя. Поэтому разведчики должны в зонах заражения отобрать пробы воды, продовольствия и фуража согласно имеющимся инструкциям и измерить зараженность в защитных сооружениях, существенно снижающих гамма-фон.
Для удобства работы при измерении зараженности различных объектов используется удлинительная штанга. Она же позволяет при необходимости увеличить расстояние от дозиметриста до контролируемого объекта.
Основные правила обращения с приборам. При обращении с прибором необходимо придерживаться следующих правил:
1) содержать в чистоте;
2) оберегать от ударов и тряски;
3) защищать от прямых солнечных лучей, сильного дождя и мороза;
4) выключать в перерывах между работой;
5) следить за наличием смазки в резьбе корпуса зонда;
6) не перегибать слишком сильно кабель зонда;
7) не прилагать больших усилий при вращении ручек потенциометра и переключателей;
8) после работы под дождем пульт и зонд протирать промасленной тряпкой;
9) раз в 2 года проводить градуировку и настройку прибора. Отправку приборов на градуировку необходимо вести по графикам, утвержденным начальником ГО. Внеплановая градуировка и настройка прибора производится при смене счетчиков, стабилизаторов или при замене других деталей, резко изменяющих параметры прибора;
10) после работы в зонах с высоким уровнем радиации производить дезактивацию прибора. Поверхность прибора тщательно протирают влажной тряпкой или тампонами, чтобы снять пыль. Использованные тряпки и тампоны выбрасывают в специальную тару или ящик.
Основные различия в модификациях измерителей мощности дозы типов ДП - 5А, ДП - 5В и ДП - 5В. Назначение и принцип действия всех модификаций измерителя мощности дозы (рентгенометра) ДП-5 одни и те же, различие между ними состоит в основном в конструктивном исполнении и частично в электрической схеме.
Прибор ДП-5А конструктивно отличается от ДП-5В следующим:
1) в корпусе прибора (измерительном пульте) размещен дополнительный газоразрядный счетчик типа СИ-ЗБГ, используемый при работе на поддиапазоне 200. Поэтому при работе на этом поддиапазоне измерение уровня радиации производится самим пультом (в 1 м от земли). Счетчики, расположенные в зонде, при этом отключаются;
2) контрольный препарат укреплен на внутренней стороне крышки футляра и прикрыт крышкой, которую при проверке прибора сдвигают в сторону. Поворотный экран зонда имеет не три, а два рабочих положения: «Г» и «Б»;
3) у зонда имеется короткая отстегивающаяся ручка;
4) на измерительном пульте имеется дополнительная ручка потенциометра «режим». При подготовке прибора к работе после установки переключателя поддиапазонов в положение «режим» этой ручкой стрелка прибора выводится на черный треугольник на шкале;
5) делитель напряжения предназначен для использования внешних источников постоянного тока напряжением 3, 6 и 12 вольт;
6) крышка отсека источников питания крепится четырьмя винтами с применением отвертки;
7) в таблице на крышке футляра даны устаревшие в настоящее время предельно допустимые уровни радиоактивного заражения некоторых объектов.
Прибор ДП-5Б сходен с ДП-5А, отличаясь от него креплением крышки отсека питания, фиксацией удлинительной штанги к зонду и данными в табличке величин допустимого загрязнения объектов контроля, которые аналогичны прибору ДП-5В.
Кроме того, приборы ДП-5А и ДП-5Б изготовлены из более хрупкого материала, чем ДП-5В, и требуют более осторожного обращения.
Народнохозяйственные приборы, используемые в ГО
Сцинтилляционный радиометр поисковый СРП-68-01 предназначен для поиска радиоактивных руд по их гамма-излучению и для радиометрической съемки местности (рис. 3).

Рис. 3. Сцинтилляционный радиометр поисковый СРП-68-01
В период ликвидации последствий аварии на Чернобыльской АЭС он использовался для ведения радиационной разведки, определения степени зараженности животных, продуктов растительного и животного происхождения, кормов и воды. Прибор сохраняет работоспособность в интервале температур от —20 до +50 °С и относительной влажности до 90% при температуре 30 °С.
СРП-68-01 позволяет проводить измерение мощности экспозиционной дозы гамма-излучения в пределах от 0 до 3000 мкР/ч (3 мР/ч). Степень радиоактивной загрязненности измеряют в пределах от 0 до 10000 имп/с.
Время установления рабочего режима не .превышает 1 мин. Прибор допускает непрерывную работу в течение 8 ч. Отклонение показаний не более ±10%. Комплект питания включает девять элементов типа 343 (12 В). Масса рабочего комплекта 3,6 кг, в укладочном ящике 9,5 кг.
Прибор состоит из пульта (РПГ4-01), блока детектирования (БДГ4-01), комплекта запасных частей, инструмента, документации и укладочного ящика.
Бета-радиометр РКБ4-1еМ предназначен для экспрессных измерений удельной (объемной) бета-активности воды, почвы, растительности, пищевых продуктов. Прибор может быть использован в ветеринарных лабораториях, санэпидемстанциях. Состоит из пульта, блоков детектирования БДЖБ-02 и БДЖБ-07, блока питания, соединительного кабеля, комплекта ЗИП. Диапазон измерений от 5 •10-5 мкКи/кг(л) до 0,5 мКи/кт(л). Время измерения 35 мин. Рабочий диапазон температур от 4 до 40 °С. Напряжение питания 220 В.
Комплект индивидуальных дозиметров ДП-22В (рис. 4) предназначен для измерения индивидуальных доз гамма-излучения в диапазоне от 2 до 50 Р при изменении мощности дозы от 0,5 до 200 Р/ч. Погрешность измерений ±10%. Саморазряд не превышает 4 Р/сут. Работа дозиметров обеспечивается в интервале температур от —40 до +50 °С, относительной влажности воздуха 98%. В комплект ДП-22В входят 50 прямопоказывающих дозиметров ДКП-50-А, зарядное устройство ЗД-5, футляр, техническая документация.

Рис. 4. Комплекты индивидуальных дозиметров ДП-22В (а) и ДП-24 (б):
/- зарядное устройство. 2 --дозиметры: 3 - ручка потенциометра. 4 - крышка отсека питания. 5 -зарядное гнездо. 6 – колпачок.
Подготовка комплекта к действию состоит из внешнего осмотра, проверки комплектности и зарядки дозиметров ДКП-50-А. При осмотре выявляют их техническую исправность.
Для подготовки дозиметра ДКП-50-А к работе отвинчивают пылезащитный колпачок (защитная оправка) дозиметра и колпачок гнезда «заряд» на зарядном устройстве. Ручку «заряд» Выводят против часовой стрелки, дозиметр вставляют в гнездо, упираясь в его дно, при этом внизу гнезда зажигается лампочка, освещающая шкалу дозиметра. Оператор, наблюдая в окуляр и вращая ручку «заряд» по часовой стрелке, устанавливая изображение нити на нулевую отметку шкалы дозиметра, вынимает дозиметр из гнезда и навинчивает защитный колпачок. Затем дозиметры выдают личному составу формирований, работающих в зоне радиоактивного заражения.
После возвращения из очага снимают показания дозиметра и заносят в журнал учета облучения личного состава (все дозиметры пронумерованы и могут закрепляться за отдельными членами формирований).
В нерабочем состоянии дозиметры должны храниться заряженными в сухом помещении при температуре 20°С в вертикальном положении.
Комплект дозиметров ДП-24 состоит из зарядного устройства ЗД-5 и пяти дозиметров ДКП-50-А. Комплект предназначен для небольших формирований и учреждений ГО. Подготовка и использование прибора аналогичны ДП-22В.
Комплект измерителя дозы ИД-1предназначен для измерения поглощенных доз гамма-нейтронного излучения в интервале температур от —50 до +50 °С и относительной влажности до 98%. Дозиметр обеспечивает измерение поглощенных доз гамма-нейтронного излучения в диапазоне от 20 до 500 рад с мощностью дозы от 10 до 366000 рад/ч.
Саморазряд дозиметра при 20°С, атмосферном давлении 100 кПа, относительной влажности 65% не превышает за 24 ч одно деление, за 150 ч два деления.
Отсчет измеряемых доз производится по шкале, расположенной внутри дозиметра и наблюдаемой на свет через окуляр. Зарядка дозиметров производится от зарядного устройства ЗД-6. В комплект, кроме зарядного устройства, входят 10 дозиметров и инструкция, вложенные в футляр.
Принцип работы зарядного устройства основан на следующем: при вращении ручки по часовой стрелке рычажный механизм создает давление на пьезоэлементы, которые, деформируясь, образуют на торцах разность потенциалов, приложенную таким образом, чтобы по центральному стержню зарядного гнезда подавался плюс на центральный электрод ионизационной камеры дозиметра, а по корпусу—минус на внешний электрод ионизационной камеры.
Для приведения дозиметра в рабочее состояние его следует зарядить. Для этого надо повернуть ручку зарядного устройства против часовой стрелки до упора, вставить дозиметр в зарядно-контактное гнездо зарядного устройства; направить зарядное устройство зеркалом на внешний источник света и добиться максимального освещения шкалы поворотом зеркала; нажать на дозиметр и, наблюдая в окуляр, поворачивать ручку зарядного устройства по часовой стрелке до тех пор, пока изображение нити на шкале дозиметра не установится на 0, после этого вынуть дозиметр из гнезда, проверить положение нити на свет (при вертикальном положении нити ее изображение должно быть на 0).
Дозиметр во время работы в поле действия ионизирующих излучений носят в кармане одежды. Периодически наблюдая в окуляр дозиметра, определяют по положению изображения нити на шкале дозиметра дозу гамма-нейтронного излучения, полученную во время работы.
При эксплуатации для предупреждения механических повреждений необходимо оберегать комплект от толчков, ударов, падений. При перевозке приборы должны находиться в футляре и располагаться по возможности в передней части кузова. При работе защищать комплект от загрязнений и погодных условий (дождя, снега, прямых солнечных лучей и т. п.). После работы с комплектом необходимо его техническое обслуживание.
Индивидуальный измеритель дозы ИД-II предназначен для индивидуального контроля облучения людей с целью первичной диагностики радиационных поражений. В комплект входит 500 индивидуальных измерителей дозы ПД-11, расположенных в пяти укладочных ящиках, измерительное устройство ИУ в укладочном ящике, два кабеля питания, техническая документация, ЗИП, градуировочный ГР и перегрузочный ПР детекторы. Масса комплекта 36 кг. Индивидуальный измеритель дозы обеспечивает измерение поглощенной дозы гамма- и смешанного гамма-нейтронного излучения в диапазоне от 10 до 1500 рад. Доза облучения суммируется при периодическом облучении и сохраняется в дозиметре в течение 12 месяцем Масса ИД-11 25 г.
Основная задача дозиметрии в гражданской обороне — выявление и оценка степени опасности ионизирующих излучений для населения, войск и невоенизированных формирований ГО в целях обеспечения целесообразных действий в различных условиях радиационной обстановки.
С ее помощью осуществляются обнаружение и измерение радиоактивного излучения (уровня радиации) для решения задач по обеспечению жизнеспособности населения и успешному проведению спасательных и неотложных аварийно-восстановительных работ в очагах поражения; измерение степени зараженности различных объектов для определения необходимости и полноты проведения дезактивации и санитарной обработки, а также определения пригодности зараженных продуктов, воды и кормов к потреблению; измерение доз облучения в целях ограничения переоблучения и определения работо- и жизнеспособности населения и отдельных людей в радиационном отношении; лабораторное измерение степени зараженности РВ продуктов питания, воды. кормов.
Список использованной литератур ы
- «Наставление по организации и ведению гражданской обороны на объектах народного хозяйства».Воениздат,1990г.
- Акимов Н.И, Ильин В.Г. Гражданская оборона на объектах сельскохозяйственного производства. М.: «Колос», 1984.
- Атаманюк В.Г. и др. «Гражданская оборона». М.: «Правда», 1986.
- Баленко Е.Д. «Лекции по гражданской обороне».Досааф,1989г.
- Гражданская оборона на объектах агропромышленного комплекса. Под редакцией Николаева Н.С., Дмитриева М.И. М.: ВО «Агропромиздат», 1990.
Похожие рефераты:
90 шпаргалок по БЖД 1 курс (1-2 семестр)
Приборы радиационной и химической разведки
Приборы радиационной и химической разведки
Приборы радиационной и химической разведки
Радиационная безопасность при эксплуатации и ремонте оборудования Курской АЭС
Порядок переработки животных в условиях чрезвычайных ситуаций
Таможенный контроль делящихся и радиоактивных материалов
Комплекты медицинского имущества и оснащение этапов медицинской эвакуации
Захист довкілля від іонізуючого випромінювання
Теория безопасности жизнедеятельности