| Скачать .docx |
Курсовая работа: Курсовая работа: Проект комплексної механізації лінії ветеринарно-санітарної обробки тварин на відгодівельній фермі великої рогатої худоби
Міністерство аграрної політики України
Дніпропетровський державний аграрний університет
Кафедра «Механізації виробничих процесів у тваринництві»
Пояснювальна записка
на тему:
«Проект комплексної механізації лінії ветеринарно-санітарної обробки тварин на відгодівельній фермі великої рогатої худоби»
Дніпропетровськ 2009
В СТУП
Головна задача агропромислового комплексу – вирішення продовольчої проблеми, інакше надійне забезпечення населення держави продуктами харчування. Україна має усі необхідні умови для ефективного розвитку сільського господарства.
На першому плані ще залишається інтенсифікація виробництва на базі комплексної механізації, меліорації та хімізування земель в науково – об основаних нормах.
Серед усіх ланок сільського господарства основне значення має тваринництво. Найважливіший фактор індустріалізації тваринництва – подальше покращення технічного оснащення ферм та підвищення енергооснащення праці.
Для усіх ланок сільського господарства створено та постійно розширюється „Система машин”. Практичне використання її дозволяє: закінчити комплексну механізацію та автоматизацію працеємких процесів в тваринництві та птахівництві і ввести прогресивні технології, забезпечуючи підвищення продуктивності тварин, економне використання кормів, енергоресурсів; підвищити умови праці, зберегти та підвищити параметри навколишнього середовища;продовжити подальший розвиток спеціалізації та концентрації виробництва продукції тваринництва та інше.
Ефективність виробництва продукції тваринництва в значній мірі залежить від того, на скільки надійна антиінфекційна та проти зараження до хвороб ланки господарства, що в більшості визначає високу якість отримуємих продуктів. Особливе значення для промислового тваринництва має точне та своєчасне виконання комплексу ветеринарно – санітарних робіт, забезпечуючи надійну профілактику зараження інфекційними та іншими хворобами на тваринницьких фермах, швидку ліквідацію центрів захворювань у випадку їх появи.
Для забезпечення високого стану ферм, скорочення втрат у тваринництві систематично очищують та дезінфікують виробничі приміщення, обладнання, обробляють тварин розчинами, емульсіями, імунними засобами. Великий об’єм робіт потрібен для проведення дезінфекції, дезінвації та дератизації в тваринницьких приміщеннях.
В даному курсовому проекті особливу увагу приділяють проведенню ветеринарно – санітарних робіт.
1 РОЗРАХУНОК ПРОЕКТУЄМОЇ ФЕРМИ
1.1 Розрахунок структури стада
Приймаємо наступну технологію виробництва м’яса: на ферму завозять телят 15...20 денного віку масою 45 кг. У перший період утримання (115 днів) вирощують телят, доводячи їх живу масу до 128 кг. По завершенню першого періоду (вирощування) тварин переводять в сектор дорощування та відгодівлі. Тут молодняк утримується 277 днів до завершення відгодівлі та досягнення кожної тварини середньої живої маси 450 кг. Таким чином, загальна тривалість вирощування та відгодівлі складає 392 дні [3].
Виходячи з цього знаходимо добовий приріст:
- телят: Gm = ![]()
- молодняку: Gm =![]()
Приймаємо середній приріст однієї тварини Gтв=![]()
Визначаємо поголів’я тварин за формулою [2] :
Птв=
(1.1)
Де В-річне виробництво м’яса, по завданню В=2500т;
Gтв – добовий приріст однієї тварини, Gтв=1,08![]()
D – кількість днів відгодівлі ВРХ до 400…450 кг,
D=392дн [3] ;
К – коефіцієнт, враховуючий нерівномірність прирісту тварин, приймаємо
К=0,95 [2].
Знаходимо поголів’я тварин :
Птв =![]()
Перевіряємо загальне поголів’я ВРХ на фермі, використовуючи дані [3], де по типовому проекту ТП801-376 річне виробництво м’яса Вm = 4830 m, а ємкість комплексу Пm=12000гол (скотомісць).
Тоді для виробництва В=2500mм’яса необхідне поголів’я тварин, присутніх одночасно на комплексі
Птв =
(1.2)
Тому приймаємо поголів’я тварин п=6215гол., з них телята до 4…6 місяців 30% [3].
Пm=
(1.3)
Молодняк на дорощування та відгодівлю
Пm=6215 – 1865 = 4350 гол
Поголів’я молодняку поділяємо по рекомендаціям [2] :
- молодняк на дорощування від 6 до 14 місяців – 70% ;
- молодняк на відгодівлю від 14 до 16 місяців – 30% ;
Тоді: Пдор=
.,
Пвід=
.,
Отримана структура стада
телята – 1865гол,
молодняк, взагалі – 4350гол,
в тому числі:
на дорощування – 3045гол.,
на відгодівлю – 1305гол.
Взагалі – 6215гол.
1 .2 Визначення кількості ферм
Необхідна кількість ферм визначається за формулою :
N=
,ферм (1.4)
Де nтип-ємкість типової ферми, гол.
Приймаємо ємкість типової ферми на nтип=3000 гол ВРХ та знаходимо кількість ферм
Nф=
ферми
Отримане поголів’я тварин розміщуємо на двох фермах в табл. 1.1.
| Група тварин | Ферма | Взагалі тварин |
|
| 1 | 2 | ||
Телята молодняк, в тому числі на відгодівлю Взагалі |
900 2100 (630) 3000 |
965 2250 (675) 3215 |
1865 4350 (1305) 6215 |
Наступний розрахунок проектуємої ферми проводимо по даним ферми
1.3 Визначення кількості та виду приміщення, будівель та споруд
1.3.1 Кількість та види приміщень для утримання тварин
Необхідна кількість приміщень визначаємо за формулою:
Nп=
, приміщ.
Де
- поголів’я і – ої групи тварин, гол;
- ємкість типового приміщення для і – ої групи тварин, гол.
Дорощування, відгодівля молодняку ВРХ мудріше організовувати при безприв’язному утримуванні, а вирощування телят – групове в клітках.
Приймаємо для утримання телят телятник ТП801-203 ємкістю Nтип = 500голів розмірами 72х18 метрів [1], кількість телятників:
Nm =
телятника
Приймаємо для утримання молодняку приміщення ТП801-236 ємкістю nтип = 500 голів розмірами 72х18м [1], кількість приміщень для молодняку
Nm=
,2 приміщення
Отриману кількість приміщень використовуємо для розробки генерального плану, а їх розміри для санітарно – ветеринарної обробки приміщень.
1.3.2 Водопостачання ферми
Метою розрахунку є визначення кількості водонапірних башт, виходячи з добової витрати води.
Об’єм баку водонапірної башти визначаємо за формулою [1]:
V=Vp+Vab+Vn,
(1.6)
Де Vp – робочій (регулюємий) об’єм баку;
Vab – аварійний запас води;
Vn – протипожежний запас води.
Регулюємий об’єм баку визначаємо приблизно, використовуючи формулу [1]:
Vp=(0,15…0,3)Qдоб.mах,
(1.7)
Де Qдоб.mах – максимальна добова витрата води на фермі, яка дорівнює
Qдоб.mах=
доб
Q,
/добу (1.8)
Де
доб. – коефіцієнт нерівномірності добової витрати води,
доб. = 1,3;
Qдоб. – добова витрата води на фемі,
; яка дорівнює
Qдоб =
,
/добу (1.9)
Де Qi – добова норма витрати води однією твариною, приймаємо для телят Qm = 0,02
/добу; для молодняку Qm = 0,03
/добу.
Знаходимо:
- добова витрата води
Qдоб = 0,02
900+0,03
2100 = 81
/добу
- добова максимальна витрата води
Qдоб.max = 1,3
81 = 105,3
/добу.
Тоді регулюємо об’єм баку
Vp = 0,2
105,3 = 21,1
.
Аварійний запас води приймаємо з розрахунку вимушеної зупинки насосної станції для ремонту можливих поламок на протязі t = 2г за формулою [ 1 ]:
Vab = t
Qг max,
(1.10)
Де Qг max – максимальна годинна витрата води,
/г, дорівнює
Qг max = ![]()
/г (1.11)
Де
- коефіцієнт годинної нерівномірності витрат води,
= 2,5
Знаходимо
Vab = 2
11 = 22 ![]()
В водонапірній башті рекомендовано мати протипожежний об’єм води з розрахунком на 10 хв гасіння пожежі, який знаходимо по формулі [ 1].
Vn =
, ![]()
Де
- час гасіння пожежі до прибуття пожежної охорони,
= 10 хв = 600 с;
q – витрати води при пожежі, q = 0,01
/с
Знаходимо:
Vn = 600
0,01 = 6 ![]()
В ітозі по вище проведеній формулі об’єм баку водонапірної башти
V = 21,1 + 22 +6 = 49,1 ![]()
Приймаємо одну водонапірну башту БР-50 з об’ємом баку 50 ![]()
1.3.3 Розрахунок кормосховищ
Річну потребу в кормах визначаємо за формулою [2]
Pp =
(1.13)
Де
,
- літня та зимова норми використання кормів, кг/добу;
=155дн,
= 210дн – тривалість літнього та зимового періодів годування;
K – коефіцієнт, враховуючий втрати кормів при транспортуванні та зберіганні; для силосу Kсил = 1.1;
Для зеленої маси Kзел = 1,05; для коренеплодів Ккор = 1,03;
Для кону кормів Kкон = 1,01 [2]
Для точного розрахунку кормів в табл. 2.2. приводимо раціони годування тварин: молодняку на відгодівлю Пвід = 630 гол, молодняку на дорощування Пдор = 1470 гол , телят на вирощування Пт = 900 голів
Таблиця. 1.2
| Вид корму | Молодняк на відгодівлю – 630 гол | Молодняк на дорощування – 1470 гол | Телят 900 гол | |||
| Влітку(155дн) | Взимку(210дн) | Влітку | Взимку | Влітку | Взимку | |
| Силос | 5 | 4 | 2 | |||
| Сіно,солома | 4 | 4 | 3 | 3 | 0,5 | 0,5 |
| Зелені корми | 11 | 7 | 4 | |||
| Коренеплоди | 6 | 3 | 2 | |||
| Конц.корми | 5 | 5 | 2 | 2 | 1,5 | 1,5 |
| взагалі | 20 | 20 | 12 | 12 | 6 | 6 |
Знаходимо річну потребу:
- в силосі
Pсил = (5
630 + 4
1470 + 2
900)
210
1,1 ![]()
= 2502 т
- в соломі, сіні
Pс.с. = (4
630 + 3
1470 + 0,5
900)
365
1,05![]()
= 2828 т
- в зелених кормах
Рзел = (11
630 + 7
1470 + 4
900)
155
1,05![]()
= 3388 т
- коренеплодах
Ркор = (6
630 + 3
1470 + 2
900)
210
1,03 ![]()
= 2161 т
- в конц. Кормах
Рконц = (5
630 + 2
1470 + 1,5
900)
365
1,01![]()
= 2743 т
Надалі знаходимо об’єм кормів за формулою [2]:
, ![]()
Де
- густина корму і – го виду, m/![]()
Знаходимо об’єм кормів:
- силосу(
= 0,65 m/
)
Vсил = ![]()
- соломи(
= 0,36 m/
)
![]()
- зелений корм(
= 0,35 m/
)
![]()
- коренеплодів(
= 0,69 m/
)
![]()
- концентрованих(
= 0,37 m/
)
![]()
Об’єм конц. Кормів, які підлягають зберіганню на фермі = 16%
![]()
Кількість кормо сховищ визначаємо за формулою [1]:
, сховищ (1.15)
Де
- ємкість типового сховища і – го виду кормів, ![]()
Е – коефіцієнт використання об’єму сховища.
Знаходимо кількість сховищ:
- силосу. Силосна траншея
=2000 ![]()
ТП811-29 ; ВхLхH=12х49,5х3м; E=0,98 [1]
Кількість силососховищ
![]()
- соломи . скирда Vтип = 4000
(8х50х10м),
E=1,0[1]. Кількість скирд сіна
![]()
- зелені корми зберіганню не підлягають
- коренеплоди. Бурт Vтип = 1000
(6х56х3м); Е = 0,9 кількість буртів
![]()
- концкорма. Скад концкормів Vтип = 1500
, Е = 0,75. кількість складів
![]()
1.3.4 Розрахунок гноєсховища
Добовий вихід гною на фермі визначаємо за формулою:
(1.16)
Де
- добовий вихід гною тварини, приймаємо для молодняку на відгодівлю
, для молодняку на вирощування
, для телят
[1]
Знаходимо:
![]()
Приймаємо кількість днів зберігання гною на фермі Д = 45днів та знаходимо кількість гною, підлягаючого зберіганню
(1.17)
Приймаємо по ТП815 – 23 одне гноєсховище на 2000 т (25х85м). гноєсховище секційне для карантину та зберігання.[1;2].
1.4 Механізація основних виробничих процесів
1.4.1 Водопостачання, поїння тварин
Водопостачання ферми здійснюється однією водонапірною баштою БР – 50, насосна станція робе в автоматичному режимі.
Поїння тварин з автонапувалок АП – 1А, в розрахунку 1 напувалка на 20 тварин при безприв’язному утриманні [6].Тоді кількість напувалок для ферми
![]()
Напування тварин на вигульно – кормових площадках з використанням автонапувалок АГК – ЧА у розрахунку 1 напувалка на поголів’я до 100 корів. Кількість групових напувалок [6]
![]()
1.4.2 Завантаження, перевезення та роздавання кормів
Завантаження кормів виконуємо завантажувачем ПЭ-0,8Д.
Перевезення та роздавання кормів:
- в приміщеннях для молодняка мобільними кормороздавачами КТУ-10А у розрахунку 1 роздавач на 1000 голів [6].
![]()
- В телятниках використовуємо кормороздвачи КСА-5Б, смонтованих на електрокарі у кількості Пкса = 2 роздавача [3]
1.4.3 Збирання, перевезення гною
Для збирання гною з телятників використовуємо транспортери скребкові ТСН-160А у розрахунку 2 транспортери на 1 телятник, тоді їх кількість
Птсн = 2
2 = 4 транспортера
Збирання гною з приміщень для молодняку виконуємо начіпним бульдозерним обладнанням БН-1, начіпляємо на трактор ЮМЗ-6Л. Кількість начіпних бульдозерів Пбн = 2шт [6]
Перевезення гною причепами 2ПТС-4М (2шт).
Комплект обладнання для ветеренарно-санітарних робіт буде прийнято у розділі 3.
1.5 Перелік і кількість машин та механізмів по механізації основних виробничих процесів на фермі
В табл..2.3. Приводимо перелік машин та механізмів для ферми.
Таблиця 1.3
Комплект обладнання для механізації виробничих процесів на фермі
| Найменування процесів машин та механізмів | Марка машини | Кількість штук |
| 1 | 2 | 3 |
Водопостачання, напування худоби Башта водонапірна Автонапувалка Автонапувалка |
БР-50 АП-1А АГК-4А |
1 150 45 |
Навантаження, перевезення та роздавання кормів Навантажувач Кормороздавач Кормороздавач Збирання та перевезення гною Транспортер скребковий Обладнання бульдозерне начіпне Причеп тракторний |
ПЭ-0,8Д КТУ-10А КСА-5Б ТСН-160А БН-1 2ПТС-4Н |
2 3 2 4 2 2 |
1.6 Генплан ферми
По отриманим вище даним та на основі існуючих вимог на аркуші 1 розробляємо генеральний план ферми 1: 500.
Земельна ділянка для ферми має схил
,що знаходиться в границях рекомендованого 3…
. Схил забезпечує стік дощових та талих вод. Дільниця розміщується з підвітряної сторони відносно жилого сектору та лежить на відстані від нього 360 м. Ферма розташовується по грунту нижче будівель жилого сектору, водозабірної споруди та вище гноєсховища та ветеринарного об’єкту.
Рівень залягання підземних вод складає 3,2м, що задовольняє нормативам.
На генеральному плані розміщуємо приміщення для тварин; напрямок їх прокольних вісей з півночі на південь.
Приміщення розміщуємо з розрахунком технологічного процесу вирощування, відгодівлі молодняку.
Розриви між будівель складає 30 м, що відповідає протипожежним та санітарним розривам.
Усі об’єкти ферми з’єднуємо дорогами, які мають тверде покриття.
Зелені насадження визначаємо по границі ферми, а також її огородження металевою загорожею.
Розміщуємо зелені насадження також в вільній площі ферми. Все це покращує мікроклімат та служить повітряно сніговим захистом для ферми.
У місцях в’їзду та входу на територію ферми розміщуємо санітарно пропускні пункти. У випадку епізоотії на цих пунктах проводимо санобробку та дезінфекцію взуття та спецодягу персоналу, а також транспорту. Місця проходу та проїзду оснащуємо дезбарєрами, ширина якого дорівнює ширині проїзду, довжина 1,5м та глубина 0,15м. у цементовану підлогу дезбар’єру вкладаємо нагріваючі труби для підігріву деззасобів у холодну погоду.
На фермі враховуємо ветпункт, ізолятор, убойну площадку, а також біотермічну піч.
1.7 Організація робіт на фермі
На фермі враховують бригадну форму організації праці, режим роботи двохзмінний. Тривалість робочого дня 7ч і 8ч.
У табл.. 2.4. Приведемо приблизний розклад дня на відгодівельній фермі.
Табл. 1.4.
Розклад дня на фермі
| Найменування операцій | Початок та кінець роботи, час, хв., (доба) |
| Перша зміна | |
| Прийом тварин від нічного чергового | 5:00 – 5:15 |
| Підвіз корму з кормоцеху | 5:15 – 6:45 |
| Очищення кормушок, збирання гною | 6:45 – 8:45 |
| Годівля худоби | 8:45 – 10:15 |
| Перерва, вигул тварин | 10:15 – 11:15 |
| Підвезення корму з кормоцеху | 11:15 – 12:45 |
| Передача худоби другій зміні | 12:45 – 13:00 |
| Друга зміна | |
| Прийом худоби від першої зміни | 12:45 – 13:00 |
| Годування тварин | 13:00 – 15:00 |
| Очищення кормушок, збирання гною | 15:00 – 16:00 |
| Перерва вигул тварин | 16:00 – 17:00 |
| Підвіз корму з кормоцеху | 17:00 – 18:30 |
| Годування худоби | 18:30 – 20:30 |
| Передача тварин нічному черговому | 20:30 – 20:45 |
Вірна організація праці та дотримання розкладу дня сприяє збільшенню продуктивності худоби.
Визначаємо кількість обсл. Персоналу в кількості 150 гол./люд та основних робочих – 200гол./люд [3]
Знаходимо кількість:
- обслуговуючого персоналу на фермі
![]()
- основних робітників
![]()
Висновки: зробивши усі необхідні розрахунки ми накреслили генеральний план ферми, а перед цим визначили кількість та вид приміщень на фермі.
2 Розрахунок проектуючої лінії ветеринарно-санітарної обробки приміщень
2.1 Вибір та пояснення проектуємих засобів обробки
Інтенсифікація тваринництва включає значну концентрацію тварин на граничних площах, в силу чого найменше порушення ветеринарно-санітарних та зоогігієнічних правил можуть створити благоприятні умови для виникнення інфекційних та незаразних хвороб. Задача попередити розповсюдження інфекцій та не допустити та виявлення нових Очаків вирішується суворим виконанням комплексу ветеринарної санітарії, який включає наступні роботи: очищення приміщень, дезінфекцію та дезинфекцію тварин та приміщень, а також обприскування тварин з метою захисту їх від шкідливих комах та кліща.
Очищення об’єктів проводять механічними засобами або шляхом видалення забруднень потоком води під тиском до 2,5 МПа (санітарне очищення). Для обеззаражування тваринницьких об’єктів використовують хімічні, фізичні та біологічні дезинфекціюючі засоби. Велике використання мають наступні хімічні засоби: луги, кислоти, окислювачі, крезоли, формальдегід та інші.
В залежності від призначення дезінфекцію поділяють на профілактичну та вимушену.
В тваринницьких фермах з невеликим поголів’ям профілактичну дезинфекцію приміщень проводять двічі за рік – весною та восени. На спеціалізованих відгодівельних фермах профілактичну обробку проводять після завершення циклу відгодівлі перед початком нового виробничого циклу.
Усе технологічне обладнання ветеринарно-санітарного призначення поділяють по призначенню, мобільності та особливостям приміщення.
1. Універсальні мобільні машини:
Ветеринарна дезинфекційна машина ВДМ-2; дезинфекційний мобільний агрегат АД-Ф-1, машина МДВ-Ф-1. ці агрегати використовують для зони господарств, розміщених на великій території.
2. Мобільні агрегати для гідроочищення, дезінфекції дезінєкції розчинами:
Дезінфекціонний ветеринарний агрегат АДВ; дезінфекційне обладнання ДУК-1; 1СД-3М; оприскувачі самохідні – МРЖ-2-моторолер; КДУ-1- на мотоциклі.
3. машини та обладнання для комплексів і ферм:
Рухомі – дезінфекційний самохідний пристрій на електрокарі УДС, дезінфекційний рухомий пристрій УДП-М, моєчно – дезінфекційні пристрої ОМ-22613; ОМ-22614.
4. Портативні дезінфекційні апарати з ручним приводом: ОРД-1; АО-2 та інші.
5. Оприскувачі ручний, вентиляторний РВД-1, розпилювачі та інші.
6. Аерозольна техніка: для дезінфекції та дезінєкції приміщень – генератори аерозольні ГА-2; АГ-УД-2, ААС та інші.
Мобільні агрегати та пристрої (1та2) нераціонально використовувати на великих тваринницьких комплексах та фермах, та як їх неможна вводити в приміщення. Подача розчинів ззовні по шлангам приводить до значних невиробничих витрат праці. Для комплексів та ферм випускають спеціальні пристрої, які дозволяють механізувати не тільки процеси дезинфекції, а також очищення різних поверхонь приміщення, враховуючи суцільну та щілинну підлогу. Висока якість робіт досягається використанням високо напірного гідронасосу та добових розпилювачів.
Дезінфекційний рухомий пристрій УДП-М призначений для робіт по гідроочищенню, дезінфекції та дезінсекції приміщень великих промислових комплексів. Найбільш ефективно її використання на комплексах,де є розводка горячої води по усім приміщенням.
Пристрій самохідний УДС-2 використовують для комплексів по утриманню та відгодівлі ВРХ, приміщення яких мають прохід шириною не менше 1,5м.
Машина для очищення та дезінфекції ОМ-22614 використовують для періодичного гідроочищення, мойки та вологої дезінфекції приміщень та обладнання тваринницьких ферм та птахофабрик, які не мають системи горячого постачання води.
З перерахованих машин найбільш підходящою є машина ОМ-22614, яка забезпечує дезінфекцію та очищення в невеликих проходах, використовується при відсутності гарячого водопостачання.
2.2 Визначення продуктивності лінії
Визначаємо загальну площу очищуємої та дезінфікуючої поверхні приміщень від годівельної ферми.
Fдез = n
Fn + Fb,
(2.1.)
Де n – кількість приміщень, в яких утримуються тварини, n = 6;
Fn – площа одного приміщення (підлоги та стіни),
;
Fb – площа допоміжних приміщень,
.
Площа одного приміщення (l = 72м; В = 18; Н = 2,8м – довжина, ширина та висота).
![]()
(2.2.)
Площа допоміжних приміщень, кормоцеху, адмінбудівель та інші приймаймо для розрахунку
Fb = 600![]()
Знаходимо:
Fдез = 6
1800 + 600 = 11400
.
Враховуючи, що перед дезінфекцією необхідно провести гідроочищення [3], тоді загальна площа обробляємої поверхні
Fоб = 2
Fдез = 2
11400 = 22800
(2.3)
Відповідно діючій інструкції регламентовано витрати дезінфікуючих засобів для тваринницьких приміщень з розрахунку 1л на 1
[5].
Загальна витрата рідини складе
V = 22800л
Виходячи з продуктивності машини ОМ-22614; Q = 1000
/г час на обробку 1
площі
![]()
(3.4)
Визначаємо час цикли дезінфекції в одному приміщенні
,г (2.5)
Де
- підготовчо-заключний час, приймаємо
= 20 хв = 0,4 г.
на дезінфекцію (2.6)
- час на відпочинок та індивідуальні потреби,
= 0,5г;
- час приміщення пристрою від приміщення до приміщення,
= 18хв = 0,3г.
Находимо час циклу для одного приміщення
![]()
Продуктивність лінії ветеринарно-санітарної обробки
(2.7)
2.3 Визначення кількості машин. Короткий опис машин
Продуктивність вибраної машини ОМ-22614 [4]:
- при гідрочищенні Пог = 40
/г;
- при дезінфекції Пдез = 1000
/г.
Необхідна кількість машин для дезінфекції приміщень:
- приймаємо (2.8)
Одну машину ОМ-22614.
Машина ОМ-22614 представляє собою мобільний пристрій для створення та видачі при допомозі рукавов високо напірної струї та складається з наступних збір очних одиниць: візка, на якому закріплені електор двигун, кліноременна передача та насос високого тиску і робочого органу – гідромонітора з насадками, безпосередньо подаючими робочій орган на об’єкт і органів керування - запобіжних клапанів та дозатору для подачі назначеної норми концентрованих деззасобів в напір води і органів контролю – монометрів, показуючи тиск при очищуванні та дезінфекції і барабану на допоміжному возику для вкладання рукавів високого тиску; паливний насос, паливний бак та теплообмінник.
Обидва насадки гідромонітору мають різну геометричну форму для забезпечення формування округлої струї та плоскої із кутом розкриття
у режимі гідроочищення та конусоподібної з кутами розкриття
і
у режимі дезінфекції.
Теплообмінник має водяну сорочку, що практично виключає втрати тепла в атмосферу. У випадку відсутності води у машині встановлюється запобіжний клапан, вимикаючий паливний пристрій.
У режимі дезінфекції вода з водопровідної сітки поступає у водяну сорочку теплообмінника , підігрівається та по рукаву зливається у приймальну камеру через запірний пристрій. З приймальної камери вода засмоктується насосом високого тиску . одночасно з баку деззасобів через дозатор поступає концентрований 40% -вий розчин миючих або дезінфікуючих засобів. Після змішування з водою утворюється робочий розчин 1…15%-вої концентрації, у залежності від налагодження дозатору.
При гідрочищенні дозатор деззасобів та вентиль збросу тиску закривають. При цьому вода насосом подається до гідромотора під тиском 14МПа.
Температуру води на виході з теплообмінника встановлюють не нижче 323К (
) . концентрацію розчину встановлюємо показником дозатору . Температуру розчину ну виході з теплообмінника регулюють терморегулятором [4].
2.4 Визначення основних експлуатаційних показників
Визначаємо річні витрати праці по ветеренарно-санітарній роботі на фемі:
(2.9)
Де
- кількість змін роботи; n = 2
- кількість робітників обслуговуючих пристрій та працюючих на ветпункті, n = 2люд.
- тривалість зміни,
=7г.
Знаходимо річні витрати праці
![]()
Річна витрата електроенергії при очищуванні та дезінфекції
(2.10)
Де N – потужність електродвигуна пристрою ОМ-22614, N=7,5КВт;
- сумарна кількість часу роботи пристрою за рік, г; яке =
(2.11)
Тут
=
час гідроочищення усіх приміщень (2.12)
=
час дезінфекції усіх приміщень (2.13)
=285+11,4=296,4г – час вимушеного очищення та дезінфекції.
Знаходимо:
![]()
Річна витрата пального при годинній витраті q = 8,0кг/г
(2.14)
Висновки: В цьому розділі ми вибрали проектуємий засіб ветеренарно-санітарної обробки приміщень та визначили продуктивність та кількість машин.
3 РОЗРАХУНОК ПРОЕКТУЮЧОГО ВУЗЛА
3.1 Пояснення конструкторсько-технологічної схеми вузла
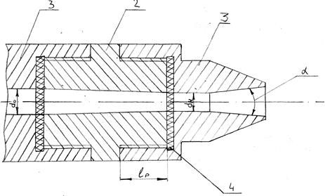
На малюнку 3.1. приводимо ескіз гідромотору з насадкою (наконечником).

Рис. 3.1. Ескіз гідромотора з наконечником (насадкою): 1 – наконечник; 2 – перехідник; 3 – трубка гідромотора; 4 – прокладка
Гідромотор машини ОМ-22614 представляє собою рукоятку, з нагвинченими на неї трубками 3. До трубки пригвинчується перехідник 2, на який встановлюється змінний наконечник (насадка) 1. Перехідники служать для накручування наконечника та з'єднання 2…3 трубок в гідромоторі.
До рукоятки приєднується напірний рукав.
Насадки гідромотора мають різну геометричну форму для забезпечення формування круглого струменю та плоского з кутом розкриття α=20° у режимі гідроочистки та конусоподібної з кутами розкриття 15° та 90° у режимі дезінфекції [9].
Насадки з круглими отворами застосовують для створення округлого струменю, що використовується для очищення поверхонь складної конфігурації. Ця насадка дозволяє отримати достатньо потужний та широкий по обсягу очищаємої поверхні струменя. Насадка, що створює плоску струю, використовується при очищенні менш забруднених поверхонь, так як струмінь не має великої потужності, але охоплює більшу поверхню.
3.2 Визначення основних робочих параметрів
Відповідно до технічної характеристики машини витрата робочого середовища складає:
![]()
Температура робочого середовища t = 50…85°C. Робочий тиск рідини: при гідроочищенні
Роч
= 14 МПа; при дезінфекції Рд
= 1,6МПа.
Визначаємо швидкість струменю, що виходить з насадки за формулою:
, м/с
де
- коефіцієнт швидкості насадки,
= 0,6
- напір, що створюється тиском у струмені
, Па
- густина рідини, кг/м3
Виконуємо розрахунок для гідроочищення при
, Па;
кг/м3
(густина рідини при 50°С)
, м/с
Необхідний діаметр отвору насадка

0,0024 м = 1,9…2,4 мм
Для дезінфекції ці ж параметри при
Па,
кг/м3
м/с

3.3 Розрахунок основних деталей на міцність
У випадку перекриття (забивання) отвору у гідромоторі виникає напруження розриву, яке дорівнює робочому тиску. Так при очищенні
МПа. Допустиме напруження при розриві з врахуванням динамічності навантаження [
] = 50…60 МПа, інакше міцність на розрив різьби наконечника забезпечена.
Знаходимо довжину з'єднувальної різьби з умови міцності на згин
, мм
де
- розрахункове зусилля у різьбі, Н;
- крок різьби, мм;
,
1
– поверхневий та внутрішній діаметри різьби, мм;
- допустиме напруження при згині різьби;
= 30…40 МПа приймаємо для розрахунку
= 30 МПа
Зусилля у різьбі при d = 12 мм
Н
Розрахункове зусилля у різьбі при коефіцієнті запасу n = 1,5
Н
Для різьби М12: d = 12 мм; d1 = 10,65 мм при кроці різьби t = 1,25 мм.
Знаходимо довжину різьби
мм.
Довжину різьби вибираємо конструктивно з рекомендованих умов
мм
На аркуші 3 розробляємо деталі гідромотору дезінфікуючої машини ОМ-22614.
Висновок: зробивши розрахунок проектного вузла було запропоновано спеціальний вузол гідромотор для більш зручного проведення санітарно-ветеринарної обробки приміщень та проведений розрахунок йо
4 Техніко-економічні показники проекту
Річні експлуатаційні витрати визначаємо за формулою:
С= Сз + Сам + Стр + Сел. + Спал + Спр,грн. (4.1)
Де Сз – заробітна плата
Сам – амортизаційні відрахування
Стр – відрахування на поточний ремонт
Сел. – ціна електроенергії
Спал – ціна палива
Спр – інші витрати.
Заробітну платню з нарахуваннями знаходимо за формулою:
(4.2)
Де К – коефіцієнт нарахувань на соцстрах, додаткову заробітну плату та інше, К = 1,75;
Зпр – річні витрати праці, Зпр = 10220люд-г;
- годинна тарифна ставка, приймаємо для веттехніка
=0,67 грн/г.
Знаходимо заробітну платню Сз = 1,75
10220
0,67 = 11983грн.
Амортизаційні відрахування визначаємо у розмірі 12,5%, відрахуваня на поточний ремонт – 5,4% від балансової вартості машини Б= 1270грн.
Знаходимо
(4.3)
Стр = 0,054
1270 = 69 грн
Ціна електроенергії при вартості за 1КВт
г
Сел= 0,16грн/КВт
г та річній витраті Зел = 11115КВт
г
Сел= Зел
Сел=6669
0,16=1067грн (4.4)
5 ОХОРОНА ПРАЦІ
До роботи з машинами ветеренарно-санітарного типу призначають фізично здорових осіб, які пройшли мед. огляд,які вивчили пристрій та правила експлуатації машин, а також санітарні правила по зберіганню, транспортуванню та приміщенню ядохімікатів у сільському господарстві.
Особи, працюючи з хімореактивами, повинні бути забезпечені спецодягом та спецвзуттям та індивідуальними засобами захисту. По закінченню роботи прибрати з хімореактивами спецодяг необхідно очистити та прибрати у спеціально відведену шухляду.
Під час приготування робочих розчинів необхідно використовувати резинові рукавички. Бочки з реактивами слід відкривати при допомозі спеціальних ключем. Забороняється підігрівати пробки у бочках або вибивати їх.
Перед дезінфекцією обличчя та руки змащують спец. Засобом. На робочому місці не можна приймати їжу, пити води, палити.
На місце роботи не допускається присутність по сторонніх осіб, особливо дітей.
Забороняється залишати без охорони оброблені об’єкти та хімреактиви, а також заправлені баки та тару, у яких знаходяться робочі розчини. Перевозити хімічні речовини потрібно у не пошкодженій тарі. На кожній ємкості повинно бути етикетка, на якій помічено місце, дата та серія виготовлення, строк придатності, спосіб зберігання, доза примінення та інше.
Знешкоджуючі засоби та використовану для мойки воду потрібно збрасувати тільки у спеціальні поглинаючі ями глибиною не менше1 м, розміщенні на відстані 500м від населеного пункту.
Яму у період роботи систематично обеззаражують хлористим вапном чи іншими засобами, а після роботи засипають.
При гідроочищенні та дезінфекції внутрішню проводку та силові пристрої необхідно обезточити. Під час роботи не можна допускати попадання рідини на електрообладнання чи проводку.
По закінченню обеззаражування приміщення провіряють. Підтік препарату та кормушок промивають водою з милом чи розчином кальцинованої соди.
З метою охорони навколишнього середовища забороняється: зливати залишок розчину на території ферми, дорогу, у водойм;промивають баки та комунікації поблизу водоймів та інше.
ВИСНОВКИ ТА ПРОПОЗИЦІЇ
Використовуючи дані проекту механізації ветеренарно-санітарних робіт на відгодівельній фермі ВРХ в господарстві ‘‘АгроДарекс’’ Синельниківського р-ну Дніпропетровської обл. робимо такі основні висновки:
- По заданому річному об’єму виробництво мяса визначена необхідна структура та поголів’я стада, необхідна кількість та види приміщень, будівель та будівниць на фермі. Це дозволило розробити більш раціональний генплан ферми при допомозі подальшого її розширення.
- Прийняті машини та механізми для комплексної механізації робіт на фермі, а також прийнята машина для гідроочищення та дезінфекції приміщень(ОМ-22614), виконаний її розрахунок, витрати її праці, ел.енергії, палива та інше. Представлена покращена схема вузла гідромонітора та інше.
Проведені розрахунки у економічній частині показали на ефективність проекту, що дозволяє зробити висновок у необхідності введення проекту у господарстві
БІБЛІОГРАФІЧНИЙ СПИСОК
1. Ревенко І.І. та інші. Проектування механізованих технологічних процесів тваринницьких підприємств.-К. Урожай, 1999-192с.
2. Брагинець Н.В., Палишкін Д.А. Курсовое и дипломное проектирование по механизации животноводства.-М:Агропромиздат,1991-192с.
3. Мельников С.В. технологическое оборудование животноводческих ферм и комплексов –Л:Агропромиздат,1985-640с.
4. Рощин П.М. механизация в животноводчестве-М:Агропромиздат,1988-288с
5. Карташов Л.П. и др. механизация и електрофикация животноводчества-М: Агропромиздат,1987- 480с
6. Носов М.С. механизация робот по животноводческих фермах-М: Агропромиздат 1987- 416с.
7.Грегкосій В.Д. та ін. Довідник сільського інженера-К Урожай 1988 – 398с.
8.Хитрун Л.Н. справочник по планированию сельского хазяйства-М: Агропромиздат 1974 – 736с
9. Кива А.А. и др. машины и оборудование для птицеводства. Справочник.-М: Агропромиздат 1987 – 240с
10. Цыбин Л.А. Гидравлика и насосы – М: Высшая школа,1976 – 256с.
11. Проектування механізованих технологічних процесів тваринницьких підприємств / За ред.Ревенка І.І. – К.: Урожай, 1999.