| Скачать .docx |
Реферат: по Технологии производства и переработки продукции животноводства
ФГОУ ВПО «Оренбургский государственный аграрный университет»
Кафедра технологии
переработки и сертификации
продукции животноводства
КОНТРОЛЬНАЯ РАБОТА
по дисциплине: «Технология производства и переработки продукции животноводства»
Выполнена студентом_4 _курса
экономического факультета
отделения«Экономика и управление
на предприятии АПК»
Марченко И.С.
Проверил доктор с.-х. наук
профессор Сенько А.Я.
Оренбург 2011г.
Содержание
1.Факторы, влияющие на мясную продуктивность свиней.........................
2. Оценка, учет, хранение травяной муки....................................................
3. Производство консервов из рыбы............................................................
Список литературы.......................................................................................
1. Факторы, влияющие на мясную продуктивность свиней
Постоянно проводящиеся исследования показывают, что существует целый ряд технологических факторов, оказывающих влияние на мясную продуктивность свиней: порода, пол, возраст, направление продуктивности, технология содержания и откорма. Главный критерий, по которому оценивается мясная продуктивность свиней - это выход мышечной ткани.
Наиболее высокийрейтинг среди данных факторов занимает уровень и полноценность кормления. Свинину с высоким содержанием мяса получают при мясном и беконном откорме, жирную свинину получают при сальном откорме. Мясной откорм бывает интенсивным и малоинтенсивным. Малоинтенсивный откорм характеризуется довольно низкими привесами свиней и только к году молодняк достигает сдаточного веса (до 100 килограмм). Применение такого вида откорма наблюдается в регионах с достаточным количеством дешевых кормов с низким уровнем питательности. Если же малоинтенсивный откорм вызван недостаточным и несбалансированным рационом, то увеличиваются затраты на производство единицы продукции, а мясо становится жирным и жестким. Интенсивный мясной откорм характеризуется довольно высокими привесами молодняка. Начинают его при весе поросят не меньше 20-25 килограмм, а заканчивают при весе поросят 110-120 килограмм. При интенсивном откорме мясо свиней сочное и нежное, содержит небольшое количество сала. Также, установлено, что при обильном кормлении свиней впервые 4–5 месяцев жизни и последующем до снятия с откорма умеренном кормлении, получаются туши с повышенным выходом мяса. Наоборот, умеренное кормление в первые месяцы жизни и последующее обильное кормление свиней способствует получению более жирных туш. Повышение качества свинины во многом зависит от полноценности рационов, состава и соотношения компонентов в смесях, скармливаемых свиньям, а особенно от количества и качества протеина. Очень важное значение имеет состав и соотношение протеиновых кормов в рационе
свиней, как животного, так и растительного происхождения.
Второе место занимают условия содержания и технические средства. В настоящее время практика показывает, что производственные процессы в типовых свинарниках сопровождаются рядом негативных явлений. Наиболее распространенный из них – относительное ослабление естественной резистентности и проявление стрессового синдрома (PSS) у животных. Мясо таких животных бледное, рыхлое, водянистое, что существенно ухудшает качество свинины. Поэтому для снижения стрессовых ситуаций у свиней надо изменить условия их размещения.
Третье место занимают такие факторы, как порода животных, породность помесей и направление продуктивности. Породы свинейпо продуктивности подразделяют на мясные, сальные и мясосальные. Свиньи пород сального типа отличаются компактностью и мощным развитием передней части туловища, где откладывается наибольшее количество резервного жира. Это коротконогие животные, с широким и сравнительно коротким туловищем, с глубокой грудью и относительно несколько более легким задом. Они дают тушу с большим отложением жира. Примером такой породы свиней сального типа является брейтовская порода. Породы свиней мясного типа отличаются растянутостью туловища, легким передом и мощным задом с хорошо выполненными окороками. Это относительно высоконогие животные, с ровной длинной широкой спиной и крестцом, с ровным, неотвислым животом, со сравнительно небольшим и равномерным отложением подкожного жира на всем туловище. Образцами таких пород могут служить всемирно известная крупная белая порода мясного типа. Мясо животных этих пород отличается умеренной и небольшой жирностью, сочностью и нежностью. Свиньи мясосального типа имеют белую кожу, удлиненное туловище, высокие ноги, легкие окорока. Такими породами являются эстонская, латвийская и ландрас. Мясо и жир свиней сального и мясосального типов используют в колбасном производстве, а туши свиней мясного типа — для производства бекона и разного вида копченостей.
Таким образом, чем выше доля постного мяса в теле свиней, тем выше мясная продуктивность и качество их туш. Наиболее предпочтительное отношение мяса к салу выше 1,5, когда в туше содержится примерно 55% мяса и 30% сала. При дальнейшем повышении живой массы свиней это отношение ухудшается: доля мяса в туше снижается, а сала – увеличивается. У свиней разводимых пород в России доля мяса в туше при откорме до 100 кг изменяется от 53 до 60%, а сала – от 26 до 36%. В тоже время свиньи мясного и универсального направления продуктивности (скороспелая мясная, ландрас, уржумская, эстонская беконная, дюрок) даже при интенсивном мясном откорме до 120 кг дают высококачественные туши с выходом постного мяса 55–58% и отношением мяса к салу, равным 1,7–1,9, а при убое в 100 кг – туши с долей мяса 58–60% и отношением мяса к салу 1,9–2,2. Туши свиней мясного направления продуктивности содержат больше мышечной ткани нежели сального ( больше на 21,3%) и универсального направлений. Признаки, характеризующие мясную продуктивность, хорошо передаются по наследству, как при чистопородном, так и при межпородном скрещивании. На этом их ценном свойстве основано использование мясных пород свиней в системах гибридизации в целях получения высокопродуктивных гибридов, дающих туши с высоким содержанием постного мяса.
Четвертое место занимают прочие факторы, такие как пол и возраст животного. Установлено влияние пола свиней на содержание мышечной ткани. Максимальное содержание мышечной ткани зафиксировано в тушах боровков-59,1%, на втором месте стоят туши свинок-58,8%, а в тушах хрячков содержится 57,5% мышечной ткани. Из этих результатов видно, что влияние половой принадлежности на мясную продуктивность свиней очевидно, но различие в содержании мышечной ткани не существенное. Пол животного оказывает существенное влияние на качество получаемого мяса. Мясо некастрированных самцов жесткое и грубой консистенции, без жировых отложений между мышцами, с сильно развитой межмышечной соединительной тканью. У хряков мясо имеет неприятный запах. Мясо кастратов грубоволокнистое, но богаче внутримышечными жировыми отложениями, в нем менее развиты соединительные образования. Мясо самок более тонковолокнистое, светлее по цвету и нежнее.
Возраст свиней также имеет влияние на их мясную продуктивность. Доказано, что мышечной ткани содержится в тушах боровков больше на 5,1% в возрасте шести месяцев, чем в возрасте девяти месяцев, у хрячков этот показатель составляет 5,2%, а у свинок-4,6%. Кроме того, существует закономерность: чем больше возраст свиньи, тем меньше мышечной ткани содержится в ее туше. Установлено, что впервые 4–5 месяцев жизни у свиней происходит усиленный рост мышечной ткани и слабое отложение жира. Затем до 7–8 месячного возраста интенсивность жироотложения постепенно увеличивается, хотя и в этом возрасте свиньи продолжают эффективно использовать азот корма на построение мышечной ткани. В возрасте старше 8 месяцев отложение жира у свиней значительно усиливается, поэтому интенсивный откорм таких свиней обычно приводит к получению жирной свинины. Поэтому у свиней вкусовые свойства мяса, нежность, состав аминокислот окончательно формируются к 8-ми месячному возрасту. Качество же мяса, полученного от старых животных, низкое.
Применение при откорме свиней полноценных по протеиновому и аминокислотному питанию рационов, соблюдение правильных условий и технологий содержания свиней, правильная организация убоя животных с учетом породы позволяют получить высококачественную мясную продукцию, пригодную для консервирования и длительного хранения.
Ведь любые неучтенные факторы, оказывающие влияние на продуктивность и качество мяса свиней, приводит к получению свинины низкого качества, неполноценной по морфологическим и биохимическим показателям, а также вкусовым свойствам.
2. Оценка, учет и хранение травяной муки
Травяная мука - корм, полученный из высушенной при высокой температу-ре и размолотой травяной массы, убранной в ранних фазах вегетации растений.
Травяная резка - корм, полученный из измельченной и искусственно высушенной травы.
Кормовые брикеты - прессованные корма в виде определенной геометрической формы и назначения.
Кормовые гранулы - прессованные корма в виде цилиндров размером до 25 мм (ГОСТ 23153).
Травяную муку и резку обычно вводят в рационы сельскохозяйственных животных и птицы в качестве добавки, покрывающей дефицит тех или иных питательных веществ и витаминов. Качество этих кормов должно строго соответствовать требованиям ГОСТ 18691—88 (табл. 3). В зависимости от состава и питательности травяную муку делят на три класса.
Качество травяной муки и резки определяют по внешнему виду, обращая внимание на цвет, запах, крупность размола, размер гранул. Кроме того, в резке определяют содержание каротина, протеина, клетчатки и влаги (см. табл. 3).
Травяную муку скармливают всем видам сельскохозяйственных животных, а травяную резку — крупному рогатому скоту, овцам, лошадям и кроликам. Оптимальные нормы дачи травяной муки и резки: для коров — муки не более 3 кг, резки 5 кг, для молодняка крупного рогатого скота — муки 0,3—1,0, резки 0,5—2,0; для овец взрослых — муки 0,3—0,5, резки 0,6—0,7, молодняка — муки 0,07—0,1, резки 0,08—0,2; для свиней взрослых — муки 0,2—0,5, молодняка — муки 0,05—0,2; для лошадей взрослых — муки 2-3, резки 3-4; для кроликов взрослых - муки 0,2, резки 0,3 кг; для птицы — муки 10—15 г в сутки. Травяную муку вводят в полнорационные комбикорма для птицы и поросят в количестве 2-7 %, в комбикорма для супоросных и подсосных свиноматок – 5-10 % по массе.
Таблица 3. Качество травяной муки и резки
| Показатель | Класс | ||
| I | II | III | |
| Цвет и запах | Темно-зеленый или зеленый без признаков горелости, а также затхлого, плесневелого, гнилостного и других посторонних запахов | ||
| Влажность, %: | |||
| муки | 9-12 | 9-12 | 9-12 |
| гранул и брикетов | 9-14 | 9-14 | 9-14 |
| резки | 10-15 | 10-15 | 10-15 |
| Массовая доля сырого протеина в сухом веществе, %, не менее | 19 | 16 | 13 |
| Массовая доля сырой клетчатки в сухом веществе, %, не более | 23 | 26 | 30 |
| Массовая концентрация каротина в сухом веществе, мг/кг, не менее | 210 | 160 | 100 |
| Крупность размола муки: | |||
| остаток на сите с отверстиями 5 мм, % | Не допускается | ||
| остаток на сите с отверстиями 3 мм, % | 5 | 5 | 5 |
| Массовая концентрация металломагнитной примеси: | |||
| частицы размером более 2 мм и с острыми краями | Не допускается | ||
| частицы размером до 2 мм в 1кг корма, мг, не более | 50 | 50 | 50 |
| Массовая доля песка, %, не более | 0,7 | 0,7 | 0,7 |
| Диаметр гранул, мм | 4,7-12,7 | 4,7-12,7 | 4,7-12,7 |
| Длина гранул, мм | Не более двух диаметров | ||
Правильное хранение травяной муки и резки является залогом сокращения потерь питательных веществ и прежде всего каротина. Скорость окисления каротина в кормах искусственной сушки в значительной степени зависит от физического состояния и влажности корма, доступа кислорода воздуха, солнечного излучения, температуры окружающей среды и других факторов Распад каротина можно в значительной степени уменьшить, регулируя влияние этих факторов.
Свежеприготовленные искусственно высушенные травяные корма выдерживают в хозяйстве на складе предварительного хранения в рассыпном виде - не менее 2 суток, а в гранулированном и брикетированном - не менее 1 суток.
Травяную муку гранулированную и рассыпную хранят в мешках, которые в складских помещениях укладывают на поддоны в штабеля высотой до 2 м по два мешка в ряд, оставляя проходы между рядами мешков шириной от 0,8 до 1,0 м, а между штабелями и стенами склада - 0,7 м. Проходы для погрузочно-разгрузочных работ должны быть не менее 1,25 м. Травяная мука при выходе из циклона сушильного агрегата имеет температуру около 40-45 °С, а при гранулировании или брикетировании резки температура готового корма поднимается до 75—80 °С. Если эти корма не подвергнуть активному охлаждению, то гранулы в мешках, уложенных в штабеля на складе, остывают медленно, а скорость разрушения каротина будет высокой. Склад для постоянного хранения кормов искусственной сушки должен быть сухим и темным, а относительная влажность не должна превышать 70—75 %. В пересушенной травяной муке каротин разрушается значительно быстрее, чем в муке с влажностью около 10-12 %.
Температура искусственно высушенных травяных кормов при хранении в любом виде не должна превышать температуру окружающего воздуха более чем на 5°С. Если температура кормов будет превышать 40°С, то их необходимо выгрузить из хранилища и охладить.
Допускается хранить и транспортировать насыпью травяную муку в гранулированном виде.
Травяную резку в рассыпном и брикетированном виде хранят и транспортируют насыпью.
Искусственно высушенные травяные корма хранят в незараженных вредителями и оборудованных средствами пожаротушения складских помещениях, не допуская самосогревания и повышения температуры травяных кормов выше 40°С, или в резервуарах, наполненных нейтральными газами.
Искусственно высушенные травяные корма в процессе хранения предохраняют от увлажнения и проникновения солнечного света.
Искусственно высушенные травяные корма транспортируют всеми видами транспорта в крытых транспортных средствах с соблюдением правил перевозки, действующих на данном виде транспорта.
Из всех известных способов повышения сохранности каротина в травяной муке и резке наиболее эффективна обработка корма антиоксидантами (антиокислителями). Наиболее активным антиокислителем являются сантохин (этоксихин) и дилудин, а также бутилокситолуол и бутилоксианизол в дозе 20 г на 1 ц корма. Например, внесение 20 г сантохина в чистом виде или 40 г в виде водной эмульсии на 1 ц травяной муки сокращает в 1,5—2 раза окисление каротина при хранении. Оксиданты вносят в травяную муку и резку в процессе гранулирования и брикетирования.
Потери каротина можно значительно замедлить и снизить, если кислород воздуха, содержащийся между частицами травяной муки, вытеснить и заменить инертными газами, такими как азот, углекислый газ и другие. Исследования, проведенные в лабораторных и производственных условиях, показали, что каротин в травяной муке сохраняется лучше при отрицательных температурах, в атмосфере азота и углекислого газа, а также при добавлении к муке 0,5 % пиросульфита натрия (табл. 2).
Таблица 2. Сохранение каротина в травяной муке при разных способах хранения
| Способы хранения | Содержание каротина (мг/кг) | ||
| Перед закладкой на хранение | Через 2 месяца хранения | Через 12 месяцев хранения | |
| На складе | 197 | 88 | 36 |
| В холодильной камере | 197 | 140 | 96 |
| В атмосфере азота | 197 | 147 | 134 |
| В атмосфере углекислоты | 197 | 147 | 112 |
| С пиросульфитом натрия | 197 | 143 | 125 |
3. Производство консервов из рыбы.
Характеристика продукции, сырья и полуфабрикатов. Рыбные консервы — пищевые продукты, уложенные в герметичную тару и стерилизованные нагревом до температуры, достаточной для подавления жизнедеятельности микроорганизмов. Выпускают до 250 наименований рыбных консервов. В последнее время начали вырабатывать консервы из моллюсков, ракообразных, морских животных и др.
Консервы классифицируют в зависимости От используемого сырья и способа производства:
натуральные (в собственном соку, бульоне, желе);
закусочные (в томатном соусе, масле, паштеты и с овощами);
консервы из ракообразных (крабов, креветок);
консервы из нерыбного водного сырья (прочие) - из моллюсков, водорослей и др.
Натуральные рыбные консервы изготавливают из свежей, охлажденной или мороженной рыбы. Во всех случаях рыбу разделывают на куски или используют цельные тушки, которые плотно укладывают в банки. При выработке консервов из лососевых рыб (кета, горбуша, нерпа, чавыча, голец и др.), скумбрии, палтуса, сельди и тресковой печени в банки с рыбой добавляют горький и душистый перец, лавровый лист. При изготовлении консервов из скумбрии ее бланшируют паром при температуре 90.. .95 °С в течение 15.. .20 мин, в банки добавляют бульон, сваренный из получаемых при разделке этой рыбы голов и прихвостовых кусочков. Натуральные консервы из рыб, имеющих нежное мясо (салака, сайра, угорь и др.), вырабатывают в желе для сохранения целостности кусков рыбы и придания готовой продукции хорошего товарного вида.
Для приготовления рыбных консервов используют банки, сделанные из жести, алюминия или стекла. Банки из металла делают цилиндрической, овальной, эллиптической и прямоугольной формы, а стеклянные — только цилиндрической. Для изготовления жестяной тары используется жесть толщиной 0,2...0,22 мм, покрытая оловом (белая жесть).
Особенности производства и потребления готовой продукции. На производство натуральных консервов направляют только свежее или охлажденное сырье не ниже 1-го сорта. Недостатком этих консервов считают потерю механической прочности после стерилизации, поэтому наиболее ценные консервы из лососевых рыб можно готовить только в желирующих заливках. Заливка при застывании склеивает куски и сохраняет их целостность при транспортировании.
Вся выловленная рыба проходит выдержку в специальных бункерах с пересыпкой льдом общим слоем до 0,8 м при температуре рыбы 1,5.. .4 °С. После выдержки рыбу разделывают, удаляя все внутренности и несъедобные части, отделяя голову и отрезая плавники. Головы рекомендуется удалять на головоотсекающих машинах, а икру извлекать вручную. У океанических рыб разрешается оставлять чешую, а у скумбрии и ставриды срезают боковые и хвостовые жучки.
Для разделки на автоматах рыба должна быть рассортирована по размеру. После разделки на автоматах во всех случаях необходима ее ручная доработка и мойка. При этом количество отходов колеблется в пределах 1,5... 6,0 % в зависимости от точности работы автомата.
Подготовленную тушку режут на рыборезке на куски, соответствующие высоте банки, и их укладывают в нее с одновременным дозированием соли. Нормой считают 345 г рыбы и 5 г соли в учетную банку. При изготовлении натуральных консервов из ставриды и скумбрии в банку дополнительно вносят перец горький и душистый по одной горошине на банку и лавровый лист площадью 4 см2.
Пройдя контроль массы и укладки, наполненные рыбой банки поступают для герметизации на вакуум-закаточную машину, а затем на стерилизацию. Стерилизуют натуральные консервы при температуре 112 °С в течение 80 мин или при температуре 120 °С в течение 40 мин.
Порядок приготовления натуральных консервов с добавлением бульона (в желирующих заливках) аналогичен процессу приготовления натуральных консервов без добавок. Норма закладки рыбы 240.. .280 г на четную банку, а остальные (до 350 г) — заливка.
Для приготовления желирующего бульона используют отходы от разделки рыбы (головы, плавники, кости). На 1000 учетных банок расходуют около 70 кг отходов. Отходы моют, заливают водой и варят до полного разваривания. Полученный бульон фильтруют и добавляют в соответствии с рецептурой компоненты (в том числе уксусную кислоту, соль, сахар и агар). Агар используется с целью увеличения клейкости и прочности желеобразного студня. Бульон с внесенными компонентами вновь нагревается и подается на заливку. Банки герметизируют и стерилизуют при температуре 112 °С в течение 65 мин.
Технология приготовления натуральных консервов с добавлением масла такая же, как и натуральных без добавок и с добавлением бульона. Рыбу нагревают в банках до температуры 100 °С, не сливая бульона, и добавляют масло. Норма закладки рыбы составляет 335 г, масла 10 г и соли 5 г на учетную банку. Банки герметизируют и стерилизуют при температуре 112 °С.
В процессе хранения консервов на складе происходит их созревание, заключающееся в равномерном распределении соли в содержимом банки и впитывании в ткани рыбы выделившегося бульона. Минимальный срок созревания—один месяц.
Стадии технологического процесса. Основными стадиями производства натуральных рыбных консервов являются:
— разделка и мойка рыбы;
— порционирование (резание на куски);
— прошпаривание банок;
— фасование рыбы и посол;
— эксгаустирование и закатка банок;
— стерилизация;
— охлаждение и хранение.
В процессе производства отдельных видов консервов некоторые из этих операций могут отсутствовать или объединяться, но основной процесс производства не нарушается.
Характеристика комплексов оборудования. Линия начинается с комплекса оборудования для разделки и мойки рыбы, в состав которого входят головоотсекающая машина, рыборазделочный автомат (с вакуумным всасыванием внутренностей), моющие машины (роторного, вентиляторного и конвейерного типов).
В состав линии входит комплекс оборудования для порционирования рыбы, состоящий из порционирующих машин, а также комплекс оборудования для прошпаривания банок.
Ведущим является комплекс оборудования для фасования и посола рыбы, в состав которого входят набивочные машины и соледозаторы.
Далее следует комплекс оборудования для эксгаустирования и закатки банок, состоящий из вакуум-закаточных машин.
Завершающим является комплекс оборудования для стерилизации консервов, состоящий из автоклавов периодического или непрерывного действия.
Далее следует финишный комплекс оборудования для охлаждения и хранения готовой продукции, состоящий из транспортера, охладителя, конвейера и склада.
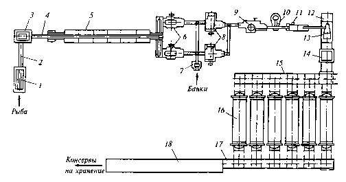
На рис. представлена машинно-аппаратурная схема линии производства рыбных консервов.

Рис. Машинно-аппаратурная схема линии производства рыбных консервов
Устройство и принцип действия линии. Рыбу разделывают на этой линии в два приема. Вначале на головоотсекающей машине 1 от рыбы отделяют голову и на конвейере 2 через образовавшийся срез вынимают ястыки с икрой. Затем на рыборазделочном автомате 3 с нее срезают плавники, вскрывают брюшко и вынимают внутренности.
Из рыборазделочного автомата 3 тушки рыбы поступают на моющий транспортер 4, а затем в порционирующую машину 6 через столы 5 для зачистки рыбы. В порционирующей машине 6 тушки рыбы режут на куски, соответствующие размеру банок. Куски рыбы передаются на набивочные автоматы 8, которые засыпают солью и пряностями в предварительно прошпаренные банки в шпарительном автомате 7, а затем укладывают в них рыбу срезами кусков вверх.
При выходе из набивочных автоматов 8 банки с рыбой подаются на предварительную закатку в клинчер 9, а затем на вакуум-закаточный автомат 10. Закатанные банки по транспортеру попадают в моечную машину 11 и затем укладываются на однорядные сетки 12.
Сетки с банкоукладчиком 13 устанавливают на вагонетки 14 и по рельсовому пути 15 вкатывают в горизонтальные аппараты 16 для стерилизации. Стерилизованные консервы подвергают горячему контролю на транспортере 7 7, а затем охлаждают холодной водой в ванне с конвейером 18. Охлажденные консервы направляют на склад для хранения и отправки на реализацию.