| Скачать .docx |
Реферат: Технология и организация возделывание сельскохозяйственных культур
Введение |
3 |
| 1. Экономико-финансовая характеристика СПК «Беленево» | 4 |
| 2. Организационно – экономическая характеристика СПК «Беленево» | 12 |
| 2.1. Характеристика нефтехозяйства | 12 |
| 2.2. Порядок выдачи и учета ГСМ | 12 |
| 2.3. Анализ показателей состава и использования МТП | 13 |
| 3. Технология и организация возделывание с/х культур | 16 |
| 3.1. Озимая рожь | 16 |
| 3.2. Озимая пшеница | 18 |
| 3.3. Озимый рапс | 21 |
| 3.4. Лущение почвы. Назначение, устройство, регулировки дисковый бороны БДТ - 3 | 22 |
| 4. Выдача нарядов на работу, учет выполнения работ, принципы оплаты труда | 25 |
| 5. Индивидуальное задание | 26 |
| 5.1. Усовершенствованный погрузчик-стогометатель | 26 |
| Заключение | 28 |
| Литература | 29 |
| Приложение |
Содержание
Введение
Создание продовольственной безопасности страны и производство дешевых продуктов питания и сырья для перерабатывающей промышленности - это важнейшие задачи агропромышленного комплекса Республики Беларусь.
Для качественной и более дешевой продукции сельскохозяйственного производства необходимо разумное применение исправной техники, выполнение производственных операций в соответствии с агротехническими нормами.
Технологическая практика является одной из важнейших составных частей учебного плана подготовки высококвалифицированного инженера - механика, способного решать сложные задачи по механизации сельскохозяйственного производства.
Задача практики - закрепление и углубление теоретических знаний по механизации производственных процессов, полученных при изучении дисциплин "тракторы и автомобили" ''сельскохозяйственные машины", "земледелие и растениеводство", приобретение опыта выполнения конкретных технологических операций в растениеводстве и животноводстве, а также ознакомление с устройством и принципом работы современных машин и оборудования для механизации сельскохозяйственных процессов.
В цели практики входит овладение практическими навыками по технологии и организации выполнения механизированных работ в растениеводстве и животноводстве, эксплуатации и техническому обслуживанию машинотракторных агрегатов, других машин для механизации растениеводства и животноводства.
Во время практики студенты должны изучить технологии производства основных сельскохозяйственных культур, научиться составлять машинно-тракторные агрегаты, готовить машины для выполнения механизированных операций интенсивных технологий возделывания основных культур зоны, выявлять и устранять неисправности в машинах, проводить техническое обслуживание машинных агрегатов.
1. Экономико-финансовая характеристика СПК «Беленево» .
СПК «Беленево» организован в 1998 году на базе колхоза «Хмелево». Данное хозяйство расположено в д. Янова, Сененнского района, Витебской области.
Основными видами хозяйственной деятельности СПК «Беленево» являются:
· - выращивание зерновых и зернобобовых культур;
· - выращивание картофеля;
· - выращивание масличных культур и их семян;
· - выращивание кормовых культур и их семян;
· - выращивание растительных, прядильных культур и их семян;
· - выращивание прочих культур, не включенных в другие группировки;
· - выращивание овощей, их семян и рассады;
· - выращивание плодов и ягод;
· - развитие КРС;
· - развитие лошадей;
· - растениеводство в сочетании с животноводством (смешанное сельское хозяйство);
· - другие услуги по выращиванию сельскохозяйственной продукции;
· - услуги в области животноводства, кроме ветеринарных услуг;
· - оптовая торговля зерном, семенами и кормами для сельскохозяйственных животных;
· - розничная торговля на рынке и другое.
По состоянию на 1.01.2008 года общая земельная площадь, закрепленная за СПК «Беленево», составляет 2455 гектар, в том числе сельскохозяйственные угодья составляют 2168 гектар, из них пашни - 1165 га, пастбища - 289 га, сенокосы – 692 га. Средневзвешенный бал сельскохозяйственных угодий – 36, пашни – 33.
В СПК «Беленево» входят 2 фермы с содержанием молочного стада и других групп крупного рогатого скота, один производственный участок, машинотракторный парк.
Форма собственности – собственность негосударственных юридических лиц. Подчиненность – Сененнский районный исполнительный комитет.
Хозяйство является юридическим лицом. Имеет:
- самостоятельный баланс;
- расчетный счет №3012200070070 отд. ОАО «белАПБ» код 419;
- УНН 3000382;
- ОКПО 03805879;
- почтовый адрес: 211097, п\о д.. Янова, Сененнский район, Витебская область.
Заготовительными пунктами являются:
- зерна – Богушевский хлебоприемный пункт (14 км);
- овощей – Богушевский райзаг (14 км.);
- льнопродукции – Богушевский льнозавод (6км);
- скота – мясокомбинат г. Витебска (100км);
- молока – Богушевский молочно-консервный завод (14 км).
Здесь находится центральная ремонтно-обслуживающая база, складское помещение, зерносушильный комплекс, две фермы крупного рогатого скота, детский сад, дом культуры, базовая и средняя школа, столовая, магазин и другие хозяйственные и культурно-бытовые постройки. На территории организации имеется дорожная сеть, с помощью которой осуществляется связь между производственными участками и другими хозяйствами, причем 30% дорог имеют лишь грунтовое покрытие.
Климат сененнского района характеризуется как умеренно-континентальный со сравнительно теплым летом, и умеренно холодной зимой. Продолжительность теплого периода, с температурой выше 0 С, составляет 226-228 дней (с 13 - 15 марта по 10 - 14 ноября), вегетационного (выше +5 С) – 186 дней (с 13 -15 апреля по 16 - 18 октября), преиод с температурой выше +10 С – 143 -144 дня ( с 29 - 30 апреля по 21 - 22 сентября). Средние показатели температуры воздуха и атмосферных осадков за год составляют соответственно + 5,1 С и 61,1мм.
Наиболее распространенными являются дерново-подзолистые, суглинистые, постилаемые моренными суглинками с глубины 0,5 - 0,9 м. Все почвы имеют двух-трехчленное строение почвенного профиля, где лессовидные суглинки и супески подстилаются с некоторой глубины мореной или водноледнековыми песками.
Содержание гумуса находится в корреляционной связи со степенью увлажнения и эрозированности почвы. В первом случае содержание гумуса увеличивается, во втором – уменьшается.
В целом пахотнопригодные почвы хозяйства пригодны для выращивания озимой пшеницы, ячменя и других требовательны к почвенным условиям культур, а также озимой ржи, картофеля, овса, многолетних трав. Естественная растительность занимает незначительную площадь, сохранилась она в виде небольшого участка леса и естественных сенокосов и пастбищ. Наземный покров представлен разнотравьем, кустарники представлены березой, сосной, черной ольхой, ивой.
Данные, позволяющие судить о размерах, структуре и использовании земельного фонда, представлены в таблице 1.1.
Таблица 1.1.
Землепользование хозяйства
| Вид угодий | Един. измерений | Годы | Структура земель с/х пользования, % | |
| 2007 | 2008 | |||
| Всего с/х угодий | Га | 3123 | 3725 | 100 |
| Из них: пашня | Га | 2354 | 2564 | 72,6 |
| Многолетние насаждения | Га | 6 | 6 | 0,1 |
| Сенокосы естественные | Га | 257 | 264 | 10,6 |
| Пастбища естественные | Га | 919 | 1325 | 21,7 |
Анализируя таблицу 1.1., можно сделать вывод о том, что в хозяйстве довольно высокий показатель распаханности земель – 73 %. Кормовые угодья занимают 819 га, или 27,4 % от площади пашни.
Балл пашни – 26,6; балл с/х угодий – 25,7 .
О специализации СПК «Беленево» можно судить по данным таблицы 1.2.
Таблица 1.2.
Основные показатели специализации хозяйства
| Отрасль производства | Товарная продукция | Валовая продукция | ||
| На сумму млн. руб. | В % к итогу | На сумму, млн. руб. | В % к итогу | |
| Растениеводство (всего): | 365 | 23 | 960 | 54 |
| В т.ч. зерновые и зернобобовые | 216 | 19 | 353 | 18 |
| рапс | 23 | 2 | - | - |
| кормовые и прочие культуры(лен) | 25 | 2 | 11 | 0,6 |
| Животноводство (всего): | 775 | 76 | 964 | 47 |
| В т.ч. молоко | 458 | 40 | 590 | 30 |
| говядина | 317 | 40 | 374 | 16 |
| Итого | 1140 | 100 | 1924 | 100 |
Из таблицы 1.2 видно, что СПК «Беленево» специализируется на производстве зерновых ( на растениеводство приходится 54 % всей товарной продукции), что позволяет обеспечить животноводство кормами
В животноводстве наибольший удельный вес в валовой продукции занимает молоко (30 %). Необходимо только сохранить качество молока.
Для анализа эффективности функционирования хозяйства проанализируем ряд показателей уровня производства путем сравнения по годам. Показатели экономической эффективности представлены в таблице 1.3
Таблица 1.3
Показатели экономической эффективности использования земли.
| Показатели | Един. измер. | Годы | |
| 2006 | 2007 | ||
| На 100 га с/х угодий: | |||
| крупного рогатого скота | гол. | 50 | 50 |
| в том числе коров | гол. | 14 | 14 |
| Молока | ц | 521 | 580 |
| Мяса (в живом весе) | ц | 48 | 42 |
| Валовой продукции (в сопост. ценах) | млн. руб. | 1854 | 2064 |
| кормов | Ц. к. ед. | 63640 | 8116 |
| На 100 га пашни зерна | ц | 2150 | 2770 |
| рапса | ц | 1000 | 850 |
| Кормовых корнеплодов | ц. | 25100 | 2030 |
Рассматривая показатели таблицы 1.3, можно отметить, что плотность КРС на площадь сельскохозяйственных угодий из года в год увеличивается, при этом растет производство молока на 100 га сельскохозяйственных угодий ( 580 ц в 2007 году и 521 ц в 2006 году). Однако, привеса КРС в 2007 году получено меньше, чем в 2006 году. Прибыль в 2007 г. возросла по отношению к 2006 г. Идет переоборудование ферм, ставятся новые доильные установки, производится ремонт коровников.
Состав и структура посевных площадей представлены в таблице 1.4.
Таблица 1. 4.
Состав и структура посевных площадей
| Культура | Посевные площади, га | |
| 2006 | 2007 | |
| 1.Зерновые и зернобобовые (всего) | 1120 | 1065 |
| озимые | 470 | 535 |
| яровые | 650 | 485 |
| зернобобовые | 349 | 189 |
| 2. Картофель | 100 | 100 |
| 3. Кормовые корнеплоды | 15 | 30 |
| 4. Лен | 100 | 115 |
| 5. Травы многолетние на сено | 560 | 468 |
| 6. Травы многолетние на зеленую массу | 235 | 245 |
Главным условием успешного развития животноводства является создание прочной кормовой базы. Она обеспечивает рост поголовья сельскохозяйственных животных и высокую их продуктивность. Анализ показателей эффективности возделывания кормовых культур необходим для рациональной организации кормовой базы. Так как выход кормовых единиц и перевариваемого протеина с 1 га не дает полной оценки кормовых культур, то для более полной оценки подсчитывается выход кормов с 1 га в условных кормопротеиновых единицах.
Урожайность сельскохозяйственных культур можно проанализировать в таблице 1.5.
Таблица 1. 5.
Урожайность сельскохозяйственных культур ц/га
| Показатели | 2006 | 2007 |
| Зерновые и зернобобовые | 21,7 | 25,8 |
| Озимые | 15,6 | 31,5 |
| Яровые | 18,4 | 36,6 |
| Зернобобовые | 21,1 | 26,6 |
| Кормовые корнеплоды | 145 | 160 |
| Многолетние травы на зеленую массу | 160 | 155 |
| Многолетние травы на сено | 21 | 29 |
| Однолетние травы на зеленую массу | 180 | 135 |
| Лен | 3 | 2 |
Основным условием повышения эффективности животноводства является обеспечение поголовья необходимым объемом и ассортиментом кормов и их правильным использованием.
Рационы корма должны быть биологически полноценны и содержать оптимальное количество перевариваемого протеина и других питательных веществ.
Потребность в кормах удовлетворяется как правило за счет производства их в хозяйстве. Со стороны приобретаются главным образом комбикорма и примеси.
В таблице 1.6. можно наблюдать, какая приходится нагрузка на одного работника.
Таблица 1.6.
Нагрузка на одного работника
| Показатели | 2006 | 2007 |
| Сельскохоз. угодья, га | 15,8 | 15,9 |
| Пашня | 12,2 | 12,4 |
| Посев, га. всего: | 8,7 | 8,8 |
| в т.ч. зерновые | 6,1 | 6,3 |
| Картофель | 3,6 | 3,7 |
| Сахарная свекла | 4,1 | 4,3 |
Исходя из табличных данных видно что нагрузка на одного работника в среднем возрастает это связано с тем что при той же площади уменьшено количества рабочих.
Затраты труда на производство основных видов продукции приведены в таблице 1.7.
Таблица 1.7.
Затраты труда на производство основных видов продукции
| Показатели | 2006 | 2007 |
| Затраты труда на 1 ц. чел-ч зерна | ||
| Рожь | 20,5 | 20,6 |
| Овес | 12,3 | 12,1 |
| Ячмень | 16,5 | 15,2 |
Анализируя таблицу 1.7. можно сделать вывод, что затраты труда на производство основных видов продукции за последние два года находятся примерно на одном уровне.
Рентабельность отдельных видов продукции растениеводства сведины в таблице 1.8
Таблица 1.8
Рентабельность отдельных видов продукции растениеводства (стоимостные показатели млн. руб.
Отрасль и вид продукции |
2006 | 2007 | ||||||
| Себестоим товар.прод. | Выручка от реализации | Прибыль (+) убыток (-) | Уровень рентабельности | Себестоим.товар.прод. | Выручка от реализации | Прибыль (+) убыток (-) | Уровень рентабельности | |
| Растениеводство, всего | 280 | 251 | -29 | -0,10 | 245 | 268 | +20 | +0,08 |
| Рожь | 52 | 49 | -3 | -0,05 | 78 | 95 | +17 | +0,21 |
| Ячмень | 98 | 92 | -6 | -0,06 | 44 | 51 | +7 | +0,15 |
| Овес | 9 | 6 | -1 | -0,11 | 5 | 6 | +1 | +0,2 |
Животноводство – важнейшая отрасль сельского хозяйства, основными задачами анализа животноводства являются: определение роли животноводства в целом, каждой его отрасли в хозяйстве, оценка выполнения плана производства продукции, воспроизводства стада, повышение продуктивности, обеспечение кормами и производственными помещениями, изучение и рассмотрение передового опыта, вскрытие имеющихся резервов и выработка мероприятий по использованию, повышение уровня интенсивности производства.
Данные о поголовье скота в СПК «Беленево» представлены в таблице 1.9.
Таблица 1.9.
Показатели эффективности животноводства
| Показатели | 2006 | 2007 |
| Крупный рогатый скот (всего) | 1456 | 1654 |
| В том числе: коровы | 541 | 589 |
| Приходится на100 га с/х угодий КРС | 50 | 50 |
| В т. ч.: коров | 14 | 14 |
| Продуктивность животных: среднегодовой удой молока на 1корову, кг | 3576 | 3602 |
| Среднесуточный привес, г: молодняк КРС на откорме | 450 | 430 |
| Себестоимость т, млн руб молока | 359 | 376 |
| Привесы КРС | 3448 | 3640 |
| Затраты труда на 1 ц, чел.-ч: молоко | 5,5 | 5,0 |
| Деловой выход приплода на 100 маток, гол: телят | 100 | 89 |
| Нагрузка на одного работника, КРС, гол | 30 | 30 |
В качестве главного направления увеличения производства продукции животноводства определено повышение продуктивности скота.
Продуктивность животных измеряется количеством продукции, полученной на голову скота за определенный период времени. Она зависит от множества причин: уровня кормления, породы, условий содержания.
Продуктивность можно повысить за счет организации племенной работы, ее совершенствование является крупным результатом увеличения производства продукции животноводства.
При производстве сельскохозяйственной продукции в условиях рыночных отношений очень важно минимизировать производственные затраты с целью повышения максимума прибыли. Себестоимость единицы продукции в растениеводческих отраслях зависит от урожайности соответствующей культуры и производственных затрат на 1 га. Для анализа причин изменения себестоимости продукции в животноводстве сопоставим полученные данные с изменением продуктивности животных и производительности труда. Для анализа изменения уровня себестоимости единицы продукции представим в виде таблицы 1.10
Таблица 1.10.
Рентабельность отдельных видов продукции животноводства
| Отрасль и вид продукции | 2006 | 2007 | ||||||
| Себестоимость товарной продукции | Выручка от реализации | Прибыль (+) убыток (-) | Уровень рентабельности | Себестоимость товарной продукции | Выручка от реализации | Прибыль (+) убыток (-) | Уровень рентабельности | |
| Животноводство, всего | 744 | 735 | -9 | -0,01 | 112 | 92 | -20 | -0,18 |
| Молоко | 360 | 368 | +8 | +0,02 | 455 | 500 | +45 | +0,09 |
| Говядина | 336 | 313 | -23 | -0,05 | 355 | 317 | -38 | -0,1 |
Анализ данных таблицы 1.8 и 1.10 позволяет судить об изменении себестоимости единицы продукции, однако в связи с высокими темпами инфляции четко проследить тенденцию невозможно.
Одним из показателей, характеризующих экономическую эффективность производства того или иного вида продукции, является рентабельность.
Анализ рентабельности производства необходим при реформировании предприятия, при изменении специализации.
2. Организационно – экономическая характеристика СПК «Беленево» .
СПК «Беленево» является средним сельскохозяйственным предприятием Сененского района Витебской области.
2.1. Характеристика нефтехозяйства
База хранения и пункт выдачи ГСМ расположена в ста метрах от машинного двора. Пункт выдачи ГСМ расположен возле дороги, имеет подъезд для тракторов и автомобилей.
База хранения и пункт выдачи ГСМ сделаны в соответствии с противопожарными нормами и требованиями. Расположение емкостей для хранения топлива и смазочных материалов, а так же помещений для хранения технических жидкостей можно увидеть на рисунке 1.
В хозяйстве для перевозки топлива и заправки топливом техники имеется автозаправщик на базе автомобиля ГАЗ-53.
2.2. Порядок выдачи и учета ГСМ
Выдача ГСМ производится заправщиком по путевому листу водителя (механизатора) в котором, ответственным за выпуск техники на линию указывается количество топлива. Заправщик ведет учет выданного топлива в специальном журнале, где записывается фамилия водителя (механизатора), номер машины и количество выданного топлива.
Рис 1: Схема нефтехозяйства СПК «Беленево»
1 Пост оператора
2 Склад ГСМ
3 Цистерны для хранения ГСМ
4 Противопожарные комплексы
5 Колонка заправочная для дизельного топлива
6 Колонка заправочная для бензина
2.3. Анализ показателей состава и использования МТП.
Для выполнения различных технологических операций при производстве продукции растениеводства и животноводства хозяйство располагает следующими техническими средствами. Их марки и количество по годам приведены в таблице 2.3.1
Таблица 2.3.1
Основной состав машинотракторного парка
| Наименование и марка машин | Годы | |
| 2006 | 2007 | |
| 1 | 2 | 3 |
| МТЗ-82, 80 | 16 | 24 |
| К – 701, К – 744 | 2 | 2 |
| МТЗ – 1221 | 7 | 7 |
| МТЗ – 3022 | 1 | 1 |
| Всего тракторов: | 26 | 34 |
| Тракторные прицепы | 9 | 9 |
| Зерноуборочные комбайны | 6 | 7 |
| ДОН – 1500 | 2 | 3 |
| КЗР – 10 | 1 | 1 |
| Лида – 1300 | 2 | 2 |
| КЗС – 7 | 1 | 1 |
| Кормоуборочные комплексы, всего | 1 | 1 |
| К-Г-6 «Полесье» | 1 | 1 |
| Сеялки всего: | 8 | 8 |
| Картофелесажалки | 1 | 1 |
| Сенокосилки тракторные | 6 | 4 |
| Льноуборочные комбайны | 2 | 2 |
| Доильные установки | 7 | 5 |
| Зерносушильные комплексы | 2 | 2 |
| Зерноочистительные машины | 2 | 1 |
| Пресподборщики | 2 | 4 |
| Опрыскиватели | 2 | 3 |
| Плуги | 10 | 12 |
| Культиваторы | 5 | 5 |
| Грузовые автомобили : Газ – 53; Зил – 130,131; Маз | 12 | 13 |
| Комбинированные почвообрабатывающие агрегаты | 2 | 2 |
Анализ таблицы 2.3.1 показывает, что машино – тракторный парк за последние 2 года существенно обновился. Вся имеющаяся техника в хозяйстве располагается на машинном дворе, который отображен на рис 2:
Рис 2: Схема машинного двора СПК «Беленево»
1. Проходная машинного двора
2. Боксы для хранения техники
3. Мастерские
4. Сварочный цех
5. Мойка
6. Площадки для хранения с/х техники
7. Места постановки техники
8. Склад
Оценить работу МТП хозяйства за 2 последние года можно на основании данных таблицы 2.3.2.Таблица 2.3.2
Показатели использования МТП
| Показатели | Годы | |
| 2006 | 2007 | |
| Всего тракторов в пересчете на условные эталонные тракторы | 26 | 34 |
| Выполнено работ, у. э. га | 1176 | 1736 |
Выработка на 1 условный трактор усл. эт.га Годовая |
40,5 | 64,3 |
| Коэффициент использования МТП | 41 | 43 |
| Коэффициент сменности | 1,07 | 1,08 |
Плотность механизированных работ: на 1 га пашни, усл. эт. Га |
14,89 | 16,08 |
| Тракторообеспеченность (эт\тр: 100 га пашни) | 103 | 110 |
| Отработано дней эт. трактором | 249 | 216 |
| Расход горючего на 1 усл.эт.га | 7,7 | 10,4 |
| Выработка на 1 зерноуборочный комбайн, сеззонная га | 162 | 177,5 |
| дневная | 5,4 | 5,2 |
| Коэффициент использования автотранспорта | 31 | 28 |
| Коэффициент использования пробега | 45 | 36 |
| Количество грузовых автомобилей, шт | 12 | 12 |
Рассматривая показатели таблицы 2.3.2. можно отметить, что тракторообеспеченность в хозяйстве хорошая.
Из года в год количество механизаторов уменьшается, выработка на 1 зерноуборочный комбайн постепенно увеличивается.
3. Технология и организация возделывание с/х культур.
Предшественники Лучшие предшественники - клевер одногодичного пользования, горох, горохо-овсяные и другие бобово-злаковые смеси, пласт и оборот пласта многолетних злаковых трав, ячмень после пропашных, хорошо удобренных органикой.
Последовательность проведения технологических операций при возделывании озимой ржи:
1. Лущение . Проводят вслед за уборкой стерневых предшественников: на легких почвах - лущильниками ЛДГ-5+МТЗ-82 или, на средних и тяжелых - дисковыми боронами БДТ-7 + К744. Основная цель лущения - борьба с сорной растительностью.
2. Основное внесение удобрений. Технология возделывание озимой ржи предусматривает внесение органических удобрений. Рекомендуется вносить 20-25 т/га «навоза» а по не накопляющим азот предшественникам на суглинистых почвах - 25-30, на супесчаных - 30-40 т/га.
Наряду с органическими удобрениями осенью перед вспашкой вносят и минеральные. Ориентировочные дозы: 70-80 кг/га д.в. фосфорных и 110-120 кг/га д.в. калийных. Если по каким -то причинам в основную заправку почвы не вносился навоз, то вносят аммиачную воду (2-3 ц/га). Озимая рожь в осенний период нуждается в умеренном азотном питании и повышенные дозы азотных удобрений могут снижать зимостойкость. Для внесения минеральных удобрений используются Л-116 (МВУ-0.5А) + МТЗ-82, МВУ-8 + МТЗ-1221
3. Вспашке. Через 10-15 дней после лущения и вслед за внесением органических и минеральных удобрений проводят вспашку на глубину 20-22 см плугами ПГП-7-40 + К701, ППГ-5-40 + МТЗ-1221.Уплотнения почвы и выравнивания поверхности МТЗ-1221 + АКШ-3.6. Поверхность пашни должна быть слитной, выровненной, с хорошим крошением и уплотненной.
4. Предпосевная обработки почвы. Проводят комбинированными агрегатами МТЗ-1221 + АКШ-3.6, К744 + АКШ - 7.2, При этом обеспечивают создание плотного семенного ложа, рыхлой поверхности почвы над ним и равномерная заделка семян на заданную глубину, В обработанном слое должно быть как можно меньше почвенных комочков диаметром от 1 до 5см.
5. Подготовка семян. Подготовкой семян к посеку является протравливание их одним из препаратов: байтан-универсал, 19.5%-ный с.п. (2 кг/т), фундазол, 50%-ньШ с.п. (2 кг/т). Протравливание производится с помощью ПСШ-5, ПС-10(Одновременно с протравливанием семян проводят их обработку микроудобрениями: сульфата меди - 80-90, молибденово-кислого аммония -80-90, сульфата марганца - 70-90, борной кислоты - 60-70 г на 1 ц семян.
6. Нормы высева семян. Устанавливают в зависимости от плодородия почв и особенностей сорта. Норма высева семян – 3,5-4,0 млн. всхожих зерен на гектар.
7. Сроки сева. В северных и центральных районах области - 25 августа - 5 сентября, в южных - 1-10 Сентября. Диплоидные сорта высевают в первой половине рекомендуемых сроков, тетраплоидные -во второй.
8. Способы сева и глубина заделки семян. Высевают озимую рожь узкорядным или рядовым способом с заделкой семян на глубину 1.5 - 2 см. Если поверхностный слой почвы иссушен, глубину посева семян увеличивают на 1 см.
Используются односеялочные агрегаты МТЗ-821+ СПУ-З , МТЗ-1221+ СПУ-6.
Посев проводится челночным способом со скоростью 7- 8 км/ч.
Припосевное внесение 15-20 кг/га д.в. гранулированного суперфосфата является обязательным агроприемом.
Сразу же после окончания посева основного массива проводят культивацию поворотных полос. Затем проводится посев без технологической колеи.
9. Осенний уход за посевами. После посева, но до всходов против однолетних двудольных сорняков, устойчивых к 2.4 Д и 2М-4Х проводится химическая прополка симазином, 80%-ным с.п. (0.3 кг/га). Если кроме двудольных сорняков встречаются и однолетние злаковые сорняки, то можно применять Рейсер, 25%-ный к.э. (1-2л/га). После появления всходов сорняков за 3-4 дня до всходов культуры против однолетних и многолетних злаковых и двудольных посевы обрабатывают гербицидом Каста, 14%-ный в.р., 2-3 л/га. Расход рабочей жидкости - 300 л/га. В агрегате с МТЗ-80 применяют опрыскиватели ОПШ-15М( 12Д8,24).
Если семена не были обработаны фундазолом, то в целях борьбы со снежной плесенью и корневыми гнилями необходимо котирующие растения обработать этим препаратом в дозах 0.5-0.6 кг/га при рабочей жидкости 200 л/га.
10 . Весенний уход за посевами . В целях уничтожения ледяной корочки применяется калийная соль (1 .5-2 ц/га) и торфокрошка (0.5 1г/га), которые равномерно разбрасываются по полю МТЗ-1221 + МВУ-8.
Первая подкормка проводится азотными удобрениями рано весной в дозе, установленной согласно почвенной диагностике. Весной в фазу кущения против однолетних двудольных широколистных сорняков используют препараты: 2.4 Д аминная соль, 40%-ный в.р. (1.5-2.5 л/га 2М-4Х, 70%-ный р.п. (1.4-23 кг/га), если в посевах встречаются однолетние сорняки , устойчивые к 2.4 Д и 2М-4Х, то используют препараты диален , 40%-ный в.р. (1.9-2.5 л/га), диапрен, 40%-ный в.р. (3-5 л/га). Можно к препаратам 2.4 Д и 2М-4Х добавлять лонтрел 300, 30%-ный в.р. (0.16-0.2 л/га), если встречаются многолетние двудольные, то дозу лонтрела увеличивают до 0.4-0.5 л/га.
Вторая подкормка проводится в фазе выход в трубку-стёблевание. Лучше в начале фазы. Доза удобрений - 40-50 кг/га д.в. в зависимости от потребности по растительной диагностике. Против полегания посевы обрабатывают кампазаном (4 кг/Га) в начале фазы выхода в трубку.
В целях борьбы с болезнями (мучнистая роса, септориоз в др.) в фазе трубкования до колошения посевы опрыскивают байлетоном (50%-ный с.п., 0.5 кг/га), альто 4003С (40%-ный с.к., 0,15-0,2 л/га).
За две недели до уборкидля ускорения подсушивания зерна (при его влажности не более 30%) и борьбы с вегетирующими сорняками можно проводить опрыскивание посевов гербицидом ураган, 48%-ным в.р.
11. Уборка озимой ржи. проводят прямым комбайнированием. Прямое комбайнирование начинается при достижении полной спелости зерна. После достижения этой фазы уборка не должна длиться более 6-8 дней. Комбайны Дон - 1500, Лида - 1300, КЗР- 10.
1. Обработка почвы. Обработка почвы под озимую пшеницу зависит от перезанимающей культуры, характера засоренности и от почвенных условий. Пшеница хорошо отзывается на углубление пахотного слоя, на глубокую осеннюю вспашку под парозанимающую культуру.
На посеве пропашных культур в паровом поле надо особенно тщательно проводить междурядную обработку. Тогда после уборки парозанимающей культуры не требуется проводить вспашку. Достаточно провести дискование с последующим боронованием (поверхностное рыхление).
Если непаровые и парозанимающие культуры убраны за 1,5 - 2 месяца до посева озимой пшеницы, поле обрабатывают по системе полупара, т.е. после вспашки с боронованием проводят двукратную культивацию. В засушливые годы целесообразно немедленно после уборки парозанимающей культуры провести лущение.
2. Внесение удобрений . Минеральные удобрения вносят в соответствии с рекомендацией агротехнической лаборатории и с показателями агрохимического обследования почв.
Большое значение обычно имеют фосфорные удобрения. Внесение суперфосфата из расчета 50-70 кг действующего вещества на 1 гектар дает прибавку в урожае на зерна от 4 до 5 ц/га. На выщелочных черноземах и в нечерноземной зоне возможно применение и фосфорной муки. Азотные минеральные удобрения вносят в подкормку главным образом рано весной, но иногда и осенью.
Необходимость применения подкормки весной объясняется тем, что озимая пшеница выходит из под снега ослабленной и нуждается в усиленном питании.
3. Посев. Подготовка семян. Качество семян - одно из важных условий получения высокого урожая. Растения, выращенные из крупных семян, способны глубже закладывать узел кущения. Глубина залегания узла кущения оказывает влияние на перезимовку растений: чем глубже заложен узел кущения, тем выше зимостойкость озимой пшеницы. Растения, полученные из крупных семян, развивают более мощную корневую систему, быстрее растут, меньше подвергаются воздействию засух, значительно слабее поражаются болезнями и в результате дают более высокий урожай.
Во многих районах Нечерноземной зоны, где период между уборкой и посевом озимых бывает кратким, необходимо иметь для посева запасы семян из урожая прошлого года - переходящий фонд семян. Посев озимых свежеубранными семенами, которые могут быть физиологически недозрелыми, вБелоруссии приводит к изреженности всходов и слабому развитию растении.
При необходимости использования для посева свежеубранных семян с пониженной всхожестью следует перед посевом подвергнуть их прогреванию на солнце в течение 3-5 дней или в зерносушилке при температуре 45-48°С в течение 2-3 часов. Для обеззараживания семян от спор твердой головни их протравливают.
Эффективный прием подготовки семян к посеву - обработка их препаратом тур (хлорхолинхлорид). После такой обработки растения глубже закладывают узел кущения, формируют более мощную и глубоко проникающую корневую систему. Это повышает устойчивость озимой пшеницы к неблагоприятным условиям зимовки, полеганию и увеличивает урожайность (на 2-5 ц с 1 га). При обработке семян препаратом тур появление всходов несколько задерживается (на 1-2 дня), поэтому лучшее время для посева - начало оптимального срока, принятого в данной зоне.
4. Сроки посева. Один из решающих факторов благополучной перезимовки озимых - оптимальные сроки посева. При слишком раннем посеве растения обладают пониженной морозостойкостью и зимостойкостью. Особенно сильно проявляется отрицательное влияние ранних сроков посева на удобренных чистых парах, где растения, имея лучший водный и пищевой режим, перерастают, плохо зимуют, что приводит к более резкому снижению урожайности. При поздних сроках посева озимые, как правило, уходят в зиму слабыми. Даже при хороших условиях перезимовки они изреживаются, а весной отстают в росте и развитии.
Период осенней вегетации озимой пшеницы должен быть 50-55 дней.
5. Способы посева . Лучшие способы посева узкорядный (междурядья не более 10 см) и перекрестный. Эти способы позволяют более равномерно распределить семена на площади, благодаря чему растения лучше развиваются, меньше угнетают друг друга, увеличивают продуктивную кустистость и мощность корневой системы, полнее используют свет, влагу, питательные вещества и дают более высокий урожай. По многочисленным данным, узкорядный и перекрестный способы посева озимой пшеницы в сравнении с обычным рядовым посевом дают прибавку урожайности в среднем 2-4 ц с 1 га, в некоторых случаях - еще выше.
6. Нормы посева. Географическая изменчивость норм посева находится в зависимости от климатических и почвенных условий. Боле густые посевы применяются в северных увлажненных районах, более редкие - в южных и особенно юго-восточных засушливых района. В северных увлажненных районах основными факторами, определяющими оптимальную норму посева, являются освещение и плодородие почвы, а в засушливых - обеспечение растений влагой. Отсюда следует чем меньше в почве влаги, тем менее густым должен быть посев. Этап и определяется снижение норм посева при продвижении с севера на юг и с северо-запада на юго-восток. При возделывании озимой пшеницы при орошении в засушливых районах норма посева повышается.
7. Глубина посева. Для озимой пшеницы требуется относительно более глубокая заделка семян, при которой глубже закладывается узел кущения. При мелкой заделке увеличивается опасность вымерзания. На черноземных почвах и в засушливых районах семена озимой пшеницы заделывают на глубину 5-6 см. При сильном пересыхании верхних слоев почвы глубину посева семян на черноземах можно увеличивать до 8-10 см. В Нечерноземной зоне на тяжелых глинистых почвах, склонных к сильному заплыванию и уплотнению, обычная глубина посева составляет 4—5 см, а на средних почвах - 5-6 см.
8. Уход и уборка . Первый прием за озимой пшеницей прикатывание после посевов. Оно предупреждает выпирание узла кущения при оседании почвы. Переросшие озимые подкашивают, что бы при выпадении снега не создавалась воздушная прослойка между почвой и снежным покровом.
Осенью и весной для предупреждения вымокания посевов принимают меры по удалению избытка воды, зимой проводят снегозадержание. Весной озимую пшеницу подкармливают и обрабатывают от вредителей и болезней.
Озимая пшеница хорошо дозревает в валках, поэтому убирают преимущественно раздельным комбайнированием. Возможно и прямое комбайнирование. Запаздывать с уборкой нельзя т.к. это приводит к осыпаниюзерна.
Перечень операций для производства озимой пшеницы
1. Дискование К-744 + БДТ-7.
2. Погрузка минеральных удобрений СЗУ-20.
3. Транспортировка и внесение минеральных удобрений МТЗ -1221+ РУМ-8.
4. Запашка минеральных удобрений К – 701 + ПТК-9-35.
5. Культивация с боронованием МТЗ – 1221 + АКШ -7,2.
6. Протравливание СЗУ-20.
7. Посев МТЗ-82.1 + СПУ - 6,
8. Прикатывание МТЗ-82+ СКГ-2
9. Погрузка минеральных удобрений СЗУ-20.
10.Транспортировка и внесение минеральных удобрений МТЗ - 82+ МВУ-0,5
11.Подвоз воды МТЗ – 82 + РЖТ-5.
12.Химическая обработка МТЗ-82 + ОП-2000.
13.Подвоз воды МТЗ – 82 + РЖТ-5.
14.Химическая обработка МТЗ – 82 + ОП-2000.
15.Уборка урожая ДОН – 1500 + 2ПТС-4.
16.Транспортировка зерна на км ГАЗ-53.
17.Транспортировка соломы МТЗ – 82 + 2ПТС-4.
Рапс озимый – масличная культура возделываемая в Республике Беларусь. Под озимый рапс тщательно подбирают участок. Он должен быть выровнен, без колдобин и желательно с небольшим южным уклоном. Размещают его на дерновоподзолистых, легко- и среднепесчаных почвах.
Предшественники. Хорошими предшественниками являются культуры, рано освобождающие поле: однолетние травы, ранний картофель.
Удобрения . Рапс характеризуется повышенным расходом питательных веществ на создание урожая. Особенно требовательна эта культура к азотным удобрениям. На среднеобеспеченных почвах на 1 га вносится 120 – 150 кг азота, 60 – 90 кг Р2 О5 и 90 – 120 кг К2 О. Азотные удобрения вносятся осенью под предварительную культивацию в дозе не более 30 кг д.в. на 1 га. Остальная часть – весной при подкормке.
Обработка почвы. Проводится сразу после уборки предшественников. После однолетних трав и раннего картофеля поле пашут плугами общего назначения. После многолетних трав верхний пласт следует предварительно измельчить в два следа тяжелыми дисковыми боронами (БДТ –3) с последующей запашкой.
Предпосевная обработка проводится комбинированными агрегатами типа АКШ – 7,2, РВК – 3,6 или культиватором с боронами с последующим кольчато-шпоровыи катками перед посевом.
Подготовка семян к посеву. Семена рапса не имеют периода послеуборочного дозревания, поэтому для посева могут использоваться семена текущего года, после тщательной очистки и сушки. Перед посевом проводится протравливание.
Посев. Сроки посева и нормы высева озимого рапса являются важнейшими операциями в технологическом процессе. Оптимальный срок посева – первая декада августа. Оптимальная густота растений озимого рапса осенью составит 80 – 100 штук на 1 м2 . Для получения такой плотности рекомендуется высевать 1,0 – 1,5 млн. всхожих семян на гектар. Глубина заделки семян на легких почвах 2,0 – 2,5 мм на суглинистых 1,0 – 1,5 см.
Уборка. Рапс убирают прямым и раздельным способом. Первый способ применяется на чистых, равномерно созревших посевах при влажности семян 15 – 18%.
Раздельный способ уборки применяют при неравномерном созревании. В валки рапс скашивают на высоте среза 25 – 30 см. Подбирать валки, проводить прямое комбайнирование лучше в утреннее и вечернее время, когда стручки меньше растрескиваются. Для уборки применяют комбайны Дон-1500, Лида-1300, КЗС-10.
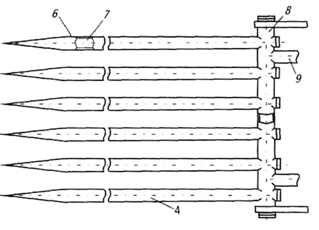
3.4. Лущение почвы. Назначение, устройство, регулировки дисковый тяжелой прицепной бороны БДТ - 3
Лущением называют рыхление почвы на небольшую глубину стерни с одновременным оборачиванием почвы с целью провоцирования всходов сорняков. Применяемые для этих целей машины называются лущильниками. Они бывают дисковыми – обработка на глубину 7…14 см и лемешными – обработка на глубину 7…14 см.
Дисковая тяжелая прицепная борона БДТ-3. Предназначена для разработки пластов почвы, вспаханной плугами. Глубина обработки до 20 см. Борона агрегатируется с тракторами класса 3.
Борона состоит из рамы 3 (рис. 3.4.1), на которой закреплены четыре дисковые батареи / (в два ряда), составленные из сферических вырезных дисков; механизма выравнивания; транспортных колес 7 и прицепа 9. Левая задняя батарея снабжена восьмью дисками, остальные — семью. Имеются дисковые бороны с различным числом дисков на секциях. Дополнительный диск левой задней батареи обрабатывает полосу почвы, остающуюся между передними батареями. Диски очищаются чистиками.

Рис.3.4.1. Борона БДТ-3:
1 — батарея дисков; 2 — гидроцилиндр; 3 — рама; 4 — тяга; 5 — ось; 6 — кулак; 7 — транспортное колесо; 8 — кронштейн; 9 — прицеп; 10 — регулировочный винт; 11 — распорка для дальнего транспортирования: 12 — рычаг.
Механизм выравнивания имеет рычаг 12, соединенный с рамой и посредством регулировочного винта 10 — с прицепом. В то же время рычаг при помощи тяги 4 связан с кулаком 6 коленчатой оси 5. При вращении винта рычаг перемещает тягу, которая кулаком поворачивает ось и тем самым изменяет положение колес относительно рамы. В транспортное положение раму поднимают гидроцилиндром, поворачивающим ось и опускающим колеса вниз. При транспортировании на дальнее расстояние используют распорку 11.
Большей глубины обработки достигают при большем угле атаки.
В бороне БДН-3 для установки угла атаки 12, 15, 18 и 21° вынимают штырь, фиксирующий скобу батарей на боковом брусе, перемещают кронштейны батарей на требуемое расстояние и штырем фиксируют положение батареи. Для удобства регулировки брус имеет ряд отверстий, каждому из которых соответствует определенный угол атаки. Раму бороны устанавливают горизонтально с помощью навесного устройства трактора.
Глубину обработки почвы бороной БДТ-3 регулируют изменением угла атаки дисков. Для этого перемещают внешние концы батарей с последующим закреплением их штырями и быстросъемными шайбами и гайками. Равномерность заглубления дисков передних и задних секций устанавливают при помощи выравнивания рамы. Зазор между чистиками и дисками должен быть наименьшим, но исключено их соприкосновение между собой.
Вывод: во время прохождения практики я работал на МТЗ – 12.21 с дисковой бороной БДТ – 3. Мною было сделаны следующие замечания: низкая техническая готовность агрегатов, плохая организация ремонта и обслуживания техники в поле, устаревшие агрегаты, что приводило к постоянным поломкам и низкой производительности.
4. Выдача нарядов на работу, учет выполнения работ, принципы оплаты труда .
В начале рабочего дня заведующий автогаражом выдает путевые листы водителям, а бригадир тракторной бригады - механизаторам. В путевом листе указывается: номер машины, наименование работы, количество топлива для заправки.
Контроль выполнения работы проводят ведущие специалисты, либо материальноответственные лица (агроном, бригадир – полевые работы, заведующий складом — транспортные работы, и т. д.).
В конце рабочего дня водители (механизаторы) сдают путевые листы руководящему составу, который в свою очередь передают их в бухгалтерию для начисления заработной платы в конце месяца.
Контроль выполнения ремонтных работ ведет инженер ответственный за работу данной техники, линии, комплекса.
Учет рабочего времени ведется в специальном табеле учета рабочего времени. В нем указывается: отработанное время, выходные дни( отгулы, пропущенные дни и т.д.)
Основные принципы оплаты труда: сдельная, повременная.
Сдельная применяется при транспортных, полевых механизированных перерабатывающих работах.
Повременная применяется при выполнении ремонтных работ, механизированных работ в животноводстве.
5. Индивидуальное задание.
5.1. Усовершенствованный погрузчик - стогометатель


Погрузчик-стогометатель: 1 — трактор; 2 — рама; 3 — рычажный манипулятор; 4 — вильчатый захват; 5 — вентилятор; 6 — зубья; 7 — отверстия; 8 — брус;
9 — патрубок.
Усовершенствованныйпогрузчик-стогометательсодержитустановленнуюнатракторераму, накоторойпосредствомрычажногоманипуляторасмонтированвильчатыйзахват. Егозубья выполненыполымисотверстиямиповсейдлине. Брус, несущийзубьязахвата, тожевыполненполымисообщёнсполостямизубьевиприпомощигибкогопатрубкасвентилятором, закреплённым сзадинатракторе. Дляподсушиваниясенапринеблагоприятныхпогодныхусловияхтракторист опускаетзахвативводитзубьявстогвблизиегооснования. Затемвключаетвентилятор, ивоздух черезгибкийпатрубокнагнетаетсявполостьбруса, откудараспределяетсяпополостямзубьев захвата, выходячерезихотверстияипронизываямонолитсена. Врезультатеизлишняявлагаотбираетсяотсена, ионоинтенсивноподсушивается. Придоведениивлажностивнижнемслоедо требуемойнормызахватподнимаетсяивводитсявышепрежнегоуровня, например, на 1 м итак повсейвысотестога.
Заключение
За время прохождения производственной практики в СПК «Беленево» я значительно повысил уровень знаний. Научился комплектовать машинно-тракторные агрегаты в соответствии с агротехническими требованиями к их работе и агроклиматическими условиями, а также проводить технологическую настройку и регулировку агрегатов до выезда в поле и в полевых условиях. Приобрел определенные профессиональные навыки по устранению неисправностей, возникших во время работы и эксплуатации сельскохозяйственной техники. Мне хотелось бы обобщить основные выводы и предложения, касающиеся работы СПК «Беленево»:
· В хозяйстве организован строгий учет выполненных работ и постоянный контроль над качеством соблюдения технологических процессов.
· Разработанная система анализа норм расхода топлива позволяет своевременно выявлять пережоги топлива, стоимость которых удерживается из зарплаты механизаторов. Однако, имеют место факты несоответствия норм фактическому расходу.
· Совершенствование базы собственного ремонтного цеха, занятого ремонтом основных узлов и агрегатов сельхозмашин и техники, позволяет в значительной мере экономить средства.
· Своевременная консервация и постановка сезонной техники на хранение позволяет сохранить ее в исправном состоянии и продлить срок ее эксплуатации.
· В связи с приобретением новой техники в хозяйстве не хватает высокоспециализированных кадров.
· Для снижения себестоимости сельхозпродукции необходимо использовать энергосберегающие технологии.
· Нерациональное использование МТП хозяйства приводит к экономическим затратам.
· Отсутствие запасных частей и узлов на складе приводит к длительным ремонтам и простоям техники.
Литература
1. Годовые отчёты хозяйства.
2. Интенсивные технологии возделывания сельскохозяйственных культур/ Г. В. Корнеев, Г. Г. Гатулина, А. И. Зинченко и др.; Под ред. Г. В. Корнеева.– М.: Агропромиздат, 1988.– 301 с.
3. Технологическая практика на сельскохозяйственных предприятиях: Программа и методические указания/ Белорусская сельскохозяйственная академия; Сост. А. Е. Улахович, Г. А. Валюженич О. П. Лабурдов. Горки,2007. 23с.
4. Иофинов С.А. Справочник по эксплуатации машинотракторного парка. М.: Агроминиздат, 1983.