| Скачать .docx |
Курсовая работа: Некоторые аспекты моделирования конкурентного равновесия
АДЫГЕЙСКИЙ ГОСУДАРСТВЕННЫЙ УНИВЕРСИТЕТ
ФАКУЛЬТЕТ МАТЕМАТИКИ И КОМПЬЮТЕРНЫХ НАУК
Кафедра информатики и вычислительной техники
КУРСОВАЯ РАБОТА
"НЕКОТОРЫЕ АСПЕКТЫ МОДЕЛИРОВАНИЯ КОНКУРЕНТНОГО РАВНОВЕСИЯ"
Майкоп, 2008
Оглавление
Введение. 3
1. Экономическое равновесие. Содержательный аспект. 4
2. Описание общей модели Вальраса. 9
3. Модель Эрроу-Дебре. Существование конкурентного равновесия. 20
4. Модель регулирования цен и устойчивость конкурентного равновесия. 32
Рассмотренные задачи. 39
Заключение. 41
Список литературы.. 42
Существует различные системы моделирующие рынок, некоторые описывают его в статическом, некоторые в динамическом состоянии, но большинство из таких систем рассматривают рынок одного продавца и не рассматривают конкурентные рынки. А для того чтобы более подробно изучить поведение рынка при колебании спроса и предложения на ту или иную продукцию необходимо рассматривать системы, моделирующие рынок именно в условиях конкуренции.
В данной работе были рассмотрены некоторые аспекты экономического равновесия, а так же системы, моделирующие рынок в условиях конкурентной среды.
1. Экономическое равновесие. Содержательный аспект
Взаимодействие между складывающимися на рынке готовой продукции потребительским спросом и предложением фирм приводит к понятию равновесия. О равновесии можно говорить, как о характеристике состояния любой системы, на которую воздействуют различные стороны (в частности, только одна сторона), каждая со своими интересами. В таком общем смысле равновесие – это то состояние системы, которое устраивает всех заинтересованных в ее состоянии сторон, за неимением ничего лучшего.
Приведу несколько конкретных понятий.
1. Равновесие в задачах принятия решения со многими участниками. Предположим, что интересы участников (лиц, принимающих решения) не противоположны, но и не совпадают. Однако степень достижения своей цели каждым из них зависит как от его собственных решений, так и от действий всех остальных участников. Под равновесным состоянием данной системы понимается такая ситуация (совокупность выбранных решений), когда отклонение от этой ситуации разве что ухудшает положение уклониста (при условии, что остальные участники придерживаются этой ситуации). Равновесная ситуация не обеспечивает участникам «наилучшее достижение цели», но, если такая ситуация существует, то, в условиях отсутствия обмена информациями участникам ничего другого не остается, как придерживаться ее (дабы хуже не было). Это так называемое равновесие по Нэшу. Оно широко применяется в теории игр – разделе исследования операций, посвященном математическим моделям задач принятия решения в условиях конфликта и неопределенности.
2. Равновесные действия противоборствующих сторон. Такая ситуация предполагает наличие двух лиц, принимающих решения, с прямо противоположными интересами (например, две конкурирующие фирмы, выпускающие один и тот же товар, имеющие один и тот же рынок сбыта). Здесь каждая сторона принимает решение с учетом «закона подлости», т.е. выбирает лучшее из тех решений, которые «разрешены» ее противником. Равновесным является то состояние, одностороннее отклонение от которого невыгодно уклонисту. Такое равновесие называется седловой точкой и, если оно существует, то противники вынуждены ее придерживаться. Видно, что седловая точка является частным случаем равновесия по Нэшу.
3. Равновесие на основе угроз. Этот принцип применяется в задачах принятия решения с обменом информацией. Равновесным называется такое состояние системы, когда любое мотивированное предложение (угроза) одних участников, направленное на изменение данного состояния системы, встречает мотивированное возражение (контругрозу) со стороны других участников.
4. Равновесие в задаче потребителя наилучшее состояние потребителя описывается точками, в которых бюджетные линии касаются соответствующих кривых безразличия. Эти точки характеризуют спрос, во-первых, как платежеспособную потребность в товарах, во-вторых, как набор товаров, максимизирующий полезность потребителя. Отклоняясь от них в своем выборе, потребитель нарушил бы одно из условий «оптимальности». Поэтому данные точки и отражают равновесное состояние потребителя. Аналитически это состояние характеризуется равенством между отношением цен товаров и предельной нормой замещения.
5. Равновесие в задаче фирмы. Условия равновесия в задаче фирмы концептуально схожи с соотношениями, формируемыми в теории спроса. Цель фирмы – максимизация прибыли (или минимизация издержек) при ограниченных ресурсах (при фиксированном уровне выпуска). Набор затрат ресурсов, удовлетворяющих этим условиям, и отражает равновесное состояние производства. Реализация других объемов затрат может привести лишь к нарушению условий «оптимальности». Аналитически состояние равновесия фирмы выражается равенством между отношением цен на соответствующие факторы производства и готовый продукт и предельной нормой замещения.
Характерным свойством «равновесий» в приведенных примерах является их устойчивость против отклонения.
Чтобы понять присуще ли это свойство экономическому равновесию, рассмотрим рынок одного товара, относительно которого будем говорить о совокупном спросе потребительского сектора и о совокупном предложении производственного сектора.
Пусть цена товара фиксирована. Это положение соответствует условиям совершенной конкуренции, когда отдельные участники экономики не влияют на цену товара. Пусть имеет место равновесие:
, где
- совокупный спрос,
- совокупное предложение,
– цена товара,
– доход потребительского сектора,
- цены затрат. Формально это равновесие может быть нарушено либо по «воле» рынка, который распоряжается ценой товара, либо по воле покупателя (управляющего спросом, например, посредством изменения величины дохода) или производителя (управляющего предложением, например, посредством изменения объемов затрат). В первом случае будем говорить о ценовых причинах нарушения равновесия, во втором – о неценовых причинах.
Рассмотрим сначала неценовые причины (вызванные влиянием сезонности, моды, изменением экономической политики и т.д.). Предположим, что при неизменном предложении потребитель «сознательно» отклоняется от равновесия, увеличивая или уменьшая спрос:
a)
, b)
.
Если при фиксированном спросе от равновесия отклоняется производитель, то соответственно придем к одному из двух неравенств:
c)
, d)
.
В этих соотношениях случаи a) и c) приводят к дефициту, т.е., в конечном счете, к повышению цены, что выгодно производителю и невыгодно потребителю. Следовательно, в случаях a) и c) неценовые причины вызывают изменение равновесной цены. Случаи b) и d) приводят к излишкам, т.е., в конечном счете, к снижению цены, что выгодно потребителю и невыгодно производителю. Следовательно, в случаях b) и d) неценовые причины также вызывают изменение равновесной цены.
Исходя из таких рассуждений, можно было бы заключить, что потребителю выгодно отклонение от равновесия в сторону снижения спроса, а производителю – в сторону снижения предложения.
Как видно, по отношению к экономическому равновесию однозначно нельзя утверждать о его устойчивости против отклонения. Но зато эти рассуждения помогают обнаружить устойчивость другого характера – тенденцию экономического равновесия к устойчивости против колебания цены, какой бы причиной оно ни было вызвано. Поясним это положение.

Рис. 1. Устойчивость равновесия против колебания цен.
Будем исходить из того факта, что экономическое равновесие может быть нарушено как по ценовым, так и по неценовым причинам. Пусть на уровне цен
имеет место равновесие
(точки здесь заменяют прочие, в частности, неценовые, переменные). Допустим, что по какой-то неценовой причине повысился спрос до уровня
.
Как видно из рис. 1, спрос
соответствует цене
, так что
![]()
![]()
т.е. спрос стал больше предложения. Цене
соответствуют две точки:
и
. Естественно поставить вопрос: может ли цена
быть равновесной, иначе, может ли одна из этих двух точек быть равновесным состоянием? Обратимся к точке
(относительно точки
рассуждения зеркально аналогичны).
Для того чтобы точка
оказалась равновесной, кривая спроса должна сместиться и пройти через эту точку. Формально это возможно, тогда, когда выполняется равенство
. Содержательно, бюджет потребителя должен уменьшиться ровно на величину
, и тогда бюджетная линия в пространстве товаров параллельно сместится от точки
до точки
. Такое изменение ситуации приведет к уменьшению дохода производителя
, и оно вызвано двумя причинами: снижением цены
и выпуска
. При данных неизменных технологических условиях производителю нечего этому противопоставить, так как нежелание снизить цену своего товара или объема выпуска приведет к еще худшему результату. Таким образом, неценовые причины могут привести к переходу в новое состояние равновесия, и это свидетельствует о неустойчивости равновесия против неценовых возмущений в экономике.
Теперь разберём ценовую причину. Пусть цена товара упала до величины
. Как видно из рис. 1, при этой цене спрос превышает предложение
, что влечет повышение цены товара. Если предложение подтягивается до нового уровня спроса, т.е. до величины
, то, согласно кривой предложения, цена должна повышаться до величины
. Но такой цене соответствует спрос
. Продолжая эти рассуждения, можно заметить, что цена последовательно приближается к равновесному значению
, а спрос и предложение сходятся к общему (равновесному) значению
. Здесь описана идея процедуры рыночного регулирования цены «невидимой рукой Адама Смита». По расположению вспомогательных линий на графике эту процедуру называют паутинообразной моделью регулирования цены товара. Аналогичную картину можно получить при исходном предположении о повышении цены над
.
В результате можно сделать вывод о том, что экономическое равновесие устойчиво против ценовых возмущений.
2. Описание общей модели Вальраса
Исходными концепциями модели Вальраса являются:
· дезагрегированность участников рынка: рассматриваются отдельные потребители и отдельные производители;
· совершенность конкуренции;
· общность равновесия.
Последняя концепция означает рассмотрение равновесия по всем товарам сразу, а не по отдельным товарам. Следовательно, в модели Вальраса вводится понятие общего равновесия (т.е. равновесия по всем товарам).
Будем предполагать, что на рынке продаются и покупаются товары двух видов: готовые товары, являющиеся продуктом производства (товары конечного потребления) и производственные ресурсы (первичные факторы производства). Поэтому будем рассматривать «расширенное» пространство товаров
, где n – число видов всех товаров. Компонентами вектора
являются как выпуски, так и затраты (первичные факторы). Для различения их, затраты снабжают отрицательным знаком. Если
есть вектор чистого выпуска, то все его компоненты, соответствующие затратам, будут равны нулю; если
есть вектор только первичных факторов, то все его компоненты, соответствующие конечным продуктам, будут равны нулю.
Индексы (виды) товаров, как и раньше, будем обозначать буквой ![]()
, индексы потребителей – буквой ![]()
и индексы производителей – буквой ![]()
.
Через
будем обозначать вектор цен товаров.
Выходя на рынок, каждый потребитель или производитель становится одновременно покупателем одних и продавцом других товаров. Потребитель, т.е. участник рынка, «непосредственно не занятый в производстве», может продавать имеющиеся в его распоряжении первичные факторы и покупает товары производителей. Производитель, т.е. участник рынка, «непосредственно занятый в производстве», продает свою готовую продукцию и покупает первичные факторы у потребителей.
Поэтому каждый потребитель i как участник рынка характеризуется тремя параметрами: начальным запасом товаров
, функцией дохода
и вектор-функцией спроса на продукты производства
.
Каждый производитель j характеризуется двумя параметрами: вектор-функцией предложения готовой продукции
и вектор-функцией спроса на затраты
. Однако в модели Вальраса применяется несколько обобщенная характеристика производителя – с помощью одного множества
, трактуемого как множество его (оптимальных) производственных планов. На языке «затраты-выпуск» это множество можно определить следующим образом:
, где
– производственная функция. Очевидно,
.
С учетом всего вышесказанного, под математической моделью рынка будем понимать совокупность элементов:
(2.1)
где
– пространство цен товаров, N – множество всех участников рынка (N содержит l+m элементов).
Без качественных потерь вместо (2.1), как модель рынка, можно рассматривать совокупность
![]()
Вектор
содержит цены, как товаров конечного потребления, так и затрат. Причем цены меняются не по желанию отдельных участников рынка, а исключительно под воздействием совокупного спроса и совокупного предложения. Поэтому одним из ключевых является вопрос: существуют ли такие цены, которые устраивают как потребителей, так и производителей?
Исходя из технических соображений, будем предполагать, что пространство цен P включает в себя нуль пространства
, т.е. будем допускать существование нулевых цен.
Каждый участник рынка выступает в двух лицах: как покупатель и как продавец. Очевидно, число продавцов и покупателей для разных товаров будет разным. Поэтому числа и не следует ассоциировать с числом продавцов и покупателей.
Доход каждого потребителя предполагается состоящим из двух компонент: 1) выручки от продажи принадлежащего ему начального запаса товаров (
), 2) дохода, получаемого от его участия в прибыли производственного сектора (обозначим
), например, посредством приобретения ценных бумаг и других видов инвестиционной и трудовой деятельности. Таким образом, предполагаем, что
(2.2)
В модели Вальраса считается, что весь доход производственного сектора полностью распределяется между потребителями:

где
, а скалярное произведение справа, с учетом структуры векторов
, трактуется как прибыль всего производственного сектора. Заметим, что суммирование векторов
осуществляется покомпонентно.
Функции спроса
,
и предложения
, предполагаются векторными и множественнозначными. Например, для функции
первое свойство означает, что
, где
- скалярная функция спроса на k‑ый товар. Второе свойство означает, что функция
каждому p ставит в соответствие не один вектор
, а множество таких векторов, т.е.
. Это имеет место когда максимум спроса достигается не только в одной точке.
В модели Вальраса понятия совокупных спроса и предложения формализуются следующим образом.
Определение 2.1. Функцией совокупного (рыночного) спроса называется множественнозначная функция
(2.3)
Функцией совокупного (рыночного) предложения называется множественнозначная функция
(2.4)
Введем обозначения:
,
, 
По определению, любой элемент множества Y можно представить вектором
, где
. Так как
есть множество оптимальных планов производителя j, то компонентами вектора
являются оптимальные объемы выпуска и затрат, и все они составляют решение одной и той же оптимизационной задачи. Таким образом, часть компонент вектора
, как и векторов
, отражает предложение готовых продуктов, а часть – спрос на первичные факторы. Поэтому вектор
нельзя называть однозначно предложением. В то же время, вектор
может быть интерпретирован как совокупное предложение, так как часть компонент вектора
, соответствующая спросу, «компенсируется» вектором b.

Рис. 2. Сумма вектора и множества.
Покажем, что для любого p
и
, т.е. областью изменения совокупных функций является то же самое пространство, что и для индивидуальных функций. Рассмотрим сначала двух потребителей. Для любого
множество
образуется смещением множества
в направлении вектора x на длину этого вектора (рис. 2). Поэтому:
![]()
![]()
Рассмотрим трех потребителей. Для любого
множество
образуется смещением множества
в направлении вектора x на длину этого вектора. Поэтому:
![]()
![]()
Продолжая эти рассуждения, получаем

Точно так же устанавливается включение
. Так как
и потому
, то множество b+Y образуется смещением множества Y в направлении вектора b на длину этого вектора. Поэтому
.
Формализовав понятия функций совокупных спроса и предложения, модель рынка (2.1) можно представить совокупностью вида
(2.5)
Любой вектор
называется совокупным спросом (соответствующим вектору цен p); любой вектор
– совокупным предложением (соответствующим вектору цен p). Эти векторы являются (оптимальными) реакциями совокупного покупателя и совокупного продавца на установившийся на рынке вектор цен. Если при этом
, то на рынке возникает дефицит товаров, а при
появляются их излишки. Такие цены не могут считаться удовлетворительными, так как в одном случае ущемлены интересы покупателей, а в другом – продавцов. Очевидно, наилучшим вариантом для экономики является равенство
. Этот идеальный случай на практике не всегда имеет место. Поэтому целесообразно как-то его ослабить. В модели Вальраса допускается наиболее «гуманный» с точки зрения интересов потребителей вариант обобщения понятия экономического равновесия.
Определение 2.2.
Набор векторов
называется конкурентным равновесием на рынке (2.5), если
,
,
(2.6)
(2.7)
(2.8)
В этом случае p* называется равновесным вектором цен.
По определению функций совокупных спроса и предложения, из включений (2.6) следует
, где
,
;
, где
,
,
т.е. совокупные спрос и предложение формируются как суммарные величины индивидуальных спросов потребителей и индивидуальных предложений производителей. Поэтому в развернутом виде условия равновесия (2.6) – (2.8) можно переписать так:
,
; (2.9)
,
; (2.10)
(2.11)
(2.12)
Экономическое содержание условий, определяющих конкурентное равновесие на рынке (2.5), таково. Условие (2.6) показывает, что на цены p* каждый потребитель и каждый производитель реагирует наилучшим образом. Это наглядно видно из соотношений (2.9) и (2.10). Условие (2.7) отслеживает, чтобы совокупное предложение не было меньше совокупного спроса. Условие (2.8) требует, чтобы в стоимостном выражении совокупный спрос равнялся совокупному предложению. Условие (2.8) автоматически выполняется в том случае, если в (2.7) имеет место строгое равенство. В этом случае равновесие будет задано соотношениями:
,
,
(2.13)
т.е. нужность в условии (2.8) отпадает
Предположим, что для некоторого товара в (2.7) имеет место строгое неравенство:
. Тогда в стоимостном выражении получаем неравенство
, не соответствующее условию (2.8). Величина
называется излишком.

Рис. 3. Предложение с излишком
Согласно закона предложения, в случае появления излишка цена товара должна быть снижена (рис. 3.). Но это приведет к изменению «равновесной» цены
. Выход из противоречия:

Отсюда видно, для восстановления условия (2.8) нужно «ликвидировать» излишек. С учетом знака
это возможно только при
. Но тогда
и ![]()
т.е. товар k вообще исключается из обращения на рынке.
Обоснование справедливости (2.8) тем, что «поставляемый сверх имеющегося спроса товар получает нулевую цену», экономически осмыслено, но не поддается адекватной формализации. Действительно, для фиксированного числа
неравенство
![]()
несовместимо с равенством
![]()
Таким образом, формальный выход из рассматриваемой ситуации состоит в том, чтобы считать цену перепроизводимого товара равной нулю. Чисто теоретически этот прием состоятелен, так как не приводит в дальнейшем к противоречиям.
В то же время, следует признать отсутствие экономически осмысленного объяснения существования товара с нулевой ценой. Объявление такого товара «свободным» представляется несостоятельным. Строго говоря, в экономике нет свободных товаров, любой побочный продукт может найти применение, т.е. имеет ненулевую цену. Трудно согласиться и с «хорошо известной экономистам модификацией закона спроса и предложения о существовании перепроизводимых товаров с нулевой ценой», поскольку в случае перепроизводства «спрашиваемая» часть этого товара продается по ненулевой цене. Для экономики существование излишек так же плохо, как и существование дефицита. Все это говорит в пользу целесообразности определения равновесия в виде (2.13).

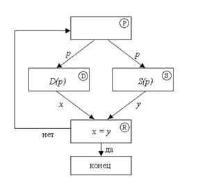
Рис. 4. Схема формирования равновесных цен
Итак, модель рынка по Вальрасу построена. Как видим, центральное место в ней занимает понятие конкурентного равновесия. Привлекательность равновесия как состояния рынка (и экономики в целом), заключается в возможности реализации всех произведенных товаров и в удовлетворении спроса всех потребителей. Процесс формирования рыночных цен условно можно сравнить с работой некоторого алгоритма (автомата), состоящего из четырех блоков (рис. 4). В первом блоке P формируется вектор цен.
Информация о векторе p поступает в блоки D и S, в которых формируются соответственно множества D(p) и S(p), содержание которых, в свою очередь, передается в блок R. В блоке R осуществляется попарное сравнение элементов
,
. Если существует пара или пары (x, y), для которых выполняется условие x=y (или условия (2.7), (2.8)), то процесс заканчивается. В противном случае цены p отвергаются, о чем поступает сигнал в блок P, где формируются новые цены. Процедура продолжается до тех пор, пока не будет найден равновесный вектор цен.
Утвердительный ответ на этот вопрос связан с разрешением двух важных проблем:
1. установление факта существования конкурентного равновесия в модели Вальраса;
2. разработка сходящейся к равновесной цене вычислительной процедуры (метода) формирования рыночных цен.
Существование равновесия в модели Вальраса не установлено. Причина заключается в уровне формализма этой модели – она весьма абстрактна. Конкретизируя определения составляющих ее элементов и уточняя их функциональные свойства, можно получить разные модификации модели Вальраса. Наиболее известная из них носит название модели Эрроу-Дебре, по именам ее создателей.
Проблема разработки численных методов вычисления равновесных цен связана с установлением необходимых и достаточных признаков равновесия. Нужно, чтобы они были конструктивными, т.е. порождали сходящуюся итеративную процедуру, каковой является, например, паутинообразная модель.
3. Модель Эрроу-Дебре. Существование конкурентного равновесия
Структурно модель Эрроу-Дебре весьма близка к модели Вальраса. От последней она отличается конкретизацией природы происхождения функций предложения и спроса, а также механизма образования дохода потребителя. Покажем это по порядку.
Для каждого производителя j введем множество
, которое, в отличие от модели Вальраса, здесь будем трактовать как множество производственных планов (а не оптимальных планов), т.е. это есть множество n‑мерных векторов
, часть компонент которых описывает затраты, а другая часть – соответствующие этим затратам выпуски товаров. Компоненты, соответствующие затратам, как и в модели Вальраса, снабжаются отрицательными знаками. Поэтому скалярное произведение
показывает прибыль, полученную производителем j в результате реализации плана
. Отсюда оптимальный план
, участвующий в определении совокупного предложения (см. (2.3) и (2.4)), определяется как решение задачи:
при ограничении
(3.1)
Оптимальное решение этой задачи обозначим через
, а множество всех таких решений (множество оптимальных планов) – через
. Если задача (3.1) имеет единственное решение, то,
.
Доход потребителя i складывается следующим образом. Вводится коэффициент
, который показывает долю i‑го потребителя в прибыли j‑го производителя. Предполагается (как и в модели Вальраса), что прибыль каждого производителя делится между всеми потребителями полностью, т.е. для любого j=1,…, m
, ![]()
Пользуясь коэффициентами
, суммарные дивиденды
, получаемые потребителем i от производственного сектора, можно представить как

где
. Поэтому общий доход потребителя i при реализации производственных планов
, j=1,…, m, вычисляется по формуле

Функция спроса потребителя конкретизируется следующим образом. Вводится множество допустимых векторов потребления
, а предпочтение потребителя на этом множестве задается с помощью функции полезности
. В результате вектор-функция спроса строится как решение задачи:
при ограничениях
,
(3.2)
Оптимальное решение этой задачи обозначим через
, а множество всех таких решений – через
. Если задача (3.2) имеет единственное решение, то
.
Таким образом, очерчены конкретные виды множеств в правых частях соотношений (2.3) и (2.4), определяющих функции совокупных спроса и предложения:
(3.3)
(3.4)
Модель (2.5), в которой функции и определены в виде (3.3) и (3.4), называется моделью Эрроу-Дебре, если выполнены следующие требования.
У‑1. Множество
компактно в
и содержит нулевой вектор (j=0,…, m).
У‑2. Множество
выпукло в
.
У‑3. Множество
замкнуто и выпукло в
и таково, что из
,
для некоторого r, следует
для всех k=1,…, n(i=1,…, l).
У‑4. Функция полезности
непрерывно дифференцируема на
и строго вогнута (i=1,…, l).
У‑5. Функция
обладает свойством ненасыщаемости (i=1,…, l).
У‑6. Существует
, для которого
(i=1,…, l).
Условие У‑1, с учетом непрерывности функции прибыли, обеспечивает существование решения задачи (3.2). Условие У‑2 допускает эффективность использования «смешанных» планов производства на уровне всего производственного сектора. Условия У‑3 и У‑4 имеют технический характер. Условие У‑6 требует наличия у каждого потребителя «существенного» начального запаса всех товаров. Оно считается достаточно жестким, но без него (или незначительного его ослабления) нельзя доказать существование конкурентного равновесия в модели Эрроу-Дебре (см. замечание после доказательства теоремы 3.1).
Прежде чем приступить к доказательству теоремы, разъясню несколько терминов и сформулирую вспомогательные утверждения.
Пусть
, а F – множественнозначное отображение, которое переводит каждую точку
в некоторое подмножество множества X (
,
).
Отображение F называется полунепрерывным сверху, если из соотношений
, где
, и
, где
, следует
. Другими словами, для каждого открытого множества U, содержащего множество
, можно найти такое число
, что
, как только
(где
– расстояние между точками
и
).
Непрерывное отображение всегда полунепрерывно сверху, а обратное неверно. Чтобы полунепрерывное сверху отображение было непрерывным, нужно, чтобы оно было одновременно полунепрерывным снизу, т.е. для каждого
при
существовали такие
, что
.
Отображение F называется ограниченным, если для любого
множество F(x) является ограниченным, как подмножество евклидова пространства
.
Лемма 3.1.
Пусть P, X – выпуклые и компактные подмножества пространства
,
– такое множественнозначное отображение, что для любого
множество B(p) есть непустой выпуклый компакт. Тогда множественнозначное отображение
, такое, что

полунепрерывно сверху, если функция
непрерывна и вогнута.
Пусть
,
. Линейное уравнение
называется гиперплоскостью в
(или (n‑1) – мерным линейным многообразием). Это есть обобщение понятия обычной плоскости в
. Гиперплоскость
делит все пространство
на две части:
и
.
Пусть
. Говорят, что гиперплоскость
разделяет X и Y, если для всех ![]()
, а для всех ![]()
. Например, если X и Y – выпуклые множества, не имеющие общих точек, то, очевидно, между ними существует разделяющая гиперплоскость.
Лемма 3.2.
Пусть
– выпуклое множество, не имеющее общих точек с неотрицательным ортантом
. Тогда найдется вектор
, у которого хотя бы одна компонента строго положительна и
для всех
.
Доказательство этого утверждения предоставлено на рисунке.

Рис. 5. Иллюстрация к лемме 3.2.
Точка
называется неподвижной точкой множественнозначного отображения F, определенного на X, если
.
Приведем без доказательства теорему существования неподвижной точки.
Теорема (Какутани)
. Пусть
– компактное, выпуклое множество, а F – полунепрерывное сверху отображение, которое каждой точке
ставит в соответствие замкнутое, выпуклое подмножество
. Тогда отображение F имеет неподвижную точку в X.
Доказательство существования равновесия в модели Эрроу-Дебре будет проведено с помощью леммы Гейла, которую сформулируем в терминах элементов рынка. Сначала пронормируем цены, поделив все pk
на одну и ту же величину
. Тогда пространство цен P превращается в стандартный симплекс, лежащий в неотрицательном ортанте
:

Пронормировав таким образом цены переходим к другому масштабу цен. В данном случае преобразование пространства цен в стандартный симплекс преследует чисто технические цели.
Лемма (Гейла).
Пусть S – ограниченное, полунепрерывное сверху множественнозначное отображение симплекса P в
, удовлетворяющее условиям:
a) S(p) есть непустое выпуклое множество для всех
;
b) для всех ![]()
. Тогда существуют такие
и
, что
.
Условие b) означает, что для каждого
множество
не имеет общих точек с неположительным ортантом
. Действительно, для любой точки
и любого ![]()
(рис. 6). При этих условиях лемма Гейла утверждает о существовании такого
, что
не пусто.

Рис. 6: Иллюстрация к лемме Гейла
Доказательство проведем от противного: пусть лемма не верна. Это означает, что ни для одного вектора
множество S(p) не имеет общих точек с
. Покажем, что в этом случае существует такое сколь угодно малое положительное число
(не зависящее от p и z), что семейство
выпуклых множеств
также не касается неотрицательного ортанта
(рис. 7).

Рис. 7. Иллюстрация к доказательству леммы
Действительно, если бы это было так, то существовала бы последовательность
и точки
,
, для которых
при
(сходящаяся последовательность
найдется, так как
компактны и лежат в ограниченной области пространства
). Тогда из полунепрерывности сверху отображения S следуют соотношения
и
, что противоречит нашему предположению. Следовательно, семейство
не пересекается с неотрицательным ортантом.
Тогда для каждого множества
из этого семейства и положительного ортанта существует разделяющая гиперплоскость
, такая, что для любого ![]()
.
Построим множественнозначное отображение
, где множество
состоит из всех тех векторов симплекса P, которые представляют гиперплоскости, разделяющие положительный ортант и множество
. Так как это семейство не касается с положительным ортантом, множество
непусто. Отображение
полунепрерывно сверху, как и отображение W (полунепрерывность последнего вытекает из его вида и аналогичного свойства S). Благодаря этому свойству отображения
, множество
выпукло и замкнуто, как и симплекс
. Следовательно, отображение
удовлетворяет всем условиям теоремы Какутани и потому имеет в P неподвижную точку
. Но, согласно условию b) леммы, для этой точки справедливо неравенство
при
. Тогда
для
. Последнее противоречит неподвижности точки p0
в
. Следовательно, наше первоначальное предположение приводит к противоречию, что и доказывает лемму.
Теперь перейдем к основному вопросу.
Теорема 3.1. В модели Эрроу-Дебре существует конкурентное равновесие.
Доказательство. Обозначим для каждого
![]()

(3.5)
Как следует из условий У‑1 и У‑5, множество
есть непустое, компактное и выпуклое множество. Обозначим через
отображение
. Из непрерывности (линейности) функций
, j=1,…, m, и из леммы 3.1. следует, что
есть ограниченное, полунепрерывное сверху отображение.
Исходя из того, что
, j=1,…, m, задача (3.2) должна решаться при ограничении
(3.6)
где
– оптимальное решение задачи (3.1). Известно, что для оптимального решения задачи (3.2) в (3.6) должно иметь место строгое равенство:
(3.7)
Если это не так, то в силу условия У‑5 существует
, для которого
, а по условию У‑4 можно найти такое
, где
, что
, причем
все еще удовлетворяет ограничениям (3.6). Но это противоречит определению
как точки максимума. Таким образом, равенство (3.7) действительно имеет место.
Так как по условию У‑1
, то по определению максимума
. Отсюда и из условий У‑1 – У‑6 следует, что множество
оптимальных решений задачи (3.2) при ограничениях (3.6) есть непустой выпуклый компакт. Поэтому множество
также будет непустым выпуклым компактом. Из условий У‑4 – У‑6 и леммы 3.1 следует, что
есть полунепрерывное сверху множественнозначное отображение.
Построим отображение S для любого
следующим образом:
(3.8)
где
,
, 
Как и выше, можно показать, что S есть ограниченное, полунепрерывное сверху множественнозначное отображение из P в
и что множество S(p) непусто, выпукло и замкнуто. Суммируя обе стороны равенства (3.7) по i=1,…, l, получаем

или
![]()
В обозначениях элементов множества S(p) это равенство записывается как
,
(3.9)
Видно, что отображение S, порождающее для каждого
множество (3.8), удовлетворяет всем условиям леммы Гейла. Из этой леммы следует существование таких
и
, что
. Поэтому набор векторов
, где
, образует конкурентное равновесие в модели Эрроу-Дебре. Действительно, условие (2.6) выполнено по построению векторов
и
; условие (2.7) следует из неравенства
; условие (2.8) вытекает из (3.9) и, наконец, отображения D и S являются функциями совокупных спроса и предложения в модели Эрроу-Дебре, так как они определены посредством соотношений (3.3) и (3.4) Теорема доказана.
В связи с тем, что наиболее жестким из всех условий, определяющих модель Эрроу-Дебре, является У‑6, обсудим одну возможность его ослабления.
Это условие в теореме 3.2 вместе с У‑3, У‑4 и леммой 3.1 обеспечивает непустоту бюджетных множеств
потребителей и полунепрерывность сверху функций их спроса
. Эти свойства не изменятся, если У‑6 заменить следующими условиями:
для любого вектора
,
и
,
. Так как второе из условий не является жестким, то существование конкурентного равновесия, помимо условий У‑1 – У‑5, зависит от наличия положительного дохода у всех потребителей. Очевидно, что это условие слабее, чем У‑6, так как положительный доход у потребителя может существовать и при отсутствии начального запаса товаров (за счет участия в прибыли производственного сектора). Последнее условие выполняется, если хотя бы одно производственное предприятие рентабельно и все потребители участвуют в прибыли производственного сектора (как минимум, не являются безработными). Это условие представляется не столь жестким и, следовательно, существование экономического равновесия – реальным. Однако не следует забывать, что речь идет о моделях рынка, предполагающих выполнение не совсем реальных условий совершенной конкуренции.
4. Модель регулирования цен и устойчивость конкурентного равновесия
Доказав существование конкурентного равновесия в математической модели рынка, естественно задаться вопросом: как найти конкурентное равновесие и, прежде всего, равновесные цены? Поиск равновесия, в отличие от ранее рассмотренных вопросов, по существу, является динамическим (развернутым во времени) действием.
Процесс последовательного приближения к равновесной цене называется регулированием цен. Кто и с какой целью регулирует цены? Ответ заключается в том, что, благодаря законам спроса и предложения, в условиях конкуренции рынок сам приспосабливает цены к вариациям спроса и предложения во времени. В начале была обнаружена «геометрическая» картина такого приспособления. Здесь наша задача состоит в обнаружении аналитической формулы регулирования для численного вычисления равновесных цен.
Итеративный процесс поиска равновесных цен должен обладать свойством сходимости, т.е., в конечном счете, должен привести к искомым ценам с любой предзаданной точностью. В этом случае процесс регулирования цен (или собственно конкурентное равновесие) называется устойчивым.
Таким образом, задача регулирования цен преследует цель определения условий, заставляющих цены, как функций времени, сходиться к равновесным значениям. Математически эта задача сводится к нахождению условий устойчивости решений специально построенных рекуррентных по времени уравнений. Такое уравнение называется динамической моделью регулирования цен. Эта модель может быть как непрерывной, так и дискретной. В первом случае, на основе предположения о непрерывном изменении цен, модель выражается с помощью дифференциальных уравнений. Во втором случае предполагается дискретный характер изменения цен, т.е. фиксируется изменение цен в отдельные моменты времени (или через определенные промежутки времени). Поэтому модель регулирования цен имеет вид разностных уравнений. Непрерывные модели предпочтительны в теоретическом плане. Их преимущество состоит в возможности применения удобного аппарата дифференцирования. Будем рассматривать только дискретный случай, наиболее понятный с точки зрения практического восприятия.
Перейдем к конкретным построениям. Для определенности процесс регулирования рассмотрим в модели Эрроу-Дебре. Предварительно уточним некоторые предпосылки и ряд дополнительных сведений.
Во-первых, цены будем снабжать параметром времени t:
– цена k‑го товара в момент t.
Во-вторых, будем предполагать дискретное изменение времени, т.е. будем рассматривать отдельные моменты времени t1
, t2
,… Причем для упрощения формул будем считать, что
. Это дает возможность вместо последовательности
рассматривать последовательность моментов t, t+1,…, начиная с t = 0.
В-третьих, вместо пространства товаров
будем рассматривать пространство
, где дополнительная n+1‑ая координата соответствует особому виду товара – «деньгам». Таким образом, размерность всех векторов спроса и предложения будет равна n+1. Вектор цен, соответственно, будет задан в пространстве
. Причем дополнительная n+1 – ая компонента p0
будет интерпретироваться как «цена денег».
Для некоторого вектора цен
и соответствующих ему векторов совокупного спроса
и совокупного предложения
обозначим
(4.1)
Величина F(p) имеет смысл избыточного спроса при ценах p (противоположная величина
имеет смысл избыточного предложения). Рассматривая эту величину для всех
, можно говорить о функции избыточного спроса F, определенной на множестве P.
Для равновесного вектора цен имеем (см. (2.7), (2.8))
(4.2)
(4.3)
Если предположить все цены строго положительными, т.е.
, k=0,1,…, n, то равенство (4.3) будет иметь место только в случае строгого равенства в (4.2), т.е.
(4.4)
Так как это равенство понимается покомпонентно (
, k=1,…, n, где
– функция избыточного спроса для товара k), то условие (4.3) становится следствием равенства (4.4). Поэтому в случае положительных цен конкурентное равновесие определяется одним условием (4.4).
Функция F обычно предполагается положительно однородной нулевой степени, т.е. для любых
и постоянного числа ![]()
. Это свойство означает, что на функцию избыточного спроса изменение масштаба цен не влияет, а существенны лишь относительные цены.
Рассмотрение функции избыточного спроса связано с ее применением в модели регулирования цен. В основе построения искомой формулы итеративного процесса вычисления равновесных цен лежит идея о том, что скорость изменения цен пропорциональна изменению величины избыточного спроса. Действительно, возрастание (убывание) функции избыточного спроса во времени равносильно более быстрому (медленному) росту спроса по сравнению с предложением (см. (4.1)), а это, согласно закона спроса, сопровождается увеличением (уменьшением) цен товаров. Сказанное математически можно отразить формулой
![]()
или в координатной форме
, k=0,1,…, n
где
– коэффициент пропорциональности,
– функция избыточного спроса для товара k. Здесь предположим, ради простоты, что пропорциональность изменения цены и избыточного спроса по всем товарам одинакова (и равна числу
).
Из последнего уравнения по определению производной получаем:

Отсюда для достаточно малых
можно принять приблизительно
![]()
Принимая величину
как «следующий» за t момент времени, для дискретного случая приходим к следующему закону изменения цен:
, k=0,1,…, n
, t=0,1,… (4.5)
Это есть рекуррентное уравнение, когда последующее (по времени) значение цены вычисляется с помощью предыдущего значения. Для его последовательного решения нужно иметь «начальное» условие. Им является значение цены
в «начальный» момент времени t=0, которое считается известным.
Для того, чтобы в уравнении (4.5) было учтено условие положительности цен, можно написать
, t=0,1,… (4.6)
Таким образом, динамика процесса регулирования цен описана.
Процесс регулирования можно проводить в нормированных ценах или без нормирования цен. В первом случае вектор
нормируется с помощью какого-то выделенного товара (например, нулевого), и получается новый вектор
, компоненты которого
, k=0,1,…, n, являются относительными ценами. В ненормированном процессе все товары являются равноправными. С математической точки зрения ненормированный процесс усложняется множественностью равновесных векторов цен, так как все точки луча
(
) будут равновесными векторами цен.
Устойчивость конкурентного равновесия, т.е. сходимость итеративного процесса (4.6) к равновесной цене, можно изучать на двух уровнях – на уровне локальной устойчивости и на уровне глобальной устойчивости. Равновесие называется локально устойчивым, если итеративный процесс сходится при начальной точке
, достаточно близкой к
. Если устойчивость имеет место независимо от местонахождения начальной точки
, то равновесие глобально устойчиво.
Одним из условий сходимости процесса (4.6) является так называемая строгая валовая зависимость. Говорят, что для ненормированного процесса регулирования цен имеет место строгая валовая зависимость, если для каждого k функция избыточного спроса
есть строго возрастающая функция цены ![]()
. Экономический смысл этого условия состоит в том, что при повышении цены k‑го товара и постоянстве других цен можно ожидать увеличения спроса на остальные (взаимозаменимые) товары.
Приводимая ниже теорема сходимости для уравнения (4.6) предполагает ненормированный процесс регулирования и содержит критерий глобальной устойчивости.
Теорема 4.1.
Пусть
– строго положительный равновесный вектор в модели Эрроу-Дебре. Пусть функции избыточного спроса
, k=0,1,…, n, обладают свойством строгой валовой зависимости. Тогда существует такое положительное число
, что для всех
система цен
, удовлетворяющая уравнению (4.6), сходится к равновесному вектору цен.
Рассмотренные задачи
Решение: Перепишем функцию спроса в виде
. В ситуации равновесия спрос равен предложению:
. Отсюда
и
,
. Исключая первый случай, окончательно получаем
, тогда
.
2) Спрос и предложение некоторого товара заданы соответственно уравнениями
,
. Государство установило налог с продажи на единицу товара в размере 1,5 ден. ед. Найдите, что потеряют при этом покупатели, а что – продавцы данного товара.
Решение: До введения налога равновесие определяется условием
, откуда
- равновесная цена,
– равновесный объем продаж стоимостью 900. Налог с продажи, уплачиваемый покупателями, приводит к тому, что цена для них увеличивается на 1,5 и условие равновесия записывается как
, откуда
и
. Общий объем налогового сбора за 250 ед. товаров составит 375 ден. ед. В этой ситуации покупатели потратят
ден. ед., сэкономив тем самым 25 ден. ед. Однако, они недополучат 50 ед. товара, за который готовы были заплатить
ден. ед. Тогда общие потери покупателей составят
ден. ед. Общие потери продавцов равны 250 ден. ед. (потери от продажи 250 ед. товара по цене на 1 ден. ед. ниже).
3) Функция спроса на капусту имеет вид
, функция предложения имеет вид
, где t
обозначает номер периода времени. Определите объемы продаж и цены на капусту в периоды 1,2,…, 5, если
. Определите равновесную цену и равновесный объем продаж.
Решение:
| Период |
|||
| 1 | 250 | 140 | 160 |
| 2 | 160 | 68 | 232 |
| 3 | 232 | 125,6 | 174,4 |
| 4 | 174,4 | 79,52 | 220,48 |
| 5 | 220,48 | 116,384 | 183,616 |
Приравнивая спрос и предложение, получаем:
или
. Цена равновесия
определяется из условия
и равна
. Тогда равновесный объем продаж
Рассматривая модели, которые описывают рынок в условии конкуренции можно сказать, что они наиболее точно дают нам представление о поведении рынка при изменении спроса и предложения на тот или иной товар. Но всё же ни одна модель не может описать поведение рынка с 100% точностью.
1. Данилов Н.Н. Курс математической экономики, М. Высшая школа – 2006
2. Лебедев В.В. Математическое моделирование социально-экономических процессов, М.: Изограф – 1997
3. Ивашковский С.Н. Микроэкономика, Дело – 2002
4. Economicus.ru / www.economicus.ru