| Скачать .docx |
Дипломная работа: Анализ деятельности цеха № 17 ОАО ЧМЗ
СОДЕРЖАНИЕ
ВВЕДЕНИЕ
1. АНАЛИЗ ДЕЯТЕЛЬНОСТИ ЦЕХА № 17 ОАО ЧМЗ
1.1. СТРУКТУРА УПРАВЛЕНИЯ И ОСНОВНЫЕ ВИДЫ ДЕЯТЕЛЬНОСТИ
1.2. ХАРАКТЕРИСТИКА ПЕРСОНАЛА И ОРГАНИЗАЦИЯ ЗАРАБОТНОЙ ПЛАТЫ
1.3. ОРГАНИЗАЦИЯ ТЕХНОЛОГИЧЕСКОГО ПРОЦЕССА
2. ТЕОРИЯ ОЦЕНКИ КАЧЕСТВА УСЛУГ ВОДОСНАБЖЕНИЯ
3. ТЕХНИКО-ЭКОНОМИЧЕСКОЕ ОБОСНОВАНИЕ МЕРОПРИЯТИЙ ПО ПОВЫШЕНИЮ КАЧЕСТВА УСЛУГ ВОДОСНАБЖЕНИЯ
3.1. ТЕХНОЛОГИЧЕСКАЯ СИСТЕМА ПРИГОТОВЛЕНИЯ ПИТЬЕВОЙ ВОДЫ В ЦЕХЕ № 17
3.2. ОБОСНОВАНИЕ МЕРОПРИЯТИЙ ПО УЛУЧШЕНИЮ КАЧЕСТВА ВОДЫ В ЦЕХЕ № 17
ЗАКЛЮЧЕНИЕ
СПИСОК ИСПОЛЬЗОВАННОЙ ЛИТЕРАТУРЫ
ВВЕДЕНИЕ
Водоснабжение и водоотведение являются важнейшими санитарно техническими системами, обеспечивающими нормальную жизнедеятельность населения и всех отраслей народного хозяйства страны.
Используя природные водные источники, эти системы снабжают водой различных потребителей, а также обеспечивают очистку сточных вод, их отведение и возврат природе, защиту и охрану водоисточников от загрязнения и истощения.
Системы водоснабжения и водоотведения представляют собой сложные инженерные сооружения, устройства и оборудование, в значительной степени определяющие уровень благоустройства зданий, объектов и населенных пунктов, рентабельность и экономичность промышленных предприятий.
Системы водоснабжения – это комплекс сооружений, предназначенных для снабжения потребителей водой в необходимых количествах, требуемого качества и под требуемым напором. Системы состоят из сооружений для забора воды из источника водоснабжения, ее обработки, перекачки воды к потребителю и сооружений для ее хранения.
В зависимости от вида обслуживаемого объекта системы водоснабжения подразделяются на городские, промышленные, сельскохозяйственные, железнодорожные. В зависимости от вида потребителей системы выполняют функции хозяйственно-питьевых, производственных, противопожарных, поливочных водопроводов.
В процессе жизнедеятельности человек использует значительное количество воды, которая забирается из природных поверхностных или подземных источников. При использовании в быту и промышленности вода загрязняется, в ней накапливаются вещества органического и минерального происхождения.
Такую воду принято называть сточной водой. Сточная вода является благоприятной средой для развития разнообразных микроорганизмов, в том числе и патогенных. Высокий уровень бактериального и вирусного загрязнения питьевой водой обуславливает высокий уровень заболеваемости острыми кишечными инфекциями и вирусным гепатитом А. Кроме того, в сточных водах могут содержаться токсичные вещества, способные вызывать отравления живых организмов и гибель растений. Длительное использование питьевой воды с высоким уровнем загрязнения химическими веществами природного и антропогенного характера является одной из причин развития различных соматических заболеваний. Установлено, что повышенные концентрации меди в питьевой воде вызывают поражение слизистых оболочек почек и печени, никеля – поражение кожи, цинка – заболевание почек.
В зависимости от назначения потребляемая вода условно делится на промышленную и питьевую; в них содержание примесей регламентируется соответствующими стандартами. Качество воды определяется физическим, химическим и бактериологическим анализами. Важнейшими показателями качества воды являются такие её физические и химические характеристики, как запах, вкус, прозрачность, цвет, температура, содержание взвешенных веществ, сухой остаток, общая щелочность и её составляющие, окисляемость и реакция воды. Процесс получения и подачи населению питьевой воды, соответствующей гигиеническим нормативам по количеству и качеству, зависит от состояния источников водоснабжения, внедрения современных технологий водоподготовки, санитарно-технического состояния водопроводных сетей, уровня лабораторного контроля за качеством подаваемой питьевой воды.
Из сказанного выше следует, что актуальность качества услуг по водоснабжению населения остается главной проблемой на современномэтапе. Поэтому для дипломной работы и выбрана тема: «Технико-экономическое обоснование мероприятий по повышению качества услуг предприятия городского хозяйства цеха № 17 АО ЧМЗ».
Объектом исследования является качество услуг по водоснабжению населения г. Глазова через очистные сооружения цеха № 17 ОАО ЧМЗ.
Цель исследования: дать технико-экономическое обоснование очистных сооружений цеха № 17.
В дипломной работе поставлены следующие задачи:
1. Рассмотреть структуру управления, характеристику персонала, заработной платы и организационно-технологический процесс цеха № 17.
2. Дать техническое описание водозаборных и очистных сооружений цеха № 17
3. Рассмотреть организацию контроля и пути повышения качества услуг по водоснабжению
4. Сделать технико-экономическое обоснование мероприятий по повышению качества услуг водоснабжения населения в цехе № 17.
Дипломная работа состоит из введения, трех глав, заключения, списка литературы и приложений.
В первой главе дается характеристика цеха № 17, его структура, виды деятельности, управление персоналом, организация технологического процесса. Во второй главе рассматривается теоретическая и нормативно-правовая база по водоснабжению и качеству услуг водоснабжения.
В третьей главе описана технологическая система приготовления питьевой воды в цехе № 17 и дается технико-экономическое обоснование мероприятий по повышению качества услуг водоснабжения цеха № 17 ОАО ЧМЗ.
1. АНАЛИЗ ДЕЯТЕЛЬНОСТИ ЦЕХА № 17 ОАО ЧМЗ
1.1. Структура управления и основные виды деятельности
В мае 1949 года приказом по заводу № 84С от 20.05.49 года был создан теплосиловой цех 17 с задачей эксплуатации и ремонта инженерных сетей и сооружений промплощадки и жилого поселка.
1949 год явился годом становления коллектива цеха, его служб и участков. В это время в эксплуатации находилось около 11 м. водопроводных сетей. Для подачи на хозяйственно-бытовые и производственные нужды имелись две временные насосные станции, располагавшиеся в ветхих деревянных зданиях. Вода в сеть подавалась непосредственно из р. Чепцы без обработки. Сетей хозяйственно-бытовых стоков в этот период не было. В декабре 1949 года цех принял от строителей новые водозаборные и водоочистные сооружения.
В 1949 году энергетическая база завода значительно укрепилась - введена в эксплуатацию новая ТЭЦ. Получают развитие тепловые сети. К цехам завода и жилым домам города проложена теплотрасса общей протяженностью 11,5 км. К концу 1949 года строители сдали 4350 п.м. канализационных сетей, на территории промплощадки продолжалось строительство очистных сооружений хозяйственно-бытовых стоков ив 1951 году сооружения были сданы в эксплуатацию.
Основной задачей цеха №17 является бесперебойное обеспечение предприятия и сторонних потребителей всеми видами энергоресурсов, вырабатываемых цехом – хозяйственно-питьевая вода, оборотная вода, транспортировка производственной воды, пара, конденсата и горячей воды на цели отопления и горячего водоснабжения, отвод и очистка хозяйственно-бытовых стоков, отвод промышленных и ливневых стоков, выработка сжатого воздуха.
В составе цеха №17 имеется аналитическая служба, аккредитованная в системе Госстандарта России на техническую компетентность и независимость. Область аккредитации - количественный химический анализ питьевой, природной и сточной воды. Аналитическая служба имеет лицензии на проведение: «Экологического мониторинга источников загрязнения окружающей среды», и «Проведение измерений и анализов в области экоаналитического контроля».
Схема очистных сооружений включает в себя следующие процессы:
1. Коагуляция;
2. Отстаивание;
3. Фильтрация;
4. Обеззараживание;
5. Контроль качества.
Очищенная вода подается в резервуар чистой воды объемом по 7 тыс. кубометров, после насосами по водоотводу диаметром 1000 мм подается в город. Главным результатом и самой большой ценностью предприятия является создание кадровой базы, одной из лучших в отрасли. Коллектив работает в атмосфере постоянного поиска и движения вперед не только в теории, но и на практике. Такое отношение к труду вырабатывалось не один год. Это люди, проработавшие в отрасли по 20-30 лет, которые составляют костяк предприятия.
Руководство предприятия постоянно занимается вопросами финансирования аварийно-восстановительных работ. На республиканском уровне решены вопросы финансирования на аварийно-восстановительные работы. В период 1993-2000 гг. произведена замена чугунных труб Д=1000 мм на стальные коллектора №2. Ведется строительство комплекса биологических очистных сооружений канализации с производительностью 90 тыс. куб. м/сут.
Цех № 17 ОАО ЧМЗ сегодня – это предприятие с объемом реализации услуг 100 млн. рублей в год и количеством работающих в 257 человек. Источником водоснабжения является река Чепца. Общая проектная производительность 97 тыс. кубометров питьевой воды в сутки. Годовой расход составляет около 12,50 млн. м3. Цех № 17 состоит из:
- объединенный водозабор (ОВЗ) с водоочистными сооружениями;
- канализационные очистные сооружения; насосная станция 111 подъема;
- административно - бытовой корпус - 170;
- компрессорные станции - 799, 218;
- насосная станция оборотного водоснабжения - 712;
- ЦТРП - 270;
- насосные станции - 2034, 242Г, 852, 193, 742, 711, 743, 194, 801, 103, 741, 772, 771Г

Численность работников цеха № 17 показана в таблице:
Таблица 1. Численность работников цеха № 17 составляет:
| Год | Обслуж. персонал (чел.) | ИТР (чел.) |
| 2005 | 202 | 78 |
| 2006 | 200 | 75 |
| 2007 | 195 | 62 |
Из данных таблицы 1 видно, что общая численность персонала уменьшилась с 2005 года на 23 человека, из них руководителей - на 16; обслуживающего персонала – на 7 чел.
Наибольший удельный вес в общей численности персонала составляют рабочие (87 %). Удельный вес специалистов к концу 2007 года уменьшился в связи с реорганизацией на предприятии ОАО ЧМЗ.
Планирование использования кадров в цехе осуществляется посредством разработки плана замещения штатных должностей. Реализация планирования использования кадров должна обеспечить оптимальную степень удовлетворенности работополучателей своими рабочими местами в том случае, если были учтены их способности, умения, требования и мотивация.
При определении места работы в процессе планирования использования кадров наряду с учетом квалификационных признаков следует принимать во внимание также психические и физические нагрузки на человека на том или ином рабочем месте, их соответствие возможностям человека, принимаемого на работу.
Особые проблемы в планировании использования кадров возникают при обеспечении занятости таких групп работающих, как молодежь, пожилые работники и люди с ограниченными физическими и психическими возможностями. Эти категории работников особенно важно использовать в соответствии с их квалификацией и возможностями. Планирование обучения персонала создает условия для мобильности и саморегуляции работника, ускоряет процесс адаптации к изменяющимся условиям производства.
Планирование обучения должно учитывать:
- требуемое количество учеников;
- количество существующих работников, нуждающихся в обучении или переобучении;
- новые курсы или расходы на существующие.
Это качественная составная часть кадрового планирования. Она включает в себя все усилия предприятий по сохранению соответствующего уровня знаний у трудового коллектива или же на повышение квалификационного уровня путем дополнительной подготовки.
Планирование роста квалификации кадров имеет большое значение в процессе осуществления производственных мероприятий, которые касаются персонала. С одной стороны, оно позволяет использовать собственные резервы рабочей силы при одновременно более высокой степени успеха, чем это смогли бы обеспечить поиски новых кадров, а с другой – дает отдельному работнику оптимальный шанс для самореализации.
Планирование сокращения или высвобождения персонала призвано показать:
- кого следует сократить, где и когда;
- шаги, которые необходимо предпринять, чтобы помочь сокращенным работникам найти новую работу;
- политику объявления о сокращения и выплаты выходных пособий;
- программу консультирования с профсоюзами или ассоциациями работников.
Причинами высвобождения кадров могут быть явления организационного, экономического или технологического плана. Штаты могут сокращаться, если работников больше, чем это необходимо для новой рыночной ситуации. Причиной сокращения штатов могут быть также несоответствие работников занимаемым должностям, технический прогресс, уменьшающий затраты труда. Планирование работы с увольняющимися сотрудниками базируется на классификации видов увольнений. Критерием классификации выступает степень добровольности ухода работника из организации:
- по инициативе работника, то есть по собственному желанию,
- по инициативе работодателя или администрации,
- в связи с выходом на пенсию.
Результаты исследования показывают, что высвобождение работников только в том случае позволяет решить возникающие проблемы и дать ожидаемый эффект, если на предприятиях заранеепланировали проведение этой работы и минимизацию возможных негативных последствий, связанных с высвобождением персонала.
Своевременные перемещения, переобучение, прекращение приема на работу в условиях ухода людей на пенсию и так далее являются средствами осуществления политики на внутрифирменном рынке труда в рамках планирования сокращения персонала. Степень социальной напряженности при необходимости сокращения персонала может быть значительно уменьшена за счет использования разнообразных альтернативных решений. В качестве альтернативы сокращению штатов принято рассматривать сокращение рабочего времени (неполный рабочий день и т д.), перевод на другую работу, стимулирование увольнения по собственному желанию.
Смягчить проблему сокращения штатов помогает стратегическое планирование штатов, то есть проведение соответствующей политики привлечения подготовки, ротации квалифицированных кадров. Стратегическое планирование в этом случае предусматривает проведение компенсационных мероприятий в соответствии с резервом времени, что позволяет избегать более жестких мер по сокращению штатов.
Увольнение из организации вследствие ухода на пенсию характеризуется рядом отличий. Оно может быть заранее спрогнозировано с достаточной точностью по времени. Это событие связано с существенными изменениями личной жизни. Отношения организации к пожилым сотрудникам являются мерилом уровня культуры управления и цивилизованности экономической системы.
Квалификационные требования к персоналу. Только когда характеристика работы уже готова, можно думать об отдельном служащем, чтобы заполнить эту вакансию. Решая этот вопрос, принимают во внимание: физические данные, квалификацию, ум (интеллект), особые склонности, интересы, характер, мотивацию, обстоятельства.
Квалификационные требования к персоналу должны быть насколько возможно конкретными, чтобы работник отдела кадров мог сформировать четкое представление о человеке, который требуется. Одним из полезных подходов к решению этой задачи выступает критическое рассмотрение уже имеющихся служащих, которые работают хорошо и плохо, чтобы выявить личностные и профессиональные черты, благодаря которым служащие работают успешно.
На 2008г. сокращение работников не планируется. Но нехватка средств (в основном денежных) предусматривает некоторые проблемы по оплате труда рабочим.
Подготовке руководящих кадров в цехе придается большое значение. Ее цель – развитие навыков и умений, необходимых служащим для эффективного выполнения своих должностных обязанностей и целей. Для успешной подготовки руководящих кадров нужны тщательный анализ и планирование. Для более эффективной работы на предприятии с целью повышения умений и навыков, проводятся курсы повышения квалификации. В 2005г. для инженерного состава цеха были проведены курсы повышения квалификации для главного инженера и инженера-технолога.
За последние 2 года на предприятии несколько раз проводилось перемещение кадров. В основном перемещались руководители низового звена. Это было связано с целью ознакомления руководителей со многими сторонами деятельности. Такие знания нужны для более успешной работы и для подготовки на более высокие должности.
Планомерная и систематическая работа по выполнению профессионального уровня проводится и с руководителями высшего звена. Все работники ИТР систематически проходят курсы в Москве. Начальник цеха систематически проходил курсы повышения квалификации, участвовал в семинарах республиканского уровня, дискуссиях, деловых переговорах. Исходя из этого, можно сделать вывод, что руководящие кадры предприятия планомерно, систематически и непрерывно повышают свои знания, умения и навыки.
Руководителю необходимо знать, как решать проблемы, как умело и уместно использовать соответствующие технологии и методы управления персоналом. И если умелость подразумевает практическое овладение соответствующими навыками, то под уместностью понимают адекватность используемого метода ситуации в организации. В этом смысле известные на сегодня методы, технологии и процедуры управления персоналом могут быть объединены в три подгруппы: методы формирования кадрового состава, методы поддержания работоспособности персонала, методы оптимизации кадрового потенциала и реорганизации.
1.2. Характеристика персонала и организация заработной платы
Заработную плату производственных рабочих, занятых непосредственно эксплуатацией систем водоснабжения (слесарей, дежурных насосных станций и очистных сооружений и др.), определяют по месячным ставкам или окладам, а численность рабочих устанавливают на основании штатных расписаний соответствующих производственных объектов, исходя из производительности водоочистных сооружений и протяженности обслуживаемых сетей. К основной заработной плате начисляют доплату за работу в ночное время, выходные и праздничные дни, а также премии в размере 50 % заработной платы по тарифу (окладу). Дополнительная, заработная плата (очередные отпуска и пр.) принимается равной 6—8% основной зарплаты. Часовые тарифные ставки рабочих цеха (при повременной работе) разработаны для тяжелых вредных условий труда (работы, связанные с хлором, хлорной известью, коагулянтами, озоном) и для работ с нормальными условиями труда.
Годовые затраты на содержание цехового и управленческого персонала, технику безопасности, охрану труда, спецодежду приближенно вычисляют по формуле
У = 0,3 (РК + В + РТ ).
К этому следует прибавить отчисления на социальное страхование в размере 4,7% фонда заработной платы цехового и управленческого персонала.
В цехе № 17 ОАО ЧМЗ одновременно действуют следующие системы оплаты труда:
1. Повременно – премиальная
2. Сдельно – премиальная
Повременно – премиальная форма. При такой форме оплаты труда заработок начисляется за определенное количество отработанного времени в днях и в часах, независимо от объема выполненных работ.
При данной системе оплаты труда работнику согласно приказу руководителя назначается оклад – определенная сумма за месяц. Если месяц отработан не полностью, работник получает часть от оклада пропорционально отработанному времени. Данная система применяется в основном для оплаты труда руководителей, специалистов и служащих. В январе 2007 года работник завода отработал полностью весь месяц 168 часов, в этом случае он полностью получает полный оклад. Если в расчетном месяце (норма часов 168, норма дней 21, оклад 10 000 рулей) работник 5 дней находился на больничном и отработал 128 часов или 16 дней, в этом случае его заработок составляет: повременно: 10 000 /168 * 128 = 7 619 руб. или повременно: 10 000 / 21 * 16 = 7 619 руб. Премиальные выплаты руководителям, специалистам и служащим цеха производятся в размере 20% от оклада. Для расчета заработной платы рабочего используется табель учета рабочего времени, справочник работников по подразделениям, где указаны присвоенные работникам разряды, положение о премировании, и приказ по итогам работы за месяц.
Сдельно – премиальная форма. При сдельной оплате труда размер заработка зависит от количества выполненной работы в соответствии с установленными расценками. Работник также получает дополнительный заработок, если выполнение норм больше 100 %. Если норма выработки меньше 100 %, премия начисляется в меньшем размере. Основанием для начисления сдельной заработной платы является расчетный лист (наряд).
Ежедневно рассчитываемый заработок суммируется нарастающим итогом. В конце месяца данные по отработанному времени сверяются с отчетными данными и табелем учета рабочего времени. В случае выявления ошибок производиться корректировка того дня, в котором выявлена ошибка. Аналогично рассчитывается сдельный заработок за месяц, когда количество отработанного времени указано за месяц.
В цехе применяется 5 разрядная тарифная сетка. Ставки выражены в денежной форме и возрастают по мере увеличения разряда. В цехе создана квалификационная комиссия. Возглавляет ее главный инженер, секретарь – инженер по труду. Члены комиссии: специалисты, мастера, руководители участков и прочие. После прохождения обучения, рабочий сдает экзамен комиссии по содержанию работы, технике безопасности и санитарным требованиям выработки продукции, после прохождения квалификационной комиссии рабочему присваивается квалификационный разряд соответствующий выполняемой работе и квалификации.
Тарифные ставки Разряды
1 2 3 4 5
Часовая тарифная ставка 1,80 4,70 5,20 5,80 6,50
Месячная тарифная ставка 300,00 785,00 870,00 970,00 1085,00
Согласно коллективному договору, а именно положению о премировании работников премиальные выплаты рабочим производятся ежемесячно в размере 50 % к тарифу, окладу, сдельному заработку. При этом руководителю участка предоставляется право увеличивать премию, но не более чем на 10 % для дополнительного поощрения работника за высококачественные показатели в труде, а также предоставляется право снижать премию за упущения в работе, невыполнение распоряжений администрации, но не более чем на 25 %. Лишаются премии:
• за привлечение к административной или уголовной ответственности,
• за хулиганство и пьянство, за хищение, прогул и другие нарушения трудовой дисциплины.
• работники, увольняющиеся по собственному желанию и по переводу, лишаются права на выплату премии.
Численность работников списочного состава на 01.01.07г. составляет 257 чел. Анализ использования фонда зарплаты должен осуществляться по заранее предусмотренной системе. Для успешного осуществления анализа нужно располагать следующими материалами:
1. Отчетными данными (в сравнении с планом) об объеме производства, численности работающих, производительности труда, среднемесячной (квартальной, годовой) зарплате, фонда заработной платы.
2. Отчетными данными (в сравнении с планом) об использовании фонда зарплаты по его составным (структурным) элементам.
3. Данными о состоянии технического нормирования на предприятии.
4. Данными о доплатах за отклонение от нормальных условий работы по причинам.
5. Материалами оперативного контроля, характеризующими состояние тарифной дисциплины на предприятии, и правильность тарификации работ и рабочих.
6. Материалами, характеризующими законность ряда выплат и доплат, произведенных за отчетный период.
7. Материалами оперативного контроля, касающихся правильности учета выработки рабочих и так далее.
На относительное отклонение фонда оплаты труда оказывают влияние три фактора: изменение среднесписочного числа работников; изменение среднегодовой зарплаты; процент выполнения плана по объему производства продукции.
При анализе определяют и сопоставляют:
1. Планируемые темпы роста производительности и средней зарплаты к предыдущему году.
2. Фактические темпы роста производительности и средней заработной платы по отношению к предыдущему году.
Фонд заработной платы и выплат социального характера расходуются по смете. Смета позволяет контролировать расход фонда по его направлениям и не производить выплаты незаработанных средств. Анализ фонда оплаты труда в этих условиях хозяйствования может сводиться к сравнению, сколько средств заработано по направлениям расходования, предусмотренным в смете, и какие суммы фактически выплачены. Также можно анализировать структуру заработной платы на одного работающего различных категорий работников и подразделений.
Экономия по фонду заработной платы, исходя из установленного норматива, остается в распоряжении предприятия и может использоваться для установления надбавок к заработной плате за высокую квалификацию и достижения в работе. Это повышает значение анализа заработной платы с точки зрения использования ее результатов для того, чтобы фактически добиться экономии по фонду. Персональная ответственность за правильность выплат из фонда оплаты труда возлагается на руководителя предприятия и главного бухгалтера.
Для определения месячного размера необходимого тарифа определяется среднесписочная численность работающих, устанавливается их месячный тарифный фонд. Месячный фонд заработной платы руководителей, специалистов и служащих определяется на основании штатного расписания и составляет 17 процентов от общей суммы по смете. Среднемесячная сумма заработной платы по сдельным расценкам составляет 18 процентов. Размер средств на текущее премирование определяется, исходя из установленного процента, премирования для различных категорий работающих и составляет 14 процентов от общей суммы.
Сумма средств на ежегодные и дополнительные отпуска работающим определяется как заработная плата в расчете на месяц. Доплаты, надбавки за работу в ночное время, выходные и праздничные дни определяются на основании отчетных данных за прошлые месяцы и составляют в среднем 3 процента от общей суммы средств.
При составлении сметы и определения необходимых размеров средств учитываются принятые на предприятии формы оплаты труда, действующие тарифные ставки и оклады, разряды рабочих, должностные оклады. Должностные оклады руководителей, специалистов и служащих устанавливаются на основании утвержденного контракта на один год (индивидуально заключенного с каждым специалистом). Цех № 17 со среднесписочной численностью 257 человек установил для себя месячную потребность фонда заработной платы в сумме 1 950000 рублей и выплат социального характера в сумме 500 000 рублей.
Анализируя исполнение сметы за 3 квартал 2007 года, можно сказать, что в основном фактический расход фонда проводился в пределах сметы, перерасход по направлениям расхода не допускался, исключая расходы на дополнительные отпуска работающим (по смете на квартал они составили 457 000 рублей, а фактически –460 000 рублей) и расходы аппарата управления ( по смете – 380 335 рублей, фактически – 400 387 рублей). Это связано с летним временем года, когда большая часть работающих стремится попасть в отпуск именно в этот период.
Расчет годового фонда заработной платы в 2007г. по цеху № 17 представлен в таблице:
Таблица 2
| Наименование | Сумма, млн. руб. |
| 1 | 2 |
| Фонд з/платы производственников непосредственно | 23 400000 |
| Фонд з/платы начальников производственных отделов | 7 800000 |
| Фонд з/платы технического отдела | 6 840000 |
| Фонд з/платы подсобно-вспомогательного персонала | 2 340000 |
| Фонд з/платы инженерно-технического персонала | 6 256000 |
| ИТОГО: | 46 636000 |
Бухгалтерия цеха № 17 наряду с расчетом причитающихся работникам заработной платы, премий, пособий организует также учет этих сумм на счетах бухгалтерского учета в соответствующих регистрах. В этих целях, на каждого работника ежегодно в бухгалтерии открывается лицевой счет (форма № Т-54а) и налоговая карточка (форма 1-НДФЛ), в которых проставляются общие сведения о работнике (фамилия, имя, отчество; должность и место работы, назначения и перемещения, размер тарифной ставки или оклада, характер удержаний и др.) и накапливаются сведения о начислениях заработной платы, удержаниях и выплатах нарастающим итогом в течение календарного года. Данные лицевых счетов являются основанием для исчисления среднего заработка при расчете отпускных, для оплаты больничного листа, пособий, выплаты компенсации при увольнении, для начисления пенсий. Учет использования рабочего времени ведется в табелях учета использования рабочего времени. В цехе применяется форма табеля учета рабочего времени № Т-13, в которой отражается учет использования рабочего времени без расчета заработной платы. Заработная плата начисляется в лицевом счете. Табели открываются по структурным подразделениям цеха, они применяются для учета использования рабочего времени всех категорий работающих, для контроля за соблюдением персоналом установленного режима рабочего времени, расчетов с ним по заработной плате, а также получения данных об отработанном времени. Табель составляется в одном экземпляре табельщиком и передается в расчетный отдел бухгалтерии два раза в месяц: для корректировки суммы выплаты за первую половину месяца (аванса) и для расчета заработной платы за месяц. Учет явок на работу и использования рабочего времени осуществляется в табеле методом сплошной регистрации.
В регистрах аналитического учета фиксируется совокупный доход и суммы удержанных налогов у сотрудников. В конце года (начале следующего) бухгалтерия персонифицирована, данные предоставляются в УМНС для учета налога на доходы физических лиц и в Пенсионный фонд РФ для учета пенсионных платежей.
Сведения о начисленных суммах заработной платы и произведенных удержаниях ежемесячно переносятся из лицевых счетов в расчетную ведомость, и таким образом в этом документе суммируются данные о начисленных суммах и произведенных удержаниях по всем работникам предприятия.
Результаты расчетов сумм, причитающихся каждому работнику к выдаче, переносятся в платежную ведомость, по которой и выдается заработная плата работникам. При выдаче заработной платы из кассы предприятия каждый работник расписывается в платежной ведомости.
Для синтетического учета заработной платы предназначен пассивный балансовый счет 70 «Расчеты с персоналом по оплате труда». По кредиту счета отражают начисления по оплате труда, пособий за счет отчислений на государственное социальное страхование, пенсий и других аналогичных сумм, а также доходов от участия в организации, а по дебету — удержания из начисленной суммы оплаты труда и доходов, выдачу причитающихся сумм работникам и не выплаченные в срок суммы оплаты труда и доходов.
Для выдачи заработной платы в цехе № 17 устанавливаются определенные дни - с 7-го по 10-е число каждого месяца. Следовательно, в пассиве баланса на каждое первое число месяца, следующего за отчетным, будет числиться сумма кредиторской задолженности предприятия по заработной плате работникам, начисленной за отчетный месяц, но не выданной в этом месяце. Сумма кредиторской задолженности равна сумме заработной платы, причитающейся к выдаче на руки.
При выдаче заработной платы кредиторская задолженность предприятия перед работниками погашается. На сумму выданной заработной платы в бухгалтерском учете делается проводка:
Дебет счета 70 «Расчеты с персоналом по оплате труда»
Кредит счета 50 «Касса»
Операцию по начислению и распределению оплаты труда, включаемой в издержки производства и обращения, оформляют следующей бухгалтерской записью:
Дебет счетов 20 «Основное производство» (оплата труда производственных рабочих), 23 «Вспомогательные производства» (оплата труда рабочим вспомогательных производств), 25 «Общепроизводственные расходы» (оплата труда цехового персонала), 29 «Обслуживающие производства и хозяйства» (оплата труда работников обслуживающих производств и хозяйств).
Кредит счета 70 «Расчеты с персоналом по оплате труда» (на всю сумму начисленной оплаты труда).
Пособия по временной нетрудоспособности и другие выплаты за счет средств органов социального страхования отражают:
Дебет счета 69 «Расчеты по социальному страхованию и обеспечению»
Кредит счета 70 «Расчеты с персоналом по оплате труда».
Начисленные суммы премий, материальной помощи, пособий, оплаты труда по работам, производимым за счет средств целевого финансирования и в процессе получения внереализационных или операционных доходов, отражают в бухгалтерии проводкой:
Дебет счетов 91 «Прочие доходы и расходы», 84 «Нераспределенная прибыль (непокрытый убыток)», 86 «Целевое финансирование»
Кредит счета 70 «Расчеты с персоналом по оплате труда».
Начисление доходов работникам организации по акциям и вкладам в его имущество оформляют следующей бухгалтерской записью:
Дебет счета 84 «Нераспределенная прибыль (непокрытый убыток)»
Кредит счета 70 «Расчеты с персоналом по оплате труда».
По мере ухода рабочих в отпуск фактически начисленные им суммы за отпускной период списывают на уменьшение созданного резерва. При этом бухгалтер составляет следующую запись:
Дебет счета 96 «Резервы предстоящих расходов»;
Кредит счета 70 «Расчеты с персоналом по оплате труда».
При начислении сумм ежегодных и дополнительных отпусков начисленные суммы отпусков включаются в фонд заработной платы труда отчетного месяца только в сумме, приходящейся на дни отпуска в отчетном месяце. В случае перехода части отпуска на следующий месяц выплаченная работникам за эти дни сумма отпускных отражается в отчетном месяце как выданный аванс проводкой:
Дебет счета 70 «Расчеты с персоналом по оплате труда»; Кредиту счета 50 «Касса».
В следующем месяце эту сумму включают в состав фонда оплаты труда и обычно отражают записью по начислению отпускных сумм:
Дебет счетов производственных затрат или счета 96 «Резервы предстоящих расходов»
Кредит счета 70 «Расчеты с персоналом по оплате труда»
Удержания из сумм начисленной оплаты труда списывают с кредита соответствующих счетов в дебет счета 70 «Расчеты с персоналом по оплате труда».
Выдачу сумм заработной платы и пособий оформляют следующей бухгалтерской записью:
Дебет счета 70 «Расчеты с персоналом по оплате труда»;
Кредит счета 50 «Касса».
Не полученная в срок заработная плата оформляется следующей бухгалтерской записью: Дебет счета 70 «Расчеты с персоналом по оплате труда»;
Кредит счета 76-4 «Расчеты по депонированным суммам».
Остатки не выданной в срок заработной платы (задепонированных сумм) по истечении трех дней должны быть сданы в банк на расчетный счет. При этом составляют проводку:
Дебет счета 51 «Расчетные счета»;
Кредит счета 50 «Касса».
Дебет счета 76 «Расчеты с разными дебиторами и кредиторами»
Кредиту счета 50 «Касса».
Таким образом, организация и ведение аналитического и синтетического учетов в цехе № 17 необходимы, так как их данные взаимосвязаны и позволяют, анализируя показатели синтетических счетов, составляют, например, справки на сумму удержанных налогов из заработной платы рабочих и служащих, начислять пособия по временной нетрудоспособности, премии всем категориям работников.
В цехе № 17 ОАО ЧМЗ одновременно действуют следующие системы оплаты труда: повременно – премиальная и сдельно-премиальная. При повременно – премиальной форме оплаты труда заработок начисляется за определенное количество отработанного времени в днях и в часах, независимо от объема выполненных работ. При сдельной оплате труда размер заработка зависит от количества выполненной работы в соответствии с установленными расценками. В цехе применяется 5 разрядная тарифная сетка. Ставки выражены в денежной форме и возрастают по мере увеличения разряда. Для определения месячного размера необходимого тарифа определяется среднесписочная численность работающих, устанавливается их месячный тарифный фонд.
1.3. Организация технологического процесса
Водоснабжение и водоотведение являются важнейшими санитарно- техническими системами, обеспечивающими нормальную жизнедеятельность населения и всех отраслей народного хозяйства страны. Используя природные водные источники, эти системы снабжают водой различных потребителей, а также обеспечивают очистку сточных вод, их отведение и возврат природе, защиту и охрану водоисточников от загрязнения и истощения.
Системы водоснабжения и водоотведения представляют собой сложные инженерные сооружения, устройства и оборудование, в значительной степени определяющие уровень благоустройства зданий, объектов и населенных пунктов, рентабельность и экономичность промышленных предприятий.
Эта отрасль обладает рядом технологических особенностей:
1. Постоянство (неизменное состояние технологических этапов в независимости от размеров технологий);
2. Непрерывность (реализация технологических этапов в строгой повторяющей последовательности).
В зависимости от вида обслуживаемого объекта системы водоснабжения подразделяются на городские, промышленные, сельскохозяйственные, железнодорожные. В зависимости от вида потребителей системы выполняют функции хозяйственно-питьевых, производственных, противопожарных, поливочных водопроводов.
В целом можно говорить о том, что от стабильного функционирования данных систем зависит нормальная работа города, предприятий, здоровье и безопасность жителей.
«Расчетные расходы воды определяют с учетом числа жителей населенного места и норм водопотребления. Нормой хозяйственно-питьевого водопотребления в населенных местах называют количество воды в литрах, потребляемой в сутки одним жителем на хозяйственно-питьевые нужды. Норма водопотребления зависит от степени благоустройства зданий и климатических условий» [2; С.10].
Таблица 3. Нормы водопотребления
| Степень благоустройства зданий | Нормы на одного жителя среднесуточная (за год), л/сут |
Застройка зданиями, оборудованными внутренним водопроводом и канализацией: без ванн с ваннами и местными водонагревателями с централизованным горячим водоснабжением |
125-160 160-230 230-270 |
В течение года и в течение суток вода для хозяйственно-питьевых целей расходуется неравномерно (летом расходуется больше, чем зимой; в дневные часы – больше, чем в ночные) [5; С. 145].
Расчетный (средний за год) суточный расход воды на хозяйственно-питьевые нужды в населенном пункте определяют по формуле
Qсут m = qж ×Nж /1000, м3 /сут;
Qсут m = 300×85000/1000 = 25500 м3 /сут.
где qж – удельное водопотребление; Nж – расчетное число жителей.
Расчетные расходы воды в сутки наибольшего и наименьшего водопотребления, м3 /сут,
Qсут max = Kсут max × Qсут m ; Qсут min = Kсут min × Qсут m .
Коэффициент суточной неравномерности водопотребления Kсут следует принимать равным
Kсут max = 1,1 – 1,3
Kсут min = 0,7 – 0,9
Большие значения Kсут max принимают для городов с большим населением, меньшие – для городов с малым населением. Для Kсут min – наоборот.
Qсут max = 1,2×25500 = 30600 м3 /сут;
Qсут min = 0,8×25500 = 20400 м3 /сут.
Расчетные часовые расходы воды, м3 /ч,
qч max = Kч max × Qсут max /24
qч min = Kч min × Qсут min /24
Коэффициент часовой неравномерности водопотребления определяют из выражений
Kч max = amax × bmax
Kч min = amin × bmin
где a - коэффициент, учитывающий степень благоустройства зданий:
amax = 1,2-1,4; amin = 0,4-0,6 (меньшие значения для amax и большие для amin принимают для более высокой степени благоустройства зданий);
b - коэффициент, учитывающий число жителей в населенном пункте.
Kч max = 1,2×1,1 = 1,32
Kч min = 0,6×0,7 = 0,42
qч max = 1,32×30600/24 = 1683 м3 /ч
qч min = 0,42×20400/24 = 357 м3 /ч
По рассчитанному коэффициенту часовой неравномерности Kч max = 1,32 задаемся вероятным графиком распределения суточных расходов по часам суток.
По данным таблицы распределения суточных хозяйственно-питьевых расходов по часам суток при разных коэффициентах часовой неравномерности для населенных пунктов для Kч max = 1,32 строим график суточного водопотребления и совмещаем с этим графиком графики подачи воды насосами 1 и 2 подъема.
Качество природной воды зависит от наличия в ней различных веществ неорганического и органического происхождения. Содержание в воде нерастворенных веществ характеризуется мутностью в мг на литр. Присутствие в воде гумусовых веществ характеризуется цветностью в градусах по так называемой платинокобальтовой шкале. Содержащиеся в воде соли кальция и магния придают ей жесткость. Загрязненность воды бактериями характеризуются количеством бактерий, содержащихся в 1 куб.см. воды.
«Методы очистки воды зависят от качества природной воды, потребляемого расхода и требований к ее качеству. При очистке речной воды для хозяйственно-питьевых нужд наиболее широко применяют осветление, обесцвечивание и обеззараживание воды (дезинфекция)». [15; С.165]
Более глубоко и более эффективно осветление воды происходит при коагулировании и пропуске через «взвешенный слой» хлопьев, ранее отделенных от воды в осветлителях. Для глубокого осветления воды применяют ее фильтрование через песчаные фильтры. Коагулирование с последующим отстаиванием и фильтрованием, а затем хлорированием воды применяют также для устранения цветности и снижения окисления воды. Обеззараживание воды производят хлорированием, озонированием, ультрафиолетовым облучением. Для снижения жесткости (умягчения), обессоливания и дегазации воды применяют химические и физико-химические методы обработки воды. Их применяют одновременно с отстаиванием и фильтрованием. Коагулирование осуществляют для ускорения процесса осветления и обесцвечивания воды.
Дозу коагулянта Дк , мг/л, в расчете для цветных вод – по формуле.
Дк =4×Ц
где Ц – цветность обрабатываемой воды, град.
При одновременном содержании в воде взвешенных веществ и цветности принимают большую из доз коагулянта. Дозу флокулянтов (в дополнение к дозам коагулянтов) следует принимать: полиакриламида (ППА) по безводному продукту при вводе перед отстойниками. Флокулянт вводят в воду после коагулянта.
Дозу хлорсодержащих реагентов (по активному хлору) при предварительном хлорировании и для улучшения хода коагуляции и обесцвечивания воды, а также для улучшения санитарного состояния сооружений следует принимать 3-10 мг/л. Реагенты вводят за 1-3 мин до ввода коагулянтов. Дозы подщелачивающих реагентов Дщ , мг/л, необходимых для улучшения процесса хлопьеобразования, определяют по формуле:
Дщ =Кщ ×(Дк /ек – Що ) + 1
где Дк – максимальная, в период подщелачивания, доза безводного коагулянта, мг/л;
ек – эквивалентная масса коагулянта (безводного), мг/мг-экв, принимаемая для
Al2 (SO4 )3 - 57; FeCl3 – 54; Fe2 (SO4 )2 – 67;
Кщ – коэффициент, равный для извести (по СаО) – 28; для соды (по Na2 CO3 ) – 53;
Що – минимальная щелочность воды, мг-экв/л.
Реагенты вводят одновременно с вводом коагулянтов. Например: потребность в сутки максимального водопотребления
Ск = 1,05 Qсут max ×Дк /1000=1,05×58500×400/1000=24570 кг.
здесь 0,05 Qсут max – объем воды, необходимый для собственных нужд очистной станции.
Доза флокулянта (ПАА) – по таблице.
ДПАА =0,2-0,5 мг/л, принимаем ДПАА =0,4 мг/л.
Потребность в сутки максимального водопотребления:
СПАА =1,05 Qсут max ×ДПАА /1000=1,05×58500×0,4/1000=24,57 кг.
Доза хлорсодержащих реагентов (по активному хлору) при предварительном хлорировании. ДCl =3-10 мг/л, принимаем ДCl =3-5 мг/л.
Потребность хлорсодержащих реагентов (по активному хлору) в сутки максимального водопотребления:
СCl =1,05 Qсут max ×ДCl /1000=1,05×58500×5/1000=307,13 кг
Доза подщелачиваемых реагентов (извести)
Дщ =28(30/57-0,2)+1=10 мг/л.
Потребность в сутки максимального водопотребления
Сщ =1,05 Qсут max ×Дщ /1000=1,05*58500*10/1000=614,25 кг.
Качество природной воды зависит от наличия в ней различных веществ неорганического и органического происхождения. Содержание в воде нерастворенных веществ характеризуется мутностью в мг на литр. Присутствие в воде гумусовых веществ характеризуется цветностью в градусах по так называемой платинокобальтовой шкале. Содержащиеся в воде соли кальция и магния придают ей жесткость. Загрязненность воды бактериями характеризуются количеством бактерий, содержащихся в 1 куб.см. воды.
«Методы очистки воды зависят от качества природной воды, потребляемого расхода и требований к ее качеству. При очистке речной воды для хозяйственно-питьевых нужд наиболее широко применяют осветление, обесцвечивание и обеззараживание воды (дезинфекция)». [15; С.165]
Более глубоко и более эффективно осветление воды происходит при коагулировании и пропуске через «взвешенный слой» хлопьев, ранее отделенных от воды в осветлителях. Для глубокого осветления воды применяют ее фильтрование через песчаные фильтры. Коагулирование с последующим отстаиванием и фильтрованием, а затем хлорированием воды применяют также для устранения цветности и снижения окисления воды. Обеззараживание воды производят хлорированием, озонированием, ультрафиолетовым облучением. Для снижения жесткости (умягчения), обессоливания и дегазации воды применяют химические и физико-химические методы обработки воды. Их применяют одновременно с отстаиванием и фильтрованием. Коагулирование осуществляют для ускорения процесса осветления и обесцвечивания воды.
Дозу коагулянта Дк , мг/л, в расчете для цветных вод – по формуле.
Дк =4×Ц
где Ц – цветность обрабатываемой воды, град.
При одновременном содержании в воде взвешенных веществ и цветности принимают большую из доз коагулянта. Дозу флокулянтов (в дополнение к дозам коагулянтов) следует принимать: полиакриламида (ППА) по безводному продукту при вводе перед отстойниками. Флокулянт вводят в воду после коагулянта.
Дозу хлорсодержащих реагентов (по активному хлору) при предварительном хлорировании и для улучшения хода коагуляции и обесцвечивания воды, а также для улучшения санитарного состояния сооружений следует принимать 3-10 мг/л. Реагенты вводят за 1-3 мин до ввода коагулянтов. Дозы подщелачивающих реагентов Дщ , мг/л, необходимых для улучшения процесса хлопьеобразования, определяют по формуле:
Дщ =Кщ ×(Дк /ек – Що ) + 1
где Дк – максимальная, в период подщелачивания, доза безводного коагулянта, мг/л;
ек – эквивалентная масса коагулянта (безводного), мг/мг-экв, принимаемая для
Al2 (SO4 )3 - 57; FeCl3 – 54; Fe2 (SO4 )2 – 67;
Кщ – коэффициент, равный для извести (по СаО) – 28; для соды (по Na2 CO3 ) – 53;
Що – минимальная щелочность воды, мг-экв/л.
Реагенты вводят одновременно с вводом коагулянтов. Например: потребность в сутки максимального водопотребления
Ск = 1,05 Qсут max ×Дк /1000=1,05×58500×400/1000=24570 кг.
здесь 0,05 Qсут max – объем воды, необходимый для собственных нужд очистной станции.
Доза флокулянта (ПАА) – по таблице.
ДПАА =0,2-0,5 мг/л, принимаем ДПАА =0,4 мг/л.
Потребность в сутки максимального водопотребления:
СПАА =1,05 Qсут max ×ДПАА /1000=1,05×58500×0,4/1000=24,57 кг.
Доза хлорсодержащих реагентов (по активному хлору) при предварительном хлорировании
ДCl =3-10 мг/л, принимаем ДCl =3-5 мг/л.
Потребность хлорсодержащих реагентов (по активному хлору) в сутки максимального водопотребления:
СCl =1,05 Qсут max ×ДCl /1000=1,05×58500×5/1000=307,13 кг
Доза подщелачиваемых реагентов (извести)
Дщ =28(30/57-0,2)+1=10 мг/л.
Потребность в сутки максимального водопотребления
Сщ =1,05 Qсут max ×Дщ /1000=1,05*58500*10/1000=614,25 кг.
Качество природной воды зависит от наличия в ней различных веществ неорганического и органического происхождения. Содержание в воде нерастворенных веществ характеризуется мутностью в мг на литр. Присутствие в воде гумусовых веществ характеризуется цветностью в градусах по так называемой платинокобальтовой шкале. Содержащиеся в воде соли кальция и магния придают ей жесткость. Загрязненность воды бактериями характеризуются количеством бактерий, содержащихся в 1 куб.см. воды.
«Методы очистки воды зависят от качества природной воды, потребляемого расхода и требований к ее качеству. При очистке речной воды для хозяйственно-питьевых нужд наиболее широко применяют осветление, обесцвечивание и обеззараживание воды (дезинфекция)». [15; С.165]
Более глубоко и более эффективно осветление воды происходит при коагулировании и пропуске через «взвешенный слой» хлопьев, ранее отделенных от воды в осветлителях. Для глубокого осветления воды применяют ее фильтрование через песчаные фильтры. Коагулирование с последующим отстаиванием и фильтрованием, а затем хлорированием воды применяют также для устранения цветности и снижения окисления воды. Обеззараживание воды производят хлорированием, озонированием, ультрафиолетовым облучением. Для снижения жесткости (умягчения), обессоливания и дегазации воды применяют химические и физико-химические методы обработки воды. Их применяют одновременно с отстаиванием и фильтрованием. Коагулирование осуществляют для ускорения процесса осветления и обесцвечивания воды.
Дозу коагулянта Дк , мг/л, в расчете для цветных вод – по формуле.
Дк =4×Ц
где Ц – цветность обрабатываемой воды, град.
При одновременном содержании в воде взвешенных веществ и цветности принимают большую из доз коагулянта. Дозу флокулянтов (в дополнение к дозам коагулянтов) следует принимать: полиакриламида (ППА) по безводному продукту при вводе перед отстойниками. Флокулянт вводят в воду после коагулянта.
Дозу хлорсодержащих реагентов (по активному хлору) при предварительном хлорировании и для улучшения хода коагуляции и обесцвечивания воды, а также для улучшения санитарного состояния сооружений следует принимать 3-10 мг/л. Реагенты вводят за 1-3 мин до ввода коагулянтов. Дозы подщелачивающих реагентов Дщ , мг/л, необходимых для улучшения процесса хлопьеобразования, определяют по формуле:
Дщ =Кщ ×(Дк /ек – Що ) + 1
где Дк – максимальная, в период подщелачивания, доза безводного коагулянта, мг/л;
ек – эквивалентная масса коагулянта (безводного), мг/мг-экв, принимаемая для
Al2 (SO4 )3 - 57; FeCl3 – 54; Fe2 (SO4 )2 – 67;
Кщ – коэффициент, равный для извести (по СаО) – 28; для соды (по Na2 CO3 ) – 53;
Що – минимальная щелочность воды, мг-экв/л.
Реагенты вводят одновременно с вводом коагулянтов. Например: потребность в сутки максимального водопотребления
Ск = 1,05 Qсут max ×Дк /1000=1,05×58500×400/1000=24570 кг.
здесь 0,05 Qсут max – объем воды, необходимый для собственных нужд очистной станции.
Доза флокулянта (ПАА) – по таблице.
ДПАА =0,2-0,5 мг/л, принимаем ДПАА =0,4 мг/л.
Потребность в сутки максимального водопотребления:
СПАА =1,05 Qсут max ×ДПАА /1000=1,05×58500×0,4/1000=24,57 кг.
Доза хлорсодержащих реагентов (по активному хлору) при предварительном хлорировании
ДCl =3-10 мг/л, принимаем ДCl =3-5 мг/л.
Потребность хлорсодержащих реагентов (по активному хлору) в сутки максимального водопотребления:
СCl =1,05 Qсут max ×ДCl /1000=1,05×58500×5/1000=307,13 кг
Доза подщелачиваемых реагентов (извести)
Дщ =28(30/57-0,2)+1=10 мг/л.
Потребность в сутки максимального водопотребления
Сщ =1,05 Qсут max ×Дщ /1000=1,05*58500*10/1000=614,25 кг.
Методы обеззараживания воды составляют четыре основные группы: термический (кипячение), химический (хлор, озон), олигодинамический (воздействие ионов благородных металлов) и физический (ультразвук, ультрафиолетовые лучи). Наибольшее распространение получили методы второй группы. В качестве окислителей используют диоксид хлора, двуокись хлора, озон, йод, перманганат калия, перекись водорода, гипохлорит натрия и кальция. Из перечисленных окислителей на практике отдают предпочтение хлору, озону, гипохлориту натрия.
Хлор опасен при транспортировании и использовании, его утечки могут вызвать отравление людей. Кроме того, при хлорировании образуются хлорорганические соединения, в том числе – диоксид – сильнейший мутаген. При наличии в воде фенолов образуются хлорфенолы, обладающие токсичными свойствами и неприятным запахом.
Достоинство озонирования в том, что, уничтожая, бактерии, споры, вирусы, он разрушает растворенные и взвешенные в воде органические вещества. Это позволяет использовать озон не только для обеззараживания, но и для обесцвечивания и дезодорации воды. При этом природные свойства воды не изменяются. Избыток озона (в отличие от хлора) не только не ухудшает, но и значительно улучшает качество воды – устраняет цветность, привкусы и запахи. В случае только обеззараживания фильтрованной воды доза озона составляет 1-2 мг/л. Если же озон применяется для обесцвечивания и обеззараживания воды, его доза может достигать 4-5 мг/л.
В процессе очистки вода должна пройти ряд очистных сооружений, в которых осуществляются принятые методы очистки. Наиболее распространенные технологические схемы очистки речной воды для хозяйственно-питьевых целей:
1. Глубокое осветление, обесцвечивание и обеззараживание воды путем коагулирования и последовательного осветления воды в отстойниках и на фильтрах. Природная вода насосами 1 подъема 1 подается в смеситель 3, куда одновременно подаются реагенты, приготовленные в реагентном цехе 2.

Рис. 1. Технологическая схема очистки воды
После смешения с реагентами вода поступает в камеру хлопьеобразования 4, где происходит процесс агломерации взвешенных (мутность) и коллоидальных (цветность) частиц в крупные хлопья. Затем вода поступает в отстойники 5, в которых движется с малой скоростью (2-10 мм/с). При этом основная масса образовавшихся хлопьев отделяется от обрабатываемой воды и выпадает в осадок. Из отстойников воду подают на фильтры 6 для глубокого осветления путем пропуска ее через толщу песчаной загрузки. В процессе очистки в толще фильтров накапливаются загрязнения. Для их удаления фильтры выключают из работы и промывают.
Осветленную воду обеззараживают и собирают в резервуарах чистой воды 7, где обеззараживание завершается в результате контакта с дезинфекторами (хлором, озоном). Вода, подаваемая в сеть, не должна содержать озона, так как он вызывает коррозию труб и оборудования. Поэтому воду, обработанную озоном, выдерживают в резервуарах до завершения расходования озона.[7; С.95]
2. Технологическая схема, представленная на рисунке 2, имеет лишь одно сооружение для осветления воды – контактные осветлители (песчаные фильтры с движением воды снизу вверх).
В них коагуляция взвесей и осветление ды происходит одновременно.

Рис.2. Технологическая схема очистных сооружений
Укрупнение частиц в хлопья происходит не в свободном объеме, а на поверхности зерен фильтрующего материала под действием сил прилипания (контактная коагуляция). Общий объем очистных сооружений по этой схеме значительно меньше, чем по предыдущей. Эту схему можно применять при малом содержании в воде взвешенных веществ – до 150-200 мг/л.
По рассмотренным технологическим схемам обесцвечивание воды происходит в результате сорбции коллоидных гумусовых веществ, обусловливающих цветность воды. Скорые фильтры, как правило, на очистных станциях применяют не менее двух сооружений каждого типа. Этим обеспечивается непрерывность работы очистных станций при авариях и эксплуатационных отключениях сооружений.



Рис. 3. Расход воды от суточного в %
Взаимное высотное расположение сооружений предусматривают с таким расчетом, чтобы движение воды от сооружения к сооружению было самотечным. Разность отметок уровней воды в расположенных рядом сооружениях должна быть равна потерям напора при движении воды между сооружениями по трубопроводам и лоткам, а также в самих сооружениях. Общие потери напора по технологической схеме обычно составляют 3,5-6 м. А теперь рассмотрим технологию подачи и очистки воды в цехе № 17 ОАО ЧМЗ.
Водозаборные сооружения цеха № 17 совмещены с насосной станцией подъёма и служат для забора речной воды из реки «Чепца» и равномерной подачи её в течение суток на станцию очистки. По степени надёжности электроснабжения водозаборные сооружения относятся к потребителям первой категории. Створ водозаборных сооружений расположен на плесовом участке, имеющем глубину при минимальных уровнях воды около 4- 4.5 м.
Учитывая стеснённые условия при небольших размерах плёсового участка реки, для борьбы с шугой, улучшения транзита донных наносов и льда, а также для повышения процента отбора воды из реки, приняты водозаборные сооружения с самовсасывающимся ковшом.
Водоприёмная часть водозаборных сооружений и насосная станция 1 подъёма сблокированы в одном здании. Водозаборные сооружения ограждены забором из колючей проволоки. Охрана расположена непосредственно в помещении сеток насосной станции 1 подъёма. Подача речной воды от насосной станции 1 подъёма до водоочистных сооружений осуществляется по двум напорным водоводам. Водоводы на пойменных участках - стальные диаметром 800 мм, в сухих фунтах - железобетонные напорные трубы диаметром 900 мм.
Насосная станция находится в автоматическом режиме под контролем машиниста насосных установок. Круглосуточное обслуживание водозаборных сооружений осуществляется сменным оперативным персоналом участка. Нормальный режим работы насосной станции 1 подъёма: два рабочих и два резервных насосных агрегата. Каждый насосный агрегат может быть рабочим или резервным. Пуск основных насосных агрегатов осуществляется на закрытый затвор.
Для нормальной работы водозаборных сооружений производится очистка решеток оголовка и самотечных линий от засорения, плавающими и взвешенными в воде крупными предметами и водорослями, наличие которых в большом количестве способно сократить подачу воды, а следовательно, уменьшить производительность водозаборных сооружений.
Техническое обслуживание и ремонт механического, электрического оборудования и оборудования КИПиА - персоналами механической, энергетической служб цеха и персоналом участка КИПиА.
В состав водозаборных сооружений входят:
1. Водоприёмный ковш.
2. Водоприёмный оголовок.
3. Насосная станция 1 подъёма, сблокированная с водоприёмником.
Водоприёмный ковш представляет собой искусственно созданный водоём и используется для борьбы с шугой, частичного осветления воды, забираемой из реки, от взвеси. На сооружениях смонтирован малый самопромывающийся ковш с низовым входом, расположенным под углом 35° к линии основного потока воды в реке. Отметка дна ковша обеспечивает высоту порога водозаборных отверстий над дном - 0.5 м, запаса их под нижней поверхностью льда, равного 0.3 м при минимальном уровне воды в реке.
Низовая дамба затапливается в весенний паводок. Откосы и гребень переливной дамбы укреплены каменной наброской. Речной затопленный оголовок предназначен для отбора воды из реки. Водоприёмный оголовок - бетонный с металлической оболочкой. Состоит из двух секций. Длина каждой секции 16 м. Дно оголовка выровнено камнем.
Каждая секция состоит из каркаса, обшитого листовой сталью толщиной 3 мм, одной вихревой и шести бункерных камер. Бункерные камеры закрыты фильтрующими деревянными пакетными решётками. На двух секциях оголовка установлено 12 решёток размером 1200 х 310 мм.
Речная вода в бункерные камеры поступает через окна. Из бункерных камер вода поступает в вихревые камеры. Для защиты оголовка от ледохода, отвода плавающих веществ оголовок защищён металлической шпунтовой стенкой. Оголовок соединён с насосной станцией первого подъёма двумя самотечными трубопроводами диаметром 800 мм, защищёнными под насыпью насосной станции стальными кожухами.
Для промывки самотечных трубопроводов на сооружениях смонтирован промывной водовод диаметром 400 мм. Водоприёмная часть водозаборных сооружений и насосная станция 1 подъёма сблокирована в одном здании.
Подъёмная часть представляет собой круглый опускной железобетонный колодец диаметром 18.0 м и глубиной 14.0 м. Амплитуда колебания уровней - 8.0 м. Внутренней перегородкой подъёмная часть разделена на водоприёмную часть и машинный зал.
Водоприёмная часть разделена на две секции. В каждой секции для предварительной очистки воды установлена вращающая сетка с внешнелобовым подводом воды. Степень загрязнения сетки определяют по сопоставлению уровней перед и после вращающейся сетки.
В машинном зале станции (отметка - 13.60 м) смонтированы:
Основные насосные агрегаты - 4 шт.
Дренажные насосы - 2 шт.
Всасывающие и напорные трубопроводы с запорной и регулирующей арматурой.
Всасывающая и напорная гребёнки.
Шкафы управления ( 1 ЩУ - 4 ЩУ ).
Характеристика основных насосных агрегатов:
тип центробежный Д 2500-62
производительность, С м3 /час 2500
напор, Н м в. ст. 62
электродвигатель асинхронный: тип А4-400-У6
мощность, N кВт 500
число оборотов, п об/мин 985
Характеристика дренажных насосов:
тип центробежный С 569
производительность, С м 3 /час 120
напор, Н м.в. ст. 19
Дренажные насосы служат также для откачки из камер водоприёмника при их опорожнении. Подача воды на промывку сеток осуществляется от напорных водопроводов по трубопроводу диаметром 100 мм с дросселированием напора воды до 25 м. Промывка сеток осуществляется поочерёдно, автоматически, в зависимости от перепада уровней воды до и после сеток - вручную. Для отвода воды от промывки сеток смонтирован трубопровод диаметром 200 мм. Вода после лотка для отвода промывной воды сбрасывается в реку ниже (по течению) водозаборных сооружений.
В надземной части водозаборных сооружений имеется:
1.Помещение вращающихся сеток.
2.Помещение распредустройства РУ-6 кВ.
3.Трансформаторная подстанция.
4.Лифт пассажирский г. п. 350 кг.
Для измерения расхода на напорных водоводах установлены приборы ДРКС с врезными датчиками и со вторичным прибором Диск-250.
Водозаборные сооружения оборудованы системой телемеханики, осуществляющейся по кабельной линии (АВВГ 2.5 х 37, два кабеля марки КУПВ 0.5 х 19). С диспетчерской водоочистных сооружений осуществляется телеуправление насосных агрегатов, напорными задвижками. На диспетчерский пункт водоочистных сооружений с водозаборных сооружений передаются следующие сигналы: насосный агрегат № 1-4 «Включен», «Отключен».
Телеизмерением охвачены следующие параметры: ток в цепи насосных агрегатов; расход воды на напорных линиях; давление воды в напорных водоводах.
Для монтажа и демонтажа вращающихся сеток, задвижек и затворов на самовсасывающих линиях в помещении сеток смонтирован подвесной ручной кран грузоподъёмностью 3.2 тн. Водозаборные сооружения оборудованы системами хозяйственно-питьевого водопровода, канализации, вентиляции, освещением, электродвигателем, монтажной площадкой, площадками для обслуживания агрегатов и трубопроводов.
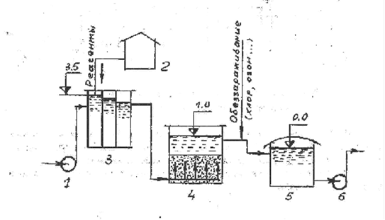
Очистные сооружения в цехе № 17 ОАО ЧМЗ
С насосной станции 1-го подъёма вода по двум водоводам диаметром 800мм со скоростью не более 1.0 м/сек снизу подаётся в смесители, из карманов смесителей вода поступает в сборный (отводной) коллектор, затем в распределительный коллектор, в камеру хлопьеобразования к трубопроводам распределения воды, затем в зону осаждения отстойника.
Из зоны осаждения взвеси вода по трубопроводам сбора осветлённой воды поступает в сборный клапан, из сборного клапана по трубопроводу диаметром 1000мм на контактные осветлители. Сбор осветлённой воды - поверхностный, рассредоточенный. Гидравлическое удаление взвеси из камер хлопьеобразования из зоны осаждения взвеси осуществляется по трубопроводам для гидравлического удаления осадка в шламонакопитель. без выключения отстойника. В отстойнике вода движется с замедленной скоростью, вследствие чего происходит выпадение в осадок, взвешенных веществ.
В целях осаждения мельчайших коллоидных частиц, которые могут находиться во взвешенном состоянии долгое время, к воде прибавляют раствор коагулянта - сернокислый алюминий или алюминия гидроксохлорид (марка А или Б) и др. В результате реакции коагулянта с солями, содержащимися в воде, образуются хлопья, увлекающие коллоидные частицы и взвеси при осаждении.
Ввод коагулянта осуществляется по двум трубопроводам диаметром 50мм на распределительную гребёнку, затем по трубопроводам, подающим воду в смесители, где обеспечивается перемешивание раствора коагулянта с обрабатываемой водой.
Отстойник должен обеспечивать заданную степень предварительного осветления требуемых количеств воды перед её подачей на контактные осветлители. Время пребывания воды в отстойнике равна часу. Смесительные устройства должны обеспечивать быстрое и равномерное смешение реагентов в массе обрабатываемой воды. Чем меньше срок смешения, тем быстрее хлопьеобразование. Режим работы камер хлопьеобразования должен обеспечить наилучшие условия формирования и укрупнения хлопьев коагулированной взвеси перед поступлением очищаемой воды в зону осаждения взвеси.
Производственные воды станции от контактных осветлителей, реагентного хозяйства, пескового хозяйства отводятся сетью промканализации в шламонакопитель. Хозфекальные стоки станции и жилого дома отводятся на канализационную станцию и после в коллектор диаметром 250мм хозфекальной канализации.
Осветлённая вода после шламонакопителя через оголовок сбрасывается в реку «Ч», ниже по течению створа водозаборных сооружений. Для интенсификации процесса смешения обрабатываемой воды с коагулянтом и улучшения осаждения коагулируемой взвеси применяют аэрирование воды.
Технические данные и характеристики отстойников.
Горизонтальные отстойники в плане 30.0 х 48.0 м сблокированы со зданием смесителей размером в плане 30.0 х 18.0 м. Фундаменты в здании смесителей - столбчатые под колонны и сборные ленточные под стены. Стены в здании смесителей - панельные, в павильонах над отстойником - из красного кирпича, с облицовкой силикатным кирпичом, отстойник из ж/б плит. Горизонтальный отстойник представляет собой прямоугольный, вытянутый в направлении движения воды, резервуар, в котором вода движется в горизонтальном направлении. Смонтировано шесть секций отстойника. В павильонах блока отстойников размещаются три смесителя, трубопроводы и арматура, вспомогательное оборудование, насосы пескового хозяйства, турбовоздуходувки, камера хлопьеобразования, зона осаждения взвеси.
В каждой секции в камере хлопьеобразования смонтировано:
1.Деревянные перегородки с отверстиями 700 х 500 мм.
2.Система из двух перфорированных стальных труб диаметром 400 мм с отверстиями диаметром 30 мм в два ряда под углом 45 градусов вниз в шахматном порядке, шаг 275 мм для распределения воды в камере хлопьеобразования.
3.Трубопровод для гидравлического удаления осадка диаметром 400 мм в шламонакопитель ( с уклоном I = 0.01 в голову отстойника ).
4.Малогаборитный аппарат рециркуляции осадка.
В каждой секции в зоне осаждения взвеси смонтировано:
1.Система из трёх стальных перфорированных труб диаметром 300мм с отверстиями 25мм в два ряда под углом 45 градусов вниз в шахматном порядке, шаг 580мм для удаления осадка с уклоном I =0.01 в голову отстойника и коллектора диаметром 400 мм.
Конец каждой трубы заглушен. На каждом конце трубы имеется отверстие диаметром 50 мм для выпуска воздуха.
2.Система из двух стальных перфорированных труб диаметром 400 мм с отверстиями диаметром 25 мм. Разбивка отверстий на первой половине трубы по двум образующим под углом 90 градусов, на второй половине трубы по четырём образующим под углом 90 градусов и углом 45 градусов к вертикальной оси, шаг 286 мм, для сбора осветлённой воды. Максимальный уровень накопления осадка в зоне осаждения 1.9 м.
В помещении смесителей смонтированы:
1.Трубопроводы диаметром 200 мм для опорожнения камер хлопьеобразования.
2.Трубопровод диаметром 400 мм для сбора осадка после опорожнения камер хлопьеобразования.
3.Трубопровод диаметром 400 мм удаления осадка в шламонакопитель.
4.Трубопроводы подачи воды на отстойник, минуя смесители, трубопровод подачи (отвода) воды, минуя отстойник. Запорная и регулирующая арматура.
5. Турбовоздуходувки.
6.Трубы распределения воды в камерах хлопьеобразования и гидравлического удаления осадка в зоне осаждения взвеси уложены в конусообразные каналы.
Ввод коагулянта осуществляется по двум трубопроводам диаметром 50 мм на распределительную гребёнку, затем в трубопроводы, подающие воду на смесители. Для очистки воды в качестве коагулянта применяется сернокислый алюминий.
Процесс коагулирования заключается в следующем:
При выпаде раствора сернокислого алюминия в обрабатываемую воду образуется гидроокись алюминия, представляющая собой хлопья белого цвета. Хлопья гидроокиси сорбируют на своей поверхности взвешенные вещества сливаются между собой. Укрупнённые хлопья оседают на дно. Коагулянт поступает на станцию в контейнерах. Разгрузка осуществляется непосредственно в растворные баки, общим объёмом 400м, что позволяет одновременно принять до 180 т. коагулянта. Приготовленный крепкий раствор (17%) перекачивается насосами в баки-хранилища.
Общая ёмкость растворных и хранилищных баков обеспечивает 31-суточное хранение коагулянта. Раствор по мере надобности перекачивается насосами в расходные баки, где доводится до нужной концентрации. Из расходных баков рабочий раствор концентрации 7% подаётся насосами в трубопровод перед смесителями. Предусмотрена подача рабочего раствора в трубопровод подачи частично осветлённой воды на контактные осветлители.
Все баки раствора коагулянта оборудованы системой воздушного барботажа. Интенсивность подачи воздуха в растворные баки 9 л/сек, на 1 м2 , в баки-хранилища - 3 л/сек, на 1 м , в расходные баки - 4 л/сек, на 1 м2. Подача сжатого воздуха осуществляется с помещения смесителей.
Отделение коагулянта размещено в реагентном блоке. Отделение включает:
1. Помещение растворных баков и баков-хранилищ коагулянта - одноэтажное, в плане 12.0 х 36.0 м., высотой 9.3 м.
2. Дозаторная - расположена в двухэтажной части реагентного блока. Отделение коагулянта оборудовано пандусом высотой 1.2 м., длиной 36м.
В помещении баков с раствором коагулянта смонтировано: 5 шт. растворных баков. Объём осадочной части составляет 30% от объёма бака. Растворный бак коагулянта оборудован:
1. Воздухораспределительной системой в виде решётки из циркониевых труб диаметром 55мм. с отверстиями диаметром 5 мм и общим коллектором ( в баках № 1,2,4,5 - два коллектора диаметром 100 мм и №3 - один коллектор диаметром 70 мм).
2. Воздухопроводом диаметром 150 мм для подачи воздуха в воздухораспределительную систему. Трубопроводом диаметром 150 мм (по два в каждом баке) опорожнения. Сброс осуществляется в лоток, а затем в промканализацию.
3. Трубопроводом диаметром 100 мм забора раствора из бака в бакхранилище.
4. Двумя трубопроводами диаметром 100 мм подачи хоз. питьевой воды для приготовления раствора.
5. Баки-хранилища: 5 шт.
Запас крепкого раствора коагулянта (19% концентрации) обеспечивает 23-х суточное её потребление. Подача хозяйственной питьевой воды в баки и для их промывки осуществляется из трубопровода хозяйственной питьевой воды.
Итак, в этой главе рассмотрена структура цеха № 17, управление кадрами, оплата труда работников и технология подачи воды, состоящая из водозаборных сооружений, насосной станции, очистных сооружений. Приведены расчеты по расходу воды и нормы водопотребления населения города, рисунки технологических схем очистных сооружений и техническая характеристика очистных сооружений цеха № 17 ОАО ЧМЗ.
2. ТЕОРИЯ ОЦЕНКИ КАЧЕСТВА УСЛУГ ВОДОСНАБЖЕНИЯ
Качество и эффективность технологических и технических решений в области водоотведения в большой степени зависят от методологической и нормативной базы, а также от степени финансирования водоохранных мероприятий. В настоящее время существует дисбаланс в этих сферах, который мешает эффективному развитию водоотведения.
Наиболее существенные недостатки в этой области следующие:
- отсутствуют теоретические основы соответствия объема финансирования водоохранных мероприятий нормативным требованиям к качеству сбрасываемой в водный объект сточной воды;
- устарела существующая структура проектирования объектов водоотведения;
- существующие методики распределения финансовых средств на водоохранные мероприятия между водопользователями недостаточно учитывают условия рыночной экономики;
- существующие методики технико-экономического расчета систем водоотведения недостаточно учитывают ущерб, наносимый при этом водным объектам;
- отсутствует методика проектирования бытовых сетей водоотведения с учетом изменения расхода сточных вод,
- требуют совершенствования методологические принципы определения необходимой степени водооборота и выбора рационального приемника сточных вод для предприятий железнодорожного транспорта;
- отсутствует возможность дифференцирования предельно допустимых концентраций загрязняющих веществ для сточных вод, сбрасываемых в слабоминерализованные водные объекты.
Отсутствие в России сформировавшихся рыночных отношений в области водоотведения и охраны водных ресурсов ведет к неоправданно высоким нормам и низким тарифам на водопотребление и водоотведение
В СНиП 2.04.02-84 и СНиП 2.04.03-85 предусмотрено даже увеличение удельного водопотребления и водоотведения, что экономически нерационально и противоречит мировым тенденциям в этой области.
Следует отметить очень низкие объемы финансирования природоохранных мероприятий в России. Между тем климатические и инфраструктурные условия в России более сложные, чем в большинстве перечисленных стран, поэтому и затраты на природоохранную, в частности на водоохранную деятельность даже при одинаковых требованиях к состоянию окружающей среды должны быть, по крайней мере, не меньше.
Однако предельные нормы концентраций загрязняющих веществ в сточных водах при сбросе их в водные объекты и в системы водоотведения в России в некоторых случаях устанавливаются более жесткие, чем в других странах. Это обстоятельство во многих случаях препятствует притоку иностранных инвестиций, так как выполнение Российского водоохранного законодательства является экономически невыгодным для фирм. [15; С.165]
В результате этого практически все водопользователи становятся заложниками сложившейся ситуации, так как для выполнения требуемых нормативов нет достаточных финансовых средств. В период с 1992 по 2000гг. ситуация с проведением водоохранных мероприятий в Российской Федерации ухудшилась: уменьшались относительные инвестиции в основной капитал, направленные на охрану водных ресурсов, ввод в действие станций для очистки сточных вод, а также ввод в действие систем оборотного водоснабжения.
Реализация рыночных отношений в области водопользования в нашей стране наталкивается на ряд трудностей, основные из которых заключаются в следующем:
1. Отсутствует юридическая база для регулирования таких отношений;
2. Возможности финансирования водоохранных мероприятий, как правило, не позволяют достигать значений предельно допустимых сбросов (ПДС) загрязняющих веществ в требуемое время;
3. Отсутствие обоснованной методики определения допустимых сбросов загрязняющих веществ в городские сети водоотведения в зависимости от предельно допустимых концентраций, (ПДК) загрязняющих веществ, сбрасываемых в водные объекты, часто приводит к парадоксальной ситуации: во многих случаях требования к сточной воде, сбрасываемой водопользователями в городские сети водоотведения, в десятки раз более жесткие, чем к питьевой воде (СанПиН 2.1.4.559-96 и рекомендации Всемирной организацией здравоохранения), или предельно допустимые концентрации загрязняющих веществ в воде водных объектов. Введение региональных нормативов, как правило, позволяет частично уменьшить остроту ситуации, но не снимает всех противоречий нормативных требований и технико-экономических возможностей водопользователей.
Существующая структура проектирования объектов строительства, в том числе объектов водоотведения, обладает рядом существенных недостатков, а именно:
- не учитывается надежность элементов и системы объектов водоотведения в целом;
- степень экологического воздействия объекта определяется по отношению к готовому техническому проекту, а не наоборот;
- не предусматривается перспектива последующей реконструкции и ликвидации объекта [10; С.244].
Все это приводит к нерациональному расходованию финансовых средств и низкой надежности работы объектов водохозяйственного строительства. Принятая в настоящее время методика определения предельно допустимых сбросов загрязняющих веществ в водные объекты по бассейновому принципу может обеспечить значительную экономию финансовых ресурсов в условиях рыночной экономики при создании необходимой юридической базы и достаточного финансирования водоохранных мероприятий при условии рационального распределения финансовых ресурсов между водопользователями. «При выборе рационального варианта проектирования или реконструкции системы водоотведения населенного пункта необходимо рассматривать в совокупности экономические и экологические характеристики системы водоотведения и водного объекта. Особый интерес при этом представляет полураздельная система водоотведения, которую можно рассматривать как общий случай всех систем водоотведения» [4; C.15].
Полураздельная система водоотведения обоснованно считается самой лучшей с санитарно-гигиенической точки зрения. Внедрение этой системы водоотведения до последнего времени сдерживалось недостаточно правильной экономической оценкой: ее необоснованно считали слишком дорогостоящей.
Необходимость разработки методики проектирования бытовой сети водоотведения с учетом изменения расхода сточных вод обосновывается тем, что основной объем инвестиций и эксплуатационных затрат в системах водоотведения - затраты на строительство и эксплуатацию сетей водоотведения. Известно, что безотказность работы трубопроводов районной сети водоотведения колеблется в очень широком диапазоне (Кармазинов ФВ., Тазетдинов Г.М., Ильин Ю.А., Игнатчик В.С., Игнатчик С.Ю), а это экономически чрезвычайно нерационально, так как безотказность работы сети определяется в основном безотказностью работы наименее надежного объекта сети.
При обслуживании сооружений систем водоотведения, особенно трубопроводов, велики эксплуатационные затраты, значительная часть которых (около 80%) - расходы на прочистку труб, причем эта работа, как правило, связана с большим объемом ручного труда, трудно, поддающегося механизации. В связи с этим наряду с механизацией подобной работы необходимо путем совершенствования проектирования водоотводящих сетей добиваться уменьшения вероятности образования засорений и улучшения условий самоочищения трубопроводов систем водоотведения. В процессе эксплуатации бытовых сетей водоотведения расход сточных вод непрерывно меняется. Между тем расчет сетей водоотведения по существующей методике производится по расчетному расходу сточных вод, который принимается постоянным. В этом случае при любом отклонении фактического расхода от расчетного нарушаются требования СНиП 2.04.03-85 по скорости V > Кнез для транспортирования взвешенных веществ или наполнению h'd < (h/d)max. Иначе говоря, если запроектировать сеть водоотведения по существующей методике, она никогда в течение всего периода эксплуатации не будет работать в соответствии с требованиями СНиП по скорости и наполнению одновременно [7; C.126].
В связи с этим имеется необходимость разработки и применения новых методологических принципов проектирования самотечных бытовых сетей водоотведения с учетом изменения расходов сточных вод, позволяющих обеспечивать требования СНиП в течение расчетного времени их эксплуатации. Необходимая степень водооборота на промышленном предприятии и, соответственно, требуемая степень очистки сточных вод на местных очистных сооружениях взаимосвязаны и определяются минимумом затрат на реализацию всего комплекса мероприятий с учетом стоимости потребления свежей воды и отведения сточных вод, а также требованиями, предъявляемыми к качеству очищенных стоков, используемых в системе оборотного водоснабжения.
При сбросе стоков в городскую сеть водоотведения или в водный объект необходимо также учитывать требования, установленные местными органами Водоканала, или предельно допустимые концентрации загрязняющих веществ в воде водных объектов.
Для водопользователя необходимая степень водооборота и выбор рационального приемника сточных вод должны определяться соответствующими технико-экономическими расчетами. Методологические принципы такого расчета требуют совершенствования.
Несмотря на то, что вопросами разработки научных основ совершенствования нормативной и методологической базы в области водоотведения занимались многие исследователи, проблема ее несоответствия современным условиям не только не уменьшилась, а обострилась. Произошло это в основном потому, что за последние 10-15 лет нормативные и методологические документы создавались без достаточного научного обоснования; водоохранные требования, как правило, ужесточались без подтверждения необходимым финансированием. При этом общее финансирование водоохранных мероприятий за указанный период постоянно снижалось.
Системы водоснабжения — это комплекс взаимосвязанных инженерных сооружений, обеспечивающих прием воды из природного источника (водозаборные сооружения), транспортировку ее (водоводы), доведение до требуемых кондиций (очистные сооружения), подачу (насосные станции) и распределение по объекту (магистральные и распределительные сети), а также бесперебойный отбор требуемого количества воды с заданным напором в нужном режиме.
Системы водоснабжения различают:
· по видам объектов водоснабжения — системы водоснабжения городов;
· системы водоснабжения поселков и сельских населенных пунктов;
· системы водоснабжения производственных (включая сельскохозяйственные) объектов.
По охвату снабжаемых объектов — системы водоснабжения групповые (районные), охватывающие группу объектов; системы водоснабжения одного объекта.
Режим водопотребления предприятиямискладывается из режимов потребления соответствующих групп потребителей. Режим расходования воды на технологические нужды зависит от технологии производства и, как правило, задается технологами. Режим потребления воды на хозяйственно-питьевые нужды работающих определяют посменно.
В соответствии со СНиП 2.04.02—84 выбор системы водоснабжения и ее схемы следует производить на основании сопоставления возможных вариантов ее осуществления с учетом требуемых расходов воды на различных этапах их развития, источников водоснабжения, требований к напорам, качеству воды и обеспеченности ее подачи. Сравнение вариантов должно выполняться по приведенным затратам, руб.:
П = ЕнК + С,
где Ен = 0,12...0,15 — отраслевой нормативный коэффициент эффективности капитальных вложений; К — капитальные вложения, руб.; С — годовые эксплуатационные затраты, руб.
Сравниваемые варианты систем водоснабжения должны удовлетворять минимальным требованиям потребителей. Разница в производственном эффекте должна учитываться в приведенных затратах. В приведенные затраты могут не включаться затраты по элементам и сооружениям, одинаковым в сравниваемых вариантах. Выбирают вариант, имеющий минимальные значения приведенных затрат.
Существуют различные методы описания процессов водопотребления в течение суток. В современной практике проектирования данные о режиме водопотребления представляют в табличной, интегральной, аналитической или графической форме. Во всех случаях для этого используют коэффициенты часовой неравномерности водопотребления: максимальный, по сути своей являющийся отношением максимального часового расхода воды к среднему часовому в сутки максимального водопотребления,
Системы водоснабжения по степени обеспеченности подачи воды подразделяют на три категории (СНиП 2.04.02—84):
1. Допускается снижение подачи воды на хозяйственно-питьевые нужды не более 30 % расчетного расхода и на производственные нужды — до предела, устанавливаемого аварийным графиком работы предприятий; длительность снижения подачи не должна превышать 3 суток. Перерыв в подаче воды или подача ниже указанного предела допускается на время выключения поврежденных и включения резервных элементов системы (оборудования, арматуры, сооружений, трубопроводов и т. д.), но не более чем на 10 мин;
2. Величина допускаемого снижения подачи воды та же, что и I категории; длительность снижения подачи не должна превышать 10 суток. Перерыв в подаче воды или подача ниже указанного предела допускается на время выключения поврежденных и включения резервных элементов или проведения ремонта, но не более чем на 6 ч;
3. Величина допускаемого снижения подачи воды та же, что и при I категории; длительность снижения подачи не должна превышать 15 суток. Перерыв в подаче воды или подача ниже указанного предела допускается на время проведения ремонта, ноне более чем на 24 ч.
Объединенные хозяйственно-питьевые и производственные водопроводы населенных пунктов при числе жителей в них более 50 тыс. человек следует относить к I категории; от 5 до 50 тыс. человек — ко II категории; менее 5 тыс. человек — к III категории.
Элементы систем водоснабжения II категории, повреждения которых могут нарушить подачу воды на пожаротушение, должны относиться к I категории.
При расчете систем водоснабжения необходимо учитывать не только изменения расходования воды потребителями по дням в течение года, но и изменения, происходящие в отдельные периоды суток.
Водопотребление жителями населенных пунктов является не случайным процессом изменения расходов воды во времени, причем особенностью этого водопотребления является то, что не сама система водоснабжения удовлетворяет случайный спрос потребителей на воду, а потребители сами через эту систему удовлетворяют (или пытаются удовлетворить) свою потребность в воде. Оперативно и с требуемой степенью точности прогнозировать случайный процесс водопотребления в течение суток в настоящее время не представляется возможным. Поэтому распределение расходов воды по часам суток производится на основании расчетных графиков водопотребления, которые могут быть получены путем изучения и анализа действительных графиков водопотребления населенных пунктов. Для вновь проектируемых систем используют аналоги графиков водопотребления тех городов, которые в наибольшей мере близки (по численности населения, санитарно-техническому благоустройству зданий, климатическим условиям, социальной инфраструктуре и другим факторам) проектируемому населенному пункту. Для наиболее точного отображения реального режима водопотребления желательно иметь, возможно, большее число графиков водопотребления аналогичных объектов за возможно более длительные сроки. Каждый из графиков, зарегистрированный в ходе наблюдений, является лишь одной из возможных реализаций случайного процесса.
Процесс водопотребления в течение часа также является неравномерным. Однако на практике установлено, что изменение водопотребления в течение часа, как правило, не оказывает заметного влияния на обеспечение водой потребителей. Это позволяет при проведении инженерных расчетов перейти от фактических непрерывных случайных графиков водопотребления к расчетным ступенчатым.
Таким образом, несмотря на то, что вопросами разработки научных основ совершенствования нормативной и методологической базы в области водоотведения занимались многие исследователи, проблема ее несоответствия современным условиям не только не уменьшилась, а обострилась. Общее финансирование водоохранных мероприятий постоянно снижалось. Поэтому и методы очистки воды проводятся некачественно. При очистке речной воды для хозяйственно-питьевых нужд наиболее широко применяют осветление, обесцвечивание и обеззараживание воды (дезинфекция).
Более глубоко и более эффективно осветление воды происходит при коагулировании и пропуске через «взвешенный слой» хлопьев, ранее отделенных от воды в осветлителях. Коагулирование с последующим отстаиванием и фильтрованием, а затем хлорированием воды применяют в цехе № 17 ОАО ЧМЗ.
3. ТЕХНИКО-ЭКОНОМИЧЕСКОЕ ОБОСНОВАНИЕ МЕРОПРИЯТИЙ ПО ПОВЫШЕНИЮ КАЧЕСТВА УСЛУГ ВОДОСНАБЖЕНИЯ
3.1. Технологическая система приготовления питьевой воды в цехе № 17
Метод обработки речной воды принят на основании заключения ВНИИ ВОДГЕО (1973 г.). Обработка мутной речной воды производится по следующей схеме: предварительное хлорирование, коагулирование, отстаивание, фильтрование, обеззараживание.
Забор воды осуществляется центробежными насосами (4 ед.). Поступающая вода проходит через решетки, на которых задерживаются ил, ветки и мусор, плавающие в реке. Очистка решеток производится обратным током воды, попавший мусор уносится течением реки и в отход не поступает.
Предварительное хлорирование воды производится газообразным хлором.
В качестве коагулянтов при очистке воды используются сульфат алюминия, гидроксохлорид алюминия, которые поступают в полиэтиленовых мешках. Освободившиеся мешки поступают в отход. Приготовление раствора коагулянта производится в специальных баках. На дне баков образуется осадок нерастворимых примесей, он удаляется гидросмывом, направляется в промышленную канализацию.
Коагуляционная очистка воды производится в смесителе, где происходит смешение раствора коагулянта с водой диспергированным воздухом, время контакта коагулянта с водой - 1 минута. Коагуляция и осаждение крупнодисперсных взвешенных частиц производится в горизонтальных отстойниках (6 ед.) со встроенными камерами хлопьеобразования. Время пребывания воды в отстойниках 1 час. Осадок из отстойников удаляется гидросмывом и направляется в промышленную канализацию и далее в шламонакопитель предприятия.
Далее производится осветление воды путем пропускания ее через контактные осветлители (10 ед.). Контактные осветлители представляют собой фильтры с загрузкой из кварцевой крупки, высота фильтрующего слоя составляет 2.5 м, скорость фильтрации составляет 2.4 м/час. В период действия проекта не планируется замена загрузки из кварцевой крупки. Для восполнения безвозвратных потерь загрузки при взрыхлении и промывке контактных осветлителей производится досыпка кварцевой крупки в осветлители. Воды от взрыхления и промывки контактных осветлителей отводятся в промышленную канализацию и далее в шламонакопитель предприятия.
Удаляемые гидросмывом осадки из баков хранения растворов реагентов, отстойников, воды после взрыхления и промывки контактных осветлителей, направляемые в промышленную канализацию, затем поступают в шламонакопитель объединенной системы водозабора предприятия, где оседают на дно и накапливаются. Данные осадки объединены и рассматриваются в проекте как шлам подготовки воды питьевого качества с применением коагулянтов. Шламонакопитель объединенной системы водозабора предприятия является собственным объектом размещения для указанного выше шлама.
Шламонакопитель построен по проекту Минского отделения "Союзводоканалпроекта", разработанному в 1980, введен в эксплуатацию в 1991 году. Шламонакопитель занимает площадь 3.5 г., Вместимость шламонакопителя 172 тыс. мЗ.
Очищенная вода накапливается в резервуарах чистой воды (2 резервуара по 6000 м3) и используется для хозяйственно-питьевых нужд. Периодически производится чистка резервуаров путем обмыва стенок, осадок от чистки резервуаров поступает в отход и учитывается совместно с отходами водоподготовки как шлам подготовки воды питьевого качества с применением коагулянтов.
Для производства пара и горячей воды на площадке водозабора имеется котельная. В котельной установлены четыре паровых котла.В качестве топлива применяется топочный мазут марки М-100, который доставляется в котельную автоцистернами.
Мазут из цистерн перекачивается в резервуары хранения мазута. Для хранения мазута в цехе имеются 2 горизонтальных цилиндрических резервуара емкостью по 25 м3 каждый. Мазутные резервуары зачищают, нефтешлам при зачистке резервуаров поступает в отход. При разгрузке и подаче мазута возможны случайные проливы, которые ликвидируются песком, в отход поступает грунт, содержащий нефтепродукты. При сжигании мазута в топках котлов происходит осаждение золы в газоходах и на наружных поверхностях нагрева котлоагрегатов. Зачистка газоходов и наружных поверхностей нагрева производится механическим способом. Зола от сжигания мазута поступает в отход.
Для умягчения подаваемой в котлоагрегаты воды проводится ее катионирование. В котельной установлены Макатионитовые фильтры первой и второй очереди (4 ед.) с загрузкой катионитом КУ-2. Регенерация Ма - катионитовых фильтров осуществляется раствором поваренной соли. Воды после регенерации фильтров и воды от взрыхления и промывки загрузки фильтров направляются в промышленную канализацию, затем в шламонакопитель.
Удаляемые гидросмывом осадки из баков хранения растворов реагентов, воды после взрыхления и промывки механических и ионообменных фильтров направляются в шламонакопитель объединенной системы водозабора, где оседают на дно и накапливаются. Данные осадки учитываются в составе отхода шлам подготовки воды питьевого качества с применением коагулянтов.
Цех №17 обслуживает систему оборотного промышленного водоснабжения предприятия. Транспортировка оборотной воды производится центробежными насосами (14 ед.). Нагретая оборотная вода от потребителей поступает в камеру нагретой воды, затем на охлаждение на вентиляторные градирни. В градирнях имеется распределительная система, они загружены полиэтиленовыми оросителями, при прохождении через которые происходит охлаждение воды. После градирен оборотная вода поступает в камеру охлажденной воды (1 ед.), откуда насосами подается на производство. Охлажденная оборотная вода подается насосами потребителям.
Цех №17 обслуживает очистные сооружения хозяйственно-бытовых стоков. Канализационные очистные сооружения расположены в северо-западной части города, примыкают к территории основной промплощадки ОАО "ЧМЗ" и являются общегородскими очистными сооружениями, собирающими и очищающими бытовые стоки от всего города (73% поступающих стоков) и завода (27% стоков). На очистных сооружениях производится механическая, биологическая очистка хозбытовых стоков с доочисткой сточных вод на фильтрах. Обеззараживание очищенных стоков осуществляется на установках ультрафиолетового обеззараживания. Очищенные стоки сбрасываются в реку Чепца.
Сточные воды после песколовок направляются в первичные отстойники (первой очереди - 3 ед., второй очереди - 2 ед.) для дальнейшего освобождения от взвешенных веществ. Очищенные от механических примесей стоки поступают в аэротенки (6 ед.) для биологической очистки.
В аэротенках сточные воды продуваются воздухом в присутствии активного ила. Очистка воды осуществляется за счет окисления содержащихся в ней органических веществ микроорганизмами. При этом количество активного ила увеличивается из-за прироста биомассы и извлечения из воды органических загрязнений. Образовавшаяся смесь воды и ила направляется на вторичные отстойники, где активный ил отделяется от очищенной воды (первой очереди - 5 ед., второй очереди - 2 ед., третьей очереди - 4 ед.).
Из вторичных отстойников стоки направляются в резервуар, откуда насосами подаются на сооружения доочистки. Сооружения доочистки представляют собой фильтры (10 ед.) с загрузкой из керамзитового песка, объем каждого фильтра составляет 517 м3, объем загрузки - 66.3 м3. Ежегодно производится досыпка фильтрующей загрузки, замена загрузки в период действия проекта не планируется. Осветленная вода после фильтров поступает на обеззараживание на установки ультрафиолетового обеззараживание (4 ед.).
Очищенные и обеззараженные сточные воды направляется на водослив-аэратор и сбрасывается в реку Чепца.
3.2. Обоснование мероприятий по улучшению качества воды в цехе № 17
Для экономической оценки проекта по улучшению качества водоснабжения определяют себестоимость воды на основании стоимости строительства системы водоснабжения объекта и стоимости ее эксплуатации. Все затраты предприятия водоснабжения в денежной форме, прямо или косвенно связанные с выпуском продукции, составляют ее себестоимость, которая определяется по формуле:
где С — суммарные годовые эксплуатационные расходы, руб /год; 3 — среднее годовое количество воды, подаваемой потребителям, м3/год.
Определение себестоимости воды в процессе эксплуатации систем водоснабжения позволяет установить размер тарифа оплаты отпускаемой потребителям воды. Годовые эксплуатационные затраты (С, руб/год) по системам водоснабжения определяют по формуле
С = Рк + В + Ят 4- Э + X + 3 + У = Вд + Пр ,
где Рк и Ят — затраты на капитальный и текущий ремонт; В — отчисления на полное восстановление (реновацию), т.е. накопление.
Расходы на реагенты для обработки воды складываются из отпускной цены реагентов по прейскуранту на химическую продукцию (Прейскурант № 05-01, введенный в действие с 1 июля 1967 г.) и начислений транспортных и заготовительно-складских расходов. Все остальные расходы по доставке реагентов определяются па основе Ценника №3 Госстроя СССР. Затраты на реагенты находят по формуле, где 1-оц — среднегодовая полезная производительность станции 254 м3/год; Д — среднегодовая доза реагента, кг/м3; Сх-1 т реагента, руб.
При отсутствии точных данных среднюю дозу реагента определяют по формуле
Дер = /т Др,
где т — коэффициент, учитывающий качество исходной воды и равный 0,5—0,7; Др — рабочая доза реагента.
При определении стоимости реагентов необходимо учитывать затраты на оборот тары для хлора, аммиака, сернистого газа, хлорного железа и т. п.
При определении стоимости воды, расходуемой на собственные нужды станции, ее объем следует принимать до 8% полезной производительности станции, а при наличии оборота промывных вод до 3%. Капитальные вложения на строительство сооружений оборота промывных вод составляют 192 руб. на 1000 м3/сут.
В настоящее время существует единая методика сравнительной оценки эффективности различных технических решений, которая основывается на сопоставлении суммы капитальных вложений и эксплуатационных затрат в течение нормативного срока окупаемости дополнительных капитальных вложений, т. е по приведенным затратам. При экономическом обосновании различных процессов строительства следует выбирать такой вариант, при котором обеспечивается сочетание наименьших капитальных (единовременных) вложений и эксплуатационных (текущих) затрат, т. е. минимум приведенных затрат. В отношении метода сравнительной оценки эффективности необходимо отметить основные требования к сравниваемым параметрам:
· данные должны быть массовыми и их достоверность должна быть бесспорна;
· исходные данные должны быть сопоставимыми, т. е. при их отборе следует учитывать фактор времени, так как стоимостные показатели в результате прогресса в технологии и технике непрерывно изменяются:
Попт = (Е К - С); Попт - (К + Тн С),
где Попт — оптимальные приведенные затраты (минимум), тыс. руб/год; Е — нормативный коэффициент эффективности, равный 0,12; Тн — • нормативный срок окупаемости, принимаемый равным 8,3 года.
При выборе вариантов можно не только использовать метод приведенных затрат, но и выявлять экономически более эффективный вариант исходя из срока окупаемости дополнительных капитальных вложений. Если полученный срок меньше нормативного срока окупаемости, то вариант с наибольшими капитальными вложениями является более целесообразным, т.е. где Т — время, в течение которого дополнительные капитальные вложения (К1— К2) окупаются за счет экономии эксплуатационных затрат (С2— С).
Критерием для сравнения может служить коэффициент экономической эффективности Е, определяющий минимально необходимое отношение экономии эксплуатационных затрат (С2 — С;) к дополнительным капитальным вложениям (К1 — К2).
Если полученный при сравнении двух вариантов коэффициент сравнительной эффективности выше нормативного коэффициента, то оптимальным будет вариант с более низкими эксплуатационными затратами; если ниже нормативного, то следует принимать вариант с меньшими капитальными вложениями. Дополнительный эффект при учете фактора времени дают меньшая стоимость обработки воды, а также отказ от омертвления дефицитного оборудования (насосов, труб, фильтров и пр.) и уменьшение эксплуатационных затрат.
Существующая схема приготовления питьевой воды на объединенном водозаборе (ОВЗ) цеха № 17 предусматривает обеззараживание питьевой воды хлорной водой, получаемой из жидкого хлора в хлораторной ОВЗ.
К основным недостаткам существующей технологии обеззараживания можно отнести:
· возможность образования хлорорганических соединений в процессе обеззараживания в концентрациях, превышающих ПДК;
· время бактерицидного действия остаточных концентраций хлора в питьевой воде меньше необходимого для обеспечения ее микробиологической безопасности при хранении и транспортировании;
· низкие скорости движения воды в распределительных сетях и длительное хранение в резервуарах в сочетании с недостаточной длительностью бактерицидного действия хлора приводят к биообрастанию транспортных коммуникаций и, как следствие, к повторному загрязнению воды продуктами жизнедеятельности микроорганизмов (повышение содержания железа, цветности, ухудшение запаха и привкуса воды);
· ухудшение коагулируемости воды;
· наличие хлорного запаха и привкуса обработанной хлором воды.
Следует учесть также, что со времени пуска в эксплуатацию хлораторной значительно изменилась законодательная база, определяющая требования к технологии и оборудованию, связанному с потреблением жидкого хлора, и возникла необходимость реконструкции хлораторной по приведению ее в соответствие с требованиями действующих нормативных документов, что требует значительных капитальных вложений.
Эксплуатация хлораторной, как опасного производственного объекта, к которым, в соответствии с Федеральным законом «О промышленной безопасности опасных производственных объектов» №116-ФЗ она отнесена, связана с дополнительными требованиями, ответственностью и затратами.
Внедрение технологии обеззараживания воды диоксидом хлора позволит произвести полную замену хлора на диоксид хлора с дозами, подобранными в ходе исследований. Диоксид хлора обладает высокой окислительной способностью, которая по своему дезинфицирующему воздействию в 4 раза превосходит воздействие хлора, но практически не имеет подобных ему негативных последствий по причине особого механизма химического воздействия на загрязняющие вещества и микроорганизмы. Диоксид хлора выступает скорее как окислитель, чем как хлорирующий реагент.
Диоксид хлора имеет следующие преимущества по сравнению с хлором:
· не образуются токсичные тригалогенметаны (ТГМ);
· практически не образуются неудаляемые органические галогены (НОГ);
· не образуются хлорфенолы;
· не происходит реакция диоксида хлора с NH 4+ и с другими соединениями азота;
· сильное дезинфицирующее действие, практически не зависящее от значений рН воды;
· сильное действие на споры, вирусы и водоросли;
· отсутствие хлорного привкуса и запаха в обработанной воде;
· окисление органических соединений марганца и железа;
· улучшение флокуляции необработанной сырой воды;
· независимость окислительно-восстановительного потенциала (ОВП) от рН и присутствия аммиака и прочих соединений азота в воде;
· умягчение воды;
· длительно сохраняющийся бактерицидный эффект (до 7 суток) в водораспределительных системах и удаление микробиологических отложений в системе распределения воды.
Последнее свойство диоксида хлора является одним из самых привлекательных для целей резкого повышения качества питьевой воды, поступающей потребителям. Обладая длительным бактерицидным эффектом, диоксид хлора предотвращает вторичное загрязнение воды в сетях. Диоксид хлора, уничтожая бактерии по всей протяженности распределительной водопроводной сети, очищает трубопровод без дополнительных капитальных затрат.
Установка по получению и дозированию диоксида хлора представляет собой компактно выполненную конструкцию, в состав которой входят системы забора и подачи в реактор участвующих в реакции реагентов и разбавляющей воды. Подача исходных компонентов производится с установки СDКа. Реактор установки изолирован в замкнутом корпусе. Установка оборудована многофункциональным блоком управления и контроля, снабженным дисплеем с индикацией операций. Установка безопасна в эксплуатации, это объясняется тем, что получение диоксида хлора (на выходе из реактора) производится в виде водного раствора концентрацией до 20 г/л. Концентрация рабочего раствора диоксида хлора предусматривается на безопасном уровне - содержанием СLО2 до 4.0 г/л.
Применение технологии обеззараживания воды диоксидом хлора позволит:
· снизить концентрацию хлорорганических соединений в обработанной воде до значений не превышающих ПДК;
· улучшить коагулируемость воды;
· поддерживать сооружения обработки воды и трубопроводы в удовлетворительном санитарном состоянии;
· обеспечить долгосохраняющийся бактерицидный эффект в воде, выходящей со станции;
· избавиться от привкуса и запаха хлора в питьевой воде;
· вывести сооружения обеззараживания воды из категории «опасный производственный объект» из под контроля Ростехнадзора;
· снизить затраты на реализацию данного мероприятия по сравнению с реконструкцией хлораторной.
Принципиальная схема обработки воды предусматривает полную замену хлора в технологической цепочке обработки воды на диоксид хлора с дозами, подобранными в ходе исследований. Для перевода образовавшихся в процессе обработки воды хлорит-ионов снова в диоксид хлора предусматривается введение в воду гипохлорит-иона (хлорной извести) пред вторичной обработкой воды диоксидом хлора. Повышенные значения рН воды создают благоприятные условия для использования диоксида хлора, так как в нейтральной и слабощелочной среде и в присутствии гипохлорит-ионов хлориты, образовавшиеся в процессе обработки воды диоксидом хлора, способна снова образовать диоксид хлора, существенно повышая эффективность его использования (Приложение 5).
Расчет годового экономического эффекта от внедрения мероприятия по новой технике.
«Внедрение обеззараживания питьевой воды диоксидом хлора на водоочистных сооружениях ОАО ЧМЗ»
1. Наименование объекта, на котором внедрено мероприятие: цех № 17
2. Дата внедрения: 2006 год
3. Основные показатели для расчета
Таблица 4.
№ пп |
Наименование показателей | Ед. изм. | До внедрения (обеззаражи-вание воды хлором) | После внедрения (обеззараживание воды диоксидом хлора) |
| 1 | Производительность водоочистительных сооружений | м3/сут | 33000 | 33000 |
| 2 | Количество материалов, в т.ч. | |||
| 2.1 | Расход жидкого хлора | т/год | 96,3 | |
| 2.2 | Стоимость 1 т жидкого хлора | тыс.руб. | 17,22 | |
| 2.3 | Стоимость жидкого хлора | тыс.руб./год | 1658,29 | |
| 2.4 | Расход активированного угля | т/год | 60,0 | |
| 2.5 | Стоимость 1 т активирован угля | тыс.руб. | 44,38 | |
| 2.6 | Стоимость активированного угля | тыс.руб./год | 2662,80 | |
| 2.7 | Расход ГХА | т/год | 20,0 | |
| 2.8 | Стоимость 1 т ГХА | тыс.руб. | 51,86 | |
| 2.9 | Стоимость ГХА | тыс.руб./год | 1037,20 | |
| 2.10 | Расход хлорита натрия | т/год | 70,0 | |
| 2.11 | Стоимость 1 т хлорита натрия | тыс.руб | 52,00 | |
| 2.12 | Стоимость хлорита натрия | тыс.руб./год | 3640,00 | |
| 2.13 | Расход соляной кислоты | т/год | 66,0 | |
| 2.14 | Стоимость 1 т соляной кислоты | тыс.руб | 2,68 | |
| 2.15 | Стоимость соляной кислоты | тыс.руб./год | 176,88 | |
| 3 | Количество электроэнергии потребляемой за год. | Квт/ч/год | 6095171 | 5939391 |
| 3.1 | Стоимость 1 квт электроэнергии | Руб. | 1,05 | 1,05 |
| 3.2 | Стоимость электроэнергии | Тыс.руб./год | 6399,93 | 6236,36 |
| 4 | Амортизационные отчисления | Тыс.руб./год | 5212,61 | 5202,70 |
| 5 | Страхование опасных объектов | Тыс.руб./год | 60,8 | |
| 6 | Общие затраты на выпуск продукции | Тыс.руб./год | 17031,63 | 15255,94 |
| 7 | Капитальные затраты на внедрение | Тыс.руб. | 12949,58 | 11063,00 |
4. Число относительно высвобожденных работников, чел. в расчете на год: нет
5. Затраты на внедрение:
11063,00 - 12949,58 = - 1886,58 тыс.руб.
6. Годовой экономический эффект от внедрения мероприятия,
Эгод = (17031,63- 15225,94)+ 1886,58*0,2 =2183,00 тыс. руб.
После введения обеззараживания воды диоксидом хлора уменьшилась стоимость электроэнергии на 163,57 руб.; амортизационные отчисления уменьшились на 9,9 руб.; общие затраты на выпуск продукции уменьшились на 1 775,69 руб.; капитальные затраты на внедрение уменьшились на 1 886,58 руб. Итак, годовой экономический эффект от внедрения принципиальной установки по приготовлению и дозированию диоксида хлора составил 2183, 00 тыс. руб. в год.
Таким образом, для повышения качества услуг водоснабжения в цехе № 17 ОАО ЧМЗ экономически эффективно произошла замена хлора на диоксид хлора при обработке питьевой воды.
ЗАКЛЮЧЕНИЕ
В дипломной работе была поставлена цель: дать технико-экономическое обоснование качества услуг водоснабжения цеха № 17 ОАО ЧМЗ.
В дипломной работе были решены следующие задачи:
· рассмотрена структура цеха № 17, характеристика персонала, организация заработной платы, технология и организация производства;
· рассмотрена теория оценки качества и пути повышения услуг водоснабжения;
· дано технико-экономическое обоснование мероприятий по повышению качества услуг водоснабжения цеха № 17 ОАО ЧМЗ.
В дипломной работе решена проблема теоретического обоснования и методологической реализации комплекса вопросов, касающихся совершенствования нормативной базы в области водоснабжения с целью повышения экологической безопасности населенных мест, а также надежности работы и экономичности объектов водоснабжения. Существующие в настоящее, время нормативные требования к качеству питьевой воды часто не соответствуют санитарно-гигиеническим требованиям, не соответствуют финансовым возможностям водопользователей для реализации водоохранных мероприятий. В работе был предложен технико-экономический расчет экономически эффективной принципиальной системы приготовления и дозирования диоксида хлора вместо хлора. Применение технологии обеззараживания воды диоксидом хлора позволило:
· снизить концентрацию хлорорганических соединений в обработанной воде до значений не превышающих ПДК;
· улучшить коагулируемость воды;
· поддерживать сооружения обработки воды и трубопроводы в удовлетворительном санитарном состоянии;
· обеспечить долгосохраняющийся бактерицидный эффект в воде, выходящей со станции;
· избавиться от привкуса и запаха хлора в питьевой воде;
· вывести сооружения обеззараживания воды из категории «опасный производственный объект» из под контроля Ростехнадзора;
· снизить затраты на реализацию данного мероприятия по сравнению с реконструкцией хлораторной;
· улучшить качества воды по основным показателям в 2-4 раза;
· отказ от использования опасных химических реагентов уменьшил опасность для здоровья населения;
· годовой экономический эффект от внедрения принципиальной установки приготовления и дозирования диоксида хлора составил 2183,00 тыс. руб.
Как и у любого предприятия у цеха № 17 ОАО ЧМЗ есть перспективы на будущее – это переведение на автоматическое управление всех систем водоснабжения и очистки питьевой и хозяйственной воды на единую диспетчерскую станцию.
СПИСОК ИСПОЛЬЗОВАННОЙ ЛИТЕРАТУРЫ
1. ГОСТ 21.601 – 79. Система проектной документации для строительства. Водопровод и канализация. Рабочие чертежи.
2. Гудков А.Г. Водоотводящие системы и сооружения. Часть III. Сооружения на сетях: Методические указания к курсовому проектированию. – Вологда ВоГТУ, 2001. – 40с.
3. Дикаревский B.C. Справочник по инженерному оборудованию жилых и общественных зданий /Дикаревский B.C., Якубчик П.П., Черников H.А., Продоус О.А.; под ред. В.С.Дикаревского. - Киев, Будивэльнык, 1989. 36Oc.
4. Дикаревский B.C., Черников H.А. Технико-экономический расчет основных параметров полураздельной системы канализации: Методические указания для студентов специальности "Водоснабжение и канализация". -Л., ЛИИЖТ, 1985. - 24 с.
5. Илясов Г.И. Водоснабжение и водоотведение: учебное пособие. - Саратов, 1994. - 234 с.
6. Лукиных А.А. Таблицы для гидравлического расчета канализационных сетей и дюкеров по формуле академика Н.Н. Павловского / Лукиных А.А., Лукиных А.Н. - Изд. 4-е, доп. – М.: Стройиздат, 1974. – 156с.
7. Методические указания по проектированию очистных сооружений и оборотных систем водоиспользования для предприятий железнодорожного транспорта. /Караваев И.И., Резник Н.Ф., Гусев Б.Т. и др. - M.: MПC, ВНИИЖТ, 1982. -131с.
8. Методические рекомендации по оценке эффективности инвестиционных проектов. Официальное издание.- М.: Экономика, 2000. - 421 с.
9. Николадзе Г.И. Коммунальное водоснабжение и канализация.- М: Стройиздат, 1983. – 245 с.
10. СНиП 2.04.03 – 85. Канализация. Наружные сети и сооружения/ Госстрой СССР. – М.: ЦИТП Госстроя СССР, 1986. – 72с.
11. Справочник проектировщика. Канализация населенных мест и промышленных предприятий /Под ред. В. Н. Самохина.— М.: Стройиздат, 1981.— 639 с.
12. Турк В.И. Насосы и насосные станции: Учебник для вузов / Турк В.И., Минаев А.В., Карелин В.Я. - М.: Стройиздат, 1976. – 304с.
13. Узел приготовления и дозирования хлорной извести станции водоподготовки ОАО «ЧМЗ» г. Глазов: Временный технологический регламент.- Екатеринбург, 2006.
14. Черников H.А. Автоматизированное проектирование элементов системы "Водоснабжение и водоотведение" на IBM-ЭВМ. Часть 2. Гидравлический и технико-экономический расчет самотечных сетей водоотведения.- Л., 1984.
15. Черников H.А. Технико-экономический выбор системы канализации с целью охраны водоемов от загрязнения // Материалы всесоюзной научной конференции «Автоматизация проектирования гидроэнергетических и водохозяйственных объектов». - Л : ЛИИ, 1983, - С. 12.
16. Черников Н.А. Основы экологии и охрана окружающей среды: Учебное пособие. - СПб.: ПГУПС, 1997.- 131с.
17. Черников Н.А. Системный подход к решению проблем водоотведения //Материалы СПб, 12-15 ноября 2002 г. - С. 165-166.