| Скачать .docx | Скачать .pdf |
Реферат: Охрана поверхностных и подземных вод
КОНТРОЛЬНАЯ РАБОТА
ПО КУРСУ
"ОХРАНА ПОВЕРХНОСТНЫХ И ПОДЗЕМНЫХ ВОД"
ЗАДАНИЕ
Приложение 1
Происхождение начальной воды и ее назначение после очистки
№ варианта |
Происхождение начальной воды |
Назначение воды после очистки |
5 |
Промышленные сточные воды |
Спуск в биологический пруд |
Приложение 2
Расход и состав исходной воды
Показатели качества воды |
|||||||||
№ |
Расход |
Взвешенные |
Общее |
Окисля- |
Биохи |
Жест |
Коли- |
||
твердые частицы |
содер |
емость |
мичес |
кость |
индекс |
||||
Вари анта |
Q |
рН |
жание |
кая пот- |
общая |
(коли |
|||
анта |
(ВВ), |
солеи |
ребность |
чество |
|||||
м3 /час |
мг/л |
(ОСС), |
(ХПК), |
в кис |
(Жобщ ), |
Бакте |
|||
мг/л |
мг/л |
лороде |
Ммоль/л |
рий |
|||||
грубые |
колло |
(БПКП ), |
в 1л |
||||||
идные |
мг/л |
воды) |
|||||||
нефтепродукты |
|||||||||
5 |
150 |
7,5 |
150 |
100 |
500 |
400 |
250 |
- |
- |
Приложение 3
Состав воды после очистки
№ Вари анта |
Показатели качества воды |
|||||||
рН |
Взвешенные твердые частицы (ВВ), мг/л |
Общее содержание солей (ОСС), мг/л |
Окисля-емость (ХПК), мг/л |
Биохимическая потребность в кислороде (БПКП ), мг/л |
Жесткость общая (Жобщ ), ммоль/л |
Коли-индекс (количество бактерий в 1л воды) |
||
грубые |
коллоидные |
|||||||
5 |
7,5 |
нефтепродукты 25,0 |
500 |
40 |
25 |
- |
- |
|
Приложение 4
Задание на расчет основного аппарата
№ варианта |
Основной аппарат в схеме очистки воды |
Расчетная величина |
5 |
Нефтеуловитель (ловушка) |
Длина отстойной части |
СОДЕРЖАНИЕ
Введение
1. Характеристика фазово-дисперсного состояния примесей
воды.
2. Выбор и обоснование методов очистки воды.
3. Теоретические основы и оптимальные параметры методов
очистки воды.
4. Технологическая схема очистки воды.
5. Расчет основного аппарата.
Литература.
Введение
Быстрый рост промышленного и сельскохозяйственного производства и транспорта в последние десятилетия привел к загрязнению биосферы газообразными, жидкими и твердыми отходами. Загрязнение воздушного и водного бассейнов, ущерб, наносимый животному и растительному миру, нерациональное использование природных ресурсов вызывает серьезную озабоченность у общественности всех стран.
Вода является основной составляющей жизни на нашей планете. Можно несколько недель прожить без еды, но без употребления воды человек умирает через несколько дней. В современной экономической жизни вода имеет важное значение для сельского хозяйства, промышленности, производства электроэнергии, транспорта. Поэтому рациональное использование водных ресурсов нашей планеты, защита их от истощения и загрязнения являются одной из главнейших задач во всех технически развитых странах мира.
Химический состав как природных так и промышленных сточных вод весьма разнообразен. В природных водах наряду с веществами, являющимися продуктами естественных биологических процессов, протекающих в природе, повсеместно присутствуют соединения антропогенного происхождения, часто не только ухудшающие органолептические свойства воды, но и сообщающие ей токсичность. Кроме того, огромное количество химических веществ в виде исходных, промежуточных или конечных продуктов различных производств попадает в естественные водоемы со сточными водами. Главными загрязняющими веществами являются нефтепродукты, биогенные вещества, фенолы, ядохимикаты, соли тяжелых металлов, радионуклиды.
Состав загрязнений зависит от вида производства. Так, в сточных водах производства минеральных и органических солей присутствуют неорганические кислоты, щелочи и соли, в стоках нефтеперерабатывающих заводов -нефтепродукты, масла, смолы, ПАВ и т.д.
Для предотвращения загрязнения водных ресурсов внедряется очистка сточных вод перед их сбросом в водные объекты. Разработаны и используются в промышленности различные методы механической, физико-химической и биологической очистки сточных вод, позволяющие утилизировать ценные примеси и эффективно обезвреживать сточные воды от вредных примесей.
Комплексная очистка сточных вод от примесей осуществляется путем применения технологических схем, включающих несколько методов очистки. Схема очистки сточных вод должна обеспечивать минимальный сброс загрязняющих веществ в водоем, максимальное использование очищенных сточных вод в технологических процессах и системах оборотного водоснабжения, более полное извлечение ценных примесей.
Целью данной контрольной работы является разработка схемы очистки промышленных сточных вод.
1. Характеристика фазово-дисперсного состояния примесей воды.
Согласно условию задания нам необходимо провести очистку промышленных сточных вод для дальнейшего спуска их в биологический пруд. Промышленные сточные воды имеют следующие показатели содержания примесей:
- водородный показатель рН=7,5 не изменяется в процессе очистки;
- взвешенные твердые частицы в виде нефтепродуктов содержатся в количестве: грубые - 150 мг/л, коллоидные - 100 мг/л. В процессе очистки грубые примеси извлекаются полностью, а содержание коллоидных должно быть уменьшено до 25 мг/л;
- общее содержание солей составляет 500 мг/л и не изменяется в процессе очистки;
- показатель химического потребления кислорода (ХПК) должен быть уменьшен в процессе очистки с 400 мг/л до 40 мг/л;
- биохимическое потребление кислорода (БПКп ) необходимо снизить с 250 мг/л до 25 мг/л;
- общая жесткость воды и коли-индекс по условию задания отсутствуют.
Растворенные и эмульгированные нефтепродукты и масла являются одним из наиболее распространенных видов загрязнений промышленных сточных вод. К этому классу загрязнений принадлежат сырая нефть, нерастворимые или малорастворимые в воде жидкие углеводороды нефти, смол, растительных и минеральных масел, животных жиров, легкие и тяжелые топлива (мазут, бензин, газ, газойль), а также их смеси. Нефтепродукты и масла являются характерными для сточных вод металлургических, машиностроительных, нефтехимических предприятий, ТЭС, АЭС и других промышленных объектов с большими объемами сбросов.
Нефтепродукты образуют в воде гетерогенные системы и по своему фазово-дисперсному состоянию могут быть отнесены к I и II группе классификации загрязняющих веществ по Л.А. Кульскому. [З].
I группа веществ представляет собой нерастворимые грубодисперсные примеси с величиной частиц 10-2 -10-4 см, образующие с водой суспензии, эмульсии или пены. Эти примеси обуславливают мутность воды, в некоторых случаях могут придавать ей цветность. Системы, образованные примесями этой группы, кинетически неустойчивы. Нерастворимые вещества удерживаются во взвешенном состоянии динамическими силами потока воды. В состоянии покоя для таких систем характерна седиментация взвешенных частиц. Она может протекать без слипания частиц или с их агрегацией в процессе осаждения.
II группа веществ объединяет гидрофильные и гидрофобные коллоидные примеси, а также высокомолекулярные вещества. Частицы коллоидной степени дисперсности имеют размеры 10-5 -10-6 см. Характерная особенность примесей П группы - их способность образовывать с водой сравнительно устойчивые коллоидно-дисперсные системы с сильно развитой межфазной поверхностью, довольно интенсивным тепловым движением частиц и относительно высокой кинетической устойчивостью. При очистке воды от загрязнений такого рода основной задачей является разрушение коллоидной системы, обеспечение быстрой коагуляции дисперсных примесей и отделение их от дисперссионной среды.
Загрязнение промышленных сточных вод, обуславливающие показатели ХПК и БПК, образуют в воде гомогенные системы и по своему фазово-дисперсному состоянию относятся к Ш группе классификации по Л.А.Кульскому. [З].
III группа веществ включает растворенные в воде газы и органические соединения антропогенного происхождения. К ним относятся фенолы, спирты, альдегиды и другие органические вещества, попадающие в воду со стоками. Они придают воде разнообразные привкусы и запахи, а иногда и окраску. Некоторые вносимые со сточными водами примеси обладают токсичностью. Обычно - это соединения с ковалентной связью. Ионогенные группы, встречающиеся в них, малодиссоциированы. Вследствие незначительной диссоциации, а иногда и полного ее отсутствия, вещества, относящиеся к Ш группе примесей, образуют с водой растворы неэлектролитов.
2. Выбор и обоснование методов очистки воды.
Взвешенные примеси подразделяются на твердые и жидкие и образуют с водой дисперсную систему. В зависимости от размера частиц дисперсные системы делят на три группы: 1) грубодисперсные системы с частицами размером более 0,1 мкм (суспензии и эмульсии); 2) коллоидные системы с частицами размером от 0,1 мкм - 1 нм; 3) истинные растворы, имеющие частицы, размеры которых соответствуют размерам отдельных молекул или ионов. [I].
Для удаления из воды веществ I группы используются главным образом методы, основанные на действии гравитационных сил и сил адгезии. [З]. К ним относятся следующие методы.
Механическое безреагентное разделение: отстаивание для грубодисперсных примесей с концентрацией более 500 мг/л в водозаборных ковшах и отстойниках (степень очистки - 50-70%); фильтрование на медленных фильтрах для взвешенных веществ с концентрацией до 50 мг/л (степень очистки - 95-99%); фильтрование на предварительных фильтрах для взвешенных веществ с концентрацией до 1000 мг/л (степень очистки - 60-80%);
центрифугирование на центрифугах и гидроциклонах для грубо- и тонкодисперсных примесей (степень очистки - 80-90%).
При реагентном методе осветления и обесцвечивания воды проводят специальную обработку химическими веществами - коагулянтами (иногда с добавкой флокулянтов), которые обеспечивают более полное и быстрое осаждение взвешенных частиц, обуславливающих мутность и цветность воды.
Адгезия на гидроокисях алюминия или железа и на высокодисперсных материалах: 1) фильтрование коагулированной взвеси через зернистые загрузки для коагулированной взвеси после сооружения первой ступени с концентрацией не более 10-15 мг/л осуществляется на двухслойных и грубозернистых фильтрах с использованием флокулянтов для интенсификации процесса; 2) фильтрование с использованием явления контактной коагуляции на контактных осветлителях и фильтрах для взвесей с концентрацией до 150 мг/л с применением сернокислого алюминия или хлорного железа, полиакриламида и активной кремниевой кислоты; 3) обработка воды коагулянтами с последующим удалением взвесей осуществляется при помощи комплекса сооружений: установки для приготовления реагентов, смесители, камеры хлопьеобразования, электролизеры и осветлители
Агрегация при помощи флокулянтов включает обработку воды коагулянтами с применением флокулянтов и последующим удалением агрегатов отстаиванием и фильтрованием (без ограничений по концентрации взвешенных веществ).
Флотация безреагентная и с применением реагентов для удаления нефти и масла концентрацией 50-150 г/м3 осуществляется при помощи флотаторов (степень очистки - 95-99%).
Наиболее эффективным и широко распространенным методом для очистки от грубодисперсных взвешенных веществ является метод механического безреагентного разделения. Так как по условию задания производственные сточные воды содержат нефтепродукты с болей высокой концентрацией грубодисперсных частиц чем коллоидных (соответственно 150 мг/л и 100 мг/л), то на первом этапе целесообразно осуществить очистку путем отстаивания в нефтеловушках. Эти очистные установки позволяют удалить 96-98% грубодисперсных примесей. Также этот метод является более дешевым с экономической точки зрения, так как не требует использования реагентов и дополнительных установок для их приготовления.
Для удаления из воды веществ II группы - коллоидных примесей применяют следующие методы.
1) Обработка воды хлором, озоном и другими окислителями при повышенном содержании в воде коллоидных и высокомолекулярных соединений, обуславливающих окисляемость и цветность воды.
2) Адсорбция на гидроокисях алюминия или железа, а также на высокодисперсных глинистых минералах:
- коагуляция в свободном объеме - обработка воды коагулянтами с последующим удалением взвеси при повышенном содержании коллоидных и высокомолекулярных соединении, также обработка воды
высокодисперсными замутнителями и коагулянтами при низкой температуре и малой мутности воды, при высокой загрязненности воды вирусами;
- контактная коагуляция для коллоидных и высокомолекулярных веществ,
обуславливающих цветность воды при малой мутности воды.
3) Агрегация при помощи флокулянтов катионного типа для коллоидных и высокомолекулярных веществ.
Коагуляция является одним из основных методов очистки промышленных сточных вод от тонкодисперсных примесей, эмульгированных и суспендированных частиц нефтепродуктов, а также растворенных примесей. В качестве коагулянтов применяют в основном соли алюминия и железа. В процессе коагуляционной очистки происходит соосаждение части растворенных в воде примесей, поэтому уменьшаются значения ХПК и БПК сточных вод. Содержание нефтепродуктов в очищенной воде составляет не более 10-30 мг/л.
Для удаления из воды примесей III группы, которые обуславливают окисляемость воды, применяются следующие методы. [З].
1) Десорбция газов и летучих органических соединений методом аэрирования, которая позволяет снизить содержание углекислоты и сероводорода.
2) Окисление (хлорирование, озонирование, обработка воды перманганатом калия) позволяет устранить привкусы и запахи при не слишком загрязненных водах.
3) Электролиз - электрообработка воды для удаления кислорода.
4) Адсорбция на активированных углях для устранения неприятных запахов и привкусов естественного происхождения, а также вносимых со сточными водами (степень очистки - 80-95%).
5) Экстракция органическими растворителями для удаления фенолов из производственных сточных вод.
6) Биохимический распад - разложение микроорганизмами: аэробное применяется для удаления загрязнений из сточных вод и анаэробное - для концентрированных стоков (степень очистки - 90-98%).
Биохимический метод применяют для очистки хозяйственно-бытовых и промышленных сточных вод от многих растворенных органических и некоторых неорганических (сероводорода, сульфидов, аммиака, нитритов и др.) веществ. Процесс очистки основан на способности микроорганизмов использовать эти вещества для питания в процессе жизнедеятельности -органические вещества для микроорганизмов являются источником углерода.
Промышленные сточные воды, прошедшие очистку в нефтеловушке и коагуляционной установке, содержат не более 25 мг/л нефтепродуктов, по условию задания не содержат фенолов, не требуют утилизации ценных примесей. Поэтому целесообразно провести очистку сточной от примесей Ш группы при помощи биологического метода в аэротенках. Биологические методы очистки остаются наиболее дешевыми, экологически чистыми и поэтому наиболее распространенными.
3. Теоретические основы и оптимальные параметры методов очистки воды.
Взвешенные вещества образуют в воде гетерогенные системы, что обусловлено наличием нерастворимых или малорастворимых соединений. Нерастворимые частицы, состоящие из большого числа атомов или молекул, образуют дисперсную фазу, а вода, в которой они распределены, - дисперсную среду. Фаза представляет собой совокупность однородных частей системы, одинаковых по составу и физико-химическим свойствам, и отделенных от других частей системы поверхностью раздела. [З].
Существование поверхностей раздела является обязательным признаком гетерогенных систем. Особые свойства и строение пограничных межфазных слоев, обладающих в высокодисперсных системах большой свободной поверхностной энергией, в значительной степени определяют поведение таких систем, их агрегативную и кинетическую устойчивость. Величина межфазной поверхности зависит от размера частиц дисперсной фазы - чем меньше размер частиц, тем больше удельная поверхность и тем сильнее влияние поверхностных явлений на свойства системы.
Крупные частицы примесей - тяжелые смолообразные нефтепродукты кинетически неустойчивы, не образуют с водой устойчивых гетерогенных систем, так как быстро оседают на дно под действием гравитационных сил. Скорость седиментации зависит от формы частиц, соотношения силы тяжести, приводящей к их осаждению, и силы трения, препятствующей этому процессу. Водные дисперсии, содержащие частицы размером более 10-3 см, обладают как правило, полной кинетической неустойчивостью. При уменьшении размера частиц до 10-4 -10-5 см образуются гетерогенные системы, для которых характерна сравнительно небольшая удельная поверхность дисперсной фазы, слабая интенсивность теплового движения частиц и невысокая кинетическая устойчивость.
Тонкодисперные частички нефти всплывают на поверхность, так как их плотность меньше, чем плотность воды. Скорость движения воды в нефтеловушке изменяется в пределах 0,005-0,01м/с. Для частичек нефти диаметром 80-100 мкм скорость всплывания равна 1-4 мм/с.
Коагуляция применяется для удаления из воды коллоидно-дисперсных частиц, т.е. частиц размером 1-100 мкм. В процессе очистки сточных вод коагуляция происходит под влиянием добавляемых к ним специальных веществ - коагулянтов. Коагулянты в воде образуют хлопья гидроксидов металлов, которые быстро оседают под действием сил тяжести. Хлопья обладают способностью улавливать коллоидные и взвешенные частицы и агрегировать их.
Коллоидная система состоит из дисперсионной среды и дисперсной фазы. Для коллоидных частиц характерно образование на поверхности частиц двойного электрического слоя. Одна часть двойного слоя фиксирована на поверхности раздела фаз, а другая создает облако ионов, т. е. одна часть двойного слоя является неподвижной, а другая подвижной (диффузный слой). Разность потенциалов, возникающая между неподвижной и подвижной частями слоя (в объеме жидкости) называется дзета-потенциалом x или электрокинетическим потенциалом. Дзета-потенциал зависит как от термодинамического потенциала Е (разность потенциалов между поверхностью частиц и жидкостью), так и от толщины двойного слоя. Его значение определяет величину электростатических сил отталкивания частиц, которые предохраняют частицы от слипания друг с другом. Малый размер коллоидных частиц загрязнений и отрицательный заряд, распределенный на поверхности этих частиц, обуславливает высокую стабильность коллоидной системы. [I].
Чтобы вызвать коагуляцию коллоидных частиц, необходимо снизить величину их дзета-потенциала до критического значения добавлением ионов, имеющих положительный заряд. При коагуляции происходит дестабилизация коллоидных частиц вследствие нейтрализации их электрического заряда.
В качестве коагулянтов обычно используют соли алюминия, железа или их смеси. Выбор коагулянта зависит от его состава, физико-химических свойств и стоимости, концентрации примесей в воде, от рН и солевого состава воды.
Сточные воды, направляемые на биохимическую очистку, характеризуются величиной БПК и ХПК. БПК - это биохимическая потребность в кислороде, или количество кислорода, использованного при биохимических процессах окисления органических веществ за определенный промежуток времени (2-20 суток), в мг О2 на 1 мг вещества. ХПК - химическая потребность в кислороде, т. е. количество кислорода, эквивалентное количеству расходуемого окислителя, необходимого для окисления всех восстановителей, содержащихся в воде. ХПК также выражается в мг О2 на 1 мг вещества. [I].
Для очистки промышленных сточных вод применяется процесс биохимического окисления, т. е. разрушение органических веществ. Для подачи промышленных сточных вод на биохимические очистные сооружения необходимым условием является отсутствие в них ядовитых веществ и примесей солей тяжелых металлов; рН=6,5-7,5; температура сточной воды не должна превышать 35°С; показатель БПК - не более 500 мг/л; взвешенных веществ - не более 100 мг/л; общее содержание солей - не более 10 г/л; нефтепродуктов - не более 25 мг/л; устойчивых ПАВ - не более 20 мг/л. Очистка осуществляется аэробным методом, который основан на использовании аэробных групп организмов, для жизнедеятельности которых необходим постоянный приток кислорода в количестве 2-4 мг/л и температура воды 20-35°С. Контактируя с органическими веществами, микроорганизмы частично разрушают их, превращая в воду, диоксид углерода, нитрит- и сульфат-ионы и др. Другая часть вещества идет на образование биомассы. При аэробной очистке микроорганизмы культивируются в активном иле.
Активный ил состоит из живых организмов и твердого субстрата. Живые организмы представлены скоплениями бактерий. Субстрат, которого в активном иле может быть до 40%, представляет собой твердую отмершую часть остатков водорослей и различных твердых остатков. К нему прикрепляются организмы активного ила. Активный ил представляет собой амфотерную коллоидную систему, при рН=4-9, имеющую отрицательный заряд.
Основную роль в процессе очистки сточных вод играют процессы превращения вещества, протекающие внутри клеток микроорганизмов. Эти процессы заканчиваются окислением вещества с выделением энергии и синтезом новых веществ с затратой энергии. Все реакции биохимического метаболизма управляются по скорости при помощи биокатализаторов-ферментов. Клетки микробов имеют определенный набор ферментов. Некоторые из них постоянно присутствуют, другие синтезируются в клетках вследствие каких-либо изменений в окружающей среде, например, изменения состава или концентрации загрязнений сточных вод.
4. Технологическая схема очистки воды.
На отечественных и зарубежных нефтеперерабатывающих заводах общепринятая схема включает три стадии очистки: 1) механическая - очистка от грубодисперсных примесей (твердых и жидких); 2) физико-химическая -очистка от коллоидных частиц, обезвреживании сернисто-щелочных вод; 3) биологическая -очистка от растворенных примесей. Кроме того, производится доочистка биологически очищенных сточных вод.
На некоторых зарубежных заводах для очистки от растворенных примесей используют сорбционный метод.
В табл.1 приведены данные о применяемых схемах очистки сточных вод на ряде зарубежных заводов. [2].
Методы очистки производственных сточных вод, объединенные схемой, размещаются в определенном порядке по принципу: последовательность очистки - от простого к сложному. Т. е. сначала применяются методы для удаления примесей I группы, затем - П и т.д. При этом контролируется содержание в воде отдельно каждой группы примесей на всех стадиях очистки, так как предыдущая стадия должна обеспечивать качество воды, которое позволит использовать следующий метод очистки.
Учитывая вышесказанное и в соответствии с условием задания и выбранными методами очистки от примесей I , П и Ш группы нами предлагается следующая технологическая схема очистки промышленных сточных вод (рис.1).
В соответствии с предлагаемой схемой очистка промышленных сточных вод включает три стадии.
Таблица 1
Схемы очистки сточных вод, применяемые на некоторых зарубежных НПЗ
Предприятие, фирма, город, страна |
Схема очистки сточных вод |
НПЗ компании «Маратов Ойл Ко», Техас-Сити, США |
Нефтеловушки типа АНИ - реагентная флотация |
Пзфирмы «Атлантик Ричфилд», Карлсон, США |
Нефтеловушки типа АНИ - адсорбционная установка |
Завод фирмы «Хамбл Ойл», Питсбург, США |
Коагуляция-песчаные фильтры |
НПЗ компании «Америкэн Ойл Ко», Уаигинг, США |
Нефтеловушки типа АНИ - аэрируемый пруд –реагентная флотация |
НПЗ фирмы «Хамбл Ойл», Бейтаун, США |
Нефтеловушки типа АНИ - пруд дополнительного отстоя – аэротенки –биологические пруды |
НПЗ фирмы «Ситиз-Сервис», Бронте, Канада |
Нефтеловушки типа АНИ - пруд-усреднитель-коагуляция-биофильтры - озонирование –аэротенки - песчаные фильтры |
НПЗ фирмы «ЕНИ», Ингель-штадт, ФРГ |
Нефтеловушки. С параллельными пластинами – коагуляция – биологическая очистка |
НПЗ, Польян, Франция |
Нефтеловушки с параллельными пластинами –биологическая очистка |
НПЗ, Сан-Нарро, Италия |
Реагентная флотация – биологическая очистка |
НХК, Питешти, СРР |
Нефтеловушки типа АНИ - коагуляция –биологическая очистка - сооружения доочистки |
На первой стадии осуществляется удаление нефтепродуктов и механических примесей на нефтеловушках. Типовые Нефтеловушки представляют собой горизонтальный прямоугольный отстойник. Тяжелые смолообразные продукты выпадают в осадок. Всплывание нефти на поверхность воды происходит в отстойной камере. Нефть удаляется через нефтесборные трубы. Скорость движения воды в нефтеловушках изменяется в пределах 0,005-0,01 м/с. Для частичек нефти диаметром 80-100 мкм скорость всплывания равна 1-4 мм/с. Горизонтальные Нефтеловушки имеют не менее 2-х секций. Ширина секций 2-3 м, глубина отстаиваемого слоя воды 1,2-1,5 м , продолжительность отстаивания не менее 2 часов. Остаточное содержание нефтепродуктов в воде составляет 100 мг/л.
После Нефтеловушки сточные воды подаются на физико-химическую очистку от коллоидных нефтепродуктов при помощи процесса коагуляции.
флокулянт
![]()
коагулянт иловая смесь
![]() |
![]() |
Сточные воды
![]()
![]()
![]()
Очищенная
![]()
![]()
![]()
![]()
![]()
Сточные воды сточные воды вода

![]()
![]()
![]()
![]()
![]()
![]()
![]()
![]()
![]()
![]()
2 ссссСс очищенная
вода
![]() |
![]()

Очишенная вода
![]()
4 5
1 шлам
![]()
активный ил
шлам 3 воздух избыток ила
![]()
Рнс.1. Технологическая схема очистки ПСВ
1. Нефтеловушка. 2. Смеситель,
3. Коагулятор-осветлитель. 4. Аэротенк
5. Отстойник.
В процессе коагуляционной очистки происходит удаление из воды коллоидно-дисперсных частиц диаметром менее 100 мкм и соосаждение растворенных в воде примесей, поэтому уменьшаются значения ХПК и БПК сточных вод.
В качестве коагулянта предлагается использовать смеси солей трехвалентного железа FеС13 +Fе2 (SO4 )3 в количестве 100 мг/л, приготовленные путем обработки отходов производства диоксида титана хлорной водой. С целью повышения эффективности очистки сточных вод совместно с коагулянтом целесообразно использовать различные высокомолекулярные анионные флокулянты: активную кремневую кислоту, полиакриламид, технический ПАА и др. Оптимальная доза ПАА для очистки промышленных сточных вод колеблется в пределах 0,4-1 г/м3 .
Процесс очистки сточных вод коагуляцией и флокуляцией состоит из следующих стадий: дозирование и смешение реагентов со сточной водой;
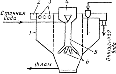
хлопьеобразование и осаждение хлопьев. В предлагаемой схеме стадии смешения, коагулирования и осаждения проводятся в одном аппарате -коагуляторе-осветлителе (рис.2).
флокулянт
Рис.2. Коагулятор-осветлитель.
1-корпус, 2-желоб, 3-отверстия для удаления осветленной воды, 4-воздухоотделитель, 5-центральная труба, 6-распределительные трубы.
Сточная вода, смешанная с коагулянтом, поступает в воздухоотделитель коагулятора-осветлителя. Затем вода движется по центральной трубе к распределительным трубам, которые заканчиваются соплами для распределения и вращения в кольцевой зоне, куда вводят флокулянт. Хлопья коагулянта образуются в кольцевой зоне. Взвешенные частицы с хлопьями
оседают на дно и их удаляют из аппарата. Осветленная вода через отверстие попадает в желоб, откуда ее направляют на дальнейшую очистку.
Остаточное содержание нефтепродуктов в воде не превышает 25 мг/л.
Третьей стадией очистки производственных сточных вод является биологическая очистка от растворенных примесей в аэротенках. Аэротенк представляет собой открытый бассейн, оборудованный устройствами для принудительной аэрации. Они бывают двух-, трех- и четырехкоридорные. Глубина аэротенков 2-5 м.
Для сточных вод с БПКп =250 мг/л предлагается использовать одноступенчатую схему очистки в аэротенке-вытеснителе.
В аэротенк-вытеснитель воду и ил подают в начало сооружения, а смесь отводят в конце его. Теоретически режим потока поршневой без продольного перемешивания. На практике существует значительное продольное перемешивание. Повышенная концентрация загрязнений в начале сооружения обеспечивает увеличение скорости их окисления. Изменение состава воды по длине аэротенка затрудняет адаптацию ила и снижает его активность.
Концентрация активного ила в аэротенке составляет 2-3 г/л, расход воздуха 20-25 м3 на 1 м3 очищаемой воды.
После аэротенка иловая смесь подается в отстойник, где происходит отделение ила от воды. Большую часть ила возвращают в аэротенк, а избыток его отводится.
Из отстойника сточная вода подается в биологический пруд на доочистку.
5. Расчет основного аппарата.
В предлагаемой нами схеме очистки промышленных сточных вод основным аппаратом является нефтеловушка (рис.3).
Схема горизонтальной прямоугольной нефтеловушки показана на рис.4. Нефтеловушки предназначены для отстаивания грубодиспергированных нефтепродуктов. Типовые открытые нефтеловушки изготавливаются из сборных железобетонных конструкций. Применяются нефтеловушки пяти типов, различающихся пропускной способностью одной секции: 0.005; 0.015;
0.030; 0.045; 0.055 мЭ/с. В каждую секцию сточная вода подводится независимо. В процессе отстаивания нефть всплывает, а тяжелые смолообразные продукты выпадают в осадок. При помощи скребкового транспортера нефть подают к нефтесборным трубам, через которые она удаляется. Осадок с дна ловушки удаляется скребковым механизмом в приямок, а оттуда забирается гидроэлеватором. Отвод нефти и удаление осадка производится автоматически.[7].
![]()
![]()
![]()
![]()
![]()

Очищенная вода
Рис.4. Схема горизонтальной нефтеловушки.
1-корпус нефтеловушки, 2-гидроэлеватор, 3-слой нефти, 4-нефтесборная труба, 5-нефтеудерживающая перегородка, 6-скребковый транспортер,
7-приямок для осадка.
Нефтеловушки рассчитываются на очистку воды от капель размером 0,1-0,08 мм. Скорость всплывания таких капель uмин , см/с, вычисляют по уравнению Стокса:
981 rв - rн
![]()
uмин
= d2
,
18 mв
где d - диаметр капель, см; rв и rн - плотность соответственно сточной воды и нефти, г/см3 ; mв - вязкость сточной воды, мПа с.
981 0.95 – 0.83
![]()
uмин
= (0.09)2
= 0.04 см/с.
18 1.48
Длина отстойной части нефтеловушки рассчитывается по формуле:
vРАС
l
= ha ,
uмин
где h - высота секции нефтеловушки, м; a - коэффициент, учитывающий турбулентность и струйность потока воды в нефтеловушке vРАС к скорости всплывания нефти uмин .
0.4
l
= 1.2 ·1.5 = 18 м
0.04
Для расхода промышленных сточных вод 150 м3 /ч = 0.042 м3 /с достаточно одной секции нефтеловушки пропускной способностью 0.045 м3 /с с длиной отстойной части 18м.
Литература
1. Торошечников М.С., Радионов А.И., Кельцев Н.В. и др. Техника защиты окружающей среды: Учеб. пособие для вузов. - М.: Химия, 1981. - 368с.
2. Проскуряков В.А., Шмидт Л.И. Очистка сточных вод в химической промышленности. - Л.: Химия, 1977. - 464с.
3. Кульский Л.А. Теоретические основы и технология кондиционирования воды. - К.: Наукова думка, 1982. - 564с.
4. Кульский Л.А. и др. Справочник по свойствам, методам анализа и очистки воды. В 2-х ч. - К.: Наукова думка, 1980. - 1320с.
5. Звіт. Наукове узагальнення технологічних заходів інтенсифікації роботи діючих очисних споруд у південній частині басейну Дніпра без значних капітальних затрат. Інститут колоїдної хімії та хімії води ім. А.В.Думанського. - К., 1997.- 48с.


