| Скачать .docx | Скачать .pdf |
Курсовая работа: Водне середовище міста
Міністерство освіти і науки України
Чернігівський державний педагогічний університет імені Т.Г. Шевченка
Кафедра екології та техногенної безпеки
КУРСОВА РОБОТА
ВОДНЕ СЕРЕДОВИЩЕ МІСТА
Виконала: студентка 45 групи
Хихлухо Л.В.
Науковий керівник:ас. кафедри екології та
техногенної безпекиЯковенко О.І.
Чернігів – 2007
ЗМІСТ
ВСТУП
РОЗДІЛ 1 Водні об`єкти міст та їх джерела
1.1 Водні об'єкти міст
1.2 Джерела в міській зоні
РОЗДІЛ 2 Використання водних об'єктів міста
2.1 Централізоване водопостачання
2.2 Децентралізоване водопостачання
2.3 Раціональне використання водних ресурсів
РОЗДІЛ 3 Оцінка стану водних об'єктів
3.1 Показники якості води
3.2 Методика оцінки якості води
РОЗДІЛ 4 Системи водовідведення
ВИСНОВКИ
СПИСОК ВИКОРИСТАНИХ ДЖЕРЕЛ
ВСТУП
Міські поселення здавна виникали по берегах рік і озер, що служили джерелом водопостачання, а найчастіше зручним транспортним шляхом. Одночасно ріки використовувалися для видалення рідких і твердих відходів життєдіяльності людей і домашньої худоби, що приводило до їхнього забруднення, обмежуючи розташовані нижче за течією населені пункти можливості користуватися ними для питного водопостачання. Ріки ставали рознощиками збудників інспекційних захворювань, таких як холера, дизентерія, черевний тиф і ін. Знадобилося не одне тисячоріччя, поки люди навчилися запобігати забрудненню водних об'єктів, очищати і знезаражувати стічні води. З ростом благоустрою міст розташовані в міській рисі водойми і водотоки здобувають усе більш важливе архітектурно-планувальне, рекреаційне і эстетическое значення, Завдяки комфортному мікрокліматові і привабливій естетиці міські набережні є найбільш престижним районом розселення, улюбленим місцем прогулянок городян. Чистота водних об'єктів, архітектурна облаштованість, озеленення берегів і прибережної частини є важливою турботою міської влади.
Розмаїтість видів водокористування породжує і розмаїтість вимог до води. Виходячи з цього, поняття якості води повинне бути пов'язане з її використанням.
Відповідно до Водного кодексу України якість води є характеристика складу і властивостей води, що визначає її придатність для конкретного виду водокористування.
Мета роботи – дати характеристику водного середовища міста.
Завданнями роботи є:
1) дати характеристику водних об`єктів міста;
2) розглянути можливість викорситання водних об`єктів міста;
3) дати оцінку якості стану водних об`єктів;
4) проаналізувати роботу системи водовідведення в місті.
РОЗД ІЛ 1 Водні об`єкти міст та їх джерела
1 .1 Водні об'єкти міст
До водних об'єктів, розташованим у міській рисі, відносяться водотоки, водойми, моря, підземні води. Водотоки підрозділяються на річки, канали, струмки; водойми - на озера, водоймища, ставки. Моря підрозділяються на відкриті і внутрішні. Гирлова область річки, що впадає в море безрукавним руслом, називається естуарієм, або лиманом.
Підземні води підрозділяються на водоносні обрії і комплекси, утворити в просторі басейни і родовища. Підземні води, що виливаються на поверхню, називаються джерелами {джерелами).
Водотоки. Річки підрозділяються на малі, середн і великі. Класифікаційні ознаки річок приведені в табл. 1.
Таблиця 1. Класифікація міських рік за розміром
| Категорія річки | Загальна плошадь водозбору, км2 | Витрата води в не паводковий період, м3 /с | Швидкість течії в не паводковий період, м/с | Коливання рівня в не паводковий період, м |
| Мала | до 2000 | до 5 | до 0,2 | до 1 |
| Середня | 2000 - 50 000 | 5- 100 | 0,2- 1 | 1 -2 |
| Велика | понад 50 000 | понад 100 | понад 1 | понад 2 |
У період паводків витрати води, швидкість плину і коливання рівня істотно збільшуються, особливо в гірських районах.
Міські канали - штучні водотоки, що прокладаються для судноплавства, перекидання стоку рік або для запобігання повеней при сніго-нагінних явищах. Русло каналу влаштовується з залізобетону, рідше з кам'яної кладки, в окремих місцях канал забирається в трубу.
Струмки - невеликі водотоки, що беруть початок від джерел.
Водойми за розміромподіляються на 4 категорії. Класифікаційні ознаки водойм приведені в табл.2.
Таблиця 2. Класифікація водойм за морфометричними параметрами
| Категоріяводойми | Площаповерхні, км2 | Обсяг,км3 | Максимальнаглибина,м |
| Малий | до 10 | до 0,5 | до 5 |
| Середній | 10 - 100 | 0,5- 1 | 5-10 |
| Великий | 100 - 1000 | 1 - 10 | 10-50 |
| Дуже великий | понад 1000 | понад 10 | понад 50 |
При розрахунках, пов'язаних із прогнозуванням водности і якості води водойм, використовується інформація про коливання рівня води і величину водообміну. Коливання рівня води і водообмін озер є результуючою величиною припливу водотоків, що впадають в озеро, випару і витрат водотоків, що випливають з озера, з урахуванням витрат води, що забирається для водопостачання і зрошення. Коливання рівня води і водообмін у водоймищах оцінюють величиною припливу у верхній б'єф і скидними витратами в нижній б'єф з урахуванням добору води для господарських цілей. При розрахунках враховують також величину випару з поверхні водойми і ймовірну фільтрацію води в підземні горизонти. Величину коливань рівня води озер і водоймищ визначають за різницею між найбільшими і найменшими рівнями, що спостерігаються за багаторічний період. Коливання рівня поверхні водойми до 3 м належать до малих, від 3 до 20 м - до середніх, понад 20 м - до великих коливань рівня. Інтенсивним вважається кратність водообміну за рік, рівна 5, помірним - від 5 до 0,1, уповільненим - до 0,1.
Моря України класифікуються в такий спосіб: Чорне море відноситься до відкритого типу, Азовське - до внутрішнього.
Естуарії класифікуються за переважним гідрологічним режимом: стокові, приливно-зливні, згінно-нагінні, і за коливаннями рівня: до 0,5 м - малі, від 0,5 до 1 м - середні, понад 1 м - великі.
Водні об'єкти в межах міської межі, як уже відзначалося, служать градоутворюючим фактором. Уздовж них і навколо формуються житлові квартали, будується орієнтація вулиць і проїздів. Міські водойми і водотоки мають естетичне значення і використовуються для рекреації. На судноплавних річках і каналах, у приморських містах у межах міської зони розташовуються порти.
Джерелапідземних вод, розташовані як у приміській зоні, так і в межах міської території, придатні за якістю і захищеністю для питних цілей, використовуються для централізованого водопостачання міста. Джерела підземних вод, що самовиливаються - джерела - використовуються населенням для нецентралізованого водопостачання. Вони обладнуються відповідно до санітарно-гігієнічних і естетичних вимог.
1. 2 Джерела в міській зоні
У природних умовах виходи підземних вод на поверхню виявляються у вигляді спадних джерел, пов`язані звичайно з схилами гірських височин і долин ярів, балок, річок, що живляться за рахунок безнапірних вод, і висхідних джерел, що утворюються за рахунок напірних вод, прийом яких здійснюється відповідно до їх руху знизу нагору, через дно каптажного пристрою.
Переважна більшість джерел відноситься до спадних. Формування вод, що виливаються, відбувається у верхній частині зони активного водообміну, обмеженою знизу глибиною врізу ерозійної мережі. Зоною живлення підземних вод, що формують джерела, є вододільні ділянки, а зоною розвантаження - долини місцевих річок і балок. Таким чином, для джерел, розташованих у міській зоні, зони живлення розташовані також у межах міста.
Джерельні, або ключові, води за своєю якістю відповідають воді того шару, з якого вони виливаються.
Поверхня й освоєний підземний простір міст створюють украй несприятливий вплив на якість ґрунтових вод. Висхідні напірні джерела є більш захищеними від забруднення і їм варто віддавати перевагу при використанні населенням.
По витраті води джерела бувають: малі - з витратою менш 1 л/с, середні - 1-10 л/с і великі - більш 10 л/с. Найбільший інтерес представляють джерела зі значною витратою. Вони звичайно розташовуються в тріщинах скелястих порід і зонах їх дроблення. До цього типу не відносяться карстові джерела, що мають іноді вид підземної ріки, а також гейзери. Середні і великі джерела, вода яких відповідає питній якості, можуть бути використані як джерела водопостачання. Однак, використовуючи джерело для постійного водопостачання якого-небудь об'єкта, необхідно мати гарантію тривалості функціонування і достатності витрати для покриття всіх нестатків об'єкта у воді.
Джерела місцеві жителі широко використовують як джерело питної води. Вони можуть бути також альтернативним джерелом питного водопостачання в період надзвичайних ситуацій. Однак, через прогресуючий негативний вплив міського середовища на якість підземних вод, лише окремі джерела після ретельних гідрогеохімічних, мікробіологічних і радіологічних досліджень можуть бути рекомендовані для використання населенням. У зв'язку з існуючим традиційним позитивним відношенням до джерел дуже важливо вчасно інформувати населення про якість води конкретних джерел.
Для джерел, розташованих у міській зоні, у яких збереглася природна якість води, необхідно передбачати спеціальні охоронні заходи: устаткування каптажів і організацію зон санітарної охорони. Такі зони призначені для запобігання забруднення підземних вод у місці їх виходу. Вони складаються з трьох поясів. Тому що джерельні води за ступенем природної захищеності можуть бути прирівняні до ґрунтових вод, то перший пояс- зона суворого режиму - повинна мати радіус не менш 50 м. Розміри і конфігурація другого поясу - зони обмежень, призначеної для захисту від бактеріального забруднення, - визначаються розрахунком. Розміри поясу в залежності від фільтраційних властивостей водонесущих і перекриваючих порід, а також від дебіту джерела можуть варіювати від десятків до декількох сотень метрів. Третій пояс, що відноситься також до зони обмежень і призначений для захисту від хімічного забруднення, теж визначається розрахунковим шляхом. Розміри його залежать від терміну експлуатації і при досить тривалому терміну досягають границь зони живлення водоносного горизонту.
Каптаж джерел являє собою споруду для захоплення підземних вод і зручності користування. Конструкція каптажних споруд вибирається в залежності від гідрогеологічних умов виходу підземних вод на поверхню землі, морфології місця виходу джерела, потужності відкладень, що покривають водоносний шар, і витрати джерела. Приклади конструкцій залізобетонної і глиняно-кам`яної камер для каптажів джерел наводимо на мал. 1 і 2.

Рис. 1. Залізобетонна каптажна камера:
1 - витратнатруба; 2 - переливнатруба; 3 - кільця; 4 - вентиляційнатруба; 5 - рослиннийшар; 6 - глиняно-шеьневевимощення; 7 - щільноутрамбованийглинистийґрунт; 8 - залізобетоннаплитаднища; 9 - фільтрізгравіюігальки; 10 - засипкапіском; 11 - водоприймальніотвори; 12 - водотривкийшарабонижнямежакаптируемоїчастиниводоносногошару; 13 - водоноснийшар; 14 - нагорнаканава

Рис. 2. Глиняно-каменная каптажна камера:
1 - вентиляційнатруба; 2 - утрамбованийглинистийґрунт; 3 - укріпленнярослиннимґрунтом; 4 - кам'янийнакид; 5 - переливнатруба; 6 - латуннасітка; 7 - витратнатруба; 8 - гравійнийзахиснийшар; 9 - насипнийґрунт; 10 - нагірнаканава; 11 - водотривкийпласт
Рекомендується вести постійний контроль складу вод джерел міста. У разі потреби можливе очищення води джерел від небажаних домішок, що з'явилися, безпосередньо в місці водоразбору.
Територія в районі джерела і підходи до нього повинні бути упорядковані.
РОЗДІЛ 2 Використання водних об'єктів міста
2.1 Централізоване водопостачання
Забір води з поверхневих водних об'єктів у межах міської зони здійснюється, як правило, для технічного водопостачання, поливання міських територій і пожежегасіння.
Для централізованого водопостачання міст використовують водні об'єкти, що відповідають нормам і вимогам до джерел господарсько-питного водопостачання і, що знаходяться на екологічно благополучних територіях. Так, наприклад, водозабір Київського водопроводу знаходиться на р.Десні за 12 км від Києва, Харків забирає питну воду з р.Сіверський Донець у сел.Кочеток, вилученого від міста на 24 км, питний водозабір Дніпропетровська розташований у сел.Аули за 8 км від міста.
У межах міської зони забір води для питних цілей з поверхневих водних об'єктів проводиться у виняткових випадках. Це можуть бути штучні водні об'єкти - канали або водоймища, спеціально призначені для питного водопостачання, у яких інші види водокористування заборонені. Навколо них обладнається зона санітарної охорони.
Зона санітарної охорони обладнається з метою забезпечення надійної санітарно-епідеміологічної обстановки. Зона складається з трьох поясів: першого - суворого режиму, других і третього - режимів обмеження. Границі 1 пояса для водотоку: нагору за течією - не менш 200 м від водозабору, униз - не менш 100 м, по березі - не менш 100 м від урізу води, до протилежного берега - не менш 100 м по акваторії, а при ширині ріки менш 100 м - вся акваторія і 50 м від уреза води всередину протилежного берега; для водойми - у радіусі 100 м від водозабору по акваторії і бережу. Границі ІІ пояса визначаються: нагору за течією водотоку - часом протікання води не менш 3 доби до водозабору; униз - не менш 250 м; бічні границі - від 500 м до 1000 м у залежності від рельєфу; для водойми - у радіусі не менш 3 км від водозабору, а по березі - так само, як і для водотоку. Граніці ІІІ поясу по акваторії збігаються з границями ІІ пояса, а по березі складають 3-5 км від урізу води. Територія І пояса повинна бути обгороджена, спланована й озеленена. На акваторії встановлюються попереджувальні буї. Територія охороняється, доступ сторонніх осіб заборонений. У межах І поясу можуть знаходитися тільки будинки і споруди, зв'язані з експлуатацією водопроводу. У межах ІІ й ІІІ поясів приймаються заходи для попередження забруднення джерела водопостачання.
Контроль якості води джерел централізованого господарсько-питного водопостачання здійснюється щодня місцевою санепідемслужбою і підприємством, що експлуатує водозабірні споруди.
Питні водозабори з підземних водоносних горизонтів звичайно розташовуються в межах міської території. Навколо них створюється зона санітарної охорони. Підземні води використовуються як для централізованогогосподарсько-питного водопостачання, так і для децентралізованого.
Одна з найважливіших частин життєзабезпечення міст - централізоване водопостачання - зіштовхується в останні десятиліття з великими труднощями. Дефіцит водних ресурсів потрібної якості приводить до необхідності транспортувати воду на сотні кілометрів. Зношеність і санітарний стан водоводов і розвідних мереж у багатьох містах України досягли критичного рівня.
Істотним недоліком централізованого водопостачання є застосування хлору для знезаражування води, що приведе до утворення і впливу на населення токсичних хлорорганических з'єднань. Хлорування води ефективно тільки стосовно холерного вібріона, збудникам черевного тифу і дизентерії. Відносно стійкими до хлорування залишаються збудники паратифу і мікрококи, спорові форми, ентеровіруси, цисти найпростіших, синьогнійна паличка й ін. Застосування інших методів знезаражування води стримується в зв'язку з їх більш високою вартістю.
Централізоване водопостачання населення міст знаходиться в залежності від роботи систем водоотведения.
2.2 Децентралізоване водопостачання
Потреба людини в питній воді не перевищує 10 л/добу, що складає менш 5% від загального обсягу води, що приходиться на одного міського жителя при централізованому водопостачанні. Якісна питна вода в такій кількості може бути надана городянам з підземних джерел, у першу чергу кондиційних питних підземних вод із глибоких, надійно ізольованих горизонтів. Можуть розглядатися наступні варіанти децентралізованого водопостачання: бутилювання і пакетування екологічно чистої води, розвіз спеціальними автомашинами і відпуст води в тару споживача, організація водорозбірних пунктів і бюветів у житлових кварталах. Досвід використання підземних вод для децентралізованого водопостачання накопичений у Бердянську, Києві, Харкові і деяких інших містах України. Також можуть використовуватися поверхневі води, що пройшли очищення. Так, в Одесі й інших південних містах України через торговельну мережу надходить очищена на фільтрах річкова вода, що набирається населенням у свою тару. У Києві після Чорнобильської катастрофи в терміновому порядку було організовано децентралізоване питне водопостачання з мережі артезіанських свердловин з забором води населенням через стовпчики. У Бердянську водорозбірні пункти обладнані на магістральному водоводі, що подає кондиційну питну воду до головних споруд централізованої системи водопостачання. Розбір води здійснюється безкоштовно (Бердянськ, Київ) або за порівняно невелику плату від 3 до 15 коп. за літр (Одеса, Харків). Вартість бутильованої і пакетирувальної води значно вище - до 1 грн. за літр і вище.
Особливий інтерес представляє спосіб децентралізованого водопостачання з бюветів на базі спеціальних артезіанських свердловин, розміщених безпосередньо в житлових кварталах міст.
Скважинні водозабори обладнаються заглибними насосами і накопичувальними резервуарами. Улаштовуються зони санітарної охорони і зручні для населення підходи. Водорозбірні пункти повинні перебувати за межами зони суворого режиму. У розрахунку на неминучі втрати води обладнуються системи водовідводу в зливну систему.
З метою підвищення надійності роботи локальних водозаборів необхідно передбачити запасні системи автономного енергозабезпечення - дизельні електростанції, а також запасні накопичувальні ємності.
Економічні розрахунки показують, що в умовах щільної житлової забудови навіть при глибині водозабірної свердловини 800 м витрати на будівництво бювета при відпускній ціні на воду 5 коп. за літр окупляться за 2-2,5 року, а прибуток при наступній експлуатації одного бювета буде перевищувати 350 тис. грн. на рік.
Технологія децентралізованого питного водопостачання має наступні переваги:
- з'являється незалежна, надійно захищена система питного водопостачання на випадок аварій і інших надзвичайних ситуацій;
- підвищується надійність системи питного забезпечення, тому що при виході з ладу одного джерела населення може користуватися сусідніми;
- ощадливо витрачається артезіанська вода високої питної якості, запаси якої обмежені;
- для питних цілей використовується вода, що вимагає менших, у порівнянні з поверхневими вододжерелами, витрат на її підготовку;
- питна вода, що розбирається населенням у бюветах, на порядок дешевше бутильованої.
Необхідно підкреслити, що розглянуті варіанти децентралізованого водопостачання є лише доповненням до централізованих систем водопостачання міст і пропонують альтернативне джерело якісної питної води, що підвищує стійкість системи життєзабезпечення в кризових ситуаціях.
2.3 Раціональне використання водних ресурсів
Хоч водні ресурси відносяться до категорії відвлюваних, їх інтенсивне використання в окремих районах і на деяких виробництвах нерідко невиправдано завищено, що приводить до виникнення їх дефіциту і, як наслідок, гальмує економічний і соціальний розвиток даної території. Практично у всіх видах водоспоживання існують істотні резерви економії водних ресурсів. Особливо великі вони в промисловості. Для більшості промислових виробництв вимоги до якості використовуваної води значно менш тверді, ніж до складу вод, що підлягають скиданню у водний об'єкт або в міську систему водовідведення. Тому виробничі стічні води набагато вигідніше направляти на повторне використання в системах оборотного і послідовного водозабезпечення, ніж піддавати очищенню, що задовольняє умовам скидання. У системах оборотного водопостачання вода, використана в технологічному процесі, після відповідної обробки багаторазово використовується для виробничих потреб. У системах послідовного водопостачання вода, використана в одному технологічному процесі, після обробки або без такої направляється для використання в іншому технологічному процесі або на інше виробництво. Обробка води забезпечує підтримку її властивостей відповідно до вимог конкретного технологічного процесу, що досягається охолодженням або очищенням від зайвого вмісту зважених речовин або домішок, що плавають, підвищеної мінералізації і т.д. Найбільшого поширення оборотні системи водопостачання одержали в теплообмінних циклах, де технологічна вода використовується для відведення зайвого тепла від працюючих агрегатів, після чого сама подається на охолодження. Охолодження води відбувається в градирнях (мал. 3) або в бризкальних басейнах (мал. 4). У процесі охолоджень 2-3% води випаровується або розприскується. Крім того, через негерметичність теплообмінної або водогінної мережі мають місце витоку води. Тому оборотні системи повинні постійно поповнюватися свіжою водою. За рахунок випару в оборотному циклі зростають мінералізація і твердість води, що приводить до відкладення солей (карбонатів кальцію і магнію) на стінках теплообмінної апаратури і водопровідних труб. Для зниження мінералізації і твердості води в оборотній системі частина технологічної води (8-10%) періодично замінюють свіжою. Цей процес називається продувним циклом. Для повторного використання технологічної води, що мала контакт із сировиною або готовою продукцією, її піддають очищенню відповідно до вимог технологічного процесу. Оборотне водопостачання дозволяє в десятки разів зменшити споживання свіжої води.

Рис. 3. Градирня баштового типу:
1 - нагріта вода; 2 - подача повітря; 3 - охолоджена вода

Рис. 4. Бризкальний басейн:
1 - басейн з охолодженою водою; 2 - водозабір; 3 - насосна; 4 - насос; 5 - запасний бак; 6 - конденсатор; 7 - трубопровід нагрітої води; 8 - фонтани
Ефективність використання води у виробництві оцінюється:коефіцієнтом використання води, коефіцієнтом вод оборота, безповоротними втратами води.
У багатьох технологічних процесах і виробництвах створені замкнуті системи водопостачання, що виключають скидання стічних вод. До складу замкнутих систем водопостачання входять споруди для очищення технологічної води, що забезпечують підтримку її складу і властивостей відповідно до вимог даного технологічного процесу.
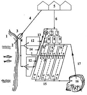
Для подолання наростаючого дефіциту водних ресурсів, а також з метою зменшення плати за забір води створюються замкнуті системи водного господарства промислових вузлів і територіально-промислових комплексів (мал. 5). Поповнення безповоротних утрат води в замкнутих системах проводиться з водних об'єктів або за рахунок використання очищених стічних, дощових і поталих вод. Останні особливо кращі завдяки їх низькій мінералізації.

Рис. 5. Замкнута система водного господарства:
1 - водний об'єкт; 2 - водозабір; 3 - водопідготовка питної води; 4 - водопровід; 5 - житловий масив; 6 - колектор господарсько-побутових стічних вод; 7 - споруди механічного очищення стічних вод; 8 - споруди біологічного очищення; 9 - землеробські поля зрошення з підземними колекторами; 10 - метантенки; 11 - подача мулу на землеробські поля зрошення; 12 - промислові підприємства; 13 - колектор виробничих стічних вод; 14 - повторне використання стічних вод; 15 - скидання зрошувальних вод; 16 - нагромаджувач зрошувальних вод; 17 - повторне використання зрошувальних вод.
РОЗДІЛ 3 Оцінка стану водних об'єктів
3.1 Показники якості води
Оскільки не існує єдиного показника, що характеризував би весь комплекс характеристик води, оцінка якості води ведеться на основі системи показників. Показники якості води поділяються на фізичні, бактеріологічні, гідробіологічн і хімічні. Іншою формою класифікації показників якості води є їх поділ на загальні і специфічні. До загального відносять показники, характерні для будь-яких водних об'єктів. Присутність у воді специфічних показників обумовлено місцевими природними умовами, а також особливостями антропогенного впливу на водний об'єкт.
До основних фізичних показників якості води відносяться:
Температура води. У водних об'єктах температура є результатом одночасної дії сонячної радіації, теплообміну з атмосферою, переносу тепла течіями, перемішування водних мас і надходження підігрітих вод із зовнішніх джерел. Температура впливає практично на всі процеси, від яких залежать склад і властивості води. Температура води виміряється в градусах Цельсия (°С).
Запах. Запах води створюється специфічними речовинами, що надходять у воду в результаті життєдіяльності гідробіонтів, розкладання органічних речовин, хімічної взаємодії компонентів, що утримуються у воді, і надходження з зовнішніх (алохтонних) джерел. Запах води вимірюється в балах.
Прозорість. Прозорість води залежить від ступеня розсіювання сонячного світла у воді речовинами органічного і мінерального походження, що знаходяться у воді в зваженому і колоїдному стані. Прозорість визначає протікання біохімічних процесів, що вимагають освітленості (первинне продукування, фотоліз). Прозорість виміряється в сантиметрах.
Кольоровість. Кольоровість води обумовлюється вмістом органічних забарвлених сполук. Речовини, що визначають забарвлення води, надходять у воду унаслідок вивітрювання гірських порід, внутрішньоводоймових продукційних процесів, з підземним стоком, з антропогенних джерел. Висока кольоровість знижує органолептичні властивості води, зменшує вміст розчиненого кисню. Кольоровість виміряється в градусах.
Вміст зважених речовин. Джерелами зважених речовин можуть служити процеси ерозії ґрунтів і гірських порід, збовтування донних відкладень, продукти метаболізму і розкладання гідробіонтів, продукти хімічних реакцій і антропогенні джерела. Зважені речовини впливають на глибину проникнення сонячного світла, погіршують життєдіяльність гідробіонтів, приводять до замулювання водних об'єктів, викликаючи їх екологічне старіння (евтрофікацію). Вміст зважених речовин виміряється в г/м3 (мг/л).
Бактеріологічні показники характеризують забруднення води патогенними мікроорганізмами. До числа найважливіших бактеріологічних показників відносять: коло-індекс - кількість кишкових паличок в одному літрі води; коло-титр - кількість води в миллилитрах, у якому може бути виявлена одна кишкова паличка; чисельність лактозопозитивних кишкових паличок; чисельність коліфагів.
Гідробіологічні показники дають можливість оцінити якість води за твариними організмами і рослинністю водойм. Зміна видового складу водних екосистем може відбуватися при настільки слабкому забрудненні водних об'єктів, що не виявляється ніякими іншими методами. Тому гідробіологічні показники є найбільш чутливими. Існує кілька підходів до гідробіологічної оцінки якості води.
Оцінка якості води за рівнем сапробності. Сапробність - це ступінь насичення води органічними речовинами. Відповідно до цього підходу водні об'єкти (або їх ділянки) у залежності від вмісту органічних речовин підрозділяють на полісапробні, α-мезосапробные, β-мезо-сапробні й олігосапробні. Найбільш забрудненими є полісапробні водні об'єкти. Кожному рівню сапробности відповідає свій набір індикаторних організмів-сапробіонтів. На основі індикаторної значимості організмів і їх кількості обчислюють індекс сапробності, по якому визначається рівень сапробності.
Оцінка якості води за видовою розмаїтістю організмів. Зі збільшенням ступеня забруднення водних об'єктів видова розмаїтість, як правило, знижується. Тому зміна видової розмаїтості є показником зміни якості води. Оцінку видової розмаїтості здійснюють на основі індексів розмаїтості (індекси Маргалефа, Шеннона й ін.).
Оцінка якості води за функціональними характеристиками водного об'єкта. У цьому випадку про якість води судять по величині первинної продукції, інтенсивності деструкції і деяких інших показників.
Фізичні, бактеріологічні і гідробіологічні показники відносять до загальних показників якості води.
Хімічні показники можуть бути загальними і специфічними. До числа загальних хімічних показників якості води відносять:
Розчинений кисень. Основними джерелами надходження кисню у водні об'єкти є газообмін з атмосферою (атмосферна реаерація), фотосинтез, а також дощові і поталі води, що, як правило, перенасичені киснем. Окисні реакції є основними джерелами енергії для більшості гідробіонтів. Основними споживачами розчиненого кисню є процеси дихання гідробіонтів і окислювання органічних речовин. Низький вміст розчиненого кисню (анаеробні умови) позначається на всьому комплексі біохімічних і екологічних процесів у водному об'єкті.
Хімічне споживання кисню (ХСК). ХСК визначається як кількість кисню, необхідного для хімічного окислювання води, що міститься в одиниці об`єму, органічних і мінеральних речовин. При визначенні ХСК у воду додається окислювач - біхромат калію. Величина ХСК дозволяє судити про забруднення води речовинами, що окисляються, але не дає інформації про склад забруднення. Тому ХСК відносять до узагальнених показників.
Біохімічне споживання кисню (БСК). БСК визначається як кількість кисню, затрачувана на біохімічне окислювання, що міститься в одиниці об`єму води органічних речовин за визначений період часу. В Україні на практиці БСК оцінюють за п'ять діб (БСК5 ) і двадцять доби (БСК20 ). БСК20 звичайно трактують як повне БСК (БСКповн ), ознакою якого є початок процесів нітрифікації в пробі води. БСК також відноситься до узагальнених показників, оскільки воно служить оцінкою загального забруднення води легкоокислюваних органічними речовинами.
Водневий показник (рН). У природних водах концентрація іонів водню залежить, головним чином, від співвідношення концентрацій вугільної кислоти і її іонів. Джерелами вмісту іонів водню у воді є також гумінові кислоти, що є присутнім у кислих ґрунтах і, особливо, у болотних водах, гідроліз солей важких металів. Від рН залежить розвиток водних рослин, характер протікання продукційних процесів.
Азот. Азот може знаходитися в природних водах у вигляді вільних молекул N2 і різноманітних сполук у розчиненому, колоїдному або зваженому стані. У загальному азоті природних вод прийнято виділяти органічну і мінеральну форми. Основними джерелами надходження азоту є внутріводоймові процеси, газообмін з атмосферою, атмосферні опади й антропогенні джерела. Різні форми азоту можуть переходити одна в іншу в процесі кругообігу азоту. Азот відноситься до числа найважливіших лімітуючих біогенних елементів. Високий вміст азоту прискорює процеси евтрофування водних об'єктів.
Фосфор. Фосфор у вільному стані в природних умовах не зустрічається. У природних водах фосфор знаходиться у вигляді органічних і неорганічних сполук. Основна маса фосфору знаходиться в зваженому стані. Сполуки фосфору надходять у воду в результаті внутрішньоводоймових процесів, вивітрювання і розчинення гірських порід, обміну з донними відкладеннями і з антропогенних джерел. На вміст різних форм фосфору впливають процеси його кругообігу. На відміну від азоту круговорот фосфору незбалансований, що визначає його більш низький вміст у воді.
Тому фосфор найбільше часто виявляється тим лімітуючим біогенним елементом, вміст якого визначає характер продукційних процесів у водних об'єктах.
Мінеральний склад. Мінеральний склад визначається за сумарнимвмістом семи головних іонів: К+, Na+, Ca2+ , Mg2+ , Cl- SO4 2- , НСО3 - . Основними джерелами підвищення мінералізації є ґрунтові і стічні води. З погляду впливу на людину і гідробіонти несприятливими є як високі, так і надмірно низькі показники мінералізації води.
До найбільш часто зустрічаючихся специфічних показників якості води відносяться:
Феноли. Вміст фенолів у воді, поряд з надходженням з антропогенних джерел, може визначатися метаболізмом гідробіонтів і біохімічною трансформацією органічних речовин. Джерелом надходження фенолів є гумінові речовини, що утворяться в ґрунтах і торфовищах. Феноли впливають на гідробіонти і погіршують органолептичні властивості води.
Нафтопродукти. До нафтопродуктів відносяться паливо, олії, бітуми і деякі інші продукти, що являють собою суміш вуглеводнів різних класів. Джерелами надходження нафтопродуктів є витоки при їх видобутку, переробці і транспортуванні, а також стічні води. Незначна кількість нафтопродуктів може виділятися в результаті внутрішньо-водоймових процесів. Вхідні до складу нафтопродуктів вуглеводні створюють токсичний і, до деякої міри, наркотичний вплив на живі організми, уражаючи серцево-судинну і нервову системи.
ПАР і СПАР. До поверхнево-активних речовин (ПАР) відносять органічні речовини, що володіють різко вираженою здатністю до адсорбції на поверхні розділу "повітря-рідина". У переважній більшості поверхнево-активних речовин, що попадають у воду, є синтетичними (СПАР). СПАР впливають на гідробіонтів і людину, погіршують газообмін водного об'єкта з атмосферою, знижують інтенсивність внутрішньо-водоймових процесів, погіршують органолептичні властивості води. СПАР відносяться до повільно розкладаючихся речовинам.
Пестициди. Під пестицидами розуміють велику групу штучних хлорорганічних і фосфорорганічних речовин, застосовуваних для боротьби з бур'янами, комахами і гризунами. Основним джерелом їх надходження є поверхневий і дренажний стік із сільськогосподарських територій. Пестициди мають токсичну, мутагенну і кумулятивну дію, руйнуються повільно.
Важкі метали. До числа найбільш розповсюджених важких металів відносяться свинець, мідь, цинк. Важкі метали мають мутагенну і токсичну дію, різко знижують інтенсивність біохімічних процесів у водних об'єктах.
3.2 Методика оцінки якості води
Відповідно до Водного кодексу України оцінка якості води здійснюється на основі нормативів екологічної безпеки водокористування й екологічних нормативів якості води водних об'єктів.
Оцінка якості води на основі нормативів екологічної безпеки водокористування. Діючі нормативи дозволяють оцінити якість води, використовуваної для комунально-побутового, господарсько-питного і рыбо-хозяйственного водокористування.
До комунально-побутового водокористування відноситься використання водних об'єктів для купання, заняття спортом і відпочинку. До господарсько-питного водокористування відноситься використання водних об'єктів як джерела господарсько-питного водопостачання і для водоснаб-жения підприємств харчової промисловості. До рибогосподарського водокористування відноситься використання водних об'єктів як середовище існування риб і інших водних організмів. Водні об'єкти рибо-господарського призначення підрозділяються на вищу, першу і другу категорії. Різні ділянки одного водного об'єкта можуть відноситися до різних категорій водокористування.
Нормативну базу оцінки якості води складають загальні вимоги до складу і властивостей води і значення гранично припустимих концентрацій речовин у воді водних об'єктів.
Загальні вимоги визначають припустимий склад і властивості води, оцінювані найбільш важливими фізичними, бактеріологічними й узагальненими хімічними показниками. Вони можуть задаватися у вигляді конкретної величини, зміни величини показника в результаті впливу зовнішніх факторів або у вигляді якісної характеристики показника.
Гранично припустимі концентрації (ГДК) - це встановлений рівень концентрації речовин у воді, вище якого вода вважається непридатною для конкретного виду водокористування. ГДК, як правило, задаються у вигляді конкретного значення концентрації.
Усі речовини за характером свого негативного впливу поділяються на групи. Кожна група поєднує речовини однакової ознаки дії, що називають ознакою шкідливості. Одна і таж речовина при різних концентраціях може виявляти різні ознаки шкідливості. Ознака шкідливості, що виявляється при найменшій концентрації речовини, називають лімітуючим показником шкідливості (ЛПШ). У водних об'єктах комунально-побутового і господарсько-питного водокористування розрізняють три ЛПШ - органолептичний, загальносанітарний і санітарно-токсикологічний. У водних об'єктах рибогосподарського водокористування, крім названих, виділяють ще два ЛПШ - токсикологічний і рибогосподарський.
При оцінці якості води у водоймах комунально-побутового і господарсько-питного водокористування враховують також клас небезпеки речовини. Його визначають у залежності від токсичності, кумулятивності, мутагенності і ЛПШ речовини. Розрізняють чотири класи небезпеки речовин: перший - надзвичайно небезпечні; другий - високонебезпечні; третій - небезпечні; четвертий - помірно небезпечні.
При оцінці якості води враховується принцип адитивності - односпрямованої дії. Відповідно доцього принципу приналежність декількох речовин до одного ЛПШ виявляється в підсумовуванні їх негативного впливу.
З обліком сказаного оцінка якості води з погляду екологічної безпеки водокористування проводиться за наступною методикою.
Водні об'єкти вважаються придатними для комунально-побутового і господарсько-питного водокористування, якщо одночасно виконуються наступні умови:
- не порушуються загальні вимоги до складу і властивостей води для відповідної категорії водокористування;
- для речовин, що належать до третього і четвертого класів небезпеки, виконується умова:
- С < ГДК,
- де С - концентрація речовини у водному об'єкті, г/м3 ;
- для речовин, що належать до першого і другого класів небезпеки, виконується умова:
![]()
де Сі і ПДКі відповідно концентрація і ГДК і-тoї речовини першого або другого класу небезпеки.
Водні об'єкти вважаються придатними для рибогосподарського водокористування, якщо одночасно виконуються наступні умови:
- не порушені загальні вимоги до складу і властивостей води для відповідної рибогосподарської категорії;
- для речовин, що належать до однакового ЛПШ, виконується умова:
![]()
де Сі і ГДКі відповідно концентрація і ГДК і-тoї речовини, що належить до даного ЛПШ.
Норми якості води повинні виконуватися:
для водотоків комунально-побутового і господарсько-питного водокористування - на ділянках від пункту водокористування до контрольного створу, розташованого на відстані не менш одного кілометра вище за течією від цього пункту водокористування;
для водойм комунально-побутового і господарсько-питного водокористування - на акваторії в радіусі не менш одного кілометра від пункту водокористування;
для водотоків рибогосподарського водокористування - у межах усієї рибогосподарської ділянки водотоку, починаючи з контрольного створу, розташованого не далі 500 метрів нижче за течією від джерела надходження домішок;
для водойм рибогосподарського призначення - на всіх рибогосподарських ділянках, починаючи з контрольного пункту, розташованого в радіусі не більш 500 м від місця надходження домішки.
Оцінка якості води на основі екологічних нормативів. Екологічні нормативи якості води встановлюються для оцінки стану водних об'єктів на основі екологічної класифікації поверхневих вод.
Система екологічної класифікації якості поверхневих вод включає три класифікаційні групи: сольового складу, еколого-санітарних показників і показників складу і біологічної дії специфічних речовин.
У залежності від значень показників якості води поверхневі води відносять до визначених категорії і класу якості води. Класи і категорії, використовувані при екологічній класифікації якості води, приведені в табл. 3.
Таблиця 3. Класи і категорії якості поверхневих вод суші
| Клас якості води | І | ІІ | ІІІ | ІV | V | |||
| Категорія якості води | 1 | 2 | 3 | 4 | 5 | 6 | 7 | |
| Назви класів і категорії якості вод за ступенем їх забруднення | Дуже чисті | Чисті | Забруднені | Брудні | Дуже брудні | |||
| Дуже чисті | Чисті | Досить чисті | Слабко забруднені | Помірно забруднені | Брудні | Дуже брудні | ||
| Трофність | Оліго-трофні | Мезотрофні | Евтрофні | Полі-трофні | Гіпер-трофні | |||
| Олігосапробні - олігомезотрофні | мезотрофні | мезоевтрофні | евтрофні | евполітрофні | політрофні | гіпертрофні | ||
| Сапробность | Олігосапробні | β-мезосапробні | α-мезосапробні | полісапробні | ||||
| β-олігосапробні | α-олігосапробні | β' -мезосапробні | β"-мезосапробні | α'-мезосапробні | α"-мезосапробні | полісапробні | ||
РОЗДІЛ 4 Системи водовідведення
Система водовідведення, названа ще каналізаційною системою, включає наступні основні елементи: внутрішні водовідвідні системи в житлових будинках або виробничих приміщеннях; внутрішньоквартальні або внутрішньомайданчикові водовідвідні мережі; зовнішні (позаплощадкові) водовідвідні мережі; регулюючі резервуари; насосні станції і напірні трубопроводи; очисні споруди; випуски очищених стічних вод у водні об'єкти; аварійні випуски стічних вод у водні об'єкти. Водовідвідні системи поділяються на загальсплавні, роздільні і комбіновані. У свою чергу роздільні системи поділяються на повні роздільні, неповні роздільні і напівроздільні.
Загальносплавна система водовідведення має одну водовідвідну мережу, призначену для відводу стічних вод усіх категорій: господарсько-побутових, виробничих і дощових (мал. 6). По довжині головного колектора загальносплавної системи можуть влаштовуватися ливньовипуски для безпосереднього скидання в річку частини стоку, що пропускається по системі водовідведення. Це проводиться з метою зменшення розмірів і кількості колекторів у кінцевій частині системи і відповідного її здешевлення.

Рис. 6. Загальнозливна схема водовідведення:
РНС - районна насосна станція; ГНС - головна насосна станція; ОС - очисні споруди; ПП - промислове підприємство
1 - границя міста; 2 - зовнішня (зовнішня) водовідвідна мережа трубопроводів; 3 - ливньовипуски; 4 - дюкер; 5 - напірні трубопроводи; 6 - випуск очищених стічних вод; 7 - лінії вододілів
Ливньовипуски облаштовуються таким чином, щоб виключити можливість переповнення головного колектора під час сильного дощу. Конструкція і розміщення ливньовипусків забезпечують включення їх у роботу, тобто скидання вод у річку, не раніше, ніж через 30 хвилин після початку інтенсивної зливи. За цей час найбільш забруднена частина поверхневого стоку з міської території по загальносплавному колектору надходить на міські очисні споруди, а менш забруднена частина при наповненні головного колектора почне надходити безпосередньо в річку. Зрозуміло, що випуск неочищених стічних вод у річку зв'язаний з її можливим забрудненням. Тому розміри вихідних отворів ливньовипусків і відповідно витрата неочищених вод, що скидаються через них, визначаються виходячи з асимілюючої здатності водотоку. Застосування загальносплавної системи водовідведення доцільно при наявності в місті повноводної річки.
Повна роздільна система водовідведення має два або більше колекторів, призначених для окремого відводу стічних вод визначеної категорії (мал. 7).
Господарсько-побутові стічні води відводять на загально-міські очисні споруди, де проводять їх очищення до кондицій, що задовольняють умовам скидання у водні об'єкти. Очищення виробничих стічних вод здійснюють на спеціальних очисних спорудах даного промислового об'єкта або групи таких об'єктів. Після очищення виробничі стічні води можуть бути використані для технічного водопостачання, подані на загально-міські очисні споруди для доочищення або скинуті у водний об'єкт. Талі і дощові води по колектору зливової каналізації подаються на очищення і надалі використовуються для технічного водопостачання або скидаються у водні об'єкти.

Рис. 7. Повна роздільна система водоотведения:
а - без очищення поверхневого стоку; б і в - з очищенням поверхневого стоку відповідно на локальних і централізованих очисних спорудах;
ОСПВВ - очисніспорудипобутовихівиробничихвод; ОСПП - очисніспорудженняпромисловогопідприємства; ЛОСПС - локальніочисніспорудиповерхневогостоку; ЦОСПС - централізованіочисніспорудиповерхневогостоку; НС - насоснастанція;
1 - побутова мережа; 2 - зливна мережа; 3 - межа міста; 4 - виробнича мережа; 5 - межа промислового підприємства; 6 - повернення води на виробництво після очищення; 7 - подача води для доочищення на очисні споруди міста; 8 - подача очищених вод на промислове підприємство; 9 - напірні трубопроводи; 10 - випуск очищених виробничих стічних вод у водойму; 11 - розділові камери; 12 - регулюючий резервуар
Неповна роздільна система водовідведення передбачає відвід господарсько-побутових і виробничих стічних вод по єдиному колектору. Відвід дощових вод проводиться окремо по колекторах, лотках або канавах. Як правило, неповна роздільна система використовується для невеликих об'єктів водовідведення і є первісним етапом створення повної роздільної системи.
Напівроздільна система водовідведення передбачає відвід суміші господарсько-побутових і виробничих стічних вод по одному загальному колектору, а дощових вод - по іншому. Дощові і виробничо-побутові колектори по трасі водовідведення перетинаються (мал. 8). У місці перетину встановлюються розділові камери, за допомогою яких дощовий стік цілком або частково з дощового колектора попадає в головний. При порівняно малих витратах дощових вод вони повнястю надходять у головний колектор. При великих витратах дощових вод у головний колектор надходить лише частина дощового стоку, що протікає по нижній (донній) частині дощового колектора. Це найбільш забруднена частина дощового стоку, що відводиться з прилягаючої території в початковий період дощу, коли відбувається змив основної маси забруднюючих речовин. Поступаюча в наступний період менш забруднена частина дощового стоку через розподільну камеру відводиться у водний об'єкт без очищення. У суміші з дощовими водами частково скидаються і стічні води.

Рис. 8. Напівроздільна система водовідведення:
1 - виробничо-побутова мережа; 2 - зливна мережа; 3 - промислове підприємство; 4 - роздільні камери
Комбінована система водовідведення являє собою сукупність загально-сплавної системи з повної роздільної. Така система формується в міру розвитку і реконструкції каналізаційної мережі міста. У старій частині міста може функціонувати загально-сплавна система водовідведення, а в районах новобудов створюється повна роздільна система.
ВИСНОВКИ
До водних об'єктів, розташованим у міській рисі, відносяться водотоки, водойми, моря, підземні води.Забір води з поверхневих водних об'єктів у межах міської зони здійснюється, як правило, для технічного водопостачання, поливання міських територій і пожежегасіння.Для централізованого водопостачання міст використовують водні об'єкти, що відповідають нормам і вимогам до джерел господарсько-питного водопостачання і, що знаходяться на екологічно благополучних територіях. Контроль якості води джерел централізованого господарсько-питного водопостачання здійснюється щодня місцевою санепідемслужбою і підприємством, що експлуатує водозабірні споруди. Крім централізованого водопостачання в місті може бути і децентралізоване.
До основних фізичних показників якості води відносяться: температура, запах, прозорість, кольоровість, вміст зважених речовин. Бактеріологічні показники характеризують забруднення води патогенними мікроорганізмами. Гідробіологічні показники дають можливість оцінити якість води за тваринними організмами і рослинністю водойм. Фізичні, бактеріологічні і гідробіологічні показники відносять до загальних показників якості води. Хімічні показники можуть бути загальними і специфічними. До числа загальних хімічних показників якості води відносять: розчинений кисень, ХСК, БСК, рН, макроелементи. До найбільш часто зустрічаючихся специфічних показників якості води відносяться: феноли, нафтопродукти, ПАР, СПАР, пестициди, важкі метали.
Діючі нормативи дозволяють оцінити якість води, використовуваної для комунально-побутового, господарсько-питного і рыбо-хозяйственного водокористування.
Система водовідведення, названа ще каналізаційною системою, включає наступні основні елементи: внутрішні водовідвідні системи в житлових будинках або виробничих приміщеннях; внутрішньоквартальні або внутрішньомайданчикові водовідвідні мережі; зовнішні (позаплощадкові) водовідвідні мережі; регулюючі резервуари; насосні станції і напірні трубопроводи; очисні споруди; випуски очищених стічних вод у водні об'єкти; аварійні випуски стічних вод у водні об'єкти.
Скидання стічних вод у водні об'єкти в межах міської зони, відповідно до законодавства, заборонений. Наявні в окремих містах такі скидання сьогодні поступово ліквідуються. Стічні води відводяться на загальміські очисні споруди, скиди з яких у річку розташовані за межами міста. У випадку скидання стічних вод у міські річки склад вод у місці випуску повинен відповідати якості води водних об'єктів комунально-побутового водокористування.
Відходи життєдіяльності людини, вода, використана для побутових потреб і в технологічних процесах, а також дощові і поталі води з міської території відводяться через систему водовідведення і подаються на загальміські очисні споруди. При відсутності або перевантаженні міських очисних споруд у водні об'єкти вимушено скидаються неочищені або недостатньо очищені стічні води, що приводить до забруднення водного об'єкта на значній ділянці. При обмеженій продуктивності міських очисних споруд дощові і поталі води частково або цілком скидаються у водні об'єкти без очищення, разом з ними може скидатися і частина загальміських стічних вод.
Раціональне водовикористання передбачає на меті використання води в замкнених системах, які виключають скидання стічних вод. Для подолання наростаючого дефіциту водних ресурсів, а також з метою зменшення плати за забір води створюються замкнуті системи водного господарства промислових вузлів і територіально-промислових комплексів.
СПИСОК ВИКОРИСТАНИХ ДЖЕРЕЛ
1. Білявський Г.О. та інші. Основи екологічних знань: Навч. посібник. – К.: Либідь, 2002. – 346 с.
2. Боков ВЛ., Лущик А.В. Основы экологической безопасности. - Симферополь: Сонат, 1998. - 224 с.
3. Гінсірук С.А. Регіональне природокористування: Навч. посібник. – К., 1990.
4. Голубець М.А., Кучерявий В.П., Генсірук С.А. та ін. Конспект лекцій з курсу "Екологія і охорона природи". К., 1990.
5. Джигирей В.С. Екологія та охорона навколишнього природного середовища. – К.: Т-во „Знання”, КОО, 2000. – 203 с.
6. Загальна гідрологія. / За ред. Лисогора С.М. – К.: Фітосоціоцентр, 2000. – 264 с.
7. Злобін Ю.А. Основи екології. – К.: Лібра, 1998. – 246 с.
8. Злобін Ю.Л. Основи екології. - К.: Лібра, 1998. - 248 с.
9. Каракаша ИМ. Экологическое право Украины. - Одесса: Латстар, 2001. - 478 с.
10. Крисаченко В.С. Екологічна культура: теорія і практика. - К.: Заповіт, 1996. - 108 с.
11. Кучерявий В.П. Екологія. – Львів: Світ, 2001. – 500 с.
12. Мазур И.И., Молдованов О.И. Курс инженерной экологии. - М.: Высшая школа, 1999. - 447 с.
13. Масюк Н.Т. Введение в сельскохозяйственную экологию. - Днепропетровск, 1989. - 192 с.
14. Миркин Б.М., Наумова Л.Г. Экология. - Уфа: Восточный университет, 1998. - 256 с.
15. Никаноров А.М., Хоружая Т.А. Экология. – М.: ПРИОР, 2000. – 304 с.
16. Романенко В.Д. Основи гідроекології. – К.: Обереги, 2001. – 728 с.
17. Степановских А.С. Экология. - М.: ЮНИТИ, 2001. - 703 с.
18. Экология города: Учебник. / Под ред. Ф.В.Стромберга. – К.: Либра, 2000. – 464 с.