| Скачать .docx | Скачать .pdf |
Курсовая работа: Методы очистки отходящих газов и выбросов при производстве кормовых дрожжей
С одержание
Введение1. Общая характеристика методов очистки воздуха2. Кормовые дрожжи3. Характеристика производства кормовых дрожжей3.1 Подготовка и приготовление питательных растворов3.2 Приготовление растворов питательных солей 3.3 Подготовка кукурузного экстракта3.4 Режимы подачи питательных растворов в дрожжерастительный аппарат
3.5 Аэрация среды3.6 Технологическая схема выращивания дрожжей3.7 Производство маточных дрожжей3.8 Производство товарных дрожжей3.9 Хранение и транспортировка дрожжей4. Циклоны4.1 Общая характеристика4.2 Циклоны ЦН – 15У4.3 Расчет циклона
ЗаключениеИспользованная литератураВ ведение Научно-техническая революция и бурный рост промышленного производства в ХХ - веке способствовали не только росту благосостояния человека, но и отрицательно сказались на состоянии окружающей среды в ряде регионов нашей планеты. Ухудшение состояния окружающей природной среды обусловлено, в основном, образом жизни современного человека. Действие человека как экологического фактора в природе огромно и чрезвычайно многообразно. В настоящее время ни один из экологических факторов не оказывает столь существенного и всеобщего, то есть планетарного, влияния, как человек, хотя это наиболее молодой фактор из всех действующих на природе. Поэтому охрана природы, рациональное использование природных ресурсов - важнейшие проблемы современности, от решения которых зависит здоровье и благосостояние нынешних и будущих поколений. Постоянно усиливающееся загрязнение атмосферы связано с интенсивным развитием промышленности и энергетических производств, сопровождающимся все возрастающими объемами расходования невосполнимых природных ресурсов. Одной из важнейших проблем при охране окружающей среды является защита воздушного бассейна от чрезмерных загрязнений. Следовательно, развитие новых технологических процессов должно быть сбалансировано с разработкой технологии и аппаратуры, предотвращающих выбросы в атмосферу либо ограничивающих их до допустимых уровней.Поэтому целью настоящей курсовой работы является изучить методы очистки отходящих газов и выбросов, а также рассчитать циклон для очистки воздуха от дрожжевой пыли.
1.Общая характеристика методов очистки воздуха
Методы улавливания пыли
Методы очистки по их основному принципу можно разделить на механическую очистку, электростатическую очистку и очистку с помощью звуковой и ультразвуковой коагуляции.
Механическая очистка газов включает сухие и мокрые методы.
К сухим методам относятся: гравитационное осаждение; инерционное и центробежное пылеулавливание; фильтрация.
Гравитационное осаждение основано на осаждении взвешенных частиц под действием силы тяжести при движении запыленного газа с малой скоростью без изменения направления потока. Процесс проводят в отстойных газоходах и пылеосадительных камерах. Для уменьшения высоты осаждения частиц в осадительных камерах установлено на расстоянии 40–100 мм множество горизонтальных полок, разбивающих газовый поток на плоские струи. Степень очистки воздуха в пылеосадочных камерах не превышает 50–60 %. Это устройство может применяться лишь для предварительной очистки. Для осаждения взрыво- и пожароопасной пыли устройство пылеосадочных камер не допускается.
Инерционное осаждение основано на стремлении взвешенных частиц сохранять первоначальное направление движения при изменении направления газового потока. Частицы пыли с d < 20 мкм в жалюзийных аппаратах не улавливаются. Степень очистки в зависимости от дисперсности частиц составляет 20-95%. Инерционный метод можно применять лишь для грубой очистки газа.
Центробежные методы основаны на действии центробежной силы, возникающей при вращении очищаемого газового потока в очистном аппарате или при вращении частей самого аппарата. В качестве центробежных аппаратов пылеочистки применяют циклоны различных типов: батарейные циклоны, вращающиеся пылеуловители (ротоклоны) и др. Циклоны характеризуются высокой производительностью по газу, простотой устройства, надежностью в работе. Степень очистки от пыли зависит от размеров частиц. Для циклонов высокой производительности, в частности батарейных циклонов, степень очистки составляет около 90% при диаметре частиц d > 30 мкм. Для частиц с d = 5¸30 мкм степень очистки снижается до 80%, а при d = 2¸5 мкм она составляет менее 40%. Циклоны широко применяют при грубой и средней очистке газа от аэрозолей.
Фильтрация основана на прохождении очищаемого газа через различные фильтрующие ткани (хлопок, шерсть, химические волокна, стекловолокно и др.) или через другие фильтрующие материалы (керамика, металлокерамика, пористые перегородки из пластмассы и др.). По мере накопления в фильтрующем слое задержанных частиц режим фильтрации меняется. Для поддержания его в требуемых пределах производят регенерацию фильтра, которая заключается в периодическом или систематическом удалении задержанных частиц. Большинство фильтров обладает высокой эффективностью очистки. В зависимости от фильтрующего материала различают тканевые фильтры (в том числе рукавные), волокнистые, из зернистых материалов (керамика, металлокерамика, пористые пластмассы).
Мокрая очистка газов от аэрозолей основана на промывке газа жидкостью (обычной водой) при возможно более развитой поверхности контакта жидкости с частицами аэрозоля и возможно более интенсивном перемешивании очищаемого газа с жидкостью. Этот универсальный метод очистки газов от частиц пыли, дыма и тумана любых размеров является наиболее распространенным приемом заключительной стадии механической очистки, в особенности для газов, подлежащих охлаждению. К аппаратам мокрой очистки относятся насадочные и центробежные скрубберы, пенные аппараты, скрубберы Вентури.
Улавливание пыли в электрофильтрах основано на известной способности разноименно заряженных тел притягиваться друг к другу. Пылевидным частицам сначала сообщается электрический заряд, после чего они осаждаются на противоположно заряженном электроде. Когда в межэлектродном пространстве проходит газ со взвешенными пылевидными частицами, ионы газа адсорбируются на поверхности пылинок, вследствие чего пылинки заряжаются и приобретают способность перемещаться под воздействием электрического поля к осадительным электродам. Осевшую на электродах пыль периодически удаляют.
Звуковая и ультразвуковая коагуляция , а также предварительная электризация пока мало применяются в промышленности и находятся в основном в стадии разработки. Они основаны на укрупнении аэрозольных частиц, облегчающем их улавливание традиционными методами. Аппаратура звуковой коагуляции состоит из генератора звука, коагуляционной камеры и осадителя.
2. Кормовые дрожжи
Сырьевая основа животноводства – кормопроизводство, использующее дефицитные высокобелковые кормовые культуры, зернофуражи. Существенным вкладом в решение белковой и «витаминной» проблем сбалансированности кормов для животноводства является использование в кормопроизводстве в качестве белково-витаминной добавки кормового микробиологического белка.
Кормовые дрожжи – ценный белково-витаминный корм для всех видов сельскохозяйственных животных. Для их производства используют дрожжи видов Torula utilis, Monilia murmanica и др. Выращивают их на отходах древесины, кукурузных кочерыжках, лузге подсолнечника, соломе, камыше, на отходах сульфитно-целлюлозного и спиртового производства и т.д. Химический состав сухих кормовых дрожжей (%): воды – 9,7, протеина – 45,6, жира – 1,5, клетчатки – 0,2, безазотистых экстрактивных веществ – 35,2, золы – 7,8. В 100 кг корма – 113,7 кормовых единиц и 42,4кг перевариваемого протеина. Белок отличается высокой переваримостью и биологической полноценностью (содержит все незаменимые аминокислоты). В кормовых дрожжах содержатся витамины группы В, провитамин D2 (эргостерин), минеральные вещества, разнообразные ферменты, гормоны, способствующие усвоению белков и углеводов. Кормовые дрожжи используют в качестве белково-витаминной добавки к рациону. При скармливании их ускоряется развитие животных, повышается их продуктивность. Нормы скармливания дрожжей на голову в сутки (г): взрослому крупному рогатому скоту – до 500, телятам – 200—300, свиноматкам – 200—400, овцам – до 50, лошадям – 400—500, взрослой птице – 5, цыплятам – 2. Избыток кормовых дрожжей против нормы не даёт положительных результатов. Скармливают дрожжи с концентрированными кормами или в составе комбикормов.
Основным сырьем для производства кормовых дрожжей служит меласса – отход свеклосахарного производства – кормовая или черная патока. Состав мелассы непостоянен, и не всякая меласса пригодна для производства дрожжей.
Следовательно, основным условием рентабельности производства является тщательный отбор поставщиков, своевременная заготовка мелассы осенней переработки и соблюдение условий ее хранения на дрожжевом заводе.
Действующие заводы белково-витаминных концентратов (БВК) имеют два основных выбрасываемых материальных потока: газовоздушные выбросы и стоки с очистных сооружений. Если для жидкостных сбросов действуют общепринятые нормы ПДК для сбросов воды в открытые водоемы, то для газовоздушных выбросов, учитывая специфичность действия белковой пыли БВК как белкового аллергена, установлены жесткие нормы на содержание микробиологического белка в атмосфере: в селитебной (жилой) зоне — 0,001 мг/м3 , в рабочей зоне предприятия 0,1 мг/м3 .
3. Характеристика производства кормовых дрожжей
3.1 Подготовка и приготовление питательных растворов
Состав мелассы непостоянен. Он меняется не только в разные периоды сахарного производства, но даже в течение суток.
В хранилищах меласса располагается пластами и очень медленно диффундирует в слои соседних пластов. Для эффективной переработки ее необходимо тщательно перемешивать до получения гомогенной массы.
Гомогенизацию производят непосредственно в хранилищах путем многократного перекачивания с подачей в разные места резервуара в течение 2-3 недель либо перемешивания сжатым воздухом, постоянно продуваемым со скоростью 20-30 м3 /ч.
В результате осветления должны быть получены растворы мелассы с устойчивой прозрачностью: в течение 4х часов не должен выпадать осадок, допустима лишь легкая опалесценция. Осветление мелассы строго обязательно. На неосветленном сусле независимо от степени его подкисления дрожжи получают с пониженными выходом, стойкостью и подъемной силой по сравнению с таковыми показателями дрожжей, полученных на осветленном сусле.
Кроме того, возникает постоянная опасность инфекции, которая влечет за собой нарушение производственного режима и всех показателей работы предприятия.
Все способы осветления складываются из химической обработки мелассы (растворение, антисептирование, подкисление) и выделения осадка декантацией, центрифугированием или фильтрованием.
3.2 Приготовление растворов питательных солей
Водная вытяжка суперфосфата.
В чан с мешалкой и барботером, изготовленных из антикоррозионных материалов, набирают воду и при перемешивании небольшими порциями всыпают суперфосфат. Смесь подогревают открытым паром до 45-50 0 С, перемешивают в течение 5-6 ч, останавливают мешалку и оставляют в покое на 10-12 ч. Осветленный раствор декантируют и направляют в приточные чаны одновременно с мелассой либо в специальные сборники для дозирования непосредственно в дрожжерастильный аппарат.
Растворы сульфата аммония, диаммонийфосфата и сернокислого магния.
Эти растворы готовят раздельно на суточную или сменную потребность. Резервуары для растворения должны быть изготовлены из кислотоупорных материалов и снабжены мешалками. Соль дозируют из расчета 100 или 200 кг на 1м3 раствора, перемешивают в течение 30 мин, оставляют в покое на 3-4 ч для осаждения взвеси и декантируют в мерники для подачи в дрожжерастильный аппарат. Раствор диаммонийфосфата готовят при рН 6,0-6,5. Подкисляют воду серной кислотой до засыпки диаммонийфосфата.
Растворы аммиачной воды.
Данные растворы разбавляют до получения концентрации азота, эквивалентной раствору сульфата аммония.
Раствор хлористого калия (хлорида калия).
Его можно растворять и дозировать вместе с мелассой или давать непосредственно в дрожжерастильный аппарат в виде 10-20%-ного раствора при складке и в период отборов.
3.3 Подготовка кукурузного экстракта
Экстракт обильно обсеменен бактериальной микрофлорой и перед подачей в дрожжерастильный аппарат требует тщательного антисептирования. С этой целью экстракт разводят водой в соотношении 1:1, нагревают до 100 0 С, затем охлаждают либо без нагревания обрабатывают биомицином.
Рекомендован также способ пастеризации экстракта с фуразолидоном, разработанный ЛО ВНИИХПа. Водную суспензию препарата вносят в кукурузный экстракт из расчета 0,01 % к объему последнего (0,1 кг/м3 ), тщательно перемешивают, нагревают до 85 0 С, выдерживают от 3 до 10 мин (в зависимости от микрообсемененности) и охлаждают. Воздействие антимикробного препарата наряду с пастеризацией обеспечивает надежное антисептирование экстракта.
3.4 Режимы подачи питательных растворов в дрожжерастительный аппарат
Режим подачи раствора мелассы. Подача питания в период складки должна производится с учетом максимальной эффективности ответственных технологических процессов, происходящих в клетке в период лаг – фазы.
Порцию мелассы на складку можно давать в один прием и в последующий час больше не добавлять либо разделить ее пополам и вторую половину давать притоком в течение первого часа. С начала второго часа процесса мелассу дозируют притоком в количествах, соответствующих темпу накопления биомассы.
Режим подачи ростовых веществ. Источники ростовых веществ добавляют в дрожжерастирательный аппарат при складке и периодически при отборах.
Дозировка кукурузного экстракта составляет 6 – 8% к массе мелассы в зависимости от содержания биотина в мелассе и кукурузном экстракте.
Если завод располагает возможностью использовать кристаллический биотин или дестиобиотин, препараты добавляются из расчета восполнения недостатка биотина в мелассе с доведением его содержания до 200 –250 мг/т мелассы.
Добавление ростовых веществ к мелассам, содержащим достаточное количество биотина, нерентабельно, оно не дает повышения выхода дрожжей.
Режим подачи питательных солей. Фосфорсодержащие соли задают в начале складки в воду, пред подачей маточных дрожжей. Соли кльция и магния дают вместе с фосфором. Эти компоненты усваиваются дрожжами по мере надобности, а их избыток не сказывается на процессе. Дозировка их при складке способствует также выравниванию осмотического давления в среде в начале цикла.
Азот следует дозировать в среду в количествах, соответствующих приросту биомасс дрожжей, следовательно, по графику притока мелассы. Такая подача азотсодержащих солей способствует также ритмичному усвоению аминного азота и нормализации рН среды. На стадии отборов все соли дозируют ежечасно.
3.5 Аэрация среды
Аэрация преследует следующие цели: непрерывное снабжение клеток кислородом, удаление образующегося диоксида углерода, быструю доставку к клеткам добавляемых питательных веществ и поддержание дрожжевых клеток во взвешенном состоянии. Подача воздуха в аппарат должна находиться в соответствии с подачей сахара и ожидаемой скоростью размножения дрожжей. Нарушение режима аэрации резко меняет ход дрожжерастительного процесса: при недостатке воздуха наступает перестройка дрожжевых клеток в сторону анаэробного обмена, при этом увеличивается образование спирта и других побочных продуктов. Выход биомассы резко падает. При избытке кислорода темп размножения клеток начинает уменьшаться, а выход снижается в связи с увеличением расхода сахара на образование диоксида углерода. Коэффициент использования воздуха тем выше, чем выше столб жидкости в аппарате, меньше диаметр пузырьков воздуха, выше турбулентность среды, меньше объем неаэрируемой зоны в аппарате, ниже температура среды. Мощность воздуходувных машин относят к основным факторам, определяющим мощность дрожжевых заводов. Неправильное расходование и потери сжатого воздуха резко снижают коэффициент использования мощности предприятия. За состоянием воздухораспределительных систем должен осуществляться повседневный надзор, должны быть выделены специальные лица, обязанные проверять состояние этих систем и выполнять необходимый ремонт после каждого освобождения аппарата. Перед началом нового цикла состояние воздухораспределительных систем проверяют руководители смен или другие ответственные лица. Без такой проверки аппарат не должен включаться в работу. На мощность воздуходувных машин и конечное давление оказывает влияние изменение температуры всасываемого воздуха в связи с изменением его плотности. Поэтому в летнее время аэрация среды может оказаться недостаточной. Изменение относительной влажности входящего воздуха сказывается на температуре культуральных сред в дрожжерастительных аппаратах: с повышением относительной влажности наружного воздуха температура в аппаратах возрастает, с понижением – падает. Это объясняется колебаниями затрат тепла на испарение воды, насыщающей воздух при прохождении его через жидкость. Чтобы избежать нарушения температурного режима в аппарате при повышении влажности наружного воздуха, особенно при высоких его температурах, необходим запас мощности охлаждающих систем дрожжерастительного аппарата.
3.6 Технологическая схема выращивания дрожжей
Все существующие схемы предусматривают постоянное наращивание биомассы. Процесс обычно ведется в три генерации:
1) генерация А – маточные дрожжи чистой (ЧК) и естественно чистой культуры (ЕЧК);
2) генерация Б – засевные дрожжи;
3) генерация В – товарные дрожжи.
В дрожжевой промышленности действует несколько схем выращивания дрожжей. Различия между ними заключаются в периодичности или непрерывности процессов, кратности разбавления сырья, количестве стадий, скорости роста, уровне технологических параметров (температура, рН, величина засевов) и др.
Одна из схем разработана Е.А. Плевако. Она предусматривает получение маточных и засевных дрожжей периодическим способом, а товарных - в две фазы. Первая фаза, называемая накопительной преследует цель вырастить в аппарате (генераторе) «рабочую массу» дрожжей с высокой генеративной активностью, способную ежечасно давать прирост, соответствующий производственному графику. Подача питательной среды соответствует ожидаемому приросту биомассы.
Вторая фаза предусматривает непрерывный рост культуры и отток прироста в отборочный аппарат. В нем дрожжи дозревают в течение 1 ч и направляются в сепараторы. Для нормального дозревания необходимо установить два отборочных аппарата, работающих попеременно.
Непрерывный цикл длится 10 – 14 ч, затем приток питания прекращается, дрожжи в генераторе дозревают и направляются на сепараторы.
Основные показатели схемы: кратность разбавления, удельная скорость роста 0,16, температура среды 300 С, рН 4,5 – 5,5.
Модернизированный режим ВНИИХПа предусматривает охлаждение технологической воды до 3- 50 С и подачу ее в аппарат синхронно с притоком мелассового сусла. При этом резко снижается расход воды и стабилизируется температурный режим.
На многих заводах стабильность процесса отборов достигается оттоком среды из генератора снизу и подачей ее в отборный аппарат на высоту уровня жидкости в генераторе, количество отбираемой жидкости регулируется притоком воды в генератор по установленной программе.
Существенным недостатком такого способа является непрерывное удаление из аппарата наиболее крупных клеток, обитающих в нижних слоях среды. Возгоняемые в пену дрожжевые грибки и мелкие клетки остается в нижних слоях среды. Более рациональным является отбор жидкости сверху в чересную трубу. При этом в поток отбираемой жидкости вовлекается пена и значительная часть дрожжевой и бактериальной инфекции. Таким образом, непрерывно оздоровляется рабочая масса.
3.7 Производство маточных дрожжей
Маточные дрожжи должны обладать высокой генеративной активностью и представлять собой чистою культуру (ЧК) сахаромицетов без примеси посторонних дрожжевых грибов и бактерий.
Подъемная сила маточных дрожжей 35 – 40 мин, зимазная активность 30 – 40 мин, мальтазная 70 мин, осмочувствительная не более 29 мин, количество почкующихся клеток не более 10%.
Выращивание ЕЧК ведение в две производственные стадии по режиму. В качестве засевных служат дрожжи ЧК, предварительно обработанные серной кислотой или другими препаратами для очистки от инфекции. Питательные среды стерилизуют и соблюдают условия стерильности по всему технологическому циклу так же, как и для ЧК.
Дрожжи ЕЧК получают ежедневно, сепарируют и хранят в виде суспензий в специальных сборниках при температуре 4 – 60 С. Перед подачей на засев дрожжевое молоко тщательно перемешивают и дозируют по объему в зависимости от содержания в нем дрожжей. Чистую культуру получают с выходом дрожжей 35%, а естественно чистую – с выходом 50%.
Сепараторы предназначенные для маточных дрожжей устанавливаются вблизи дрожжерастирательного аппарата. Должна быть предусмотрена возможности тщательной дезинфекции всех коммуникаций и емкостей. По окончании брожения культурная среда должна без промедления подаваться на сепаратор, в аварийных случаях ее необходимо охладить до минимально возможной температуры.
Маточные дрожжи сепарируют по двухступенчатой схеме, желательно применять для промывки воду, охлажденную до 20 С, с тем чтобы концентрат после второй сепарации был охлажден до 80 С. Охлажденное молоко хранят в специально оборудованных сборниках.
Если дрожжи ЧК прессуют, то для их хранения должно быть отведено обособленное помещение в холодильной камере с ограниченным доступом людей.
3.8 Производство товарных дрожжей
Товарные дрожжи выращивают в одну или две стадии. В двухстадийных схемах первую стадию называют генерацией Б или стадией дрожжей, вторую – генерацией В или товарной стадией.
Генерация Б. Засевные дрожжи готовят по периодическим схемам с длительностью цикла 9 – 12 ч, засеивают дрожжами ЕЧК или ЧК. При передаче засевных дрожжей в товарную стадию без сепарирования дозревание нецелесообразно. Передача засева в активном состоянии снижает длительность лаг – фазы в товарном аппарате. Маточные дрожжи перед засевом антисептируют. Величину засева находят по таблице в зависимости от ожидаемой скорости роста.
Складку проводят придерживаясь оптимизированного режима или принятой на данном заводе технологической схемы. Питание подают из расчета полного обеспечения ожидаемого прироста биомассы всем необходимыми компонентами.
Длительность брожения должна обеспечивать достаточный разрыв во времени для мойки аппарата Б и всех коммуникаций. По окончании брожения дрожжи генерации Б немедленно передают для засева в товарный аппарат либо направляют на сепараторы и хранят в виде молока при температуре 2 – 80 С. Засевные дрожжи должны отвечать следующим требованиям: мальтазная активность 60 – 100 мин, зимазная – 40 –50 мин, содержание азота 2,0%, Р2О5 – 1%, клетки должны быть крупными, равномерными. Дрожжевая и бактериальная инфекция недопустимы.
Генерация В. при расчетах схем величины засева необходимо корректировать в соответствии с достоверной для данных условий скоростью роста. Складку аппарата проводят в соответствии с оптимизационным режимом либо пользуются типовым графиком, предусмотренным для данной схемы.
При работе по непрерывным схемам ВНИИХПа в период оттоков мелассы и соли подаются равномерно, соответственно ожидаемому почасовому накоплению дрожжей. Уровень жидкости и содержание дрожжей должны оставаться постоянными. Падение накопления, как и увеличение объема отбираемой среды, приводит к вымыванию основной массы дрожжей, дающей почасовой прирост.
Для эффективного ведения процесса по удлиненным режимам накопления дрожжей в основном этапе должно быть не ниже 49 – 50 г/л.
Дозревание дрожжей в отборочном аппарате длится около 1 ч, аэрация 15 – 25 м3 /ч на 1 м3 среды, температура 26 – 280 С.
3.9 Хранение и транспортировка дрожжей
Упакованная продукция передается в холодильную камеру, в которой температура воздуха должна находиться в пределах 0-4 0 С. Ящики укладывают на стеллажи в стопки с зазорами, обеспечивающими свободный доступ воздуха к упакованным дрожжам. Емкость камеры должна обеспечивать хранение дрожжей трехсуточной выработки завода. Норма нагрузки дрожжей на 1 м2 площади пола не выше 400 кг.
Предварительно охлажденные до 2-4 0 С дрожжи перевозят на дальние расстояния в изотермических вагонах или автомашинах-рефрижераторах при температуре 0-4 0 С. Допускается отправка мелких партий дрожжей багажом при сроке транспортировки не более суток.
4. Циклоны
4.1 Общая характеристика
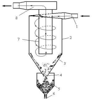
Циклоны наиболее часто применяют в промышленности для осаждения твердых аэрозолей. Циклоны можно использовать для очистки газа при высоких температурах и давлениях. Они не имеют движущихся частей, что повышает надежность в эксплуатации. Принцип работы циклона основан на создании вращательного движения запыленного газа, в котором возникают центробежные силы, действующие на частицы пыли по направлению к стенкам циклона. Запыленный воздух поступает в циклон через патрубок 1, очищенный – удаляется через выхлопную трубу 7 и улитку 8. Газовый поток подается в цилиндрическую часть циклона 2 тангенциально, описывает спираль по направлению к дну конической части 3 и затем устремляется вверх через турбулизованное ядро потока у оси циклона на выход. Крупные пылевые частицы (более 100 мкм) под действием центробежных сил движутся у стенок корпуса, а мелкие частицы (менее 10 мкм) – на некотором расстоянии от стенок. Достигнув уровня прорезей в стенках корпуса, крупные пылевые частицы с частью воздуха удаляются из корпуса через отверстия 4 в пылесборник 5. Здесь происходит сепарация частиц, и они через патрубок 6 удаляются. Мелкие пылевые частицы продолжают движение в составе воздушного потока в корпусе циклона, а затем в пылесборнике. Мелкие частицы совместно с крупными покидают аппарат через пылевыпускной патрубок. Воздушный поток через выхлопную трубу выходит из аппарата.
Широкое использование циклонов объясняется простотой их конструкции, надежностью в эксплуатации, сравнительно небольшими материальными затратами на изготовление и эксплуатацию.
|
|
Наибольшее распространение в технике получили циклоны с изменением основного направления потока газа, называемые противоточными.
Вследствие интенсивного вращения газа в корпусе циклона статическое давление понижается от его периферии к центру. Такая же картина наблюдается и в пылесборном бункере. Отсюда следует, что герметичность бункера должна быть полностью обеспечена не только при установке циклона на всасывающей, но и на нагнетающей стороне вентилятора. Несоблюдение этого условия приводит к резкому снижению пылеотделения в циклоне и даже полному его нарушению.
Своеобразный смерч, образующийся в циклоне, пятой опирается в дно пылесборного бункера. При этом в центре смерча винтообразное движение газа направлено вверх. Нарушение вращательного движения газа в бункере неизбежно приводит к заметному снижению степени очистки. В частности, именно поэтому степень очистки в группе циклонов с общим бункером несколько ниже, чем в одиночном циклоне.
В отечественной пылеочистной технике применяются различные типы циклонов одного назначения. Причиной такого чрезмерного разнообразия является то обстоятельство, что разработкой этих устройств на протяжении десятилетий занималось множество организаций, не координировавших свою деятельность. Несмотря на большое число статей, посвященных результатам испытания циклонов, не представляется возможным сравнить их эффективность, в первую очередь из-за отсутствия сведений о дисперсном составе пыли и о методе дисперсного анализа. В то же время доказано, что результаты определения дисперсного состава пыли различными методами не совпадают, а способов их пересчета не существует.
4.2 Циклоны ЦН-15У Циклоны ЦН–15У предназначены для сухой очистки газов от невзрывоопасной и неслипающейся пыли. Эти циклоны применяют для очистки воздуха в различных отраслях промышленности. При использовании циклонов для очистки газа или воздуха, содержащую абразивную пыль, рекомендуется предусматривать в местах, подвергающихся износу, приварку стальных дополнительных листов с наружной стороны. Циклоны устанавливают как на всасывающей, так и на нагнетательной стороне вентилятора. При абразивной пыли циклоны рекомендуется ставить перед вентилятором. Циклоны ЦН-15У отличаются от других циклонов ЦН меньшей высотой.4.3 Расчет циклона
Исходные данные:Вид пыли – дрожжевая (кормовые дрожжи).1) количество очищаемого газа при рабочих условиях Qр = 13800 м3 /ч = 3,834 м3 /с; 2) плотность газа при рабочих условиях ρг = 1,3 кг/м3 ;3) динамическая вязкость газа при рабочей температуре μt = 22,2*10-6 Па·с;4) дисперсный состав пыли, задаваемый двумя параметрами dm = 5мкм и lgσч = 0,352;5) запыленность газа Свх = 23 г/м3 ;6) плотность частиц ρч = 1340 кг/м3 ;7) требуемая эффективность очистки газа η = 70 %.Расчет циклонов производится методом последовательных приближений в следующем порядке (по «Справочнику по пыле- и золоулавливанию» под общ. ред. Русанова А.А.).1. Задавшись типом циклона (ЦН-15У), по таблице 2.8 определяем оптимальную скорость газа в аппарате ωопт = 3,5 м/с.2. Определяем необходимую площадь сечения циклона, м2 :6. Определяем потери давления в циклоне, Па:
![]()
7. Приняв по таблице 2.8 два параметра, характеризующих эффективность выбранного типа циклона, определяем значение параметра d50 при рабочих условиях (диаметр циклона, скорость потока, плотность пыли, динамическая вязкость газа) по уравнению:

8. Определяем параметр Х по формуле:

9. Определяем по таблице 1.11 значение Ф(Х), представляющее собой полный коэффициент очистки газа, выраженный в долях:
Ф (-0,21) = 0,4207
10. Фактическая степень очистки, %:
![]()
Для ориентировочных расчетов необходимо значение
используется следующая зависимость:

где индекс 1 – относится к расчетным, а индекс 2 – к требуемым значениям параметров циклона.
Для проектирования и построения циклоны необходимы размеры. Для получения размеров используем табл. 2.1 “Соотношение размеров (в долях внутреннего диаметра)”, мм:
Внутренний диаметр выхлопной трубы d- 472;
Внутренний диаметр пылевыпускного отверстия d1 – 240;
Ширины входного патрубка в циклоне на входе (внутренний размер) b1 – 160;
Длина входного патрубка l – 480;
Диаметр средней линии циклона Dср – 640;
Высота установки фланца hфл – 80;
Угол наклона крышки и входного патрубка циклона α - 150 ;
Высота входного патрубка а – 528;
Высота выхлопной трубы hт – 1200;
Высота цилиндрической части циклона Hц – 1208;
Высота конуса циклона Hк – 1200;
Высота внешней части выхлопной трубы hв - 240;
Общая высота циклона H – 2648.
З аключение
За последние сто лет засорение окружающей среды усилилось разными выбросами. За это время в атмосферу Земли попало, по подсчетам ученых, более миллиона тонн кремния, полтора миллиона мышьяка, около миллиона тонн кобальта. Еще более было выброшено пыли, сажи, копоти, оксидов азота, углерода и серы.
Надо иметь в виду то, что где бы на Земле ни происходили выбросы пыли, сажи, газов, поднимаясь в атмосферу и тропосферу, они распространяются затем по всей оболочке земного шара. Их влияние двояко и имеет глобальные последствия.
Поэтому во все более широких масштабах проводится строительство разного рода очистных сооружений, уменьшающих выбросы в атмосферу.
За 2004г доля выбросов пищевой промышленности составляет 1,5% от общего объема выбросов промышленных предприятий Республики Татарстан. Общее количество предприятий пищевой промышленности Республики Татарстан равна 2477 единиц, оснащенных газоочистными установками (ГОУ) - 1501. Благодаря введению на предприятиях республики ГОУ наблюдается снижение количества выбросов загрязняющих веществ в атмосферу: 8, 083 т/год – 2001г, 3,894 т/год – 2004г. Уловлено и обезврежено вредных веществ 61%. Поэтому для очистки отходящих газов цеха по производству дрожжей было решено внедрить циклон. Для этих целей по исходным данным подобрала тип циклона (ЦН – 15У), рассчитала его основные характеристики и фактическую степень очистки, которая составила 71,05%.
Использованная литература
1. Андреев А.Г. Технология производства кормов – М., 1992
2. Алиев Г.М. Техника пылеулавливания и очистка промышленных газов.
3. Назаров Н.И. Технология и оборудование пищевых производств – М.: Пищевая промышленность, 1977
4. Новаковская С.С., Шишацкий Ю.И. Справочник по производству хлебопекарных дрожжей – М.: Пищевая промышленность, 1980
5. Справочник по пыле- и золоулавливанию / Под общей редакцией Русанова А.А. – 2-е изд. – М.: Энергоатомиздат, 1983
6. Тимонин А.С. Инженерно-экологический справочник. Учебное пособие в 3х томах – Калуга: Изд-во Бочкаревой, 2003