| Скачать .docx | Скачать .pdf |
Реферат: Альтернативные источники энергии. (Грани нетрадиционной энергетики.)
КАЛИНИНГРАДСКИЙ ГОСУДАРСТВЕННЫЙ ТЕХНИЧЕСКИЙ УНИВЕРСИТЕТ
Кафедра СУ и ВТ
“Грани нетрадиционной энергетики”
Реферат по дисциплине:
“Экология”
Р а б о т у проверил Р а б о т у выполнил
студент гр. 95-ВТ-1
Разуваев В.А.
Дата:________________ Дата:________________
Подпись:_____________ Подпись:_____________
Калининград 1997
Содержание:
стр.:
1. Введение:
1.1. Грани нетрадиционной энергетики ............................................3
2. Грани солнечной энергетики:
2.1. Фотонный кнут...............................................................................4
2.2. Лучше дешевле и эффективней.....................................................4
2.3. Когда посредники не нужны........................................................7
2.4. Промышленный фотосинтез.........................................................8
2.5. Электростанции на орбите, а еще лучше на луне !!!..................9
3. Ветроэнергетика:
3.1. Пожиратель ветра........................................................................12
“Нетрадиционая энергетика” нетрадиционна потому, что невезде ещё у нас есть традиця – беречь родную пррироду. Разуваев В.А. |
Грани нетрадиционной энергетики.
Ученые предостерегают: разведанных запасов органического топлива при нынешних темпах роста энергопотребления хватит всего на 70-130 лет. Конечно, можно перейти и на другие невозобновляемые источники энергии. Например, ученые уже многие годы пытаются освоить управляемый термоядерный синтез...
Но даже в том случае, если на Земле будут открыты практически неисчерпаемые сырьевые ресурсы, не удастся избежать экологической беды. Лет через 100 на нашей планете будет вырабатываться 1 % энергии, которую она получает от Солнца - 1.5 х 10 24 Дж в год. Этот рубеж не следует переходить. Иначе начнётся таяние полярных льдов, катастрофически повысится уровень Мирового океана. В таком случае прибрежным городам и целым приморским странам энергия уже не понадобится.
Так называемого теплового загрязнения планеты можно избежать лишь в том случае, если «взять на вооружение» солнечную энергию, которая независимо от того, использует или не использует ее человек, - нагревает атмосферу Земли.
ФОТОННЫЙ КНУТ
Чтобы в полной мере использовать лучистую энергию Солнца, к нужно превратить в какой-либо иной вид. Сохранить световой луч в банк (вспомним чудака-ученого, героя «Путешествий Гулливера», которая мечтал о солнечных консервах) еще никому не удавалось.
Один из наиболее распространенных и перспективных способов преобразования света - фотоэлектрический. фотоны передают свою энергию электронам в полупроводниках. Возникает электрический ток.
Как это происходит? Подробно об этом можно прочитать в учебнике физики. Мы же поясним вкратце. Запрещенные энергетические зоны в некоторых полупроводниках по ширине как раз соответствуют величине энергии кванта света. Запрещенная зона - это потенциальный барьер, который необходимо преодолеть электрону при перескоке с одного на другой атом кристаллической решетки. Поглотив фотон, электрон обретает подвижность Значит, может возникнуть электрический ток. Ведь по определению ток - это направленное движение электрических зарядов.
Да вот беда, фотоиндуцированные электроны могут с равной вероятностью двигаться как в одну, так и в другую сторону. ЭДС разных знаков компенсируют друг друга. Тока не будет.
Если же теперь совместить два полупроводника (чаще всего используется кремний), легированных разными примесями (одна, в силу несовпадающих валентностей, привносит в исходное вещество нескомпенсированные электроны - получается полупроводник n-типа, а другая, чья валентность меньше. приводит к появлению дырок, носителей положительных зарядов - полупроводник р-типа), на их границе образуется n-р-переход. Света нет - ток отсутствует. Как только полупроводниковый диод) осветить, потекут избыточные электроны в р-зону.
ЛУЧШЕ ДЕШЕВЛЕ И ЭФФЕКТИВНЕЙ
Есть такая «вывернутая» присказка: лучше быть здоровым и богатым, чем бедным и больным. Следуя этому принципу, и развивается фотоэнергетика. Еще недавно фотоэлектроэнергия обходилась очень дорого. И немудрено. До 1982 года в нашей стране фотоэлементы выпускались только для космических аппаратов. В наземные преобразователи попадало лишь то, что по каким-то причинам выбраковывали основные заказчики.
Наконец появилось опытное производство дисковых солнечных элементов для народнохозяйственных нужд. Себестоимость солнечной электроэнергии уменьшилась в 3- 4 раза. Но все равно 7-10 руб. за 1 Вт установленной мощности (таковы сегодняшние затраты) - это очень дорого. Идет поиск способов удешевления солнечных элементов. Один из примеров тому - интересная разработка советского ученого А. Степанова. Он предложил высококачественный кремний не выращивать в виде слитков, которые приходится потом распиливать на круглые пластины, те же, в свою очередь, тщательно полировать, затрачивая много энергии и расходуя впустую материал, а вытягивать тонкими лентами из расплава. При таком способе не только снижается себестоимость фотоэлементов, но и увеличивается эффективность солнечных батарей. Ведь ленты можно смыкать вплотную, а между дисковыми элементами всегда остается неиспользованная площадь.
Однако в буквальном смысле камень преткновения солнечной электроэнергетики - низкий КПД кремниевых элементов. Дело в том, что лишь небольшая часть солнечной энергии поглощается электронами в полупроводниках. Львиная доля падающего излучения идет на нагрев фотоэлемента (что, между прочим, ухудшает его фотоэлектрические характеристики), какая-то часть отражается, какая-то пронизывает его насквозь. Вспомним, ведь запрещенная полоса в полупроводнике довольно узка. А значит, и невелико «энергетическое меню» электронов. Кроме того, значительные потери энергии в полупроводниках связаны с рекомбинацией электронов и дырок (компенсацией разноименных зарядов).
В результате КПД стандартных солнечных элементов не превышает 10%. Впрочем, уже есть опытные образцы, полученные в лабораториях М. Кагана, А. Зайцевой (НПО «Квант»), КПД которых 15-17%. И это не предел. Экспертами посчитано, что предельный КПД для солнечных элементов с n-р-переходом составляет 27-30%.
Особенно перспективными считаются полупроводниковые преобразователи с так называемыми гетера- переходами. Они изготовлены из двух различных по химическому составу полупроводников (в отличие от описанного нами одного, но легированного с двух сторон разными примесями). Соответственно ширина запрещенных зон в каждом различна. В области n-р-перехода воз никает, за счет взаимного сглаживания потенциальных барьеров, дополнительная фото-ЭДС. Коллектив ученых, работающий под руководством академика Ж. Алферова, получил на фотодиодах с гетеропереходом «арсенид алюминия - арсенид галлия» КПД около 20%.
Примечательно, что при нагреве такие фотодиоды не ухудшают свои фотоэлектрические свойства. Они устойчиво работают даже при 1600- кратном уплотнении потока солнечной энергии.
Оказывается, можно создать фотопреобразующие устройства, которые будут утилизировать практически весь падающий на них свет. Они обладают так называемой варизонной структурой, то есть запрещенная зона у них переменной ширины (рис. 1). Этого добиваются, вводя в разные зоны полупроводника различные примеси. В таком случае фото-ЭДС генерируется не на одной поверхности n-р-перехода, а в целой пространственной области, для разных точек которой - разные запрещенные зоны. В ней для любого кванта найдется укромное местечко, где его без помех поглотит электрон.
Теория варило иных структур в нашей стране разрабатывается членом-корреспондентом АН СССР Н. Лидоренко, доктором физико-математических наук В. Ёвдокимовым, доктором технических наук Д. Стребковым, кандидатом физико- математических наук А. Миловановым и др. Доказано, что фотопреоб- разователи с варизонной структурой (коль скоро научатся их изготавливать) будут иметь КПД 90%.
Идет поиск и новых - дешевых материалов для фотоэлементов. Весьма перспективны, по мнению некоторых исследователей, полупроводниковые соединения меди, кадмия, серы. Преобразователи, полученные на их основе, недороги, да вот беда - КПД у них порядка 5%, и материалы нестабильны, разрушаются под воздействием окружающей среды. Сложная, дорогостоящая герметизация сводит на нет полученную экономию.
Можно уменьшить себестоимость гелиоэлектроэнергии другим способом. Скажем, заставить Солнце... ярче освещать фотопреобразователи. Для этого используют устройства, именуемые концентраторами. Они собирают солнечные лучи с большой площади и направляют их на относительно небольшие по размеру собственно фотопреобразующие панели.
Параболический концентратор. Уже само название говорит о том, что его чаша представляет собой параболоид, если направить эту чашу на Солнце, то практически все лучи, отразившиеся от ее внутренней зеркальной поверхности, соберутся в небольшой области возле фокуса параболоида. Коэффициент концентрации (отношение площади, с ко-
торой собирались лучи, к той площади, на которой они сконцентрировались) у такого устройства велик. Это, конечно, хорошо. Но в то же время приводит к чрезмерному перегреву фотоэлемента. Приходится предусматривать систему охлаждения. Да и система автоматического слежения за Солнцем тоже нужна. Чуть-чуть отклонится Солнце от оси симметрии параболоида - сразу же происходит существенная потеря фотоэлектрической мощности. Принцип работы фоконов и фоклинов такой же, что и параболических концентраторов. Только огибающие их чаш не параболы, а гиперболы вращения. Эта замена имеет определенный смысл. Гиперболоид собирает лучи в фокальной области даже в том случае, если их наклон к оси симметрии чаши составляет 6° ! Не нужно непрерывно поворачивать концентратор вслед за Солнцем. Вполне достаточно изредка (можно и вручную) изменить угол его наклона. 6° да 6° - это 12°, а такой путь по небу Солнце совершает примерно за час.
Как ни парадоксально, недостаток фоконов и фоклинов тесно связан с их достоинством - низкий коэффициент концентрации излучения позволяет отказаться от дорогостоящей системы охлаждения фотоэлементов.
К другому типу концентраторов - преломляющему - относится линза френеля. Она состоит из целого набора призм, составленных вершинами вместе, так что поверхность линзы, обращенная к Солнцу, напоминает растянутую гармошку.
Солнечные лучи преломляются в призмах, причем всегда находится расположенная к Солнцу под таким углом, что преломившиеся в ней лучи собираются на фотоэлементе, установленном за вершиной линзы. Вот почему линзу Френеля не нужно поворачивать в вертикальной плос кости. она одинаково хорошо работает при высоко и низко стоящем Солнце.
Сегодня появляются так называемые плоские линзы Френеля. У них нет «гармошки». С виду это обыкновенные призмы. Однако некоторые сегменты в такой призме обработаны жестким излучением, показатель преломления в них изменился. А направление преломленного луча, как известно, зависит не только от угла падения (в линзе Френеля его задает «гармошка»), но и от показателя преломления вещества.
Одна из наиболее интересных разработок последних лет - призмакон. Это тоже призма. Но угол при ее вершине имеет строго определенную величину. В зависимости от показателя преломления вещества, из которого сделана призма (чаще всего это органическое или оптическое стекло), угол выбирается таким, чтобы любой луч, попавший в призму, уже не мог пройти через отражающую поверхность и оказывался в ловушке. Ему остается один путь - к собирающей грани призмы.
Видимо, вы уже догадались, что принцип работы призмакона основан на явлении полного внутреннего отражения, когда луч, входящий в оптически более плотную среду, отклоняется настолько, что следующую границу раздела ему преодолеть уже труднее, а при определенном, выше критического для данного вещества угле падения - невозможно.
Призмаконы были разработаны в НПО «Квант», в лаборатории кандидата технических наук Э. Тверьяновича. К сожалению, из-за бюрократических проволочек свой приоритет мы упустили. Пока шел неторопливый (около полугода) процесс оформления документов на заявку в Госкомизобретений, аналогичную заявку, опередив наших ученых на две недели, подал австралийский гелиотехник А. Житронч...
Упомянем концентратор еще одного типа - люминесцентный. Принцип его работы несложен. В оптическую пластину вкраплены люминофорные вещества. Свет, проникающий в пластину, возбуждает атомы люминофора, они переизлучают поглощенные фотоны, которые из-за полного внутреннего отражения уже не могут прорваться через поверхности и завершают свой путь на фотособирающей грани.
В перспективе подобные устройства могут быть использованы как усилители в будущих оптических ЭВМ. Пока же они проходят испытания в научных лабораториях.
КОГДА ПОСРЕДНИКИ НЕ НУЖНЫ
Всегда ли нужно ломать голову каким образом преобразовать свет в нужный нам вид энергии? Фотоны без каких-либо посредников «сами по себе» поглощаются атомами и в конечном счете увеличивают тепловую энергию вещества. Надо только суметь воспользоваться даровым теплом, и тогда не нужно будет тратить дефицитную электроэнергию (а мы уже знаем, что и солнечная электроэнергия недешева), допустим, на обогрев помещений,
Улавливают и переносят солнечное тепло к месту использования коллекторы. Простейший представляет собой теплообменник, в кого" ром циркулирует жидкость. Сверху он покрашен в черный цвет, чтобы лучше поглощать солнечное излучение, и закрыт стеклом, не пропускающим инфракрасные - тепловые лучи. Поскольку максимум излучения Солнца приходится на видимую часть спектра, нехитрое устройство поглощает намного больше энергии, чем отдает в пространство. Оно аккумулирует тепло, которое теплоноситель (чаще всего вода, текущая по теплообменным трубам) передает потребителю.
Как правило, коллекторы никто не поворачивает вслед за Солнцем. Их закрепляют жестко, ориентируют на юг и устанавливают под углом к горизонту, равным углу широты местности.
Солнечное тепло «малокалорийно», оно рассеяно. Весьма заманчиво снабдить коллекторы концентраторами. Если это большие параболические зеркала, с их помощью можно испарять воду и разогревать пар
до высоких температур. Постепенно уже немало гелиостанций, на которых ток вырабатывается генераторами, вращаемыми паровой турбиной (как видите, без электроэнергии все-таки не обошлось). Солнце, кроме того, плавит металлы, в гелиопечах получают особо чистые химические вещества. Впрочем, гелио- технологии - это тема отдельной статьи. Мы же остановимся на бытовом использовании солнечной тепловой энергии.
Одна из последних разработок - трубчатый коллектор с концентратором типа призмакон. Он состоит из стеклянных цилиндрических трубок, в которые на половину радиуса был залит расплавленный оптически прозрачный кремний - органический каучук. Когда он затвердел, получился встроенный в трубку призматический концентратор.
Кстати, сама трубка - это тоже концентратор (цилиндрический). Предположим, она пуста (призматический концентратор мысленно убираем). Фокальная плоскость оставшегося цилиндрического концентратора - есть поперечное сечение трубки. Если пустить вдоль этой плоскости теплоноситель, получим уплотнение энергии, равное, отношению диаметра цилиндрического коллектора к высоте теплообменных трубок. В частности, для коллектора фирмы «Филипс» коэффициент концентрации тепловой энергии равен 2. Высота трубок в нем равна радиусу цилиндрического коллектора.
Теперь нетрудно посчитать, что коэффициент концентрации у коллектора с призмаконом в два раза больше, чем у коллектора фирмы с «Фнлипс», ибо все попавшие в призмакон лучи уже не могут его с покинуть из-за полного внутреннего отражения и устремляются к собирающей поверхности, высота которой - всего половина радиуса цилиндрического коллектора. Вода, циркулирующая в таком коллекторе, может закипеть. Опыты это подтверждают...
ПРОМЫШЛЕННЫЙ ФОТОСИНТЕЗ
По масштабам использования солнечной энергии нам еще далеко до растений. Ежегодно в деревьях, кустарниках, траве, водорослях на- с капливается 3 х 10 21 Дж законсервированной с помощью фотосинтеза энергии. Это в 10 раз больше того, что тратится за тот же срок человечеством.
Заманчиво, конечно, использовать с живой фотохимический потенциал. Однако не губить же зеленые богатства планеты? Нужно создавать в энергетические плантации. В будущем, видимо, после решения продовольственной проблемы быстрорастущие виды растений станут высаживать специально «на откорм» микроорганизмам и в результате их жизнедеятельности получат ценное топливо - метан.
Впрочем, КПД фотосинтеза растений очень мал - в среднем 0,1 %. Есть другие перспективные направления биогелиоэнергетики. Например, несколько лет назад открыто явление биофотолиза - разложение воды на водород и кислород под действием солнечного света при активном посредничестве выделенных из растений фотосинтезирующих веществ. Другой необходимый компонент - фермент гидрогенеза, имеющий сродство к атомам водорода. Именно он «убеждает» фотосинтезирующие вещества приступить к гидролизу. Задача исследователей - научиться создавать условия, при которых этот процесс идет стабильно. Ведь изъятые из клетки хлоропласты быстро разрушаются на свету.
Довольно хорошо отработаны микробиологические способы разложения воды. Открыты и уже используются микроорганизмы, результат жизнедеятельности которых - водород. В специальных емкостях для них размножают корм - микроскопические водоросли определенных видов. Водоросли поглощают солнечный свет, осуществляют фотосинтез, а микроорганизмы, поедающие их, разлагают воду, выделяют водород.
Водород - это экологически чистое химическое топливо. При его сгорании получается исходный продукт - вода. Энергетический круговорот воды может продолжаться до тех пор, пока светит Солнце.
ЭЛЕКТРОСТАНЦИИ НА ОРБИТЕ, А ЕЩЕ ЛУЧШЕ...
НА ЛУНЕ !!!
Природа преподнесла нам, землянам, удивительный подарок - Солнце. Его энергии вполне хватят не только чтобы обогреть нашу планету, но и вволю напоить электричеством. Только вот энергию дневного светила надо брать не с поверхности Земли, где условия чаще всего ненадежны, а с околоземной орбиты, где Солнце светит круглосуточно, да и плотность энергия почти в 15 раз выше.
Идея создания орбитальных электростанций - не новость. Впервые ее высказал в печати еще в 1960 году наш соотечественник П. А. Варваров, а позже поддержал американец П.Е.Гпейзер.
Специалисты проанализировали как достоинства, так и недостатки способа получения энергии. Чтобы преобразовать свет в электричество и переправить его на Землю, необходимо доставить на орбиту и развернуть там огромные конструкции солнечных элементов. По предварительным расчётам, их площадь должна составлять 100 квадратных километров и более.
В космос предстоит “забросить” десятки тысяч тонн грузов. Но ни одноразовые носители типа современных ракет, включая наиболее совершенный “Протон”, ни многоразовые “шаттлы” сегодня с такой задачей не справляются.
Да и как передавать получаемую энергию на Землю? В 1965г. провели такой эксперимент. С одной горной вершины на другую была передана электроэнергия с помощью СВЧ-излучения. Правда, ее хватило лишь на то, чтобы зажечь... гирлянду лампочек. Но американские инженеры полагают, что конце XXI столетия таким способа можно будет транспортировать 100 ТВт электроэнергии! Одним словом, целую Ниагару!
Но не выгоднее ли и проще строить солнечные электростанции на Луне? Анализ поверхностного слоя грунта нашего спутника, доставленного беспилотными космическими аппаратами, “Луна” и пилотируемыми экспедиция. «Аполлонов», показал, что он мог бы послужить не только строительным материалом для эпектростанции, но и топливом для двигательных установок межорбитальных буксиров. С учетом это в настоящее время рассматривают минимум три варианта энергоснабжения Земли из космоса.
В одном из них предусматривает развертывание сотен сравнительно не больших солнечных электростанций (мощностью до 10 ГВт) на геостационарной орбите. На Луну же в таком случае достдапяетея только горнодобывающее оборудование и комплекс для переработки грунта. Изготовленные там элементы станции транспортируются орбиту с помощью многоразовых буксиров, работающих на топливе, вырабатываемом из лунного грунта. При этом лунных ракет-носителей понадобится 35 раз меньше по суммарной масс чем наземных.
Есть и такой вариант: на поверхности Луны строятся крупногабаритные энергоизлучающие СВЧ-станции с питанием антенных решеток от фотоэлектрических преобразователей. При мощности комплекса до 1 ГВт габариты антенн могут достигать 100 км. На окололунные орбиты выводятся отражатели солнечных лучей, а на околоземные - СВЧ-отражатели. С их помощью энергия передается в любой район Земли.
При сооружении такой системы не понадобится переправлять большое количество грузов с Луны на околоземную орбиту, хотя масштабы работ все же будут немалые. Для развертывания комплексов суммарной мощностью 10 ТВт потребуется в течение 30 лет переработать около 300 млн. т грунта на Луне к создать около 200 млн. т конструкции на орбитах Земли и ее спутника. Достоинство данного проекта - принципиальная возможность передачи энергии с Луны узкоприцельными пучками за счет больших размеров передающих антенн.
Наконец, прогнозируется также строительство на Луне промышленного комплекса по добыче гелия-3, который либо будет переправляться на Землю, где с его помощью на термоядерных электростанциях с экологически чистым циклом станут вырабатывать электроэнергию, либо использовать в подобных же реакторах на Луне, а уж полученную энергия переправлять на нашу планету. Этот вариант привлекателен еще и тем, что при производстве гелия-3 попутно получают водород, воду, метан, азот и другие вещества, необходимые для жизнеобеспечения лунных комплексов обитателей.
С ЧЕГО НАЧАТЬ?
Подобные проекты, понятное дело, осуществить непросто, даже при широком международном сотрудничестве. Поэтому разработчики разбили их на несколько этапов.
В 2000 - 2015 годах после завершения научно-исследовательских работ предполагается развернуть системы освещения, энерго- и теплоснабжения отдельных районов Земли из космоса, а также наладить транспортную космическую систему по маршруту Земля - Луна - Земля для обслуживания первого поселения людей на Луне со сменным экипажем численностью до 10 человек.
Кроме того, на низкой орбите (высота 1000 км, наклонение 97 градусов) создаются солнечные космические электростанции (СКЭС) мегаваттной мощности.
СКЭС массой порядка 100т. нетрудно вывести на орбиту с помощью ракетоносителя «Энергия» и доразгонного блока. Двух таких станций достаточно, чтобы обеспечить энергией несколько поселков в труднодоступных районах Заполярья или Сибири либо питать множество маяков, метеостанции, буев, использующих ныне небезопасные радиоизотопные источники.
СКЭС будут работать по накопительной схеме. Солнечная энергия, переводимая в электрическую, собирается в аккумуляторах или конденсаторах, а затем передается потребителю в виде СВЧ-энергии за те 7 - 8 минут, пока станция пролетает в пределах прямой видимости.
На следующем этапе - в 2015 - 2030 годы получит дальнейшее развитие система ночного освещения земных населенных пунктов “космическим“ электричеством. Откроется возможность подачи его в районы стихийны бедствий, где нарушено энергоснабжение. Предполагаются испытания первых транспортных средств (скажем, самолётов), которые будут получать энергию непосредственно из космоса.
Наконец, после 2030 г. можно ожидать заметного повышения мощности лунной базы. И со временем она сможет полностью обеспечивать энергией всю нашу планету.
И ПЛЮСЫ, И МИНУСЫ .
Журналистов, присутствовавших на пресс-конференции, интересовало: а не повлияют ли пагубно на все живое предлагаемые способы передачи энергии из космоса мощнейшими пучками энергии?
Академик А-С-Коротеев пояснил, что ученые рассматривают два варианта передачи энергии - по лазерному или СВЧ-пучу. Японские исследователи отдают предпочтение первому, наши - второму. КПД лазерных систем в лучшем случае составляет 15 - 20%, а СВЧ-систем - до 90%. К тому же производство лазеров технологически сложнее.
Правда, СВЧ-пуч порождает в атмосфере ионизированные каналы, но ведь от ионизации можно получать и пользу, например, выжигая фреон в ионосфере и тем самым уменьшая «парниковый» эффект.
Что же касается вредного воздействия излучения на нижние слои атмосферы и непосредственно на поверхность планеты, то специалисты надеются свести его к минимуму. Можно до биться, что ионизированные каналы будут очень небольших диаметров, а луч точно нацелен на приемные антенны. Интенсивность же излучения за пределами канала резко уменьшается. В целом негативные последствия применения новой энергетической системы будут куда меньшими, чем, скажем, от воздействия нынешних тепловых электростанций.
В космическую систему энергоснабжения предполагается включить и ныне существующие гидроэлектростанции, в том числе приливные. Но не станут передавать энергию по проводам, как это делается сейчас, а через антенны будут переправлять ее в космос, а уж оттуда, с помощью ретрансляторов, к наземным потребителям. Таким образом специалисты надеются существенно сократить потери электроэнергии при ее передаче, которые ныне составляют около 30% !
Вдумайтесь в эту цифру. Даже ее сокращение позволит серьезно уменьшить и затраты и вредное воздействие современных энергокомплексов на природу.
Пожиратель ветра.
На первый взгляд ветер кажется самым доступным из возобновляемых источников энергии. В самом деле: не в пример Солнцу, он вполне "работоспособен" на юге и на севере, зимой и летом, днем и ночью, в дождь и туман. Однако на этом все достоинства и кончаются; дальше, увы, - сплошные недостатки... Прежде всего, это очень рассеянный энергоресурс. Природа не собрала ветры в каких-то отдельных "месторождениях", подобно горючим ископаемым. И не пустила их течь по руслам, подобно рекам. Всякая движущаяся воздушная масса "размазана" по огромной территории. Правда, рассеянность, малая концентрация характерна и для солнечной энергии. Но с ветром еще хуже. Его основные параметры - скорость и направление - меняются гораздо быстрее, в более широких пределах и совершенно непредсказуемо. В итоге по надежности он почти везде уступает Солнцу. Отсюда и вытекают две главные проблемы проектирования ветроэнергетических установок (ВЭУ).
Во-первых, с учетом рассеянности ветра стремятся "снимать" его кинетическую энергию с максимальной площади. Что имеется в виду? Для ВЭУ обычной конструкции (ветровое колесо на горизонтальной оси) - это площадь круга, который описывают лопасти при вращении; у специалистов она называется сметаемой площадью (ОГО. Отсюда вроде бы следует, что диаметр колеса (длину лопастей) надо всячески наращивать. И действительно: известны проекты гигантских ВЭУ с диаметром ветроколеса до 120 м. Но для таких габаритов сильные ветры, в принципе более "выгодные", становятся уже нежелательными - из соображений безопасной эксплуатации. К тому же, рассчитывая прочность, тут приходится дополнительно страховаться даже от маловероятных ураганных порывов и тем еще больше перетяжелять громоздкую конструкцию. Путь явно тупиковый.
Во-вторых, еще важнее добиться равномерности, постоянства ветрового потока на лопастях. Ведь в конечном счете качество электроэнергии, вырабатываемой ВЭУ, определяется именно стабильностью момента вращения и угловой скорости на валу ее генератора. Но если предыдущая проблема решается хотя бы до известного предела, то эта пока не решается никак.
Общий вывод, видимо, ясен: нужна установка принципиально новой конструкции. Нащупать подходы к ней помогут несложные математические изыскания. Посмотрим, от каких основных параметров зависит энергетическая эффективность ВЭУ.
Как известно, кинетическая энергия движущегося тела
W = mV 2 / 2 .
Если речь идет о воздушном потоке, то V , естественно, и есть его скорость. С массой m чуть сложнее. В данном случае берется масса объема воздуха, проходящего через ОП в единицу времени. Значит,
m = pSV ,
где р - плотность воздуха, S - ОП, V - та же скорость ветра. И тогда исходное выражение принимает вид
W = рSV 3 / 2 .
Это величина энергии в единицу времени, по сути - мощность. Итак, значение W определяется двумя переменными - S и V . Как в принципе можно ее увеличить? Если за счет S , то прийдется смириться с неизбежным ростом габаритов и массы ВЭУ (см. выше).

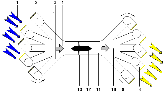
Цифрами обозначены: 1 - направление ветра; 2 - воздухозаборное устройство; 3 - входные воздуховоды; 4 - конфузор; 5 - серводвигатель поворота; 6 - поворотный круг; 7 - диаметр ВУ; в - устройство сброса; 9 - отводящие воздуховоды; 10 -диффузор; 11 - рабочий канал; 12 - электрогенератор, 13 - турбина.
Но из полученной формулы виден и другой порок такого "лобовного" подхода: ОТ связана с площадью 3 прямо пропорционально, линейно. Зато влияние скорости V гораздо сильнее - зависимость тут уже кубическая. Насколько важна эта разница, поясним на примере.
Допустим, нам удалось каким-то путем удвоить величину V
. Понятно, что мощность воздушного потока на лопастях возрастет в 8 раз. И если теперь мы решим сохранить прежнюю мощность установки, то сможем соответственно уменьшить ОП ветрового колеса. Тогда его диаметр (то есть, в первом
приближении, и остальные линейные размеры ВЭУ) сократился бы в Ö 8 = 2,83 раз
а. Если же сумеем увеличить V
втрое, выиграем в габаритах более чем в 5 раз ( Ö27), ит.д.
Что ж, ускорить ветер в принципе нетрудно: нужно загнать его в некое подобие аэродинамической трубы, попросту говоря - в сужающийся канал. В нем, как известно, скорость потока растет обратно пропорционально площади сечения. А общий коэффициент ускорения равен отношению площадей входного и выходного отверстий. Даже для обычных ВЭУ уже разработаны подобные устройства - так называемые конфузоры, или дефлекторы. Смысл их применения в том, что они собирают ветер с гораздо большей площади, чем ОП.
Но почему, ступив на верный путь, конструкторы не пошли по нему дальше? Сделаем входное сечение конфузара переменным - и сразу решим ту, "нерешаемую", проблему - поддержания постоянной скорости потока на лопастях независимо от капризов ветра! Проще всего тут применить поворотное воздухозаборное устройство (ВУ). Легко понять, что его эффективное сечение максимально в направлении "фордевинд" и уменьшается при отклонении в любую сторону. Причем такое ВУ способно ловить ветер со всех румбов, и потому остальные элементы можно сделать неподвижными, да и смонтировать прямо на земле, что гораздо удобнее.
Так родилась у автора конструкция установки, изображенная на схеме (патент РФ М9 1783-144). Главное ее отличие - мощный "ветроускоритель": ряд воздуховодов с полноповоротными ВУ на концах, сходящихся в общий конфузор и далее в рабочий канал. Каких же скоростей достигает там воздушный поток? Ясно, что это зависит от отношения двух величин: суммарного эффективного сечения всех ВУ на входе и сечения рабочего канала - на выходе. Пусть диаметр одного ВУ всего втрое превышает диаметр канала, а площадь соответственно - в девять раз. Тогда, скажем, при пяти ВУ общий коэффициент ускорения равен 45. Правда, мы не учли турбулизацию воздушных потоков в системе и ее общее аэродинамическое сопротивление, но для первичной оценки такой расчет правомерен. А это значит, что самый обычный, умеренный ветер (5 м/с) порождает в канале сверхураган в 225 м/с! Напомним, что по шкале Б офорта ураганным считается ветер с жалкой скоростью -12 м/с...
Выходит, обычное ветровое колесо тут уже не годится: его лопасти просто не выдержат такого напора. Нужна настоящая турбина, с лопатками иной формы, гораздо меньшего размаха и более прочными - короче, типа авиационной. Кстати, подобное устройство намного эффективнее использует аэродинамическую энергию воздушного потока. А здесь к тому же он ограничен стенками рабочего канала, сечение которого почти полностью перекрыто лопатками. В результате общий КПД установки должен заметно возрасти по сравнению с обычной, горизонтально-осевой.
Не забудем только, что аэродинамический поток, вырвавшийся из турбинного канала, надо снова затормозить. Эту обратную задачу выполняет система, зеркально отображающая входную: диффузор ("расширитель") и воздуховоды с устройствами сброса (УС) на концах. Конструкции ВУ и УС опять-таки одинаковы. Единственное отличие - диаметры элементов отводящей системы должны быть больше, чем у их входных аналогов, чтобы обеспечить эффективный перепад давлений.
Скорость потока в турбинном канале регулируется простым вращением ВУ. При слабом ветре воздухозаборники ориентируются "лицом" к нему, а по мере усиления все больше отворачиваются, если это нужно. Устройства сброса, естественно, всегда направлены "спиной" к ветру. Координируют работу всех ВУ и УС микропроцессорные блоки контроля и управления их электроприводами, датчик направления ветра и центральный процессор с зашитой в нем программой. Режим регулирования вполне может быть не плавным, а дискретным, прорывным, что упростит систему управления.
...Но, пожалуй, описанная ВЭУ в целом кажется отнюдь не дешевой. Есть ли смысл городить все эти громоздкие воздуховоды? Что ж, полученная нами формула мощности W позволяет сравнить абсолютные энергетические показатели старого и нового вариантов. Зададимся плотностью воздуха на уровне моря р = 1,2 кг/куб.м и скоростью ветра V = 5 м/с.
Для первого варианта возьмем предельный диаметр ветрового колеса -
-120 м, что дает площадь 3 (ОП) чуть больше 11 000 кв.м. Подставив эти данные в формулу, получим мощность ветрового потока всего 0,8 МВт.
Для новой ВЭУ используем нашу оценку скорости V в рабочем канале (около 200 м/с) и зададимся скромной величиной ОП турбины - 10 кв.м. Аналогичный показатель составит 48 МВт! Энергетическое преимущество настолько явное, что дополнительные затраты (если они вообще понадобятся) должны окупиться.
Разумеется, в обоих вариантах, с учетом различных потерь, электрогенераторы утилизуют далеко не всю аэродинамическую мощность. Но и здесь, как мы убедились, новая ВЭУ должна иметь преимущество - более высокий КПД.
Как показывают простейшие расчеты, стоит поставить несколько лишних ВУ да немного увеличить их диаметр - и мы быстро подойдем к пределу возможностей даже авиационных турбин. То есть данное условие само по себе определяет число и размеры ВУ проектируемой установки вряд ли больше 10. Правда, тут важен и еще один фактор
- среднегодовая скорость ветра в данном районе, его, так сказать, ветрообе-спеченность. Если этот показатель меньше тех же 5 м/с, то для стабильной работы генератора может понадобиться и более 10 воздуховодов. Чтобы оценить целесообразность такого решения, понадобятся, конечно, детальные исследования и расчеты, в том числе экономические. Но даже наши приближенные оценки говорят, что подумать есть над чем...