| Скачать .docx | Скачать .pdf |
Курсовая работа: Водно-экологический анализ водопользования города
Содержание
Введение
1 Расчет и проектирование системы водоснабжения города
1.1 Определение расчетных расходов водопотребления
1.1.1 Определение расходов на питьевые и хозяйственные нужды населения
1.1.2 Определение расхода воды на поливку территории
1.1.3 Определение расходов воды на промпредприятии
1.1.3.1 Хозяйственно-питьевое водопотребление промпредприятия
1.1.3.2 Водопотребление на прием душа
1.1.3.3 Технологическое водопотребление предприятия
1.1.4 Противопожарное водопотребление
1.1.5 Суммарное водопотребление города
1.2 Режимы работы насосных станций первого и второго подъема
1.3 Связь между отдельными элементами водоснабжения в отношении напоров
1.4 Проектирование водозаборных сооружений
1.5 Проектирование очистных водопроводных сооружений
1.6 Зоны санитарной охраны
2 Проектирование водоотведения города
2.1 Определение расчетных расходов сточных вод
2.1.1 Расчетные расходы сточных вод от населения города
2.1.2 Расчетные расходы сточных вод от промпредприятий
2.2 Составление таблицы притока сточных вод по часам суток
2.3 Выбор системы и схемы отведения
2.4 Трассировка сети водоотведения
2.5 Проектирование канализационных очистных сооружений
2.5.1 Определение основных расчетных параметров очистной станции
2.5.1.1 Определение расчетных расходов сточных вод
2.5.1.2 Определение концентраций загрязненных сточных вод
2.5.1.3 Определение необходимой степени очистки сточных вод
2.5.1.3.1 Определение коэффициента смешения и степени разбавления сточных вод водами водоема
2.5.1.3.2 Определение необходимой степени очистки сточных вод по взвешенным веществам
2.5.1.3.3 Определение необходимой степени очистки сточных вод по БПК полное смеси сточных вод и вод водоема
2.5.1.3.3 Определение необходимой степени очистки сточных вод по БПК полное смеси сточных вод и вод водоема
2.5.2 Выбор и обоснование метода очистки сточных вод и состава очистных сооружений
2.5.3 Выбор места расположения канализационных очистных сооружений
Список использованной литературы
Приложения
Основой для выполнения курсового проекта «Водно-экологический анализ водопользования города» является генплан города в масштабе 1:10000 и исходные данные, приведенные в приложении 3 [1, стр.53], а также действующие строительные нормы и правила.
В исходных данных представлены сведения о плотности населения и степени санитарного благоустройства зданий, данные о промышленных предприятиях, характеристика промышленного стока и характеристика поверхностного источника (реки).
При выполнении курсового проекта решаем следующие задачи:
- определяем общий объем водопотребления города, состоящий из водопотребления населения и промышленных предприятий, и его распределение по часам суток;
- выбираем место расположения водозаборных сооружений из поверхностного источника и определяем зоны санитарной охраны;
- определяем состав водопроводных очистных сооружений;
- производим трассировку водопроводной и водоотводящей сетей.
В качестве источника водоснабжения предусматривается река, протекающая в городе, уровень верхних вод УВВ = 22,0 м, а уровень нижних вод УНВ = 18,0м. В связи с этим принимаем русловой водозабор раздельного типа.
В качестве водопроводных очистных сооружений используем скорые фильтры и горизонтальные отстойники. Для обеззараживания применяем хлорирование.
Предусматриваем разработку неполной раздельной системы канализации города. Схему канализации принимаем пересеченную централизованную. Схему трассировки принимаем объемлющую.
1 Расчет и проектирование системы водоснабжения города
1.1 Определение расчетных расходов водопотребления
При проектировании систем водоснабжения и водоотведения населенных пунктов и промпредприятий определяются три вида расходов воды:
- суточные расходы м3 / сут., – по величине которых ориентировочно принимается набор сооружений водопровода и канализации;
- часовые расходы м3 / час – по величине которых производится расчет отдельных сооружений и подбор насосного оборудования насосных станций;
- секундные расходы л / с – по величине которых производятся гидравлические расчеты водопроводных и водоотводящих сетей и коммуникаций на сооружениях водопроводно – канализационного хозяйства.
Расходы водопотребления складываются из трех категорий расходов:
- расходы воды на питьевые и хозяйственные нужды населения;
- расходы на водопотребление промпредприятий:
-расходы на хоз–питьевые нужды работающих на предприятии;
- расходы на душевые нужды;
- расходы воды на технологический процесс предприятия;
- расходы воды на тушение пожаров;
- расходы воды на полив территории населенного пункта или промпредприятия.
1.1.1 Определение расходов на питьевые и хозяйственные нужды населения
Среднесуточный расход воды определяется по формуле
Qсут. среднее
=
, м3
/ сут,
где Кн – коэффициент, учитывающий расход воды на нужды учреждений, организаций и предприятий социально-гарантированного обслуживания, а также неучтенные расходы;
qж i – суточная (средняя за год) проектная норма водопотребления на питьевые и хозяйственные нужды на одного жителя i – го района жилой застройки с соответствующей степенью санитарно-технического оборудования зданий, л/чел. сут.;
n – число районов жилой застройки с различной степенью благоустройства;
Nж i – расчетное число жителей для каждого района жилой застройки, определяется по следующей формуле:
Nж i = Pi · Fi , (2)
где Pi - плотность населения в районе жилой застройки, чел / га;
Fi – площадь района жилой застройки, га.
По генплану города в соответствии с масштабом определяем площадь районов жилой застройки:
FА = 251 га FВ = 189 га.
По заданию плотность населения в районах следующая:
PА = 140 чел / га PВ = 160 чел / га.
Сделав подстановку в формулу 2 получим:
NжА = 140 · 251 = 40160 чел
NжВ = 160 · 189 = 30240 чел
Суточная проектная норма водопотребления в соответствии со степенью благоустройства принимается согласно таблицы 3.1.1 [1, стр. 11]
При 5 степени qжА = 180 л / сут на 1 жителя
При 6 степени qжВ = 210 л / сут на 1 жителя
Так как число жителей всего города составляет 70400 чел, то Кн = 1,2
Сделав подстановку в формулу 1 получим:
Qсут. среднее
=
= 21 497 м3
/ сут.
Расчетные расходы воды в сутки наибольшего и наименьшего водопотребления определяют по формулам:
Qсут. макс = К сут. макс · Qсут. среднее , м3 / сут; (3)
Qсут. мин = К сут. мин. · Qсут. среднее , м3 / сут, (4)
где К сут. макс и К сут. мин. – коэффициенты суточной неравномерности, соответственно максимальный и минимальный.
К сут. макс = 1,1 – 1,3 принимаем К сут. макс = 1,2
К сут. мин = 0,7 – 0,9 принимаем К сут. мин = 0,8
Тогда сделав подстановку в формулы 3 и 4 получим:
Qсут. макс = 1,2 · 16295 = 19554 м3 / сут;
Qсут. мин = 0,8 · 16295 = 13036 м3 / сут.
Среднечасовые расходы воды определяем по формулам:
Qч
=
, м3
/ час (5)
Qч = 16295/24 = 679 м3 / час
Qч
.макс.
= К ч. макс.
·
(6)
Qч
.мин..
= К ч. мин.
·
, (7)
где К ч. макс. и К ч. мин. – коэффициенты часовой неравномерности, соответственно максимальный и минимальный, определяемые по формулам:
К ч. макс. = α макс. · βмакс. ; (8)
К ч. мин. = α мин. · βмин. , (9)
где α – коэффициент, учитывающий степень благоустройства зданий, режим работы предприятий и другие местные условия
α макс. = 1,2 – 1,4 принимаем α макс. = 1,3
α мин. = 0,4 – 0,6 принимаем α мин. = 0,5
β – коэффициент, учитывающий число жителей в населенном пункте, принимаемый по таблице 3.1.2. [1, стр. 12]
βмакс. = 1,1 5 βмин. = 0,6
Сделав подстановку в формулы 8 и 9 получим:
К ч. макс. = 1,3 · 1,15 = 1,495; К ч. мин. = 0,5 · 0,6 = 0,3
Подставляем полученные значения в формулы 6 и 7
Qч .макс. = 1.495*(19554/24)= 1218 м3 / час
Qч .мин. = 0.3*(13036/24)= 163 м3 / час
Расчетный коэффициент часовой неравномерности определяется по следующей формуле:
К
=
= α макс.
· βмакс.
· Ксут. макс.
К
= 1218/679 = 1,3 · 1,15 · 1,2 = 1,79
1.1.2 Определение расхода воды на поливку территории
Расчетный суточный расход воды на мойку и поливку территории определяется по формуле:
Qп
=
, м3
/ сут, (10)
где qп.ж. = проектная норма полива из расчета на одного жителя, л/сут.
Так как данные о площадях по видам благоустройства отсутствуют, то проектная норма полива принимается 60 л/сут.
Сделав подстановку в формулу 10 получаем:
Qп =(60*70400)/1000 = 4224 м3 / сут.
1.1.3 Определение расходов воды на промпредприятии
Водопотребление промпредприятий состоит из хозяйственно-питьевого водопотребления работающими на предприятии, водопотребления на прием душа и потребления воды на технологические нужды.
1.1.3.1 Хозяйственно-питьевое водопотребление промпредприятия
Суточный расход на хозяйственно-питьевые нужды находим из выражения:
Q
=
, м3
/ сут (11)
где nсм. – число смен в сутки, согласно заданию – 2;
Q
– расчетный расход на хозяйственно-питьевые нужды за смену, определяемый по формуле:
Q
=
, м3
/ см, (12)
где qх и qг – норма водопотребления на одного рабочего в смену, соответственно в холодных и горячих цехах:
qх = 25 л/см на 1 рабочего; qг = 45 л/см на 1 рабочего.
Nх и Nг - число рабочих соответственно в холодных и горячих цехах.
По заданию в холодных цехах работает 20 % от общего числа работающих, в горячих – 80 %.
Максимальный часовой расход определяется по формуле:
Qч. макс.
=
, м3
/ ч, (13)
Где Кх и Кг – коэффициенты часовой неравномерности потребления воды на хозяйственно питьевые нужды соответственно в холодных и горячих цехах:
Кх = 3 Кг = 2,5
Т – продолжительность смены в часах, Т = 8 ч.
В 1 смену работает 60 % от общего количества работающих на промпредприятии, а во 2 смену – 40 %.
Сделав подстановку в формулы 12 и 13 полученные данные расчета заносим в таблицу 1
Таблица 1 – Потребление воды на хозяйственно-питьевые нужды
| 1 предприятие | 2 предприятие | ||||
| 1 смена | 2 смена | 1 смена | 2 смена | ||
| Всего рабочих, чел. | 7000 | 3500 | |||
| 4200 | 2800 | 2100 | 1400 | ||
Количество рабочих в холодных цехах, чел. |
3360 | 2240 | 1680 | 1120 | |
Количество рабочих в горячих цехах, чел. |
840 | 560 | 420 | 280 | |
Расход воды в холодных цехах, м3 / см. |
84 | 56 | 42 | 28 | |
Расход воды в горячих цехах, м3 / см. |
31.8 | 25.2 | 18.9 | 12.6 | |
| Суточный расход, м3 / сут. | 203 | 101.5 | |||
| Максимальный часовой расход, м3 / ч | 43.31 | 28.87 | 21.65 | 14.43 | |
1.1.3.2 Водопотребление на прием душа
Расчетный расход на душевые нужды за смену определяются по следующей формуле:
Q
см
= q
· m, м3
/см (14)
где q
- расход воды на одну душевую сетку, q
= 0,5 м3
m – расчетное количество душевых сеток.
m =
(15)
где N
и N
- количество рабочих, принимающих душ соответственно в горячих и холодных цехах в смену;
Согласно заданию в горячих цехах душ принимают 80% от общего числа рабочих, в холодных – 10 %.
N
- количество человек, обслуживаемых одной душевой сеткой, принимается в зависимости от категории производства по таблице 3.1.5 [1, стр. 16]. Для 1 предприятия категория производства – 1А, тогда N
= 3 чел; для 2 предприятия категория производства – 2 В, тогда N
= 15 чел;
Суточный расход воды на душевые нужды находим из выражения:
Q
=
Q
см
, м3
/ сут (16)
Сделав подстановку в формулы 14, 15 и 16 полученные значения заносим в таблицу 2
Таблица 2 – Водопотребление на прием душа
| 1 предприятие | 2 предприятие | ||||
| 1 смена | 2 смена | 1 смена | 2 смена | ||
| Всего рабочих, чел. | 7000 | 3500 | |||
| 4200 | 2800 | 2100 | 1400 | ||
Количество рабочих в холодных цехах, чел. |
672 | 448 | 336 | 224 | |
Количество рабочих в горячих цехах, чел. |
504 | 336 | 252 | 168 | |
| Расчетное количество душевых сеток | 392 | 261 | 39 | 26 | |
| Расход воды на душевые нужды, м3 / см. | 196 | 131 | 19,5 | 13 | |
Суточный расход, м3 / сут. |
327 | 32,5 | |||
1.1.3.3 Технологическое водопотребление предприятия
Суточное количество воды, потребляемое на технологические нужды, принимается по заданию.
Часовой расход воды определяется по формуле:
Q
=
, м3
/ ч, (17)
где Т – продолжительность смены в часах, Т = 8 часов.
Полученные данные расчета заносим в таблицу 3
Таблица 3 – Технологическое водопотребление
| 1 предприятие | 2 предприятие | ||||
| 1 смена | 2 смена | 1 смена | 2 смена | ||
| Суточное количество воды на технологические нужды, м3 / сут. | 3 800 | 5 200 | |||
| 2 280 | 1 520 | 3 120 | 2 080 | ||
Часовой расход, м3 / ч |
285 | 190 | 390 | 260 | |
Суммарные расходы воды по отдельным предприятиям сводим в таблицу Приложения 1.
Расход на хозяйственно-питьевые нужды распределяем по часам суток согласно таблице 3.1.4 [1, стр. 15].
Расход на душевые нужды происходит в течение первого часа последующей смены.
Расход на технологическое водопотребление предприятия распределяется равномерно по часам смены.
1.1.4 Противопожарное водопотребление
Максимальные секундные и часовые расходы воды на тушение пожаров определяются соответственно по формулам:
qпож. сек. = qпож. · n, л / с (18)
Qпож. час. = 3.6 · qпож · n, м3 / час (19)
где qпож – расчетный расход воды на тушение одного пожара в населенном пункте, л/с;
n – число одновременных пожаров.
По таблице 3.1.7 [1, стр. 18] принимаем qпож = 35 л/с; n = 2
Подставив данные значения в формулы 18 и 19 получим:
qпож. сек. = 35 · 2 = 70 л / с
Qпож. час. = 3.6 · 35 · 2 = 252 м3 / час
Полный объем воды на тушение пожара определяется по формуле:
Vпож. гор. = 3.6 · Т · qпож · n, м3 (20)
где Т – продолжительность тушения пожара, Т = 1 час.
Vпож. гор. = 3.6 · 1 · 35 · 2 = 252 м3
1.1.5 Суммарное водопотребление города
Суммарный среднесуточный расход по городу определяем по следующей формуле:
Q
= Qср.сут.
+
, м3
/ сут. , (21)
где Qср.сут – средне – суточный расход воды на хозяйственно-питьевые нужды населения, м3 / сут.;
– суммарный расход воды на промышленных предприятиях, м3
/ сут.
Q
= 5850 + 4275 + 16295 = 26420 м3
/ сут.
Процентное распределение водопотребления населением города по часам суток принимается по типовым графикам водопотребления, представленным в приложении 1 [1, приложение 1].
Суммарные расходы воды по отдельным предприятиям берем из таблицы Приложения 1 и распределяем по часам суток согласно таблице 3.1.4 [1, стр. 15].
Данные о суммарном водопотреблении города сводим в таблицу Приложения 2.
1.2 Режимы работы насосных станций первого и второго подъема
На основании данных таблицы Приложения 2 строим ступенчатый график водопотребления города.

Рисунок 1 – Совмещенный график суммарного водопотребления и работы насосной станции первого подъема.
Режим подачи воды насосной станции первого подъема, а также поступление воды с очистных сооружений в резервуары чистой воды принимается равномерным в течении суток, т.е. 4,17 % от Q![]()
В соответствии с графиком водопотребления график работы насосной станции второго подъема подбирается в зависимости от производительности запроектированных насосов.
1.3 Связь между отдельными элементами водоснабжения в отношении напоров
Все элементы водоснабжения связаны между собой по линии свободных напоров (давлений).
Требуемый свободный напор при максимальном водопотреблении на вводе в здание, при отсутствии данных гидравлического расчета внутреннего водопровода, определяется по формуле:
Нсв. = 10 + 4 · (n – 1), м (22)
где n – количество этажей в здании.
Нсв. = 10 + 4 · (9 – 1) = 42 м
При расчете требуемого минимального избыточного давления в водопроводной сети на вводе в здание для многоэтажной застройки следует использовать следующую формулу:
Ртр. = 0,1 + (n – 1) · 0,04, МПа (23)
Ртр. = 0,1 + (9 – 1) · 0,04 = 0,42 МПа
Давление в водопроводной сети на вводе в здание не должно превышать 0,6 МПа.
На основании определения свободного напора в диктующей точке города строится высотная схема водопотребления во всей системе водоснабжения города.
Данная схема представлена в Приложении 3.
Высотная схема водопотребления сооружений составлена условно, ввиду отсутствия гидравлического расчета водоводов и водопроводной сети (что не предусмотрено заданием на проектирование).
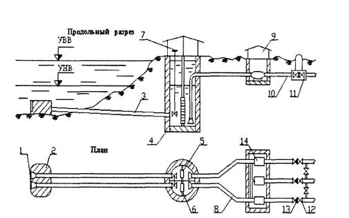
1.4 Проектирование водозаборных сооружений
В данном проекте в качестве источника водоснабжения предусматривается река, протекающая в городе. В связи с этим необходимо запроектировать речной водозабор.
Водозаборные сооружения бывают берегового и руслового типа.
При наличии вблизи берега глубин, обеспечивающих требуемые условия забора воды, применяют водозаборы берегового типа. Водозаборы руслового типа применяют при относительно пологом береге, когда требуемые для забора воды глубины в реке находятся на значительном расстоянии от берега.
Согласно заданию на курсовое проектирование уровень верхних вод УВВ = 22.0 м, а уровень нижних вод УНВ = 18.0м. Так как разница между УВВ и УНВ равна 4 метрам, то принимаем русловой водозабор раздельного типа представленный на рисунке 2.

Рисунок 2 – Русловой водозабор раздельного типа.

1.5 Проектирование очистных водопроводных сооружений
Согласно заданию на проектирование характеристика загрязненности поверхностного источника следующая:
Мутность = 30 мг / л;
Цветность = 50 градусов.
В соответствии с таблицей 3.1.9 [1, стр. 27] и производительностью станции водоподготовки, т.е. суммарному водопотреблению города, равной 31 400 м3 принимаем сооружение станции водоподготовки в следующем составе:
Для обработки воды с применением коагулянтов и флокулянтов используем скорые фильтры и горизонтальные отстойники.
Для обеззараживания, т.е. для уничтожения содержащихся в воде бактерий, применяем хлорирование.
Состав очистных сооружений представлен на рисунке 3.

Проектом зон санитарной охраны водопровода должны быть определены границы поясов зоны источников водоснабжения, зоны и полосы водопроводных сооружений и полосы водоводов.
Границы зон санитарной охраны поверхностных источников водоснабжения.
Границы первого пояса для водотоков должны устанавливаться на следующих расстояниях от водозабора:
- вверх по течению реки – не менее 200 м.;
- вниз по течению реки – не менее 100 м.;
- по прилегающему к водозабору берегу – не менее 100 м от уреза воды при летне-осенней межени;
- в направлении к противоположному берегу полоса акватории шириной не менее 100 м.
Границы второго пояса зоны водотока надлежит устанавливать:
- вверх по течению реки – исходя из скорости течения воды;
- вниз по течению – не менее 250 м.;
- боковые границы – на расстоянии от уреза воды при летне-осенней межени 500 м.
Границы третьего пояса зоны поверхностного источника водоснабжения должны быть вверх и вниз по течению, такими же как и для второго пояса, боковые границы – по водоразделу, но не более 3-5 км от водотока.
Площадки водопроводных сооружений.
Граница первого пояса зоны водопроводных сооружений должна совпадать с ограждением площадки сооружений и предусматриваться на расстоянии: от стен резервуаров фильтрованной воды и фильтров – не менее 30 м.; от стен остальных сооружений – не менее 15 м.
2 Проектирование водоотведения города
2.1 Определение расчетных расходов сточных вод
2.1.1 Расчетные расходы сточных вод от населения города
Для определения расчетных расходов сточных вод определяется расчетное население для каждого района города по формуле 2.
Для каждого района города, а затем и для города в целом определяются суточные, часовые и секундные расходы сточных вод по следующим формулам:
Qw
=
, м3
/ сут; (24)
Qh
=
, м3
/ час; (25)
qw
=
=
, л/с (26)
Произведя расчеты по вышеуказанным формулам, полученные данные сводим в таблицу 4.
Таблица 4 – Расчетные расходы сточных вод от населения города.
| Район А | Район В | Город | |
| Расчетное количество жителей, чел. | 40160 | 30240 | 70400 |
| Среднесуточный расход сточных вод Qw , м3 / сут. | 8674 | 7620 | 16294 |
| Среднечасовой расход сточных вод Qh , м3 / час. | 361.4 | 317.5 | 678.9 |
| Среднесекундный расход сточных вод qw , л/с. | 100.4 | 88.2 | 188.6 |
По величине среднесекундного расхода сточных вод на основании таблицы 3.2.1 [1, стр. 35] определяем величины коэффициентов общей неравномерности:
Кgen . max . = 1,58 Кgen . min . = 0,60
Вычисляем максимальные и минимальные часовые и секундные расходы сточных вод по следующим формулам:
Q
= Кgen.max.
· Qh
Q
= 1 073 м3
/ час
Q
= Кgen
.
min
.
· Qh
Q
= 407.3 м3
/ час
q
= Кgen
.
max
.
· qw
q
= 298 л / с
q
= Кgen
.
min
.
· qw
q
= 113.2 л / с
2.1.2 Расчетные расходы сточных вод от промпредприятий
Расчетные расходы сточных вод от промпредприятий складываются из расходов бытовых, душевых и производственных сточных вод.
Расчет данных расходов аналогичен расчету, представленному в разделе 1.1.3 Определение расходов воды на промпредприятии. Принимаем полученные данные и заносим в таблицу 5.
Максимальный секундный расход бытовых сточных вод определяется по следующей формуле:
qсм
=
, л/с (27)
где К – коэффициенты часовой неравномерности поступления бытовых сточных вод.
Для горячих цехов К = 2,5;
Для холодных К = 3.
Т – продолжительность смены в часах, Т = 8 часов.
Данные, полученные подстановкой в формулу 27 также заносим в таблицу 5.
Таблица 5 – Расчетные расходы сточных вод от промпредприятий
| 1 предприятие | 2 предприятие | Суммарный расход | ||||
| 1 смена | 2 смена | 1 смена | 2 смена | 1 смена | 2 смена | |
Расход бытовых сточных вод в холодных цехах, м3 / см. |
84 | 56 | 42 | 28 | 126 | 84 |
Расход бытовых сточных вод в горячих цехах, м3 / см. |
37.8 | 25.2 | 18.9 | 12.6 | 56.7 | 37.8 |
| Максимальный секундный расход бытовых сточных вод, л/с | 5.9 | 8 | 6 | 8.12 | ||
| Расход душевых сточных вод, м3 / см. | 57 | 68.4 | 78 | 93.6 | 135 | 162 |
| Количество технологических сточных вод, м3 / см. | 2 280 | 1520 | 3 120 | 2080 | 5 400 | 3 600 |
| Часовой расход технологических сточных вод, м3 / час. | 285 | 190 | 390 | 260 | 675 | 450 |
2.2 Составление таблицы притока сточных вод по часам суток
Процентное распределение хозяйственно-бытовых сточных вод от населения города по часам суток принимается по типовым графикам водоотведения, представленным в приложении 2 [1, приложение 2].
Распределение бытовых сточных вод на промпредприятиях по часам суток производится согласно таблицы 3.2.2 [1, стр. 36]
Душевые сточные воды расходуются в первый час последующей смены.
Технологические сточные воды распределяются посменно равномерно по часам суток.
На основании вышеизложенного и согласно данным пункта 2.1 составляем таблицу распределения расхода сточных вод по часам суток для города в целом Приложения 4.
2.3 Выбор системы и схемы отведения
В данном курсовом проекте предусматривается разработка неполной раздельной системы канализации города. Схема канализации пересеченная централизованная.
2.4 Трассировка сети водоотведения
В курсовом проекте принята объемлющая схема трассировки. Главный коллектор проложен вдоль реки с восточной части города и самотеком доставляет сточные воды на главную канализационную насосную станцию. Уличные сети проложены с наиболее высокой точки в наиболее низкую.
Очистные канализационные сооружения расположены вниз по течению реки в западную часть города, от главной канализационной насосной станции.
Сточные воды подаются на очистные сооружения минимум по двум ниткам напорных водоводов.
Ввиду того, что преобладающие в году ветра южного направления, то предусматриваем защитную зеленую полосу, между жилой застройкой и очистными канализационными сооружениями. Расстояние от границы жилой застройки до очистных канализационных сооружений в соответствии с СНиП должно составлять не менее 400 м.
2.5 Проектирование канализационных очистных сооружений
2.5.1 Определение основных расчетных параметров очистной станции
Расчетными параметрами очистной станции являются:
1. Расходы сточных вод;
2. Концентрация различных видов загрязнений;
3. Показатели требуемой степени очистки сточных вод.
2.5.1.1 Определение расчетных расходов сточных вод
Для данного курсового проекта расчетные расходы сточных вод, поступающих на очистную станцию, определяются из таблицы притока сточных вод по часам суток.
Суммарный суточный расход сточных вод, поступающих на станцию:
Qw = 27 818,5 м3 / сут.
Среднесуточный расход бытовых сточных вод от населения города:
Для района А Q
= 8674.5 м3
/ сут.
Для района В Q
= 7620 м3
/ сут.
Для города Q
= 16295 м3
/ сут.
Суточный расход сточных вод от промпредприятий:
Qпр = 26420 – 16295 = 10125 м3 / сут.
Среднечасовой расход сточных вод станции составляет:
Qh
=
= 26420 / 24 = 1 101 м3
/ час;
Среднесекундный расход сточных вод станции составляет:
qw
=
= 1101 / 3,6 = 305.8 л/с
Максимальные и минимальные часовые и секундные расходы сточных вод составляют:
Q
= 1321.2 м3
/ час
Q
= 880.8 м3
/ час
q
= 367.0 л / с
q
= 244.64 л / с
2.5.1.2 Определение концентраций загрязненных сточных вод
Концентрация загрязнений промышленного стока принимается по заданию на проектирование:
Концентрация взвешенных веществ – ben пр. = 400 мг/л
БПК полное – Len пр. = 330 мг/л
Концентрация взвешенных веществ в хозяйственно-бытовых сточных водах определяется по формуле:
b
=
, мг/л (28)
где 65 г/сут – норма взвешенных веществ на одного жителя в сутки согласно таблицы 3.2.4 [1, стр. 40];
qn – норма среднесуточного отведения воды на одного жителя согласно таблицы 3.1.1 [1, стр. 11]
При 5 степени qА = 180 л / сут на 1 жителя
При 6 степени qВ = 210 л / сут на 1 жителя
Сделав подстановку в формулу 28 получим:
Для района А b
=
= 361 мг/л
Для района В b
=
= 309 мг/л
Концентрация взвешенных веществ в общем стоке определяется по следующей формуле:
ben
=
, мг/л (29)
ben =361*8674,5+309*7620+330*10125/16295+10125 = 334.1 мг/л
Концентрация по БПК полному в хозяйственно-бытовых сточных водах определяется по формуле:
L
=
, мг/л (30)
Где 64 г/сут – норма БПК полного осветленной воды на одного жителя в сутки согласно таблицы 3.2.4 [1, стр. 40];
Сделав подстановку в формулу 30 получим:
Для района А L
=
= 355 мг/л
Для района В L
=
= 305 мг/л
Концентрация БПК полного в общем стоке определяется по следующей формуле:
Len
=
, мг/л (31)
Len = 379 мг/л
2.5.2 Выбор и обоснование метода очистки сточных вод и состава очистных сооружений
Выбор метода очистки сточных вод и выбор состава сооружений очистной станции производится в зависимости от суточной производительности станции и показателей требуемой степени очистки сточных вод.
Так как пропускная способность очистной станции Qw = 27 818,5 м3 / сут., а требуемая степень очистки сточных вод по взвешенным веществам и по БПК полному не превышает 15 мг/л, то принимаем следующий состав очистных канализационных сооружений в соответствии с рекомендациями таблицы 3.2.5 [1, стр. 43].
Механическая очистка состоит из:
- приемная камера;
- здание решеток;
- песколовки;
- бункеры для песка;
- первичные радиальные отстойники.
Биологическая очистка включает:
- аэротенки;
- вторичные радиальные отстойники.
Обеззараживание состоит из:
- хлораторная;
- смеситель;
- контактные резервуары.
Обработка осадка производится на:
- илоуплотнителях;
- цехах механического обезвоживания осадка;
2.5.3 Выбор места расположения канализационных очистных сооружений
Санитарно-защитные зоны от канализационных очистных сооружений до границ жилой застройки принимаются в зависимости от производительности очистной станции по таблице 3.2.6 [1, стр. 45].
Для сооружений механической и биологической очистки с термомеханической обработкой осадков в закрытых помещениях и с иловыми площадками принимаем санитарно-защитную зону – 400 м.
Ввиду того, что преобладающие в году ветра южного направления, то предусматриваем защитную зеленую полосу, между жилой застройкой и очистными канализационными сооружениями.
Список использованной литературы
1. Кулешова Л.В. Водный менеджмент. Методические указания к курсовому проекту. – Мн.: БНТУ, 2007. – 55с.
2. Абрамов Н.Н. Водоснабжение. – М. : Стройиздат, 1982. – 440с.
3. Яковлев С.В. Канализация 5-е изд., перераб. и дополн. – М.: Стройиздат, 1985.
4. СНБ 4.01.01-03 Водоснабжение питьевое. Общие положения и требования. – Мн.: Минстройархитектура РБ, 2004. – 24 с.
5. СНБ 4.01.02-03 Противопожарное водоснабжение. – Мн.: Минстройархитектура РБ, 2004. – 21 с.
6. СНиП 2.04.02-84. Строительные нормы и правила. Водоснабжение. Наружные сети и сооружения. – М.: Стройиздат, 1984.
7. СНиП 2.04.03-85. Строительные нормы и правила. Канализация. Наружные сети и сооружения. – М.: Стройиздат, 1985.
| Часы суток | Хозяйственно-питьевые нужды населения | Суммарные расходы на промышленных предприятиях | Суммарное водопотребление города | ||||
| Кч тип | Кч расч | м3 /ч | 1 - е | 2 - е | м3 /ч | % от | |
| % Q сут. средн. | % Q сут. средн. | м3/ч | м3 /ч | ||||
| 0-1 | 0,90 | 0,91 | 148,28 | 131,00 | 13,00 | 292,28 | 1,13 |
| 1-2 | 0,90 | 0,91 | 148,28 | 0,00 | 0,00 | 148,28 | 0,57 |
| 2-3 | 0,90 | 0,91 | 148,28 | 0,00 | 0,00 | 148,28 | 0,57 |
| 3-4 | 1,00 | 1,00 | 162,95 | 0,00 | 0,00 | 162,95 | 0,63 |
| 4-5 | 2,35 | 2,35 | 382,93 | 0,00 | 0,00 | 382,93 | 1,47 |
| 5-6 | 3,85 | 3,85 | 627,36 | 0,00 | 0,00 | 627,36 | 2,42 |
| 6-7 | 5,20 | 5,20 | 847,34 | 0,00 | 0,00 | 847,34 | 3,26 |
| 7-8 | 6,20 | 6,20 | 1 010,29 | 0,00 | 0,00 | 1 010,29 | 3,89 |
| 8-9 | 5,50 | 5,50 | 896,23 | 294,80 | 396,52 | 1 587,55 | 6,11 |
| 9-10 | 4,85 | 4,85 | 790,31 | 300,05 | 398,49 | 1 488,85 | 5,73 |
| 10-11 | 5,00 | 5,00 | 814,75 | 300,05 | 398,49 | 1 513,29 | 5,83 |
| 11-12 | 6,50 | 6,50 | 1 059,18 | 305,30 | 400,46 | 1 764,94 | 6,80 |
| 12-13 | 7,50 | 7,47 | 1 217,24 | 294,80 | 396,52 | 1 908,56 | 7,35 |
| 13-14 | 6,70 | 6,70 | 1 091,77 | 300,05 | 398,49 | 1 790,31 | 6,89 |
| 14-15 | 5,35 | 5,35 | 871,78 | 300,05 | 398,49 | 1 570,32 | 6,05 |
| 15-16 | 4,65 | 4,65 | 757,72 | 306,67 | 401,83 | 1 466,22 | 5,65 |
| 16-17 | 4,50 | 4,50 | 733,28 | 392,54 | 283,85 | 1 409,67 | 5,43 |
| 17-18 | 5,50 | 5,50 | 896,23 | 200,04 | 265,66 | 1 361,93 | 5,24 |
| 18-19 | 6,30 | 6,30 | 1 026,59 | 200,04 | 265,66 | 1 492,29 | 5,75 |
| 19-20 | 5,35 | 5,35 | 871,78 | 203,54 | 266,97 | 1 342,29 | 5,17 |
| 20-21 | 5,00 | 5,00 | 814,75 | 196,54 | 264,35 | 1 275,64 | 4,91 |
| 21-22 | 3,00 | 3,00 | 488,85 | 200,04 | 265,66 | 954,55 | 3,68 |
| 22-23 | 2,00 | 2,00 | 325,90 | 200,04 | 265,66 | 791,60 | 3,05 |
| 23-24 | 1,00 | 1,00 | 162,95 | 204,44 | 267,88 | 635,27 | 2,45 |
| Сумма | 100,00 | 100,00 | 16 295 | 4 329,99 | 5 347,98 | 25 972 | 100,00 |