| Скачать .docx |
Реферат: Химия и физика пленкообразующих веществ
Химия и физика пленкообразующих веществ.
Контрольная работа №1
| Билет №13 |
||
| 1 |
— |
Персистентная длина цепи. |
| 2 |
— |
Влияние концентрации полимера и термодинамического качества растворителя на вязкость концентрированных растворов. |
| 3 |
— |
Методы определения оптических свойств покрытий. |
| Билет №7 |
||
| 1 |
— |
Ультрацентрифугирование. |
| 2 |
— |
Методы измерения вязкости жидкостей: капиллярная и ротационная вискозиметрия. |
Билет №13.
1. Персистентная длина цепи.
Персистентная длина цепи. Эта характеристика гибкости макромолекул основана на графическом анализе проекции полимерной цепи, образующей на плоскости линию с непрерывно изменяющейся кривизной («червеобразную» цепь) [рис.1].
Эта характеристика гибкости макромолекул была предложена Породом и Доти.
Проекция вектора расстояния между концами бесконечно длинной цепи
на направление касательной первому звену такой молекулы, равная
, и соответствует персистентной длине.
Персистентная длина в 2 раза меньше статистического сегмента Кулона, т.е.
.
Оценить значения
целесообразно для полужестких цепей, когда
В этом случае:
![]()

|
|
|
Рис.1. Проекции цепи на плоскость для расчета:
а) размеров сегмента Куна; б) персистентной длины.
Билет №13.
2. Влияние концентрации полимера и термодинамического качества растворителя на вязкость концентрированных растворов.
Смешение линейного или разветвленного полимера с низкомолекулярной жидкостью может привести либо к растворению, либо к образованию коллоидной системы – в зависимости от достигаемой степени дисперсности. При достижении молекулярной степени дисперсности образуются истинные растворы, для которых характерны самопроизвольность образования, равновестность, гомогенность, стабильность.
Системы полимер – растворитель
, концентрация полимера в которых такова, что взаимодействием между растворенными макромолекулами можно пренебречь, называются разбавленными растворами. Концентрационной границей является величина
. Макромолекулы в разбавленном растворе представляют собой более или менее анизотропные по форме статистические клубки, способные удерживать в результате сольватации или иммобилизации некоторое количество молекул растворителя. Свободное движение таких молекулярных клубков может быть уподоблено движению сферической частицы, радиус которой соответствует большой полуоси гипотетического эллипсоида вращения, а объем ее равен объему статистического клубка. Вязкость таких растворов описывается уравнением Энштейна:
здесь
- коэффициент формы; для сферической частицы
, для клубков анизотропной формы: ![]()
где a
и b
– большая и малая полуоси гипотетического эллипсоида вращения молекулярного клубка,
- объемная доля полимера.
Закон Эйнштейна выполняется достаточно строго лишь до концентрации
.
Однако асимметрия молекулярных клубков является причиной проявления аномалии вязкостных свойств даже в разбавленных растворах синтетических и природных полимеров вследствие ориентации таких частиц в потоке при достаточно больших τ, а также из-за гидродинамического взаимодействия. При небольших и средних τ разбавленные растворы полимеров являются ньютоновскими жидкостями.
Растворы полимеров, в которых отсутствует линейность концентрационной зависимости вязкости, называются концентрированными.
Резкое увеличение вязкости концентрированных растворов с повышением концентрации полимера объясняется следующими структурными и термодинамическими факторами:
Увеличение концентрации полимера приводит к возрастанию вязкости растворов полимеров в тем большей степени, чем:
- хуже термодинамическое качество растворителя
- больше молекулярная масса полимера
- шире молекулярно-массовое распределение (при
)
- жестче полимерные цепи
- ниже температура раствора.

Рис. 2.1 Влияние концентрации полимеров ( φ – объемная доля полимеров) на эффективную вязкость концентрированных растворов полимеров:
1 – жесткоцепные полимеры (
![]()
2 – полужесткоцепные полимеры
3 – гибкоцепные полимеры (
![]()
Следует отметить неопределенность понятия «концентрированный раствор полимера», тем более что граничное условие
тоже приблизительно.
Например, Дж. Ферри относит к концентрированным также растворы полимеров, в которых отношение вязкости раствора к вязкости растворителя, т.е. больше 100. В зависимости от термодинамической гибкости макромолекул область перехода от разбавленных к концентрированным растворам составляет от долей % (мас.) – для жесткоцепных до 8-10% (мас.) – для гибкоцепных полимеров.
Условно принимают, что к среднеконцентрированным растворам можно отнести растворы, содержащие до 0,3 объемных долей полимера, с бо’льшим содержанием полимера – к высококонцентрированным. Влияние концентрации полимеров на вязкость неразрушенной структуры растворов полимеров различной гибкости иллюстрируется на [рис.2.1]. Возрастание
при увеличении концентрации происходит тем интенсивней, чем более жестки макромолекулы.
Концентрационная зависимость
существенно зависит от доли свободного объема системы. Согласно Фуджите – Касимото,

где:

Здесь
и
- вязкость растворов с объемными долями растворителя
и
при температуре Т
, причем второй раствор (
выбран в качестве стандартного;
- доля свободного объема стандартного раствора;
- функция взаимодействия полимера с растворителем.
Зависимость
или
описывается также уравнением Келли – Бики:
![]()
где
- объемная доля полимера в растворе;
- параметр, включающий молекулярную массу полимера;
- плотность раствора;
- температура раствора;
и
- температуры стеклования полимера в твердом состоянии и в растворе соответственно;
- температурный коэффициент свободного объема
.
Для полимеров обычно принимают
,
т.е.
, так как
при ![]()
Для раствора
, причем ![]()
Концентрационная зависимость вязкости растворов полимеров в первом приближении может быть описана следующими соотношениями:
по Я. Франкелю – ![]()
по С. Папкову – ![]()
где А и В – постоянные для данной системы «полимер – растворитель»; С – концентрация полимера (по массе).
Для ряда волокнообразующих полимеров (ХПВХ, ПАН, АЦ) может быть принято полулогарифмическое соотношение в области средних концентраций:
![]()
В этом случае значения постоянных А и В существенно зависят от термодинамического качества растворителя [рис.2.2]: его ухудшение обусловливает более резкое увеличение
. Эти результаты свидетельствуют о том, что вязкость изоконцентрированных растворов тем ниже, чем лучше термодинамические свойства растворителя.
Очевидно, что уравнения
и
описывают соответствующие прямолинейные зависимости, что позволяет проводить расчетную оценку вязкостных свойств при различных концентрациях растворов.

Рис. 2.2. Влияние природы растворителя на эффективную вязкость концентрированных растворов полиакрилонитрила ( С – концентрация полимера) при 298 К и τ = 5 Па.
Растворители:
1 - диметилформамид;
2 - диметилсульфоксид;
3 - 90% -й водный раствор этиленкарбоната;
4 - 51,5% -й водный раствор NaCNS ;
5 - 60% -й водный раствор ZnCl 2 .
Билет №13 .
3. Методы определения оптических свойств покрытий.
Оптические свойства. К оптическим характеристикам покрытий относятся:
- Цвет
- Прозрачность
- Укрывистость
- Блеск.
Эти свойства определяются составом и качеством приготовления лакокрасочного материала, природой и качеством подготовки поверхности, соблюдением технологического формирования покрытия. При оценке внешнего вида покрытий необходимо учитывать их функциональное назначение, физиологическое и психологическое влияние на человека. Оптические свойства, как и другие показатели покрытий, изменятся в процессе эксплуатации, поэтому необходимое требование к покрытиям – их длительная стабильность.
Для определения оптических свойств покрытий применяют:
- Спектрофотометрический
- Колориметрический
- Визуальный способы.
Спектрофотометрический метод основан на определении спектрального состава излучения, спектральных коэффициентов пропускания и отражения, яркости образцов, отражающих свет.
Измерение колориметрическим методом основано на принципе смешения окрашенных световых потоков с известными параметрами (или смешения цветов), при котором достигается идентификация определяемого цвета.
Для каждой области спектра преимущественно используют свои приборы. Так, для характеристики пленок и покрытий в видимой области применяют спектрофотометр СФ-18, фотометры ФО-1, ФОУ, колориметры фотоэлектрические КФО и КФК-2, КФК-3 [рис.3] и т.д.
Более широкий диапазон измерений, включая видимую и УФ-области, имеют
спектрофотометры СФ-20 и СФ-26 и фотометры ФМ-59, ФМ-85 и ФМ-99. Последние два прибора работают и в ближней ИК-области. Однако для ИК-области применяют в основном специальные приборы — спектрометры ИКС-29 и ИКС-31. Для определения коэффициента излучения 8 непрозрачных материалов пользуются терморадиометрами ТИС, ТРМ-И и тепловизором АГА-680, а коэффициента поглощения солнечного излучения cxs — альбедометром М-69.
Рис.3. Колориметр фотоэлектрический КФК-3.
Для инструментальной оценки цвета покрытий служат фильтровой колориметр ФМ-104м и компаратор цвета КЦ-2, оснащенный микро-ЭВМ.
Визуальный метод определения цвета связан со сравнением испытываемых образцов с эталонными накрасками картотеки или атласа цветовых эталонов. Имеются картотеки, разработанные в ГИПИ ЛКП и во ВНИИ технической эстетики, а также атласы цветов.
Блеск покрытий определяют с помощью фотоэлектрических блескомеров ФБ-2 [рис. 4] и ФБ-5.
Блескомер предназначен для измерения коэффициента зеркального отображения (при геометрии освещения-наблюдения 45°/45°) и коэффициента яркости (при 45°/0°) направленного светового потока от поверхности лакокрасочных покрытий в видимой области спектра с целью количественной оценки зрительного восприятия человеческим глазом степени блеска (ГОСТ 896-69) и белизны указанных покрытий.
Определение основано на измерении фототока, возникающего под действием пучка света, падающего на поверхность покрытия под углом 45⁰ и отраженного от нее.

Рис. 4. Блескомер типа ФБ-2.
Билет №7.
1. Ультрацентрифугирование.
Ультрацентрифугирование - метод разделения и исследования частиц размером менее 100 нм (макромолекул органелл животных и растительных клеток, вирусов и др.) в поле центробежных сил. Позволяет разделять смеси частиц на фракции или индивидуальные компоненты, находить молекулярную массу и ММР полимеров, плотность их сельватов. Дает возможность оценивать форму и размеры макромолекул в растворе, влияние статического давления на стабильность частиц, параметры взаимодействия типа ассоциация - диссоциация макромолекул друг с другом или с молекулами низкомолекулярных компонентов и ионами, влияние природы растворителя на конформации макромолекул и др.
Метод осуществляется с помощью ультрацентрифуг. Ультрацентрифуга (от ультра ..., центр и лат. fugo — бег, бегство), прибор для разделения частиц менее 100 нм (коллоидов, субклеточных частиц, макромолекул белков, нуклеиновых кислот, липидов, полисахаридов, синтетических полимеров и пр.), взвешенных или растворённых в жидкости; это достигается вращением ротора, создающего центробежное поле с ускорением, на много порядков превышающим ускорение силы тяжести.
Первая ультрацентрифуга, предназначенная для изучения движения частиц, невидимых в световой микроскоп, была создана шведским учёным - химиком Теодором Сведбергом (Theodor Swedberg, 1884-1971) в 1923 (публикация в 1924). В этой ультрацентрифуге достигались центробежные ускорения всего до 5000 g. Она имела абсорбционную оптическую систему и использовалась для изучения движения частиц золота диаметром около 5 нм. В 1926 Т.Сведберг сконструировал первую высокоскоростную ультрацентрифугу (41000 об/мин, ускорения — до 105 g), с помощью которой проводились аналитические исследования белков в растворах (в частности, гемоглобина). В 1939 Т.Сведбергом создана аналитическая ультрацентрифуга со стальным ротором (65000 об/мин).
По назначению и конструкции ультрацентрифуги подразделяются на:
- препаративные,
- аналитические
- препаративно-аналитические.
Препаративные ультрацентрифуги снабжены угловыми роторами с гнёздами для цилиндрических пробирок, стаканов или бутылок, наклоненных под углом 20 – 40° к вертикальной оси ротора, либо так называемыми бакетными роторами со стаканами, поворачивающимися на 90° при вращении. Существуют также зональные и проточные роторы с одной большой внутренней полостью для фракционируемой жидкости. Данные ультрацентрифуги используются для выделения отдельных компонентов из сложных смесей.
Аналитические ультрацентрифуги снабжены роторами со сквозными цилиндрическими гнёздами, в которые помещены специальные прозрачные кюветы для исследуемых растворов или суспензий. Процесс перераспределения частиц в них можно наблюдать непосредственно при вращении ротора с помощью специальных оптических систем (рефрактометрических, абсорбционных). Существуют модели аналитических ультрацентрифуг, соединённых с ЭВМ, производящими автоматическую обработку экспериментальных данных.
Ультрацентрифугирование подразделяется на:
- скоростное
- равновесное.
В первом случае частицы движутся по радиусу ротора соотв. своим коэф. седиментации, в первом приближении пропорциональным массе частицы, разности плотностей частицы
и жидкости
при
частицы перемещаются от оси вращения ротора к периферии (седиментируют), при
- в сторону оси вращения (флотируют).
При равновесном ультрацентрифугировании перенос частиц по радиусу продолжается до тех пор, пока сумма химического потенциала и молярной потенциальной энергии в каждой точке системы не станет постоянной величиной, после чего распределение частиц перестанет изменяться.
Билет №7.
2. Методы измерения вязкости жидкостей: капиллярная и ротационная вискозиметрия.
Вязкость жидкостей (внутреннее трение) - свойство оказывать сопротивление перемещению одной их части относительно другой.
Вискозиметры (от латинского «viscous» - вязкость) – приборы для измерения вязкости – в настоящее время широко применяются в различных областях науки, техники и промышленности.
По принципу работы существующие модели вискозиметров делят на четыре основные группы: капиллярные, ротационные, с падающим шариком, вибрационные.

Вискозиметры – достаточно дорогостоящие приборы. Большинство существующих моделей вискозиметров для измерений требуют сравнительно большие объемы жидкостей (100 и более мл), что не всегда возможно, например, при исследовании дорогих или токсичных жидкостей, а также при реологическом анализе крови. Кроме того, промышленно выпускаемые модели имеют не очень широкий диапазон измерений; внешние условия могут влиять на результаты эксперимента, а переградуировка приборов трудоемка.
Метод капиллярной вискозиметрии.
Метод капиллярной вискозиметрии опирается на закон Пуазейля о вязкой жидкости, описывающий закономерности движения жидкости в капилляре.
Приведем уравнение гидродинамики для стационарного течения жидкости, с вязкостью
через капилляр вискозиметра:

![]()
Q – количество жидкости, протекающей через капилляр капиллярного вискозиметра в единицу времени, м3 /с,
R – радиус капилляра вискозиметра, м
L – длина капилляра капиллярного вискозиметра, м
– вязкость жидкости, Па·с,
p – разность давлений на концах капилляра вискозиметра, Па.
Отметим, что формула Пуазейля справедлива только для ламинарного потока жидкости, то есть при отсутствии скольжения на границе «жидкость – стенка капилляра вискозиметра».
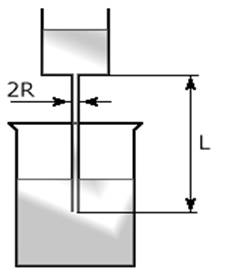
Приведенное уравнение используют для определения динамической вязкости. Ниже [рис.5] размещено схематическое изображение капиллярного вискозиметра.
В капиллярном вискозиметре жидкость из одного сосуда под влиянием разности давлений р истекает через капилляр сечения 2R и длины L в другой сосуд. Из рисунка видно, что сосуды имеют во много раз большее поперечное сечение, чем капилляр вискозиметра, и соответственно этому скорость движения жидкости в обоих сосудах в N раз меньше, чем в капилляре вискозиметра. Таким образом не все давление пойдет на преодоление вязкого сопротивления жидкости, очевидно, что часть его будет расходоваться на сообщение жидкости неопределённой кинетической энергии. Следовательно, в уравнение Пуазейля необходимо ввести некоторую поправку на кинетическую энергию, называемую поправкой Хагенбаха:
| Рис. 5. Схематическое изображение капиллярного вискозиметра |
где h – коэффициент, стремящийся к единице, d – плотность исследуемой жидкости. |
Вторую поправку условно назовём поправкой влияния начального участка капилляра вискозиметра на характер движения исследуемой жидкости. Она будет характеризовать возможное возникновение винтового движения и завихрения в месте сопряжения капилляра с резервуаром капиллярного вискозиметра (откуда вытекает жидкость). Суть поправки состоит в том, что вместо истинной длины капилляра вискозиметра L мы вводим кажущуюся длину L':
![]()
n
– определяется экспериментально на основе изменений при разных значениях L
и примерно равен единице ![]()
Следует учитывать, что при измерении вязкости органических жидкостей с большой кинематической вязкостью поправка Хагенбаха незначительна и составляет доли процента. Если же говорить о высокотемпературных вискозиметрах, то вследствие малой кинематической вязкости жидких металлов поправка может достигать 15%.
Метод капиллярной вискозиметрии вполне можно отнести к высокоточному методу вискозиметрии в силу того, что относительная погрешность измерений составляет доли процента, в зависимости от подбора материалов вискозиметра и точности отсчёта времени, а также иных параметров, участвующих в методе капиллярного истечения.
Ротационный метод.
Ротационный метод вискозиметрии заключается в том, что исследуемая жидкость помещается в малый зазор между двумя телами, необходимый для сдвига исследуемой среды. Одно из тел на протяжении всего опыта остаётся неподвижным, другое, называемое ротором ротационного вискозиметра, совершает вращение с постоянной скоростью. Очевидно, что вращательное движение ротора визкозиметра передается к другой поверхности (посредством движения вязкой среды; отсутствие проскальзывания среды у поверхностей тела предполагается, таким образом рассматриваются). Отсюда следует тезис: момент вращения ротора ротационного вискозиметра является мерой вязкости.
Для простоты мы рассмотрим инверсную модель ротационного вискозиметра [рис. 6]: вращаться будет внешнее тело, внутреннее тело останется неподвижным, ему и будет сообщаться момент вращения. Однако для краткости изложения будем называть внутреннее тело ротором ротационного вискозиметра.
Рис. 6. Схематическое изображение
ротационного вискозиметра.
Введём необходимые обозначения:
| R1 ,L |
|
радиус и длина ротора ротационного вискозиметра |
| ω |
|
постоянная угловая скорость вращения внешнего тела |
| R2 |
|
радиус вращающегося резервуара ротационного вискозиметра |
| η |
|
вязкость исследуемой cреды |
| M1 |
|
момент вращения, передаваемый через вязкую жидкость, равный
|
| d, l |
|
диаметр и длина упругой нити |
| φ |
|
угол, на который закручивается неподвижно закреплённая нить, |
| G |
|
момент упругости материала нити |
При этом крутящий момент M1 ротора ротационного вискозиметра уравновешивается моментом сил упругости нити М2 :
![]()
Заметим вновь, что М1 = М2 , откуда после нескольких преобразований относительно η имеем:
![]()
или
где k
– постоянная ротационного вискозиметра.
| Литература: |
|||
| 1. |
Боуэн Т., Введение в ультрацентрифугирование, пер. с англ., М., 1973. (первоисточник – Schachman Н. К., Ultra centrifugation in biochemistry, - L., 1959). |
||
| 2. |
Бурдун Г.Д., Марков Б.Н. Основы метрологии, М., 1972. |
||
| 3. |
Геллер Б. Э., Геллер А. А., Чиртулов В. Г. Практическое руководство по физикохимии волокнообразующих полимеров. Учебное пособие для вузов, 2-ое изд., исправл. доп., М.: «Химия», 1996, 432 с.: ил. |
||
| 4. |
Лотц Ю. А., Ожерельев А, Я., Аналитическая ультрацентрифуга, «Уникальные приборы», 1970, № 5. (Svedderg Т., Pedersen K. O., The Ultracentrifuge, Oxf., 1940). |
||
| 5. |
Химия и технология пленкообразующих веществ: Учебное пособие для студентов вузов / Н. Р. Прокопчук, Э. Т. Крутько. – Мн.: БГТУ, 2004. – 423 с.: ил. |
||
| 6. |
Химия и технология лакокрасочных материалов и покрытий: Учебное пособие для студентов вузов / Э. Т. Крутько, Н. Р. Прокопчук. – Мн.: БГТУ, 2004. – 314 с. |
||
| Интернет – источники: |
|||
| 1. |
http:// www.bse.sci-lib.com |
— |
Химия в Большой Научной Библиотеке. Большая Советская Энциклопедия. Ультрацентрифугирование. |
| 2. |
http://www.measurement.ru |
— |
машины и приборы для испытания полимерных материалов. Блескомер фотоэлектрический типа ФБ-2. |
| 3. |
http:// www.mechanician.ru |
— |
лакокрасочные материалы. Оптические свойства. |
| 4. |
http://www.slav-med.ru |
— |
оборудование. Фотоколориметры. |
| 5. |
http://www.ximuk.ru |
— |
Сайт о химии. Ультрацентрифугирование. |


