| Похожие рефераты | Скачать .docx |
Курсовая работа: Определение свойств газов
ОБЩИЕ СВЕДЕНИЯ О СВОЙСТВАХ ГАЗОВ
В природе в нормальных условиях (при комнатной температуре и атмосферном давлении) сравнительно немногие химические вещества находятся в газообразном состоянии. К газообразным простым веществам принадлежат: водород, кислород, азот, фтор, хлор и газы из элементов VIII группы таблицы Д. И. Менделеева.
Остальные газообразные вещества состоят из двух и более элементов, например СО, СО2 , СОСl (фосген), СН3 С1 (хлористый метил) и др. Интересно, что водород образует газообразные вещества со многими элементами. Почти со всеми неметаллами водород дает газообразные соединения, большинство из которых обладает неприятным запахом. К числу их можно отнести NH3 , HF, HCl, HBr, H2 S, H2 Se, H2 Te, PH3 , AsH3 , SbH3 , BiH3 и др. Некоторые из этих соединений (мышьяковистый водород) легко распадаются с выделением водорода. Другие, более устойчивые распадаются при нагревании (метан). Встречаются гидриды неметаллов, которые легко растворяются в воде и дают или кислую (H2 S, HCl, HBr), или щелочную (NH3 ) реакцию. Многие из них обладают восстановительной способностью (Н2 Те, HI, H2 S, H2 Se, РН3 и др.). Некоторые гидриды легко окисляются, загораясь в воздухе (SiH4 , SbH3 ).
С такими элементами, как углерод и бор, водород дает несколько газообразных соединений (углеводороды и бораны). Наибольшее значение имеют разнообразные углеводороды состава Сn Н2n+2 , Сn Н2n , Сn Н2n-2 . Отметим, что в молекулах углеводородов общей формулы: СП Н2 « имеется постоянное соотношение между числом атомов водорода и углерода, тогда как по мере увеличения числа углеродных атомов в молекуле предельных углеводородов относительное содержание водорода уменьшается. Например, в метане водорода содержится 25%, в неопентане 16,6%, в этилене и бутилене 14,3%, а в бутадиене 10,9%.
Все углеводородные газы горят на воздухе, образуя пламя различной яркости. Метан, в котором 25% водорода, горит на воз- Духе светящимся пламенем, а ацетилен, содержащий 7,9% водорода, горит коптящим пламенем. Копоть вызывается избыточным количеством углерода в молекуле, а чтобы ее избежать, следует
Пользоваться особыми горелками, в которых сгорание осуществляется при избытке воздуха.
Природные и попутные нефтяные газы, так же как и газы, получающиеся в различных процессах переработки нефтяного сырья, представляют собой в основном смеси углеводородов. Их состав зависит от происхождения. Так, основным компонентом сухих природных газов является метан. В состав попутных нефтяных газов, помимо метана, входят и другие предельные углеводороды С2—С5, а также небольшие количества азота, редких газов, диоксида углерода и, в случае сернистых нефтей, сероводорода.
Нефтезаводские газы образуются при термических и каталитических процессах переработки продуктов перегонки нефти. Из них наиболее часто встречаются газы термического и каталитического крекинга, пиролиза и коксования тяжелых нефтепродуктов. Эти газы отличаются сравнительно высоким содержанием непредельных углеводородов: этилена, пропилена и бутиленов, — суммарное содержание которых достигает в отдельных случаях 40%. Искусственные газы, получаемые в результате термической переработки углей и сланцев, содержат водород, метан, оксид углерода, непредельные углеводороды (от этилена до бутиленов), а также диоксида углерода, кислород и азот. Эти газы, различные по калорийности, используются главным образом в качестве топлива.
Газы безостаточной газификации (генераторный, водяной и др.) состоят из оксида углерода, водорода, азота и ряда примесей. В перечисленных природных и искусственных газовых смесях азот, водород, кислород, оксид углерода, воздух и углеводородные газы % плохо растворяются в воде. Их растворимость при давлении 101 325 Па (760 мм рт. ст.) и температуре 20°С в 1 л воды не превышает, как правило, 1 л и несколько больше при 0°С.
Неуглеводородные газы: диоксид углерода, диоксид серы, сероводород и аммиак — обладают значительной растворимостью в воде; это их свойство необходимо учитывать при анализе газовых смесей, в состав которых входят перечисленные компоненты.
ОТБОР ПРОБЫ ГАЗА
Для отбора пробы газа из производственных аппаратов и трубопроводов применяются стеклянные аспираторы, газовые пипетки, газометры с гидравлическим затвором, сухие газометры, cocyды шарообразной формы и реже резиновые баллоны. Выбор емкости зависит от количества и состава газа и от давления в системе.
ОТБОР ПРОБЫ ПРИ ПОМОЩИ ЗАПИРАЮЩЕЙ ЖИДКОСТИ
Из емкостей и газопроводов пробу газа отбирают в большинстве случаев в аспираторы (рис. 1) и газовые пипетки (рис. 2).
Аспиратор — это прибор, состоящий из двух склянок с боковыми тубусами. Тубусы соединены между собой резиновым шлангом в середине которого имеется винтовой зажим. Одна из склянок снабжена стеклянным краном и служит для забора газа. Другая является напорной уравнительной склянкой. Так как многие газы растворимы в воде, то в качестве напорной жидкости применяют насыщенный раствор поваренной соли, подкисленный соляной кислотой, или 10%-йый раствор серной кислоты, который подкрашивают метиловым оранжевым.

Рис. 1. Аспиратор для отбора пробы газа.
Рис. 2. Газовая пипетка для отбора пробы газа.
Перед отбором пробы склянку с краном заполняют напорной жидкостью доверху, а склянку без крана — до тубуса. Для насыщения напорной жидкости исследуемым газом его набирают через кран в заборную склянку и встряхивают аппарат в течение 3— 5 мин. Эту операцию повторяют 2—3 раза, беря каждый раз свежую порцию газа. Для уменьшения выделения газа из напорной жидкости уравнительную склянку аспиратора следует закрывать пробкой с капиллярной трубкой.
Для проверки аспиратора на герметичность заборную склянку заполняют напорной жидкостью до крана и при закрытом кране опускают уравнительную склянку вниз, наблюдая при этом за изменением уровня жидкости в заборной склянке. Если после некоторого снижения уровень жидкости станет постоянным, аспиратор герметичен. Такой же порядок соблюдают и при подготовке газовых пипеток.
В зависимости от вместимости бутыли в аспиратор можно набрать до 15 л газа. В газовые пипетки набирают 100—500 мл газа.
В качестве примера разберем порядок отбора пробы газа в аспиратор из газопровода, находящегося под разрежением. Как видно из рис. 3, для присоединения аспиратора к газопроводу приварены два штуцера с кранами. Штуцеры следует располагать на прямом участке газопровода на расстоянии не менее пяти его диаметров от места поворота, отвода, изменения сечения и расположения задвижек на трубе, так как всякое изменение движения газового потока может изменить его состав, особенно в тех случаях, когда газ смешан с легкоиспаряющейся жидкостью (например, отбор пробы газа из газофракционирующей установки).

Рис. 4. Газометр с напорной воронкой: 1-манометр; 2—4—краны.
К одному из штуцеров присоединяют заборную склянку аспиратора, заполненную до трехходового крана жидкостью. Промывают трубку от трехходового крана до штуцера, открывая краны на газопроводе и заборной склянке. Опуская уравнительную склянку, набирают не более 1 л газа. Закрывают кран на газопроводе и переключая трехходовой кран, выпускают газ в атмосферу поднятием уравнительной склянки. Далее к другому штуцеру, расположенному на 40—60 см ниже по ходу газа, присоединяют уравнительную склянку, снабженную краном. Для отбора пробы газа открывают краны на газопроводе и на склянках. В результате создавшегося разрежения в заборную склянку набирается газ.
Наполненный газом аспиратор отсоединяют от газопровода, предварительно закрыв краны в обратном порядке. Иногда для создания большего разрежения в аспираторе к горлу уравнительной склянки присоединяют водоструйный насос. С помощью емкостей с запирающей жидкостью можно отобрать пробу газа, находящегося как под разрежением, так и под давлением, близким к атмосферному.
В лабораториях довольно широкое применение нашел также газометр с напорной воронкой (рис. 4). Он состоит из удлиненной напорной воронки с краном <3, которая вставляется в горло бутыли с двумя тубусами. Нижний тубус снабжен краном 4, а верхний — краном 2 и манометром 1 для измерения давления газа в газометре. Подготовка газометра для взятия пробы проводится следующим образом. При открытых кранах 3 и 2 через напорную воронку наливают в бутыль газометра свежий насыщенный раствор поваренной соли, пока из нее не вытиснится весь воздух. В воронке всегда оставляют раствор. Закрыв кран 3, присоединяют к источнику газа кран 2. Выпуская раствор через кран 4, засасывают газ в газометр. Прежде чем пользоваться газометром, следует свежий раствор поваренной соли насытить анализируемым газом. Эту операцию проводят так же, как при подготовке аспиратора. Выпуск газа из газометра осуществляется через кран 2 с помощью запорной жидкости, которая из воронки стекает в бутыль и создает в ней давление.
ОТБОР ПРОБЫ В СУХИЕ ГАЗОМЕТРЫ
Газовые смеси, содержащие хорошо растворимые в воде компоненты, отбирают в сухие газометры. Сухой газометр представляет собой двухгорлую или одногорлую склянку с двумя отводами и кранами (рис. 5). Перед применением сухой газометр проверяют на герметичность. Для этого присоединяют один его отвод к вакуум-насосу, а другой к, ртутному манометру и помещают в чехол из плотной ткани, чтобы предохранить работающего от осколков в случае разрыва газометра. Откачивают воздух до остаточного давления 6,5—8 кПа (50—60 мм рт. ст.) и наблюдают за манометром в течение 10 мин. Постоянство уровня ртути указывает на герметичность газометра.
Для отбора пробы газа присоединяют один отвод газометра к источнику газа, находящегося под- небольшим давлением. Открыв оба крана, продувают газометр десятикратным объемом газа. По окончании продувания закрывают кран газометра на выходе газа, затем быстро на входе и, наконец, перекрывают источник газа. При этих условиях газ в газометре будет находиться под небольшим давлением. Если в трубопроводе или аппарате смесь жидких и газообразных углеводородов находится под давлением, например в узлах газофракционирующей установки, то перед 'отбором пробы газ редуцируется вентилем высокого давления, установленным на заборном штуцере, а к обеим трубкам газометра прикрепляются игольчатые вентили.
Если давление в аппарате или газопроводе меньше атмосферного или равно ему, для отбора пробы газа применяются емкости, из которых предварительно откачан воздух. Газометры этого типа Должны выдерживать вакуум, соответствующий остаточному давлению 400—650 Па (3—5 мм рт.ст.). Поэтому, как правило, они имеют сферическую форму.Для отбора больших количеств газа применяют бутыли из толстого стекла. Эти бутыли снабжены резиновой пробкой с тремя отверстиями. Через одно из них на тройнике к газометру присоединен манометр. В другое отверстие вставляется термометр. Третье служит для забора и выпуска газа. Из таких бутылей откачка (эвакуация) газа допускается до остаточного давления 6,5—8 кПа (50—60 мм рт. ст.).
Перед эвакуацией газометры помещают в чехол из плотной ткани для защиты работающего в случае разрыва прибора. В течение нескольких минут газометр продувают воздухом, а затем откачивают его, измеряя остаточное давление и температуру. Эвакуированный сосуд присоединяют к заборной трубке и осторожно набирают в него газ до выравнивания давления в газометре и аппарате, из которого отбирается газ. После отбора пробы вновь замеряют температуру и давление газа. Зная объем газометра и приведенные к нормальным условиям объемы оставшегося в газометре после эвакуации воздуха и смеси воздуха с отобранным4 газом, подсчитывают объем отобранного газа.

Р и с. 5. Сухие газометры:а—с резиновой пробкой; б—со шлифом.
Иногда для переноса и отбора проб используют резиновые баллоны: камеры футбольного мяча, шары-зонды, прорезиненные подушки и т. п. Перед отбором пробы резиновые баллоны продувают исследуемым газом не менее 4—5 раз. Баллон с отобранным газом закрывается специальным краном или зажимом. Резиновые баллоны имеют ограниченное применение из-за газопроницаемости резины и способности ее к химическому взаимодействию с некоторыми газами.
ОТБОР ПРОБЫ ИЗ МЕТАЛЛИЧЕСКИХ БАЛЛОНОВ
Баллон устанавливают и укрепляют в отведенном месте. Снимают с него пломбу и отворачивают колпак. Убедившись в исправности вентиля, к штуцеру головки баллона с помощью прокладки и накидной гайки присоединяют редукционный вентиль. Осторожно поворотом маховика открывают вентиль баллона. По манометру высокого давления устанавливают наличие газа в баллоне.
Пробы газа из баллонов отбирают в таком же порядке, как описано выше для отбора проб в сухие газометры или в газометры с запирающей жидкостью.
Давление при этом не должно значительно превышать атмосферное. Для регулирования давления и скорости отбираемого газа пользуются редукционным вентилем. Наблюдают за давлением по манометру низкого давления редуктора.
Отбор проб сжиженных углеводородных газов (пропана, бутана и их смесей) проводят металлическими пробоотборниками, рассчитанными на соответствующее давление (по ГОСТ 14921—69).
ОТБОР ПРОБЫ НЕПОСРЕДСТВЕННО В ГАЗОАНАЛИТИЧЕСКУЮ АППАРАТУРУ
Перед отбором пробы газа в газоаналитическую аппаратуру продувают газозаборные трубки, соединяющие прибор с источником испытуемого газа. Количество продуваемого газа должно составлять не менее десятикратного объема заборных трубок и емкостей. Для очищения от пыли, золы и смолистых веществ на пути хода газа устанавливают трубку, наполненную ватой или асбестом.
ОПРЕДЕЛЕНИЕ ПЛОТНОСТИ ГАЗОВ
Плотность — это масса единицы объема газа, выражаемая в кг/м3 (кг/л, г/мл). Знание плотности газа необходимо при эксплуатации газовых месторождений, при контроле работы отдельных газовых установок, где требуется определить массу или объем газа, при различных технических расчетах, а также для подсчета состава двух- или многокомпонентного газа.
Наряду с этим для характеристики газа иногда еще пользуются понятием относительной плотности газа по воздуху, которая представляет собой отношение массы газа к массе такого же объема воздуха при одинаковых условиях. Относительная плотность — величина безразмерная, показывающая, насколько газ легче или тяжелее воздуха, масса которого принята за единицу.
По относительной плотности газа легко подсчитать массу 1 л газа в граммах, умножая значение относительной плотности на 1,293, т.е. на плотность сухого воздуха в кг/м3 или г/л при 0°С и 101 325 Па (760 мм рт. ст.).
ОПРЕДЕЛЕНИЕ ПЛОТНОСТИ ГАЗА МЕТОДОМ ВЗВЕШИВАНИЯ
Определение ведется в газовом пикнометре, который представляет собой круглодонную колбу из довольно толстого стекла вместимостью не менее 150 мл с одним или двумя капиллярными кранами.
Метод заключается в непосредственном взвешивании определенного объема газа и воздуха при атмосферном давлении и. комнатной температуре.
Сухой пикнометр с одним краном помещают в коробочку или мешочек из ткани и присоединяют открытым краном к вакуум-насосу. В течение 10 мин откачивают из пикнометра воздух (или газ), следя за показаниями вакуумметра. Разница в высоте столбов ртути в обоих коленах вакуумметра не должна быть более 1 мм. Закрывают кран, отсоединяют пикнометр от вакуум-насоса и взвешивают на аналитических весах. Затем открывают кран для наполнения пикнометра воздухом и взвешивают его с воздухом. Снова в течение 10 мин откачивают воздух из пикнометра и взвешивают его. Пикнометр считается герметичным, если в обоих случаях его масса без воздуха окажется одинаковой. В противном случае следует промыть и вновь смазать кран пикнометра и повторить откачку и взвешивание. Эвакуированный пикнометр присоединяют к пипетке или аспиратору с газом, предварительно открыв на нем кран. Медленно открывают кран пикнометра и заполняют его газом с помощью уравнительной склянки до тех пор, покадровый жидкости в пипетке и уравнительной склянке не станут одинаковыми. Взвешивают пикнометр с газом.
Плотность анализируемого газа ρ (в кг/м3 ) рассчитывают по формуле:

где (Gг — масса пикнометра с газом, г; G — масса эвакуированного пикнометра, Gв — масса пикнометра с воздухом)
ОПРЕДЕЛЕНИЕ ПЛОТНОСТИ ГАЗА ЭШФУЗИОННЫМ МЕТОДОМ
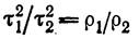
Метод заключается в измерении времени истечения в атмосферу через отверстие малого диаметра равных объемов газа и воздуха, находящихся под одинаковым давлением. Этот способ' основан на том, что между временем истечения газа и воздуха (или другого газа), находящихся в одинаковых условиях, и их плотностями ρ1 и ρ2 существует соотношение:
![]()
где τ1 — время истечения газа, с; τ2 — время истечения воздуха, с.
Скорость истечения газа и воздуха определяется в приборе, называемом эффузиометром (рис. 6). Он состоит из трубки 1 с двумя сужениями, на которых нанесены метки для обозначения объема. Снизу трубка открыта, а сверху снабжена трехходовым краном 3 с двумя отводами. Один отвод служит для присоединения эффузиометра к источнику газа или воздуха, а другой представляет собой трубку, внутри которой имеется платиновая пластинка с очень малым отверстием. Эту трубку необходимо защищать от пыли, закрывая ее после окончания определения специальным колпачком. Если отверстие засорится, его промывают ацетоном или колпака 1 открытым концом помещена в широкий стеклянный цилиндр и укреплена в его крышке 2 Цилиндр наполнен дистиллированной водой, подкрашенной для удобства наблюдения за ее уровнем.
Методика определения
После ознакомления с работой трехходового крана к боковому отводу эффузиометра с помощью резинового шланга присоединяют аспиратор или другую емкость с воздухом. Поворачивают кран 3 в положение, указанное на рис. 6. Поднятием уравнительной склянки аспиратора набирают воздух до половины внутренней трубки. Затем трехходовой кран ставят в такое положение, чтобы трубка сообщалась с атмосферой, и выпускают воздух в атмосферу. Эту операцию повторяют до шести раз, чтобы вытеснить из внутренней трубки прибора весь газ, оставшийся от предыдущего определения.
В подготовленный прибор из того же аспиратора набирают воздух, вытесняя воду из трубки, и кран закрывают. Измеряют температуру воздуха. В левую руку берут секундомер, а правой рукой переводят кран на сообщение прибора с отверстием в пластинке. Когда уровень воды достигнет нижней метки, включают секундомер и останавливают его, когда вода дойдет до верхней метки. Эту операцию проводят несколько раз до получения результатов, отличающихся между собой не более чем на 1—3 с в зависимости от времени истечения. Аналогично определяют время истечения газа при той же температуре и давлении. Если время истечения при параллельных определениях постепенно увеличивается или уменьшается, то это означает, что прибор плохо промыт от газа или воздуха после предыдущего определения. Из близких результатов вычисляют среднеарифметические значения времени истечения воздуха и газа.

Рис. 6. Эффузиометр: 1—трубка с двумя сужениями; 2—устройство для крепления трубки; 3—трехходовой кран.
Плотность анализируемого газа ρ (з кг/м3 ) рассчитывают по формуле:
![]()
В аналитической практике применяют и метод взвешивания в пикнометрах, и метод истечения в эффузиометрах. Первый более точен и для его выполнения требуется не более 250 мл газа, но довольно длителен и практически невыполним в условиях нефтепромысла, на месте у скважины. Эффузиометрический метод менее точен, для анализа требуется не менее 2 л газа, но зато он применим в производственных условиях и требует меньше времени для выполнения определения.
ВОЛЮМОМЕТРИЧЕСКИЙ АНАЛИЗ ГАЗОВ
Для анализа газовых смесей, содержащих предельные и непредельные углеводороды, а также некоторые неуглеводородные компоненты (СО, СO2 , Н2 S, O2 , Н2 и H2 ), применяются методы химического поглощения и сжигания.
МЕТОД ХИМИЧЕСКОГО ПОГЛОЩЕНИЯ
Этот метод анализа сложной газовой смеси основан на последовательном поглощении отдельных компонентов различными химическими поглотителями. Измеряя объем газа до и после абсорбции, по разности определяют количество поглощенного компонента или суммы компонентов [в % (об.)], реагирующих с данным поглотителем.
Методом поглощения определяют диоксид углерода или сумму кислых газов, непредельные углеводородные газы или их сумму, кислород и оксид углерода. При использовании абсорбционного метода совершенно необходимо придерживаться определенной последовательности в операциях, так как одни и те же компоненты могут поглощаться в разных растворах.
Углекислый газ (диоксид углерода) поглощается 30—35%-ным раствором едкого кали по реакции:
![]()
Вместе с углекислым газом раствором едкого кали поглощаются и другие кислые газы. В большинстве случаев в природных, попутных и производственных нефтяных газах, помимо углекислого газа, из кислых газов присутствует также сероводород. Для отдельных нефтехимических производств характерно содержание в газе других кислых газов (хлора, хлористого водорода, диоксида серы). В необходимых случаях содержание сероводорода и других кислых газов определяют специальными методами в отдельной пробе и тогда количество углекислого газа вычисляют по разности.
Непредельные углеводородные газы Сn Н2n поглощаются бромом, который присоединяется к молекуле углеводорода по месту двойной связи с образованием соответствующих дибромидов:
![]()
С бромом реагируют не только олефины Сn Н2n , но и диолефины и ацетиленовые углеводороды Сn Н2n-2 . Чаще всего ограничиваются определением так называемой общей непредельности газа, т.е. находят суммарное содержание всех непредельных углеводородов.
Бром обладает способностью окислять Н2 S и S02 в серную кислоту, поэтому поглощение непредельных углеводородов следует проводить после удаления кислых газов из анализируемой газовой смеси.
Являясь легкокипящей летучей жидкостью, бром легко переходит из раствора в газовую фазу. Поэтому после поглощения непредельных углеводородов анализируемый газ загрязняется парами брома. Для удаления паров брома применяется раствор едкого кали, с которым бром количественно взаимодействует по реакции:
![]()
Кислород поглощается щелочным раствором пирогаллола (1,2,3-тригидроксибензола), который легко окисляется, особенно в присутствии щелочи. При смешивании водного раствора пирогаллола с раствором едкого кали образуется пирогаллят калия по реакции:
![]()
Из щелочей предпочтительнее применять едкое кали, так как пирогаллят натрия поглощает кислород значительно медленнее. Пирогаллят калия в щелочном растворе присоединяет кислород предположительно по реакции:
![]()
Полученное соединение гексагидроксидифенолят калия в отсутствие щелочи может распадаться на две молекулы пирогаллята. Рекомендуется проводить эту реакцию при 15—20 °С. Поглощение кислорода следует проводить после удаления из газовой смеси кислых и непредельных углеводородных газов, так как щелочной раствор пирогаллола может частично поглощать эти компоненты. Для поглощения кислорода нашел также применение пирогаллол А-триацетат 1,2,4-тригидроксибензола.
Оксид углерода поглощается аммиачным раствором хлорида меди(1) по реакции:
![]()
Образовавшееся нестойкое комплексное соединение Си2 С12 • 2СО легко распадается на Си2 С12 и СО, особенно при повышенной температуре. Чтобы ослабить этот распад, поглощение ведут в присутствии водного раствора аммиака, который реагируете комплексным соединением Сu2 С12 *2СО по реакции:
![]()
С течением времени поглотительная способность раствора ослабевает. Поэтому лучше всего оставшиеся следы оксида углерода поглощать свежим раствором в другом поглотителе.
Находящийся в растворе аммиак обладает значительным парциальным давлением и, переходя в газовую фазу, может исказить результат определения оксида углерода. Во избежание этого после поглощения оксида углерода следует удалить из газа аммиак. Поглощение аммиака ведут 10%-ным раствором серной кислоты, который помещают в отдельный поглотитель или наливают в уравнительную склянку.
Аммиачный раствор хлорида меди(1) взаимодействует с кислыми газами, непредельными углеводородами и легко окисляется кислородом. В последнем случае присутствующая в растворе медь(1) переходит в медь(Н) с образованием комплекса [Сu(NН3 )4 ]С12 синего цвета. Поэтому оксид углерода определяют в последнюю очередь.
МЕТОД СЖИГАНИЯ
Метод сжигания применяется для определения водорода и газообразных предельных углеводородов.
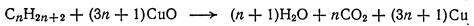
Водород сжигают в трубке с гранулированным оксидом меди (II) при 280—285 °С. Водород сгорает за счет кислорода оксида меди(II) с образованием воды, а оксид меди(II) восстанавливается до металлической меди. Температура выше 285°С недопустима, так как уже при 290 °С может начаться частичное горение метана и его гомологов. Образовавшиеся пары воды при охлаждении конденсируются. О количестве водорода в газе судят по уменьшению объема газа после сжигания.
Предельные углеводородные газы сжигают после определения водорода в той же трубке с оксидом меди (II) при 900—950 °С. При сгорании образуются вода и диоксид углерода, а в результате термической диссоциации оксида меди(II) образуется кислород:
![]()
газ газоаналитический сгорание
После сжигания диоксид углерода поглощается раствором щелочи, а кислород — раствором пирогаллола. Водяные пары конденсируются при охлаждении газа до первоначальной температуры. По разности объемов анализируемого газа до и после сжигания судят о суммарном содержании предельных углеводородных газов.
Перед определением водорода и предельных углеводородных газов необходимо удалить из анализируемой газовой смеси диоксид углерода, непредельные углеводороды, кислород и оксид углерода. Оксид углерода и непредельные углеводороды при температуре выше 285°С над оксидом меди(II) горят, кислород расходуется на горение, а присутствие диоксида углерода может внести ошибку в расчет содержания предельных газов.
АНАЛИЗ СМЕСИ УГЛЕВОДОРОДНЫХ И НЕУГЛЕВОДОРОДНЫХ ГАЗОВ
В промышленной практике часто встречается необходимость раздельного определения кислых газов (С02 , Н2 S и S02 ), кислорода, оксида углерода, водорода, предельных и непредельных углеводородных газов при их, совместном присутствии. Эта сложная смесь газов может быть количественно проанализирована методами абсорбции и сжигания в лабораторном газоанализаторе типа ВТИ-2.
Устройство прибора ВТИ-2
Газоанализатор ВТИ-2 (рис. 7) состоит из следующих основных частей.
Шесть поглотительных сосудов 1—6.
Двойная-газовая бюретка 25, помещенная в водяную рубашку, с уравнительной склянкой 27. Бюретка состоит из двух соединенных между собой частей. Обе части снабжены стеклянной вилкой 28 с двумя прямыми кранами. Такая конструкция допускает либо совместное, либо раздельное использование обеих частей. Общий объем бюретки 102 мл. Левая часть имеет по длине четыре расширения, вместимостью по 20 мл каждое. На сужениях (между расширениями) нанесены деления, позволяющие производить отсчет объемов в 20, 40, 60 и 80 мл с точностью до 0,05 мл. Правая часть бюретки — трубка вместимостью 22 мл — градуирована по всей длине на 0,05 мл.
Компенсационное устройство 24 для устранения влияния атмосферных условий на измеряемые объемы анализируемого газа. Оно состоит из компенсационной трубки и манометра/ Компенсационная трубка, объем которой равен объему правой части газовой бюретки, запаянным концом погружена в водяную рубашку, а другим — соединена с манометром.
Гребенка, состоящая из отдельных секций с серповидными кранами 7, 8, 10—13, 16 и трехходовым 22, скрепленными резиновыми трубками. Две секции, кроме того, снабжены одноходовыми прямоходными кранами 9 (для соединения с трубкой для сжигания) и одна секция — трехходовым краном 14, соединяющим манометр с гребенкой. На конце гребенки надеты заглушки 21.
Изолирующая гребенка со шлангом 30 для поглотительных сосудов 3 и 5, которая соединена со склянкой Тищенко 29, служащей гидравлическим затвором.
Предохранительная трубка с шарообразным расширением для поглотительного сосуда 2 с раствором брома.
Петля 17 для сжигания газов, помещенная в трубчатую печь 18 с электрическим обогревом. Для регулирования температуры печи используется ЛАТР-1. Для измерения температуры имеется термометр 19 (при сжигании водорода) и термопара, соединенная с гальванометром.
Реактивы Едкое кали, 30—35%-ный раствор.
Пирогаллол А, щелочной раствор. В колбе объемом 250 мл с обратным воздушным холодильником растворяют при помешивании 24 г пирогаллола А в 160 мл 21%-ного раствора едкого кали. При растворении колба нагревается - До 50 °С. После охлаждения колбу с готовым раствором закрывают корковой пробкой во избежание контакта раствора с окружающим воздухом.

Рис. 7. Газоанализатор ВТИ-2:
б— поглотительные сосуды; 7,8,10—13,16— серповидные краны; 9—одноходовые краны; 14,22—трехходовые краны; 15—кран компенсационной трубки; 17— петля для сжигания компонентов газа; 18—электрическая печь; Р—термометр на 350°С; 20— кольца для установки уравнительной склянки, 21 — заглушка для гребенки; 23—планка для крепления кранов; 24 — компенсационное устройство; 25—двойная газовая бюретка 2 — футляр прибора, 27 — уравнительная склянка, 28—стеклянная вилка с двумя прямыми кранами; 29—склянка Тищенко; 30—изолирующая гребенка со шлангом.
Хлорид меди(1), аммиачный раствор. Стружки из красной меди помещают в склянку вместимостью 1,5 л. В эту же склянку наливают 750 мл дистиллированной воды и растворяют в ней 250 г хлорида аммония. К раствору добавляют 200 г хлорида меди(1). Склянку плотно закрывают резиновой пробкой и раствор выдерживают несколько дней до осветления. После этого его декантируют и смешивают в поглотителях с 25%-ным раствором аммиака в соотношении 3:1. Готовый раствор приобретает синюю окраску.
Бром, насыщенный раствор в 20%-ном водном растворе бромида калия. Насыщение проводится до тех пор, пока на дне сосуда не появится капля брома.
Серная кислота, 10%-ный раствор.
Оксид меди(П) гранулированный.
Аскарит.
Азот.
Перед тем как приступить к работе с прибором, необходимо проверить все стеклянные краны и хорошо их, притереть, а также изучить направление движения газа при различных положениях кранов.
В рубашку наливают дистиллированную воду, а в уравнительную склянку — 150—200 мл 10%-ного раствора серной кислоты, подкрашенной метиловым оранжевым.
Поглотительные сосуды заполняют следующими абсорбентами: 1 и 6 — раствором щелочи, 2 — бромной водой, 3— щелочным раствором пирогаллола А, 4 и 5 — аммиачным раствором хлорида меди (И). Заполнение реактивами ведется на месте через вспомогательные камеры сосудов с помощью воронок. Краны, соединяющие сосуды с гребенкой, при этом должны быть закрыты. Только сосуд 2 снимают с прибора и заполняют раствором брома в вытяжном шкафу. Сосуды 2—5 изолируют от окружающего воздуха. Отверстие сосуда 2 закрывают предохранительной трубкой с шарообразным расширением, заполненной натронной известью или аскаритом и закрытой с обеих сторон пробками из ваты. Отверстия сосудов 3—5 изолируют с помощью гребенки 30, соединенной со склянкой Тищенко 29.
Подготовленные сосуды приводят в рабочее состояние, доводя уровень жидкости до метки в узкой части внутреннего поглотителя. Для этого наполняют напорной жидкостью бюретки, разобщают гребенку с атмосферой, открывают серповидный кран к соответствующему поглотительному сосуду и кран 16 к левой части «бюретки. При медленном опускании склянки создается разрежение, и поглотительная жидкость будет переливаться из наружной вспомогательной камеры во внутреннюю. Как только жидкость дойдет до метки, кран поглотителя закрывают и наблюдают в течение нескольких минут за уровнем жидкости в поглотительном сосуде. Если уровень опускается, то надо промыть ацетоном пробку и втулку стеклянного крана, смазать кран и вновь проверить поглотитель на герметичность. Таким же приемом доводят до уровня поглотительную жидкость в остальных сосудах.
Трубку для сжигания наполняют гранулированным оксидом меди(II) и в оба ее конца закладывают неплотные пробки из асбеста или медной проволоки. Проверяют работу печи, для чего ее включают в сеть через ЛАТР-1.
Для активации оксида меди(П) трубку нагревают до 900°С, пропускают через нее 100—200 мл испытуемого газа и затем после снижения температуры до 500 °С пропускают несколько порций по 100 мл воздуха.
В манометр компенсатора наливают подкрашенную дистиллированную воду в таком количестве, чтобы ее уровень находился на 5—6 мм ниже его капиллярных отростков. Несколько капель дистиллированной воды наливают в компенсационную трубку, чтобы находящийся в ней воздух был насыщен водяными парами.
Прибор ВТИ-2 выдерживается в помещении при открытых в атмосферу кранах 14 и 15 для достижения постоянной температуры всех его частей. Через 2 ч краны закрывают и наблюдают за манометром, в обоих коленах которого жидкость должна стоять на одном уровне. В противном случае установку компенсатора повторяют, и прибор ВТИ-2 снова выдерживают в помещении.
Для ликвидации вредного пространства (примесь воздуха или газа) при открытых кранах 9 и перекрытом кране 10 гребенку и трубку для сжигания продувают азотом. Для этого вместо заглушки к крану 7 присоединяют пипетку с азотом. Через кран 16, соединенный с бюреткой, набирают около 20 мл азота в правую часть бюретки. Поднимая уравнительную склянку и поворачивая кран 16 на соединение с правой частью гребенки, через кран 22 выпускают азот в атмосферу. Продувку азотом повторяют несколько раз. Перекрыв кран 14 манометра на сообщение с прибором, устанавливают жидкость в манометре на одном уровне и закрывают кран 14 и краны 9 на трубке для сжигания. Отросток правой части гребенки заполняют напорной жидкостью из бюретки. Пипетку с испытуемым газом посредством резиновой трубки присоединяют к трехходовому крану 22 и забирают в правую часть бюретки 80 мл газа, а в левую — 20—22 мл. Закрывают кран 22 и выжидают 2— 3 мин, чтобы напорная жидкость стекла со стенок бюретки. Манипулируя уравнительной склянкой и кранами 28, точно устанавливают уровень жидкости сначала в левой части бюретки, а затем в правой. После уравнивания давления газа по манометру,с давлением воздуха в компенсационной трубке сбрасывают избыток газа (свыше 20 мл в правой части бюретки) в атмосферу через кран 22. Перекрыв кран 13 на сообщение бюретки с первым поглотительным сосудом, с помощью уравнительной склянки перемещают в него газ сначала из правой части бюретки, затем из левой и обратно.
После 3—4 прокачиваний устанавливают объем газа. Для этого в левую часть бюретки помещают 80, 60, 40 или 20 мл газа, а остаток измеряют по шкале правой части бюретки. Уравняв давление газа по манометру с давлением воздуха в компенсаторе суммируя показания бюреток, находят общий объем оставшегося после поглощения газа. Операцию поглощения газа в растворе щелочи повторяют несколько раз до тех пор, пока разница между двумя измерениями объема не станет равной 0,05 мл, т.е. до достижения постоянного объема. Разность между первоначальным объемом газа и оставшимся после первого поглотителя принимается за количество кислых газов. Затем газ из бюретки переводят на 3—4 мин во второй поглотитель с раствором брома и возвращают в бюретку. Для удаления паров брома газ прокачивают через первый поглотитель со щелочью, после чего замеряют его объем. Поглощение непредельных углеводородов и отделение паров брома проводят несколько раз до достижения постоянного объема. Разность между объемами газа до и после поглощения раствором брома принимают за сумму непредельных углеводородных газов.
Оставшийся газ 3—4 раза прокачивают через третий поглотитель с раствором пирогаллола А. После измерения объема прокачивание газа повторяют до достижения постоянного объема. За кислород принимается количество газа, поглощенное пирогаллолом А.
Оксид углерода адсорбируется очень медленно. Поэтому его содержание определяют путем последовательного поглощения испытуемого газа аммиачным раствором хлорида меди(II) в поглотительных сосудах 4 и 5. В сосуде 4 поглощение проводится до тех пор, пока изменение объема между двумя последовательными отсчетами по бюретке будет не более 0,5 мл, а в сосуде 5 — до достижения постоянного объема.
После поглощения оксида углерода в оставшемся газе следует / определить водород, предельные углеводороды и азот. Для определения водорода включают электрическую печь и поддерживают температуру в рабочем, пространстве в пределах 280—285 °С. Открывают краны 9 трубки для сжигания, поворачивают кран 10 на 60° на гребенку и открывают кран 7 на поглотитель 6. С помощью уравнительной склянки перемещают газ из бюретки до достижения постоянного объема, после чего отключают печь. Трубку охлаждают до комнатной температуры, вновь прокачивают газ и измеряют его объем. Уменьшение объема газа при сжигании относят к водороду.
Пользуясь тем же приемов, сжигают предельные углеводороды, предварительно нагрев печь до 850—950 °С. Когда печь охладится до комнатной температуры, газ снова перекачивают через печь в сосуд 3 для поглощения кислорода и измеряют его объем. Оставшийся после сгорания газ принимают за азот.
Содержание в газе каждого компонента х [в % (об.)] вычисляют по формуле:
![]()
где V1 — объем газа по бюретке после поглощения или сжигания, мл; V2 — объем газа по бюретке до поглощения или сжигания Данного компонента, мл; V3 — объем газа, взятого на анализ, мл.
На этом же приборе можно проводить анализ различных нефтяных газов только на содержание азота. Для этого все кислые газы поглощаются раствором щелочи, а все горячие газы сжигаются при 950 °С. Остаточный газ принимается за азот.
ТЕПЛОТА СГОРАНИЯ ГАЗА И ЕЕ ОПРЕДЕЛЕНИЕ
Теплотой сгорания (теплотворной способностью) горючих материалов называется количество тепла в килоджоулях, которое выделяется при полном сгорании 1 м8 газа или 1 кг жидкого или твердого топлива.
Теплота сгорания является одним из главных свойств горючих газовых смесей и зависит от их состава. Например, попутные нефтяные газы и газы крекинга, состоящие в основном из углеводородов, при сгорании выделяют значительно больше тепла, чем газы, полученные при термическом разложении сланцев в составе которых содержится значительное количество водорода и оксида углерода. Природный газ, состоящий в основном из. метана, выделяет в среднем при сгорании 35160 кДж/м3 .
Различают высшую и низшую теплоту сгорания. Высшая теплота сгорания QB отличается от низшей QН на количество теплоты, которая выделяется при конденсации образовавшихся при сгорании, а также находившихся ранее в анализируемом газе водяных паров. При подсчете QВ теплота сгорания газа и теплота конденсации водяных паров суммируются. Однако обычно при сгорании топлива в промышленных установках водяные пары не конденсируются и уносятся вместе с дымовыми газами. Поэтому чаще всего калорийность топлива, в том числе и газообразного, оценивается низшей теплотой сгорания, при определении и подсчете которой теплота конденсации водяных паров не учитывается.
Теплоту сгорания горючих газовых смесей можно определить экспериментально — путем сжигания газовой смеси в калориметрах.
ОПРЕДЕЛЕНИЕ ТЕПЛОТЫ СГОРАНИЯ В КАЛОРИМЕТРАХ
Для определения теплоты сгорания газа в лабораторной практике довольно широко используется калориметрическая установка типа КЛП-1. Принцип работы этой установки основан на сжигании определенного объема газа. Вся выделившаяся теплота поглощается водой, непрерывно проходящей через калориметр. Количество воды и температура ее нагрева измеряются во время проведения эксперимента. Потери теплоты в окружающее пространство незначительны, и обычно ими пренебрегают при работе с данным прибором.
Теплота сгорания газа подсчитываётся по объему сгоревшего газа, количеству и температуре нагрева воды, прошедшей через калориметр.
Устройство калориметрической установки
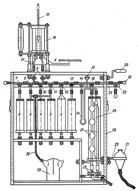
Установка (рис, 8) состоит из калориметра 7, газовых часов /, регулятора давления 4, горелки, напорного бака, технических весов и сборников воды.

Рис. 8. Схема калориметрической установки:
1 - газовые часы; 2— манометр; 3—термометры; 4—регулятор давления; 5—сосуд для сбора воды, вытекающей из калориметра; б—термометры; 7—калориметр; 5—зеркало; мензурка для сбора конденсата.
Калориметр (рис. 9) представляет собой металлический цилиндр с двойными стенками; внутри которого имеются еще несколько цилиндров. Цилиндры заключены в металлический кожух, к которому прикреплены три ножки с установочными винтами, с помощью которых калориметр устанавливается вертикально по отвесу.
Во внутреннем цилиндре имеется камера где происходит сгорание топлива в газовой горелке 2. Продукты горения поступают вверх, а затем по трубкам опускаются вниз и через выхлопную трубу 6 выходят в атмосферу. На выхлопной трубе имеется термометр 7 со шкалой от 0 до 50 °С с ценой деления 1 °С и шибер 5, с помощью которого регулируется скорость газов, проходящих через калориметр. Между стенками цилиндра протекает вода, которая воспринимает теплоту отходящих газообразных продуктов сгорания, нагревается и собирается в сосуде. Степень нагрева воды контролируется двумя термометрами 12 и 13, поставленными на входе и выходе воды. Поступление воды из специального бака или водопровода регулируется распределительным устройством с краном 16, которое позволяет излишек воды направлять в канализацию. Снизу калориметр снабжен краном для сбора конденсата, образующегося при сгорании водорода и углеводородных газов.
Газовые часы или газовый счетчик служат для измерения объема газа. Газовый счетчик снабжен водяным U-образным манометром со шкалой 0-100 мм и термометрами со шкалой 0—50 °С с ценой деления 1 °С.
Регулятор давления представляет собой газгольдер и служит для выравнивания давления сгорающего газа. Он включается перед подачей газа в горелку.
Газовая горелка устроена по принципу Обычной лабораторной газовой горелки и снабжена тремя насадками с отверстиями различных размеров, которые устанавливаются на горелку в зависимости от калорийности газа.
Напорный бак вместимостью 100—200 л с шаровым клапаном предназначен для питания калориметра водой комнатной температуры. Такая вода позволяет легче, чем вода из водопровода, достичь устойчивости в показаниях термометров на входе и выходе воды из калориметра и уменьшить потери тепла системы в окружающую среду.
В качестве сборника нагретой воды применяют два одинаковых цилиндра.

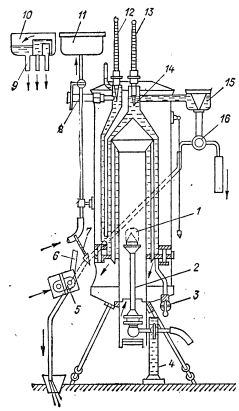
Рис. 9. Схематический разрез калориметра:
1—камера горения; газовая горелка; 3—спускной кран; мерный цилиндр; 5—шибер; б—выхлопная труба; 7, 12 и 13—термометры; 8 — штуцер; 9 — стеклянная трубка; 10—переливная воронка; 11 —приемник для воды; 14—устройство для перемешивания; 15—воронка.
Подготовка прибора
В собранной установке открывают вентиль напорного бака и впускают воду в приемник для воды 11 (рис. 9), откуда через переливную воронку 10 и штуцер 8 вода поступает в водяную камеру. Пройдя калориметр, вода выливается в воронку 15 и через распределительный кран 16 в канализацию. Для вытеснения воздуха через горелку в калориметр пропускают 5—10 л анализируемого газа. Зажигают горелку и с помощью ее движка устанавливают пламя не выше 5 см. Затем горелку помещают в камеру г орения калориметра таким образом, чтобы она не касалась стенок камеры. За этим следят, пользуясь зеркалом 8 (рис. 8).
Распределительным краном 16 устанавливают приток воды в калориметр в зависимости от показаний термометров 12 и 13. разница в показаниях термометров на входе и выходе воды должна находиться в пределах 10—12°С, а термометр 7 должен показывать температуру, близкую к комнатной. В этих условиях потери теплоты в окружающую среду будут незначительными и ими можно пренебречь. Проверяют возможность легкого перевода отводящей трубки из положения «Канализация» в положение «Сбор теплой воды» и обратно.
Методика определения
После установления в течение 5 мин постоянной разницы температуры воды по термометрам 12 и 13 на входе и выходе воды приступают к замерам для определения теплоты сгорания газа. Для этого4 отсчитывают показания газового счетчика и переключают отводную трубку на положение «Сбор теплой воды». В течение всего опыта через каждую минуту записывают показания термометров 12 и 13 и температуру газа, поступающего в газовый счетчик.
По окончании опыта переключают трубку на положение «Канализация», проводят отсчет количества сгоревшего газа, записывают температуру входящей и выходящей воды, продуктов горения и окружающего воздуха. Взвешивают воду, прошедшую через калориметр, и собранный конденсат.
Для определения QВ сжигают 10 л газа; а для определения QH — до 50 л (для более точного учета количества собираемого конденсата). Из показаний термометров во время опыта находят среднее арифметическое значение, которое принимают при расчетах.
Qв (в кДж/м3 ) рассчитывают по формуле:
где Р— масса воды, прошедшей через калориметр, кг; t2 — средняя температура воды, выходящей из калориметра, °С; t1 — средняя температура воды, входящей в калориметр, °С; Vо — объем сгоревшего газа, приведенный к нормальным условиям, м3 .
QH (в кДж/м3 ) рассчитывают по формуле:
![]()
где Р2 — масса конденсационной воды, кг; 2512 — удельная теплота конденсации воды, кДж/кг.
Похожие рефераты:
Проект реконструкции цеха первичной переработки нефти и получения битума на ОАО «Сургутнефтегаз»
Изучение методов оценки качества масла вологодского
Программа для поступающих в вузы (ответы)
Обеспечение безгидратного режима работы газопромысловых коммуникаций
Межпредметные связи в курсе школьного предмета химии на предмете углерода и его соединений
Нанесение и получение металлических покрытий химическим способом
Газоснабжение населёного пункта
Методы анализа лекарственных препаратов
Развитие, становление и основные аспекты фармации
Влияние загрязнения атмосферного воздуха на состояние рябины обыкновенной