| Скачать .docx |
Дипломная работа: Дипломная работа: Конструирование биосенсора для регистрации P. aeruginosa АТСС 27853
ВЫПУСКНАЯ РАБОТА
БАКАЛАВРА ПРИКЛАДНОЙ ФИЗИКИ
Конструирование биосенсора для регистрации P. aeruginosa АТСС 27853
СОДЕРЖАНИЕ
ПЕРЕЧЕНЬ УСЛОВНЫХ СОКРАЩЕНИЙ И ОБОЗНАЧЕНИЙ
ВВЕДЕНИЕ
РАЗДЕЛ 1. Биосенсоры
1.1Механизмы, которые обеспечивают селективность и выборочность биосенсоров
1.2Биосенсоры - принципы конструирования
1.3Применение биосенсоров
РАЗДЕЛ 2. Материалы и методы
2.1 Автоматический вычислительно-измерительный компьютеризированный комплекс для исследования биоэлектрохимических межфазных границ
2.2 Электрохимическая ячейка
2.3 Электроды
2.4 Очистка и подготовка растворов
2.5 Стратегия создания биосенсора для регистрации P.AERUGINOSA АТСС 27853
РАЗДЕЛ 3. Результаты исследований
ВЫВОДЫ
СПИСОК ЛИТЕРАТУРЫ
ПЕРЕЧЕНЬ УСЛОВНЫХ СОКРАЩЕНИЙ И ОБОЗНАЧЕНИЙ
ITO – оксид индия
Red–ox – окислительно - восстановительная реакция
ЦВАЗ - циклическая вольтамперная зависимость
АСКМ – антиген сыворотки крови мышей
ДЭС – двойной электрический слой
ВВЕДЕНИЕ
Регистрация патогенных микроорганизмов в растворах электролитов является одним из основных заданий медицины, биохимии и электрохимического анализа. С этой целью в мире разрабатываются биосенсорные устройства, которые дают возможность достаточно быстро и избирательно регистрировать патогенные штаммы микроорганизмов. Для этого используют потенциометрию, амперометрию и другие электрохимические методы. Важным элементом биосенсора является ионпроводящая мембрана, содержащая биологически активные компоненты. Синтез высоко проводящих наноразмерных по третьей координате полимерных платформ, структур, пленок или мембран для конструирования биосенсоров реализуют различными способами. В зависимости от поставленной задачи используют твердотельные ионообменные мембраны [1], электрохимически синтезируемые полимерные платформы [2, 13], электрохимическую самосборку полимолекулярных слоев с использованием α,ω–тиольного компоновщика [2,3]. Разработка и внедрение в медицинскую практику новых биосенсоров отечественного производства на основе недорогих отечественных комплектующих с использованием их для регистрации сигнала импеданса, фарадеевской емкости, поляризационного сопротивления, тока, стохастических спектральных шумовых или электромагнитных сигналов межфазной границы электрод/биообъект является задачей чрезвычайно актуальной и своевременной.
РАЗДЕЛ 1. Биосенсоры
1.1 Механизмы, которые обеспечивают селективность и выборочность биосенсоров
Рассмотрим три типа биосенсоров - спектроэлектрохимический, ферментативный амперометрический и резистометрический (кондуктометрический). Биосенсоры - разновидность химических сенсоров - часто обладают отличной селективностью благодаря специфичности биологических реакций, но в них есть недостаток - малый срок службы. Применение химически селективных мембран в известной мере снижает посторонние препятствия. Увеличение селективности к определенному анализируемому раствору или классу таких растворов достигается путем использования спектроэлектрохимии химически селективных пленок [4], которые наносят на поверхность электрода. В этом случае для определения агента последний должен быть: 1) распределятся в пленке, которая обладает химической выборочностью; 2) окисляться или восстанавливаться на поверхности электрода при заданном потенциале; 3) его окисленная или восстановленная форма должна поглощать свет некоторой заданной длинны волны, используемой для определения. На рисунке 1 показана схема, которая демонстрирует работу спектроелектрохимического биосенсора.

Рисунок 1. Схема оптоэлектрохимического биосенсора. Обозначение: (Ä- вещества, которые проникают в пленку; Æ – вещества, которые проникают в пленку, но не поддаются Red–ox превращениям; o – вещества, которые проникают в пленку и поддаются Red–ox превращениям и дают сигнал, но не на "аналитической" длине волны; ► – вещества, которые проникают в пленку и поддаются Red–ox превращениям, продукты которых дают сигнал на "аналитической" длине волны).
На правую боковую стенку волновода нанесена тонкая пленка оксида индия (ITO), которая представляет собой оптически прозрачную поверхность. На нее наноситься тонкая мешка ионселективной пленки, которая обладает химической выборочностью. Свет, который проходит по оптическому волноводу в каждой точке, где происходит отражение, вызывает исчезающе слабое поле, которое проникает в пленку. Взаимодействие этого поля с анализируемым веществом в пленке приводе к затуханию света, который проходит по волноводу. Оно связано с концентрацией анализируемого вещества в пленке, которая выполняет две важных функции:
1 - она предварительно концентрирует анализируемое вещество вблизи поверхности электрода, и может быть определена спектроэлектрохимически в режиме нарушенного полного внутреннего отражения;
2 - она способствует устранению препятствий со стороны других веществ, поскольку слабое поле проникает на такую малую глубину, что оптический "пробник" касается только того вещества, которое находится в середине пленки. На практике анализируемое вещество, распределенное в пленке, можно зарегистрировать лишь в случае если оно вступает в Red–ox реакцию на поверхности электрода, что приводит к поглощению света на "аналитической длине волны". Его модулируют путем электрохимического циклирования между поглощающими и не поглощающими состояниями вещества. Рассмотрим работу ферментативного биосенсора [5]. На рисунке 2 показана схема генерации сигнала при ферментативном катализе, который используется для регистрации микробиологического субстрата.

Рисунок 2. Схема генерации сигнала в амперометрическом ферментативном электроде, где Ф - фермент, М - медиатор, С - субстрат, П - продукт.
Фермент состоит из одной или больше пептидных цепей, которые образуют третичную структуру, стабилизированную электростатическими взаимодействиями, водородной связью и дисульфидными мостиками. Его каталитическая активность связана с активным центром, где идет реакция. Она специфическая в силу уникальной пространственной конфигурации и заряда этого центра. Ферменты реагируют с субстратом по следующей схеме:
E + S
ES
P + E, (1)
где: Е - фермент, S - субстрат фермента и Р - продукт ферментативной реакции. Кинетика этого процесса детально проанализирована Михаелисом - Ментеи [6]. Скорость образования или исчезновения продукта описывается следующим уравнением:
–(dS/dP) = (dP/dt) = (ks [E][S])/([(k2 + k3 )/k1 ] + [S]) = (Vmax [S])/(Km + [S]), (2)
где: Vmax – максимальная скорость ферментативной реакции, Km – константа Михаелиса. При инверсии уравнения (2) оно позволяет получить зависимость Ханеса:
(1/V) = (Km /Vmax [S]) + (1/Vmax ). (3)
Эти уравнения позволяют определить концентрацию количества субстрата, или количества фермента, которые участвуют в каталитической реакции.
В ферментативных амперометрических биосенсорах обычно измеряется скорость поглощения кислорода или разряда ферментативной реакции, которая нарабатывается в ходе реакций:
лецитин + Н2
Про
холин + фосфористая кислота, (4)
холин + ПРО2
+ 2Н2
Про
бетаин + 2Н2
ПРО2
, (5)
где: ChOx -фермент холиноксидаза.
Иммобилизация ферментов необходима для того, чтобы увеличить стабильность измерений, сделать более эффективную связь ферментативной реакции с преобразователем, локализировать реакцию в одном сенсоре, сделать возможными непрерывные измерения и доступным их математический анализ.
Иммобилизацию ферментов проводят ионообменом или ковалентным связыванием, поперечной сшивкой (сетка) или удерживанием в ловушках (молекулярные решетки, микроинкапсуляция). Ковалентное связывание наиболее эффективно из всех методов сохранения активности и увеличения долговечности ферментов. Достаточно важным является и связывание фермента с мембраной через соответствующие функциональные группировки. Локализация ферментативной реакции - также один из наиболее важных моментов в технологии создания сенсоров. Появилась возможность локализовать ферментативную реакцию там, где это наиболее выгодно: на мембране или непосредственно на электроде, где прямая реакция протекает без диффузионных ограничений. Возможность непрерывных измерений обеспечивается отсутствием необходимости замены фермента, в котором можно регенерировать после окончании реакции. Содержание ферментов в гелях достаточно детально описано для ферментов, встроенных в агарозу. Ферменты специфическим образом познают субстрат, косубстрат, кофактор, активатор и ингибитор. Ферменты способны осуществлять множество превращений с одинаковой эффективностью. Действие ферментов может приводить к мощному увеличению сигнала, который регистрируется. Ферменты могут быть иммобилизированы.
К резистометрическим сенсорам относят биосенсоры, в которых информационный сигнал пропорционален активной составляющей электрохимического импеданса Z на высокой частоте f. При высоких f комплексная диаграмма Арганда вырождается в точку на действительной оси импеданса ReZ и практически равняется сопротивлению раствора Rр . На рисунке 3 приведена схема тонкопленочного резистометрического биосенсора, использованного в работе [7], для определения глюкозы и мочевины путем измерения проводимости G в крови при частоте переменного тока f = 10 кГц.

Рисунок 3. Схема измерения проводимости тонкопленочного биосенсора, где I - рабочий электрод, II - электрод сравнения.
В ходе эксперимента авторы измеряли зависимость амплитуды исходного сигнала от концентрации субстрата. Для создания биоматрицы готовили растворы фермента и БСА в 20 мм калий-фосфатном буфере с рH=7,4 с конечными концентрациями 50-100 мг/моль и смешивали в соотношении 1:1, соответственно. Каплю смеси "фермент + БСА" наносили на поверхность одной пары электродов. На поверхность второй пары наносили раствор чистого БСА (электрод сравнения). Для полимеризации электроды окунали в атмосферу насыщенных паров глутарового альдегида на 30 мин., потом подсушивали мембраны на воздухе. Сигнал от электрода с мембраной БСА, которая расположена на том же кристалле, вычитался из сигнала на электроде с ферментативной мембраной. Разработанный биосенсор позволил определить глюкозу и мочевину в крови.
Во многих случаях для выявления биологической (в первую очередь, ферментативной) активности бактерий можно использовать амперометрические системы проточного инжекционного анализа и миниатюрные электрохимические детекторы. В этих случаях необходимо использование перистальтического насоса. Повышение скорости омывающего рабочий электрод анализируемого потока раствора приводит к увеличению регистрируемого сигнала [8].
1.2 Биосенсоры - принципы конструирования
биосенсор селективность биоэлектрохимический раствор
При конструировании тонкослойных биосенсоров стоит учитывать четыре основных фактора: 1) химическую и физическую природу ионселективной пленки; 2) характеристики оптических материалов; 3) особенности конструирования электрохимической ячейки; 4) тип аппаратуры, которая регистрирует.
Ионселективная тонкая пленка должна обеспечивать предыдущее концентрирование анализируемого вещества, подавление препятствий со стороны сопутствующих веществ, быть оптически прозрачной на измерительной длине волны света и электрохимически неактивной в определенном диапазоне потенциалов. При этом она не должна вступать в химическое взаимодействие с подкладкой из ITO, должна быть тонкой и однородной. Две из наиболее часто используемых подкладок представляют собой оксид кремния (SiО2), который готовится по методу "золь-гель", и поливиниловий спирт. Используют также нафионные пленки или ядерные лавсановые фильтры без добавок [9]. В них вводят иономеры, которые создают ионообменные кластеры. В качестве иономеров используют полати(диметил диалиламмониевый хлорид) - ДД, полати(винилбензил триметиламмоный хлорид) - ВТХ, четвертичный полати(4-винилпиридин) 4В и полиакриловую кислоту - ПК. Оптимальная толщина пленки, которую наносят, 400 - 700 нм. Ранее (рис. 3.) представлена схема, которую рационально использовать при конструировании такого биосенсора. В литературе описаны сенсоры для определении аммиака и хлора с калиевым ионообменным стеклом ВК7, используемым в качестве оптически прозрачного плоского волновода. Возможности биосенсорной характеристики биологических, физико-химических, биохимических, биоматематических и фармако-клинических реакций поистине не ограниченные.
1.3 Применение биосенсоров
Наряду с созданием новых поколений биосенсоров для определения токсичных газов [10], полиэлектролита [11], разрабатываются полимерные платформы для энзимов, ДНК электродов [12]. В последнее десятилетие получили развитие работы, направленные на создание микробных биосенсоров с иммобилизированными бактериями [6]. Разрабатываются зонды для идентификации нуклеиновых кислот и других макромолекул (рис. 4) [6, 13].

Рисунок 4. Золотой многоэлектродный сенсор для определения множественного взаимодействия антиген-антитело.
Электрохимическую импедансную спектроскопию (ЭИС) в соединении с золотыми рабочими массивами (рис. 4) использовали для определения множественных взаимодействий антиген-антитело. Характеристики биосенсора определялись поверхностью антигена гепатита В (HbsАg). Участок биосенсора был подготовлен в результате иммобилизации антител на покрытую молекулами поверхность электродов. Были получены линейные зависимости сопротивления переноса электронов и концентрации HbsАg в диапазоне от 10 пкг•моль–1 до 1 нг•моль-1 с границей выявление 10 пкг• моль-1 . Последующее развитие получили работы по созданию глюконометров [13]. Для анализа соединения крови непосредственно в артериях и венах уже используется новое поколение иглообразных электродов из легированных сталей и индивидуальных индифферентных металлов (Au, Pt, Ti, Mo) специальной конструкции [14]. Одним из перспективных направлений развития биосенсорных технологий есть использование в них высокопроводящих полимерных пленок, которые удерживают комплексы с переносом заряда на основе солей TCNQ [15].
РАЗДЕЛ 2. Материалы и методы
2.1 Автоматический вычислительно-измерительный компьютеризированный комплекс для исследования биоэлектрохимических межфазных границ
Для проведения эксперимента биоэлектрохимии необходимы как медленная регистрация вольтамперных и хроноамперных зависимостей, с чем, естественно, справляется потенциостат ПИ 50.1.1 укомплектованный потенциометрами марок ЛКД или ППД, которые пишут, так и их быстрая регистрация. Однако, поскольку механизм записи циклической вольтамперной зависимости (ЦВАЗ) потенциометрами марок ЛКД или ППД является механическим, то скорость быстродействия их небольшая и, естественно, они не могут перекрыть весь рабочий диапазон работы потенциостата ПИ 50.1.1, управляемого от внешнего генератора П – 8. При необходимости регистрации ЦВАЗ со скоростями развертки потенциала, которые превышают 0.1 В/c, с достаточно высокой точностью, эти измерения оказываются искаженными и их недопустимо использовать для анализа экспериментальных результатов. В данной работе нами предложен подход, который дает возможность превратить потенциостат ПИ 50.1.1 с программатором ПР–8 в высокоэффективный автоматический вычислительно-измерительный компьютеризированный комплекс (рис. 5) для исследования электрохимических и биоэлектрохимических межфазных границ и регистрации ЦВАЗ. С этой целью мы использовали осциллограф RigolDC 1022, который обладает необходимыми характеристиками. На вход Y мы вводим токовый сигнал j, на вход X сигнал напряжения U. В зависимости от целей эксперимента сигнал синхронизации может быть задан от любого из 8 шагов программатора. Запись экспериментальных данных осуществляется в файл. Записываются триады–время t, ток j и поляризация Е.

Рисунок 5. Автоматический вычислительно-измерительный компьютеризированный комплекс для исследования электрохимических и биоэлектрохимических межфазных границ.
На примере измерений циклических вольтамперных зависимостей для разных межфазных границ, в широком диапазоне потенциалов поляризации и скоростей развертки по потенциалу, проверена работоспособность предложенной установки. Использование осциллографа RigolDC 1022 позволило (рис. 5) перекрыть весь рабочий диапазон параметров потенциостата ПИ 50.1.1.
2.2 Электрохимическая ячейка
Для єксперимента использовалась специально сконструированная фторопластовая электрохимическая ячейка, показанная на рисунке 6. Она отвечает всем требованиям, предъявляемым к измерениям электрохимических вольтамперных, хроноамперных и поляризационных исследований. Ячейка полностью герметична и предназначена для разнообразных нанобиоэлектрохимических исследований в инертной атмосфере аргона или гелия марки о.с.ч.

Рис. 6. Герметизированная ячейка для нанобиоэлектрохимических измерений: 1 – рабочий электрод; 2 – тефлоновая втулка; 3 – вспомогательный электрод; 4 – тефлоновый стакан; 5 – тефлоновая крышка; 6 – ввод для гелия; 7 – капилляр для отвода газов; 8 – стеклянный капилляр Лугина–Гебера; 9 – мешалка; 10 – электрод сравнения; 11 – компенсационный электрод.
Перед измерениями фторопластовую ячейку промывали раствором хромовой смеси, 1 М раствором Н2 SO4 , 24 ч. вымачивали в бидистиллированной воде, промывали раствором "пираньи" [16] для снятия всех органических загрязнений и потом трижды промывали дистиллированной водой.
Электрохимическая ячейка (рис. 6.) с четырьмя электродами: рабочим игольчатым Pt с поверхностью 0.53 см2 ; основным вспомогательным Pt, расположенным в отдельном отсеке, с площадью поверхности 0.45 см2 , диаметром 0.5 мм; вторым вспомогательным Pt – электродом, который использовался для увеличения быстродействия работы потенциостата. Электродом сравнения служил стандартный серебрянохлорный электрод сравнения (х.с. э.) с Ест = 0.226 В при 20 °С, находящийся в дополнительном отсеке и соединенный с отсеком рабочего электрода через тефлоновый шлиф, во избежание влияния Сl– – ионов на электродный процесс. В качестве стандартного раствора для серебрянохлорного электрода использовали раствор насыщенного хлористого калия. Все потенциалы в данной работе приведены относительно х.с.э.
2.3 Электроды
Как материалы, используемые в подкладках сенсорных электрохимических устройств, используют чистые Pt, Au, SiО2 и графитовые материалы квалификации о.с.ч. 00 или о.с.ч. 000. Биосенсоры для особых целей содержат подкладки из сверхчистых монокристаллов металлов или оксидов, которые содержат ориентированы индексные грани, например Pt (001), Pt (010) или Pt (111). Pt обладает рядом достоинств, таких как воспроизводимость электрохимических свойств поверхности электрода, возможность эффективного снятия с её поверхности адсорбированных примесей, широким электрохимическим окном – широкой двойнослойной областью потенциалов в растворах индифферентных электролитов (малые токи заряжания). Подготовка заключалась в выдержке Pt 00 в течении 20 мин. в концентрированной HNO3 , в тщательном промывании в бидистилляте. После этого снятие органических примесей и физических загрязнений осуществляли в растворе пираньи 1:1 (H2 SO4 конц/Н2 О2 35%) при времени выдержки 40 мин, Т=200 С. Эта процедура приводила к повышению активности поверхности Pt–электрода. Такая обработка дала возможность снять адсорбированные вещества с поверхности электрода, растворить поверхностный оксид, стандартизировать подготовку электродов и добиться воспроизводимости измерений.
Для очистки Au и Pt электродов от загрязнений и органических примесей, антител и антигенов использовали раствор "пираньи", который включал серную концентрированную кислоту H2 SO4 и перекись водорода H2 O2 в соотношении 8:3. Электроды выдерживали в этом растворе в течение 30 минут при 40 0 С.
Активацию Au и Pt электродов проводили в растворе концентрированной азотной кислоты.
2.4 Очистка и подготовка растворов
Все использованные в экспериментах реактивы Kсl, Nа2 нро4 , Нno3 были марки х.ч. Растворы готовили на дистиллированной воде. Очистку растворов осуществляли наложением прямоугольных импульсов потенциала на рабочий электрод от потенциостата ПИ 50.1.1, на внешний вход которого от внешнего программатора ПР–8 подавались управляющие импульсы напряжения прямоугольной формы. С помощью дозатора UNI 2010 готовили растворы АСКМ (сыворотки крови мышей, вакцинированных белковым полисахаридом фракцией синегнийной палочки) в PBS. Объем фонового раствора электролита PBS в ячейке составлял 40 мл.
Все измерения проводились при 20 0 с. В качестве фонового раствора электролита был выбран фосфатный буферный раствор (PBS) следующего состава: 8 г/л NaСl, 0,2 г/л KСl, 1,44 г/л Na2 НРО4 , 0,24 г/л KН2 РО4 , рН = 7,4, приготовленный на бидистиллированной воде. Все потенциалы в работе приведены относительно стандартного серебрянохлорного электрода сравнения.
2.5 Стратегия создания биосенсора для регистрации P.AERUGINOSA АТСС 27853
Основываясь на мировых фундаментальных исследованиях создания и конструирования биосенсорных систем для регистрации разных бактериальных штаммов и экспериментальных работах [17-26] для создания биосенсора на P. aeruginosa АТСС 27853 была предложена следующая структурная схема построения трандьюсера:

Рисунок 7. Структурная схема построения трандьюсера.
РАЗДЕЛ 3. Результаты исследований
На рисунке 8 показана схема созданного нами биосенсора на P.aeruginosa АТСС 27853 с наноразмерной по координате электрохимической реакции биохимически активной мембраной.

Рисунок 8. Схема компановки биосенсора с нанопреходами по координате электрохимической реакции для регистрации P. aeruginosa АТСС 27853.
Взаимодействие антиген-антитело приводит к изменению электростатических характеристик ДЭС, следствием чего является рост тока во внешней цепи электрохимической ячейки.
Поскольку большая доля биосенсоров, в состав которых входит трандьюсер, является электрохимическими устройствами, то их работоспособность и воспроизводимость измеряемых данных в значительной мере зависит от материала рабочего электрода, его чистоты. Для массового производства биосенсоров можно использовать Pt о.с.ч. 00 и Au о.с.ч. 00.
Нами проведено изучение электрохимического поведения Pt о.с.ч. 00 и Au о.с.ч. 00 в фосфатном буферном растворе (PBS),который использовался в качестве поддерживающего электролита. На рис. 9 показаны ВАХ (вольтамперные характеристики) от межфазной границы раздела Pt/ PBS в зависимости от скорости развертки (V/s) по потенциалу Е. При медленных развертках ЦВАЗ имеет один катодный максимум тока на катодной волне, а сами токи являются токами заряжения. С увеличением скорости развертки величина регистрируемых токов увеличивается, а токи определяются электрической емкостью ДЭС (двойного электрического слоя) межфазной границы. При больших скоростях развертки по потенциалу на ЦВАЗ не наблюдается токовых максимумов, а анодный и катодный ток плавно увеличивается или уменьшается в зависимости от потенциала. Анодная и катодная зависимости ВАХ обусловлены двумя процессами заряжения. Pt после подготовки активная, на что указывают большие анодные и катодные токи электродных процессов, которые реализовываются на ней. Однако форма и характер этих кривых указывает на то, что она находится в состоянии окисления. На рисунке 9 показаны ЦВАЗ при малых скоростях развертки по потенциалу в увеличенном масштабе по сравнению с рисунком 10. При самой медленной скорости развертки по потенциалу в диапазоне от 0.000 до 0.800 В через межфазную границу текут наноамперные токи, указывая на хорошую поляризуемость Pt электрода и на то, что для анодной волны протекают лишь токи заряжения.

Рисунок 9.ЦВАЗ Pt/ PBS. Рабочий электрод Pt 00. S = 0.53 см2 . Электрод сравнения хлорсеребряный. Насыщен. KСl. Крутизна 1 мА/V. 1 – V/s = 5•100 ; 2 – V/s = 5•10-1 ; 3 – V/s = 5•10-2 ; 4 – V/s = 5•10-3 .
Параметры потенциостата:
| mV | T | mV | S (V/s) | ||
| шаг 1 | 0 | 10 с | шаг 5 | 1100 | 5·10(0) |
| шаг 2 | 0 | 1 с | шаг 6 | 0 | 5·10(0) |
| шаг 3 | 0 | 1 с | шаг 7 | 1100 | 5·10(0) |
| шаг 4 | 0 | 1 с | шаг 8 | -300 | 5·10(0) |

Рисунок 10. ЦВАЗ Pt/ PBS. Рабочий электрод – Pt 00. S = 0.53 см2 . Крутизна 1 мА/V. 3 – V/s = 5·10-2 ; 4 – V/s = 5·10-3 .
Параметры потенциостата:
| mV | t | mV | S (V/s) | ||
| шаг 1 | 0 | 10 с | шаг 5 | 1100 | 5·10(-2) |
| шаг 2 | 0 | 1 с | шаг 6 | 0 | 5·10(-2) |
| шаг 3 | 0 | 1 с | шаг 7 | 1100 | 5·10(-2) |
| шаг 4 | 0 | 1 с | шаг 8 | -300 | 5·10(-2) |
ЦВАЗ, полученную на Pt 00 после обработки в растворе концентрированной HNO3 и обработанную дополнительно в растворе пираньи, мы сравнили с ЦВАЗ, полученной на Pt 00 после обработки в растворе царской водки и обработанной в растворе пираньи (рис. 10). Сравнение кривых "1", "2" и "3" показывает, что в последнем случае поверхностный оксид снят с поверхности Pt 00, а ЦВАЗ, полученная в последнем случае, имеет два максимума тока. Первый, при потенциале 0,03 В, второй при потенциале 0,10 В характерных для адсорбции разных форм водорода в растворах кислот как на чистой платине, так и на разных индексных гранях в соответствии с работами Делахея. После нанесения на поверхность Pt 00 наномолекулярного слоя антитела к P. aeruginosa АТСС 27853 активность Pt 00 электрода подавляется рис.11, кривая "3". При катодных потенциалах восходящая ветвь ЦВАЗ на Pt электроде, который содержит 2 наноразмерных слоя антител совпадает с восходящими кривыми "1", "2". При анодных потенциалах эта же кривая 3 совпадает с кривой 4 как на восходящем, так и на нисходящем, участках ЦВАЗ. Таким образом, наноразмерный 2-молекулярный слой антител модифицирует поверхность Pt электрода и ограничивает минимальные токи, которые проходят через эту границу как в анодной области, так и в катодной. К этому факту мы вернемся позже, при обсуждении взаимодействия этой модифицированной межфазной границы с антигенами P. aeruginosa АТСС 27853. Важным является также тот факт, что на катодной волне пиков тока восстановления оксида Pt ни в одном из данных случаев не наблюдается. Это указывает на то, что поверхность Pt электрода ни в одном из них не окисляется. Форма и ход ЦВАЗ в фосфатном буфере зависит лишь от токов заряжения межфазной границы и обусловлена ориентацией молекул воды, ионов гидроксония и ОН – групп на поверхности электрода и количеством этих частей, которые вошли в ДЭС.

Рисунок 11. ЦВАЗ Pt/ PBS. Рабочий электрод Pt 00. S = 0.53 см2 . Крутизна 1 мА/V. Скорость развертки V/s = 5·100 . 1 – чистая Pt обработанная в растворе конц. HNO3 40 мин. и потом в растворе пираньи; 4 – чистая Pt обработанная в царской водке 10 мин., затем в растворе пираньи; 3 – Pt/ 2 наномолекулярных слоев ІМ АСКМ/ PBS; 2 – чистая Pt обработанная в царской водке, в растворе конц. HNO3 40 мин., затем в растворе пираньи.
Параметры потенциостата:
| mV | t | mV | S (V/s) | ||
| шаг 1 | 0 | 10 с | шаг 5 | 1100 | 5·10(0) |
| шаг 2 | 0 | 1 с | шаг 6 | 0 | 5·10(0) |
| шаг 3 | 0 | 1 с | шаг 7 | 1100 | 5·10(0) |
| шаг 4 | 0 | 1 с | шаг 8 | -300 | 5·10(0) |

Рисунок 12. ЦВАЗ Pt/ PBS . Рабочий электрод – Pt 00. S = 0.53 см2 . Крутизна 1 мА/V. Скорость развертки V/s = 5·100 . а: 1 – в чистом PBS (pH = 7,4); 2 – с добавкою 0.32 мл раствораантигеновP.aeruginosa АТСС 27853 уPBS, τ = 1 мин.; 3 – 15 мин.
Параметры потенциостата:
| mV | T | mV | S (V/s) | ||
| шаг 1 | 0 | 10 с | шаг 5 | 1100 | 5·10(0) |
| шаг 2 | 0 | 1 с | шаг 6 | 0 | 5·10(0) |
| шаг 3 | 0 | 1 с | шаг 7 | 1100 | 5·10(0) |
| шаг 4 | 0 | 1 с | шаг 8 | -300 | 5·10(0) |
Представляло интерес определить, изменяет ли характеристики ЦВАЗ, полученные на чистой Pt, введение в фосфатный буфер антигенов P. aeruginosa АТСС 27853. На рисунке 12 показаны, как ЦВАЗ, полученная от межфазной границы Pt/ PBS, (рис. 12. линия "1"), так и ЦВАЗ после введения в исходный раствор антигенов P. aeruginosa АТСС 27853 (рис. 12, линии 2, 3). Следует подчеркнуть, что данные, представленные на рис. 12 линией "1" и линиями "2" и "3", получены в независимых экспериментах. Из этого следует, что введение в исходный раствор антигенов приводит к появлению на анодных и катодных ветвях ЦВАЗ соответственно вольтамперометрических максимумов окисления и восстановления антигенов P. aeruginosa АТСС 2785. С увеличением времени контакта с электродом ток в их пиках растет. Адсорбция продуктов превращения P.aeruginosa АТСС 2785 при потенциалах положительней пика окисления и отрицательней пика восстановления растет, на что указывает уменьшение соответствующих токов в сравнении с токами, которые протекают в этих областях потенциалов в системе Pt/ PBS. Адсорбция этих продуктов с ростом времени выдержки платины в растворе растет.
Таким образом, присутствие Red/ox максимумов на ЦВАЗ, а, следовательно, и наличие стандартной ЭДС однозначно указывает на то, что они обусловлены именно введением в чистый раствор фосфатного буфера антигенов P. aeruginosa АТСС 27853. Следствием наличия Red/ox потенциала является то, что антигены P. aeruginosa АТСС 27853 в растворе электролита находятся в двух формах и непрерывно переходят друг в друга. Поэтому мы однозначно можем записать это динамическое равновесие в форме:
OxP . aeruginosa АТСС 27853 + ē = RedP . aeruginosa АТСС 27853 . (6)
Таким образом, выясняется, что антигены P. aeruginosa АТСС 27853 в растворе находятся в двух разно заряженных Red и Ox формах, и именно эти формы переходят друг в друга, соударяясь из Pt индифферентным электродом, который является лишь переносчиком электронов между ними. Данные рисунка 12 позволяют найти стандартную ЭДС этой цепи:
. (7)
Из курса электрохимии известно, что каждая электрохимическая редокс пара имеет свой, строго постоянный потенциал. Следовательно, стандартная ЕДС
![]()
это прирожденное свойство редокс форм антигенов P. aeruginosa АТСС 27853. Это важнейший признак, по которому может быть определено в электрохимической системе наличие антигенов P. aeruginosa АТСС 27853. В сущности Pt электрод уже является биосенсором на антиген P. aeruginosa АТСС 27853. Однако чувствительность такого биосенсора к ионам антигенов мала и составляет 1 ÷ 5•10–6 М•л–1 . В тоже время такой биосенсор не является избирательным по отношению к антигенам P. aeruginosa АТСС 27853, поскольку на таком электроде в случае наличия в системе посторонних антигенов и других заряженных примесей могут начать протекать большие токи, которые замаскируют редокс пики от антигенов P. aeruginosa АТСС 27853.
Создаваемый нами реальный эффективный биосенсор должен быть избирательный именно к антигенам P. aeruginosa АТСС 27853. С этой целью необходимо так модифицировать рабочую поверхность биосенсора, чтобы она была избирательна лишь к анализируемому антигену и давала бы аналитический сигнал по крайней мере в 10 раз превышающий сигнал, полученный от чистого электрода Pt. Ниже мы опишем роботу модифицированных Pt и Au подкладок, которые нам удалось получить, и которые являются избирательными и более чувствительными по отношению к антигенам P. aeruginosa АТСС 27853.
Кроме Рt-подкладки для создания биосенсора нам предсталяется возможным использовать Au индифферентный электрод. В работе мы использовали два Au электрода: плоский электрод с большой поверхностью (S = 1.04 см2 ) и малый цилиндрический с площадью равной 0.306 см2 .
На рисунке 13 показаны экспериментальные ЦВАЗ, полученные в фоновом электролите на малом цилиндрическом Au 00 электроде в зависимости от скорости развертки потенциала. Они указывают на то, что прохождение тока через межфазную границу Au/ PBS сложнее, чем для межфазной границы Pt/ PBS рассмотренной выше.

Рисунок 13. ЦВАЗ Au/ PBS. Рабочий электрод – Au 00. S = 0.306 см2 . Крутизна 1 мА/V. Скорость развертки: 1 – V/s = 5·100 ; 2 – V/s = 5·10-1 ; 3 – V/s = 5·10-2 .
Параметры потенциостата:
| mV | T | mV | S (V/s) | ||
| шаг 1 | 0 | 10 с | шаг 5 | 1100 | 5·10(0) |
| шаг 2 | 0 | 1 с | шаг 6 | 0 | 5·10(0) |
| шаг 3 | 0 | 1 с | шаг 7 | 1100 | 5·10(0) |
| шаг 4 | 0 | 1 с | шаг 8 | -300 | 5·10(0) |
Аналогичная картина наблюдается и для Аu-электрода с большой поверхностью, данные для которой показаны на рисунках 14 – 15 при разных скоростях развертки по потенциалу.

Рисунок 14. ЦВАЗ Au/ PBS . Рабочий электрод – Au 00. S = 1.04 см2 . Электрод сравнения хлорсеребряный. Насыщенный KCl. Крутизна 1 мА/V. Скорость развертки: 1 – V/s = 5·100 ; 2 – V/s = 5·10-1 ; 3 – V/s = 5·10-2 .
Параметры потенциостата:
| mV | T | mV | S (V/s) | ||
| шаг 1 | 0 | 10 с | шаг 5 | 1100 | 5·10(0) |
| шаг 2 | 0 | 1 с | шаг 6 | 0 | 5·10(0) |
| шаг 3 | 0 | 1 с | шаг 7 | 1100 | 5·10(0) |
| шаг 4 | 0 | 1 с | шаг 8 | -300 | 5·10(0) |
При малых скоростях развертки по потенциалу межфазная граница Au/ PBS приближается по своим электрохимическим свойствам к межфазного границе Pt/ PBS , хотя пик тока при потенциале 0,24 В (х.с.е.) присутствует на ЦВАЗ, но величины тока слабо зависят от потенциала при минимальной скорости развертки по потенциалу.
Для того чтобы понять, насколько чисто выполняется наш биоэлектрохимический эксперимент достаточно сравнить измерения ЦВАЗ выполненные на большом и малом

Рисунок 15. ЦВАЗ Au/ PBS . Рабочий электрод – Au 00. Крутизна 1 мА/V. 1 – Sб = 1.04 см2 ; 2 – Sм = 0,306 см2 . Скорость развертки V/s = 5·100 .
Параметры потенциостата:
| mV | T | mV | S (V/s) | ||
| шаг 1 | 0 | 10 с | шаг 5 | 1100 | 5·10(0) |
| шаг 2 | 0 | 1 с | шаг 6 | 0 | 5·10(0) |
| шаг 3 | 0 | 1 с | шаг 7 | 1100 | 5·10(0) |
| шаг 4 | 0 | 1 с | шаг 8 | -300 | 5·10(0) |
На рисунке 15 представлено такое сравнение при одинаковых экспериментальных условиях и при одинаковой скорости развертки по потенциалу при пересчете ЦВАЗ на единичную площадь Аu-электродов. Полученные кривые практически совпадают. На большом пластинчатом электроде Au более выразительно выражен токовый максимум.
Некоторые отличия в величинах токов наблюдаем при анодных потенциалах. Такие небольшие отличия можно объяснить разной гидродинамикой и разным вкладом краевых эффектов на величину распределения тока на электродах с разной конфигурацией. Необходимо также учесть то, что пластинчатый электрод не равнодоступен для тока, который протекает через его разные участки. В целом же наблюдается практически полное совпадение этих ЦВАЗ. Таким образом, в наших экспериментах достигнута очень высокая чистота, воспроизводимость и точность экспериментальных данных.
Эта зависимость токов указывает на то, что нанесение на Pt и Au электроды 2 наномолекулярных слоев антител вполне достаточно для того, чтобы межфазная граница стойко функционировала как датчик биосенсорного устройства. При этом мера заполнения поверхности Pt и Au электродов двумя мономолекулярными слоями равняется 1, то есть вся поверхность модифицированных Pt и Au электродов закрыта антителами и внешней электродной поверхностью уже являются концы молекул антител к P. aeruginosa АТСС 27853. Создание на поверхности Au электрода мономолекулярных и полимолекулярных поверхностных слоев позволяет впритык подойти к получению биосенсоров. В соответствии с выбранной стратегией мы нанесли на поверхность пластинчатого электрода Pt с помощью специальных методов 2 наномолекулярных слоев антител АСКМ и иммобилизировали их к поверхности подкладки. ЦВАЗ снимали в фосфатном буферном растворе. На рисунке 16, линия "2" показывает отзыв межфазной границы Pt/ 2НАНО ИМ АСКМ / PBS на зондирование ее треугольными импульсами напряжения. Для сравнения на этом же рисунке (линия "2") приведена ЦВАЗ, полученная на чистом Pt электроде.

Рисунок 16. ЦВАЗPt/ 2НАНОІМАСКМ/ PBS. Рабочий электрод - Pt 00. S = 0.53 см2 . Крутизна 1 мА/V. Скорость развертки V/s = 5·100 . 1 – чистая Pt (х = 0); 2 – Pt с х = 4НАНО ІМ АСКМ.
Параметры потенциостата:
| mV | T | mV | S (V/s) | ||
| шаг 1 | 0 | 10 с | шаг 5 | 1100 | 5·10(0) |
| шаг 2 | 0 | 1 с | шаг 6 | 0 | 5·10(0) |
| шаг 3 | 0 | 1 с | шаг 7 | 1100 | 5·10(0) |
| шаг 4 | 0 | 1 с | шаг 8 | -300 | 5·10(0) |
Из сопоставления этих данных выходит, что 2 мономолекулярных слоя нанесенных на Рt-подкладку приводят к понижению токов что протекают через межфазную границу Pt/ 2НАНО ИМ АСКМ/ PBS. При этом вся ЦВАЗ от межфазной границы Pt/ 2НАНО ИМ АСКМ/ PBS расположена внутри ЦВАЗ от межфазной границы Pt/ PBS. Такое уменьшение токов в случае ЦВАЗ(2) обусловлено наличием на поверхности Pt подкладки хорошо связанных с ней антител АСМК, которые образуют физический барьер с определенным сопротивлением. Таким образом, падение прилагаемого напряжения происходит уже не только в области ДЭС, но и в наномолекулярной пленке. Именно оно определяет падение тока на межфазной границе Pt/ 2НАНО ИМ АСКМ/ PBS по сравнению с Pt/ PBS. Наиболее большие отклонения от исходной ЦВАЗ наблюдаются при катодных потенциалах как на ниспадающей, так и на растущей, ветвях ЦВАЗ. При анодных потенциалах эти ветви ЦВАЗ практически совпадают.

Рисунок17. ЦВАЗPt/ 2НАНОІМАСКМ/ PBS. Рабочий электрод - Pt 00. S = 0.53 см2 . Крутизна 1 мА/V. Скорость развертки V/s = 5·100 . 1 – без P. aeruginosa АТСС 27853; 2 – сP. aeruginosa АТСС 27853, τ = 5 мин
Параметры потенциостата:
| mV | t | mV | S (V/s) | ||
| шаг 1 | 0 | 10 с | шаг 5 | 1100 | 5·10(0) |
| шаг 2 | 0 | 1 с | шаг 6 | 0 | 5·10(0) |
| шаг 3 | 0 | 1 с | шаг 7 | 1100 | 5·10(0) |
| шаг 4 | 0 | 1 с | шаг 8 | -300 | 5·10(0) |
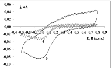
На рисунке 17 представлена ЦВАЗ (линия "2"), полученная от межфазной границы Pt/ 2НАНО ИМ АСКМ/ PBS через 5 мин. после введения в раствор фосфатного буфера антигенов P. aeruginosa АТСС 27853. Введение антигенов в систему приводит к росту токов при катодных потенциалах нисходящей и восходящей ветвей ЦВАЗ. Однако ожидаемых вольтамперометрических максимумов на ней не наблюдается. Поэтому рабочий электрод мы выдержали в PBS на протяжении 18 час. После этого опять произвели регистрацию ЦВАЗ.

Рисунок 18. ЦВАЗ Pt/ 2НАНО ІМ АСКМ/ PBS . Рабочий электрод - Pt 00. S = 0.53 см2 . Насыщенный KCl. Крутизна 1 мА/V. Скорость развертки V/s = 5·100 .1 – без антигенов P. aeruginosa АТСС 27853; 2 – сP. aeruginosa АТСС 27853, τ = 5 мин.; 3 – сP. aeruginosa АТСС 27853, τ = 18 часов.
Параметры потенциостата:
| mV | t | mV | S (V/s) | ||
| шаг 1 | 0 | 10 с | шаг 5 | 1100 | 5·10(0) |
| шаг 2 | 0 | 1 с | шаг 6 | 0 | 5·10(0) |
| шаг 3 | 0 | 1 с | шаг 7 | 1100 | 5·10(0) |
| шаг 4 | 0 | 1 с | шаг 8 | -300 | 5·10(0) |
Эти данные представлены на рисунке 18 линией "3". Как видно из рисунка, при 0.380 В на анодной ветви ЦВАЗ появился вольтамперометрический максимум тока, а в катодном цикле этой же кривой образуется вольтамперометрический максимум тока восстановления антигенов P. aeruginosa АТСС 27853 при 0.130 В. Найденная из этих данных стандартная ЕДС равна 0.250 В. При сравнении ее с полученной раньше ЕДС для этой же Red/ox системы на чистом электроде Pt и пренебрегая Нернстовским концентрационным членом, получаем их практически полное совпадение. В то же время, токи анодного и катодного максимумов более чем в шесть раз превышают аналогичные токи для вольтамперометрических максимумов, полученных на чистой Pt. Для того, чтобы убедиться, что ток от биосенсора не меняется во времени мы продолжили измерения ЦВАЗ в этой системе. Все параметры измеренных вольтамперных зависимостей стойко повторяются в последующих циклах сканирования.

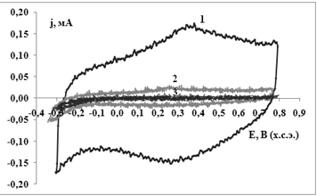
Рисунок19. Pt/ 2НАНОІМАСКМ/ PBS .
Рабочий электрод - Pt 00. S = 0.53 см2 . Электрод сравнения хлорсеребряный. Насыщенный KCl. Крутизна 1 мА/V. Скорость развертки V/s = 5·100 . 1 – Pt/ PBS; 2 – Pt/ 2НАНО ІМ АСКМ/ PBS; 3 – + антигены P. aeruginosa АТСС 27853, τ = 5 мин.; 4 – τ = 18 ч.; 5 – τ = 23ч.;6 – τ = 24ч.; 7 – τ = 25 ч. 45 мин.
Параметры потенциостата:
| mV | t | mV | S (V/s) | ||
| шаг 1 | 0 | 10 с | шаг 5 | 1100 | 5·10(0) |
| шаг 2 | 0 | 1 с | шаг 6 | 0 | 5·10(0) |
| шаг 3 | 0 | 1 с | шаг 7 | 1100 | 5·10(0) |
| шаг 4 | 0 | 1 с | шаг 8 | -300 | 5·10(0) |
На рисунке 19 показаны ЦВАЗ, полученные при больших временах выдержки Pt/ 2НАНО ИМ АСКМ в PBS, который содержит P. aeruginosa АТСС 27853. Для токов ЦВАЗ, показанных на этом рисунках, в анодной и в катодной областях потенциалов экспериментальные кривые как перед вольтамперометрическими пиками, так и за ними спадают и приближаются к току, полученному на этом же биосенсоре при отсутствии антигенов P. aeruginosa АТСС 27853. Этот факт является следствием того, что поверхность Pt подкладки модифицирована наномолекулярными слоями антител АСМК, а они избирательно отзываются лишь на взаимодействие комплементарных антиген – антитело. Таким образом, свойства биосесора определяют не Pt электрод и его структура электронных уровней, а наномолекулярный слой антител АСМК и их электронные уровни. Оказалось, что величина тока анодных и катодных пиков непрерывно растет с ростом времени нахождения биосенсора в фосфатном буферном растворе что содержит P. aeruginosa АТСС 27853: Pt / 2НАНО ІМ АСМК/ PBS, P. aeruginosa АТСС 27853 (8)
В электрохимических системах такой рост тока во времени наблюдается лишь для автокаталитических процессов. Такая же зависимость скорости реакции от концентрации субстрата характерна для ферментативных реакций и подчиняется кинетике Михаелиса–Ментен [7].
Оказывается, что и взаимодействие комплементарного наноразмерного слоя антител АСМК, определенным образом ориентированных в ДЕС, с ионами антигенов синегнойной палочки может быть описано аналогичного вида зависимостями (см. раздел 1.1.).
ВЫВОДЫ
1. Установлено, что при определенных условиях биологически активные антитела или антигены принимают участие в процессе электрохимической самосборки наномембраны на инертных подкладках без участия α, ω-тиольного компоновщика.
2. В работе продемонстрирована возможность использования двухмерных наномембран на основе фрагментов F(AB`)2 FITC.как части устройства биосенсора для регистрации иммунного отклика антигенов АСКМ.
3. На Pt и Au электродах получены наномолекулярные пленки антител и антигенов. Проведенные исследования и анализ ЦВАЗ в системе Pt/ 2 наномолекулярных иммобилизованих слоев антител (сыворотки крови мышей, вакцинированных белковым полисахаридом фракцией синегнийной палочки, – АСКМ) в PBS з pH = 7,4, + х М P. aeruginosa АТСС 27853 (Pt/ антитело/антиген).
4. Обнаружены катодные и анодные пики токов специфического взаимодействия антитела с антигенами P. aeruginosa АТСС 27853.
5. Обнаружены катодные и анодные пики токов взаимодействия антигена P. aeruginosa АТСС 27853 в системе "чистая Pt/ PBS".
6. Сконструировано нанобиосенсор относительно комплементарного антигена P. aeruginosa АТСС 27853 и разработан электрохимический метод лабораторной индикации P. aeruginosa АТСС 27853.
СПИСОК ЛИТЕРАТУРЫ
1. Чмиленко Ф.О., Худякова С.М. Осмій–селективні електроди на основі метилтіопірондимеркаптидів. //Науковий вісник Черновецького університету. V Украинский съезд по электрохимии. Химия. 2008. – Випуск 401. –С. 199 – 201.
2. Ковальчук Є.П., Яцишин М.М., Ковалишин Я.С. Речовина в інтерфазі. Фізичнахіміятонкихплівок. ЛНУ. Львів. 2005. 225 с.
3. Хансен А.Г., Вакербарт Х., Нильсен Дж.У., Жан Ж., Кузнецов А.М., Ульструп Е. Межфазный электронный перенос в наномасштабе и с участием отдельной молекулы. // Электрохимия. 2003. – Т. 39. – В. 1. – С. 117 – 128.
4. Хейнеман, У.Р. Разработка новых тонкослойных спектроэлектрохимических сенсоров, избирательность которых реализуется тремя способами, и их применение [Текст]/ У.Р.Хейнеман, К.Дж.Селискар, Дж.Т. Ричардсон //Электрохимия. - 2003. – Т. 39. – В. 8. – С. 982 – 993.
5. Шеллер, Ф. Ферменты в электрохимических биосенсорах [Текст]/ Ф.Шеллер, Д.Кирштайн, Ф.Шуберт, Д.Пфайффер, К. МкНейл //Электрохимия. - 1993. – Т. 29. – В. 12. – С. 1522 – 1527.
6. Сикейра, Ц.А.К. Перспективы сенсоров для оценки биологически индуцируемой агрессивности среды [Текст]/ Ц.А.К. Сикейра //Электрохимия. - 1993. – Т. 29. – В. 12. – С. 1541 – 1553.
7. Шульга, А.А. Тонкоплёночные кондуктометрические энзимобиосенсоры для определения глюкозы и мочевины в крови [Текст]/ А.А. Шульга, С.В. Дзядевич, А.П. Солдаткин, С.В. Пацковский, Н.Ф. Стародуб, В.И. Стриха, А.В. Ельская //Электрохимия. - 1993. – Т. 29. – В. 8. – С. 998 – 1002.
8. Хитченс, Г.Д. Измерение бактериальной активности методом медиаторной амперометрии в проточно-инжекционной системе [Текст]/ Г.Д Хитченс, Д. Ходко, Д.Р. Миллер, О.Дж. Мурфи, Т.Д. Роджерс //Электрохимия. - 1993. – Т. 29. – В. 12. – С. 1534 – 1540.
9. Тарасевич, М.Р. Электрохимические биосенсоры [Текст]/ М.Р. Тарасевич, В.А. Богдановская, Г.В. Жутаева //Электрохимия. - 1993. – Т. 29. – В. 12. – С. 1554 – 1560.
10. Чвірук, В. Досягнення та перспективи розвитку у галузі електрохіммічних сенсорів для моніторингу повітряного середовища [Текст] / В. Чвірук /Труды III съезда по электрохимии. Вістник Львівського університету.- 2002. – В. 42. – Ч. 1. – С. 178 –181.
11. Чмиленко, Ф. Хімичні сенсори як засоби екологічного контролю вмісту поліелектролітів у водних розчинах [Текст] / Ф. Чмиленко, І. Коробова, О. Мікуленко /Труды III съезда по электрохимии. Вістник Львівського університету. - 2002. – В. 42. – Ч. 1. – С. 178 –181.
12. Ковальчук, Є.П. Полімерні платформи для ензимних електродів [Текст] / Є.П. Ковальчук, Б.Б.Остапович, З.Л.Турик, Є. Блажейовський /Труды IV съезда по электрохимии. Вістник ХНУ. 2005. – № 648. – С. 68 – 71.
13. Курись, Я. Матрична електрополімеризація – метод одержання поліанілину та поліпіролу, які чутливі до амінокислот [Текст] / Я.Курись, Н.Нетяга, В.Походенко /Труды III съезда по электрохимии. Вістник Львівського університету. -2002. – В. 42. – Ч. 1. – С. 138 – 141.
14. Масконе, Д. Иглообразные глюкозные биосенсоры для мониторинга IN VIVO [Текст] / Д.Масконе, Х.Яманака, М.Масчини //Электрохимия. -1993. – Т.29. – № 12. – С. 1528 – 1533.
15. Александров, Ю. Імпедана синтетичних металів на основі солей TCNQ [Текст] / Ю. Александров, О.Поспєлов, О.Шепеленко, А. Кравченко, Г. Камарчук //Труды III съезда по электрохимии. Вістник Львівського університету.- 2002. – В. 42. – Ч. 1. – С. 124 – 126.
16. Ge B., Huang Y.–C., Sen D., Yu H.Z. Electrochemical investigation of DNA-modified surfaces: From quantitation methods to experimental conditions. // J. Electroanal. Chem. 2007.– V. 602. – P. 156 – 162.
17. Джелали, В.В. БИОСЕНСОРЫ. /В.В. Джелали, А.Ю. Волянский. // Анналы Мечниковского института. 2006. – № 3. – С. 16 – 34.
18. Джелали, В.В. Механизм аномального растворения сталей. / В.В. Джелали, С.В. Нестеренко. // Украинский химический журнал. 2007. – Т. 73. – № 6. – С. 114 – 118.
19. Jelali, V.V. Semiconducting properties of DNA nanomolecular layer. /V.V. Jelali, A. Yu. Volyanskiy. // International Scientific Conferece. "Physical and Chemical Principles of Formation and Modification of Micro- and Nanostructures"FMMN’2007. P. С. 26 – 28.
20. Jelali, V.V. Formation mechanism of semiconductor nanostructures. /V.V. Jelali, S.V. Nesterenko. // International Scientific Conferece. "Physical and Chemical Principles of Formation and Modification of Micro- and Nanostructures"FMMN’2007. P. 35 – 37.
21. Джелали, В.В. Полупроводниковые свойства наномолекулярного слоя ДНК. /В.В. Джелали, А.Ю. Волянский. // Физическая инженерия поверхности. Том 5, № 3 – 4, С. 172 – 185. 2007.
22. Джелали, В.В. Образование полупроводниковой наноструктуры на поверхности аустенитной стали. /В.В. Джелали, С.В. Нестеренко. // Физическая инженерия поверхности. Том 5, № 3 – 4, С. 228 – 237. 2007.
23. Джелали, В.В. Фундаментальний зв'язок між діелектричною проникністю і перенапруженням в електрохімічних системах. /В.В. Джелали, А.Ю. Волянский. // Науковий вісник Черновецького університету. Химия. 2008. – Випуск 401, С. 44 – 46.
24. Джелали, В.В. Зміна коефіцієнтів перенесення заряду в ході електрохімічних реакцій. /В.В. Джелали. // Науковий вісник Черновецького університету. Химия. 2008. – Випуск 399 – 400, С. 59 – 61.
25. Джелали, В.В. Нелінійні опори перенесення заряду електрохімічних реакцій. /В.В. Джелали. // Науковий вісник Черновецького університету. Химия. 2008. – Випуск 401, С. 41 – 43.
26. Джелали, В.В. Исследование взаимодействия "антиген - антитело" на межфазной границенаномембрана из фрагментов овечьих антител к Ig G мышей/ 0,3 M KСl + 0,05 M Na2 НРО4 + y μл антигена сыворотки крови мышей. /В.В. Джелали, А.Ю. Волянский, Л.И. Глазунова, А.В. Мартынов, Т.П. Осолодченко, Л.В. Клемчук. // Анналы Мечниковского института. 2009. – № 1. – С. 28 – 34.