| Скачать .docx |
Реферат: Извлечение никеля из полировальных ванн для никелирования
ВВЕДЕНИЕ
При нанесении декоративных хромовых покрытий на деталь для защиты от коррозии сначала наносят слой никеля. Для получения гладкой и блестящей поверхности, необходимой для хромирования, наносят еще один или несколько слоев никеля. Этот процесс проводят в так называемых полировальных ваннах, наполненных водным раствором никелевых солей, содержащих полирующие добавки - сераорганические соединения. После нанесения слоев никеля деталь промывают водой для удаления никелирующего раствора и проводят хромирование. В результате на полированный слой никеля наносится декоративный внешний слой хрома.
Глава 1. СУЩНОСТЬ ПРОЦЕССА НИКЕЛИРОВАНИЯ
В основу процесса химического никелирования положена реакция восстановления никеля из водных растворов его солей гипофосфитном натрия. Растворы могут быть щелочными и кислотными. В результате образуется блестящее или полублестящее никелевое покрытие. Структура его аморфная, представляющая собой сплав никеля и фосфора. Пленка никеля без термообработки слабо держится на поверхности основного металла, хотя ее твердость близка к твердости хромового покрытия. Последнее объясняется наличием фосфора. Термическая обработка детали с никелевым покрытием, полученным химическим путем, в значительной степени увеличивает сцепление пленки никеля с основным металлом. Одновременно с этим растет и твердость никеля, достигающая твердости хрома. Термическая обработка заключается в нагреве детали с никелевым покрытием до температуры 350-500° и выдерживании ее при этой температуре не менее 1 ч. При термической обработке некоторых закаленных стальных деталей с никелевым покрытием необходимо учитывать, при какой температуре эти детали отпускались, и не превышать ее при термообработке. Это особенно касается рыболовных крючков. Химическим путем можно покрывать никелем большинство металлов, кроме свинца, олова, кадмия и их сплавов. рассмотрим достоинства и недостатки щелочных и кислотных растворов химического никелирования. Щелочные растворы. Щелочные растворы характеризуются устойчивостью в работе, почти полным отсутствием явления саморазряда, которое представляет собой мгновенное выпадение губчатой массы никеля из раствора, сопровождающееся выбросом кипящей смеси из ванны, что может привести к серьезным ожогам. Явление саморазряда наступает при перегреве раствора. Регулировку температуры при отсутствии термометра ведут по интенсивности выделения газа во время процесса. Если газовыделение с детали не бурное, то можно быть уверенным, что саморазряда не будет. Твердость покрытия из щелочных растворов примерно на 15% ниже, чем из кислотных. Коррозионная стойкость покрытий никелем из щелочных растворов ниже, чем из кислотных. Кислотные растворы. Кислотные растворы также сильно подвержены явлению саморазряда. Поэтому, работая с кислотными растворами, необходимо обязательно соблюдать все меры предосторожности.
Никелирование меди и сплавов.
Отполированную и обезжиренную медную (латунную, бронзовую и т.д.) деталь перед никелированием декапируют. После декапирования деталь промывают в горячей и холодной воде (касаться руками детали нельзя) и подвешивают в раствор для никелирования. Здесь есть одна тонкость, и если ее не выполнить, процесс осаждения никеля может не пойти. Деталь должна быть подвешена в раствор для никелирования на алюминиевой или железной (стальной) проволоке; в крайнем случае, при опускании детали в раствор ее необходимо коснуться железным или алюминиевым предметом. Эти "священнодействия" необходимы для того, чтобы дать старт процессу никелирования, так как медь имеет сравнительно низкий электроотрицательный потенциал по отношению к никелю. Только присоединение или касание детали более электроотрицательным металлом (алюминий, железо) дает старт процессу осаждения никеля на меди и ее сплавах. Растворы для химического никелирования меди и ее сплавов: 1щ. Хлористый никель - 40-50 г/л, хлористый аммоний - 45-55 г/л, лимоннокислый натрий - 40-50 г/л, гипофосфит натрия-10-20 г/л. Температура раствора - 80-88°, скорость осаждения - 8-10 мкм/ч, 2. Сернокислый никель - 28-30 г/л, уксуснокислый натрий - 10-12 г/л, гипофосфит натрия-8-10 г/л. Температура раствора - 90-92°, скорость осаждения - 8-10 мкм/ч.
Приготовление растворов заключается в растворении всех компонентов (кроме гипофосфита натрия) и его нагревании. Гипофосфит натрия вводят в раствор непосредственно перед подвешиванием деталей. Такой порядок приготовления растворов касается всех рецептов для никелирования. Раствор для никелирования разводится в любой эмалированной посуде (миска, глубокая сковорода, кастрюля и т. п.), которая не имеет повреждений на поверхности эмали. От никелирования посуда не портится. Возможный осадок никеля на стенках посуды легко удаляется азотной кислотой (50% -ный раствор). Почти для всех рыболовных приманок процесс никелирования ведут более 1 ч для получения пленки толщиной около10 мкм (0,01 мм). Этого достаточно, чтобы впоследствии полировать пленку, не боясь протереть ее до основного металла. Термообработка никелированных медных (латунных, бронзовых и т. п.) деталей заключается в нагреве их до температуры 350-500° и выдерживании их при такой температуре в течение 1 ч. Необходимо отметить, что на воздухе при температуре выше 380° на поверхности никеля появляются цвета побежалости от золотисто-желтого до фиолетового.
Никелирование алюминия и его сплавов.
Никелирование алюминия и его сплавов проводят после двукратной цинкатной обработки. Цинкатную обработку алюминиевых деталей проводят (после полной их предварительной подготовки) в следующих растворах. 1. Едкий натр-250 г/л, окись цинка-55 г/л. Температура раствора - 20°C, время обработки - 3-5 с.
2. Едкий натр-120 г/л, сернокислый цинк-40 г/л. Температура раствора-20°, время обработки-1,5-2 мин.Отдельно в двух частях воды по 0,5 л растворяют едкий натр и сернокислый цинк. Затем оба раствора сливают вместе. Дюралюминиевые детали цинкуются в растворе: Едкий натр-10 г/л, окись цинка-5 г/л, сегнетова соль-10 г/л. Температура раствора-20°C, время обработки-1-2 мин.
Двукратную цинкатную обработку деталей проводят следующим образом. Детали цинкуют, затем подтравливают в течение 10-15 сек. в 15%-ном растворе азотной кислоты и после этого цинкуют вторично. После цинкования деталь сразу же промывают в горячей воде и подвешивают в ванну (миску и т. п.) с одним из растворов: 1. Хлористый никель - 21 г/л, лимоннокислый натрий - 40 г/л, хлористый аммоний-50 г/л, аммиак (25%)-50 мл/л, гипофосфит натрия - 24 г/л. Температура раствора - 87-90°, скорость осаждения-15-18 мкм/ч. 2. Хлористый никель-21 г/л, уксуснокислый натрий - 10 г/л, гипофосфит натрия-24 г/л. Температура раствора - 88 - 90°, скорость осаждения - 20-25 мкм/ч. 3. Сернокислый никель-25 г/л, уксуснокислый натрий-10 г/л, гипофосфит натрия-20 г/л. Температура раствора-90-92°, скорость осаждения - 12-15 мкм/ч. 4. Уксуснокислый никель - 20-25 г/л, глицин - 15-20 г/л, гипофосфит натрия - 25-30 г/л. Температура раствора - 95-98°C, скорость осаждения- 18-24 мкм/ч. Рабочие растворы для никелирования алюминия и его сплавов составляют так же, как и для никелирования меди и ее сплавов. Термообработка никелированных алюминиевых деталей (и из его сплавов) имеет свою специфику. Детали тщательно промывают водой, погружают в нагретое до температуры 220-250° минеральное машинное масло и выдерживают при этой температуре не менее 1 ч. После термообработки детали обезжиривают органическими растворителями.
Никелирование стали.
Полированные и химически обезжиренные стальные детали промывают в горячей и холодной воде,а затем декапируют. Декапированные детали также промывают в обеих водах и помещают в ванну для никелирования. Растворов для никелирования стали очень много, ниже приводятся наиболее проверенные и зарекомендовавшие себя: 1щ. Хлористый никель-30 г/л, аммиак (25%)-50 г/л, лимоннокислый натрий-100 г/л, гипофосфит натрия-10 г/л. Температура раствора-90°, скорость осаждения-6-7 мкм/ч, качество покрытия - полублестящее. 2щ. Хлористый никель - 45 г/л, хлористый аммоний - 45 г/л, лимоннокислый натрий - 45 г/л, гипофосфит натрия - 20 г/л. Температура раствора - 90е, скорость осаждения - 5-8 мкм/ч, качество покрытия - полублестящее. 3. Сернокислый никель - 20 г/л, уксуснокислый натрий - 8 г/л. гипофосфит натрия - 20 г/л. Температура раствора - 90-92°, скорость осаждения 15 мкм/ч, качество покрытия - блестящее.
4. Сернокислый никель - 30 г/л, уксуснокислый натрий - 10 г/л, хромовокислый свинец-10 г/л, гипофосфит натрия- 10 г/л. Температура раствора-90°, скорость осаждения 15 мкм/ч, качество покрытия-блестящее, качественное. 5. Хлористый никель - 30 г/л, оксиацетат натрия - 50 г/л. гипофосфит натрия-10 г/л. Температура раствора-95°, скорость осаждения - 20-25 мкм/ч, качество покрытия - блестящее.
При термической обработке никелевого покрытия на стали надо знать хотя бы примерно температуру отпуска той или иной детали. Ее обрабатывают при температуре не выше температуры отпуска. Крючки, пружины и т. п., часто встречающиеся в практике рыболова, обычно отпускают при температуре 300-350°. Поэтому термообработку их после никелирования проводят при температуре 300° в течение 2-3 ч (это можно делать в духовке газовой плиты). При покрытии стали никелем очень важно ликвидировать поры в пленке никеля, а они всегда есть. В противном случае за короткий срок ржавчина разрушит никелевое покрытие. Один из методов заключается в следующем. Никелевое покрытие протирают кашицей из окиси магния, замешенного на воде, и деталь сразу же декапируют в 50%-ном растворе соляной кислоты в течение 1-2 мин. При другом методе сталь рекомендуется дважды покрывать никелем. После нанесения обычным порядком первого слоя деталь подтравливают в 50%-ном растворе азотной кислоты в течение 3-5 с, тщательно промывают в горячей и холодной воде и покрывают никелем второй раз. Причем покрытие вторым слоем никеля обязательно ведут из так называемого истощенного раствора, т.е. такого, в котором уже никелировалось большое количество деталей. Более эффективен третий метод закрытия пор в никелевом покрытии. Суть его состоит в том, что никелированную деталь сразу после термообработки охлаждают до 120-150° и опускают в старый, долгостоявщий рыбий жир (не витаминизированный!), нагретый до 80-100°. В рыбьем жире деталь выдерживают 1-2 ч, после чего его излишки удаляют тряпкой. Пропитанным жиром деталям дают полежать в теплом месте 10-12 суток. Обработанные таким образом рыболовные крючки длительное время не ржавеют даже в морской воде. При химическом никелировании возможны некоторые неполадки в ходе процесса. Это касается никелирования всех металлов. Слабое газовыделение по всей поверхности детали является первым признаком малой концентрации в растворе гипофосфита натрия, и, следовательно, его необходимо добавить в раствор. Просветление раствора (нормальный раствор синего цвета) свидетельствует о понижении количества хлорного (сернокислого) никеля. Бурное газовыделение на стенках сосуда и отложение на них никеля (темно-серый налет) объясняется местным перегревом стенок сосуда. Чтобы избежать этого явления, раствор нагревают постепенно. Между сосудом и огнем желательно поместить какую-нибудь металлическую прокладку (круг). Серый или темный слой никеля на детали образуется при низкой концентрации третьих составляющих (компонент), т.е. солей, которые присутствуют в растворе, кроме хлористого (сернокислого) никеля и гипофосфита натрия. При плохой подготовке поверхности детали могут появиться вздутия и отслоения пленки никеля. И наконец, может быть и такое. Раствор составлен правильно, а процесс не идет. Это верный признак того, что в раствор попали соли других металлов. В этом случае делают новый раствор, исключая попадание каких-либо посторонних солей металлов. Никелевое покрытие можно пассивировать, после чего оно длительное время не тускнеет.
Никелирование деталей
Никелирование применяется в машиностроении, приборостроении н других отраслях промышленности. Никелем покрывают детали из стали и цветных металлов для защиты их от коррозии, декоративной отделки, повышения сопротивления механическому износу. Благодаря высокой коррозионной стойкости в растворах щелочей никелевые покрытия применяют для защиты химических аппаратов от щелочных растворов. В пищевой промышленности никель может заменять оловянные покрытия. В оптической промышленности получил распространение процесс черного никелирования. При электрохимическом осаждении никеля на катоде протекают два основных процесса: Ni2+ + 2e- → Ni и 2Н+ + 2е- → Н2. В результате разряда ионов водорода концентрация их в прикатодном слое снижается, т.е. электролит защелачивается. При этом могут образовываться основные соли никеля, которые влияют на структуру н механические свойства никелевого покрытия. Выделение водорода вызывает также питтинг - явление, при котором пузырьки водорода, задерживаясь на поверхности катода, препятствуют разряду ионов никеля в этих местах. На покрытии образуются ямки и осадок теряет декоративный вид. В борьбе с питтингом применяют вещества, которые снижают поверхностное натяжение на границе металл - раствор.
При анодном растворении никель легко пассивируется. При пассивации анодов в электролите уменьшается концентрация ионов никеля и быстро растет концентрация ионов водорода, что приводит к падению выхода по току и ухудшению качества осадков. Для предупреждения пассивирования анодов в электролиты никелирования вводят активаторы. Такими активаторами являются ионы хлора, которые вводят в электролит в виде хлористого никеля или хлористого натрия.
Сернокислые электролиты никелирования
Сернокислые электролиты никелирования получили наибольшее распространение. Эти электролиты устойчивы в работе, при правильной эксплуатации они могут использоваться в течение нескольких лет без замены. Состав некоторых электролитов и режимы никелирования:
| Состав | Электролит №1 | Электролит №2 | Электролит №3 |
| Никель сернокислый | 140-200 | 280-300 | 400-420 |
| Натрий сернокислый | 50-70 | - | - |
| Магний сернокислый | 30-50 | 50-60 | - |
| Кислота борная | 25-30 | 25-40 | 25-40 |
| Натрий хлористый | 5-10 | 5-10 | - |
| Натрий фтористый | - | - | 2-3 |
| Температура, °C | 15-25 | 30-40 | 50-60 |
| Плотность тока. А/дм2 | 0,5-0,8 | 2-4 | 5-10 |
| pH | 5,0-5,5 | 3-5 | 2-3 |
Сернокислый натрий и сернокислый магний вводят в электролит для повышения электропроводности раствора. Проводимость растворов натрия выше, но в присутствии сернокислого магния получаются более светлые, мягкие и легко полируемые осадки. Никелевый электролит очень чувствителен даже к небольшим изменениям кислотности. Для поддержания величины рН в требуемых пределах необходимо применять буферные соединения. В качестве такого соединения, препятствующего быстрому изменению кислотности электролита, применяют борную кислоту.
Для облегчения растворения анодов в ванну вводят хлористые соли натрия. Для приготовления сернокислых электролитов никелирования необходимо растворить в отдельных емкостях в горячей воде все компоненты. После отстаивания растворы фильтруют в рабочую ванну. Растворы перемешивают, проверяют рН электролита и при необходимости корректируют 3%-ным раствором едкого натра или 5%-иым раствором серной кислоты. Затем электролит доводят водой до требуемого объема. При наличии примесей необходимо перед началом эксплуатации электролита произвести его проработку, так как никелевые электролиты чрезвычайно чувствительны к посторонним примесям как органическим, так и неорганическим. Дефекты при эксплуатации электролита блестящего никелирования и способы их устранения приведены в Таблице 1.
Таблица 1 - Дефекты при эксплуатации сернокислых электролитов никелирования и способы их устранения
| Дефект | Причина дефекта | Способ устранения |
| Никель не осаждается. Обильное выделение водорода | Низкое значение рН | Откорректировать рН 3%-иым раствором едкого натра |
| Частичное покрытие никелем | Плохое обезжиривание деталей | Улучшить подготовку |
| Неправильное расположение анодов | Равномерно распределить аноды | |
| Детали взаимно экранируют друг друга | Изменить расположение деталей в ванне | |
| Покрытие имеет серый цвет | Наличие в электролите солей меди | Очистить электролит от меди |
| Хрупкое, растрескивающееся покрытие | Загрязнение электролита органическими соединениями | Обработать электролит активированным углем и проработать током |
| Наличие примесей железа | Очистить электролит от железа | |
| Низкое значение рН | Откорректировать рН | |
| Образование питтинга | Загрязнение электролита органическими соединениями | Проработать электролит |
| Низкое назначение рН | Откорректировать рН | |
| Слабое перемешивание | Усилить перемешивание | |
| Появление черных или коричневых полос на покрытии | Наличие примесей цинка | Очистить электролит от цинка |
| Образование дендритов на кромках деталей | Высокая плотность тока | Снизить плотность тока |
| Чрезмерно продолжительный процесс никелирования | Ввести промежуточный подслой меди или уменьшить время электролиза | |
| Аноды покрыты коричневой или черной пленкой | Высокая анодная плотность тока | Увеличить поверхность анодов |
| Малая концентрация хлористого натрия | Добавить 2-3 г/л хлористого натрия |
При никелировании применяют горячекатаные аноды, а также непассивирующиеся аноды. Применяют также аноды в форме пластинок (карточек), которые загружают в зачехленные титановые корзины. Карточные аноды способствуют равномерному растворению никеля. Во избежание загрязнения электролита анодным шламом никелевые аноды следует заключать в чехлы из ткани, которые предварительно обрабатывают 2-10%-ным раствором соляной кислоты.
Отношение анодной поверхности к катодной при электролизе 2 : 1. Никелирование мелких деталей осуществляют в колокольных и барабанных ваннах. При никелировании в колокольных ваннах применяют повышенное содержание хлористых солей в электролите для предотвращения пассивации анодов, которая может возникать из-за несоответствия поверхности анодов и катодов, вследствие чего концентрация никеля в электролите понижается и уменьшается значение рН. Оно может достигнуть таких пределов, при которых вообще прекращается осаждение никеля. Недостатком при работе в колоколах и барабанах является также большой унос электролита с деталями из ванн. Удельные нормы потерь при этом составляют от 220 до 370 мл/м2.
Электролиты блестящего никелирования
Для защитно-декоративной отделки деталей широко применяют блестящие и зеркальные никелевые покрытия, получаемые непосредственно из электролитов с блескообразующими добавками. Состав электролита и режим никелирования:
Никель сернокислый - 280-300 г/л Никель хлористый - 50-60 г/л Кислота борная - 25-40 г/л Сахарин 1-2 г/л 1,4-бутиндиол - 0,15-0,18 мл/л Фталимид 0,02-0,04 г/л рН = 4-4,8 Температура = 50-60°С Плотность тока = 3-8 А/дм2
Для получения блестящих никелевых покрытий используют также электролиты с другими блескообразующими добавками: хлорамина Б, пропаргилового спирта, бензосульфамида и др.
При нанесении блестящего покрытия необходимо интенсивное перемешивание электролита сжатым воздухом желательно в сочетании с качанием катодных штанг, а также непрерывная фильтрация электролита, Электролит приготовляют следующим образом. В дистиллированной или деионизированной горячей (80-90°С) воде растворяют при перемешивании сернокислый и хлористый никель, борную кислоту. Доведенный водой до рабочего объема электролит подвергают химической и селективной очистке. Для удаления меди и цинка электролит подкисляют серной кислотой до рН 2-3 завешивают катоды большой площади из рифленой стали и прорабатывают электролит в течение суток при температуре 50-60°С, перемешивая сжатым воздухом. Плотность тока 0,1-0,3 А/дм2. Затем рН раствора доводят до 5,0-5,5, после чего в него вводят перманганат калия (2 г/л) или 30%-ный раствор перекиси водорода (2 мл/л).
Раствор перемешивается в течение 30 мин, добавляют 3 г/л активированного угля, обработанного серной кислотой, и перемешивают электролит 3-4 с помощью сжатого воздуха. Раствор отстаивается 7-12 ч, затем фильтруется в рабочую ванну.
В очищенный электролит вводят блескообразователи: сахарин и 1,4-бутиндиол непосредственно, фталимид - предварительно растворив в небольшом количестве электролита, подогретого до 70-80° С. Доводят рН до требуемого значения и приступают к работе. Расход блескообразователей при корректировании электролита составляет: сахарин 0,01-0,012 г/(А•ч); 1,4-бутнндиол (35%-ный раствор) 0,7-0,8 мл/(А•ч); фталимид 0,003-0,005 г/(А•ч). Дефекты при эксплуатации электролита блестящего никелирования и способы их устранения приведены в Таблице 2.
Таблица 2 - Дефекты при эксплуатации электролита блестящего никелирования и способы их устранения
| Дефект | Причина дефекта | Способ устранения |
| Недостаточный блеск покрытия | Мала концентрация блескообразователей | Ввести блескообразователи |
| Не выдерживается заданная плотность тока и рН | Отрегулировать плотность тока и рН | |
| Темный цвет покрытия и/или темные пятна | В электролите имеются примеси тяжелых металлов | Произвести селективную очистку электролита при низкой плотности тока |
| Питтинг | Наличие в электролите примесей железа | Очистить электролит и ввести антипиттинговую добавку |
| Недостаточное перемешивание | Увеличить воздушное перемешивание | |
| Низкая температура электролита | Повысить температуру электролита | |
| Хрупкие осадки | Загрязнение электролита органическими соединениями | Очистить электролит активированным углем |
| Пониженное содержание 1,4-бутиндиола | Ввести добавку 1,4-бутиндиола |
Химическое никелирование
Наряду с электролитическим никелированием широко применяют процесс химического никелирования, основанный на восстановлении никеля из водных растворов с помощью химического восстановителя. В качестве восстановителя используют гипофосфит натрия.
Химическое никелирование применяют для покрытия никелем деталей любой конфигурации. Химически восстановленный никель обладает высокой коррозионной стойкостью, большой твердостью и износостойкостью, которые могут быть значительно повышены при термической обработке (после 10-15 мин нагрева при температуре 400°С твердость химически осажденного никеля повышается до 8000 МПа). При этом возрастает и прочность сцепления. Никелевые покрытия, восстановленные гипофосфитом, содержат до 15% фосфора. Восстановление никеля гипофосфитом протекает по реакции NiCl2 + NaH2PO2 + H2O → NaH2PO3 + 2HCl + Ni.
Одновременно происходит гидролиз гппофосфита натрия. Степень полезного использования гппофосфита принимают около 40%. Восстановление никеля из его солей гипофосфитом самопроизвольно начихается только на металлах группы железа, которые катализируют этот процесс. Для покрытия других каталитически неактивных металлов (например, меди, латуни) необходим контакт этих металлов в растворе с алюминием или другими более электроотрицательными, чем никель, металлами. Для этой цели используют активирование поверхности обработкой в растворе хлористого палладия (0,1-0,5 г/л) в течение 10-60 с. На некоторых металлах, таких, как свинец, олово, цинк, кадмий, никелевое покрытие не образуется даже при использовании методой контактирования и активирования. Химическое осаждение никеля возможно как из щелочных, так и из кислых растворов. Щелочные растворы характеризуются высокой стабильностью и простотой корректировки.
Покрытия, полученные в кислых растворах, отличаются меньшей пористостью, чем из щелочных растворов (при толщине выше 12 мкм покрытия практически беспористые). Из кислых растворов химического никелирования рекомендуется следующий состав (г/л) и режим никелирования:
Никель сернокислый - 20-30 г/л Натрий уксуснокислый - 10-20 г/л Натрия гипофосфит - 20-25 г/л Тиомочевина 0,03 г/л Кислота уксусная (ледяная) - 6-10 мл/л рН = 4,3-5,0 Температура = 85-95°С Скорость осаждения = 10-15 мкм/ч
Химическое никелирование осуществляют в стеклянных, фарфоровых или железных эмалированных ваннах. В качестве материала подвесок применяют углеродистую сталь.
В последнее время химическим путем наносят покрытие сплава никель-бор с использованием в качестве восстановителя борсодержащих соединений - борогидрида натрия и диметилбората, которые обладают более высокой восстановительной способностью по сравнению с гипофосфитом. Полученные покрытия сплавом никель-бор имеют высокую износостойкость и твердость.
|
При нанесении декоративных хромовых покрытий на деталь для защиты от коррозии сначала наносят слой никеля. Для получения гладкой и блестящей поверхности, необходимой для хромирования, наносят еще один или несколько слоев никеля. Этот процесс проводят в так называемых полировальных ваннах, наполненных водным раствором никелевых солей, содержащих полирующие добавки - сераорганические соединения. После нанесения слоев никеля деталь промывают водой для удаления никелирующего раствора и проводят хромирование. В результате на полированный слой никеля наносится декоративный внешний слой хрома.
При проведении обычного процесса нанесения электропокрытий в ваннах с растворами никелевых солей, таких как хлорид и сульфат никеля, в реактор приходится периодически вводить дополнительные количества этих солей, особенно в полуполировальные ванны. Это связано с тем, что при переносе деталей из одной ванны в другую и на стадию промывки перед хромированием некоторое количество раствора уносится вместе с деталями и утекает. Эта часть никелевого раствора, а также раствор, остающийся в промывной воде в гальваностегии обычно не регенерируется. Эти растворы также не могут быть использованы в полуполировальных ваннах, потому что они содержат такое количество серы (из полирующих добавок), которое значительно снижает коррозионную устойчивость никелевого покрытия. Таким образом, промывные воды процессов гальваностегии удаляются в виде отходов, обычно после соответствующей предварительной обработки. Необходимость обработки сточных вод, а также возникающие потери никелевых солей приводят к увеличению стоимости процесса.
Процесс извлечения никеля был разработан Л.С. Райт мл., он позволяет извлекать никелировальный раствор из промывных воде целью повторного использования как в полуполировальных, так и в полировальных никелевых ваннах. Он позволяет упростить, а в ряде случаев и исключить обработку сточных вод, выводимых из системы. При этом также уменьшается количество полирующих добавок при никелировании и снижается количество электроэнергии, необходимое для нанесения покрытия. В результате процесс покрытия становится более экономичным и простым и обеспечивает более высокое качество наносимого хромового покрытия.
Процесс включает стадии добавления кислоты к промывным водам, пропускания получаемой смеси через угольный фильтр для удаления полирующих добавок и снижения содержания серы и возврата отфильтрованного раствора для повторного использования в полуполировальной и полировальной никелевых ваннах.
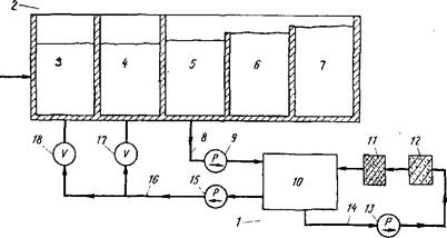
Схема процесса представлена на рис. 1. Процесс проводят в аппарате 1, связанном с отделением никелирования 2. В состав отделения никелирования входят полуполировальная ванна 3, полировальная ванна 4 и три промывных резервуара 5, 6 и 7; каждая деталь последовательно проходит через все эти резервуары. Аноды в ваннах 3 и 4 на схеме не показаны. Никелировальный раствор, уносимый из ванн 3 и 4 вместе с обрабатываемыми деталями, смывается водой в промывных резервуарах 5, 6 к 7.
При этом вода, стекающая из резервуара 7, попадает в резервуар 6, а вода из резервуара 6 стекает в резервуар 5. Аппарат 1 состоит из резервуара 10, в который насосом 9 по трубопроводу 8 подается часть водного промывного раствора из резервуара 5. В резервуар 10 добавляется кислота и полученная смесь пропускается через фильтр для улавливания твердых частиц 12 и угольный фильтр 11; циркуляция осуществляется по трубопроводу 14 с помощью насоса 13. Отфильтрованные кислые промывные воды подаются насосом 15 через трубопровод 16 с вентилями 17 и 18 обратно в никелировальные ванны 3 и 4.
Желательно, чтобы промывные воды из резервуара 5 подавались в резервуар 10 насосом 9 непрерывно или через определенные интервалы со скоростью равной скорости поступления в резервуар 5 никелевого раствора из ванн 3 и 4 и скорости подачи раствора из резервуара 6. В этом случае обеспечивается практически постоянный уровень промывной жидкости в резервуаре 5.
Желательно, чтобы отфильтрованные кислые промывные воды подавались из резервуара 10 в никелировальные ванны 3 и 4 насосом 15 через вентили 17 и 18 непрерывно или через определенные интервалы со скоростью равной скорости вывода никелировального раствора из ванн 3 и 4. В этом случае уровень жидкости в ваннах 3 и 4 будет оставаться практически постоянным, а химический состав и величина рН раствора будут практически одинаковыми в течение всего процесса.

Рис. 1 - Схема процесса выделения и повторного использования никелирующих растворов из полировальных ванн, уносимых с обрабатываемыми деталями
Для лучшего фильтрования смеси промывных вод и кислоты из резервуара 10 предпочтительно, чтобы смесь рециркулировалась насосом 13 через фильтры 11 и 12 со значительно большей скоростью, чем скорость удаления смеси из резервуара насосом. В результате этого смесь перед возвращением в ванны 3 и 4 может несколько раз пройти через фильтры 11 и 12.
В случае необходимости можно использовать устройство для автоматического поддержания постоянного значения рН в резервуаре 10 путем добавления небольших количеств кислоты. Фильтр 12 представляет собой бумажный фильтр или специальный патрон фирмы «Саммит Сайентифик оф Резерфорд, Ныо Джерси». Фильтр 17 выполнен из активированного угля; например может быть использован импрегниро-ванный фильтр из активированного угля «Карбо Клир» сечением 25 см, содержащий ~115 г угля. Этот фильтр также производится вышеупомянутой фирмой.
Ванны 3 и 4 заполняются обычными никелировальными растворами, содержащими 300-550 г/л хлорида и сульфата никеля и 30-40 г/л борной кислоты. Величина рН раствора должна составлять 2-5, предпочтительно 3-4. Процесс обычно проводят при температуре 21-82°С, предпочтительно при 55-65 °С. Для повышения коррозионной стойкости покрытия в растворе в полуполировальной ванне низкое содержание серы и обычно не содержится органических полирующих добавок.
В полировальной ванне в растворе содержатся различные полирующие добавки, являющиеся органическими веществами, по меньшей мере часть из которых содержит серу. В результате этого содержание серы здесь значительно выше, чем в полуполировальной ванне. Некоторые из полирующих добавок описаны в патенте США 3 288574 и в приведенных в нем ссылках. Кислый водный раствор в промывных резервуарах 5, 6 и 7 имеет величину рН = 1,5-5-2,5 и температуру 15-30 °С.
Промышленность выпускает готовые составы для никелировальных ванн, которые позволяют успешно проводить процесс. В процессе работы часть водной смеси выводится из промывного резервуара 5 насосом 9 с малой скоростью и подается в резервуар 10, где ее смешивают с соляной или серной кислотой в количествах, достаточных для поддержания величины рН смеси ~3,0, предпочтительно 2,0-2,5. Смесь из резервуара 10 циркулируется насосом 13 через фильтры 11 и 12, проходя через них несколько раз и возвращаясь в резервуар 10. На фильтре 12 происходит удаление твердых частиц, а на фильтре // абсорбция органических полирующих добавок. После фильтрования очищенный раствор может быть возвращен как в полуполировальную, так и в полировальную ванны 3 и 4. В случае необходимости в полуполировальную ванну 3 добавляют соли никеля, а в ванну 4 полирующие добавки.
Описанный способ позволяет наносить на металлические или пластмассовые изделия полуполированный слой никеля толщиной 0,012 мм и полированный слой никеля толщиной 0,075 мм. Процесс достаточно производителен. При площади покрытия на каждом изделии ~ 1,8 м2 за час обрабатывается ~ 100 изделий. Раствор в полуполировальной ванне содержит 240 г/л NiS04, 45 г/л NiCl2 и 53 г/л борной кислоты; рН = 3,2. Раствор в полировальной ванне содержит ~240 г/л NiS04, 75 г/л NiCla и 53 г/л борной кислоты; рН ~ 3,6. Температура никелировальных ванн составляет ~63 °С, а температура на первой стадии промывки ~27°С.
Потенциал, подаваемый на изделие в полуполировальной ванне составляет 7 В, плотность тока ~450 А/м2. В полировальной ванне также подается потенциал 7 В, а плотность тока составляет ~560 А/м2. Смесь из первого промывного резервуара непрерывно подается в резервуар 10 со скоростью ~750 л/ч, циркулирует через фильтры 12 л 11 с такой же скоростью и после фильтрования направляется в полуполировальную ванну Зсо скоростью ~280 л/ч и в полировальную ванну со скоростью ~115 л/ч. Вместимость резервуара 10 составляет ~11 500 л. В резервуар подается достаточное количество кислоты для поддержания величины рН = 1,5-^2,5, в среднем ~2,0.
Этот способ позволяет значительно снизить расходы на обработку в результате значительного снижения количества никельсодержащих отходов, используемых никелевых солей и полирующих добавок, а также затрат на обработку сточных вод. Данный способ делает экономически целесообразным увеличение концентрации никелевых солей в никелировальных растворах, что позволяет повысить качество никелирования, уменьшить количество полирующих добавок и снизить расход энергии при той же толщине никелевого покрытия.
В результате подачи смеси со станции фильтрования в никелировальные ванны маленькими порциями через небольшие промежутки времени в значительной степени устраняются колебания в химическом составе и величине рН никелировальных растворов, что делает процесс покрытия более надежным и повышает качество никелированных изделий.
ЛИТЕРАТУРА
1. Афанасьева Е.И., Скобелев В.М. "Источники света и пускорегулирующая аппаратура: Учебник для техникумов", 2-е изд., перераб., М.: Энергоатомиздат, 1986, 270 с.
2. Боленок В.Е. "Производство электроосветительных приборов: Учебник для техникумов", М.: Энергоиздат, 1981, 303 с.
3. Денисов В.П. "Производство электрических источников света", М: Энергия, 1975, 488 с.
4. Денисов В.П., Мельников Ю.Ф. "Технология и оборудование производства электрических источников света: Учебник для техникумов", М: Энергия, 1983, 384 с.
5. Пляскин П.В. и др. "Основы конструирования электрических источников света", М: Энергоатомиздат, 1983, 360 с.
6. Чуркина Н.И., Литюшкин В.В., Сивко А.П. "Основы технологии электрических источников света" / под общ. ред. Прыткова А.А., Саранск: Мордовское книжное издательство, 2003, 344 с.