| Скачать .docx |
Реферат: Выделение химических реагентов из аммиачного варочного раствора в процессе производства целлюлозы
ВВЕДЕНИЕ
В процессе получения целлюлозы по бисульфитно-аммиачному методу измельченную древесину вываривают с бисульфитом аммония. Удаление отработанных аммиачно-бисульфитных растворов представляет серьезную проблему вследствие загрязнения воды и атмосферы при сбрасывании стоков в водоемы. В связи с этим возникает необходимость в создании метода обработки таких растворов, позволяющего устранить загрязнение окружающей среды, и выделять по крайней мере некоторые из ценных химических реагентов для повторного использования при приготовлении свежих аммиачно-бисульфитных варочных растворов.
ГЛАВА 1. ПРОИЗВОДСТВО ХЛОПКОВОЙ ЦЕЛЛЮЛОЗЫ
Хлопковая целлюлоза отличается высокой чистотой и хорошей смачиваемостью кислотной смесью. Древесная целлюлоза содержит много примесей (смола, лигнин и др.) н требует специальной очистки: отбелки облагораживания. При этерификации древесной целлюлозы применяютсяболее активные смеси (с повышенным содержанием HNO3 н пониженным содержанием НаО).
1. Прозенхимные клетки. Длина этих клеток (в пределах 0,5.. .8 мм) во много раз больше поперечных размеров, что характерно для волокон; ониориентированы вдоль ствола и придают древесине волокнистое строение. Эти клетки быстро отмирают и в древесине они в основной массе мертвые. Таким образом, древесное волокно - это мертвая прозенхимная клетка; целлюлозное волокно (волокно технической древесной целлюлозы) - та же клетка после удаления экстрактивных веществ, лигнина, гемицеллюлоз. Целлюлозные волокна могут содержать большую или меньшую долю примесей — нецеллюлозных компонентов.
В процессе варки целлюлозы и полуцеллюлозы древесная ткань подвергается химическому и физическому воздействию. В результате делигнификации и частичного удаления гемицеллюлоз она распадается на отдельные древесные волокна с превращением последних в целлюлозные волокна. При этом ультраструктура клеточной стенки существенно изменяется. Учитывая распределение слоев клеточной стенки по массе, необходимо подчеркнуть, что основное количество лигнина присутствует во вторичной стенке. Следовательно, для достижения достаточной степени делигнификации требуется удалить лигнин из всех слоев клеточной стенки. Удаление лигнина из срединной пластинки приводит к ее разрушению и разъединению волокон, а удаление из вторичной стенки - к ослаблению связей между фибриллами. Фибриллярная структура клеточной стенки позволяет делить, волокна на продольные элементы и связывать их между собой. На этом основан процесс производства бумаги. В результате делигнификации целлюлозные волокна становятся гибкими и эластичными. При последующем размоле целлюлозной массы при подготовке к формованию бумаги происходит фибриллирование клеточных стенок - расщепление их на фибриллы и последних на более тонкие элементы. На процесс фибриллмрования определяющее влияние оказывает ультраструктура клеточной стенки. По сравнению с хлопковым волокном волокна древесной целлюлозы фибриллируются значительно легче. При формовании бумаги в процессе удаления воды возникают прочные межволоконные связи за счет трения, механического зацепления фибрилл, а также возникновения межмолекулярных сил взаимодействия, в том числе прочных водородных связей между макромолекулами на поверхностях фибриллированных элементов, и образуется бумажный лист.
Высокомолекулярный характер целлюлозы доказан вискозиметрическим определением ее степени полимеризации, а также методами ультрацентрифугирования и осмометрии. Макромолекулы чистой целлюлозы состоят исключительно из звеньев D-глюкозы, поскольку в гидролизатах такой целлюлозы хроматографическим анализом не обнаружили других са-харов. В природной целлюлозе все гликозидные связи между звеньями считаются равноценными. Однако некоторые исследователи допускают существование в цепях древесной целлюлозы «слабых» связей между звеньями, появление которых обусловлено частичным окислением глю-козных звеньев с образованием карбонильных групп, ослабляющих обычные р-гликозидные связи по отношению к гидролизу. Повышенное содержание карбоксильных и карбонильных групп наблюдается в технических древесных целлюлозах, особенно беленых. Возможно, что ослабляющее влияние оказывают и конформационные превращения в звеньях p-D-глю-копиранозы.
По результатам рентгенографического анализа у выделенной из природных источников целлюлозы СК в среднем составляет 65...75%, причем у древесной целлюлозы она меньше, чем у хлопковой. Доля аморфной части равна соответственно 35...25%. У гидратцеллюлозы, полученной мерсеризацией целлюлозы или регенерированием из растворов целлюлозы (см. главу 19), СК меньше и составляет 50...30%, причем меньше у регенерированной целлюлозы и больше у мерсеризованной. Однако другие данные, полученные главным образом на основании химических методов исследования, показывают, что доля аморфной части в природной целлюлозе значительно меньше - всего лишь 5... 10%. Необходимо отметить, что эти
Маккарти с сотрудниками [39] фракционировали лигносуль-фонат кальция из сброженного отработанного сульфитного щелока, полученного при варке 85% западной тсуги и 15% белой пихты. Для этого раствор 2,32 г кальциевой соли в 12 мл воды прибавляли к взвеси 12,5 г высокоочищенной размолотой древесной целлюлозы в 345 мл этанола.
Поскольку окисление лигнина двуокисью хлора играет важную роль при получении холоцеллюлозы, а также при отбеливании древесной целлюлозы, реакция лигнина с этим реагентом уже давно изучалась многими учеными.
Гетерогенный процесс получения метилцеллюлозы с применением хлористого метила проводят следующим образом. Вначале получают щелочную целлюлозу из хлопковой или древесной целлюлозы. Затем следует процесс метилирования в автоклаве, использовать регенеративную систему улавливания хлора, простейшая из которых основана на водной абсорбции. Абсорбция хлора водой имеет важное значение и в производстве некоторых видов древесной целлюлозы.
Одним из главных способов химической переработки древесины есть получение древесного, целлюлозного материала (древесной целлюлозы) по сульфитному, сульфатному и натронному способу.
Производство древесного целлюлозного материала для получения ацетатов, несмотря на более жесткие требования к этому материалу включает те же стадии технологического процесса, какие существуют для производства вискозной целлюлозы. Условия проведения отдельных стадий отличаются от получения вискозного целлюлозного материала.
Для производства древесного целлюлозного материала для синтеза ацетатов исходную древесину перерабатывают с использованием следующих операций: 1) окорка древесного баланса, 2) получение древесной щепы 3x4 см, 3) варка щепы с кислыми, щелочными, нейтральными варочными растворами, 4) сортировка целлюлозного материала, 5) отбелка и облагораживание целлюлозного материала, б) сортировка и сушка целлюлозного материала.
Для производства древесного целлюлозного материала для ацетилирования используют лиственную (тополь, осина и др.) и хвойную (сосна, ель, лиственница) балансовую древесину высокого качества. Для производства ацетатного древесного целлюлозного материала производится также специальное выращивание пород деревьев. Древесину для производства ацетатной целлюлозы окоряют в барабанных или ножевых корообдирках. С баланса удаляется кора и луб, которые при варке не провариваются и в дальнейшем засоряют готовый целлюлозный материал. Окоренный баланс рубят в многоножевых рубильных машинах, при этом большое внимание уделяется однородности шипы по фракционному составу. Наличие крупной и мелкой щепы не позволяет при последующей варке получить равномерно проваренную однородную целлюлозную массу Подготовленную древесную щепу подвергают химической обработке варочным раствором при повышенных температурах и давлении. В настоящее время имеется очень большое разнообразие режимов варки древесины. Наряду с наиболее распространенными способами варки; сульфитным и сульфатным, широко применяются комбинированные, многоступенчатые способы варки целлюлозы.
В последние годы в связи с огромной актуальностью вопроса защиты природной среды за счет максимального использования оборотных вод, резкого сокращения количества сбрасываемых сточных вод и снижения их токсичности одним из перспективных способов производства древесного целлюлозного материала является способ, не связанный с использованием хлора и серы содержащих соединений становится азотнокислый процесс варки древесины, основанный на обработке растительного сырья разбавленной азотной кислотой с последующим растворением продуктов взаимодействия в щелочной среде (36). При обработке древесины слабой азотной кислотой происходит нитрование и окисление лигнина, сопровождающееся его деструкцией и растворением на стадии щелочной экстракции. Основными технологическими преимуществами азотнокислой варки являются: быстрота, умеренная температура и отсутствие повышенного давления. Низкая температура варки и щелочной экстракции (80-100°С) способствует уменьшению расхода энергетики. Проведение варки при атмосферном давлении позволяет упростить варочное оборудование. Самое главное и существенное преимущество азотнокислой варки заключается в легкости осуществления замкнутости схемы водооборота, проведения варочною процесса и парогазовой фазе. Все это существенно может снизить загрязнение окружающей среды промышленными стоками по сравнению с существующими технологическими процессами производства сульфитной и сульфатной целлюлозы. Мягкие условия обработки и избирательное действие азотной кислоты по отношению к компонентам древесины позволяют получить менее деструктированную целлюлозу по сравнению с целлюлозой, получаемой сульфитным, сульфатным и кислородно-щелочным способом варки. Полученный целлюлозный материал отличается малым содержанием остаточного лигнина, смол и жиров. Высокая степень полимеризации древесного целлюлозного материала свидетельствует о незначительной деструкции целлюлозы в процессе варки. Ввиду низкого содержания остаточного лигнина, получаемая целлюлоза легко отбеливается при малом расходе отбеливающих реагентов и достигается устойчивая и высокая белизна. Азотно-кислая варка, помимо целлюлозы, позволяет получить ряд ценных побочных продуктов, которые могут быть подвергнуты биохимической переработке с получением кормовых дрожжей. Отработанный щелок может быть использован в качестве эффективного удобрения.
Расход азотной кислоты на варку определяется исходным видом древесины, назначением древесного целлюлозного материала и особенностями технологии. Варка древесины лиственных пород требует по сравнению с хвойной древесиной меньшего расхода азотной кислоты из-за низкого содержания лигнина лиственной древесины по отношению к азотной кислоте. Около 30-45% израсходованного количества азотной кислоты может быть регенерировано и возвращено на варку окислением образующихся в процессе варки окислов азота и абсорбцией их водой. Кроме азотной кислоты могут использоваться различные добавки для ускорения процесса и т.д.
Низкое содержание остаточного лигнина в небеленной азотнокислой целлюлозе позволяет проводить отбелку целлюлозы с меньшим расходом отбеливающих реагентов, чем при других способах получения древесного целлюлозного материала для химической переработки в ацетаты
Сопоставление показателей качества образцов азотнокислой и сульфитной целлюлозы из древесины осины, отбеленных до одинаковой вязкости и белизны показывает, что в азотнокислой целлюлозе выше содержание а-целлюлозы и ниже содержание р-целлюлозы. Для азотнокислого древесного целлюлозного материала из древесины осины характерно более высокое содержание пентозанов и ксилана. Азотнокислая целлюлоза из осины меньше содержит смол.
Характеристика беленого облагороженного древесного целлюлозного материала для ацетилирования.
Очищенная небеленая целлюлоза содержит еще значительное количество лигнина, гемицеллюлоз, смолы поэтому необходим процесс доочисгкн целлюлозного материала от других компонентов. Для этого проводится отбелка древесного целлюлозного материала, при которой протекают процессы дальнейшей денитрификации и облагораживания продукта. Лигнин можно удалить, проводя его окисление или переводя его в хлорлигнин. Образующиеся продукты распада лигнина растворяются в слабощелочных варочных растворах или в воде.
Интересным способом получения древесного целлюлозного, материала для ацетилирования есть способ одной из финляндских фирм (41), который основан на применении трехступенчатой варки. По этому способу древесную щепу, полученную из сосны, лиственницы или осины варят в три стадии: предварительное сульфонирование, основная варка и гидролиз, щелочная варка. Варка проводится и биметаллических котлах с непрямым обогревом, рассчитанных на давление не менее 10 кгс/см2. Котлы снабжены эффективной циркуляцией для варочного раствора. При загрузке щепы применяют паровые уплотнители, которые позволяют проводить пропарку щепы. После подачи жидкости давление в котле поднимают до 9-10 кгс/см: и проводят пропитку щепы. Варка проводится с раствором бисульфита натрия с концентрацией в пересчете на содержание окиси натрия в растворе от 1,4 до 2,3% при рН ~ 3,5-6,5 Пропитка начинается при температуре 80-90°С, а в процессе пропитки, которая длится 2-3 часа, температура повышается до 110-130°С. По окончании пропитки из котла удаляется горячая избыточная жидкость, а затем вводится горячая вода. Одновременно с этим проводится инжекция жидкой двуокиси серы в количестве 7-10% от веса древесины. Температура повышается до 145-155° в течение 1-2 часов. Продолжительность стоянки на конечной температуре определяется значением вязкости получаемого целлюлозного материала. Контроль за ходом варки проводится по цвету варочного раствора.15.2.3.3. Приготовление сульфитных варочных растворов [6, 7]
Процесс получения варочного раствора складывается из трех стадий: получение сернистого ангидрида; получение сырой кислоты; получение варочного раствора.
1.1 Получение сернистого ангидрида
На большинстве заводов в качестве S-содержащего сырья при получении SO2 (Ткип –10,1 °С) используется расплавленная сера. Плавление осуществляется непрямым обогревом серы насыщенным паром. Расход пара составляет около 0,1 т / 1 т серы. Температура расплавленной серы поддерживается на уровне 150 °С, при которой сера имеет минимальную вязкость (1 · 10–2 )–(0,78 · 10–2 )Па · с. Объем расплавленной серы примерно на 15 % больше объема твердой серы. Для плавления применяют вертикальные и бункерные плавильники. Перед подачей на сжигание расплавленную серу очищают от минеральных примесей путем отстаивания в отстойниках или путем очистки на сетчатых фильтрах. Сжигание серы осуществляется в стационарных печах или в более совершенных печах циклонного типа с использованием избытка воздуха (1,15). Последние имеют более высокую теплонапряженность [7300 · 103 кДж/(м3 ч)] по сравнению с печами стационарного типа [300 · 103 кДж/(м3 ч)] и позволяют получать газ на выходе из печи концентрацией 16–18 % SO2 , против 13–14 % для стационарных печей. Производительность их достигает 150 т/сут. Материальные балансы, конструкция оборудования и расчеты приведены в [24].
Для получения чистой сырой сульфитной кислоты сернистый ангидрид очищают от серного ангидрида, используя более высокую растворимость последнего в горячей воде, и охлаждают SO2 до 30–35 °С. Для очистки и охлаждения газа после печей применяют работающие последовательно полый и насадочный аппараты, называемые скрубберами, или полый скруббер и газопромыватель барботажного типа. В табл. 15.2.2 приведены данные, характеризующие работу скрубберов в зависимости от температуры промывной воды.
Подготовка абсорбентов SO2 и приготовление сырой кислоты
В случае применения магниевого основания SO2 из печных газов поглощается суспензией MgСО3 в воде, так как кусковой и молотый углекислый магний (магнезит) очень медленно растворяется в сернистой кислоте. При использовании в качестве магниевого основания брусита (природный минерал, по химическому составу соответствующий кристаллическому гидроксиду магния) последний загружается в башни (турмы) в виде кусков.
При получении растворов на аммониевом основании SO2 поглощается аммиачной водой, которая разбавляется до нужной концентрации непосредственно в поглотительном аппарате.
Растворы с натриевым основанием получаются при поглощении SO2 раствором кальцинированной соды, приготовляемым перед подачей его в поглотительную установку (абсорбер).
Приготовление сырой кислоты на кальциевом основании на сульфитцеллюлозных предприятиях России практически не применяется.
Для приготовления растворов SO2 и бисульфитов магния, аммония и натрия, а также моносульфита натрия применяют абсорберы с инертной насадкой и аппараты барботажного типа. При приготовлении варочных растворов происходят следующие реакции.
Растворы на магниевом основании:
Mg (OH)2 + SO2 = MgSO3 + H2 O
MgSO3 + H2 SO3 = Mg (HSO3 )2
Растворы на аммониевом основании:
2NН4 OH + SO2 = (NH4 )2 SO3 + H2 O
(NH4 )2 SO3 + H2 SO3 = 2NH4 HSO3
Растворы на натриевом основании:
2Na2 CO3 + H2 SO3 = Na2 SO3 + 2NaHCO3
Na2 СO3 + H2 SO3 = 2NaHSO3
Растворение 1 % свободного SO2 повышает температуру получаемой сырой кислоты на 1 °С. Растворение 1 % связанного (в виде бисульфита) SO2 повышает температуру сырой кислоты в зависимости от применяемых реагирующих веществ следующим образом, °С:
MgO на 13,0; Mg(OH)2 на 11,9; NH4 OH на 6,3; Na2 CO3 на 6,7.
Расход сырой кислоты колеблется в широких пределах и составляет, м3 /1 т воздушно-сухой целлюлозы:
при выработке жесткой целлюлозы — 5,4–6,3; средней жесткости — 5,5–6 и мягкой — 6,8–7,6; а состав сырой кислоты изменяется от 3,0 до 4,2 % всего SO2 и от 0,8 до 1,6 % основания (в единицах связанного SO2 ).
1.2 Получение варочного раствора
Регенерация SO2 и тепла из продуктов сдувок. Целью регенерации является возвращение в оборот SO2 и тепла, не использованных во время варки целлюлозы. SO2 и тепло регенерируются из сдувочных газов, из сдувочной жидкости, из перепускаемого щелока и из парогазовой смеси, образующейся при вскипании отработанного щелока. Так как сдувочные газы и парогазовая смесь, выделяющаяся при вскипании отработанного щелока, содержат высокий процент SO2 , то при насыщении ими сырой кислоты обеспечивается получение крепкой варочной кислоты.
При бисульфитной варке сдувочные газы содержат значительно меньшее количество SO2 при большем содержании паров воды. Поэтому в системе регенерации заметного повышения крепости варочного раствора не наблюдается. В некоторых случаях имеет место даже снижение крепости на 0,1–0,3 % за счет разбавления раствора сконденсировавшимися парами воды.
Рациональная регенерационная установка должна обеспечивать улавливание всего SO2 и тепла, не использованных при варке целлюлозы, а также получение нагретой до 70–100 °С варочной кислоты с содержанием всего SO2 8–10 %.

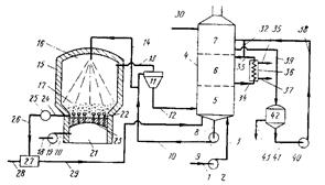
Рис. 1. Технологическая схема комбинированного процесса регенерации диоксида серы и тепла при варке сульфитной целлюлозы: 1 — варочный котел; 2 — эдуктор высокого напряжения; 3 — ловушка для волокна; 4 — спиральные теплообменники; 5 — эдуктор низкого давления; 6 — колонка дополнительного поглощения; 7 — кислотный бак с постоянным уровнем; 8 — расходный кислотный бак; 9 — цимолоотстойнкик; 10 — сборник цимола; 11 — регенерационная цистерна; 12 — расходная цистерна; 13 — регулятор давления; СДН — сдувки низкого давления; СВД — сдувки высокого давления
Глава 2. АММИАЧНЫЙ ВАРОЧНЫЙ РАСТВОР ИЗ ОТРАБОТАННОГО ВАРОЧНОГО РАСТВОРА
В процессе получения целлюлозы по бисульфитно-аммиачиому методу измельченную древесину вываривают с бисульфитом аммония. После проведения процесса образуется отработанный раствор с содержанием 50—60 % исходной древесины и значительных количеств соединений серы и аммиака. Кроме того, он содержит 5— 15% твердых компонентов. Сера и аммиак находятся в растворе в основном в виде аммиачной соли лигносульфоновой кислоты, обычно называемой лигносульфонатом аммония.
Удаление отработанных аммиачно-бисульфитных растворов представляет серьезную проблему вследствие загрязнения воды и атмосферы при сбрасывании стоков в водоемы. В связи с этим возникает необходимость в создании метода обработки таких растворов, позволяющего устранить загрязнение окружающей среды, и выделять по крайней мере некоторые из ценных химических реагентов для повторного использования при приготовлении свежих аммиачно-бисульфитных варочных растворов.
Отработанный аммиачно-бисульфитный раствор обрабатывается оксидом магния с выделением аммиака и образованием разбавленного раствора, содержащего бисульфит магния. Смесь концентрируется с использованием горячих отходящих газов реактора с ожиженным слоем.
Сконцентрированный магниево-бисульфитный раствор подается в реактор с ожиженным слоем оксида магния, и там сгорает. Горячие газы используются для концентрирования дополнительных количеств магниево-бисульфитного раствора, получаемого из аммиачного раствора.
Схема проведения этого процесса представлена на рис. 16. Аммиачно-бисульфитный отработанный раствор подается по трубопроводу / с помощью насоса 2 и далее по линии 3 в колонну разделения 5 башни 4 с промежуточной охладительной колонной 6 и верхней абсорбционной колонной 7.
Отработанный раствор отбирается из колонны 5 по трубопроводу 8 с насосом 9 в линию 10, которая питает раствором аппарат //, представляющий собой скруббер со смачивающимися стенками и трубкой Вентури. Горячие газы, содержащие сернистый газ и частицы оксида магния, из реактора по трубопроводу 13 подаются в аппарат У/. В реакторе происходит сгорание магниево-бисульфитного раствора содержащего лигносульфонат магния.
Отходящие газы имеют температуру ~870°С или выше, когда они попадают в скруббер 11. Раствор подается в И по линии 10 при 93 °С и при контакте с горячими газами образуется большое количество пара. Кроме того, в скруббере происходят химические реакции; при этом ионы магния замещают ионы аммония в лигносульфонатных соединениях, присутствующих в отработанном растворе. Таким способом освобождается аммиак и раствор целиком или частично из аммиачное бисульфитного превращается в магниево-бисульфитный, содержащий лигносульфонат и другие соединения магния.

Отработанный раствор и отходящие газы, включающие аммиак, сернистый газ и пар, из аппарата 11 подаются по трубопроводу 12 в колонну разделения 5, где жидкая фаза отделяется от газов и паров. Испарение воды приводит к концентрированию раствора от исходной концентрации твердых веществ 15 до 25—40 %. При многократной циркуляции раствора по замкнутому циклу, включая трубопровод 6 насос 9, трубопровод 10, скруббер 11, линию 12 к колонну разделения 5, раствор может концентрироваться, причем концентрация твердых веществ, определяется теплосодержанием отходящих газов.
Отработанный раствор, выводимый по линии 10, представляет собой магниево-бисульфитный раствор, он может быть смешан с аммиачно-бисульфитным раствором. На практике часто получается смесь с соотношением этих растворов 1 : 1. В процессе концентрирования, эффективность которого определяется теплосодержанием отходящих газов, концентрация твердых веществ в растворе составляет >25 %. Часть этого раствора относится по линии 14 и разбрызгивается в камере 16 реактора 15. Раствор попадает на ожиженный слой оксида магния 17, где он сгорает.
При концентрации твердых веществ >35 % сгорание происходит без применения дополнительного топлива.
Воздух по трубопроводу 18 подается к насосу 19, который прокачивает его по линии 20 в воздушную камеру 21. Оттуда под давлением воздух через форсунки 22 в днище 23 подается в реактор, что приводит к образованию взвешенного слоя оксида магния. В воздухе отработанный раствор сгорает при 760—1100 °С с образованием отходящих горячих газов, содержащих сернистый газ и порошок оксида магния, которые попадают в трубопровод 13. Для разогрева реактора до температуры горения используется дополнительная система нагрева.
Часть оксида магния из отработанного раствора спекается в ожиженном слое 17. Для поддержания постоянного объема слоя и постоянного размера частиц целесообразно периодически отбирать некоторое количество оксида магния по линии 24 и направлять его в измельчитель 25. Оттуда частицы оксида магния попадают по трубопроводу 26 в резервуар 27, куда подается вода по трубопроводу 28. Водная суспензия гидроксида магния по трубе 29 подается в нижнюю часть колонны разделения 5 с целью введения, в случае необходимости, дополнительного количества оксида магния для нейтрализации аммиачно-бисульфитного раствора.
Принято считать, что по крайней мере 60 %, а желательно >75 % необходимого оксида магния должно обеспечиваться использованием отходящих газов, подаваемых по линии 13 в аппарат 11. Недостающее количество оксида магния для нейтрализации аммиачно-бисульфитного раствора можно обеспечить другими путями, одним из которых является отбор оксида магния из реактора 15 и подача его в колонну разделения.
Отделенные газы, содержащие аммиак и сернистый газ, при температуре -93 °С проходят из нижней части колонны 5 в колонну охлаждения 6, где они контактируют с охлажденной водой, подающейся по трубопроводу 33 при 10— 38 °С. Охлаждающая вода конденсирует пар и растворяет некоторое количество сернистого газа и аммиака. Получающийся водный раствор отбирается из колонны охлаждения по линии 34 (при 32—65 °С) и подается в теплообменник 36 для охлаждения; затем он выводится по линии 33. Линия 35 питает теплообменник холодной водой или другой охлаждающей жидкостью, которая выводится по линии 37.
Водный раствор аммиака по трубопроводу 30 направляется в верхнюю часть абсорбционной колонны 7. Раствор бисульфита аммония отбирается из нижней части абсорбционной колонны и по трубопроводу 39 подается в кислотный отстойник 42. Кислота рециркулирует из отстойника по линии 41 к насосу 40 и назад по линии 38 в среднюю часть абсорбционной колонны. Некоторое количество охлаждающей воды, содержащей сернистый газ и аммиак, отделяют от трубопровода 33 в линию 32 и подают в трубопровод 38 для смешения с потоком жидкости, питающим абсорбционную колонну.
Раствор гидроксида аммония смешивается с охлаждающим водным раствором и смесь подается противотоком относительно сернистого газа и аммиака, которые при этом абсорбируются с образованием дополнительного количества водного раствора бисульфита аммония. По трубопроводу 43 свежий бисульфит аммония удаляется из отстойника 42 и направляется на стадию варки по мере необходимости.
Неабсорбировавшиеся газы выпускаются из колонны 7 по линии 31 в атмосферу. Они безвредны, поскольку содержат углекислый газ, пары воды, азот, другие инертные газы и ничтожно малые количества сернистого газа.
Ниже приводится конкретный пример проведения этого процесса. Аммиачно-бисульфитный перерабатываемый раствор с общим содержанием твердых веществ 12, 25 % подается при 71 °С по линии 3 в разделительную колонну 5 со скоростью 125 т/ч (расход твердого компонента 15 т, воды ПО т/ч). Оксид магния подается в сепаратор 5 по линии 29 со скоростью 62 кг/ч в виде водной суспензии.
Воздух при 65 °С подается в воздушную камеру 21 реактора 15 при давлении около 0,035 МПа со скоростью 112 т/ч. Магниево-бисульфитный раствор с содержанием твердых растворенных веществ 31 % по трубопроводам 10 и 14 со скоростью 55 т (расход твердых веществ 17, воды 38 т/ч) подается в зону 16 реактора. Самоподдерживающийся процесс горения протекает в реакторе за счет присутствующих органических компонентов при температуре 870 °С.
Отходящие газы, содержащие частицы оксида магния, выпускаются из реактора со скоростью 160 т/ч (масса, т: 85,75 N2 , 4,25 02 , 22 СОг , 22,5 S02 , 0,245 MgO и 45,5 пара; % (объемн): 48,9 N,,21,1 О», 8 С02 , 0,6 S02 , 40,4 Нг О) в скруббер 11, где они промываются смесью аммиачно-бисульфитного и магниево-бисульфитного раствора, подающегося по линии 10. Горячая смесь отработанного раствора и газов подается по линии 12 из скруббера в сепаратор, где происходит выделение аммиака и получается разбавленный магниево-бисульфитный раствор.
Общее количество газов 230 т/ч при 87 °С поступает из сепаратора в охлаждающую колонну 6.
Состав газов (проценты объемные): NH3 — 220 кг, 0,2 %; N2 — 85,75 т, 29,9 %; 02 - 4,25 т, 1,3% 02 ; С02 - 22 т, 4,9%; S02 - 2,25 т, 0,3%; Н2 0 - 117 т, 63,4 %.
Газы охлаждаются в колонне 6 до 65 °С и подаются в колонну абсорбции 7. Часть охлажденного водного раствора, содержащего растворенные сернистый газ и аммиак, из линии 33 направляется по линии 38 в 7. Образовавшийся 25 %-ный водный раствор аммиака по линии 30 со скоростью 1,27 т/ч подается в верхнюю часть колонны 7.
Получающийся аммиачно-бисульфитный варочный раствор отбирается из 7 по линии 39 со скоростью 9,35 т/ч (2,0 т S02 ; 0,55 т NHS ; 9,35 т Н2 0). Газы с содержанием S02 менее 0,1 % (объемн.) выпускают в атмосферу по линии 31.