| Скачать .docx |
Реферат: Шпинель. Структура шпинели
Министерство высшего и специального образования Р.Ф.
Кубанский государственный университет.
Реферат на тему:
Шпинель. Структура шпинели.
Выполнил студент
2-го курса 1-й группы
химического факультета
Косенко М. М.
Проверила
Стороженко Т. П.
Краснодар 2002.
Содержание:
1. Химический состав. Разновидности шпинелоидов. ………………… 3.
2. Строение благородной шпинели. …………………………………….. 6.
3. Практическое применение соединений типа X2+ Y2 3+ O4 2- ……………12.
4. Синтез шпинели состава MgAl2 O4 . …………………………………..14.
5. Список используемой литературы. …………………………………...15.
Формула главного представителя группы шпинели — MgAl2 O4 .
Название,
вероятно, происходит от лат. “спинелла” — маленький шип, что связано с октаэдрической формой кристаллов.
Химический состав — содержание (в %): MgO — 28,2; Аl2 Оз — 71,8; обычны примеси железа, хрома, цинка, марганца. Цвет — зеленовато-синий, синий до черного, розовый, красный (обусловлен примесями).
Черта — белая.
Блеск — стеклянный.
Прозрачность — от непрозрачной до прозрачной
Твердость — 8.
Плотность — 3,6 г/см 3 .
Излом — раковистый.
Сингония — кубическая, гексаоктаэдрический вид симметрии.
Спайность — несовершенная по (111).
| Название: |
Шпинель |
| Формула : |
MgAl2 O4 |
| Обозначение вида симметрии: |
m3m, 3L4 4L3 6L2 9PC |
| Федоровская группа : |
Fd3m |
| Параметры элементарной ячейки : |
a0
=1; b0
=1; c0
=1 |
![]() |
Элементарная ячейка.
Встречается преимущественно в форме октаэдрических кристаллов (другие простые формы редки) обычно небольших размеров. Характерны двойники срастания по (111} — по шпинелевому закону. Менее распространены изометрические зерна и зернистые агрегаты. У реальных кристаллов шпинели обычно наиболее развита одна или пара противоположных граней октаэдра. При этом шпинелевые двойники приобретают характерный треугольно-пластинчатый облик с раздвоенными (входящими) углами.
Окраска шпинели определяется в основном изоморфной примесью Fe2+ (плеонаст и герцинит — зелено-бурая до черной), Fе3+ (хлоршпинель — травяно- и оливково-зеленая), Fe2+ , Fe3+ , и Сг (пикотит — желто-зеленая, зеленая), Zn (ганошпинель — зеленовато-синяя, темно-синяя).
Типичный минерал магнезиальных скарнов, ассоциирующий с форстеритом, энстатитом, диопсидом, кальцитом и др. В основном минералы группы шпинели присутствуют в качестве акцессорных в основных изверженных породах, некоторых пегматитах, метаморфизованных глинозёмистых осадочных породах и глинозёмсодержащих ксенолитах в изверженных породах, а также в контактово-метаморфических известняках. При их разрушении образуются пески, содержащие шпинель (Шри-Ланка, Бирма). Герцинит обычно встречается в богатых железом и обеднённых кремнекислотой глинозёмистых контактовых роговиках и их ксенолитах, в гранулитах, метаморфизованных пироксенитах и ультраосновных породах. Ганит распространён мало, известен в гранитных пегматитах. Галаксит редок.
Магнетит широко распространён как неотъемлемый акцессорный минерал изверженных пород и присутствует в составе так называемых черных песков, образованных при их разрушении. Также он нередко встречается совместно с ильменитом в породах габбровой серии (Эгерсунн, Норвегия, ЮАР), а в ассоциации с апатитом – в сиенит-порфирах известного месторождения Кируна в Швеции. Вследствие метоморфизма магнетит образуется в пластовых кремнистых железных рудах докембрийского возраста. Часто содержит титан. Отмечается в фумарольных отложениях Долины Десяти Тысяч Дымов на Аляске. Франклинит является основным минералом цинковых месторождений, залегающих в кристаллических известняках во Франклин-Фернас, Нью-Джерси. Другие члены подгруппы магнетита редки.
Хромит неизменно связан с перидотитами (или с развитыми по ним серпентинитами), норитами и анортозитами. Его сегрегации в магматических породах часто имеют форму латерально выдержанных слоёв, аккумулирующих большие запасы хромита. Крупные месторождения находятся на Урале, ЮАР, Зимбабве, Кубе и т.д.
Ульвошпинель встречается практически только в виде микроскопических выделений в магнетите, параллельных {100}. Эти очень тонкие выделения, развивающиеся по двум плоскостям под прямым углом друг к другу, образуют так называемую коробчатую или тканевую структуру, которая наблюдается в шлифах. Маггемит является продуктом окисления магнетита.
Прозрачная разновидность минерала — благородная шпинель — является драгоценным камнем. Крупные (размер по ребру более 10 мм) непрозрачные трещиноватые кристаллы розовой шпинели используются как коллекционный материал. Находки такого материала связаны преимущественно с магнезиальными скарнами (месторождение Кухилал на Памире). Наибольший интерес представляют образцы кальцифиров, содержащие мелкие прозрачные кристаллы розово-красной шпинели в ассоциации с оранжевым дравитом и клиногумитом. Коллекционное значение имеют также крупные (5—10 см), хорошо ограненные кристаллы шпинели темно-синего и черного цвета, включенные в кальцифиры (Алданский р-он Якутии). Очень декоративны штуфы кристаллов шпинели и диопсида в белой или розоватой кальцитовой массе. Прекрасные кристаллы темно-зеленой и черной хлоршпинели в ассоциации с диопсидом, гранатом, везувианом, хлоритами встречаются в хлоритовых скарнах (месторождения Шишимское и Назямские горы в Челябинской обл.).
Определяется по октаэдрической форме кристаллов и высокой твердости.
Существуют двойники, их структура и строение подчиняются следующему закону:
| Закон: |
Изображение: |
| Шпинелевый
|
|
Теория симметрии кристаллов шпинели.
1)Группа шпинели. В эту группу входят сложные оксиды с общей формулой АВ2 О4 , где A= Mg2+, Fe2+ иногда Zn2 +, Mn2 +, Be2 + , а B = Fe3 +, Al3 +, Cr3 +, Mn3 +. Минералы группы шпинели имеют некоторые обшие свойства. Большинство из них кристаллизуется в кубической сингонии. Все эти минералы образуют хорошо ограненные кристаллы октаэдрического габитуса. У них наблюдается высокая твердость, отсутствует спайность, они химически и термически устойчивы. Для всех шпинелидов характерны высокотемпературные условия образования.В поверхностных условиях большинство их устойчиво и сохраняется в россыпях.
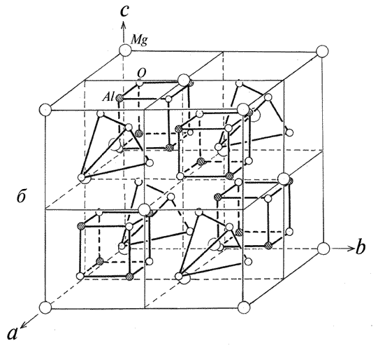
Структура кристалла шпинели.
2)Кристаллическая структура шпинели MgAl2 O4 .
В основе структуры нормальной шпинели MgAl2 O4 -
трехслойная плотнейшая упаковка атомов О, на которую
указывают слагающие всю структуру гранецентрированные
кубы. Характер заполнения 1/2 октаэдрических и 1/8
тетраэдрических пустот этой упаковки атомами Al и Mg
соответственно приводит к тому, что элементарная ячейка
структуры минерала оказывается составленной из восьми
малых F-кубов. Длина ребра элементарной ячейки около 0,8 нм. В такой увосьмиренной элементарной ячейке атомы Mg располагаются по "алмазному" закону. Это легко увидеть, если первый атом Mg поместить в ближайшую к
началу координат тетраэдрическую пустоту.
Подобное расположение [MgO4 ]-тетраэдров задает структуре
шпинели пространственную группу с координатными
клиноплоскостями d, отвергая при этом координатные
зеркальные плоскости пространственной группы ,
описывающей симметрию чистой кубической плотнейшей
упаковки, и сохраняя общие для обеих групп: тип решетки
Браве, диагональные зеркальные плоскости и оси 3-го
порядка, т.е. кубическую симметрию всей структуры.
Переместив начало координат в первый (исходный) атом Mg
(000) и приведя к нему высоты (координаты z) остальных атомов (Mg и O), увидим, что атомы Al располагаются в такой новой большой ячейке в незанятых атомами Mg октантах. Причем четверки из атомов Al
дополняют свободные от атомов Mg кислородные тетраэдры
до кубов. Положения атомов Al подчиняются задаваемым атомами Mg клиноплоскостям d. Таким образом, пространственной группой, описывающей
симметрию структуры шпинели, будет группа , в которой
позиции атомов Mg, находящиеся в тетраэдрическом
окружении атомов О, наследуют симметрию тетраэдра, т.е.
точечную группу , атомы Al оказываются в
центросимметричных позициях , атомы О - в моновариантных
позициях на осях 3-го порядка - 3m:
Mg - 8 (a) : 000,
Al - 16 (d) :
O - 32 (e) 3m :
где х 7/8,
a = 8,11.
Акцентируя внимание при описании структурного типа
Шпинели (АВ2 О4 ) на мотиве заполнения октаэдрических и
тетраэдрических пустот кубической плотнейшей упаковки из
атомов кислорода, т.е. рассматривая ее полиэдрическую
модель, легко обнаружить перпендикулярные осям 3-го
порядка октаэдрические слои (111), заполненные атомами
Al по "шпинелевому" закону (заполнены ¾ октаэдрических пустот) и чередующиеся с антишпинелевыи слоями (заполнена 1/4 октаэдрических пустот), что подтверждает отношение Al : O = 1 : 2 в химической
формуле соединения. При этом одиночные Al-октаэдры
"антишпинелевого" слоя садятся на треугольные
"посадочные площадки", образованные ребрами трех
Al-октаэдров предыдущего шпинелевого слоя.
Тройки же ребер верхней грани одиночных октаэдров
являются также общими с ребрами троек Al-октаэдров, но
уже следующего шпинелевого слоя. Таким образом, два
ближайших шпинелевых слоя оказываются связанными точками
инверсии, совпадающими с центрами одиночных октаэдров
антишпинелевого слоя. Основаниями Mg-ортотетраэдров, расположенных в
антишпинелевых слоях, служат треугольные грани пустых
октаэдров из шпинелевого слоя. Вершины
тетраэдров, противоположные их основаниям, являются
общими для трех Al-октаэдров выше- и нижележащих
шпинелевых слоев. Таким образом, пустой октаэдр
шпинелевого слоя оказывается между антипараллельными
гранями двух Mg-тетраэдров, связанных один с другим
второй системой центров инверсии, расположенных в этих
пустых октаэдрах. Ближайшие друг к другу шпинелевые слои смещены косо
расположенной к ним трансляцией, являющейся ребром
примитивного ромбоэдра - ребром основной ячейки
гранецентрированного куба. Пространственная схема пересечения пустот очень сложна. Пересечение слоёв катионов цепочками октаэдеров происходит в направлениях {110}.Связи в структуре шпинели смешанные, ионно-ковалентные. В проекции
полиэдрической модели структуры шпинели на плоскость
(111), перпендикулярную оси 3-го порядка,
хорошо видны зеркальные плоскости симметрии,
пересекающиеся вдоль этой оси. В итоге обнаруживается
пространственной группы, являющаяся в данном случае подгруппой
кубической пространственной группы.




рис.е.
Кристаллическая структура шпинели MgAl2 O4 : а -
проекция ху структуры минерала; выделены Mg-тетраэдры; б
- общий вид структуры; в - график пр. гр. Fd3m(O1 k ) с нанесенными
на него атомами Mg, Al и О; г - шпинелевый октаэдрический слой; д - фрагмент структуры в проекции на плоскость (111); способ сочленения шпинелевого и
антишпинелевого слоев; е - идеализированная постройка из Al-октаэдров в структурном типе шпинели.
Ионы O2- находятся приблизительно в плотнейшей кубической упаковке. Ячейка содержит тетраэдрические пустоты, число которых 64 (узлы А), и октаэдрические пустоты в количестве 32 (узлы В). Восемь узлов А и 16 узлов В занимают катионы, расположенные таким образом, что ряды заполненных ими октаэдров, соединённых между собой рёбрами, вытягиваются вдоль одной диагонали куба, связываясь в цепочки за счёт занятых тетраэдров. В результате образуется один слой (рис. е). Тетраэдры соединяют его с октаэдрами соседнего слоя, который располагается вдоль другой диагонали грани куба. Четыре таких слоя образуют элементарную ячейку. Каждый атом кислорода является общим для двух октаэдров и одного тетраэдра. Катионы представлены двумя типами: А2+ и В3+ . В нормальной шпинели катионы А2+ находятся в узлах А, а В3+ - в узлах. Однако существует обращенная шпинель, у которой 8В3+ располагаются в узлах А, а (8 А2+ + 8 В3+ ) беспорядочно распределены по углам В. Выбор между этими двумя способами расположения атомов определяется энергией входящих в структуру ионов, стабилизирующей кристаллическое поле решётки. Второй вариант реализуется в тех случаях, когда больший из двух катионов занимает тетраэдрические узлы, нарушая обычное правило. Как в нормальных, так и в обращенных шпинелях остаются незаполненные катионами пустоты обоих сортов. Кроме того, существует ряд шпинелей, промежуточных между нормальными и обращенными.
3). Исследована низкотемпературная (20—400 °C) экзоэмиссия отрицательных зарядов со сложных оксидов, имеющих структуру перовскитов состава X3+ Y2+ О3 ( X3+ = La; Y2+ = Co, Mn, Ni) и структуру шпинели X2+ Y2 3+ O4 2- ( X2+ = Cu; Y3+ = Fe, Co, Cr). Найдены корреляции между каталитической активностью в реакциях окисления СО, этилбензола и пропилена и эмиссионной способностью оксидов. Обсуждена роль слабосвязанного кислорода и ионов переменной валентности в процессах экзоэмиссии и окислительного катализа сложными оксидами.
Благодаря этим исследованиям стало возможным применение шпинели, как катализатора в окислительном катализе ненасыщенных ациклических углеводородов.
Структура шпинели характерна для ряда неметаллических магнитных кристаллов, обладающих сочетанием полупроводниковых и магнитных свойств, использующихся в технике сверхвысоких частот и запоминающих устройствах ЭВМ.
4).Исследован процесс синтеза MgAl2
O4
из оксида магния и гидроксида алюминия в атмосфере паров воды Р = 20 МПа в интервале температур 380 - 400
в присутствии активирующих добавок ионов Cr(VI). Методами рентгенофазового и рентгенографического анализов и электронной спектроскопии установлено, что процесс диффузии и гомогенного распределения ионов магния по структуре промежуточной фазы синтеза - бемита лимитируется степенью разупорядочения кристаллической решетки последнего. Введение в реакционную систему ионов Cr(VI) способствует возникновению дополнительных нарушений в структуре бемита, облегчая процессы диффузии и перестройки глиноземной матрицы. Процесс завершается стабилизацией ионами магния кубической кислородной подрешетки, возникающей при образовании кристаллической структуры шпинели.

5).Изучена возможность получения алюмомагнезиальной шпинели с высокими показателями свойств по энергосберегающей технологии и с учетом утилизации ультрадисперсного каустика. Методом одностадийного синтеза спеканием плотного брикета на основе промышленных порошков каустика и глинозема получали шпинельные материалы различных составов: стехиометрическую шпинель и шпинели с избытком обоих компонентов. Для интенсификации процессов шпинелеобразования и спекания были использованы различные комплексные добавки (химические и керамические) в количестве от 1 до 10 % масс. Влияние используемых добавок на спекание и физико-механические свойства брикетов зависело от соотношения компонентов в формовочной смеси. Полное образование шпинели в брикетах установлено при температуре 1650
.
Список используемых ресурсов и литературы:
1.Неофициальный сайт Геологического факультета МГУ.
2.Официальный сайт Российской Академии Физических Наук.
3.Официальный сайт Физического факультета МГУ.
4.Официальный сайт Физического факультета ВГУ.
5.М. П. Шаскольская: “Кристаллография” М. “Высшая школа” 1977. С. 388
6.Электронные периодические издания Российской Академии Физических Наук.
7.Официальный сайт ювелиров России.
8.Геологический сайт России.

